//
ТехЛит.ру
- крупнейшая бесплатная электронная интернет библиотека для "технически умных" людей.
WWW.TEHLIT.RU - ТЕХНИЧЕСКАЯ ЛИТЕРАТУРА

:: Алготрейдинг::


АЛГОТРЕЙДИНГ
шаг за шагом
с нуля по урокам!

Торговые роботы на PYTHON, BackTrader,
Pandas, Pine Script для TradingView. Связка с брокерами, телеграм и легкими приложениями.


ГОСУДАРСТВЕННЫЙ КОМИТЕТ СОВЕТА МИНИСТРОВ СССР ПО ДЕЛАМ СТРОИТЕЛЬСТВА

(ГОССТРОИ СССР)

УКАЗАНИЯ

ПО ПРОЕКТИРОВАНИЮ ЗЕМЛЯНОГО ПОЛОТНА ЖЕЛЕЗНЫХ И АВТОМОБИЛЬНЫХ ДОРОГ

СН 449-72

Утверждены

Государственным комитетом Совета Министров СССР по делам строительства.

29 декабря 1972 г.

ИЗМЕНЕНИЕ СН 449-72

Постановлением Госстроя СССР от 17 декабря 1985 г. № 233 утвержден и с 1 января 1987 г. вводится в действие разработанный Союздорнии Минтрансстроя совместно с научно-исследовательскими, проектными и учебными институтами министерств и ведомств, внесенный Минтрансстроем, и представленный Главтехнормированием Госстроя, СССР СНиП 2.05.02-85 «Автомобильные дороги»

В связи с этим с 1 января 1987 г. утратят силу:

п. 1 постановления Госстроя СССР от 31 октября 1972 г. № 192 «Об утверждении главы СНиП II-Д.5-72 «Автомобильные дороги. Нормы проектирования»;

постановление Госстроя СССР от 31 декабря 1974 г. № 259 «Об изменении п/п. 10.16 и 10.17 главы СНиП II-Д.5-72 «Автомобильные дороги. Нормы проектирования»;

постановление Госстроя СССР от 31 декабря 1976 г. № 232 «Об изменении и дополнении главы СНиП II-Д.5-72 «Автомобильные дороги. Нормы проектирования»;

постановление Госстроя СССР от 30 декабря 1983 г. № 350 «Об изменении главы СНиП II-Д.5-72 «Автомобильные дороги. Нормы проектирования»;

Указания по проектированию земляного полотна железных и автомобильных дорог (СН 449-72), утвержденные постановлением Госстроя СССР от 29 декабря 1972 г. № 225, в части норм проектирования земляного полотна автомобильных дорог.

СОДЕРЖАНИЕ

Государственный. 2

1. ОБЩИЕ ПОЛОЖЕНИЯ.. 2

2. ГРУНТЫ ДЛЯ ЗЕМЛЯНОГО ПОЛОТНА.. 3

3. ОСНОВНЫЕ КОНСТРУКТИВНЫЕ ПАРАМЕТРЫ ЗЕМЛЯНОГО ПОЛОТНА.. 9

4. ВИДЫ ПРОЕКТОВ ЗЕМЛЯНОГО ПОЛОТНА.. 11

5. НАСЫПИ.. 12

6. ВЫЕМКИ.. 16

7. НАСЫПИ НА БОЛОТАХ.. 19

8. НАСЫПИ НА УЧАСТКАХ ЗАСОЛЕННЫХ ГРУНТОВ.. 25

9. ЗЕМЛЯНОЕ ПОЛОТНО В РАЙОНАХ ПОДВИЖНЫХ ПЕСКОВ.. 27

10. ЗЕМЛЯНОЕ ПОЛОТНО В РАЙОНАХ ИСКУССТВЕННОГО ОРОШЕНИЯ.. 28

11. РЕЗЕРВЫ, КАВАЛЬЕРЫ, БАНКЕТЫ... 29

12. УСТРОЙСТВА ДЛЯ ОТВОДА ПОВЕРХНОСТНЫХ ВОД.. 32

13. УСТРОЙСТВА ДЛЯ ОТВОДА ГРУНТОВЫХ ВОД.. 35

14. ЗЕМЛЯНОЕ ПОЛОТНО ДЛЯ ВТОРЫХ ПУТЕЙ И РЕКОНСТРУИРУЕМЫХ ЖЕЛЕЗНЫХ И АВТОМОБИЛЬНЫХ ДОРОГ. 36

15. ЗЕМЛЯНОЕ ПОЛОТНО ДЛЯ ЖЕЛЕЗНОДОРОЖНЫХ УЗЛОВ И СТАНЦИЙ.. 39

16. УКРЕПЛЕНИЕ ЗЕМЛЯНОГО ПОЛОТНА И ВОДООТВОДНЫХ СООРУЖЕНИЙ.. 41

17. ФИЛЬТРУЮЩИЕ НАСЫПИ.. 42

18. ОСОБЕННОСТИ ПРОЕКТИРОВАНИЯ ЗЕМЛЯНОГО ПОЛОТНА, ВОЗВОДИМОГО В ЗИМНЕЕ ВРЕМЯ.. 43

19. ЗЕМЛЯНОЕ ПОЛОТНО ДОРОГ В РАЙОНАХ РАСПРОСТРАНЕНИЯ ВЕЧНОМЕРЗЛЫХ ГРУНТОВ.. 44

ПРИЛОЖЕНИЕ I 45

ПРИЛОЖЕНИЕ 2. 45

ПРИЛОЖЕНИЕ 3. 48

ПРИЛОЖЕНИЕ 4. 50

 

Указания по проектированию земляного полотна железных и автомобильных дорог (СН 449-72) разработаны научно-исследовательскими институтами ЦНИИС и Союздорнии при участии проектно-изыскательских институтов Ленгипротранс, Мосгипротранс, Томгипротранс, Союздорпроект и Киевгипротранс Министерства транспортного строительства, Гипродорнии Министерства строительства и эксплуатации автомобильных дорог РСФСР, а также Хабаровского института инженеров железнодорожного транспорта Министерства путей сообщения.

С введением в действие Указаний по проектированию земляного полотна железных и автомобильных дорог (СН 449-72) с 1 июля 1973 г. утрачивают силу Технические условия сооружения железнодорожного земляного полотна (СН 61-59).

Редакторы: - инженеры И.Д. Демин, Б.К. Козловский (Госстрой СССР), д-р. техн. наук Н.А. Перетрухин (ЦНИИС Минтрансстроя), канд. техн. наук В.Д. Казарновский (Союздорнии Минтрансстроя)

Государственный

комитет Совета Министров СССР по делам строительства (Госстрой СССР)

Строительные нормы

СН 449-72

Указания по проектированию земляного полотна железных и автомобильных дорог

Взамен

СН 61-59

1. ОБЩИЕ ПОЛОЖЕНИЯ

1.1. Настоящие Указания распространяются на проектирование земляного полотна новых и реконструируемых железных дорог колеи 1520 (1524) мм и автомобильных дорог, а также на проектирование вторых путей железных дорог.

1.2. Земляное полотно включает в себя насыпи и выемки, а также водоотводные устройства и сооружения, предназначенные для отвода поверхностных и грунтовых вод (кюветы, нагорные, продольные и забанкетные канавы, банкеты, перепады, быстротоки, дренажи, галереи, штольни).

На участках с наличием или возможным развитием оползней, обвалов (каменных, снежных), заносов (снежных и песчаных), селей и оврагов необходимо предусматривать соответствующие защитные и укрепительные устройства и сооружения.

Внесены Министерством транспортного строительства

Утверждены Государственным комитетом Совета Министров СССР по делам строительства 29 декабря 1972 г.

Срок введения 1 июля 1973 г.

1.3. Конструкцию земляного полотна следует принимать в зависимости от категории дороги, типа дорожной одежды и местных природных условий, в том числе от условий увлажнения, состояния и свойств грунтов основания, с учетом деления территории СССР на дорожно-климатические зоны (табл. 1, рис.1), а также опыта эксплуатации дорог в данном районе и необходимости обеспечения бесперебойного и безопасного движения при оптимальном сочетании строительных и эксплуатационных показателей проектируемых объектов.

Таблица 1

№ зоны

Примерные географические границы и краткая характеристика дорожно-климатических зон

I

Севернее линии, соединяющей: Мончегорск - Поной - Несь - Ошкурья - Сухая - Тунгуска, Канск - Госграница и Биробиджан - Де-Кастри. Зона включает географические зоны: тундры, лесотундры и северо-восточную часть лесной зоны с распространением вечномерзлых грунтов

II

От границы I зоны до линии, соединяющей: Львов - Житомир - Тулу - Горький - Ижевск - Кыштым - Томск - Канск, Биробиджан - Де-Кастри - граница с Китайской Народной Республикой. Зона включает географическую зону лесов с избыточным увлажнением грунтов

III

От границы II зоны до линии, соединяющей: Кишинев - Кировоград - Белгород - Куйбышев - Магнитогорск - Омск - Бийск - Туран. Зона включает лесостепную географическую зону со значительным увлажнением грунтов в отдельные годы

IV

От границы III зоны до линии, соединяющей: Джульфу - Степанакерт - Буйнакск - Кизляр - Волгоград, далее проходит южнее на 200 км линии, соединяющей Уральск - Актюбинск - Караганду и до северного побережья озера Балхаш. Зона включает географическую степную зону с недостаточным увлажнением грунтов

V

Зона расположена к юго-западу и к югу от границы IV зоны и включает пустынную и пустынно-степную географические зоны с засушливым климатом и распространением засоленных грунтов

Примечание. Кубань и западную часть Северного Кавказа следует относить к III дорожно-климатической зоне; Черноморское побережье, предкавказские степи, за исключением Кубани и западной части Северного Кавказа, следует относить к IV зоне; горные области, расположенные выше 1000 м над уровнем моря, а также малоизученные районы следует относить к той или иной зоне в зависимости от местных природных условий.

Рис. 1. Схема деления территории СССР на дорожно-климатические зоны

1.4. При проектировании земляного полотна должны быть приняты комплексные решения по выбору и назначению:

конструкции земляного полотна с учетом способов производства работ;

грунта для насыпей с учетом вида и состояния грунтов основания, высоты проектируемой насыпи, а также запасов и дальности возки грунта;

вида, параметров и конструкции водоотводных устройств соответственно расчетным расходам поверхностной воды и гидрогеологическим условиям;

типа укреплений откосов земляного полотна и водоотводных устройств с учетом местные условий.

2. ГРУНТЫ ДЛЯ ЗЕМЛЯНОГО ПОЛОТНА

2.1. Грунты подразделяются на скальные, получаемые посредством разрушения скальных пород, залегающих в естественных условиях в виде сплошного или трещиноватого массива; крупнообломочные, залегающие в естественных условиях в виде аллювиальных и делювиальных отложений или россыпей; песчаные и глинистые.

2.2. Скальные грунты и породы различают по временному сопротивлению сжатию, по степени растворимости и размягчаемости в воде, а также подверженности выветриванию.

Показатели сопротивления сжатию и растворимости скальных грунтов и пород, используемых для земляного полотна, не нормируются.

2.3. Скальные грунты и породы следует считать размягчаемыми, если отношение их временных сопротивлений сжатию в насыщенном водой и в воздушно-сухом состоянии меньше 0,75, а при отношении равном или более 0,75 - не размягчаемыми.

По степени выветриваемости скальные грунты разделяются на слабовыветривающиеся и легко выветривающиеся (приложение 1).

2.4. Крупнообломочные и песчаные грунты в зависимости от зернового состава подразделяются на виды (табл. 2).

Для установления вида грунта следует последовательно суммировать проценты содержания частиц в исследуемом грунте, начиная с содержания более крупных частиц, и принимать наименование грунта по первой сумме, удовлетворяющей показателю содержания частиц по табл. 2.

Таблица 2

Вид грунта

Содержание частиц в % от общего веса сухого грунта

Крупнообломочные

 

Грунт глыбовый (при преобладании окатанных камней — валунный)

Вес камней крупнее 200 мм составляет более 50%

Грунт щебенистый (при преобладании окатанных частиц — галечниковый)

Вес частиц крупнее 10 мм составляет более 50%

Грунт дресвяный (при преобладании окатанных частиц ¾ гравийный)

Вес частиц крупнее 2 мм составляет более 50% '

Песчаные

 

Песок гравелистый

Вес частиц крупнее 2 мм составляет более 25%

Песок крупный

Вес частиц крупнее 0,5 мм составляет более 50%

Песок средней крупности

Вес частиц крупнее 0,25 мм составляет более 56%

Песок мелкий

Вес частиц крупнее 0,1 мм составляет более 75%

Песок пылеватый

Вес частиц крупнее 0,1 мм составляют менее 75%

Пески с коэффициентом неоднородности  > 3 следует считать разнозернистыми (неоднородными).

Коэффициент неоднородности определяют по формуле

 =                                                                                                        (1)

где d60 - диаметр частиц в мм; суммарное содержание частиц, имеющих меньшие диаметры, составляет в данном грунте 60 % (повесу);

d10 - диаметр частиц в мм; суммарное содержание частиц, имеющих меньшие диаметры, составляет в данном грунте 10 % (повесу).

Пески с  £ 3, а также мелкие пески с содержанием по весу 90 % и более частиц размером 0,10 - 0,25 мм следует считать одноразмерными.

2.5. Степень заполнения объема пор грунта водой G определяется по формуле

,                                                                                                          (2)

где W - природная весовая влажность грунта в долях единицы;

g - удельный вес материала частиц грунта в т/м3;

gв - удельный вес воды, принимаемый равным 1 т/м3;

e - коэффициент пористости грунта, определяемый как отношение объема пор к объему минеральной части грунта.

Песчаные грунты следует называть: маловлажными, если степень их влажности G £ 0,5; влажными, если 0,5 < G £ 0,8; насыщенными водой, если G > 0,8.

2.6. По степени водопроницаемости грунты, используемые для железнодорожных насыпей, разделяются на:

дренирующие, к которым относятся скальные и крупнообломочные грунты, пески гравелистые, крупные и средней крупности, а также пески мелкие, удовлетворяющие одному из следующих условий: коэффициент фильтрации грунта должен быть ³ 0,5 м/сутки; содержание частиц размером меньше 0,1 мм должно быть £ 15%, в том числе размером менее 0,005 мм £ 2% по весу;

недренирующие, к которым относятся глинистые грунты, а также пески мелкие, не удовлетворяющие вышеуказанным условиям.

Примечание. Коэффициент фильтрации следует определять при максимальной плотности для данного грунта, устанавливаемой по методу стандартного уплотнения согласно приложению 2.

2.7. Глинистые грунты подразделяются на виды и разновидности с учетом их зернового состава и пластичности (табл. 3). В случаях расхождения вида грунта, устанавливаемого по содержанию песчаных частиц и по числу пластичности, следует принимать наименование грунта, соответствующее числу пластичности.

Таблица 3

Вид грунта

Разновидности грунтов

Содержание песчаных частиц размером от 2 до 0,05 мм в % по весу*

Число пластичности Wп

 

легкая крупная

> 50

 

Супесь

легкая

> 50

1 £ Wп £ 7

 

пылеватая

20 — 50

 

 

тяжелая пылеватая

< 20

 

 

легкий

> 40

7 < Wп £ 12

Суглинок

легкий пылеватый

< 40

 

 

тяжелый

> 40

12 < Wп £ 17

 

тяжелый пылеватый

< 40

 

Глина

песчанистая

> 40

 

 

пылеватая

Меньше, чем пылеватых размером 0,05 — 0,005 мм

17 < Wп £ 27

 

жирная

Не нормируется

Wп > 27

* Для супесей легких крупных учитывается содержание частиц размером 2 — 0,25 мм.

К наименованию глинистого грунта, установленному по табл. 3, при содержании в образце рассматриваемого грунта 20 - 50 % (по весу) частиц крупнее 2 мм добавляется «гравелистый» (при окатанных частицах) или «щебенистый» (при неокатанных частицах).

2.8. Глинистые грунты следует различать по их состоянию согласно табл. 4 в зависимости от величины коэффициента консистенции В, определяемого по формуле

,                                                                                                   (3)

где W - естественная влажность грунта на момент определения его состояния в %;

Wp - влажность на границе раскатывания, определяемая по ГОСТ 5183-64;

wt - влажность на границе текучести, определяемая по ГОСТ 5184-64.

Таблица 4

Разновидности грунтов

Коэффициент консистенции В

Супеси, суглинки, глины:

 

твердые

В < 0

полутвердые

0 £ В £ 0,25

тугопластичные

0,25 < В £ 0,5

мягкопластичные

0,5 < В £ 0,75

текучепластичные

0,75 < В £ 1

текучие

В > 1

2.9. Глинистые грунты следует считать переувлажненными, если их влажность превышает значения, при которых грунт в насыпи может быть уплотнен до требуемых величин (п. 2.19), а в пределах выемок они имеют коэффициент консистенции В > 0,25.

2.10. К грунтам особых разновидностей следует относить грунты и скальные породы, обладающие при определенных условиях специфически неблагоприятными строительными свойствами, которые необходимо учитывать при проектировании земляного полотна (приложение 3).

2.11. К просадочным от замачивания следует относить глинистые грунты, имеющие G £ 0,6 и значение

                                                                                                    (4)

где e0 - коэффициент пористости образца природного сложения и влажности;

eт - коэффициент пористости того же образца грунта при влажности на границе текучести.

2.12. К набухающим, следует относить глинистые грунты, у которых суммарный показатель степени набухания - усадки DVс составляет

                                                                                      (5)

где DVн и DVу - показатели, соответственно характеризующие степень набухания и усадки, определяемые по формулам

                                                                                            (5')

                                                                                             (5")

где Vo - первоначальный объем образца грунта в см3;

Vн, Vy - объемы образцов соответственно после свободного набухания при,  увлажнении и после свободной усадки при высушивании.

Грунты, имеющие DVс ³ 0,20, являются сильно набухающими.

2.13. Грунты для насыпей следует применять с учетом их свойств и состояния, особенностей природных условий в пределах участка размещения проектируемого объекта, а также места нахождения запасов грунта (табл. 5).

Таблица 5

Вид грунта

Ограничения для применения

Применение

Скальные, крупнообломочные, дренирующие песчаные, а также супеси легкие крупные

Без ограничения по условиям обеспечения устойчивости земляного полотна

Во всех случаях

Недренирующие мелкие и пылеватые пески и супеси легкие

Ограничено применение по условиям производства земляных работ (при отсыпке в воду)

При всех условиях, в том числе на болотах I и II типов (п. 7.2), за исключением случаев, когда требуется отсыпка грунта в воду при пересечении водотоков и водоемов, а также болот III типа

Все глинистые грунты за исключением перечисленных в п. 2.15

Ограничено применение по условиям увлажнения грунтов основания и состоянию грунта, используемого для насыпи, в период производства земляных работ

Во всех случаях при влажности, не превышающей установленные нормы (п. 2.22); на сухом основании - для насыпей высотой до 12м*; на сыром и мокром основаниях установленных высот (табл. 18)

* Условия применения глинистых грунтов для насыпей высотой более 12 м устанавливаются по результатам расчетов.

Для насыпей во всех условиях можно применять грунты, состояние которых под воздействием природных факторов практически не изменяется или изменяется незначительно и не влияет на прочность и устойчивость земляного полотна. К ним следует относить:

скальные из слабовыветривающихся и легковыветривающихся неразмягчаемых горных пород;

крупнообломочные, песчаные, за исключением мелких недренирующих и пылеватых песков;

супеси легкие крупные.

Применение этих грунтов, а также кислых и нейтральных металлургических шлаков может быть ограничено только по экономическим соображениям с учетом местных условий.

2.14. Грунты, а также шлаки и золошлаковые смеси, состояние и свойства которых существенно изменяются под воздействием природных факторов. Допускаются к использованию в качестве материала для насыпей с учетом ограничений. К таким грунтам относятся:

скальные из легко выветривающихся размягчаемых горных пород (см. приложение 1);

мелкие не дренирующие и пылеватые пески;

глинистые грунты;

некоторые грунты особых разновидностей (см. п. 2.10).

Возможность и целесообразность применения этих грунтов, а также шлаков и золошлаковых смесей устанавливаются в зависимости от местных условий и технико-экономических соображений с учетом обоснованного выбора конструкции насыпи, а также способов защиты земляного полотна от разрушающего воздействия природных факторов. При этом глины мергелистые, сланцевые и жирные; грунты меловые, тальковые и трепельные, а также шлаки и золошлаковые смеси разрешается применять только для верхней части пойменных и подтопляемых насыпей.

2.15. Не допускается, как правило, применять для насыпей следующие грунты:

глинистые избыточно засоленные (см. приложение 3);

глинистые с влажностью, превышающей допустимую (см. п. 2.22);

торф, ил, мелкий песок и глинистые грунты с примесью ила и органических веществ;

верхний почвенный слой, содержащий в большом количестве корни растений, - для насыпей высотой до 1 м;

тальковые, пирофиллитовые грунты и трепелы - для насыпей на мокром основании (п. 2.23) и на участках, где возможен длительный застой воды;

грунты, содержащие гипс в количестве, превышающем нормы, приведенные в табл. 6.

Таблица 6

Условия применения

Предельное содержание гипса в %

1. В пределах II - IV дорожно-климатических зон для насыпей на участках с основаниями:

 

а) сухими и сырыми (I и II тип местности, п. 2.23)

30

б) мокрыми (III тип местности, п. 2.23)

20

2. В пределах V дорожно-климатической зоны для насыпей на участках с основаниями:

 

а) сухими и сырыми

40

б) мокрыми

30

3. Для нижней части пойменных и подтопляемых насыпей железных дорог во всех дорожно-климатических зонах

5

Перечисленные в п. 2.15 грунты разрешается применять в исключительных случаях для дорог III - V категорий при обязательном осуществлении дополнительных мер, направленных на обеспечение требуемой прочности и устойчивости земляного полотна.

2.16. Для насыпей, возводимых средствами гидромеханизации, следует применять дренирующие грунты. Использование мелких, пылеватых песков и супесей разрешается при условии, что в теле возводимой насыпи будет не более 15% частиц размером менее 0,1 мм.

2.17. Для нижней части постоянно подтопляемых насыпей, при сооружении которых требуется отсыпка грунта в воду, необходимо применять скальные или крупнообломочные грунты, песок крупный или средней крупности, а также супесь легкую крупную с содержанием в ней глинистых частиц не более 6%.

Нормы уплотнения грунта в теле насыпей

2.18. В проектах необходимо предусматривать работы по уплотнению насыпей из грунтов всех видов, за исключением скальных из слабовыветривающихся горных пород (для железнодорожных насыпей). Для верхней части насыпей из скальных грунтов слабовыветривающихся пород следует применять щебенистый материал.

Уплотнение в железнодорожных насыпях скальных грунтов из легко выветривающихся пород (аргиллитов, алевролитов, глинистых сланцев и т.п.), а также крупнообломочных грунтов, в том числе с глинистым заполнителем, обеспечивается посредством:

назначения необходимого числа проходов уплотняющих машин, устанавливаемого на основе предварительного пробного уплотнения;

ограничения толщины отсыпаемых слоев и размеров отдельных камней;

создания запаса на осадку согласно нормам, приведенным в табл. 7, п. 1.

Таблица 7

Характеристика условий

Величина запаса в % от проектной высоты насыпи

1. Насыпи железнодорожные из скальных и крупнообломочных грунтов при послойном возведении насыпи с применением уплотняющих машин

3

2. Насыпи железнодорожные из песчаных и глинистых грунтов, возводимые с коэффициентом уплотнения К:

 

К = 0,90 (п. 2.19)

1 - 2,5*

К = 0,95

0,5

3. Насыпи железнодорожные из глинистых переувлажненных грунтов

2 - 3

* Большие величины запаса относятся к насыпям, возводимым в короткие сроки (до 6 месяцев) из грунтов с влажностью, близкой к предельно допустимой (п. 2.22).

2.19. Требуемую плотность песчаных и глинистых грунтов в теле насыпей  в г/см3 следует определять по формуле

,                                                                                                   (6)

где - максимальная плотность (объемный вес скелета используемого грунта) в г/см3, определяемая по методу стандартного уплотнения (приложение 2);

К - минимальный коэффициент уплотнения, принимаемый по табл. 8 - для железнодорожных насыпей и табл. 9 - для автодорожных.

Таблица 8

Часть

насыпи

Общая толщина уплотняемых слоев в м для линий

Коэффициент К для линий

I, II категорий и вторых путей

III категории

I категории и вторых путей

II, III категорий***

Верхняя

1,0

0,5

0,98; 0,95*

0,95; 0,92*

Нижняя

Зависит от высоты насыпи

0,95; 0,92*

0,95**; 0,90

* Для насыпей из одноразмерных песков.

** На участках с сильно пересеченным рельефом, а также в пределах участков длиной до 100 м на подходах к средним и большим мостам и на участках подтопления.

*** Для линий IV и V категорий минимальное значение коэффициента уплотнения устанавливается равным 0,90 по всей высоте насыпей.

Уменьшение коэффициента уплотнения песчаных и глинистых грунтов по сравнению с нормами, приведенными в табл. 8, допускается для насыпей железных дорог в случаях невозможности или нецелесообразности достижения этих значений по физическим свойствам фунтов с малой влажностью, в том числе сухих барханных песков, или переувлажненных глинистых гротов. Для насыпей автомобильных дорог такое уменьшение по сравнению с величинами табл. 9 необходимо предусматривать в случае применения глинистых переувлажненных грунтов.

Таблица 9

Виды земляного полотна

Часть земляного полотна

Глубина расположения слоя от поверхности

покрытия в м

Коэффициент К в случаях применения покрытия

усовершенствованных капитальных

усовершенствованных облегченных и переходных

В дорожно-климатических зонах

II, III

IV, V

II, III

IV, V

Насыпи

Верхняя

До 1,5

1,00; 0,98

0, 98, 0,95

0,98; 0,95

0, 95;

Нижняя

неподтапливаемая

1,5 - 6,0

0,95

0,95

0,95

0,95; 0,90

Более 6,0

0,98

0,95

0,95

0, 95; 0,90

Нижняя

подтапливаемая

1,5 - 6,0

0,98; 0,95

0,95

0,95

0,95

Более 6,0

0,98

0,98

0,95

0,95

Выемки и естественные основания

низких насыпей

В слое сезонного промерзания

До 1,2*

1,00; 0,98

0,98; 0,95

0,98; 0,95

0,95

Ниже слоя сезонного промерзания

До 1,2*

0,95,

0,95; 0,92

0,95; 0,92

0,90

* В пределах IV и V дорожно-климатических зон - до 0,8 м.

Примечание. Большие значения коэффициента уплотнения следует принимать в случаях применения цементобетонных и цементогрунтовых покрытий и оснований, а также усовершенствованных облегченных покрытий.

Уменьшенные значения коэффициента уплотнения следует принимать на основе данных стандартного уплотнения с учетом положений п. п. 2.22, 5.9, а также предусматривать дополнительные меры, обеспечивающие общую устойчивость земляного полотна и прочность его основной площадки для железных дорог и верхней части земляного полотна для автомобильных дорог, с обоснованием решений технико-экономическими расчетами.

Для железнодорожных насыпей, возводимых с К £ 0,95, следует предусматривать запас на осадку по нормам табл. 7.

При этом для верхней части (толщиной 0,5 - 1,0 м) железнодорожных насыпей во всех случаях не допускается применять грунты, абсолютное значение плотности которых после уплотнения менее 1,45 г/см3.

Для автодорожных насыпей коэффициент уплотнения одноразмерных песков, за исключением сухих барханных, следует назначать по табл. 10. При этом необходимо учитывать, что покрытия капитального типа на насыпях из одноразмерных песков допускается устраивать, как правило, не ранее чем через год после сооружения земляного полотна.

Таблица 10

Часть

насыпи

Глубина расположения слоя от

поверхности

покрытия в м

Значения коэффициента уплотнения К в случаях применения покрытий типов

усовершенствованных

переходных

 

капитальных

облегченных

Верхняя

До 0,8

0,98

0,95

0,95

Нижняя

Более 0,8

0,95

0,95

0,92

2.20. Фактический объем потребного грунта для насыпей - Vнф в м3 в случаях, когда требуемая плотность грунта в теле насыпи больше естественной плотности грунта и резерве (карьере), определяется по формуле

Vнф. = Vн K1.                                                                                                 (7)

где Vн - объем проектируемой насыпи в м3;

K1 - коэффициент относительного уплотнения грунта в теле насыпи, определяемый по формуле

                                                                                                        (7')

где  и  плотность грунта в г/см3, соответственно требуемая в насыпи и естественная в резерве (карьере).

Нормы влажности грунтов

2.21. Влажность песчаных и глинистых грунтов, подлежащих уплотнению, необходимо учитывать при оценке возможности использования их в насыпях, а также при установлении коэффициента уплотнения. Для насыпей следует применять преимущественно грунты, имеющие оптимальную влажность Wo или близкую к ней.

Примечание. Численные значения оптимальной влажности следует определять при испытании данного грунта по методу стандартного уплотнения (см. приложение 2).

Если естественная влажность используемых глинистых грунтов окажется (в резерве, карьере, выемке) ниже 0,9 Wo и песков - менее 4%, необходимо предусматривать искусственное увлажнение их до получения оптимальной влажности.

2.22. Максимальная влажность Wïð, при которой будет обеспечена требуемая плотность грунта в насыпях для железных дорог, устанавливается по кривой стандартного уплотнения данного грунта или определяется по формуле

                                             (8)

где Wn - число пластичности, равное Wт - Wp, в %. Значения Wт, Wp,  приведены в формулах (3), (6);

V - содержание воздуха в порах грунта, принимаемое равным в супесях 5%, в суглинках и глинах - 3 - 4%;

- удельный вес грунта; при отсутствии лабораторных данных его значение можно принимать равным для: супесей - 2,68; суглинков - 2,70; глин - 2,74 г/см3;

 - удельный вес воды, принимаемый равным 1 г/см3.

Максимальная влажность грунтов Wnp для насыпей автомобильных дорог может быть определена по формуле

Wnp = Ky Wo,                                                                                                 (8')

где Ку - коэффициент «переувлажнения», принимаемый по табл. 11;

Wo - оптимальная влажность в % для данного грунта (см. приложение 2).

Таблица 11

Разновидности грунтов

Ку при требуемом коэффициенте уплотнения грунта в теле насыпи

К ³ 0,98

К = 0,95

Пески пылеватые; супеси легкие крупные

1,35

1,60

Супеси легкие и пылеватые

1,25

1,35

Супеси тяжелые пылеватые; суглинки легкие и легкие пылеватые

1,15

1,30

Суглинки тяжелые и тяжелые пылеватые

1,05

1,20

Естественные основания и типы местности

2.23. Оценку естественных оснований по условиям их увлажнения при выборе грунтов для насыпей и проектирования земляного полотна следует выполнять с учетом показателей, приведенных в табл. 12 для железных дорог и в табл. 13 - для автомобильных дорог.

Таблица 12

Тип основания

Показатели увлажнения

1. Сухое

Условия для поверхностного стока хорошие; глинистые грунты на глубине до 1 м имеют влажность не более Wp + 0,2Wn, грунтовые воды отсутствуют или залегают на глубине более 2 м от поверхности земли

2. Сырое

Условия для поверхностного стока плохие; глинистые грунты в предморозный период имеют влажность на глубине до 1 м от более Wp + 0,25Wn до более Wp + 0,75Wn, а уровень грунтовых вод - на глубине более 1 м от поверхности земли

3. Мокрое

Поверхностный сток отсутствует; глинистые грунты в предморозный период имеют влажность на глубине до 1 м, равную более Wp + 0,75Wn и более, а уровень грунтовых вод — на глубине до 1 м; имеются выходы грунтовых вод на поверхность земли

Таблица 13

Тип местности

Показатели увлажнения

1.

Сухие места

Поверхностный сток обеспечен, грунтовые воды не оказывают существенного влияния на увлажнение верхней толщи грунтов*

2.

Сырые места

Поверхностный сток не обеспечен, но грунтовые воды не оказывают существенного влияния на увлажнение верхней толщи грунтов*; почвы с признаками поверхностного заболачивания; весной и осенью появляется застой воды на поверхности.

3.

Мокрые места

Грунтовые воды или длительно стоящие (более 20 суток) поверхностные воды влияют на увлажнение верхней толщи грунтов; почвы торфяные, оглеенные с признаками заболачивания, а также солончаки и постоянно орошаемые территории засушливых областей

* В случаях, если уровень грунтовых вод в предморозный период залегает ниже расчетной глубины промерзания: на 2,0 м и более в глинах, суглинках тяжелых пылеватых и тяжелых; на 1,5 м и более в суглинках легких пылеватых и легких, супесях тяжелых пылеватых и пылеватых; на 1,0м и более в супесях легких, легких крупных и песках пылеватых.

2.24. В зависимости от прочности или несущей способности грунтов и величины расчетных нагрузок естественные основания железнодорожного земляного полотна следует подразделять на прочные, недостаточно прочные и слабые.'

К прочным относятся естественные основания, сложенные скальными породами, а также крупнообломочными, песчаными, глинистыми твердыми и полутвердыми грунтами (см. п. 2.8).

К недостаточно прочным относятся естественные сырые и мокрые основания из глинистых тугопластичных и мягкопластичных грунтов в случаях, когда относительная осадка основания окажется больше относительной осадки проектируемой насыпи с требуемой плотностью грунта (см. п. 2.18, 2.19), а расчетная величина общей осадки основания превысит 0,10 м.

К слабым относятся естественные мокрые основания, сложенные торфом, илами и глинистыми грунтами с влажностью, превышающей Wp + 0,75Wn, деформация которых может вызывать появление больших по величине и неравномерных во времени осадок возведенных на них насыпей или нарушение общей устойчивости земляного полотна типовой конструкции.

3. ОСНОВНЫЕ КОНСТРУКТИВНЫЕ ПАРАМЕТРЫ ЗЕМЛЯНОГО ПОЛОТНА

Очертание верха земляного полотна

3.1. Поперечное очертание верха земляного полотна железных дорог на перегонах следует принимать в зависимости от количества путей и вида грунта, используемого для земляного полотна, в соответствии с рис. 2.

Рис. 2. Поперечное очертание верха земляного полотна:

а, г - из глинистых грунтов, мелких недренирующих и пылеватых песков, а также из легковыветривающихся размягчаемых скальных пород соответственно для однопутных и двухпутных железных дорог; б, в - из скальных грунтов слабовыветривающихся и легковыветривающихся неразмягчаемых скальных пород, крупнообломочных и песчаных дренирующих грунтов соответственно для однопутных и двухпутных железных дорог; Бп - отметка бровки земляного полотна по продольному профилю, b - ширина земляного полотна по нормам табл. 15, t - ширина междупутья

3.2. Поперечный профиль верха земляного полотна автомобильных дорог следует проектировать двускатным на прямых участках, а также в пределах кривых радиусом 3000 м и более для дорог I категории и кривых радиусом 2000 м и более для дорог других категорий.

В пределах кривых с меньшими радиусами земляное полотно необходимо проектировать односкатным, предусматривая устройство виражей, согласно требованиям главы СНиП по проектированию автомобильных дорог.

3.3. Поперечные уклоны верха земляного полотна автомобильных дорог при двускатном поперечном профиле следует назначать в зависимости от типа применяемого покрытия в соответствии с табл. 14.

Таблица 14

Наименование покрытия дорог

Величина уклонов

1. Цементобетонные и асфальтобетонные

0,015 — 0,020

2. Брусчатые, мозаиковые и клинкерные мостовые

0,020 ¾ 0,025

3. Щебеночные, гравийные и из других материалов, обработанных органическими вяжущими

0,020 — 0,025

4. Щебеночные и гравийные

0,025 ¾ 0,030

5. Мостовые из колотого и булыжного камня, укрепленные местными материалами

0,030 ¾ 0,040

Обочины земляного полотна необходимо проектировать с поперечным уклоном в зависимости от типа их укрепления: для обочин, укрепляемых с применением вяжущих материалов, уклон следует принимать равным 0,03 - 0,04, для обочин, укрепляемых гравием или щебнем, - 0,04 - 0,06, дерном - 0,05 - 0,08.

Уклон обочин, укрепляемых посевом трав, может быть уменьшен до 0,04.

Ширина земляного полотна поверху

3.4. Ширину земляного полотна новых железных дорог на прямых участках в пределах перегонов и ширину земляного полотна автомобильных дорог следует принимать по нормам, приведенным в табл. 15.

Таблица 15

Категория

линий или

дорог

 

Ширина земляного полотна b на прямых участках в м для

 

однопутных железных

дорог при использовании грунтов

автомобильных дорог

 

Основная

Мèíèìàëüíàÿ нà оñîáî тðóäíûõ

у÷àñòêàõ в гîðíîé мåñòíîñòè

глинистых и недренирующих песков мелких и пылеватых

скальных, крупнообломочных и песчаных дренирующих

 

I

6,5*

5,8*

27,5**

23,0

 

II

6,5

5,8

15,0

10,5

 

III

5,8

5,2

12,0

9,0

 

IV

5,5

5,0

10,0

8,0

 

V

5,0

4,6

8,0

6,5

 

* Ширину земляного полотна для железных дорог I категории при соответствующих технико-экономических обоснованиях допускается принимать равной: 7,0 м в случаях использования глинистых грунтов и 6,0 м - скальных и дренирующих грунтов.

** Ширина земляного полотна автомобильных дорог I категории принимается более 27,5 м при числе полос движения больше четырех.

 

3.5. Ширина земляного полотна железных дорог и соответственно высота насыпи или глубина выемки относятся, независимо от вида используемого грунта (см. рис. 2), к уровню отметки бровки земляного полотна - Бп, устанавливаемому по продольному профилю.

Длину участков и конструктивные решения по сопряжению земляного полотна с разной шириной на уровне бровки следует принимать с учетом:

вида сопрягаемого земляного полотна (насыпь или выемка);

поперечного очертания верха земляного полотна (с наличием сливной призмы или горизонтальное);

высоты сливной призмы (см. рис. 2, а, г);

разности толщин балластного слоя;

допустимости уменьшения ширины обочин до 0,40 м, в пределах участков сопряжения;

продольного уклона пути на рассматриваемом и смежных участках;

минимального элемента проектирования продольного профиля, принятого для данной линии.

3.6. Земляное полотно в пределах кривых необходимо проектировать с уширением, величина которого назначается в зависимости от радиуса кривой по табл. 16.

Таблица 16

А. Для железных дорог

Радиус кривой в м

Уширение в м

Радиус кривой в м

Уширение в м

Категория дорог

I, II

III - V

4000 - 3000

0,1

4000 - 2000

-

2500 - 1800

0,2

1800 - 1200

0,1

1500 -- 700

0,4

1000 - 700

0,2

600 и менее

0,5

600 и менее

0,3

Б. Для двухполосных автомобильных дорог

Радиус кривой в м

Уширение в м

Радиус кривой в м

Уширение в м

700 - 600

0,4

80-70

1,3

600 - 450

0,5

60

1,4

400 - 250

0,5 - 0,8

50

1,5

200 - 150

0,8 - 0,9

40

1,8

125 - 90

0,9 - 1,1

30

2,2

Уширение земляного полотна следует предусматривать: для железных дорог с внешней стороны кривой, для автомобильных дорог - с внутренней.

Переход от нормальной ширины к увеличенной необходимо осуществлять в пределах переходных кривых.

3.7. Ширину земляного полотна двухпутных и многопутных железных дорог по сравнению с нормальной для однопутного полотна (см. табл. 15) необходимо увеличивать на размер междупутья с учетом его уширения в кривых, согласно ГОСТ 9238-73; при этом расстояние от оси существующего пути до бровки проектируемого земляного полотна из недренирующих грунтов должно быть не менее 3,5 м, а из скальных и дренирующих грунтов - не менее 3,0 м.

3.8. Ширину насыпей поверху на расстоянии 10 м от задней грани устоев больших мостов необходимо увеличивать не менее чем на 0,5 м в каждую сторону от оси полотна с переходом на нормальную ширину на последующих 15 м.

3.9. Ширину насыпей на слабом основании, а также возводимых с запасом на осадку (см. табл. 7), следует устанавливать с расчетом обеспечения требуемых норм (см. табл. 15) после полной осадки земляного полотна.

Высота насыпей и глубина выемок

3.10. Максимальная высота насыпей и глубина выемок назначаются при проектировании продольного профиля по технико-экономическим соображениям.

3.11. Минимальную высоту насыпей следует устанавливать по условиям незаносимости снегом и песком, а также - предохранения от перелива воды на участках подтопления в соответствии с требованиями глав СНиП по проектированию железных и автомобильных дорог.

Кроме того, требуется предусматривать меры, направленные на обеспечение прочности и устойчивости основной площадки земляного полотна железных дорог или верха земляного полотна автомобильных дорог в пределах участков с сырым и мокрым основанием, в зависимости от вида и состояния грунтов основания и грунта, применяемого для насыпи.

3.12. Величину возвышения бровки насыпей над поверхностью снегового покрова, а также бровки насыпей и дамб у водопропускных сооружений следует принимать согласно главам СНиП по проектированию железных и автомобильных дорог.

4. ВИДЫ ПРОЕКТОВ ЗЕМЛЯНОГО ПОЛОТНА

4.1. На участках с простыми инженерно-геологическими, гидрогеологическими и другими природными условиями следует проектировать с применением типовых конструкций:

насыпи железнодорожные на прочном и устойчивом естественном основании в пределах участков с поперечным уклоном местности не круче 1:3, высотой до 12 м - из крупнообломочных и глинистых твердых и полутвердых грунтов: до 6 м - из глинистых тугопластичных грунтов; до 20 м - из камня; насыпи автодорожные высотой до 12 м на прочном основании;

насыпи железнодорожные на болотах I и III типов (см. п. 7.2.) глубиной до 4 м, на болотах II типа глубиной до 3 м; при поперечном уклоне дна болот I типа не круче 1:10; II типа - 1:15; III типа -- 1:20; насыпи автодорожные на болотах глубиной до 4 м при поперечном уклоне дна болот 1:10 и менее в случае полного удаления болотных отложений;

насыпи на естественном основании из засоленных грунтов (см. приложение 3);

выемки глубиной до 12 м в нескальных грунтах и до 16 м - в скальных породах при благоприятных инженерно-геологических условиях;

земляное полотно в районах подвижных песков;

земляное полотно на участках с искусственным орошением.

4.2. Земляное полотно и водоотводные устройства в пределах участков со сложными природными условиями, а также в случаях необходимости применения сложных конструкций, когда устойчивость и прочность сооружения и его основания должны быть проверены расчетом, необходимо проектировать индивидуально.

К объектам индивидуального проектирования следует относить:

насыпи железнодорожные высотой более 12 м - из крупнообломочных и глинистых твердых и полутвердых грунтов; более 6 м - из глинистых тугопластичных грунтов; более 20 м - из камня; насыпи автодорожные высотой более 12 м - из нескальных грунтов;

насыпи железнодорожные в пределах болот I и III типов глубиной более 4 м и болот II типа глубиной более 3 м; при поперечном уклоне дна болот I типа круче 1:10, II типа - 1:15, III типа - 1:20; в пределах болот с торфом различной консистенции, не поддающихся классификации;

насыпи автодорожные на болотах глубиной более 4 м или на болотах меньшей глубины, когда не предусматривается выторфовывание, а также на болотах с поперечным уклоном дна более 1:10;

насыпи в пределах участков со слабыми естественными основаниями (см. п. 2.24), в том числе в местах размещения водопропускных сооружений, а также при выходе ключей в пределах основания;

насыпи на участках временного подтопления, а также на участках пересечения водоемов и водотоков;

насыпи железнодорожные на косогорах круче 1:5, сложенных скальными породами;

выемки в нескальных грунтах при высоте откосов более 12 м и в скальных - более 16 м при благоприятных инженерно-геологических условиях;

выемки при высоте откосов менее 16 м в скальных породах при неблагоприятных инженерно-геологических условиях, в том числе при залегании пластов горных пород с наклоном круче 1:3 в сторону полотна;

выемки в глинистых переувлажненных грунтах с коэффициентом консистенции более 0,5 или вскрывающих водоносные горизонты;

выемки глубиной более 6 м в глинистых пылеватых грунтах в районах с избыточным увлажнением, а также в глинистых грунтах, резко снижающих прочность и устойчивость в откосах при воздействии климатических факторов;

земляное полотно в сложных инженерно-геологических условиях (на косогорах круче 1:3, на участках с наличием или возможным развитием оползней, обвалов, осыпей, каменных россыпей, снежных лавин, селей, оврагов, карста, наледей, подземного льда);

земляное полотно из сильно набухающих глинистых грунтов;

земляное полотно, при сооружении которого используется гидромеханизация и массовые взрывные способы производства работ;

земляное полотно в районах с сейсмичностью более 9 баллов (для железных дорог I и II категорий);

водоотводные и дренажные устройства и сооружения.

5. НАСЫПИ

Железнодорожные насыпи на сухом и прочном основании, автодорожные насыпи на I-м типе местности

5.1. Для насыпей на сухом и прочном основании следует использовать, как правило, грунт из резервов, притрассовых карьеров и ближайших выемок или шлак металлургический.

Верхнюю часть насыпей автомобильных дорог на 1,2 м от поверхности цементобетонных покрытий и на 1,0 м от поверхности асфальтобетонных покрытий во II дорожно-климатической зоне и соответственно на 1,0 - 0,8 м - в III зоне, необходимо проектировать преимущественно из непучинистых или слабопучинисты грунтов (приложение 4). При использовании для насыпей пучинистых грунтов IV - VI групп необходимо по данным расчетов предусматривать устройство морозозащитных слоев.

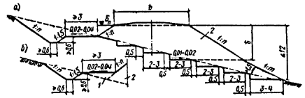
Рис. 3. Поперечные профили насыпей высотой:

а - до 6 м для железных дорог; б - более 6 м для железных и автомобильных дорог

Рис. 4. Поперечный профиль насыпей из недренирующих грунтов для железных дорог на косогорах крутизной от 1:5 до 1:3

а - с нагорной канавой и бермой в грунте естественного сложения; б - то же, с засыпкой ïàçóõè, 1 -- засыпка, 2 - тело насыпи

рис. 5. Поперечные профили насыпей из привозных грунтов для автомобильных дорог

Рис. 6. Поперечные профили насыпей из грунта боковых резервов для автомобильных дорог.

Рис. 7. Поперечный профиль насыпей высотой до 1,5 м для автомобильных дорог в пригородных зонах и в местах, подверженных снежным заносам

Рис. 8. Поперечный профиль насыпей из грунта бокового резерва для автомобильных дорог на косогорах крутизной от 1:10 до 1:5

Рис. 9. Поперечный профиль насыпей для автомобильных дорог на косогорах крутизной от 1:5 до 1:3

1 - кювет глубиной не менее 0,3 м; 2 - банкет; 3 - нагорная канава

5.2. Конструкцию насыпей следует принимать в зависимости от высоты насыпи, вида применяемого грунта, поперечного уклона местности и способов производства земляных работ, с использованием поперечных профилей и рис. 3 и 4 для железных дорог и рис. 3, б и 5 - 9 для автомобильных дорог.

Водоотводные устройства и резервы следует проектировать в соответствии с положениями разделов 11 и 12 настоящих Указаний.

5.3. Крутизну откосов необходимо назначать по табл. 17 в зависимости от вида грунта и высоты насыпи.

Таблица 17

вид используемого грунта

Крутизна откосов при высоте насыпей в м, до

6

12

1. Камни слабовыветривающихся скальных пород

1:1,3

1:1,5

2. Глыбовый (валунный), щебенистый (галечниковый), дресвяный (гравийный), песок гравелистый, крупный и средней крупности, шлак металлургический

1:1,5

1:1,5

3. Песок мелкий и пылеватый, грунты глинистые, в том числе лессы и лессовидные суглинки

1:1,5

1:1,75*

Верхней части высотой 6 м 1:1,5

1:1,75*

 

 

нижней части высотой до 6 м 1:1,75

1:2,0*

4. Песок мелкий, барханный в условиях засушливого климата

1:2,0

1:2,0

* Для пылеватых грунтов в районах избыточного увлажнения и для одноразмерных мелких песков.

Примечания: 1. Из камня слабовыветривающихся скальных пород допускается проектировать: насыпи железнодорожные высотой до 20 м с крутизной откосов 1:1,5; насыпи автодорожные высотой до 6 м с крутизной откосов 1:1, высотой до 12 м с крутизной откосов 1:1,3.

2. Железнодорожные насыпи из глинистых грунтов тугопластичной консистенции (0,25 < В £ 0,50) следует проектировать высотой до 6м и крутизной 1:2 - для дорог I - III категорий, 1:1,75 - для дорог IV и V категорий; крутизну откосов и конструкцию насыпей высотой более 6 м следует назначать по результатам расчетов.

3. Крутизну откосов и конструкцию железнодорожных насыпей из мелких и пылеватых песков, легкой крупной и легкой супесей на болотах следует принимать согласно положениям пп. 7.4 - 7.8.

4. Наибольшую крутизну автодорожных насыпей, возводимых из местных (с перевозкой до 0,5 км) грунтов как правило, следует принимать: 1:4 - при высоте насыпей до 2 м - для дорог I - III категорий; 1:3 - при высоте насыпей до 1 м - для дорог остальных категорий.

5.4. Состав работ по подготовке основания насыпей следует назначать с учетом высоты проектируемой насыпи и поперечного уклона местности, в том числе: удаление дерна под насыпями высотой до 0,5 м - на равнинных участках местности и в пределах косогоров крутизной до 1:10; под насыпями высотой до 1 м - в пределах косогоров крутизной от 1:10 до 1:5; рыхление поверхности основания насыпей высотой более 1,0 м - в пределах косогоров крутизной от 1:10 до 1:5; удаление дерна и нарезку уступов шириной от 1 до 4 м, высотой до 2 м - в пределах косогоров крутизной от 1:5 до 1:3, независимо от высоты насыпи, в соответствии с рис. 4,9.

Верху уступов в основании насыпей следует придавать поперечный уклон в низовую сторону величиной 0,01 - 0,02; стенки уступов при их высоте до 1 м можно проектировать вертикальными, а при высоте до 2 м - с наклоном около 1:0,5.

Подготовка основания не предусматривается для насыпей, размещаемых на косогорах, сложенных дренирующими грунтами и не имеющих растительного покрова. Необходимость подготовки основания насыпей, размещаемых на косогорах, сложенных скальными породами, следует устанавливать в зависимости от местных условий.

Железнодорожные насыпи на сыром и мокром основаниях, автодорожные насыпи на 2-м и 3-м типах местности

5.5. Насыпи на сыром и мокром основаниях для железных дорог, а также автомобильных дорог с усовершенствованными покрытиями капитального типа в I - III дорожно-климатических зонах следует проектировать преимущественно из дренирующих грунтов.

При использовании дренирующих грунтов для возведения всей насыпи или ее нижней части специальные мероприятия по обеспечению устойчивости земляного полотна предусматривать не требуется.

Глинистые грунты, мелкие и пылеватые пески, а также другие недренирующие грунты допускается применять для возведения насыпей на сыром и мокром основаниях только при соблюдении следующих условий:

влажность глинистого грунта должна удовлетворять требованиям п. 2.21, 2.22 настоящих Указаний;

необходимо предусматривать мероприятия, обеспечивающие устойчивость и прочность земляного полотна и его основания, в том числе осушение грунтов основания посредством углубленных водоотводных канав, устройство берм;

верхнюю часть насыпей автомобильных дорог следует проектировать с соблюдением требований п. 5.1 настоящих Указаний.

5.6. Несущую способность оснований следует проверять расчетом на всех участках; для насыпей на недостаточно прочном и слабом основаниях (см. п. 2.24) необходимо учитывать осадку, а при целесообразности - предусматривать мероприятия, ограничивающие время осадок периодом строительства.

5.7. Возвышение бровки земляного полотна железных дорог I - III категорий и низа дорожной одежды автомобильных дорог над поверхностью земли, расчетным уровнем поверхностных вод, стоящих более 20 суток, или над уровнем грунтовых вод следует назначать по табл. 18 с учетом требований п. 3.11.

Величину возвышения бровки насыпей железных дорог IV и V категорий и низа дорожной одежды автомобильных дорог IV, V и IV - II категорий с переходными и низшими типами покрытий допускается уменьшать по сравнению с нормами табл. 18 на основе данных опыта эксплуатации дорог в районе строительства, но не более чем в 1,5 раза.

Величина возвышения низа дорожной одежды для насыпей автомобильных дорог, проектируемых из крупных песков или других грунтов, сохраняющих устойчивость во влажном состоянии, не нормируется.

Величину возвышения низа дорожной одежды насыпей, проектируемых с откосами крутизной мене 1:1,5, а также с бермами, следует устанавливать по расчету. Величины возвышения низа дорожной одежды, приведенные в табл. 18, допускается уменьшать на толщину морозозащитного слоя в случаях устройства такого слоя. Величину возвышения низа дорожной одежды над горизонтом грунтовых вод, понижаемых посредством дренажа, следует принимать на 25% больше указанного по табл.18.

Таблица 18

Грунт, используемый в насыпи

Величины возвышения в м для дорог, расположенных в пределах дорожно-климатических зон (см. табл.1)

 

II

III

IV

V

Песок средний и мелкий;

супесь легкая крупная

0,7

0,5

0,6

0,4

0,5

0,3

0,4

0,2

Песок пылеватый;

супесь легкая

1,2

0,6

0,8

0,5

0,8

0,4

0,7

0,3

Супесь пылеватая и тяжелая пылеватая; суглинок легкий, легкий пылеватый и тяжелый пылеватый

1,9

0,8

0,7

0,6

1,4

0,5

1,3

0,4

Суглинок тяжелый;

глины

1,9

0,7

1,4

0,6

1,1

0,4

1,0

0,4

Примечание Числитель - возвышение бровки железнодорожных насыпей над поверхностью земли или над уровнем поверхностных вод; возвышение низа дорожной одежды автомобильных дорог над уровнем грунтовых или длительно (более 20 суток) стоящих поверхностных вод.

Знаменатель - возвышение низа дорожной одежды автомобильных дорог над поверхностью земли на участках с необеспеченным поверхностным стоком или над уровнем кратковременно (менее 20 суток) стоящих поверхностных вод.

За расчетный уровень грунтовых вод надлежит принимать расчетный осенний уровень, а при отсутствии необходимых данных - наивысший возможный уровень, определяемый по верхней границе оглеения грунтов.

5.8. Дренажи для понижения уровня грунтовых вод или их перехвата, замену грунтов, устройство капилляропрерывающих или изолирующих прослоек (рис. 10 и 11) следует предусматривать в случаях, когда выполнение требований п. 5.7 относительно возвышения низа дорожной одежды будет нецелесообразно по данным технико-экономических расчетов.

Рис. 10. Поперечные профили автодорожных насыпей для автомобильных дорог с водонепроницаемыми прослойками (УГВ - на участках с высоким уровнем грунтовых вод, УПВ - на участках с длительным стоянием уровня поверхностных вод)

1 - изолирующая, водонепроницаемая прослойка толщиной 3 - 8 см грунта, обработанного битумом или другими гидрофобными материалами

Рис. 11. Поперечные профили автодорожных насыпей с капилляропрерывающей прослойкой

1 - крупный гравий или камень на выходе прослойки; 2 - слой толщиной 15 - 20 см из гравия, щебня, гравелистого песка и др.; 3 - противозаиливающие слои толщиной 3 - 5 см из песка или мелкого гравия

Изолирующие прослойки следует предусматривать преимущественно в пределах IV и V дорожно-климатических зон, а капилляропрерывающие прослойки - в пределах II и III зон. Верх изолирующих и капилляропрерывающих прослоек необходимо размещать от верха дорожной одежды на глубинах согласно табл. 19; расстояние между нижней гранью прослоек и наивысшим уровнем грунтовых вод или расчетным уровнем длительно стоящих поверхностных вод следует назначать не менее 0,20 м.

Таблица 19

Дорожно-климатические зоны

Глубина заложения верха прослоек в м

II

0,90

III

0,80

IV

0,75

V

0,65

Капилляропрерывающие прослойки следует проектировать толщиной 0,15 - 0,20 м из дренирующих материалов.

Насыпи из переувлажненных глинистых грунтов

5.9. Глинистые грунты тугопластичной консистенции (0,25 < В £ 0,50) допускается применять для насыпей железных дорог на естественном сухом или осушаемом основании.

Для насыпей автомобильных дорог допускается применять грунты с влажностью, при которой может быть достигнута плотность грунта в теле насыпи с коэффициентом уплотнения не менее 0,90; наибольшее значение влажности We, удовлетворяющее этому условию, определяется по формуле

                                                                                        (9)

где V, gу и gск.макс - значения те же, что и в формулах (6) и (8).

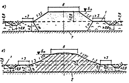
5.10. Насыпи из переувлажненных глинистых грунтов следует проектировать применительно к поперечным профилям, приведенным на рис. 12 - для железных дорог I - III категорий, рис. 13 - для автомобильных дорог.

Рис 12. Поперечный профиль насыпей из глинистых переувлажненных грунтов для железных дорог

1 - глинистый грунт, 2 - дренирующий грунт

Рис. 13. Поперечный профиль насыпей из глинистых переувлажненных грунтов для автомобильных дорог

1 - глинистый грунт, 2 - дренирующий грунт, 3 - песок или непылеватая супесь

Необходимость применения поперечного профиля рис. 12, а также толщина верхнего слоя грунта h3 для насыпей железных дорог IV и V категорий должны быть обоснованы в проектах с учетом местных условий.

5.11. Толщину верхнего слоя грунта h3 для насыпей железных дорог I - III категорий, проектируемых применительно к поперечному профилю, произведенному на рис. 12, следует назначать по нормам табл. 20.

Таблица 20

Расчетная величина коэффициента консистенции В глинистого грунта, используемого для насыпи

Толщина слоя h3, в м

0,26

0,30

0,35

0,40

0,50

0,50

Увеличение толщины h3 сверх норм, приведенных в табл. 20, допускается при соответствующем обосновании, учитывающем местные условия.

Толщину слоя дренирующего грунта для верхней части насыпей автомобильных дорог (см. рис. 11) следует назначать от 1,2 до 1,5 м, ниже поверхности покрытия в пределах II дорожно-климатической зоны и от 1,0 до 1,2 м - в пределах III - IV зон; слой дренирующего грунта в нижней части насыпей необходимо назначать толщиной 0,3 - 0,4 м по всех дорожно-климатических зонах.

5.12. В проектах насыпей из переувлажненных глинистых грунтов необходимо предусматривать мероприятия, учитывающие вероятность последующего уплотнения тела насыпи, в том числе: для железнодорожных насыпей - конструктивный запас по высоте или ширине верха насыпи, по нормам табл. 7; для насыпей автомобильных дорог - соответствующую технологию производства работ, согласно которой устройство усовершенствованных покрытий и оснований из материалов типа цементогрунта допускается выполнять только после прекращения осадок земляного полотна, устанавливаемого по данным измерений.

5.13. Верх земляного полотна из переувлажненных глинистых грунтов в местах сопряжения с земляным полотном из непереувлажненного глинистого или дренирующего грунта следует проектировать с продольным уклоном не круче 0,05.

5.14. При разработке проектов насыпей автомобильных дорог из переувлажненных грунтов необходимо предусматривать мелиоративные мероприятия по осушению грунтов в резервах или конусах, а также осушение грунта посредством обработки негашеной известью или другими осушающими добавками, в том числе золой ТЭЦ и других предприятий, удовлетворяющей соответствующим требованиям.

Количество осушающих добавок необходимо назначать в зависимости от свойств этих добавок, а также от вида осушаемого грунта и степени его переувлажнения.

6. ВЫЕМКИ

6.1. Выемки следует проектировать в зависимости от их глубины, состояния и свойств грунтов, а также от климатических условий района.

Крутизну откосов необходимо принимать по нормам табл. 21 в зависимости от вида, состояния и свойств грунтов, вскрываемых выемкой.

Таблица 21

Вид грунтов и скальных пород

Высота откосов в м, до

Крутизна откосов

1. Скальные слабовыветривающиеся

16

1:0,2

2. Скальные:

 

 

легковыветривающиеся неразмягчаемые

16

1:0,5 — 1:1,5

легковыветривающиеся размягчаемые

6

1:1,0

то же

от 6 до 12

1:1,5

3. Крупнообломочные, песчаные и глинистые однородные, в том числе лессовидные, твердой, полутвердой и тугопластичной консистенции

12

1:1,5

4. Пески:

 

 

мелкие барханные

2

l:10,0

то же

12

1:1,75

5. Лёсс в районах с засушливым климатом

12

1:0,1 — 1:0,5

6. Лёсс вне районов с засушливым климатом

12

1:0,5 — 1:1,5

Примечания: 1. В скальных слабовыветривающихся породах допускается предусматривать устройство вертикальных откосов.

2. Откосы высотой до 6 м выемок железных дорог I и II категорий в глинистых пылеватых грунтах в районах избыточного увлажнения следует проектировать крутизной 1:2; крутизну откосов высотой более 6 м следует устанавливать по данным расчетов.

3. Откосы высотой до 12 м автодорожных выемок в крупнообломочных грунтах допускается проектировать крутизной 1:1.

6.2. Выемки глубиной до 12 м в глинистых непереувлажненных, непылеватых грунтах следует проектировать в соответствии с поперечным профилем, приведенным на рис. 14, а - для железных дорог и 14, б - для автомобильных дорог; железнодорожные выемки глубиной до 2 м в мелких и пылеватых песках, в пылеватых глинистых грунтах, в том числе лёссовидных и лёссах, следует проектировать в соответствии с поперечным профилем, приведенным на рис. 14, а.

Рис. 14. Поперечные профили выемок в глинистых грунтах:

а - для железных дорог; б - для автомобильных дорог

В районах с засушливым климатом, а также в других районах, где происходит полное впитывание и испарение атмосферных осадков, выемки в дренирующих грунтах для железных дорог следует проектировать без кюветов в соответствии с поперечным профилем, приведенным на рис. 15.

Рис. 15. Поперечный профиль выемок в дренирующих грунтах для железных дорог в районах с засушливым климатом

6.3. Выемки глубиной до 1 м, а также начальные участки глубоких выемок для автомобильных дорог, в целях предохранения их от снежных заносов, необходимо проектировать раскрытыми или разделываемыми под насыпь (рис.16). Сопряжение поперечных профилей начальных участков с основным поперечным профилем глубоких выемок следует предусматривать в пределах участков длиной не менее 10 м. При этом выемки глубиной от 1 до 5 м следует проектировать с откосами крутизной от 1:4 до 1:6.

Рис. 16. Поперечные профили выемок глубиной до 1 м для автомобильных дорог

I - раскрытых; II - разделываемых под насыпь

6.4. Выемки глубиной более 2 м следует проектировать с закюветными полками: в мелких и пылеватых песках, в пылеватых глинистых грунтах, в том числе лёссовидных, лёссах и глинах (рис. 17, 18).

Рис. 17. Поперечный профиль выемок глубиной от 2 до 12 м для железных дорог

Рис. 18. Поперечный профиль выемок глубиной от 2 до 12 м для автомобильных дорог

Ширину закюветных полок необходимо устанавливать по табл. 22. Поверхность закюветных полок следует проектировать с уклоном 0,02 - 0,04 в сторону кюветов; уклон можно не предусматривать для полок в скальных породах, а также в песчаных грунтах в районах с засушливым климатом.

Таблица 22

Вид грунта

Глубина выемки в м

Ширина закюветных полок в м

Скальные породы легковыветривающиеся, глинистые грунты переувлажненные, а также пылеватые и лёссовидные; лёсс

От 2 до 6

От 6 до 12*

1,0

2,0

Песок мелкий и пылеватый

От 2 до 12

1,0

* Для скальных пород допускается до 16 м.

Ширину закюветных полок в выемках для автомобильных дорог допускается уменьшать до 0,5 м.

Выемки в переувлажненных глинистых грунтах

6.5. В выемках для железных дорог I - III категории, сооружаемых в глинистых грунтах тугопластичной консистенции (0,25 < В £ 0,50), следует предусматривать замену глинистого грунта основания дренирующим или отходами асбестодобывающих предприятий (рис. 19).

Рис. 19. Поперечный профиль выемок для железных дорог в переувлажненных глинистых грунтах

1 - глинистый грунт, 2 - дренирующий грунт, h3 - толщина слоя дренирующего грунта

При этом толщину слоя h3, подлежащего замене, необходимо принимать по нормам, приведенным в табл. 20. Увеличение толщины слоя сверх этих норм допускается при соответствующем обосновании, учитывающем местные условия.

Продольный уклон дна траншеи вырезки следует назначать не менее 5%0. Дренирующий грунт, используемый для замены, должен иметь коэффициент фильтрации не менее 1,0 м/сутки.

Крутизну откосов выемок в переувлажненных глинистых грунтах следует принимать по нормам, приведенным в табл. 21, а ширину закюветных полок - по нормам табл. 22.

Для глинистых грунтов, имеющих коэффициент консистенции В > 0,5, толщину слоя h3 следует назначать по результатам расчетов, в зависимости от прочностных характеристик грунта и его подверженности морозному пучению, но не менее 0,5 м.

Необходимость замены глинистого грунта основания дренирующим, а также толщина слоя h3 в выемках для дорог IV и V категорий должны быть обоснованы в проектах технико-экономическими расчетами.

Для автодорожных выемок в переувлажненных глинистых грунтах следует разрабатывать индивидуальные проекты с учетом местных условий.

Выемки в скальных породах

6.6. Выемки в скальных породах допускается проектировать без проверки расчетами устойчивости откосов на участках с благоприятными инженерно-геологическими условиями, в том числе:

при выдержанности залегания скальных пород в пределах проектируемого откоса;

в случае слоистых скальных пород с расположением поверхностей ослабления горизонтально, вертикально, с наклоном - вкрест простирания с плоскостью откоса, в сторону от полотна, а также в сторону полотна под углами, меньшими значений углов трения по поверхности ослабления.

6.7. Выемки в пределах крутых косогоров, в том числе на прижимах рек, а также выемки глубиной более 6 м в скальных породах во всех случаях необходимо проектировать для железных дорог под два пути, если строительство второго пути намечается в течение ближайших 15 лет.

6.8. Выемки железных дорог в слабовыветривающихся скальных породах следует проектировать применительно к поперечным профилям, приведенным на рис. 20.

Ширину по низу выемок глубиной до 6 м следует назначать равной 9 м, а выемок глубиной от 6 до 16 м - 10 м. Эти величины разрешается уменьшать в случаях устройства подпорных стен, причем расстояние от оси пути до откосов в уровне подошвы шпал, устанавливаемое в зависимости от применяемых способов разработки выемки, должно быть не менее: 3,7 м в каждую сторону на линиях I, II категорий и вторых путей; 3,7 м - в одну из сторон и 3 м - в другую на линиях III - V категорий.

В откосной части выемок необходимо проектировать камеры шириной 6 м, глубиной 2,5 м и высотой 2,8 м, располагая их в шахматном порядке через 300 м с каждой стороны полотна. В промежутках между камерами через каждые 50 м следует размещать нити шириной 3 м, глубиной 1 м, высотой 2 м (рис. 20, а).

Для регулирования отвода воды из пределов выемок необходимо предусматривать по обеим сторонам основной площадки полотна укладку бордюра из местного камня или бетонных блоков соответственно рис. 20, а или устройство кюветов применительно к рис. 20, б, в с обоснованием глубины кюветов данными гидравлических расчетов.

В обоснованных случаях разрешается проектировать основание земляного полотна в виде подготовки из крупнообломочного или песчаного грунта применительно к рис. 20, г.

Рис. 20. Поперечные профили выемок для железных дорог в слабовыветривающихся скальных породах

а - без кюветов, с камерами и нишами в откосной части; б, в - с кюветами, заглубленными в скальную породу естественного сложения; г - с кюветами, получаемыми за счет устройства основной площадки земляного полотна из крупнообломочного или песчаного грунта; 1 - камеры; 2 - ниши; 3 - бордюрные блоки; 4 - крупнообломочный или песчаный грунт

Выемки для автомобильных дорог в слабовыветривающихся скальных породах следует проектировать применительно к поперечному профилю рис. 21, I.

Рис. 21. Поперечные профили выемок для автомобильных дорог в скальных породах

I - слабовыветривающихся; II - легковыветривающихся

Крутизну откосов выемок в слабовыветривающихся скальных породах следует принимать по нормам, приведенным в табл. 21.

6.9. Выемки в легковыветривающихся скальных породах следует проектировать с закюветными полками (рис. 21, II; 22), а также с кювет-траншеями (рис. 23), поддерживающими или ограждающими стенками для защиты пути и дорожного полотна от материала выветривания, осыпающегося с откосов.

Рис. 22. Поперечный профиль выемок для железных дорог в легковыветривающихся неразмягчаемых скальных породах

Рис. 23. Поперечный профиль выемок с кювет-траншеями в легковыветривающихся неразмягчаемых скальных породах

1 - порода в естественном залегании или подготовка из крупнообломочного грунта; 2 - кювет-траншея

Крутизну откосов выемок надлежит принимать согласно табл. 21 в зависимости от состояния и свойств породы, характера напластования, высоты откосов и способов разработки выемки, ширину закюветной полки - по табл. 22.

Ширину L и глубину hт траншей в выемках для дорог I - III категорий следует назначать равными соответственно 3,0 и 1,1 м; в пределах участков, где возможны вывалы отдельных камней из откосов выемок и со склонов косогоров, ширину и глубину траншей следует назначать по данным расчетов. Целесообразность применения траншей и их размеры в выемках для дорог IV - V категорий должны быть обоснованы в проектах.

6.10. В легковыветривающихся размягчаемых скальных породах выемки следует проектировать применительно к поперечным профилям рис. 14, 17 и 18 с откосами крутизной, назначаемой по табл. 21, и закюветными полками шириной - по табл. 22.

6.11. Верхнюю часть откосов скальных выемок в пределах элювиальных и делювиальных отложений, следует проектировать крутизной от 1:1 до 1:1,5 в зависимости от мощности слоя отложений, вида породы и степени ее разрушенности.

Если мощность рыхлых отложении будет превышать 3 м, необходимо в обоснованных случаях предусматривать устройство полки шириной не менее 3 м, разделяющей откосы рыхлых отложений и скальной породы.

7. НАСЫПИ НА БОЛОТАХ

7.1. Насыпи на болотах следует проектировать с учетом:

категории железной и автомобильной дороги, типа дорожной одежды (для автомобильных дорог);

вида используемого грунта;

высоты насыпи;

глубины и типа болот, устанавливаемого в зависимости от строения, состояния и свойств торфа и других болотных отложений, слагающих болото, как основание насыпи;

уклона минерального дна болота;

рельефа местности.

7.2. При проектировании и строительстве земляного полотна дорог следует различать три основных типа болот:

I - заполненные торфом и другими болотными отложениями устойчивой консистенции, снимающимися под воздействием насыпи высотой до 3 м;

II - заполненные торфом и другими болотными отложениями разной консистенции, в том числе выдавливающимися под воздействием насыпи высотой до 3 м;

III - заполненные илом и водой, в том числе при наличии торфяной корки (сплавины).

Тип болот необходимо устанавливать по данным инженерно-геологических изысканий на основании:

геологического разреза на глубину не менее 1 м ниже поверхности минерального дна;

физико-механических характеристик и качественных (визуальных) показателей торфа и других болотных отложений (приложение 3, табл. 43).

7.3. При проектировании насыпей на болотах необходимо предусматривать:

пересечение болот трассой в узких местах, преимущественно на участках с меньшей глубиной и минимальным поперечным уклоном минерального дна;

ограничение сроков осадки насыпи по возможности строительным периодом;

осушение болота до начала земляных работ в случаях, когда это технически возможно и экономически целесообразно;

использование преимущественно дренирующих грунтов для сооружения всей насыпи или ее нижней части.

Насыпи железных дорог

7.4. Для насыпей на болотах I и II типов при отсутствии дренирующих грунтов допускается применять пылеватый песок, а также легкую крупную и легкую супесь. Применение этих грунтов для насыпей на болотах III типа, а также других глинистых грунтов на болотах всех типов допускается только для верхней надземной части насыпей при соблюдении следующих условий:

для нижней части насыпи необходимо использовать дренирующие грунты:

величину возвышения бровки нижней части насыпи из дренирующих грунтов над поверхностью болота или над уровнем поверхностной воды следует назначать не менее 0,5 м;

поперечный профиль надземной части насыпи и очертание ее верха следует проектировать соответственно виду, состоянию и свойствам применяемого глинистого грунта или пылеватого песка.

Величину возвышения бровки насыпей над поверхностью болот следует назначать не менее норм, приведенных в табл. 23. Насыпи из пылеватого песка и легкой супеси, сооружаемые в пределах осушенных или осушаемых болот, допускается проектировать высотой 2,0 м и более над уровнем грунтовой воды или над уровнем воды в водоотводных канавах.

Таблица 23

Вид грунта, используемого для насыпи

Величина возвышения бровки над поверхностью в м

болота

воды

Дренирующий

0,8 ¾ 1,2*

1,0

Мелкий песок, легкая крупная супесь

1,2

1,2

Пылеватый песок, легкая супесь

2,0

¾

* 0,8 и 1,2 — величины возвышения соответственно при полном или частичном удалении торфа из основания насыпи.

7.5. На болотах I типа насыпи высотой до 3 м следует проектировать с расчетом на полное или частичное удаление торфа из основания с заменой торфа минеральным грунтом в зависимости от глубины болота.

Полное удаление торфа необходимо предусматривать на болотах глубиной до 2 м (рис. 24).

Рис. 24. Поперечные профили железнодорожных насыпей высотой до 3 м на болотах I типа глубиной до 2 м

1 - поверхность болота; 2 - поверхность минерального грунта дна болота

Частичное удаление торфа допускается применять на болотах глубиной более 2 м (рис. 25). При этом глубину траншеи необходимо назначать, исходя из условий, что сумма величин высоты насыпи над поверхностью болота и глубины траншей выторфовывания должна быть не менее 3,5 м для дорог I и II категорий и не менее 3 м для дорог III категории, а отношение общей высоты насыпи, включающей величину ее части, расположенной ниже поверхности болота, и величину расчетной осадки, к толщине уплотненного слоя торфа в основании насыпи должно быть не менее 2:1.

Рис. 25. Поперечные профили железнодорожных насыпей высотой до 3 м на болотах I типа глубиной от 2 до 4 м

a - из дренирующих грунтов; б - из мелких и пылеватых песков, легкой крупной и легкой супесей; h3 - глубина траншеи выторфовывания

Крутизну откоса траншей выторфовывания следует устанавливать в зависимости от способа производства работ, в пределах от 1:0 до 1:0,5.

Для дорог IV и V категорий перечисленные в п. 7.5 параметры допускается устанавливать, исходя из условий обоснованного снижения сметной стоимости с учетом местных условий.

Насыпи высотой более 3 м, сооружаемые на болотах I типа, следует проектировать в соответствии с поперечными профилями, приведенными на рис. 26, с расчетом использования торфа в качестве естественного основания земляного полотна.

Рис. 26. Поперечные профили железнодорожных насыпей высотой более 3 м на болотах I типа

a - из дренирующих грунтов; б - из мелких и пылеватых песков, легкой крупной и легкой супесей; 1 - продольный прорез на глубину растительно-корневого слоя, но не менее 1 м

В этом случае, а также при частичном выторфовывании объемы земляных работ необходимо определять с учетом осадки насыпи вследствие сжимаемости торфа в основании земляного полотна.

Величину осадки насыпей высотой до 4 м на болотах глубиной до 4 м разрешается определять на стадии разработки технического или технорабочего проектов, по нормам, приведенным в табл. 24; величину осадки у краев траншей выторфовывания S1 при проектировании насыпей из пылеватых песков и легких супесей (см. рис. 25, б) допускается принимать равной 10 % толщины обжимаемого слоя торфа ho.

Таблица 24

Толщина обжимаемого слоя

торфа в м

Величины осадки S в % толщины обжимаемого слоя торфа под насыпями высотой

£ 3 м при частичном выторфовывании

от 3 до 4 м на естественном основании

2

30

60

От 2 до 4

25

50

Осадку насыпей высотой более 4 м, а также насыпей высотой до 4 м при необходимости уточнения объемов работ следует устанавливать расчетом согласно указаниям п. 7.22.

7.6. Насыпи, сооружаемые на болотах II типа, необходимо проектировать независимо от их высоты, с расчетом полного удаления торфа устойчивой консистенции посадки насыпи на минеральное дно болота, применительно к поперечным профилям, приведенным на рис. 27.

Рис. 27. Поперечные профили железнодорожных насыпей на болотах II типа

a - из дренирующих грунтов; б - из мелких и пылеватых песков, легкой крупной и легкой супесей; 1 - торфоприемники; 2 - вспомогательная линия для определения ширины траншеи выторфовывания

Глубину канав-торфоприемников следует назначать равной толщине растительно-корневого покрова, но не менее 1 м.

В лесных районах для железных дорог III - V категорий взамен выторфовывания допускается устройство насыпей на сланях при технико-экономическом обосновании проектного решения и соблюдении следующих условий:

общая высота насыпи над сланями с учетом ее просевшей части должна быть не менее 3 м;

в период эксплуатации дороги слани должны быть постоянно ниже уровня грунтовых вод.

7.7. Насыпи, сооружаемые на болотах III типа, следует проектировать, предусматривая использование минерального дна болота в качестве основания земляного полотна с учетом предварительного удаления торфяной корки (рис. 28) или без удаления. В последнем случае высота насыпи с учетом ее подземной части должна быть не менее 3 м над поверхностью торфяной корки. Величину осадки насыпи за счет сжатия торфяной корки следует определять по нормам, приведенным в табл. 24.

Рис. 28. Поперечный профиль насыпей па болотах III типа

1 - торфяная корка

Для нижней части насыпи необходимо предусматривать применение дренирующего грунта; крутизну откосов насыпи ниже поверхности болота следует назначать по нормам, приведенным в табл. 25.

Таблица 25

Вид грунта

Крутизна откосов

Песок мелкий и пылеватый

1:4

Песок крупный и средний

1:2

Гравий, галька, щебень, камень слабовыветривающихся пород

1:1,5

7.8. Для насыпей, проектами которых предусматривается использование торфа в качестве основания земляного полотна, в том числе в случаях применения частичного выторфовывания, необходимо предусматривать статическое и динамическое испытание готового земляного полотна.

Насыпи автомобильных дорог

7.9. Требования к грунтам верхней части насыпей на болотах, а также необходимое возвышение низа дорожной одежды определяются указаниями п.п. 5.5 - 5.8 применительно к III типу местности.

Нижнюю часть насыпей следует устраивать из дренирующих грунтов. Толщина дренирующего слоя должна быть на 0,5 м больше суммы величин расчетной осадки и глубины выторфовывания.

Глинистые грунты допускается использовать для нижней части насыпей при соответствующих технико-экономических обоснованиях. К земляному полотну на болотах, кроме общих требований, изложенных в разделах 1 - 5, предъявляются следующие дополнительные требования:

должна быть исключена возможность выдавливания или выпирания болотных отложений из-под насыпи, если это не предусмотрено проектом;

интенсивная часть осадки основания (80 - 90 % консолидации) должна завершиться до сооружения покрытия;

упругие деформации земляного полотна не должны превышать величину, допустимую для принятого типа покрытия.

7.10. В случаях, когда болотные отложения полностью или частично оставляются в основании насыпи, необходимо определять расчетную величину осадки основания и ее изменение во времени, а также назначать мероприятия, в том числе допустимый режим производства работ по возведению земляного полотна, обеспечивающие ускорение осадки и устойчивость основания.

7.11. Насыпи высотой до 3 м, сооружаемые на болотах I типа глубиной до 4 м, следует проектировать в соответствии с поперечными профилями, приведенными на рис. 29, а, б, в.

7.12. При проектировании насыпей высотой до 3 м на болотах II типа глубиной до 4 м, следует учитывать, что слабые слои болотных отложений будут отжаты в стороны под нагрузкой от веса насыпи (рис. 29, б, в).

Рис. 29. Поперечный профиль автодорожных насыпей на болотах

а - I типа с полным выторфовыванием; б - I и II типа с частичным выторфовыванием; в - I и II типа без выторфовывания; 1 - профиль отсыпаемой насыпи; 2 - профиль насыпи после осадки; 3 - линия выторфовывания; 4 - линия посадки насыпи; 5 - торфоприемник

Для ускорения отжатия слабых слоев болотных отложений в этом случае необходимо предусматривать торфоприемники, прорезающие прочные слои торфа. Объем торфоприемников, должен быть не менее половины объема отложений, подлежащих выдавливанию.

7.13. Насыпи, сооружаемые на болотах III типа, следует проектировать с учетом необходимости размещения их вместе с торфяной коркой или без нее на прочном грунте, слагающем дно болота (рис. 30). Крутизну откосов нижней части насыпей следует назначать в зависимости от применяемого грунта по нормам, приведенным в табл. 25.

Рис. 30. Поперечный профиль автодорожных насыпей на болотах III типа

1 - торф, 2 - выдавливаемые торфяные отложения или вода

7.14. Полное выторфовывание целесообразно, как правило, предусматривать на болотах I и II типа глóбиной до 4 м при проектировании дорог с усовершенствованными капитальными покрытиями и до 2 м при проектировании дорог с усовершенствованными облегченными покрытиями. При этом на болотах II типа следует предусматривать выдавливание болотных отложений, не обладающих необходимой несущей способностью.

Выторфовывание не следует назначать

при расположении края траншеи выторфовывания от существующих зданий и сооружений на расстоянии ближе удвоенной глубины болота

в торфяных залежах уплотненного торфа, если торф покрыт слоем минерального грунта или залежь имеет минеральные прослойки, при общем соотношении толщины минеральных слоев к толще торфа не менее 1:2.

7.15. Частичное выторфовывание целесообразно предусматривать на болотах I и II типа при глубине болота до 4 м на дорогах с переходными и низшими типами покрытий.

Для дорог с другими типами покрытий такое решение может быть целесообразным в случаях, когда:

плотность торфяной залежи увеличивается по глубине;

на некоторой глубине болота имеется слой высокой пнистости, не позволяющей применять другие конструкции земляного полотна;

требуется ускорить консолидацию основания.

Частичное выторфовывание необходимо проектировать так, чтобы толщина остающегося слоя торфа с учетом его уплотнения составляла при переходных дорожных покрытиях не более 1/3, а при низших - не более 1/2 толщины минеральной части насыпи или было бы выполнено требование п. 7.24 и табл. 26.

7.16. Посадку насыпи на прочное минеральное дно следует предусматривать для дорог с любым типом покрытий на болотах III типа глубиной до 4 м, а также для дорог с усовершенствованным капитальным типом покрытий - на болотах II типа глубиной от 2 до 4 м.

Для ускорения посадки насыпи на минеральное дно в проектах необходимо предусматривать соответствующие технологические меры: отсыпку грунта в узкие продольные траншеи, пригрузку, обкатку насыпи тяжеловесной нагрузкой или поднасыпные взрывы.

Крутизну откосов насыпи ниже поверхности болота следует принимать согласно табл. 25.

7.17. На дорогах IV и V категорий в лесной местности в отдельных случаях при технико-экономической целесообразности дорожное полотно допускается проектировать на настилах из бревен, фашин и т.п.

7.18. Насыпи, сооружаемые без удаления болотных отложений, целесообразно проектировать на болотах I и II типа для дорог с переходными и низшими типами покрытий.

Такое решение также целесообразно применять для дорог с усовершенствованными облегченными и капитальными типами покрытий на болотах I и II типов глубиной более 2 м при условии, что проектом предусматриваются мероприятия, обеспечивающие завершение осадки грунтов основания к началу работ по сооружению дорожной одежды.

7.19. Для завершения осадки грунтов основания в соответствующие сроки необходимо предусматривать устройство:

временной пригрузки;

дренажных прорезей (на болотах I типа глубиной до 3 м);

вертикальных дрен (на болотах I и II типов глубиной более 3 м).

Временную пригрузку насыпи целесообразно применять как самостоятельный способ ускорения осадки основания и в сочетании с прорезями или дренами.

7.20. Для исключения недопустимых по величине упругих деформаций толщина насыпей, сооружаемых без выторфовывания или с частичным выторфовыванием, должна быть не менее величин, приведенных в табл. 26.

Таблица 26

Начальная

мощность сжимаемого слоя в м

Толщина насыпи в м при типе дорожной одежды

капитальном

облегченном

переходном

2

2,5

2,0

1,5

4

3,0

2,0

2,0

7.21. Величину осадки основания на болотах I типа допускается устанавливать согласно соответствующим требованиям п. 7.5 настоящих Указаний.

7.22. На стадии разработки технического или техно-рабочего проектов величину осадки основания в см следует уточнять по формуле

                                                                                                  (10)

где Н - высота насыпи по продольному профилю в см;

gн - объемный вес грунта насыпи в кг/см3;

Нб - суммарная мощность сжимаемых слоев болотных отложений в см;

еср - осредненный модуль деформации сжимаемых слоев в кгс/см2, определяемый по формуле

Hi -- мощность отдельных слоев в см;

Ei - модуль деформации отдельных слоев торфа в кгс/см2, устанавливаемый по табл. 43 приложения 3 в зависимости от показателей состава и состояния торфяных отложений.

Уточненный расчет осадки на стадии разработки рабочих чертежей следует выполнять по результатам компрессионных испытаний болотных отложений.

7.23. Осадка основания на болотах II типа S в см определяется по формуле

,                                                                                                (10')

где Sсж - осадка за счет сжатия более прочных слоев, определяемая по п. 7.22;

Sвыд - осадка за счет выдавливания отложений, не обладающих несущей способностью, равная суммарной мощности этих отложений.

7.24. Степень устойчивости основания и необходимость ограничения режима отсыпки насыпи устанавливаются по данным расчетов.

При быстрой отсыпке насыпи степень устойчивости основания определяется по величине коэффициента безопасности , определяемого по формулам:

;                                                                                                        (11)

                                                                                               (12)

,                                                                                                     (13)

где Pp - расчетная нагрузка в кгс/см2.

Pá - безопасная нагрузка в кгс/см2;

Су - расчетная величина полной сопротивляемости грунта основания сдвигу в кгс/см2,определяемая в полевых условиях с помощью лопастного прибора (крыльчатки);

Ао - параметр, зависящий от очертания насыпа и относительной глубины расположения расчетного слоя, значения которого следует принимать по табл. 27.

Таблица 27

Относительная глубина расположения слоя с минимальной сопротивляемостью сдвигу (в долях от полуширины насыпи по подошве), до

A0

0,1

5,25

0,2

3,84

0,3

3,51

0,4

3,34

0,6

3,23

7.25. Устойчивость основания считается полностью обеспеченной, независимо от интенсивности возведения насыпи, при условии, что  ³ 1.

При меньшем значении  типовая конструкция насыпи допускается к применению при условии обеспечения необходимого режима отсыпки насыпи, устанавливаемого расчетом.

8. НАСЫПИ НА УЧАСТКАХ ЗАСОЛЕННЫХ ГРУНТОВ

8.1. В районах распространения засоленных грунтов земляное полотно следует проектировать с учетом степени и качественного характера засоления грунта (см. приложение 3), используемого как материал для возведения насыпи или в качестве ее основания.

8.2. Слабо- и среднезасоленные грунты допускается использовать для насыпей типовой конструкции в соответствии с требованиями разд. 5 настоящих Указаний.

Сильнозасоленные грунты допускается использовать только на участках с сухим или осушаемым основанием и глубоким залеганием грунтовых вод при обязательном применении мер, направленных на предохранение верхней части земляного полотна от большего засоления.

Избыточно засоленные грунты для возведения насыпей применять не допускается.

8.3. Насыпи на участках с сухим естественным основанием (см. п. 2.23), сложенным слабо- и среднезасоленными грунтами следует проектировать по нормам разд. 5 настоящих Указаний.

8.4. На участках местности с сильно - и избыточно засоленными грунтами необходимо сравнивать варианты:

обхода этих участков;

устройства земляного полотна, как правило, насыпями из привозных незасоленных, слабо- или среднезасоленных грунтов с принятием мер против их большего засоления, в том числе с назначением высоты насыпей по нормам табл. 18 и 28 или соответствующим понижением уровня грунтовых вод и др.

Насыпи железных дорог

8.5. На участках с сильно - и избыточно засоленными грунтами, а также на участках с сырым и мокрым естественными основаниями из слабо- и среднезасоленных грунтов необходимо предусматривать мероприятия по предотвращению избыточного засоления грунта в теле насыпей, в том числе:

использовать дренирующий грунт для возведения всей насыпи или нижней части на высоту не менее 0,7 м при наличии грунтовых вод, периодически выходящих на дневную поверхность;

высоту насыпей из мелких и пылеватых песков, глинистых и других не дренирующих грунтов назначать не менее величин, приведенных в табл. 18;

предусматривать удаление рыхлого поверхностного толщиной до 0,5 м слоя грунта с засоленностью более 10 % с заменой его качественным грунтом применительно к рис. 31, а - под насыпями высотой до 6 м, на участках с сухим естественным основанием и глубоким залеганием грунтовых вод и применительно к рис. 31, б - на участках с неглубоким залеганием грунтовых вод, периодически выходящих на дневную поверхность;

Рис. 31. Поперечные профили железнодорожных насыпей на засоленных грунтах на участках

а - с сухим основанием; б - с неглубоким уровнем грунтовых вод, периодически выходящих на дневную поверхность; 1 - местный, недренирующий грунт; 2 - дренирующий грунт

предусматривать дренажные и водоотводные устройства, понижающие уровень грунтовых вод.

Насыпи автомобильных дорог

8.6. В условиях среднезасоленных и сильнозасоленных грунтов следует проектировать насыпи с возвышением низа дорожной одежды над поверхностью земли на 20% выше норм, приведенных в табл. 18.

8.7. Наименьшее возвышение низа дорожной одежды в наиболее низком месте поперечного профиля над уровнем грунтовых вод в зимне-весенний период принимается по табл. 28.

Таблица 28

Вид грунта насыпи

Величина возвышения в м при грунтах основания

слабо- и среднезасоленных

сильнозасоленных

1. Пески мелкие; супеси легкие крупные

0,5

0,7

2. Пески пылеватые; супеси легкие

0,9

1,1

3. Суглинки тяжелые; глины

1,4

1,6

4. Супеси пылеватые и тяжелые пылеватые; суглинки легкие, легкие пылеватые в тяжелые пылеватые

1,6

1,9

При проектировании насыпей из сильнозасоленных глинистых пылеватых грунтов на участках местности 2-го и 3-го типов (см. табл. 13) низ дорожной одежды необходимо размещать не менее чем на 2,4 м над уровнем грунтовых вод или предусматривать соответствующее понижение последнего.

При глубоком залегании грунтовых вод, но затрудненном стоке и возможности длительного подтопления земляного полотна поверхностными водами, возвышение низа дорожной одежды, указанное в табл. 28, принимается над горизонтом поверхностной воды при длительном подтоплении.

8.8. При сильнозасоленных глинистых грунтах и нецелесообразности возвышения низа дорожной одежды над уровнем грунтовых вод до величин табл. 28 необходимо предусматривать устройство капилляропрерывающих или изолирующих прослоек согласно требованиям п. 5.8.

8.9. Насыпи с резервами следует проектировать на участках с залеганием уровня грунтовых вод на глубине не менее 1,0 м. При этом расстояние от дна резерва до наивысшего уровня грунтовых вод должно быть не менее 0,3 м.

Безрезервные профили следует применять на участках с высоким уровнем залегания грунтовых вод и предусматривать, как правило, использование для насыпей привозного грунта. В случаях использования местного грунта его заготовку необходимо предусматривать посредством равномерной срезки поверхностного слоя толщиной 0,2 - 0,3 м в пределах полосы шириной 25 - 30 м в каждую сторону от оси земляного полотна.

Для лучшего отвода воды вдоль краев резервов следует устраивать продольные канавы. На солончаках и солонцах, где отвод воды из резервов будет затруднен, необходимо проектировать бермы.

При одновременном проектировании земляного полотна и ирригационной сети разрешается совмещать резервы с открытыми дренами и коллекторами глубиной до 3 м.

8.10. На участках мокрых солончаков, в пределах которых уровень грунтовых вод залегает на глубину менее 0,6 м в течение всего года, насыпи следует проектировать согласно положениям п. 5.5 - п. 5.8 из привозных, преимущественно песчаных грунтов или супесей.

8.11. В пределах такыров (см. приложение 3) насыпи необходимо проектировать высотой не менее 0,5 м. Вдоль полевой стороны резервов следует проектировать валики высотой 0,3 - 0,4 м из грунта.

9. ЗЕМЛЯНОЕ ПОЛОТНО В РАЙОНАХ ПОДВИЖНЫХ ПЕСКОВ

9.1. Проектирование земляного полотна в районах подвижных песков заключается в выборе конструкции земляного полотна, мало подверженной песчаным заносам, в установлении мер по укреплению откосов, а также в разработке комплекса работ по предохранению земляного полотна от выдувания и образования песчаных заносов на полосе шириной не менее 50 - 150 м с учетом местных условий:

рельефа местности;

скорости и направления ветра, вызывающего перенос песка;

степени закрепления растительностью поверхности песка;

зернового состава песка, его влажности и засоленности;

характеристики поверхностного слоя песка в отношении возможности закрепления его растительностью;

глубины залегания грунтовых вод и др.

Степень естественного закрепления поверхности и подвижности песка на местности, прилегающей к трассе проектируемой дороги, оценивается по табл. 29.

Таблица 29

Наименование поверхности

Растительностью покрыто в % от пересекаемой площади

Степень подвижности песка

1. Незаросшая (пески барханные)

¾

Очень подвижны

2. Слабозаросшая

Менее 15

Подвижны

3. Полузаросшая

15-35

Неподвижны

4. Заросшая

Более 35

Неподвижны

9.2. В районах распространения барханных незаросших и слабозаросших песков земляное полотно следует проектировать преимущественно в виде насыпей высотой 0,5 — 0,6 м, возводимых, как правило, из резервов глубиной до 0,2 м. В пределах равнин и межбарханных понижений в проектах земляного полотна, кроме того, необходимо предусматривать:

планировку придорожной полосы шириной 15 - 40 м с каждой стороны полотна, с разравниванием на ней подвижных форм рельефа;

закрепление подвижных форм рельефа механической защитой, растительностью или другими способами на ширину до 200 м за пределами придорожных полос.

Укрепление откосов и обочин земляного полотна необходимо предусматривать согласно разд. 16 настоящих Указаний, независимо от степени естественной закрепленности поверхности песка на местности, прилегающей к земляному полотну проектируемой дороги.

Насыпи высотой более 1 м через межгрядовые или межбарханные понижения для автомобильных дорог следует проектировать с использованием песка из выемок или карьеров, размещаемых с подветренной стороны на расстоянии не менее 50 м от проектируемой дороги.

Насыпи для железных дорог следует проектировать с использованием грунта преимущественно из узких и глубоких резервов, а крутизну откосов принимать по нормам табл. 21; насыпи для автомобильных дорог следует проектировать согласно рис. 32.

Рис. 32. Поперечный обтекаемый профиль насыпей для автомобильных дорог в районах распространения барханных песков

Выемки глубиной до 2 м следует проектировать раскрытыми с откосами крутизной 1:10 и более пологими, с применением поперечного профиля рис. 15 для железных дорог и рис. 33, а - для автомобильных дорог.

Рис. 33. Поперечные профили выемок для автомобильных дорог в барханных песках

а - глубиной до 2 м; б - то же, раскрытых; в - глубиной более 2 м

В районах, где по опыту эксплуатации существующих автомобильных дорог в песчаных выемках необходим водоотвод, выемки следует проектировать разделанными под насыпь высотой 0,3 - 0,4 м и с откосами не круче 1:4 (рис. 33, б).

Выемки глубиной более 2 м для железных дорог следует проектировать с применением поперечных профилей по рис. 15 и 18. Поперечный профиль рис. 15 разрешается применять в районах с засушливым климатом, если будет обеспечено впитывание и испарение атмосферных осадков в любое время года; крутизну откосов необходимо назначать в зависимости от силы и направления ветра, крупности песка, по не круче 1:2. Выемки для автомобильных дорог необходимо проектировать разделанными под насыпь высотой 0,3 - 0,4 м (рис. 33, в); расстояние между подошвой насыпи и откосом выемки следует принимать шириной 10 - 20 м в зависимости от силы ветра, его направления и крупности песка.

9.3. На участках с полузаросшей и заросшей поверхностью земляное полотно следует проектировать с расчетом максимального сохранения растительности и естественного рельефа прилегающей местности.

При этом насыпи для автомобильных дорог необходимо проектировать минимальной высоты без резервов; возведение насыпей следует предусматривать с применением продольной возки и использованием грунта из выемок или из карьера, закладываемых с подветренной стороны на расстоянии не менее 50 м от проектируемой дороги.

Насыпи для железных дорог следует проектировать с узкими и глубокими резервами, а крутизну откосов насыпи принимать по табл. 17.

Выемки для железных дорог следует проектировать с применением поперечных профилей по рис. 15 и 18. Крутизну откосов выемок разрешается принимать соответственно углу естественного откоса песка в данном массиве, но не круче 1:1,5. Выемки глубиной до 2 м проектировать раскрытыми не требуется.

Выемки для автомобильных дорог необходимо проектировать минимальной ширины с откосами 1:2. Выемки, грунт из которых будет использован для возведения насыпей, следует проектировать в соответствии с поперечным профилем рис. 34.

Рис. 34. Поперечный профиль уширенной автодорожной выемки глубиной более 2 м в барханных песках с заросшей поверхностью

10. ЗЕМЛЯНОЕ ПОЛОТНО В РАЙОНАХ ИСКУССТВЕННОГО ОРОШЕНИЯ

10.1. На орошаемых территориях земляное полотно следует проектировать с учетом неблагоприятного водного режима, возникающего вследствие:

общего повышения уровня грунтовых вод при поливе и промывке грунтов;

местного повышения уровня грунтовых вод при размещении дороги рядом с сооружениями оросительной и водосборно-сбросной сетей;

затопления резервов, водоотводных нагорных канав и кюветов промывными и поливными водами.

10.2. Проектировать земляное полотно следует с учетом минимального использования площади орошаемых земель. При этом использование ирригационных дамб и сооружений для размещения автомобильных дорог требуется согласовывать с местными организациями, а также с проектно-изыскательской организацией, разработавшей проект ирригационной системы ее развития.

10.3. Земляное полотно дорог, размещаемых на расстоянии менее 60 м от магистральных и распределительных каналов и других сооружений ирригационной сети, необходимо проектировать с учетом рельефа местности, конструкции канала и расхода в нем воды, условий отвода поверхностной воды от дороги, наличия и расположения подъездных дорог к населенным пунктам, необходимости устройства водопропускных сооружений, возможности увеличения высоты насыпи при приближении дороги к каналу, условий эксплуатации дороги и канала, возможности сельскохозяйственного использования земли между каналом и дорогой.

10.4. Расстояние между бровками канала водосборно-сбросной сети и резерва или водоотводной канавы следует принимать не менее 4,5 м; использование кюветов, нагорных и водоотводных канав в качестве распределителей не допускается.

10.5. Расчетный горизонт грунтовых вод следует устанавливать по многолетним данным стационарных гидрогеологических наблюдений в районе проектируемой дороги. При отсутствии таких данных расчетный горизонт грунтовых вод следует устанавливать при инженерно-геологическом обследовании района с учетом сезонных многолетних колебаний уровня грунтовых вод в других районах с аналогичными условиями, а также возможных последующих изменений этого уровня, связанных с освоением и орошением земель. Во всех случаях в качестве расчетного следует принимать наивысший многолетний уровень грунтовых вод.

10.6. На территориях, подлежащих освоению и орошению в период эксплуатации дороги, расчетный горизонт грунтовых вод необходимо принимать по перспективным данным органов водного хозяйства с учетом прогноза изменений естественного уровня грунтовых вод, связанных как с орошением и промывками, так и с дренажными мероприятиями.

10.7. На участках расположения дорог в непосредственной близости от ирригационных сооружений необходимо учитывать, что фильтрационный максимум уровня грунтовых вод возникает в период работы канала с наибольшей нагрузкой.

Фильтрационный максимум уровня грунтовых вод следует принимать в качестве расчетного в случаях, когда он будет выше естественного уровня.

10.8. В районах искусственного орошения земляное полотно следует проектировать, как правило, насыпями с использованием поперечных профилей рис. 35. Высоту насыпей необходимо определять с учетом предохранения верхней части земляного полотна от увлажнения грунтовыми и поверхностными водами в зависимости от вида используемого грунта, степени его засоления и условий водоотвода.

Рис. 35. Поперечные профили насыпей вблизи ирригационных сооружений

а - насыпь, размещаемая вдоль закрытых трубчатых дрен или коллекторов; б - то же, вдоль каналов из железобетонных лотков, в -то же, вдоль каналов за пределами влияния фильтрационного максимума уровня грунтовых вод (УГВ); г -то же, вдоль открытых коллекторов; 1 -трубчатая дрена или коллектор; 2 -лоток; 3 -расчетный уровень воды в канале; 4 -коллектор; 5 -УГВ, пониженный дреной или коллектором; 6 -естественный максимум УГВ; 7 -фильтрационный максимум УГВ; 8 -расчетное возвышение низа дорожной одежды над УГВ; L -расстояние, назначаемое по расчету

11. РЕЗЕРВЫ, КАВАЛЬЕРЫ, БАНКЕТЫ

Резервы

11.1. Резервы, размещаемые вдоль насыпей или сосредоточенные резервы - грунтовые карьеры, располагаемые в удалении от насыпи, следует проектировать в случаях непригодности для насыпи грунта из смежных выемок или нецелесообразности его транспортирования.

Вдоль насыпей не допускается размещать резервы в случаях, когда невозможно отвести воду из них, а так же при проектировании автомобильных дорог с сохранением ландшафта окружающей местности.

Не допускается размещать резервы в пределах раздельных железнодорожных пунктов и населенных мест, в местах расположения путевых зданий и переездов, на участках развития карста, а также, как правило, на поймах рек.

Смежные резервы у отдельных зданий и переездов следует соединять водопропускными канавами, лотками или трубами.

Размеры и конфигурация грунтовых карьеров назначаются с учетом потребности в грунте и в соответствии с требованиями техники безопасности.

11.2. Расположение резервов относительно проектируемой насыпи следует назначать согласно табл. 30 с учетом местных условий, влияющих на конструкцию и технологию сооружения земляного полотна.

Таблица 30

Поперечный

расположение резервов

уклон местности

оптимальное

Допустимое

Положе 1:10

С двух сторон

С одной стороны

От 1:10 до 1:5

С нагорной стороны

С двух сторон или с низовой стороны

Круче 1:5

Резервы не проектировать

С нагорной стороны по отдельным решениям с расчетом общей устойчивости косогора и насыпи после устройства резерва

Расстояние между внешней бровкой резерва и границей полосы отвода должно быть не менее 1 м.

В районах распространения подвижных песков резервы следует размещать согласно требованиям разд. 9 настоящих Указаний.

11.3. Между подошвой откоса насыпи и бровкой резерва необходимо оставлять берму шириной не менее 3 м для железных дорог и не менее 2 м для автомобильных дорог. У насыпей высотой до 2 м на сухом основании ширину берм разрешается уменьшать до 1 м; автодорожные насыпи высотой до 1,5 м, возводимые из резервов, допускается проектировать без берм (см. рис. 6, а; 7). Со стороны будущего второго пути железных дорог I -III категорий ширину бермы следует назначать равной 7,1 м.

Бермам с нагорной стороны необходимо придавать поперечный уклон от 0,02 до 0,04 в сторону резерва за счет срезки или присыпки грунта применительно к рис. 4, а, б.

11.4. Резервы необходимо, как правило, включать в общую систему водоотводных устройств, ограждающих земляное полотно от воздействия поверхностной воды, или предусматривать отдельные выпуски воды из резервов в пониженные места прилегающей местности, согласно требованиям разд. 12 настоящих Указаний.

11.5. Замкнутые резервы без водоотводов допускается применять на участках с дренирующими грунтами в районах с засушливым климатом и в районах распространения подвижных песков.

11.6. Дну резервов, входящих в общую систему водоотводных устройств, необходимо придавать поперечный и продольный уклоны. Поперечный уклон должен быть не менее 0,02, а продольный - не менее 20/00. Дно резерва при его ширине до 10 м следует проектировать односкатным с поперечным уклоном от земляного полотна, а при ширине более 10 м -двускатным, с уклоном от краев резерва к его середине. Наибольший продольный уклон резерва с низовой стороны насыпи не должен превышать 80/00, а для легкоразмываемых грунтов 50/00. Уклон дна резервов с нагорной стороны насыпей следует назначать по расчету в зависимости от вида грунта, количества и скорости течения воды. В случаях, когда по условиям рельефа местности продольный уклон дна резерва получается круче допускаемого по размываемости грунта, резервы следует проектировать отдельными участками с наибольшим допустимым уклоном дна. Между соседними участками резерва необходимо оставлять полосы ненарушенного грунта шириной не менее 3 м, а в местах сопряжения нижнего участка резерва с косогором - не менее 2 м и предусматривать в них устройство канав с перепадами высотой до 0,5 м, согласно требованиям разд. 12 настоящих Указаний.

11.7. Откосы резервов следует проектировать не круче 1:1,5.

11.8. Размеры резервов следует назначать по условиям потребности в грунте, а глубину, кроме того, - с учетом параметров применяемых землеройных машин и требований по устройству продольного водоотвода.

При невозможности или нецелесообразности увеличения глубины резерва, используемого в качестве водоотвода, а также в резервах с продольным уклоном менее 50/00 для пропуска воды следует проектировать водоотводную канаву с размещением ее в пониженной части резерва.

Поперечные размеры, продольный уклон и тип укрепления канавы следует назначать согласно требованиям разд. 12 и 16 настоящих Указаний.

11.9. На поймах рек закладка резервов допускается в исключительных случаях, причем:

расположение резервов необходимо увязывать с регуляционными сооружениями;

расстояние между нижним концом резерва и урезом меженных вод должно быть не менее 10 м;

отметку дна резервов назначать выше уровня меженных вод;

для выпуска воды из резерва предусматривать устройство канавы;

бермы между подошвой насыпи и бровкой резерва назначать не менее 4 м;

со стороны насыпи в резервах оставлять выступы в виде траверс, если в паводке возможно течение воды вдоль резерва.

11.10. Переходы от одной ширины резерва к другой следует назначать за счет отклонения полевого откоса под углом около 15°.

11.11. В грунтовых карьерах после их выработки необходимо предусматривать планировку откосов с учетом последующей посадки деревьев, использования карьера под водоем или для других народнохозяйственных целей.

Кавальеры

11.12. Кавальеры необходимо предусматривать в случаях непригодности или нецелесообразности использования грунта из выемки для насыпей, а также при отсутствии в непосредственной близости от выемки пониженных мест рельефа, где, как правило, непригодный или лишний грунт из выемок следует размещать и планировать.

Размещение грунта в кавальерах не допускается:

на территории станционных площадок, населенных пунктов и промышленных предприятий;

в местах, где кавальеры могут способствовать снежным или песчаным заносам полотна, в том числе вдоль мелких выемок;

с нагорной стороны полувыемок

11.13. Кавальеры следует проектировать согласно рис. 36 и размещать в зависимости от поперечного уклона местности (табл. 31), с учетом условий заносимости снегом или песком, а также свойств и состояния грунта, подлежащего укладке в кавальер.

Рис. 36. Схема размещения кавальеров и водоотводных устройств

а - с трапецеидальной забанкетной канавой; б -с треугольной забанкетной канавой, 1 -нагорная канава: 2 -кавальер; 3 -забанкетная канава; 4 -банкет; 5 -откос выемки

Таблица 31

Поперечный

уклон местности

Расположение кавальеров

оптимальное

Допустимое

Положе 1:5

От 1:5 до 1:3

С двух сторон

С одной сòîðîíû

С низовой стороны

С верховой стороны с проверкой расчетом общей устойчивости сооружения

Круче 1:3

Необходимо устанавливать с учетом местных условий и с проверкой расчетом общей устойчивости сооружения

11.14. Расстояние от подошвы кавальера до бровки проектируемой выемки, а на участках устройства в ближайшей перспективе второго пути железных дорог - до бровки выемки для будущего полотна должно бить не менее 5 м, для автомобильных дорог -не менее 3 м. На участках с глинистыми переувлажненными грунтами, в том числе при наличии верховодки, это расстояние должно быть не менее (5 + Н) ³ 10 м, где Н -высота откоса проектируемой выемки.

11.15. Кавальеры с низовой стороны полотна следует проектировать с разрывами в пониженных местах, не реже чем через каждые 50 м; ширина разрыва понизу должна быть не менее 3 м. Площадке между бровкой выемки и подошвой низового кавальера необходимо придавать продольный уклон в сторону разрыва.

11.16. В пределах полувыемок, а также раздельных пунктов железных дорог, размещенных на крутых косогорах, лишний или непригодный для насыпей грунт следует размещать с низовой стороны полотна, причем верх отсыпки необходимо проектировать ниже бровки земляного полотна не менее чем на 0,5 м, с поперечным уклоном 0,02 -0,04 от полотна.

11.17. В песчаных районах на сильно заносимых участках лишний грунт из выемок следует размещать не в форме кавальеров, а слоями высотой до 1 м и немедленно укреплять его поверхность. В пределах мало заносимых участков кавальеры необходимо проектировать согласно требованиям п. 11.12 -11.16 настоящих Указаний.

11.18.Проектом производства работ по устройству кавальеров необходимо предусматривать отсыпку грунта слоями до 1 м и планировку каждого слоя бульдозером.

Банкеты

11.19. Банкет необходимо проектировать для регулирования отвода поверхностной воды в забанкетную канаву с площадки между нагорным откосом выемки и подошвой кавальера, применительно к рис. 36.

Банкеты следует проектировать треугольной формы, высотой не более 0,6 м, назначая откос со стороны полотна не круче 1:1,5, расстояние от подошвы откоса банкета до бровки выемки -1 м. Верху банкета придается уклон 0,02 -0,04 в сторону забанкетной канавы.

11.20. Забанкетная канава, размещаемая между банкетом и кавальером, должна иметь: продольный уклон не менее 50/00, глубину и ширину по дну при трапецеидальной форме, равные 0,3 м, откосы крутизной 1:1,5, расстояние от бровки канавы до подошвы откоса кавальера -0,5 м. Забанкетные каналы разрешается проектировать треугольной формы глубиной 0,4 м.

11.21. Банкеты с забанкетными канавами не следует проектировать на косогорах крутизной 1:5 и более, а также у выемок в лёссовых и скальных грунтах.

Водоотводные устройства в этих случаях необходимо проектировать индивидуально с учетом местных условий.

11.22. В пределах пологих косогоров, а также у неглубоких выемок, когда устройство банкетов и забанкетных канав нецелесообразно, проектом необходимо предусматривать планировку поверхности косогора на полосе шириной около 3 м, прилегающей к бровке выемки, с приданием поверхности поперечного уклона к выемке не менее 0,02 и укрепление ее посевом трав.

12. УСТРОЙСТВА ДЛЯ ОТВОДА ПОВЕРХНОСТНЫХ ВОД

12.1. Устойчивость и прочность земляного полотна, а также нормальная работа дороги в условиях строительства и эксплуатации во многом зависят от наличия и состояния водоотводных устройств. Поэтому в проекты земляного полотна необходимо включать постоянные и временные на период строительства устройства для отвода поверхностных вод.

Устройства для отвода поверхностных вод допускается не предусматривать при проектировании земляного полотна на участках с песками в районах с засушливым климатом.

12.2. Отвод поверхностных вод следует предусматривать:

от насыпей и полунасыпей -канавами (нагорными, продольными и поперечными водоотводными, осушительными) или резервами;

от откосов выемок и полувыемок -канавами (нагорными и забанкетными);

от основной площадки земляного полотна железных дорог и верха земляного полотна автомобильных дорог в выемках и полувыемках -кюветами или лотками.

Поверхностную воду необходимо отводить от земляного полотна в пониженные места рельефа, в том числе к водопропускным сооружениям.

С нагорной стороны полотна должен быть предусмотрен сплошной продольный водоотвод на протяжении от каждого водораздела, пересекаемого дорогой, до водопропускного сооружения или до мест, от которых возможен поперечный отвод воды в сторону от полотна.

12.3. В состав работ по проектированию водоотводных устройств входят:

определение объема воды, притекающей с водосборного бассейна:

назначение вида, размеров и местоположения водоотводного устройства, позволяющих использовать землеройные машины для его выполнения, а также очистки в период эксплуатации;

назначение продольного уклона и скорости течения воды, исключающих возможность заиливания или размыва русла при принятом типе укрепления откосов и дна;

проверка расчетом площади поперечного сечения для пропуска расчетного расхода при заданном уклоне.

Водоотводные устройства в пределах участков со сложными инженерно-геологическими условиями следует проектировать индивидуально.

12.4. Минимальные размеры и другие параметры водоотводных устройств следует назначать на основе гидравлических расчетов, но не менее норм, приведенных в табл. 32. Для железных дорог кюветы следует проектировать, как правило, трапецеидального поперечного профиля, а при соответствующем обосновании - полуциркульного; глубину кюветов в обоснованных случаях допускается устанавливать равной 0,4 м.

Таблица 32

Водоотводные устройства

Ширина по

дну после укрепления в м

Глубина в м

Крутизна откоса в грунтах

Продольный уклон в 0/00

Возвышение

бровки над расчетным уровнем воды в м

глинистых; песчаных; крупнообломочных

пылеватых, глинистых и песчаных

торфяных

1. Нагорные и водоотводные канавы

0,6

0,6

1:1,5

1:1,5

-

5*

0,2

2. Забанкетные канавы

0,3

0,3

1:1,5

1:2

-

5

-

3. Канавы на болотах:

 

 

 

 

 

 

 

I типа

0,8

0,8

-

-

1:1,5

2**

-

II типа

2,0

1,0

-

-

1:0

2**

-

4. Кюветы железных дорог

0,4

0,6

1:1,5

1:1,5

-

2***

0,2

5. Кюветы автомобильных дорог:

 

 

 

 

 

 

 

треугольного профиля

-

0,3

1:1

1:1,5

-

5

0,2

трапецеидального профиля

0,4

0,3

1:1

1:1,5

-

5

0,2

* По условиям рельефа местности допускается уменьшать до 30/00.

** В исключительных случаях допускается уменьшать до 1 0/00.

*** В районах с суровым климатом и избыточным увлажнением грунтов — не менее 30/00.

Для автомобильных дорог наряду с выполнением технических требований по устройству водоотводов необходимо учитывать условия вписывания земляного полотна в ландшафт местности.

Наибольший продольный уклон водоотводных устройств для железных и автомобильных дорог следует назначать по расчету в зависимости от вида грунта, типа укрепления откосов и дна канавы и допускаемых скоростей течения воды по размыву. Если наибольший допускаемый продольный уклон водоотводного устройства при заданных расчетных параметрах будет меньше естественного уклона местности или продольного уклона земляного полотна, при расходах воды более 1 м3/сек необходимо предусматривать устройство быстротоков и перепадов, проектируемых индивидуально.

12.5. Поперечное сечение водоотводных устройств следует проверять на пропуск расчетного расхода воды с использованием методов гидравлических расчетов малых искусственных сооружений и русл. При этом вероятность превышения расчетных расходов следует принимать по нормам табл. 33.

Таблица 33

Категория линий, дорог

Вероятность превышения расчетных расходов в % для

кюветов, нагорных канав и водосбросов

водоотводных (продольных и поперечных) канав

I

1

4

II

3

6

III

3

6

IV

5

10

V

5

10

12.6. На водоразделе двух смежных бассейнов, на полосе шириной, не менее 5 м, устройство резервов и канав не допускается, если выпуск, воды будет осуществлен в различные водопропускные сооружения. В необходимых случаях на водоразделе следует предусматривать устройство разделительной дамбы шириной поверху не менее 2 м с заложением откосов не круче 1:2, с возвышением ее верха над расчетным уровнем воды не менее 0,25 м.

12.7. Водоотводные устройства следует размещать в полосе отвода с таким расчетом, чтобы расстояние от наружной бровки откоса водоотводного устройства до границы полосы отвода было не менее 1 м.

12.8. В местах, выхода на склоны водотоков, оврагов и низин водоотводные устройства необходимо отводить и сторону от земляного полотна, предусматривать их укрепление или расширение с соответствующим уположением откосов.

12.9. На участках с наличием грунтовых вод нагорные канавы, а также водоотводные устройства в пределах выемок следует проектировать согласно требованиям разд. 13 настоящих Указаний.

Водоотводные канавы

12.10. Продольные водоотводные канавы необходимо предусматривать с нагорной стороны насыпей без резервов. На местности с поперечным уклоном менее 0,02 при высоте насыпей менее 1,5 м, на участках с переменной сторонностью поперечного уклона, а также на болотах водоотводные канавы необходимо проектировать с двух сторон полотна.

12.11. При пересечении местных понижений допускается уменьшать глубину канав до 0,2 м с устройством со стороны насыпи банкета шириной поверху не менее 3 м, с возвышением его бровки над расчетным уровнем воды не менее 0,25 м и поперечным уклоном от насыпи, равным 0,02 -0,04.

12.12. Расстояние между подошвой откосов насыпей и внутренней бровкой продольных водоотводных канав следует принимать для железных дорог не менее 3м, а со стороны размещения будущего второго пути -не менее 7 м; для автомобильных дорог на сырых и мокрых местах это расстояние следует назначать из условия, что между бровкой канавы и кромкой проезжей части должно быть не менее 7 м при насыпях или их основании из супесей и не менее 3 м - из суглинков и глин.

Поверхности бермы между насыпью и канавой необходимо придавать поперечный уклон в сторону канавы от 0,02 до 0,04.

Водоотводные канавы вдоль насыпей высотой до 0,8 м автомобильных дорог на участках с сухим основанием допускается проектировать треугольной формы без устройства берм (см. рис. 5, а.

12.13. Поперечные канавы следует проектировать в случаях, когда затруднен отвод воды от водопропускных сооружений или продольный отвод воды из местных понижений у земляного полотна.

12.14. Сопряжения водоотводных канав с руслом водотоков следует проектировать с выполнением следующих условий: в месте сопряжения канаву направлять по течению водотока; угол между осями канавы и водотока назначать не более 45°; изменения направления канав проектировать плавными по кривой радиусом не менее 5 м, а на участках подходов к перепадам, быстротокам и искусственным сооружениям - не менее 10 м.

Нагорные канавы

12.15. Нагорные канавы необходимо размещать с нагорной стороны выемок с целью перехвата воды, поступающей с косогора и из прилегающего водосборного бассейна и последующего отвода ее к ближайшему водопропускному сооружению или в сторону от земляного полотна.

12.16. На местности с большой крутизной склона, когда продольный уклон нагорной канавы будет больше допустимого для данных грунтов и применяемого типа укрепления, необходимо предусматривать устройства для гашения скорости течения воды - перепады, быстротоки и водобойные колодцы.

В таких случаях в виде исключения допускается также ступенчатое размещение отдельных участков нагорной канавы на косогоре. При этом начало участка канавы, располагаемого ниже, следует размещать с некоторым перекрытием выхода на косогор выше располагаемого участка. Величину перекрытия и тип укрепления склона в местах выхода отдельных участков канавы необходимо назначать с учетом местных условий.

12.17. Минимальные расстояния между бровкой нагорной канавы и бровкой выемки, подошвой кавальера или насыпи следует назначать не менее величин, приведенных в табл. 34. Расстояние между бровкой нагорной канавы и подошвой кавальера следует принимать в зависимости от вероятных размеров снежных отложении.

Таблица 34

Элементы земляного полотна

Расстояние от бровки нагорной канавы в м для дорог

железных

автомобильных

1. Бровка выемки при отсутствии банкета и кавальера

5,0

5,0

2. То же, со стороны размещения будущего второго пути

9,0

-

3. Подошва насыпи

3,0

2,0

4. Подошва кавальера

1 - 5

1 - 5

Кюветы и лотки

12.18. Кюветы следует размещать с обеих сторон земляного полотна в выемках. Разрешается проектировать выемки без кюветов:

в дренирующих грунтах, а также в песках мелких, в районах с засушливым климатом, где возможно полное впитывание и испарение атмосферных осадков;

в слабовыветривающихся скальных породах, где для концентрации поверхностной воды, поступающей в выемку с откосов и основной площадки, а также для ограждения балластной призмы, предусмотрена укладка из камня или бетонных бордюрных блоков вдоль полотна железных дорог (см. рис. 20, а);

в скальных породах, при проектировании выемок с траншеями (см. рис. 23).

12.19. Кюветы, как правило, следует проектировать трапецеидальной формы с размерами не менее величин, приведенных в табл. 32.

При отсутствии банкетов и забанкетных канав минимальное поперечное сечение кюветов необходимо проверять расчетом на пропуск расчетного расхода воды и, при необходимости, увеличивать его. Увеличение поперечного сечения кюветов следует предусматривать за счет их углубления при сохранении минимальной ширины по дну.

12.20. Полевые откосы кюветов следует проектировать крутизной, равной крутизне откоса выемки, а откосы кюветов со стороны полотна не круче значений, приведенных в табл. 32.

12.21. Продольный уклон кюветов следует принимать равным уклону земляного полотна. В пределах выемок с продольным уклоном верха земляного полотна менее 20/00 кюветы необходимо проектировать с продольным уклоном, равным 20/00. В таких случаях в точках водораздела глубину кюветов разрешается уменьшать до 0,2 м посредством сохранения ширины выемки на уровне бровки и дна кюветов и соответствующего увеличения ширины основной площадки земляного полотна железных дорог и верхней части земляного полотна автомобильных дорог.

12.22. Кюветы выемок для автомобильных дорог, а также выемок в скальных слабовыветривающихся породах для железных дорог допускается проектировать треугольной формы при обязательной проверке поперечного сечения кювета на пропуск расчетного расхода воды.

12.23. Лотки следует применять в случаях:

когда увеличение сечения кюветов приводит к значительному увеличению объема земляных работ по устройству выемки;

слабых и водо-насыщенных грунтов, в которых устойчивость откосов кюветов не может быть обеспечена;

скальных грунтов в целях снижения объема земляных работ при размещении трассы в пределах крутого косогора;

в стесненных условиях, когда невозможно устройство углубленных кюветов или нормального их сечения;

на насыпях высотой более 4 м автомобильных дорог I - III категорий при затяжном продольном уклоне более 300/00 и в местах вогнутых кривых в продольном профиле.

Глубину лотков следует назначать по результатам гидравлических расчетов, а сечение и конструкцию - принимать по соответствующим указаниям.

12.24. Кюветы и лотки на выходе из выемок следует отводить от земляного полотна в лог, резерв или водоотводную канаву с устройством плавного закругления.

12.25. Использование кюветов и лотков для пропуска воды из нагорных и забанкетных канав, а также из водоотводных канав при объединении искусственных водопропускных сооружений допускается в исключительных случаях при соответствующем обосновании.

При этом проект выемки необходимо разрабатывать с учетом местных условий, предусматривая:

углубление и уширение кюветов до сечения, достаточного для пропуска суммарного расчетного расхода поды вероятностью превышения 0,3%;

устройство берм шириной не менее 2,0 м между кюветом и основной площадкой земляного полотна железных дорог и верхней частью земляного полотна автомобильных дорог;

укрепление дна и откосов кюветов в соответствии с расчетными глубиной и скоростями течения воды.

Поглощающие колодцы и испарительные бассейны

12.26. В равнинной местности, где отсутствует возможность для отвода воды из замкнутых понижений рельефа, пересекаемых дорогой, следует предусматривать устройство поглощающих колодцев или испарительных бассейнов.

12.27. Поглощающие колодцы следует проектировать в местах, где на небольшой глубине от поверхности земли залегают хорошо дренирующие грунты некарстующихся пород, мощность слоя которых достаточна для поглощения расчетного количества поверхностной воды.

12.28. Испарительные бассейны разрешается предусматривать при проектировании автомобильных дорог в районах IV и V дорожно-климатических зон.

В качестве испарительного бассейна могут быть использованы местные понижения, впадины, выработанные карьеры и резервы. глубиной не более 0,4 м. На участках, где под испарительные бассейны будет использован резерв, проектировать насыпи без берм не допускается.

Если нельзя использовать резерв и отсутствуют местные понижения, впадины, выработанные карьеры, разрешается проектировать испарительные бассейны, размещаемые с двух сторон земляного полотна на расстоянии не менее 10 м от подошвы откоса насыпи.

Объем каждого бассейна можно назначать до 300 м, а глубину не более 1 м.

Водоотводные устройства в пределах раздельных пунктов железных дорог

12.29. В пределах проектируемых раздельных пунктов необходимо предусматривать водоотводные устройства для надежного и возможно быстрого отвода воды с поверхности земляного полотна и балластной призмы, а также - отвода производственных вод от депо, мастерских, поворотных кругов, гидравлических кранов, снеготаялок и других производственных сооружений и зданий.

12.30. Поперечный поверхностный водоотвод обеспечивается посредством придания верху земляного полотна поперечного уклона в сторону продольного водоотвода.

12.31. Для продольного водоотвода следует проектировать канавы или лотки, размещаемые на междупутьях. В местах пешеходных переходов и при пересечении территорий, на которых предусмотрено хождение технического персонала, необходимо проектировать закрытые канавы и лотки.

12.32. Для отвода воды из продольных канав и лотков в водоемы или пониженные места за пределы станционных площадок необходимо предусматривать водостоки, проектируя их, по возможности, короткими с малым числом пересечений железнодорожных путей, автомобильных дорог, площадей привокзальных и грузовых дворов.

12.33. Минимальные размеры и другие параметры водоотводных устройств и водостоков в пределах раздельных пунктов необходимо принимать согласно положениям 12.1 -12.25, причем открытые водоотводные устройства глубиной более 13 м проектировать не следует.

13. УСТРОЙСТВА ДЛЯ ОТВОДА ГРУНТОВЫХ ВОД

13.1. Грунтовые воды, которые могут нарушить прочность и устойчивость земляного полотна, должны быть отведены от него дренажными устройствами.

Тип устройств для понижения, перехвата и отвода грунтовых вод, их размеры и расположение необходимо принимать на основе данных гидрогеологического обследования и технико-экономического сравнения возможных вариантов в зависимости от притока, характера и глубины залегания грунтовых вод, напластования и вида грунтов, рельефа местности, расположения и размеров земляного полотна.

13.2. Грунтовые воды, залегающие на глубине до 2,0 м, целесообразно перехватывать и отводить открытыми лотками и каналами, а на участках с круглогодичным действием грунтовых вод - закрытыми лотками. При этом в пределах участков с легкоразмываемыми грунтами необходимо предусматривать устройство фильтра за стенками лотков. Дно лотков и канав следует укреплять в соответствии с требованиями разд. 16 настоящих Указаний.

13.3. Для перехвата и отвода грунтовых вод, уровень которых залегает на глубине более 2 м, следует предусматривать дренажи, галереи, колодцы и другие виды дренажных сооружений, проектируемых с учетом гидрогеологических и других местных условий.

14. ЗЕМЛЯНОЕ ПОЛОТНО ДЛЯ ВТОРЫХ ПУТЕЙ И РЕКОНСТРУИРУЕМЫХ ЖЕЛЕЗНЫХ И АВТОМОБИЛЬНЫХ ДОРОГ

Земляное полотно железных дорог

14.1. Земляное полотно для вторых путей железных дорог следует проектировать с соблюдением норм и требований других разделов настоящих Указаний в отношении выбора грунтов, их плотности и влажности в теле земляного полотна, возвышения бровки над уровнем воды, крутизны откосов, конструктивных размеров земляного полотна и других основных параметров и мероприятий, обеспечивающих прочность и устойчивость земляного полотна.

14.2. Земляное полотно для второго пути необходимо проектировать и увязке с утвержденными решениями по реконструкции пути и использованию земляного полотна существующей железной дороги, в том числе с учетом следующих схем размещения второго пути.

Схема I - на общем земляном полотне и в одном уровне с существующим путем. Эта схема является основной, и ее следует применять, как правило, на участках с благоприятными инженерно-геологическими условиями и условиями эксплуатации существующего земляного полотна.

Схема II - в разных уровнях, с использованием существующего земляного полотна. По такой схеме следует проектировать земляное полотно в местах реконструкции существующего пути, в пределах путепроводных развязок и т.п. на участках с благоприятными инженерно-геологическими условиями.

Схема III - на раздельном полотне. Такую схему необходимо принимать при проектировании второго пути в пределах:

подходов к большим и средним мостам на раздельных опорах;

участков со слабым основанием и в других неблагоприятных инженерно-геологических условиях, когда не может быть гарантирована устойчивость существующего земляного полотна в условиях его нормальной эксплуатации при сооружении земляного полотна второго пути;

участков с руководящим уклоном второго пути, не равным руководящему уклону существующего пути.

Схема IV - на общем двухпутном полотне по новой трассе при обходе участков, неблагоприятных по инженерно-геологическим и другим условиям.

Выбор схемы размещения второго пути должен быть обоснован технико-экономическими расчетами.

Раздельное однопутное и новое двухпутное земляное полотно следует проектировать в соответствии с требованиями глав СНиП по проектированию железных и автомобильных дорог.

14.3. При проектировании второго пути и переустройстве существующего земляного полотна необходимо предусматривать максимальное использование существующих водоотводных, осушительных, укрепительных, противодеформационных, защитных и других устройств. Если существующие водоотводные и осушительные устройства не обеспечивают надлежащего отвода воды от земляного полотна, в том числе из пазух и междупутья, необходимо предусматривать реконструкцию их или устройство новых.

В местах скопления воды у земляного полотна, когда нецелесообразно устройство продольного водоотвода, необходимо предусматривать устройство новых водопропускных сооружений.

Водоотводные устройства следует проектировать в соответствии с требованиями разд. 12 и 13 настоящих Указаний.

14.4. Ширину земляного полотна следует назначать согласно требованиям п.п. 3.4 - 3.9 с учетом схемы размещения второго пути, необходимости уширения полотна на величину междупутья и уширения его в пределах кривых, а также для размещения обочины и откоса полотна на участках расположения путей в разных уровнях

При этом минимальную ширину обочины существующего земляного полотна со стороны, противоположной расположению проектируемого второго пути, необходимо устанавливать не менее 0,40 м при наибольшей толщине балластной призмы.

14.5. Поперечные профили земляного полотна, способы подготовки основания и другие мероприятия по обеспечению устойчивости земляного полотна в сложных и неблагоприятных условиях следует проектировать с учетом местных условий в случаях, перечисленных в п. 4.2, и, кроме того, при размещении:

насыпей для второго пути с низовой стороны существующей насыпи при высоте ее откоса более 6 м на косогорах крутизной от 1:3 до 1:5; на участках существующих насыпей на болотах, возведенных на сланях или песчаных дренах; в пределах неустойчивых существующих насыпей, а также имеющих шлейфы на откосах из разнородного грунта мощностью более 0,5 м; в местах размещения существующих фильтрующих насыпей; насыпей высотой более 8 м из глинистых грунтов;

выемок в пределах участков существующего полотна, подверженного деформациям; участков, где выполнена замена глинистого грунта основания дренирующим или осуществлены противодеформационные устройства (дренажи и т.п.).

14.6. Для проектирования земляного полотна под второй путь, в дополнение к материалам, используемым при проектировании земляного полотна новых железных дорог, необходимы:

поперечные профили земляного полотна существующего пути с показанием на них балластных корыт, песчаных шлейфов и инженерно-геологических характеристик оснований и тела земляного полотна:

попикетное описание существующего земляного полотна с подробной геотехнической характеристикой его основания, основной площадки и балластного слоя, типов и конструкций укреплений откосов, состояния водоотводов и их укреплений, данных по всем видам существующих противодеформационных и защитных мероприятий, их состоянию, эффективности работы и т.п.;

пояснительные записки с подробным описанием каждого участка деформирующегося земляного полотна, а также участков со сложными инженерно-геологическими условиями, в пределах которых следует применять противодеформационные мероприятия.

14.7. Насыпи под второй путь следует проектировать в виде присыпок к существующему полотну применительно к поперечному профилю рис. 37.

Рис. 37. Поперечный профиль насыпи, уширяемой под второй путь

1 - ось второго пути; 2 - ось существующего пути; 3 - дренирующий грунт; 4 - проектируемая присыпка; 5 - существующая насыпь; 6 - резерв или канава

Ширину присыпок следует назначать в зависимости от высоты и крутизны откосов, состояния и свойств не пользуемых грунтов, местных климатических условий, а также от параметров строительных и транспортных средств и организации строительных работ в условиях эксплуатируемого земляного полотна. При этом необходимо предусматривать:

ширину междупутья в пределах кривых с учетом норм табл. 16;

возможность механизированного выполнения земляных работ при ширине присыпок не менее приведенных в табл. 35;

мероприятия, обеспечивающие устойчивость нового и существующего земляного полотна.

Таблица 35

Вид используемого грунта

Ширина присыпки в м

1. Скальный………………..

3,0

2. Дренирующий…………..

3,5

3. Недренирующий………..

4,0

Уменьшение ширины присыпок, установленной табл. 35, допускается в обоснованных случаях:

на участках переключения сторонности пути на перегонах;

при досыпке дренирующим грунтом насыпей высотой до 4 м, сложенных такими же грунтами.

При этом необходимо предусматривать соответствующую организацию строительных работ.

14.8. Для насыпей под второй путь необходимо использовать грунт, удовлетворяющий требованиям разд. 2 настоящих Указаний.

Верхнюю часть земляного полотна второго пути требуется проектировать с применением дренирующего грунта или других конструктивных решений, в том числе трубофильтров, обеспечивающих надежный отвод поверхностной воды в случаях, когда:

верх существующей насыпи из недренирующего грунта имеет поверхность выпуклую или наклонную в сторону второго пути;

основная площадка существующего полотна деформирована и сложена загрязненным балластным материалом или дренирующим грунтом.

В районах с засушливым климатом необходимость применения дренирующего грунта для верхней части земляного полотна второго пути должна быть обоснована технико-экономическими расчетами.

14.9. Основной площадке проектируемого полотна из глинистых и других недренирующих грунтов необходимо придавать поперечный уклон от существующего полотна - 0,04. Основную площадку насыпей из скальных и дренирующих грунтов следует проектировать горизонтальной.

14.10. Крутизну откосов проектируемой насыпи следует назначать согласно табл. 17, но не круче устойчивых откосов используемой существующей насыпи.

14.11. На откосах существующих насыпей из глинистых грунтов высотой более 1 м со стороны присыпки необходимо проектировать уступы шириной от 1 до 1,5 м с устройством поперечного уклона, равного 0,01 - 0,02.

В пределах насыпей из дренирующих грунтов взамен устройства уступов следует предусматривать удаление с откосов дерна и древесно-кустарниковой растительности, а при отсутствии дерна и растительности - рыхление верхнего слоя грунта на глубину 10 - 15 см.

14.12. Со стороны проектируемого второго пути необходимо предусматривать устройство берм в случаях, когда:

подошва откоса насыпи второго пути попадает в существующий резерв;

откос насыпи может иметь длительное (более 20 суток) подтопление водой;

проектируемая присыпка к существующей насыпи согласно данным расчетов не обеспечивает устойчивость двухпутного земляного полотна;

насыпь из глинистых грунтов, мелких и пылеватых песков, легковыветривающихся скальных пород имеет откосы высотой более 8 м.

При наличии берм у существующей насыпи проектом следует предусматривать уширение их со стороны проектируемого второго пути не менее чем на 3 м.

14.13. Устойчивость проектируемого земляного полотна на участках с благоприятными инженерно-геологическими условиями следует проверять расчетом в случаях использования глинистых грунтов, когда отношение ширины присыпки полотна под второй путь к ее высоте меньше единицы.

Проверке расчетом подлежат также существующие насыпи из глинистых грунтов высотой более 8 м и присыпки к ним.

14.14. В проектах уширения насыпей на болотах необходимо предусматривать мероприятия, направленные на обеспечение устойчивости полотна и безопасности движения поездов по существующему пути.

При этом в проектах следует определять участки, в пределах которых необходимо проводить систематические наблюдения за состоянием существующего и возводимого полотна во время его строительства и временной эксплуатации.

На болотах I типа (см. п. 7.2) необходимо проектировать вырезку торфа в пределах основания присыпки под второй путь в зависимости от мощности отложений торфа и высоты насыпи, согласно табл. 36.

Таблица 36

мощность отложений торфа в м

высота насыпи в м

Глубина вырезки в м

До 1

£ 3

До поверхности минерального грунта

От 1 до 4

£ 3

На величину 0,5S, где S — величина осадки по оси существующей насыпи

От 1 до 4

3 - 12

На величину 0,5S и продольный прорез на глубину S вдоль пути под подошвой откоса присыпки под второй путь

На болотах I типа, если в основании существующей насыпи залегает торф, необходимо:

проверять расчетом устойчивость существующего полотна при устройстве траншей вырезки под полотно второго пути;

предусматривать в проекте организации работ выполнение выторфовывания посекционно на участках длиной 10 - 50 м, в зависимости от мощности, плотности и устойчивости торфа.

На болотах II и III типов глубиной до 4 м следует предусматривать удаление верхней корки торфяных отложений и размещение подошвы насыпи на поверхности минерального грунта, а также устройство бермы со стороны второго пути. При этом ширину присыпки под второй путь над поверхностью болота необходимо назначать соответственно требованиям п. 14.7, а ширину бермы - в зависимости от расчетной осадки основания насыпи, но не менее 2 м.

14.15. Существующие выемки подлежат уширению соответственно требованиям п. 14.4 применительно к поперечному профилю рис. 38.

Рис. 38. Поперечный профиль выемки, уширяемой под второй путь

1 - ось второго пути; 2 - ось первого пути; 3 - дренирующий грунт; 4 - кювет в существующей выемке; 5 - проектируемое уширение

Необходимость и величина уширения выемок сверх установленных минимальных размеров должна быть обоснована технико-экономическими расчетами с учетом предусмотренных в проекте механизированных средств и способов производства работ, а также местных природных условий.

14.16. Поперечный профиль выемки со стороны второго пути следует проектировать с учетом вида грунта согласно требованиям разд. 6 настоящих Указаний, а крутизну откоса назначать по нормам табл. 21, но не круче устойчивых откосов существующей выемки.

14.17. Верху земляного полотна под второй путь необходимо придавать поперечный уклон 0,04 в сторону проектируемого кювета. При этом требуется предусматривать засыпку существующего кювета со стороны второго пути грунтом, однородным с грунтом в пределах основной площадки проектируемого полотна, и его уплотнение согласно требованиям разд. 2 настоящих Указаний.

14.18. Скальные выемки следует проектировать с расчетом на применение рыхления грунта методом шпуровых и скважинных зарядов и с использованием экскаваторов. В затяжных выемках допускается предусматривать сдвижку на время производства работ существующего пути с ограждением его от повреждений по согласованию с Министерством путей сообщения.

Земляное полотно автомобильных дорог

14.19. При реконструкции автомобильных дорог необходимо предусматривать максимально возможное использование существующего земляного полотна применительно к поперечным профилям рис. 39.

14.20. Уширение земляного полотна следует, как правило, предусматривать с одной стороны (см. рис. 39, в); двустороннее уширение допускается (см. рис. 39, а, б) в случаях необходимости или экономической целесообразности.

Рис. 39. Поперечные профили земляного полотна реконструируемых автомобильных дорог

а - с двусторонним уширением; б - то же, с утолщением существующей дорожной одежды; в - с односторонним уширением; 1 - дорожное полотно проектируемое; 2 - то же, существующее, 3 -- проектируемая часть земляного полотна; 4 - уступ на откосах существующего земляного полотна из глинистых грунтов

14.21. При уширении земляного полотна реконструируемой дороги или его досыпке до новых проектных отметок следует использовать дренирующие грунты. Местные глинистые грунты разрешается применять при условии обеспечения однородности нового и существующего земляного полотна по составу грунтов, их влажности и плотности, с устройством уступов согласно п. 14.11. На участках, где плотность грунта существующего земляного полотна ниже требуемой (см. пп. 2.18 и 2.19), в проекте необходимо предусматривать работы по рыхлению грунта существующего полотна на глубину 30 - 40 см с последующим уплотнением его до требуемой плотности.

15. ЗЕМЛЯНОЕ ПОЛОТНО ДЛЯ ЖЕЛЕЗНОДОРОЖНЫХ УЗЛОВ И СТАНЦИЙ

15.1. Для проектирования земляного полотна в пределах раздельных пунктов в дополнение к материалам, используемым при проектировании земляного полотна на перегонах, необходимы следующие исходные данные:

план в горизонталях с показанием существующих и проектируемых путей, зданий, сооружений, подземных и надземных коммуникаций, полосы отвода;

инженерно-геологическая карта территории, а при высоком залегании грунтовых вод и карта гидроизогипс с показанием разведочных выработок.

15.2. Распределение земляных масс и мероприятия по обеспечению устойчивости земляного полотна следует проектировать с учетом рельефа местности и последующего развития станции, в том числе размещения земляного полотна для подходов, водоотводных устройств и других сооружений.

15.3. Под удлиняемые разъездные, пути для безостановочного скрещения поездов земляное полотно следует проектировать по нормам, установленным для новых железных дорог (см. разд. 3, п. 14.1 и др.).

15.4. На участках, подверженных снежным и песчаным заносам, земляное полотно для раздельных пунктов необходимо проектировать с учетом: силы и направления ветра по отношению к продольной оси станции, продольного профиля земляного полотна, числа путей, наличия сооружений, естественной защиты (лесных насаждений, рельефа местности) и т.д.

Станционные площадки следует, как правило, проектировать в плане на прямой, параллельно направлению господствующих метелепоземковых ветров или близкому к нему, а в профиле - насыпями расчетной высоты в соответствии с требованиями главы СНиП по проектированию железных дорог. В обоснованных случаях проектом необходимо предусматривать снегозащитные устройства.

15.5. Земляное полотно новых раздельных пунктов, вспомогательных путей в пределах существующих железнодорожных узлов и станций, а также новое земляное полотно с использованием существующего при развитии остановочных пунктов или их реконструкции следует проектировать в соответствии с нормами и положениями настоящих Указаний.

15.6. Ширину земляного полотна необходимо назначать в соответствии с путевым развитием в зависимости от числа путей и расстояний между смежными путями, согласно ГОСТ 9238-73.

Расстояния от осей крайних станционных путей до бровки земляного полотна следует принимать по нормам табл. 37.

Таблица 37

Категория линий

Расстояние от осей крайних станционных путей до бровки земляного полотна в м при грунтах

глинистых и недренирующих песков мелких и пылевых

скальных, крупнообломочных и песчаных дренирующих

I

3,50

3,00

II

3,25

2,90

III

2,90

2,50

IV и V

2,75

2,50

Для всех категорий в пределах стрелочных улиц и вытяжных путей

³ 3,25

³ 3,25

Уменьшение этих расстояний допускается в случаях использования существующего земляного полотна, при условии, что ширина обочины будет не менее 0,40 м.

На станциях с сортировочной работой в пределах от места расцепки вагонов до верха горки, полугорки или до точки отрыва вагонов от состава ширину по верху балластного слоя необходимо увеличивать на 0,75 м с каждой стороны полотна; соответственно этому следует увеличивать расстояние от оси крайних путей до бровки земляного полотна.

15.7. Ширину земляного полотна в пределах кривых участков следует устанавливать согласно требованиям п.п. 3.4 - 3.9 настоящих Указаний.

15.8. Поперечное очертание верха земляного полотна следует проектировать согласно табл. 38. При пилообразном очертании необходимо предусматривать закрытые продольные лотки в междупутьях с пониженными отметками, а также -поперечные выпуски для отвода воды из лотков за пределы станционной площадки.

Таблица 38

Назначение земляного полотна

Грунт земляного полотка

Поперечный профиль

Направление уклона

1. Промежуточные станции всех типов; обгонные пункты; разъезды

Недренирующий

Двускатный

В обе стороны от оси полотна

 

Дренирующий

Односкатный

От пассажирского здания

2. То же, в засушливых районах

Дренирующий

Горизонтальный

3. Для локомотивного и вагонного хозяйства: грузового двора

Дренирующий или недренирующий

Одно- и двускатный

От зданий

4. У пакгаузов, погрузочно-разгрузочных платформ и площадок

То же

Односкатный

От сооружений

5. Различное при значительной ширине полотна

То же

Пилообразный

К водоотводным лоткам и канавам

6. Новое полотно рядом с существующим

То же

Односкатный или пилообразный

То же

15.9. Верху земляного полотна следует придавать поперечный уклон в сторону водоотводов в зависимости от вида грунта земляного полотна и балласта, уровни увлажнения и числа путей, располагаемых в пределах каждого ската, в соответствии с нормами табл. 39.

Таблица 39

Грунт земляного полотна

Материал балласта

Вероятное увлажнение*

Число путей на одном скате

Уклоны верха земляного полотна**

1. Дренирующий

Гравий; крупные и средние пески

Малое

10 и более

0

То же, и ракушка

Большое и среднее

10

0

2. Недренирующий

Гравий, круглые и средние пески

Малое

10 -8

0,01

То же, и ракушка

Большое и среднее

8 -6

0,02

Пески мелкие

Малое

8 -6

0,02

То же, и ракушка

Большое и среднее

3 -2

0,02

* Малое увлажнение вероятно в пределах IV и V дорожно-климатических районов (см. табл. 1) с количеством осадков до 300 мм в год; среднее увлажнение -пределах III района; большое увлажнение -в пределах I и II районов, а также в районах Закавказья и на Черноморском побережье Кавказа.

** В обоснованных случаях верх земляного полотна станционных площадок разрешается проектировать с поперечным уклоном и,04.

15.10. Отдельные станционные пути, парки и устройства допускается проектировать в разных уровнях. При этом разность отметок путей необходимо погашать посредством постепенного изменения продольного уклона полотна, как правило, вне пределов полезной длины путей, применяя любые уклоны до руководящего включительно.

При этом размеры междупутий и разрывов между парками следует назначать с учетом размещения откосов полотна, водоотводных устройств, а в случае необходимости -устройств и оборудования для защиты путей от заносимости снегом и песком и других устройств.

15.11. Водоотводные устройства в пределах раздельных пунктов следует проектировать согласно требованиям разд. 12 и 13 настоящих Указаний.

16. УКРЕПЛЕНИЕ ЗЕМЛЯНОГО ПОЛОТНА И ВОДООТВОДНЫХ СООРУЖЕНИЙ

16.1. Укрепление поверхности земляного полотна и водоотводных сооружений необходимо предусматривать в проектах с целью предохранения полотна от разрушающего воздействия природных факторов.

16.2. Тип укрепления следует назначать с учетом: вида укрепляемого сооружения и его размеров; грунтов, слагающих откос и его основание; климатических, топографических и гидрологических условий; наличия местных материалов для укрепительных работ; заданных сроков строительства и результатов технико-экономических расчетов.

16.3. Применяемые укрепления должны обладать необходимой прочностью, устойчивостью против разрушающего воздействия природных факторов и долговечностью, обеспечивать механизацию трудоемких процессов укрепительных работ и минимальные затраты на содержание сооружения в условиях эксплуатации.

16.4. Укреплению подлежат: обочины земляного полотна из всех грунтов, кроме скальных и крупнообломочных; откосы земляного полотна и регуляционных сооружений; откосы и дно водоотводных сооружений.

16.5. Обочины укрепляют:

укладкой дерна в виде лент вдоль бровки полотна;

покрытием галечно-гравийным и другим дренирующим материалом или отходами асбестодобывающих предприятий слоем 5 -10 см;

покрытием грунтами, обработанными вяжущими материалами;

обработкой грунта химическими добавками и вяжущими материалами.

16.6. Создание искусственного дернового покрова посредством засева семенами многолетних трав следует считать основным видом укрепления незатопляемых откосов. Для создания на откосах искусственного дернового покрова необходимо предусматривать:

использование семян трав трех видов -злаковых рыхлокустовых, корневищевых и стержнекорневых, бобовых;

подбор видового состава трав и назначение установленных норм высева с учетом местных природных условий; для откосов высоких насыпей и глубоких выемок, а также при необходимости создания дернового покрова в предельно короткие сроки нормы высева семян следует увеличивать в 2 -3 раза;

строгое соблюдение установленных агротехнических требований;

механизированное выполнение работ по посеву трав с предварительным нанесением на откосы слоя растительного грунта толщиной 10 -15 см, а в благоприятных условиях применять гидропосев без применения растительного грунта;

устройство в обоснованных случаях разделительных полок на откосах высоких насыпей и глубоких выемок, подлежащих укреплению посевом многолетних трав для размещения на этих полках строительных машин и механизмов.

16.7. Сборную железобетонную обрешетку в комплексе с посевом трав следует применять для укрепления откосов земляного полотна из глинистых пылеватых переувлажненных грунтов на участках, где возможны местные сплывы грунта.

16.8. Сплошную дерновку плашмя следует применять в исключительных случаях при наличии дерна в непосредственной близости от строительного объекта, возможности механизированного выполнения трудоемких процессов и экономической целесообразности для укрепления откосов:

выемок в глинистых переувлажненных грунтах;

насыпей и берм периодически подтопляемых на короткий период времени (до 20 суток) при высоте волн не более 0,20 м и скоростях течения воды вдоль полотна, не превышающих допускаемые.

16.9. Подтопляемые откосы земляного полотна следует укреплять сборными бетонными и железобетонными конструкциями, облицовкой из монолитного бетона, а также наброской из камня слабовыветривающихся пород и другими видами покрытий в зависимости от скорости течения воды и высоты наката волн.

16.10. К основным видам укрепления земляного полотна в районах распространения подвижных песков и прилегающих к нему участков следует относить:

защитные насаждения пескоукрепителей в виде древесно-кустарниковых посадок и посева местных трав вне пределов земляного полотна;

средства механической защиты в виде покрытия укрепляемой поверхности глинистыми грунтами и обработки вяжущими материалами, а в отдельных случаях также и покрытия из стеблей местных растений.

16.11. Для защиты песчаных откосов и обочин земляного полотна от выдувания рекомендуется покрытие их поверхности слоем щебенистых, дресвяных, гравийно-галечных или глинистых грунтов толщиной 0,10 -0,15 м -на откосах, 0,05 м -на обочинах.

Обочины земляного полотна автомобильных дорог в подвижных песках следует покрывать связными грунтами слоем 0,15 -0,20 м.

16.12. В районах распространения барханных песков следует применять посадку на прилегающей местности древесно-кустарниковых насаждений местных пород, а также — обработку откосов, обочин и прилегающей местности вяжущими материалами, включая битумную эмульсию, высокосмолистую нефть и др.

16.13. Водоотводные канавы и кюветы подлежат укреплению, если их проектируют для участков с грунтами, подверженными оплыванию в откосах или разрушению в результате периодического увлажнения-высушивания, промерзания-оттаивания, а также если расчетная скорость течения в канавах и кюветах воды будет превышать допускаемую скорость для данного вида грунта.

Для укрепления можно применять: обсев откосов семенами многолетних трав и щебневание дна канав; обработку дна и откосов вяжущими веществами, органическими смолами, химическими и другими материалами; укладку асфальтобетонных, бетонных плит и других сборных железобетонных конструкций вида полутруб, лотков и т.д.

Способ укрепления следует назначать в зависимости от свойств и состояния грунта, в котором закладывается канава, а также от расчетной скорости воды и допускаемой скорости для данного вида укреплений.

17. ФИЛЬТРУЮЩИЕ НАСЫПИ

17.1. Фильтрующие насыпи допускается применять для железных и автомобильных дорог III -V, категорий в качестве водопропускных сооружений при пересечении сухих логов, местных понижений на косогорах и постоянных водотоков с расходами, не превышающими 10 м3/сек при залегании в основании земляного полотна прочных скальных, крупнообломочных грунтов, крупных и средней крупности песков, плотных глин и суглинков.

При необходимости пропуска расхода воды более 10 м3/сек целесообразно применять комбинированные фильтрующие насыпи с водопропускными трубами.

17.2. Возможность и целесообразность применения фильтрующих насыпей необходимо устанавливать в зависимости от местных условий на основе сравнения вариантов с учетом эксплуатационных расходов, срока службы сооружений и условий их текущего содержания.

Применение фильтрующих насыпей наиболее целесообразно:

в районах с наличием местного камня из неразмываемых пород;

в случаях необходимости выполнения строительных работ в зимнее время;

на участках, где в последующем потребуется смягчение продольных уклонов дороги или введение более мощных подвижных единиц, требующих перестройки мостов и труб;

в сейсмических районах.

17.3. Фильтрующие насыпи в зависимости от очертания лога и принятой технологии производства работ назначают прямоугольного параболического, треугольного или трапецеидального поперечного сечения.

17.4. Размеры фильтрующих прослоек необходимо определять гидравлическим расчетом на пропуск расчетных расходов воды с вероятностью превышения 2%. В случае преобладания ливневого стока расчетный расход следует определять с учетом аккумуляции. При этом уменьшение расхода допускается не более чем в три раза. При расчетах по расходам других видов стока аккумуляция воды не учитывается.

17.5. Фильтрующие насыпи можно применять напорные (рис. 40, а) и безнапорные (рис. 40, б).

Рис. 40. Продольный разрез фильтрующих насыпей

а -напорных; б -безнапорных; 1 -земляное полотно; 2 -изоляционный слой; 3 -ильтрующая часть насыпи; 4 -укрепление основания; 5 -кривая депрессии. ГВВ -расчетный горизонт высоких вод перед сооружением; hв -допускаемая глубина потока перед насыпью; hб-бытовая глубина потока; L -длина фильтрующей насыпи

Напорные фильтрующие насыпи, имеющие большую водопропускную способность и требующие меньшего расхода камня по сравнению с безнапорными, целесообразно применять в местах пересечения логов.

17.6. Для фильтрующих насыпей следует предусматривать использование камней примерно одинакового размера, крупностью не менее 0,3 м, морозостойких, неразмягчаемых горных пород (см. приложение 1). В проектах необходимо учитывать, что заполнение пустот между камнями в теле фильтрующих насыпей камнями меньших размеров не допускается.

Сверху и с боков фильтрующей части насыпи следует предусматривать устройство изоляции из мха, неразложившегося или слаборазложившегося волокнистого торфа, дерна и других местных материалов толщиной слоя 0,1 м; изоляция укладывается на подготовку из щебня, гравия и камня переменных размеров слоем в 0,3 м. Тело фильтрующей части насыпи должно выступать с обеих сторон земляного полотна в виде берм не менее чем на 0,5 м.

Основание фильтрующей насыпи и русло водотока на 3 м в верхнем и нижнем бьефе должны быть укреплены от размыва в соответствии с расчетной скоростью движения воды через насыпь. При этом растительный слой на участках со слаборазмываемыми грунтами удалять не следует.

Если верх фильтрующей железнодорожной насыпи располагается на уровне бровки полотна, то над фильтрующей частью и на расстоянии 5 м в обе стороны от нее необходимо предусматривать отсыпку балластного слоя из щебня.

17.7. В проекте производства строительных работ следует предусматривать возведение фильтрующих насыпей способом свободной наброски рваного или скатанного камня, а в случаях применения плитного камня -укладку камней горизонтальными рядами с максимальным оставлением пустот.

17.8. Откосы земляного полотна до верха фильтрующей наброски необходимо укреплять одиночным мощением, бетонными или железобетонными плитами на расстоянии 2 м на входе и выходе от боковой грани фильтрующей насыпи.

17.9. С нагорной стороны фильтрующих насыпей при необходимости следует предусматривать илоудерживающие устройства в виде плетня, вала из камня высотой не менее 0,4 м, фашин и т.д., охватывающие полукольцом на расстоянии около 2 м сходное отверстие.

18. ОСОБЕННОСТИ ПРОЕКТИРОВАНИЯ ЗЕМЛЯНОГО ПОЛОТНА, ВОЗВОДИМОГО В ЗИМНЕЕ ВРЕМЯ

18.1. Участки земляного полотна, возводимого в зимнее время, необходимо определять на стадии разработки технического и техно-рабочего проекта и уточнять на стадии разработки рабочих чертежей.

18.2. В проектах необходимо учитывать, что на зимний период целесообразно относить следующие работы:

разработку выемок и карьеров в сухих песках, гравийно-галечных и скальных, предварительно разрыхляемых грунтах, а также возведение насыпей из таких грунтов на основаниях, прочностные, и деформативные свойства которых изменяются незначительно в результате их промерзания и оттаивания;

разработку в глинистых грунтах выемок глубиной более 3 м с перемещением грунта в кавальер или насыпь;

устройство насыпей на болотах;

устройство штолен и глубоких дренажных прорезей;

укрепление откосов насыпей регуляционных сооружений и русл рек каменной отсыпкой, бетонными массивами, плитами и т.п.

В течение зимнего времени не следует предусматривать:

разработку выемок в нескальных грунтах глубиной до 3 м;

возведение насыпей из резервов;

планировку земляного полотна из глинистых грунтов;

устройство неглубоких канав и русл.

18.3. Для насыпей, возводимых в зимнее время, допускается применять без ограничений следующие грунты из выемок или карьеров: скальные, крупнообломочные, крупный или средний песок. Допускаются также глинистые грунты, имеющие влажность не свыше границы раскатывания (для железных дорог) или не бîëåå 1,1 от оптимальной влажности (для автомобильных дорог), мелкие и пылеватые неводонасыщенные пески. Глинистые грунты полутвердой консистенции разрешается применять при отсутствии грунтов с меньшей влажностью, причем для верхней части насыпи необходимо использовать только талые грунты.

18.4. В проектах организации и производства работ необходимо учитывать специфику выполнения земляных работ в зимнее время и устанавливать следующие требования:

насыпи из всех грунтов необходимо возводить горизонтальными слоями на полную ширину поперечного сечения с уплотнением каждого слоя;

толщину отсыпаемого слоя насыпи назначать по результатам пробного уплотнения в зависимости от интенсивности отсыпки, температуры воздуха, дальности транспортировки грунта, типа и мощности уплотняющих машин;

уплотнение производить тяжелыми машинами (машинами трамбующего действия, решетчатыми катками и др.), независимо от способа отсыпки и высоты насыпи;

количество мерзлого грунта ограничивать, не допуская его содержания свыше 30% общего объема грунта, укладываемого в насыпь;

укладку в насыпь комьев мерзлого грунта не допускать, если их линейные размеры превышают 0,2 м или две трети толщины уплотняемого слоя;

мерзлый грунт в насыпи размещать равномерно, не допуская его укладку в виде гнезд и концентрацию мерзлых комьев в откосной части насыпи;

планировку насыпи следует выполнять только после полного оттаивания грунта;

верхнюю часть насыпей, а также слой грунта над верхом водопропускных труб на высоту не менее 1 м отсыпать только талым, глинистым или дренирующим грунтом;

для насыпей за задними гранями устоев и конусов насыпей у мостов применять только талый дренирующий грунт;

насыпи на поймах рек в пределах затопления, а также регуляционные земляные сооружения возводить в зимнее время только из скальных и крупнообломочных грунтов, а также крупного и средней крупности песков;

насыпи на затопляемых поймах должны быть отсыпаны до начала половодья на высоту не менее 0,5 м выше отметки ожидаемого горизонта высоких вод, с учетом высоты волны, а также выполнены предусмотренные проектом укрепления откосов;

необходимо вести журнал работ, проводить наблюдения за состоянием насыпи, как во время производства работ, так и в весенне-летний период, до полного оттаивания грунта;

высота насыпей, возводимых в зимнее время, не должна превышать величин, приведенных в табл. 40.

Таблица 40

Климат района

Среднегодовая температура воздуха в град

Наибольшая высота насыпи из глинистых грунтов в м

1. Суровый

ниже ‑2

2,5

2. Холодный

От ‑2 до +1

3,5

3. Умеренный

От +1 до +5

4,5

4. Теплый

более +5

Без ограничения

Примечание. Температуру воздуха среднюю за год следует принимать по данным главы СНиП «Строительная климатология и геофизика».

18.5. При необходимости возведения в зимнее время насыпей или слоев мощностью более величин, указанных в табл. 40, следует предусматривать использование дренирующих грунтов, а при их отсутствии - разрабатывать индивидуальный проект насыпи из глинистого грунта. В последнем случае необходимо:

в качестве объектов для производства работ в зимнее время назначать насыпи на прочном основании (см. п. 2.24);

для железнодорожных насыпей предусматривать соответствующие запасы по высоте насыпи или ширине по верху;

предусматривать положение откосов или устройство берм, назначаемых по расчету;

проектировать верхнюю часть насыпей па высоту 1 м из талого грунта с отсыпкой этого слоя в теплое время года и уплотнением до установленных норм (см. п. 2.19), а при необходимости укладки пути в зимнее время -верхнюю часть насыпи толщиной не менее 0,8 м возводить из дренирующих грунтов.

18.6. Для железнодорожных насыпей, возводимых на полную высоту из глинистых грунтов при отрицательной температуре, необходимо предусматривать запас на осадку: до 5% высоты насыпи в районах с суровым и холодным климатом (см. табл. 40) и до 3% в районах с умеренным климатом.

19. ЗЕМЛЯНОЕ ПОЛОТНО ДОРОГ В РАЙОНАХ РАСПРОСТРАНЕНИЯ ВЕЧНОМЕРЗЛЫХ ГРУНТОВ

19.1. Земляное полотно следует проектировать в соответствии с положениями разделов 1 -8 и 11 -18 настоящих Указаний с учетом свойств вечномерзлых грунтов, оттаивающих в основании насыпей и выемок или в откосах выемок и водоотводных канав, и наличия мерзлотных процессов (бугров пучения, термокарста, солифлюкции, наледей).

19.2. Земляное полотно в пределах участков с прочным основанием (см. п. 2.24) следует проектировать независимо от глубины, характера залегания и температуры вечномерзлых грунтов.

19.3. Величину осадок земляного полотна, время, необходимое для консолидации основания, а также мероприятия по обеспечению прочности и устойчивости земляного полотна на недостаточно прочном и слабом основаниях, в том числе в пределах участков с наличием подземных льдов, следует устанавливать по результатам расчетов.

В целях сокращения величины осадок целесообразно в проектах предусматривать: обоснованное назначение конструкции и высоты насыпей; инженерную подготовку оснований; соответствующую организацию строительных работ по возведению земляного полотна, при которой растительно-моховой покров не нарушается.

19.4. Минимальную высоту насыпей следует назначать с учетом предохранения земляного полотна от снежных и песчаных заносов (см. п. 3.12), а на участках с сырым и мокрым основанием — дополнительно от деформации, связанных с морозным пучением грунтов, по нормам табл. 18.

Высоту насыпей на слабом основании, в том числе в пределах участков с наличием подземных льдов, необходимо назначать по результатам расчетов с учетом опыта проектирования, строительства и эксплуатации земляного полотна дорог в аналогичных мерзлотно-грунтовых условиях.

19.5. Для насыпей на слабом и просадочном основаниях, в том числе на марях и болотах, в районах активного развития термокарста и на участках с наличием подземного льда, следует применять преимущественно скальные, крупнообломочные и песчаные грунты.

19.6. Устойчивость и прочность основания насыпей высотой до 1,0 м и основной площадки выемок на участках с глинистыми грунтами, приобретающими при оттаивании мягкопластичную, текучепластичную или текучую консистенцию, рекомендуется обеспечивать заменой глинистого грунта основания дренирующим грунтом.

Толщина слоя замены грунта определяется расчетом в зависимости от расчетных нагрузок, прочностных характеристик грунта основания, с учетом необходимости предохранения земляного полотна от неравномерного пучения при замерзании нижележащих слоев грунта.

19.7. Водоотводные устройства на участках с прочным и недостаточно прочным основанием следует проектировать согласно пп. 12.1 -12.5 настоящих Указаний. На участках со слабым и просадочным основанием для отвода поверхностных вод следует проектировать водоотводные канавы с продольным уклоном не менее 0,004 и размещать их на расстоянии 5 -10 м от подошвы насыпей. Если в пределах мари не может быть обеспечен продольный уклон канавы более 0,004, то водоотводные канавы можно не предусматривать, а насыпи проектировать из дренирующих грунтов. На участках с наличием грунтовых вод водоотводные устройства следует проектировать в комплексе с противоналедными устройствами.

19.8. Противоналедные устройства необходимо предусматривать на участках действующих наледей, а также в местах возможного появления их в период строительства и проектировать в соответствии со специальными Указаниями.

ПРИЛОЖЕНИЕ I

Подразделение скальных пород по степени выветриваемости

Группа пород

Степень выветриваемости

Наименование пород

Трещиноватость

1

Сабовыветривающиеся

Глубинные и излившиеся магматические породы, за исключением порфировидных и крупнозернистых пород с размером отдельных зерен от 5 до 10 мм. Некоторые метаморфические породы -кварциты, яшмы, мраморы, гнейсы рогово-обманковые, магматиты, эклогиты, роговики, скарны, спилозиты.

Некоторые осадочные породы-есчаники, брекчии и конгломераты с очень прочной и стойкой цементацией (кремнистой, опаловой, железистой, карбонатной), плотные опоки, доломиты, мелкомикрозернистые известняки с размером отдельных зерен до 1 мм

Слабая и средняя трещиноватость с наличием структурных блоков размерами более 0,3 м

2

Легковыветривающиеся неразмягчаемые

Все породы 1-й группы при наличии структурных блоков размером менее 0,3 м; крупнозернистые и порфировидные глубинные и излившиеся породы; хлоритовые, тальковые, амфиболитовые и другие кристаллические сланцы, филлитовые и глинистые сланцы; мергель с примесью глины до 50%; неразмягчаемые породы 3-й группы

Для пород 1-й группы -с размерами блоков менее 0,3 м; для других пород -независимо от трещиноватости

3

Легковыветривающиеся, в том числе размягчаемые

Мергель с содержанием глины от 50 до 70%, мергелистая глина с содержанием глины от 70 до 90%; мергелистые, глинистые, глинисто-гипсовые и глинисто-мергелистые конгломераты, брекчии и туфобрекчии; глинистые и глинисто-гипсовые песчаники, туфы и туффиты, аргиллиты, алевролиты, трепел, мел и мелоподобные породы

Независимо от трещиноватости

ПРИЛОЖЕНИЕ 2

Метод стандартного уплотнения грунтов в лабораторных условиях

Таблица 41

Основные параметры приборов и способы

уплотнения

Прибор конструкции

Союздорнии

ЦНИИС

Диаметр цилиндра или кольца в мм для размещения образцов уплотняемого грунта

100

70

Высота цилиндра или кольца в мм

127

52

Вес груза в кг

2,5

2,5

Вес вертикальной стойки со штампом в кг

1,3 -1,4

1,9

Высота падения груза в мм

300

300

Количество слоев, на которые разделяется образец грунта при уплотнении ударами груза

3

1

Количество ударов на каждый слой при уплотнении:

 

 

песков и супесей

25

20

пылеватых супесей, суглинков, глин

40

20

жирных глин

50

-

Целью стандартного уплотнения является определение практически максимальной плотности gск.макс и оптимальной влажности Wo грунта, при которой достигается максимальная плотность.

В качестве стандартного принят метод уплотнения образцов грунта с использованием приборов Союздорнии или ЦНИИС (рис. 41 и 42, табл. 41).

Прибор Союздорнии следует применять для испытания грунтов с содержанием до 5% частиц размером более 5 мм, прибор ЦНИИС -для ускоренного испытания грунтов с содержанием до 5% частиц размером более 2 мм.

Образец исследуемого грунта уплотняют 4 -6 раз при систематически увеличиваемой влажности. Уплотнение целесообразно начинать при влажности несколько большей, чем влажность грунта в воздушно-сухом состоянии, но отличающейся не менее чем на 8 -10 от оптимальной, ориентировочно равной: для песков -8 -13%; супесей -9 -15%; суглинков -12 -22%; глин -16 -26%.

Количество воды Q, необходимое для получения требуемой влажности грунта, определяют по формуле

,                                                                                   (14)

где Р -вес грунта, подлежащего уплотнению, в г;

Wтр, Wн -влажность, соответственно требуемая и начальная, в %.

Рис. 41. Схема прибора Союздорнии для стандартного уплотнения грунтов

1 -подстаканник; 2 -разъемный цилиндр; 3 -верхний стакан; 4 -стойка с уплотнителем; 5 -груз; 6 -ограничительное кольцо; 7 -зажимное кольцо; 8 -зажимной винт

Рис. 42. Схема прибора ЦНИИС для стандартного уплотнения грунта

1 -подстаканник; 2 -металлическая пластина; 3 -кольцо; 4 -зажим; 5 -насадка; 6 -штамп; 7 -гиря; 8 -стержень; 9 -ограничительное кольцо

Опыты по уплотнению выполняют в следующем порядке. Вначале берут образец грунта в воздушно-сухом состоянии, размельчают и просеивают через сито с отверстиями 5 мм (для прибора Союздорнии) или 2 мм (для прибора ЦНИИС). Грунт, прошедший через сито, увлажняют до требуемой влажности, перемешивают, закладывают в цилиндр или кольцо прибора и уплотняют.

При использовании прибора Союздорнии уплотнение выполняют последовательно в три слоя. Каждый из слоев уплотняют ударами груза носим 2,5 кг падающего с высоты 300 мм. Количество ударов назначают в зависимости от вида грунта (см. табл. 41).

При использовании прибора ЦННИС ударами падающего груза уплотняют одновременно весь образец грунта, укладываемого в кольцо и насадку пятью слоями, с уплотнением каждого из слоев вручную пестиком. Объемный вес уплотненного грунта g определяют по формуле

                                                                                                       (15)

где P1 -общий вес разъемного цилиндра или кольца с уплотненным грунтом в г;

Р2 -вес пустого цилиндра или кольца в г;

V -объем цилиндра или кольца р см.

Для определения влажности уплотненного грунта отбирают пробы по 15 -20 г из верхней, средней и нижней частей образца.

Следующий опыт начинают с размельчения уплотненного в предшествующем опыте образца грунта и увеличения его влажности на 2 -3% посредством добавления 50 -70 г воды на каждые 3 кг грунта.

Объемный вес скелета или плотность грунта gск в каждом опыте определяют по формуле

                                                                                                 (16)

где g, W -соответственно объемный вес в г/см3 и весовая влажность в % уплотненного грунта.

По полученным данным строят кривую стандартного уплотнения (рис. 43), а по ней определяют максимальную плотность и соответствующую ей оптимальную влажность.

Рис. 43. Кривая стандартного уплотнения

Для грунтов, содержащих от 5 до 40 % частиц размером более 5 мм, максимальную плотность gск.макс и оптимальную влажность w'0 определяют расчетным способом по формулам:

                                                                                        (17)

                                                                                                      (18)

где gск.макс, Wo -соответственно максимальная стандартная плотность в г/см3 и оптимальная влажность в % отсеянного грунта с размером частиц менее 5 мм;

Кg, KW -коэффициенты, учитывающие влияние наличия крупных частиц соответственно на плотность и влажность грунта; их значения принимают по табл. 42.

Таблица 42

Содержание частиц крупнее 5 мм в %

Кg

KW

Содержание частиц крупнее 5 мм в %

Кg

KW

5

1,02

0,95

25

1,10

0,75

10

1,04

0,90

30

1,13

0,70

15

1,06

0,85

40

1,15

0,65

20

1,08

0,80

 

 

 

ПРИЛОЖЕНИЕ 3

Характеристика грунтов особых разновидностей

Илы -глинистые грунты, имеющие в естественном состоянии влажность, превышающую границу текучести, и коэффициент пористости для супесей и суглинков e > 1, для глин e > 1,5.

Илы в естественном сложении отличаются сильной сжимаемостью, низкой прочностью и тиксотропными свойствами. Поэтому в случаях использования ила в качестве естественного основания необходимо предусматривать мероприятия, устраняющие его выдавливание, а также учитывать осадку насыпи.

Иольдиевые глины -особая разновидность морских илов, представленных глинами и суглинками. Верхние слои иольдиевых отложений общей мощностью от 0б3 до 2 м имеют сравнительно высокую плотность и прикрывают нижележащую толщу отложений, характеризующихся высокой влажностью (>60%), малыми значениями объемного веса скелета грунта (gск<1), резкой потерей несущей способности после разрушения естественной структуры, тиксотропными свойствами.

Лёссы, лессовые и лёссовидные грунты являются разновидностью глинистых пылеватых грунтов. Они отличаются столбчатой призматической текстурой, повышенной пористостью, превышающей, как правило, 40%, наличием крупных пор, видимых невооруженным глазом. В V дорожно-климатическом районе и других районах с засушливым климатом вертикальные откосы выемок в лёссах оказываются устойчивыми. При увлажнении лёссы быстро размокают; они подвержены просадкам при замачивании и сильному уплотнению под нагрузкой, легко размываются, причем устойчивость вертикальных откосов нарушается.

Пористость и влажность лёссовых и лёссовидных грунтов изменяется в более широких пределах, чем у лёссов. Поэтому размокание, размываемость, просадочность при замачивания, устойчивость в вертикальных откосах у лессовидных грунтов выражены в меньшей степени, чем у лессов, но в большей степени, чем у пылеватых нелёссовых грунтов.

Аргиллиты -группа твердых, камнеподобных глинистых пород в естественном залегании. Строительные свойства аргиллитов разнообразны. Они зависят от их состава, генезиса и стадий диагенеза. Аргиллиты в ряде районов страны подвержены интенсивному разрушению в откосах под воздействием природных факторов.

Алевролиты - осадочные породы с преобладанием частиц размером 0,1 -0,01 мм. Они так же как аргиллиты, подвержены интенсивному разрушению в откосах выемок под воздействием природных факторов.

Мергели - переходная порода от известняков к глинам. При воздействии отрицательных температур мергели растрескиваются и разрушаются. Они обладают способностью к набуханию и интенсивному размокаю. Откосы, воженные мергелями, при увлажнении оползают. Кремнистые мергели содержащие примеси кремнезема отличаются большей устойчивостью против выветривания.

Трепел - слабо сцементированная порода белого или желтоватого цвета, состоящая из мельчайших части кремнезема с примесью пылеватых или глинистых частиц Трепелы имеют большую пористость, объемный вес их колеблется в пределах 0,5 -1,0 г/см3, при увлажнении трепелы размокают, резко снижают прочность, сопротивление сдвигу.

Тальковые и пирофиллитовые грунты -группа глинистых пород, обладающих свойством к сильному набуханию при увлажнении.

Меловые грунты представляют собой осадочную породу в виде тонкозернистой массы и обломков известковых организмов меловых грунтов является мел. При содержании в меловой породе более 10 % глинистых примесей она называется мергелистым мелом или меловым мергелем.

Пористость меловых грунтов достигает 50 %. При насыщении водой эти грунты быстро размокают, превращаются в пластичную массу. Увлажнение и замораживание-оттаивание вызывают быстрое выветривание грунта в откосах.

Сланцеватые глины -плотные в естественном залегании слоистого сложения, способные расслаиваться на тонкие пластинки. В воде быстро разрушаются, превращаясь в рыхлую массу, состоящую из обломков пластинчатой формы. Они плохо уплотняются при возведении насыпей.

Торф представляет собой органо-минеральную массу, содержащую более 60 % (по весу) растительных остатков и отличающуюся большой сжимаемостью, малым удельным (от 1,3 до 1,6 г/см3) и объемным весом (табл. 43). Заторфованными называют грунты при содержании в них растительных остатков от 10 до 60 %, а грунтами с примесью органических веществ -при содержании растительных остатков меньше 10 %.

Черноземы -грунты с содержанием гумуса и разложившихся растительных остатков, достигающим в верхнем слое 10 %, имеющие зернистую и комковатую структуру. Чернозем содержит большое количество пылеватых и глинистых частиц, отличается повышенной влагоемкостью, липкостью, пластичностью; при увлажнении резко набухает и снижает прочность на сжатие.

Подвижные (барханные) пески по составу относятся к одноразмерным пескам с преобладанием частиц размерами 0,1 -0,25 мм и почти полным отсутствием пылеватых и глинистых фракций. Они распространены преимущественно в пустынях V дорожно-климатического района и приморских районах. Подвижность и характер передвижения песков зависят от форм рельефа, силы и направления ветров, степени заращенности поверхности растительностью и размеров частиц (гранулометрического состава).

К засоленным относятся грунты, содержащие в количестве более 0,3% веса сухого грунта легкорастворимые соли (хлористый натрий, хлористый кальций, хлористый магний, сернокислый магний, углекислый натрий и двууглекислый натрий), а также - в больших количествах трудно растворимый сернокислый кальций (гипс) и практически нерастворимый углекислый кальций. Засоленные грунты при увлажнении резко снижают прочность на сжатие.

Таблица 43

Характеристики болотных отложений

Разновидность отложений

 

Физико-технические характеристики

Качественные, визуальные показатели

Тип болот

влажность W, %

 

степень разложения

R, %

плотность gск, г/см3

 

коэффициент пористости,

e

модуль деформации Е, кгс/см2 при нагрузке Р, кгс/см2

Сопротивление сдвигу t,

кгс/см2

(см. п. 7.2), сложенных только данной

разновидностью *

0,6

1,0

1,5

А. Торф сухой

До 300

-

>0,20

<5

>2,4

>2,6

>2,7

0,5-0,3

Плотность, в том числе минерализованный, различных цветов

I

Б. Торф маловлажный

300 - 600

50

0,20 - 0,15

5 - 8

2,4 - 1,8

2,6 - 2,1

2,7 - 2,5

0,3 - 0,2

Лесной, плотный, черный или коричневый; буровой наконечник можно погрузить в торф усилием двух человек; сильно пачкает руку и при сжатии полностью продавливается сквозь пальцы; вода не отжимается; остатков трав и мхов нет или они встречаются в небольшом количестве

I

В. Торф сродней влажности

600 - 900

50 - 30

0,15 - 0,10

8 - 14

1,8 - 1,3

2,1 - 1,7

2,5 - 2,0

0,2 - 0,15

Лесотопяной средней влажности, темный или cepî-êîðè÷íåâûé; буровой наконечник можно погрузить усилием одного человека; пачкает руку и при сжатии частично продавливается сквозь пальцы; вода коричневого цвета отжимается в небольшом количестве. Содержит остатки древесины, трав и мхов

I

Г. Торф о÷åíü âëàæíûé

900 - 1300

30 - 10

0,10 - 0,06

14 - 20

1,3 - 0,9

1,7 - 1,4

2,0 - 1,8

0,15 - 0,1

Òîïÿíîé маëîé ïëîòíîñòè, светлого или темного цвета; буровой наконечник погружается под действием одной вытянутой руки. Не пачкает руки и не продавливается сквозь пальцы. Вода отжимается в большом количестве и имеет желтый цвет. Древесные остатки отсутствуют или встречаются редко

I

Д. Торф избыточно влажный

>1300

-

0,06

20

<0,90

< l,4

< l,3

< 0,1

Рыхлый, светло-коричневый, иногда желтый; видны стебельки мхов. Прозрачная вода отжимается как из губки, после чего торф пружинит

II, III

Е. Сапропель маловлажный

<200

-

-

-

-

> 5,0

-

> 0,2

Плотный, черный, серо-коричневый или зеленоватый органический ил с включением неразложившихся остатков растений

I

Ж. Сапропель влажный

200 - 1000

-

-

-

-

5,0 - 1,2

-

0,2 -0,05

Пластичная жирная масса незначительной плотности черного или зеленоватого цвета; имеются включения неразложившихся остатков растений и частиц минерального грунта

III

З. Жидкие образования

-

-

-

-

-

-

-

<0,05

Неразложившиеся остатки трав и мхов находятся в воде во взвешенном состояния. Жидкие образования имеют темную окраску, на горизонтальной поверхности растекаются

III

* При наличии в болотной толще двух и более слоев, если кроме разновидностей А, Б, В, Г или Е болотная толща содержит разновидности Ж или З, то болото следует относить ко II типу, а в случае, когда разновидности Ж или З преобладают (по мощности) — к III типу.

Засоленные грунты следует разделять по степени засоления, с учетом его качественного характера (табл. 44).

Таблица 44

Грунты

Среднее суммарное содержание легко-растворимых солей в % от веса сухого грунта

Хлоридное и сульфатно-хлоридное засоление

Сульфатное, хлоридно-сульфатное и содовое засоление

V дорожно-климатическая зона

остальные зоны

V дорожно-климатическая зона

остальные зоны

Слабозасоленные

0,5 -2

0,3 -1

0,5 -

0,3 -0,5

Среднезасоленные

2 -

1 -5

1 -3

0,5 -2

Сильнозасоленные

5 -10

5 -8

3 -8

2 -5

Избыточнозасоленные

> 10

> 8

> 8

> 5

К слабозасоленным грунтам необходимо также относить грунты со средним суммарным содержанием легкорастворимых солей менее 0,5% в V дорожно-климатическом районе и менее 0,3% в остальных районах, если эти грунты содержат более 0,25% Na2SO4+MgSO4 или более 0,5% NaHCO3+Na2CO3.

Качественный характер засоления можно устанавливать (табл. 45) по соотношению содержания ионов Сl' и SO4'' в водной вытяжке, выраженного в миллиэквивалентах на 100 г сухого грунта.

Таблица 45

Наименование засоления

Отношение Сl'/SO4''

Хлоридное

> 2,5

Сульфатно-хлоридное

2,5 - 1,5

Хлоридно-сульфатное

1,5 - 1,0

Сульфатное

< l,0

Засоление называется содовым при содержании в грунте ионов СО3'' и НСО3' свыше одной трети суммарного содержания ионов Сl' и SO4''.

Степень и качественный характер засоления определяют в период наибольшего накопления солей в верхних слоях грунтов.

Такыры - ровные участки местности в пустынях и полупустынях, почти лишенные растительности, заливаемые водой в весеннее время. Поверхностные слои грунта в пределах такыров представлены глинистыми отложениями, преимущественно илом. В летнее время они высыхают, затвердевают и покрываются полигональными трещинами.

ПРИЛОЖЕНИЕ 4

Автодорожное подразделение грунтов по степени их пучинистости при замерзании

название грунта по его пучинистости

Наименование грунта

Тип местности по характеру и степени увлажнения грунта (см. табл. 13)

Среднее значение относительного морозного пучения Кп* в % при глубине промерзания 1,5 м

Группа грунта по степени пучинистости

Непучинистый

Песок гравелистый, крупный и средней крупности с содержанием частиц менее 0,05 мм меньше 2%*

2 -3

менее 1**

I

Песок гравелистый, крупный и средней крупности с содержанием частиц менее 0,05 мм меньше 15%, песок мелкий с содержанием частиц менее 0,05 мм меньше 2%

1

менее 1**

I

Слабопучинистый

Песок гравелистый, крупный и средней крупности с содержанием частиц менее 0,05 мм меньше 15%, песок мелкий с содержанием частиц менее 0,05 мм меньше 2%

2-3

1 -2**

II

Песок мелкий с содержанием частиц менее 0,05 мм меньше 15%, супесь легкая и легкая крупная

1

1 -2**

II

Песок мелкий с содержанием частиц менее 0,05 мм меньше 15%, супесь легкая крупная

2 -3

2 -4

III

Песок пылеватый, супесь пылеватая, суглинок легкий, тяжелый, тяжелей пылеватый, глины

1

2 - 4

III

Пучинистый

Супесь легкая, суглинки легкий и тяжелый, глины

2 -3

4 - 7

IV

Супесь тяжелая пылеватая, суглинок легкий пылеватый

1

4 - 7

IV

Очень пучинистый

Песок пылеватый, супеси пылеватые, суглинок тяжелый пылеватый

2-3

7 - 10

V

Чрезмернопучинистый

Супесь тяжелая пылеватая, суглинок легкий пылеватый

1

10 ¾ 15 и более

VI

п 100, где Dh и DН соответственно величина пучения промерзающего слоя грунта и его толщина.

** Величина относительного пучения щебенистых, гравелистых, дресвяных песков при содержании более 15% частиц размером менее 0,5 мм ориентировочно может быть принята как для пылеватого песка, но должна быть проверена в лаборатории.

 




Ремонт тормозной системы автомобиля https://partsru.repair/ недорого.
Яндекс цитирования



   Copyright © 2007-2026,  www.tehlit.ru.

[ ѓосты, стандарты, нормативы, инструкции, правила, строительные нормы ]