//
ТехЛит.ру
- крупнейшая бесплатная электронная интернет библиотека для "технически умных" людей.
WWW.TEHLIT.RU - ТЕХНИЧЕСКАЯ ЛИТЕРАТУРА

:: Алготрейдинг::


АЛГОТРЕЙДИНГ
шаг за шагом
с нуля по урокам!

Торговые роботы на PYTHON, BackTrader,
Pandas, Pine Script для TradingView. Связка с брокерами, телеграм и легкими приложениями.


МОСКОМАРХИТЕКТУРА

ОАО МОСПРОЕКТ

ПОСОБИЕ
ПО ОЗЕЛЕНЕНИЮ И БЛАГОУСТРОЙСТВУ
ЭКСПЛУАТИРУЕМЫХ КРЫШ ЖИЛЫХ И
ОБЩЕСТВЕННЫХ ЗДАНИЙ, ПОДЗЕМНЫХ И
ПОЛУПОДЗЕМНЫХ ГАРАЖЕЙ, ОБЪЕКТОВ
ГРАЖДАНСКОЙ ОБОРОНЫ И
ДРУГИХ СООРУЖЕНИЙ

Москва 2001 г.

ПРЕДИСЛОВИЕ

Настоящее «Пособие» дополняет «Рекомендации по проектированию озеленения и благоустройства крыш жилых и общественных зданий и других искусственных оснований», выполненные по заданию Москомархитектуры ОАО «Моспроект», под общей редакцией главного специалиста ОАО «Моспроект», заслуженного эколога РФ Машинского В.Л.

Авторский коллектив:

Машинский В.Л. - руководитель темы;

Суденкова Н.А. - главный специалист технического отдела ОАО «Моспроект»;

Воронин А.М. - руководитель отдела кровель ЦНИИпромзданий, кандидат технических наук;

Цыкановский Е.Ю. - руководитель фирмы «Диат»;

Синицина Л.Б. - главный специалист отдела кровель ЦНИИпромзданий;

Горбачевская О.А. - ст. научный сотрудник Ботанического сада МГУ им. М.В. Ломоносова.

Кроме того, в качестве приложений публикуются:

- зарубежный опыт проектирования эксплуатируемых крыш;

- исторический обзор использования крыш, составленный Машинским В.Л. и профессором Гуманитарного университета Титовой Н.П.;

- обзор патентной литературы, составленный главным специалистом технического отдела ОАО «Моспроект» Дроздовой Н.А.

Технический редактор - Музалева Е.В.

СОДЕРЖАНИЕ

1. Общие положения. 2

2. Физико-химические факторы, определяющие возможности использования кровель зданий и сооружений для создания архитектурно-ландшафтных объектов. 4

3. Типы крыш для устройства архитектурно-ландшафтных объектов. 6

4. Противопожарные требования и молниезащита. 7

5. Конструктивные решения и требования к элементам покрытия кровли. 9

6. Особенности эксплуатируемых кровель. 18

7. Дополнительные нагрузки на эксплуатируемую кровлю при устройстве садов на искусственных основаниях. 18

8. Защита от ветра и солнца. 19

9. Архитектурно-строительные детали (узлы) 19

10. Устройство садов на крышах зданий. 24

11. Элементы наземных садов на искусственных основаниях. 28

12. Зеленые крыши. 29

13. Устройство архитектурно-ландшафтных объектов на крышах зданий с элементами озеленения. 29

14. Использование растений для устройства садов на крышах, наземных садов и зеленых крыш.. 31

15. Ассортимент деревьев и кустарников, используемых для озеленения садов на крышах и наземных садов. 32

16. Ассортимент травянистых растений, используемых для садов на крышах и наземных садов. 34

Приложения:

Зарубежный опыт устройства эксплуатируемых крыш.. 34

Исторический обзор. 37

Обзор патентной информации. 44

1. ОБЩИЕ ПОЛОЖЕНИЯ

1-1. В связи с дефицитом городской земли и напряженной экологической обстановкой в городе остро встала проблема использования кровель зданий, подземных и полуподземных гаражей, эстакад и других искусственных оснований для создания архитектурно-ландшафтных объектов с использованием зеленых насаждений и элементов благоустройства.

1-2. Архитектурно-ландшафтные объекты на искусственных основаниях (эксплуатируемых кровлях) представляют собой небольшие по территории участки, предназначенные для озеленения и благоустройства в границах кровель зданий и сооружений и используемые для этой цели.

1-3. По своему использованию архитектурно-ландшафтные объекты на эксплуатируемых кровлях делятся на:

- сады на крышах зданий, предназначенные для рекреации населения. Они включают в себя площадки разного назначения, дорожки и элементы озеленения: деревья, кустарники, газоны и цветники. По своей планировочной структуре они приближаются к мини-скверам;

- наземные сады над подземными сооружениями, расположенными на уровне земли (кровли подземных гаражей, объектов ГО и т.п.). Часть территории наземных садов может быть использована под устройство автостоянок;

- озелененные крыши - эксплуатируемые крыши, на которых устраивается газонное покрытие. На озелененных крышах рекреация не предусматривается;

- архитектурно-ландшафтные объекты на эксплуатируемых крышах, используемые для устройства кафе, соляриев, автостоянок (на крышах подземных гаражей) с размещением растений в специальных емкостях с почвенным субстратом.

Возможно использование эксплуатируемых кровель для устройства на них оранжерей и парников, которые должны проектироваться по специальному проекту, учитывающему специфические требования различных групп растений к свету, теплу, влажности и т.п.

1-4. Использование озеленения на кровлях зданий и сооружений позволяет повысить эстетические качества застройки, особенно, при разноэтажной застройке, обогатить ландшафт города, расширить возможности для организации рекреации населения, что особенно важно при все увеличивающемся дефиците городских земель.

Озеленение крыш повышает теплоизоляцию здания, в значительной степени нивелируя резкие перепады температур в течение года; обеспечивает сохранность гидроизолирующего покрытия любой крыши, удлиняя во много раз периоды между капитальными ремонтами крыш. Озелененная крыша лучше поглощает шумы и пыль, создает собственный благоприятный климат.

1-5. Проблема использования эксплуатируемых кровель зданий и сооружений для создания на них архитектурно-ландшафтных объектов до последнего времени упиралась в трудности освоения подземного пространства при строительстве подземных гаражей и практическую невозможность предотвращения протечек покрытий при использовании традиционных кровельных материалов, а также проблему создания устойчивого противокорневого слоя при использовании тех материалов, которыми располагали строители.

В последние годы номенклатура применяемых в России кровельных материалов расширилась за счет выпуска новых отечественных и появления ряда зарубежных наплавляемых рулонных материалов, которые имеют приклеивающие (подплавляемые) слои из битумно-полимерных составов, наносимых на основу в заводских условиях. В качестве основы нашли применение долговечные (негниющие) стекломатериалы (стеклоткани, стеклохолсты) или полотна из синтетических волокон (например, из полиэстера).

Эти материалы имеют высокую прочность, деформативность и гибкость при отрицательных температурах, а также низкое водопоглощение, что обеспечивает им эксплуатационную надежность в составе кровельного ковра.

Опыт строительства жилого комплекса РАО «Газпром» по ул. Наметкина с двухэтажным гаражом, на кровле которого устроен мини-сквер, показал высокую надежность применяемых там кровельных материалов. Однако, необходимо учесть, что успеха можно добиться только при высоком качестве работ, соблюдении всех технологических требований при строительно-монтажных работах и жесткой технологической дисциплине, исключающей механические повреждения кровельных материалов при их хранении и укладке.

1-6. Для размещения архитектурно-ландшафтных объектов используются покрытия с несущими железобетонными плитами.

1-7. По периметру эксплуатируемой кровли, используемой для садов на крышах, должен быть установлен парапет высотой 1,2 м, на котором должно быть закреплено сетчатое ограждение высотой не менее 1 м. Для «зеленых крыш» - парапет высотой 1, 2 м без сетчатого ограждения. Наземные сады должны быть ограждены от другой территории высоким бортом не менее 0,5 м, чтобы исключить заезд на кровлю автотранспорта.

1-8. Особое внимание необходимо обратить на отвод воды с кровли; его необходимо предусмотреть внутренним с обеспечением уклона кровли 1,5 - 2 % по отношению к водоотводящим устройствам.

1-9. Уклон кровли можно создать наклоном несущей плиты покрытия, что является предпочтительным, либо укладкой слоя керамзитового гравия переменной толщины с проливкой цементным раствором.

1-10. При недостаточной несущей способности плит покрытия необходимо предусмотреть их усиление в соответствии с расчетом. Сечения ригелей должны быть подобраны с учетом увеличенной нагрузки.

1-11. В случае, если архитектурно-ландшафтный объект предполагается создать на уже существующем здании или сооружении, то необходимо проверить состояние несущей способности всех конструктивных элементов здания и состояние конструкции самой кровли с привлечением специалистов (МосжилНИИпроект, ЦНИИПпромзданий и др.).

1-12. Размещение архитектурно-ландшафтных объектов на крышах и подземных сооружениях требует специальной конструкции этих кровель с устройством уклонообразующего слоя, пароизоляционных, теплоизоляционных, корнезащитных, водоизоляционных и разделительных слоев. Материалы, используемые в этих конструкциях, должны быть тестированы, сертифицированы; по своим экологическим и техническим качествам они должны быть разрешены к использованию в Москве.

1-13. Следует отметить, что устройство архитектурно-ландшафтных объектов на эксплуатируемых крышах требует больших единовременных затрат, налаженной службы ухода за ними и высокой культуры пользователей этих объектов. Человек, посетивший такой объект, должен твердо знать, что нельзя пробовать силу на тех или иных деталях эксплуатируемой крыши, нельзя выкидывать пустые бутылки и прочие предметы с крыши, разводить костры для приготовления шашлыков и совершать другие «подвиги», к которым имеет тягу некоторая часть нашего населения, к сожалению, достаточно значительная. Именно учитывая «потребности» этой части населения, проектировщики вынуждены принимать определенные антивандальные меры, обеспечивающие безопасность пребывания на эксплуатируемых кровлях и на прилегающих к ним территориях.

1-14. Учитывая экономическое и социальное состояние нашего общества, сады на крышах зданий могут устраиваться на ограниченном числе объектов, имеющих налаженные службы охраны и эксплуатации (гостиницы, офисы крупных фирм, общественные здания и т.п.). В связи с тем, что в Москве все большее развитие получает строительство подземных гаражей, наземные сады должны иметь приоритетное значение при использовании эксплуатируемых крыш.

«Зеленые крыши» могут получить более широкое развитие, особенно при разноэтажном строительстве. При этом нужно учесть еще одно обстоятельство: экономически оправданы любые единовременные затраты при проектировании и строительстве любых объектов, если они обеспечивают низкие эксплуатационные расходы при использовании этих объектов. Самым ярким примером в этом отношении являются первые линии метро. Будучи безумно дорогими при строительстве, они уже более 50 лет не нуждаются в капитальном ремонте и за счет этого давно многократно оправдали те затраты, которые были произведены при их строительстве.

1-15. В связи с особенностями эксплуатируемой кровли (сложность и дороговизна ремонта, сложность определения места протечки, сложные условия эксплуатации кровельного ковра и т.д.) необходимо применять самые высококачественные гидроизоляционные материалы, а работы должны производить специализированные кровельные фирмы.

2. ФИЗИКО-ХИМИЧЕСКИЕ ФАКТОРЫ, ОПРЕДЕЛЯЮЩИЕ ВОЗМОЖНОСТИ ИСПОЛЬЗОВАНИЯ КРОВЕЛЬ ЗДАНИЙ И СООРУЖЕНИЙ ДЛЯ СОЗДАНИЯ АРХИТЕКТУРНО-ЛАНДШАФТНЫХ ОБЪЕКТОВ

2-1. При проектировании архитектурно-ландшафтных объектов на искусственных основаниях необходимо учитывать воздействия целого ряда физико-химических факторов, проявляющихся как вне здания, так и внутри его.

К числу таких факторов относятся:

2-1-1. Климатические: сезонные, месячные и ежедневные перепады температуры;

- солнечная радиация;

- ветер;

- атмосферные осадки (снег, дождь);

- химически агрессивные вещества, содержащиеся в воздухе.

2-1-2. Внутренние факторы:

- водяной пар, содержащийся во внутреннем воздухе здания;

- жизнедеятельность насекомых и микроорганизмов, птиц;

- механические нагрузки.

2-2. Климатические факторы

2-2-1. Любая крыша функционирует в достаточно жестком температурном режиме, причем на ее состоянии сказываются не столько абсолютные значения температуры, сколько постоянные их перепады: сезонные, декадные, суточные. Особенно резкие перепады температуры испытывают верхние поверхности конструкции крыш - от весьма значительных отрицательных величин (в зимнюю морозную ночь) до величин близких к 100 °С (в летний солнечный день). Температура отдельных внешних частей крыши может быть неоднородной из-за неодинаковой освещенности солнцем разных ее участков. Эти перепады температуры вызывают термическое растяжение или сжатие. Это обстоятельство требует от проектировщиков подбора материалов, имеющих близкие коэффициенты расширения, и применения ряда технических решений, ограничивающих эффекты горизонтальных подвижек в результате температурных колебаний (в частности используется закладка специальных деформационных узлов).

Кроме того, огромное значение имеют водопоглощающие свойства верхних покрытий. При высоком коэффициенте поглощения влага при положительных температурах проникает в поры покровных материалов крыши, а при отрицательных замерзает и деформирует саму структуру материала. В результате происходит прогрессирующее разрушение материала, приводящее к образованию трещин.

2-2-2. Размещение на крышах архитектурно-ландшафтных объектов во многом спасает основную конструкцию кровли от негативного влияния температурных перепадов. За счет дополнительных устройств оснований для этих объектов основные конструкции получают дополнительную защиту. Зеленые насаждения имеют высокие показатели «альбедо», т.е. значительную часть солнечной энергии они отражают, не поглощая. В зависимости от вида растений показатели «альбедо» могут колебаться от 53,5 до 38, в то время как основные кровельные материалы, особенно имеющие темные цвета, поглощают от 70 до 95 % всей солнечной энергии, что ведет к их перегреву.

2-2-3. Существенное влияние на конструкции эксплуатируемой крыши оказывает ветер. Потоки ветра, встречая на своем пути препятствие в виде здания, обходят его, в результате вокруг него образуются области положительного и отрицательного давления. Величина возникающего отрицательного давления, оказывающего на крышу отрывающее действие, зависит от многих факторов. Наиболее неблагоприятен ветер, дующий на здание под углом 45 °. Отрывающая сила ветра может оказаться достаточной для повреждения кровли (образования вздутий, отрыва части покрытий и т.п.). Особенно отрывающая сила ветра проявляется, когда усиливается давление внутри здания (под основанием кровли) из-за проникновения воздуха через открытые двери и окна с подветренной стороны или через щели в конструкциях. В этом случае отрывающая сила ветра обуславливается двумя составляющими - отрицательным давлением над крышей и положительным давлением внутри здания.

Для борьбы с негативным влиянием ветра при устройстве архитектурно-ландшафтных объектов нужно предусмотреть устройство парапетов, основание крыши сделать как можно более герметичным и предусмотреть дополнительные крепления верхнего покрытия.

Кроме того, можно на парапетах установить специальные рассекатели воздушной массы, которые будут рассекать воздушный поток, тем самым, снижая его силу.

2-2-4. Система отвода атмосферных осадков является необходимой при устройстве крыш любой конструкции, в том числе и при размещении на искусственных основаниях любых архитектурно-ландшафтных объектов. Для удаления дождевой влаги или излишней воды при поливе озелененных поверхностей используют дренажный слой, который укладывается над гидроизоляцией, по которому вода стекает в специальные дождеприемники.

2-2-5. Большой проблемой при удалении излишней влаги является борьба с наледью, которая образуется в основном весной, когда снег периодически оттаивает днем под солнечными весенними лучами, а ночью в результате суточного понижения температуры, замерзает, превращаясь в лед. Поскольку условия для таяния льда и снега различны, то при кратковременном оттаивании происходит увеличение ледовой пробки, что приводит к образованию сосулек, часто очень внушительных размеров. Наиболее благоприятные условия для образования наледей происходят в периоды, когда суточные колебания температуры держатся в диапазоне +3 - 5 °С днем и -6 - 10 °С ночью.

На сегодняшний день существуют два принципиально разных способа борьбы с образованием наледи: системы антиобледения на основе арматурных кабелей и использование гидрофобных композитных материалов. При создании архитектурно-ландшафтных объектов предпочтительнее создавать внутренний сток излишней воды, с тем, чтобы не сталкиваться с проблемой борьбы с наледью. Однако и в этом случае нужно предусмотреть меры по предотвращению замерзания воды в верхней части стока, которая находится в охлаждаемой зоне крыши.

2-3. Химически агрессивные вещества, содержащиеся в воздухе

Москва входит в число 84 самых загрязненных городов страны, в которых наблюдаются разовые концентрации загрязнения воздуха по 1 - 3 веществам выше 10 предельно допустимых концентраций (ПДК). Среднегодовые санитарно-гигиенические нормы (ПДК) по содержанию двуокиси азота превышаются в 2 раза, фенола - в 2,3 раза, углеводородов - в 4,7 раза, аммиака - в 2,8 раза, бензола - в 2,3 раза, а по содержанию окиси углерода, формальдегида, цианистого водорода - равны ПДК. Фиксируется устойчивый рост концентрации сажи в атмосфере. За 4 года (1989 - 1992 гг.) средние концентрации сажевого аэрозоля увеличились в 1,5 раза. Количество случаев регистрации превышения разовых концентраций воздуха более 5 ПДК по одному нормируемому показателю увеличилось в 1992 г. в 2,7 раза по сравнению с 1991 г. (242 случая против 89). Загрязнение воздушного бассейна пылью составило в среднем 100-200 кг на 1 км2 и достигло в отдельных случаях 1000 кг.

Особенно неблагоприятна экологическая обстановка на территориях, прилегающих к крупным автотранспортным магистралям. Автотранспорт является источником около 80 % общих выбросов в атмосферу.

Следует отметить, что величина ПДК определена по отношению к человеку. У растений другие пороги чувствительности к концентрации тех или иных газов. Так, например, в загрязненной газами атмосфере у многих растений происходит нарушение феноритмов роста и развития и ускорение процесса старения организма.

Промышленные газы в определенном диапазоне концентраций (от 1 ПДК и выше) вызывают у растений появление некрозов (ожогов) на листьях и хвое, уменьшение линейного роста побегов, количества и размеров ассимиляционных органов на годичных побегах (древесно-кустарниковые растения) или на стебле (травянистые растения), уменьшение площади, сырого и сухого веса листьев годичного побега (ксерофитизация), снижение возраста хвои и хвойных пород, ускорение усыхания нижних ветвей насаждений (ель, пихта), сокращение сроков жизни растений.

Кислые газы вызывают трехфазные изменения фотосинтеза (1-ая фаза - слабое подавление, 2-ая фаза - активизация, 3-ья фаза - устойчивое и глубокое подавление). Активизация дыхания во 2-ой фазе вызвана окислением свежих продуктов фотосинтеза, т.к. почти все газы являются сильными окислителями), а подавление дыхания вызвано полным расходом дыхательного резерва клетки и прекращением фотосинтеза.

Николаевский В.С. (1998 г.) приводит временные нормативы загрязнения воздуха для человека, растений, биосферы.

Таблица 2.1

Загрязнители воздуха

Максимально разовые ПДК, мг/м3

Для человека

Для растений

Для биосферы

Диоксид серы

0,5

0,02

0,02

Аммиак

0,2

0,05

0,05

Двуокись азота

0,085

0,02

0,02

Хлор

0,1

0,025

0,025

Сероводород

0,008

0,02

0,008

Метанол

1,0

0,2

0,2

Формальдегид

0,035

0,02

0,02

Циклогексан

1,4

0,2

0,2

Пары серной кислоты

0,3

0,1

0,1

Окись углерода

3,0

4000

3,0

При проектировании архитектурно-ландшафтных объектов на эксплуатируемых кровлях нужно учитывать негативное влияние химически агрессивных веществ, содержащихся в воздухе на наземных объектах (на крышах подземных гаражей, стилобатах и эстакадах). При устройстве этих объектов на крышах зданий нужно учитывать, что с высотой концентрация вредных примесей резко падает, а на высоте 30 - 35 м и выше воздух практически не содержит вредных для кровли и растений веществ в опасных для них концентрациях.

2-4. Внутренние факторы

2-4-1. Водяной пар

Водяной пар является постоянным компонентом воздуха во внутренних помещениях здания. Он образуется в результате жизнедеятельности людей (приготовление пищи, стирка, купание, мытье полов и т.д.). Особенно высокая влажность наблюдается в недавно построенных или отремонтированных зданиях. В процессе диффузии и конвективного переноса водяной пар поднимается вверх и, охлаждаясь до температуры ниже точки росы, конденсируется в подкровельном пространстве.

Количество образующейся влаги тем выше, чем больше разница температур снаружи и во внутренних помещениях, поэтому зимой влага довольно интенсивно накапливается в подкровельном пространстве. Влага отрицательно воздействует как на деревянные, так и на металлические элементы конструкции крыши. Накопление влаги в теплоизоляционном материале резко снижает его теплоизоляционные свойства.

Мерами борьбы с накоплением водяного пара являются использование специальной пленки с низкой паропроницаемостью, а также конструктивные решения, обеспечивающие выход накопившейся зимой влаги в летний период наружу, в частности не сплошная, а частичная приклейка кровельных материалов.

2-4-2. Жизнедеятельность насекомых и микроорганизмов

Существенный ущерб конструкции крыши и элементам архитектурно-ландшафтных объектов могут нанести различные насекомые и микроорганизмы. Особенно благоприятна для них повышенная влажность. Для защиты деревянных конструкций используют специальные пропитки, защищающие материал от микроорганизмов. Определенную опасность могут представлять птицы, особенно сороки или вороны, которые часто выклевывают семена или выдергивают плохо укоренившиеся растения. Нужно избегать использования блестящих поверхностей и предметов, которые их особенно привлекают.

2-4-3. Механические нагрузки

Конструкции крыши должны выдерживать без деформации и разрушения механические нагрузки как постоянные (статические) - от насыпки и элементов монтажа, так и временные - снеговые, от движения людей, техники, ветровой нагрузки и т.д. При создании архитектурно-ландшафтных объектов конструкции крыш будут испытывать дополнительные нагрузки. При этом надо учитывать, что эти нагрузки будут распределяться неравномерно по площади крыши и создавать «узлы» напряжения нагрузок в местах размещения тех или иных элементов озеленения и благоустройства.

3. ТИПЫ КРЫШ ДЛЯ УСТРОЙСТВА АРХИТЕКТУРНО-ЛАНДШАФТНЫХ ОБЪЕКТОВ

3-1. Для устройства архитектурно-ландшафтных объектов могут быть использованы только плоские эксплуатируемые крыши.

По конструкции эксплуатируемые крыши бывают:

- чердачные с теплым чердаком, чердачные с холодным чердаком, совмещенные теплые невентилируемые (бесчердачные), совмещенные теплые вентилируемые, дышащие, совмещенные холодные;

- от способа отвода воды - с внутренним водоотводом, наружным водоотводом, без организованного водоотвода.

3-2. В состав конструктивных элементов крыши входят несущие конструкции (фермы, балки, стропила, прогоны, панели), пароизоляция, теплоизоляция, водоизоляционный ковер, разделительные слои, противокорневой слой.

3-3. Различают кровли из рулонных, мастичных и штучных материалов:

а) рулонные кровли выполняют из рубероидов на приклеивающих мастиках, из наплавляемых рубероидов и полимерных материалов;

б) мастичные кровли из мастик и эмульсий;

в) кровли из штучных материалов применяются в основном для скатных крыш и выполняются из различных материалов:

- минеральные (асбестоцементные листы, сланцевые плитки, глиняная или цементная черепица);

- деревянные (тес, гонт, дрань);

- металлические (стальные, алюминиевые, медные листы);

- органические (мягкая черепица).

3-4. По расположению водоизоляционного ковра различают традиционные кровли и инверсионные. В традиционных кровлях водоизоляционный ковер укладывается над теплоизоляцией, в инверсионных кровлях водоизоляционный ковер укладывается под теплоизоляцией.

3-5. В зданиях с неутепленным чердаком утеплитель предусматривают по чердачному перекрытию, а эксплуатируемую кровлю - по плитам покрытия.

3-6. Для создания архитектурно-ландшафтных объектов могут быть использованы плоские крыши с уклоном не более 2 % для садов на крышах и 4 % для наземных садов. Для зеленых крыш допускается уклон до 6 %.

По конструкции предпочтительны чердачные крыши с теплым чердаком, но могут использоваться и крыши с холодным чердаком.

Для наземных садов допускается использование совмещенных крыш:

- способ отвода воды должен предусматриваться внутренний;

- конструктивные элементы крыши должны выдерживать дополнительную нагрузку от элементов сада на крышах;

- в качестве материалов, образующих «пирог» кровли, должны применяться рулонные кровли;

- по расположению водоизоляционного ковра предпочтительнее инверсионные крыши.

3-7. При реконструкции кровли существующих зданий под устройство садов на крышах должно проводиться обследование несущих конструкций по методике, разработанной ЦНИИПпромзданий, и состояния конструкций самой кровли.

Наиболее распространенными дефектами конструкций кровель являются:

- отслоение кромок рулонного материала в местах сопряжения с парапетами и выступающими конструкциями;

- местные вздутия ковра; механические повреждения в кровельном покрытии - расслоение полотнищ рулонного материала; увлажнение материала теплоизоляции;

- разрушение деталей водоотвода;

- промерзание совмещенного покрытия;

- разрушение материалов теплоизоляции;

- обледенение водоотводящих устройств;

- разрушение отдельных элементов кровли из штучных материалов;

- появление недопустимых прогибов в несущих конструкциях и скопление воды и льда на пониженных участках.

4. ПРОТИВОПОЖАРНЫЕ ТРЕБОВАНИЯ И МОЛНИЕЗАЩИТА

4-1. Здания и сооружения, имеющие эксплуатируемую кровлю, используемую под создание архитектурно-ландшафтных объектов (сады на крышах, зеленые крыши, наземные сады), должны полностью отвечать противопожарным требованиям СНиП 21-01-97*; СНиП 2.01.02-85* и другим противопожарным требованиям, установленным для данного типа зданий и сооружений строительными нормами и правилами.

4-2. Степень огнестойкости архитектурно-ландшафтных объектов (кафе, ресторанов и др. сооружений), расположенных на кровлях, должна быть не ниже степени огнестойкости основного здания, класс функциональной опасности должен соответствовать классу основного здания.

4-3. Этажность и класс функциональной опасности зданий, на которых возможно устройство архитектурно-ландшафтных объектов, принимается по таблице 4.1.

4-4. Существуют определенные ограничения при использовании эксплуатируемых кровель для создания архитектурно-ландшафтных объектов.

В таблице 4.1 приведен примерный перечень зданий и сооружений, на эксплуатируемой кровле которых возможно устройство архитектурно-ландшафтных объектов с использованием элементов озеленения и благоустройства.

Таблица 4.1

Тип здания, сооружения

Вид проекта

Класс функциональной опасности

Отметка пола верхнего этажа от уровня земли (этажность)

Возможность устройства различных архитектурно-ландшафтных объектов

Сады на крышах

«Зеленые» крыши

Наземные сады

Архитектурно-ландшафтные объекты с использованием озеленения

Жилые дома повышенной комфортности

Индивид.

Ф 1.3

до 65 м

+

+

-

+

(до 22 эт.)

Жилые дома

Типовой

Ф 1.3

до 65 м

-

+

-

-

(до 22 эт.)

Здания высших учебных заведений, научно-исследовательских, проектных и общественных организаций

Индивид.

Ф 4.2

до 65 м

+

+

-

+

Ф 4.3

(до 22 эт.)

Гостиницы, санатории, пансионаты

Индивид.

Ф 1.2

до 50 м

+

+

-

+

(до 16 эт.)

Многофункциональные здания и комплексы

Индивид.

Определяется при проектировании

до 65 м

+

+

-

+

(до 22 эт.)

Отдельно стоящие подземные и полуподземные сооружения (гаражи, объекты ГО и т.д.)

Индивид.

Ф 5.1

-

-

+

+

+

4-5. На перекрытии верхнего этажа жилого дома любого функционального назначения с отметкой пола 65 м и выше от уровня земли, у гостиниц при количестве этажей более 16 (выше 50 м от средней планировочной отметки проезда, предназначенного для подъезда пожарных автомашин, до отметки пола верхнего этажа) следует предусматривать площадку для эвакуации людей при пожаре пожарными вертолетами размером не менее 5 × 5 м.

У зданий (20 - 22 этажа и гостиниц 16 этажей и выше) садов на крышах не устраивать.

Статическая нагрузка составляет: для вертолета К-12 - 11 тонн, для вертолета МИ-17 - 12 тонн. Динамическая нагрузка при посадке этих вертолетов составляет 22 тонны и 24 тонны соответственно.

На крышах домов, на которых устраиваются вертолетные площадки, не допускается размещение объектов, которые могут создать помехи при посадке вертолетов.

4-6. Уровень кровли встроенно-пристроенных (пристроенных) учреждений общественного назначения в местах примыкания к жилой части здания не должен превышать отметки пола жилых помещений.

4-7. Эксплуатируемая кровля общей площадью более 300 м2 или предназначенная для пребывания более 15 чел., на которой располагаются архитектурно-ландшафтные объекты, должна иметь не менее 2-х эвакуационных выходов, соответствующих СНиП 21-01-97*. При большей площади кровли на каждые полные и неполные 100 м протяженности здания должен быть предусмотрен один выход. Эти выходы должны иметь противопожарные двери (люки) двух типов. Двери эвакуационных выходов должны открываться наружу по направлению выхода на кровлю.

4-8. Кровли со специально оборудованными участками, являющимися эвакуационными путями, согласно п. 6.24 СНиП 21-07-97* для устройства архитектурно-ландшафтных объектов не использовать.

4-9. Устраивать архитектурно-ландшафтные объекты на кровлях производственных и складских зданий с помещениями категории «А» и «Б» по взрывопожарной и пожарной опасности не допускается.

4-10. При размещении на крыше крышных котельных размещение на них архитектурно-ландшафтных объектов не допускается.

4-11. Расстояние от вентиляционных шахт, каналов и дымоходов, а также до клапанов (открывающихся створок) должно быть не менее 15 м.

4-12. Согласно СНиП 2.01.02.85* со стороны противоположной главному фасаду здания должен быть проложен пожарный водопровод и устроена пожарная лестница. Если эксплуатируемая кровля устроена в разных уровнях, то должны быть предусмотрены лестницы, соединяющие эти части.

4-13. Архитектурно-ландшафтные объекты и здания, на которых они размещаются, должны быть оборудованы автоматической противопожарной защитой в соответствии с требованиями НПБ 110-99 и НПБ 104-95.

4-14. Архитектурно-ландшафтные объекты и здания, на кровлях которых они размещаются, должны быть оборудованы молниезащитой в соответствии с РД-34.21.122-87.

4-15. Складирование сгораемых материалов и мусора (веток, кровельных и других материалов) на кровлях зданий не допускается. В проектах должен быть предусмотрен механизм утилизации (вывоза) сгораемых материалов.

4-16. Все деревянные детали малых форм архитектуры, установленных на эксплуатируемой кровле, должны быть подвергнуты глубокой обработке антипиренами.

4-17. Проекты зданий и сооружений с эксплуатируемыми кровлями с элементами озеленения и благоустройства, выполненные с учетом настоящих Рекомендаций, обязательно должны быть согласованы в установленном порядке с УГПС ГУВД г. Москвы.

5. КОНСТРУКТИВНЫЕ РЕШЕНИЯ И ТРЕБОВАНИЯ К ЭЛЕМЕНТАМ ПОКРЫТИЯ КРОВЛИ

5-1. Эксплуатируемые кровли могут включать отдельные участки с зелеными насаждениями, площадки для автотранспорта и отдыха (кафе), пешеходные дорожки и другие элементы; при этом водоизоляционный ковер может находиться на теплоизоляционном слое с выравнивающей стяжкой или на несущей железобетонной плите с уклонообразующим слоем (традиционный вариант) либо под теплоизоляционным слоем (инверсионный вариант). Расположение слоев покрытия различных вариантов приведено на схеме 1.

В зданиях с неутепленным чердаком утеплитель предусматривают по чердачному перекрытию, а эксплуатируемую кровлю - по плитам покрытия над чердаком (схема 1).

5-2. Пароизоляция (схема 1 позиция 4).

5-2-1. Пароизоляция для предохранения теплоизоляционного слоя и основания под кровлю от увлажнения должна предусматриваться в соответствии с требованиями главы СНиП II-3-79* «Строительная теплотехника», изд. 1998 г.

5-2-2. В местах примыкания покрытий к стенам, шахтам и оборудованию, проходящему через покрытие или чердачное перекрытие, пароизоляция должна быть поднята на высоту, равную толщине теплоизоляционного слоя, а в местах деформационных швов должна перекрывать края металлического компенсатора.

5-2-3. Для пароизоляции должны быть применены современные битуминозные материалы, например, наплавляемые рулонные материалы без крупнозернистой посыпки с армирующей долговечной основой из стекломатериалов или синтетических волокон, как наиболее эффективные по технологии укладки (см. таблицы 5.1, 5.2).

5-3. Теплоизоляция (схема 1 позиции 5 и 15).

5-3-1. Толщину теплоизоляции покрытия устанавливают расчетным путем по главе СНиП II-3-79* с учетом теплоизолирующих свойств остальных слоев покрытия; теплоизоляционные качества участков и узлов с повышенной теплопроводностью следует определять путем расчета температурных полей, который производится компьютерным центром ОАО «Моспроект».

5-3-2. Учитывая относительно высокие нагрузки на теплоизоляцию в эксплуатируемых кровлях традиционного варианта (особенно в местах проезда и стоянок автомобильного транспорта), ее следует предусматривать, как правило, из плитных материалов с прочностью на сжатие не менее 1,5 кгс/см2, к которым, в первую очередь, относятся пенополистирольные плиты, обладающие наиболее высокими теплозащитными свойствами и низким весом, например экструдированный пенополистирол по ТУ 2244-001-47547616-00, ТУ 5767-002-46261013-99 или пенополистирольные плиты, изготавливаемые безпрессовым способом (таблица 5.3).

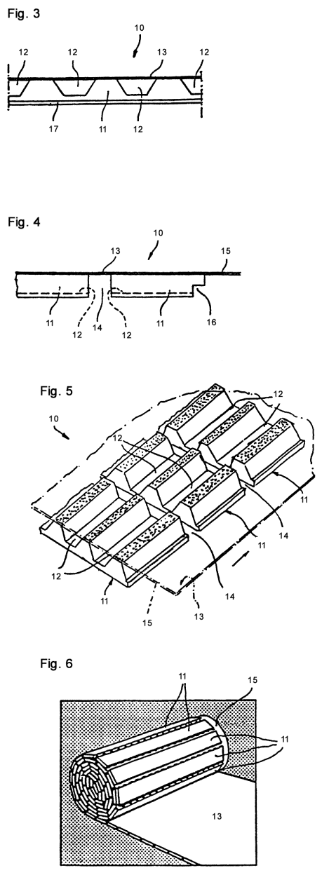
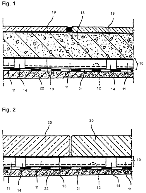
Схема 1

Тип кровли

Схема расположения слоев перекрытия

1 традиционный

2 инверсионный

1 - несущая железобетонная плита; 2 - уклонообразующий слой с затиркой цементно-песчаным раствором; 3 - грунтовочный слой; 4 - пароизоляция; 5 - плитный утеплитель; 6 - разделительный слой; 7 - основание под кровлю (выравнивающая стяжка); 6 - водоизоляционный ковер; 9 - переходные дорожки, площадки отдыха из плиток из раствора; 10 - то же, из цементно-песчаного раствора или асфальтобетона; 11 - участок с гравийной засыпкой; 12 - фильтрующий слой; 13 - дренажный слой; 14 - почвенный слой; 18 - монолитный утеплитель; 16 - цементно-песчаная затирка или литой асфальтобетон; 17 - противокорневой слой; 18 - плитка по разделительному слою.

5-3-3. Плитную теплоизоляцию (см. таблицы 5.4 и 5.5) предусматривают из 2-х и более слоев, что позволяет располагать плиты вразбежку с перевязкой швов между ними.

5-3-4. Теплоизоляцию эксплуатируемой кровли в инверсионном варианте следует предусматривать только из плитного экструзионного пенополистирола, характеризующегося низким водопоглощением, что исключает возможность его увлажнения и размораживания в процессе эксплуатации кровли.

5-3-5. На неутепленном (холодном) чердаке теплоизоляцию перекрытия над помещениями следует предусматривать, как правило, из волокнистых или засыпных материалов (см. таблица 5.6 и 5.7); для эксплуатации чердачного пространства необходимо по таким утеплителям устраивать пешеходные мостики (дорожки).

5-4. Основание под водоизоляционный ковер (схема 1 позиции 2, 7 и 16)

5-4-1. В эксплуатируемой кровле по инверсионному варианту и в кровле на покрытии неутепленного (холодного) чердака основанием под водоизоляционный ковер служит огрунтованная поверхность цементно-песчаной затирки толщиной 10 ÷ 15 мм по уклонообразующему слою (схема 1 позиция 2).

В качестве грунтовки применяют состав (называемый Праймер), приготовленный из битума и керосина, взятых в соотношении 1 : 3 (по весу) или из холодных мастик (таблица 5.8), разбавленных растворителем в соотношении 1 : 2.

5-4-2. В традиционном варианте кровли основанием под водоизоляционный ковер служат огрунтованные поверхности цементно-песчаных стяжки или затирки, соответственно по плитному или монолитному утеплителю, либо поверхность стяжки из цементно-песчаного раствора или асфальтобетона. Требования к выравнивающим стяжкам приведены в табл. 5.1.

Таблица 5.1

Наименование показателя, ед. измерения

Выравнивающая стяжка

Из цементно-песчаного раствора, (в т.ч. затирка)

Из литого асфальтобетона

1.

Прочность на сжатие, МПа (кгс/см2), не менее

10 (100)

0,8 (8,0)

2.

Влажность, % по массе, не более

5,0

2,5

3.

Толщина, мм

40 ± 10 %

30 ± 10 %

Примечание: Запрещается стяжку из литого асфальтобетона предусматривать по теплоизоляции из пенопласта или с применением гранул пенопласта.

5-4-3. Температурно-усадочные швы в стяжках шириной до 5 мм должны быть перекрыты полосами шириной 150 мм из рулонного водоизоляционного материала с точечной приклейкой их с одной стороны шва.

5-4-4. В местах примыкания к стенам, парапетам и другим конструктивным элементам, проходящим через кровлю, должны быть выполнены наклонные бортики (галтели) под углом 45 ° из цементно-песчаного раствора или асфальтобетона; высота их должна быть около 100 мм.

Вертикальные поверхности конструкций, выступающих над кровлей и выполненных из кирпича или блоков, должны быть оштукатурены цементно-песчаным раствором на высоту подъема дополнительного водоизоляционного ковра, но не менее 350 мм.

5-5. Водоизоляционный ковер (схема 1 позиция 8):

5-5-1. В эксплуатируемых кровлях и инверсионный и традиционный варианты эксплуатируемых кровель предъявляют высокие требования к водоизоляционному ковру, т.к. при протечках возникают значительные трудности в определении мест его повреждения и выполнении ремонтных работ из-за необходимости, в большинстве случаев, снятия верхних защитных слоев кровли и даже теплоизоляционного слоя (в инверсионной кровле). В связи с этим, ковер следует предусматривать из трех слоев наплавляемых рулонных материалов с гибкостью при отрицательных температурах не ниже минус 15 °С, например изопласт, днепрофлекс и др. либо из двух слоев рулонных материалов с аналогичным показателем гибкости, один из которых толщиной не менее 4 мм с двумя армирующими основами, например «Дербигум» (см. таблица 5.2), и другой слой с одной армирующей основой.

5-5-2. Для повышения эксплуатационной надежности кровельного ковра, укладываемого на увлажненное основание под кровлю (выравнивающую стяжку), необходимо предусматривать укладку нижнего слоя водоизоляционного ковра с точечным креплением полотнищ рулонного материала дюбелями с шайбами в местах нахлестки смежных полотнищ материала с последующей приклейкой этих мест (рис. 1). В этих случаях в местах примыкания кровли к выступающим конструкциям (парапетам, стенам и др.) необходимо предусматривать выход воздуха наружу за счет наклейки нижнего полотнища дополнительного водоизоляционного ковра только в местах сопряжения с основным водоизоляционным ковром (рис. 2).

5-5-3. Не допускается применение холодных (на растворителях) мастик в кровлях, выполненных с применением пенопластовых, пенополистирольных, минераловатных плит и композиционной теплоизоляции с применением пенополистирола.

Рис. 1 Последовательность (а, б, в, г) раскладки рулонных материалов при устройстве водоизоляционного ковра с механическим закреплением

1 - переходный наклонный бортик; 2 - линия водораздела; 3 - основание под кровлю; 4 - нижний слой водоизоляционного ковра; 5 - шайбы с дюбелями; 6 - наклейка полотнищ в местах нахлесток; 7 - верхний (второй) слой водоизоляционного ковра

Рис. 2 Примыкание кровли к парапету (стене) при механическом закреплении нижнего слоя водоизоляционного ковра

1 - сборная железобетонная плита покрытия; 2 - пароизоляция (по расчету); 3 - теплоизоляция; 4 - выравнивающая стяжка; 5 - механически закрепляемый нижний слой основного водоизоляционного ковра; 6 - верхний слой основного водоизоляционного ковра; 7 - дюбель-гвоздь ДГ 3,7 × 30 с шайбой; 8 - слои дополнительного водоизоляционного ковра; 9 - разделительный слой; 10, 11 - защитный фартук из оцинкованной стали толщиной 0,8 мм; 12 - герметизирующая мастика; 13 - костыль из стальной полосы 4 × 40 мм; 14 - дюбель-гвоздь ДГ 3,7 × 70 Ц6; 15 - полоса стальная 4 × 40 мм; 16 - стена; 17 - сплошная приклейка кровельного материала; 18 - отвод парообразной влаги

5-6. Защитные, разделительные, фильтрующие и дренажные слои (схема 1 позиции 6, 9, 10, 11, 12, 13 и 18).

5-6-1. Защитные слои эксплуатируемых кровель в зависимости от назначения ее различных участков выполняются из асфальтобетона, цементно-песчаного раствора или бетона, из плиток бетонных или тротуарных на растворе или на разделительном слое с маркой по морозостойкости этих материалов не менее 100.

5-6-2. Отдельные участки кровли могут быть засыпаны гравием фракцией 10 ÷ 15 мм толщиной 20 ÷ 30 мм.

5-6-3. На участках кровли с растениями в качестве защитного слоя водоизоляционного ковра служат почвенный, дренажный и противокорневой слои, укладываемые на фильтрующие слои.

5-6-4. Для исключения связи между водоизоляционным ковром и защитным слоем на основе цемента либо из асфальтобетона, а также между плитным утеплителем и выравнивающей стяжкой из цементно-песчаного раствора предусматривают разделительный слой, позволяющий этим элементам с различными коэффициентами линейного расширения деформироваться независимо друг от друга.

5-6-5. Разделительным слоем между водоизоляционным ковром и цементно-песчаным (бетонным) защитным слоем могут служить рулонные материалы типа пергамин (ГОСТ 2697-83) или полиэтиленовая пленка, а между ковром и защитным слоем из асфальтобетона - два слоя стеклохолста.

5-6-6. В качестве фильтрующего слоя может быть применен геотекстиль (таблица 5.9), служащий одновременно разделительным слоем между кровлей и гравийной засыпкой, выполняющей роль дренажа, либо между утеплителем и гравийным дренажом, а также между почвенным и дренажным слоями. Дренаж предусматривают из мытого гравия, с размером зерен 5 - 10 мм, керамзитового гравия, перлита.

В монолитном защитном слое из бетона, цементно-песчаного раствора, в том числе из плит на растворе, и из асфальтобетона должны быть предусмотрены температурно-усадочные швы шириной около 10 мм с шагом не более 1,5 м во взаимно перпендикулярных направлениях, заполняемые герметизирующими составами (таблица 5.10).

5-7. Противокорневой слой (схема 1 позиция 17).

5-7-1. Противокорневой слой должен обеспечивать защиту от прорастания корней и нарушения нижележащих слоев.

Необходимо отметить, что цементно-песчаные стяжки, асфальтобетон, монолитный бетон не обладают противокорневыми свойствами. При устройстве озелененных эксплуатируемых кровель приходится использовать импортные материалы, например Typar (Канада), высокоплотные мембраны из прессованного полиэтилена (HDPE, tefond и т.д.), специальные системы, выполняющие кроме противокорневой защиты и другие функции (Floradrain и т.д.).

Таблица 5.2

Физико-технические свойства битумно-полимерных наплавляемых рулонных материалов, на стекловолокнистой основе (для пароизоляции и водоизоляционного ковра)

Материал, ТУ

Изготовитель

Масса 1 м2 битуминозного вяжущего, г

Масса 1 м2 основы, г

Разрывная сила при растяжении, кгс/см

Относительное удлинение, %

Теплостойкость, °С

Водопоглощение через 24 ч, мас. %

Гибкость при температуре, °С

Филизол

ОАО «Фили-кровля»

2500 - 3000

210

50

12,8

80

0,7

-15

Филизол супер (ТУ 5774-008-05108038-97)

 

4500 - 5500

150

50

9

80

0,8

-15

Бикроэласт (ТУ 5770-541-00284718-94)

Учалинское АП «Кровля»

3500

295

50

36

85

0,5

-15

Люберит (ТУ 5770-001-18060333-95)

АОЗТ «Люберит»

3500 ± 500

170

75

8

80

1

-10

Днепрофлекс (ТУ 5770-531-00284718-93)

АО «Полимер-кровля»

3200

580

80

-

80

1,5

-15

Изопласт К

АООТ Киришинефтеоргсинтез

3400

250

60

-

120

1

-25

Изопласт П (ТУ 5774-005-05766480-95)

200

36

120

1

-25

Стекломаст (ТУ 21-5744710-519-92)

Рязанский КРЗ

3200

790

85

-

85

1,5

±0

Полимаст (ТУ 5770-537-0287718-93)

АП Выборгский РЗ

3000

190

75

-

80

1,5

-10

МИДА-Л V6054в

Литовско-Российское предприятие «МИДА»

Толщина 4,0 мм

-

41

2

100

-

+5

Рубитэкс (ТУ 5774-003-00289973-95) стеклоткань

АО «Оргкровля»

3000 - 5000

460

50

-

80 ± 2

-

-15

Стеклоизол (ТУ 5774-004-00289973-96)

АО «Оргкровля»

3500 - 4000

460

50

-

80 + 2

-

-5

Элабит (ТУ 5774-528-00284718-94)

Рязанский КРЗ

3200

 

80

-

80 ± 2

1,5

-15

Атаклон (ТУ 5774-545-00284718-96)

АООТ «Омск-Кровля»

3500

50

50

-

100 ± 2

1,0

-15

Тепмофлекс (ТУ 5774-544-00284718-96)

АОЗТ «Минводы-Кровля»

3200

470

31 - 70

-

85

0,5

-15

Стеклобит (ТУ 21-5744710-515-92)

То же

3000

100

27

-

70

1,5

±0

Линокром стеклоткань (ТУ 5774-002-13157915-98)

АООТ «Крома»

Толщина 3 мм

-

40 - 90

-

75

2,0

±0 ÷ -10

Суперкром стеклоткань

 

4 мм

-

40 - 90

-

75

2,0

 

Стеклокром стеклохолст

 

3 мм

-

40 - 90

-

75

2,0

 

Битумен Гласс 150 стеклохолст со

Ондулин-строительные материалы

2000

54

53,8

7,0

120

0,11

-7

Кондор 4 S стеклоткань

Фирма «Грмеч» Югославия

3200

230

72

7,5

100

0,54

-10

Техноэласт (ТУ 5774-003-00287852-99)

ЗАО «ТехноНИКОЛЬ»

3000 - 6500

50

37 - 60

-

100

1,0

-25

Экофлекс (ТУ 5774-002-00287852-98)

ЗАО «ТехноНИКОЛЬ»

3000 ± 550

50

36 - 60

-

120

1,0

-10

Таблица 5.3

Физико-технические свойства битумно-полимерных наплавляемых рулонных материалов с основой из синтетических волокон (для пароизоляции и водоизоляционного ковра)

Материал, ТУ

Изготовитель

Масса 1 м2 битуминозного вяжущего, г

Масса 1 м2 основы, г

Разрывная сила при растяжении, кгс/см

Относительное удлинение, %

Теплостойкость, °С

Водопоглощение через 24 ч, мас. %

Гибкость при температуре, °С

Рулонный материал марки МК-ПК и МГ-ПМ (ТУ РБ 14738548.002-42-94)

АО «Кровля г. Осиповичи»

3600 - 3800

-

61,2

60

70 ± 2

2,0

-15

Эластофен, холст из искусственных волокон, усиленных продольными нитями

«Сопрема» (Франция)

3500

-

35

52

95

0,3

-20

Виапол

«Ветроасфальто» (Италия)

Толщина 4 мм

500

80

45

120

0,47

-10

Фидиа

«Индекс» (Италия)

3000 - 4000

320 - 350

56,7 - 61,7

46

100

0,13 - 0,2

-10

МИДА - Пл РУЕ РУ 200-5в

Литовско-российское предприятие «МИДА»

Толщина 5 мм

-

82

40

100

0,39

-18

Монофлекс 4РУ

«Ланкедор» (Бельгия)

4408

180

56,3

60

135

1,2

-25

Супра

«Лемминкяй-нен» (Финляндия)

3700

287

90

60

100

0,4

-25

Дербигум - SP, стеклохолст + полотно из полиэфирных волокон

«Импербел» (Бельгия)

4150

55 ± 10 %, 160 ± 10 %

56

40

-

0,43

-25

Изопласт ТУ 5774-005-05766480-95

Российско-Ирландское СП «Изофлекс»

3000 - 5500

250

61,2

-

120 ± 2

1,0

-15

Битулин HPI 170

Ондулин-строительные материалы

1700

172

75

42

120

0,46

-6

Scntumplast brarmato s/sus/pe

Фирма «Италиана мембране»

2000 - 2500

-

89

69

120

0,25 - 0,3

-16

Рулонный материал МВ 870 и МВ 874

Фирма «UnoTech» Швеция

Толщина 4,0 - 4,5

180 - 250

70 - 112

58 - 70

95

0,1 - 0,2

-20

Полигум

АО «Ютон-Восток» Бельгия

Толщина 4,0

-

66 - 87,4

48 - 66

100

0,1 - 0,2

-4 - 11

Таблица 5.4

Физико-технические свойства пенопластовых теплоизоляционных материалов

Наименование основных показателей

Виды пенопластов

Пенополистирольные плиты ГОСТ 15588-86 безпрессовые

пенополистирольные плиты (экструзионные) ТУ 2244-001-47547616-00

плиты пенопластовые на основе резольных фенолформальдегидных смол ГОСТ 20916-87

Плотность, кг/м3

30 - 35

32

80 - 100

Прочность на сжатие при 10 % деформации не менее, МПа (кгс/см2)

0,15 (1,5)

0,29 (2,9)

0,23 (2,3)

Предел прочности при изгибе не менее, МПа (кгс/см2)

0,2 (2)

0,41 (4,1)

0,3 (3,0)

Теплопроводность в сухом состоянии, Вт/(м · К)

0,038

0,029

0,045

Размеры (L × А × В), м

(0,9 - 5) × (0,5 - 1, 3) × (0,02 - 0,5)

(1,25 - 2,5) × 0,6 × (0,02 - 0,2)

(0,6 - 3) × (0,5 - 1,2) × (0,05 - 0,15)

Влажность по массе, %

12

-

20

Водопоглощение за 24 часа не более, %

2 (по объему)

0,1 - 0,3

-

Таблица 5.5

Физико-технические свойства теплоизоляционных материалов на цементном вяжущем

Наименование основных показателей

Плиты калиброванные из ячеистого бетона

Плиты из ячеистого бетона ГОСТ 5742-76

Плиты из полистиролбетона ГОСТ Р 51263-99

Плиты из керамзитобетона

Вермикулитобетон

Плотность, кг/м3

350

400

200-300

400-600

300

Прочность при сжатии не менее, МПа (кГс/см2)

0,8 (8)

1,0 (10)

0,25 (2,5)

1,0 (10)

0,2 (2,0)

Прочность при изгибе, МПа (кгс/см2)

-

-

0,14 (1,4)

-

-

Теплопроводность, Вт/(м · К)

0,093

0,104

0,082

0,23

0,11

Размеры (L × А × В), м

(0,485 - 1) × 0,5 × (0,1 - 0,18)

(0,5 - 1) × (0,4 - 0,6) × (0,1 - 0,2)

(0,5 - 3) × (0,5 - 0, 1) × (0,1 - 0,14)

1 × 0,5 × 0,12

-

Влажность, %

10 (по объему)

15 (по объему)

10 (по массе)

10 (по массе)

13 (по массе)

Таблица 5.6

Физико-технические свойства теплоизоляционных материалов на основе перлита

Наименование основных показателей

Плиты перлитофосфогелевые ГОСТ 21500-76

Плиты перлитобитумные ГОСТ 16136-80

Плиты перлитоволокнистые

Плиты перлитопластбетонные ТУ 480-1-145-74

Битумоперлит монолитный

Плотность, кг/м3

250

300

150

150

400

Требуемая прочность на сжатие, МПа (кгс/см2)

0,45 (4,5)

0,3 (3)

0,2 (2)

0,3 (3)

0,08 (0,8)

Прочность при изгибе, МПа (кгс/см2)

0,25 (2,5)

0,19 (1,9)

0,2 (2)

0,38 (3,8)

-

Теплопроводность в сухом состоянии, Вт/(м · К)

0,076

0,087

0,05

0,044

0,08

Размеры (L × А × В), м

(0,5 - 1) × (0,25 - 5) × (0,04 - 0,1)

(0,5 - 1) × 0,5 × (0,04 - 0,06)

(0,5 - 2,4) × (0,5 - 1,8) × (0,02 - 0,08)

3 × (1 - 1,5) × 0,05

-

Влажность по массе, %

4

4

8

2

-

Водопоглощение, %

5 (по объему)

5 (по объему)

30 (по массе)

8 (по объему)

5 (по массе)

Таблица 5.7

Физико-технические свойства волокнистых теплоизоляционных материалов

Наименование основных показателей

Минераловатные плиты повышенной жесткости ГОСТ 22950-95

Плиты минераловатные на синтетическом связующем марки 200 ГОСТ 9573-96

Плиты минераловатные на битумной связке марки 200 ГОСТ 10140-80

Плиты минераловатные на синтетической связке фирмы «Партек» Финляндия

ТКЛ

ККЛ

Плотность, кг/м3

200

225

151 - 200

170

230

Прочность на сжатие при 10 % деформации не менее, МПа (кгс/см2)

0,1 (1)

0,04 (0,4)

-

0,05 (0,5)

0,05 (0,5)

Теплопроводность, Вт/(м · К)

0,052

0,054

0,058

0,042

0,044

Содержание связующего вещества % по массе, не более

10

6

17

3,7

3,9

Размеры (L × А × В), м

1 × 0,5 × (0,04 - 0,06)

1 × (0,5 - 1) × (0,04 - 0,06)

-

0,6 × 1, 2 × (0,03 - 0,1)

1,2 × 1,8 × 0,2

Влажность по массе, % не более

1

1

-

0,24

0,22

Водопоглощение по массе, % не более

40

30

-

-

3,8

Таблица 5.8

Физико-технические свойства засыпных теплоизоляционных материалов

Наименование основных показателей

Керамзит ГОСТ 9759-83

Шунгизит ГОСТ 19345-83

Перлит ГОСТ 10832-91

Вермикулит ГОСТ 12865-67

Насыпная плотность, кг/м3

250, 300, 350, 400, 450, 500, 550, 600

200, 250, 300, 350, 400, 450, 500, 550

200, 250, 300, 400, 500

100, 150, 200

Теплопроводность, Вт/(м · К)

-

-

-

0,064 - 0,076

Фракции, мм

от 5 до 10

от 5 до 10

от 5 до 10

от 0,6 до 5

св. 10 до 20

св. 10 до 20

св. 10 до 20

св. 5 до 10

св. 20 до 40

св. 20 до 40

 

 

Влажность, %

5 (по массе)

2 (по массе)

2 (по массе)

3 (по массе)

Водопоглощение, %

25 - 30 (по массе)

15 - 20 (по массе)

-

-

Таблица 5.9

Физико-технические свойства холодных мастик*

Название мастики, марка, фирма,

Наименование показателей

Условная прочность при растяжении, МПа · (кгс/см2)

Относительное удлинение, %

Теплостойкость, °С

Водопоглощение через 24 ч. %

Гибкость на стержне, мм/ °С

Адгезия к цементно-песчаному раствору МПа (кгс/см2)

Вента-V АПО «Вента» (ТУ 21-5744710-512-91)

0,7 (7,0)

400

130

0,5

10/(-65)

0,5 (5,0)

Ребакс (ТУ 2384-008-13238275-97)

0,7 (7,0)

1300

100

0

10/(-20)

0,48 (4,8)

БКМ-200 (ТУ 2384-008-13238275-97)

0,5 (5,0)

900

100

0,17

10/(-16)

0,2 (2,0)

Крунк-1 НПФ «Изомер»

0,21 (2,1)

280

100

0,8

10/(-40)

0,18 (1,8)

Руф Коатинг фирма «Свепко» (США)

0,25 (2,5)

77

100

0,23

10/(-10)

0,64 (6,4)

Дипстоп (Франция, фирма «ДИП»)

0,25 (2,5)

255

100

0,3

10/(-15)

0,3 (3,0)

Поли-ТЕЧ (Англия, фирма «E. Wood»

2,46 (24,6)

310

100

4,0

10/(-25)

0,65 (6,5)

Битурэл (ТУ 5775-001-17187505-95)

1,0 (10)

500

120

1,5

5/(-50)

0,5 (5,0)

Гермокров-2

1,2 (12)

200

120

2,0

5/(-50)

0,4 (4,0)

Гермокров-3

1,5 (15)

250

120

2,0

-

0,4 (4,0)

* Не допускается применение приведенных в таблице холодных мастик в кровлях, выполняемых с применением пенопилистирольных, минераловатных плит и композиционной теплоизоляции с применением пенополистирола (см. приложения 4-3, 4-6).

Таблица 5.10

Физико-технические свойства фильтрующих материалов (геотекстиля)

Наименование материала, марка, фирма

Наименование показателей

Поверхностная плотность, г/м2

Толщина, мм

Разрывная нагрузка, кгс вдоль/поперек

Относительное удлинение, % вдоль/поперек

Дорнит

250 - 600

3 - 6

55/80 - 50/26

110/90 - 70/13

СП «Веротекс» (ТУ 1867882-90)

Геотекс

450 - 550

4 - 5

72/64 - 90/60

80/100

Сургутский ГПЗ (ТУ 2282-535-00203521-97)

Дорнит

400 ± 50

4 ± 0,8

39/59

120

Московский НПЗ (ТУ 8397-038-05766623-97)

Тайпар

240 - 350

0,7 - 0,9

65/50 - 95/95

65/70 - 60/75

Фирма «КемоПласт»

Таблица 5.11

Физико-технические свойства герметизирующих мастик

Наименование показателей

Виды герметиков

Клей-герметик кремний органический «Эластосил 137-181»

Мастики тиоколовые строительного назначения марок

Гермобутил-2М

АМ-05

КБ-05

Предел прочности на разрыв, МПа (кгс/см2), не менее

0,8 (8)

0,1 (1)

0,3 (3)

5 - 5,5

Относительное удлинение, % не менее

500

150

100

300 - 350

Жизнеспособность, час, не менее

0,15

2

2

24

Температурный интервал применения, °С

-60 - +200

-50 - +70

-50 - +70

-50 - +80

6. ОСОБЕННОСТИ ЭКСПЛУАТИРУЕМЫХ КРОВЕЛЬ

В связи с тем, что в настоящее время еще не накоплен достаточный опыт применения кровель с озеленением, при проектировании необходимо учитывать особенности эксплуатируемых кровель.

Для устройства таких кровель более экономичными (по единовременным затратам) являются совмещенные покрытия, однако они имеют ряд существенных недостатков:

- в процессе эксплуатации кровли с озеленением (посадка и уборка растений, перекопка почвы, полив, внесение удобрений, замена и перемещение емкостей с растениями и т.д.) элементы кровли подвергаются крайне тяжелым механическим, химическим и биологическим воздействиям, что приводит к нарушению целостности кровли (защитных слоев) и, как следствие, к проникновению воды (при ежедневном поливе растений) внутрь покрытия и к протечкам в помещения;

- ремонт совмещенных покрытий затруднен, т.к. требуется снятие и замена всех слоев (хотя и на отдельных участках - в месте протечки); сложно на время ремонта организовать защиту помещений от воды (дождя);

- применение токсичных материалов для химической защиты растений от вредителей и для подавления роста корней может привести к попаданию растворов этих веществ в помещения верхнего этажа здания;

- хранение инвентаря для ухода за растениями, запасной тары, емкостей, их ремонт требует устройства на кровле специального помещения.

Наиболее простое конструктивное решение эксплуатируемой кровли на крыше - с неутепленным чердаком или техническим этажом. Такая кровля имеет ряд преимуществ перед кровлей на совмещенном покрытии:

- наличие чердака позволяет быстро определить место протечки в кровле и произвести ее ремонт, т.к. при этом ремонтируется только водоизоляционный ковер и его защитные слои;

- ремонт выполняется безболезненно для помещений верхнего этажа, т.к. в объеме чердака протекаемую воду можно временно отвести в канализацию;

- объем чердака можно использовать для хранения инвентаря, запасных емкостей, ящиков, удобрений и других материалов; в случае необходимости сохранения в зимнее время крупных растений, высаживаемых в емкостях, возможно укрытие их от холода (и даже обогрев) в чердачном пространстве;

- чердак защищает помещения верхнего этажа от вредного воздействия гербицидов, применяемых для подавления роста корней и защиты растений;

- на чердаке можно расположить оборудование для автоматизированного полива озеленения.

7. ДОПОЛНИТЕЛЬНЫЕ НАГРУЗКИ НА ЭКСПЛУАТИРУЕМУЮ КРОВЛЮ ПРИ УСТРОЙСТВЕ САДОВ НА ИСКУССТВЕННЫХ ОСНОВАНИЯХ

В дополнение к СНиП 2.01.07-85* «Нагрузки и воздействия».

7-1. На перекрытие и конструкции здания воздействуют следующие дополнительные нагрузки:

Вес почвенного слоя во влажном состоянии:

- земля 10 см + гравий 5 см - 300 кг/м2;

- земля 20 см + гравий 10 см - 600 кг/м2;

- земля 40 см + гравий 10 см - 1000 кг/м2;

- земля 80 см + гравий 10 см - 1800 кг/м2.

Вес влажной почвы в контейнерах (без учета веса контейнера, который зависит от используемого материала) при размерах контейнера 0,7 × 0,7 × 0,25 м - 200 кг;

- 1,0 × 1,0 × 0,25 м - 900 кг;

- 1,2 × 1,2 × 0,50 м - 1300 кг;

- 1,5 × 1,5 × 0,80 м - 3400 кг.

Вес травяного покрова - 2 - 5 кг/м2; одного кустарника - 5 кг; небольшого дерева - 10 - 20 кг.

7-2. Детали и конструкции, дающие значительные нагрузки (крупные контейнеры, холмы), следует располагать над колоннами, несущими стенами. Бетонные декоративные стенки нужно ориентировать поперек плит перекрытий, распределяя нагрузку от них на несколько плит.

8. ЗАЩИТА ОТ ВЕТРА И СОЛНЦА

8-1. Поскольку на высоте ветровые нагрузки больше, чем внизу, необходимо предусматривать на кровле специальные ветрозащитные стенки по одной из сторон здания с учетом розы ветров; при этом следует учитывать, что ветровая тень (пространство, где «ветровая нагрузка» снижается под воздействием ветрозащитных стенок) равна 10 высотам стенки. В стенках необходимо делать просветы для проветривания (до 1/3 от площади стенки).

8-2. Защитные сооружения от солнца или дождя (навесы, тенты, козырьки, беседки и т.п.) выполняются в виде легких, ажурных композиций, которые должны опираться на бетонные подставки поверх защитного слоя кровли.

9. АРХИТЕКТУРНО-СТРОИТЕЛЬНЫЕ ДЕТАЛИ (УЗЛЫ)

9-1. В проекте эксплуатируемой кровли должны быть приведены детали (узлы) примыкания водоизоляционного ковра к выступающим над ним конструкциям: парапетам (стенам), трубам, вентиляционным шахтам, воронкам внутреннего водостока и др.

9-2. Места пропуска через кровлю труб должны быть выполнены с применением патрубков с фланцами (или железобетонных стаканов) и герметизацией кровли в этом месте. Места пропуска анкеров также должны быть загерметизированы, для чего устанавливают рамку из уголков, которая ограничивает растекание герметизирующей мастики, а пространство между патрубком или анкером заполняют мастикой.

Примеры устройства таких деталей приведены на рис. 3, 4. Деформационный шов показан на рис. 5 и 6.

9-3. В местах примыкания кровли к парапетам дополнительные слои водоизоляционного ковра и защитный фартук должны быть закреплены дюбелями, а верхняя часть парапета отделана кровельной сталью, закрепляемой костылями или покрыта парапетными плитками с герметизацией швов между ними (рис. 2, 7, 8 и 9).

9-4. Водоприемные воронки внутреннего водостока должны располагаться равномерно по площади кровли на пониженных участках не ближе 1,5 м от вертикальных поверхностей. Площадь водосбора на одну воронку принимают равной 150 - 300 м2.

Вокруг воронки у водоотводящих отверстий в уровне водоизоляционного ковра производится засыпка гравием или щебнем с фракцией зерен не менее 15 мм (рис. 10).

9-5. Водосточные устройства должны обеспечить отвод воды, как с поверхности покрытия, так и с уровня дренажного слоя и водоизоляционного ковра (в инверсионных кровлях), для чего в боковых поверхностях водосборника должны быть предусмотрены отверстия (рис. 11).

9-6. Места приклейки водоизоляционного ковра к фланцам водоприемной чаши воронки должны быть усилены дополнительным слоем рулонного кровельного материала. Воронка должна устанавливаться с промазкой понизу герметизирующей битумной мастикой.

9-7. Конструкция водоотводящего устройства не должна менять своего положения при воздействии нагрузки. Для этого чаши водосточных воронок должны быть прикреплены хомутами к несущим плитам с резиновым уплотнителем либо соединены со стояками внутренних водостоков через компенсаторы.

9-8. Приемные патрубки водосточных воронок и охлаждаемые участки отводящих трубопроводов в пределах холодного помещения и на высоту 1,2 - 1,5 м от потолка в пределах теплого помещения должны иметь теплоизоляцию. Допускается предусматривать обогрев патрубков водосточных воронок и стояков в пределах охлаждаемых участков.

9-9. Орошение почвенного слоя с зелеными насаждениями может быть поверхностным или внутрипочвенным. Поверхностное орошение предусматривают из шланга или с помощью механических разбрызгивателей. Внутрипочвенное орошение производится при помощи перфорированных труб, располагаемых в траншеях, обложенных гравием.

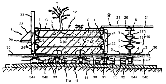
Рис. 3 Пропуск трубы через традиционную эксплуатируемую кровлю

1 - несущая железобетонная плита; 2 - выравнивающая стяжка из цементно-песчаного раствора; 3 - огрунтовка поверхности под кровлю; 4 - пароизоляция; 5 - плитный утеплитель; 6 - разделительный слой; 7 - основание под кровлю; 8 - основной водоизоляционный ковер; 9 - герметизирующая мастика; 10 - цементно-песчаный раствор (бетонные плитки, асфальтобетон); 11 - защитный фартук из стали; 12 - хомут; 13 - стальной стакан с фланцем; 14 - минераловатный утеплитель; 15 - пропускаемая труба.

Рис. 4 Пропуск трубы через инверсионную эксплуатируемую кровлю

1 - несущая железобетонная плита; 2 - выравнивающая стяжка; 3 - наклонный бортик; 4 - огрунтовка; 5 - основной водоизоляционный ковер; 6 - дополнительные слои ковра; 7 - плитный утеплитель; 8 - геотекстиль; 9 - засыпка гравием; 10 - рамка из уголка; 11 - герметик; 12 - защитный фартук; 13 - пропускаемая труба; 14 - стальной стакане фланцем; 15 - минераловатный утеплитель.

Рис. 5 Деформационный шов при традиционной эксплуатируемой кровле

1 - несущая железобетонная плита; 2 - выравнивающая стяжка из цементно-песчаного раствора; 3 - огрунтовка поверхности под кровлю; 4 - пароизоляция; 5 - плитный утеплитель; 6 - разделительный слой; 7 - основание под кровлю; 8 - основной водоизоляционный ковер; 9 - дополнительные слои ковра; 10 - цементно-песчаный раствор (бетонные плитки, асфальтобетон); 11 - наклонный бортик; 12 - стальной компенсатор; 13 - минераловатный утеплитель; 14 - геотекстиль; 15 - стальной костыль; 16 - защитный фартук из стали; 17 - крепежный элемент; 18 - дренажный слой; 19 - почвенный слой.

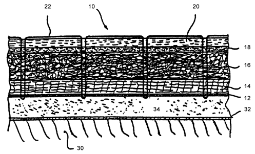
Рис. 6 Деформационный шов при инверсионной эксплуатируемой кровле

1 - несущая железобетонная плита; 2 - выравнивающая стяжка; 3 - наклонный бортик; 4 - огрунтовка; 5 - основной водоизоляционный ковер; 6 - дополнительные слои ковра; 7 стальной компенсатор; 8 - стенка деформационного шва; 9 - стальной костыль; 10 - защитный фартук; 11 - крепежный элемент; 12 - плитный утеплитель; 13 - геотекстиль; 14 - дренажный слой; 15 - почвенный слой; 16 - гравийная засыпка; 17 - наклонный бортик; 18 - приклеивающий состав; 19 - пароизоляция; 20 - минераловатный утеплитель.

Рис. 7 Парапет продольной стены при традиционной эксплуатируемой кровле

1 - несущая железобетонная плита; 2 - выравнивающая стяжка из цементно-песчаного раствора; 3 - огрунтовка поверхности под кровлю; 4 - пароизоляция; 5 - плитный утеплитель; 6 - разделительный слой; 7 - основание под кровлю; 8 - основной водоизоляционный ковер; 9 - дополнительные слои ковра; 10 - цементно-песчаный раствор (бетонные плитки, асфальтобетон); 11 - наклонный бортик; 12 - парапетная плита; 13 - ограждение кровли; 14 - парапетная стенка.

Рис. 8 Парапет продольной стены при инверсионной эксплуатируемой кровле

1 - несущая железобетонная плита; 2 - выравнивающая стяжка из цементно-песчаного раствора; 3 - огрунтовка поверхности под кровлю; 4 - наклонный бортик; 5 - слой кровельного материала (усиление ковра); 6 - основной водоизоляционный ковер; 7 - дополнительные слои ковра; 8 - плитный утеплитель; 9 - приклеивающий состав; 10 - геотекстиль; 11 - гравийная засыпка; 12 - стальной защитный фартук; 13 - полоса стальная; 14 - крепежный элемент; 15 - герметизирующая мастика; 16 - парапетная плита; 17 - стенка парапета.

Рис. 9 Парапет стены при инверсионной эксплуатируемой кровле

1 - несущая железобетонная плита; 2 - выравнивающая стяжка из цементно-песчаного раствора; 3 - огрунтовка поверхности под кровлю; 4 - наклонный бортик; 5 - слой кровельного материала (усиление ковра); 6 - основной водоизоляционный ковер; 7 - дополнительные слои ковра; 8 - плитный утеплитель; 9 - геотекстиль; 10 - дренажный слой; 11 - почвенный слой; 12 - бетонная плитка; 13 - парапетная стенка; 14 - крепежный элемент; 15 - стальной костыль; 16 - защитный фартук из стали.

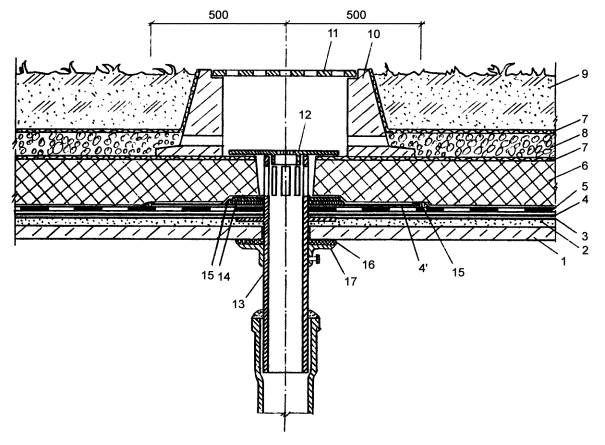
Рис. 10 Воронка внутреннего водостока при традиционной эксплуатируемой кровле

1 - несущая железобетонная плита; 2 - выравнивающая стяжка из цементно-песчаного раствора; 3 - огрунтовка поверхности под кровлю; 4 - пароизоляция; 5 - плитный утеплитель; 6 - разделительный слой; 7 - основание под кровлю; 8 - основной водоизоляционный ковер; 9 - дополнительные слои ковра; 10 - водоприемная воронка; 11 - защитная решетка; 12 - герметизирующая мастика; 13 - уплотнитель; 14 - хомут; 15 - патрубок с фланцем; 16 - гравийная засыпка; 17 - бетонная плитка.

Рис. 11 Воронка внутреннего водостока при инверсионной эксплуатируемой кровле

1 - несущая железобетонная плита; 2 - выравнивающая стяжка из цементно-песчаного раствора; 3 - огрунтовка поверхности под кровлю; 4, 4' - слой кровельного материала (усиление ковра); 5 - основной водоизоляционный ковер; 6 - плитный утеплитель; 7 - геотекстиль; 8 - дренажный слой; 9 - почвенный слой; 10 - бортовой камень; 11, 12 - защитная решетка; 13 - патрубок с фланцем; 14 - прижимной фланец; 15 - герметик; 16 - уплотнитель; 17 - хомут.

10. УСТРОЙСТВО САДОВ НА КРЫШАХ ЗДАНИЙ

10-1. Территория сада на крыше может включать отдельные участки с зелеными насаждениями (деревья, кустарники, газоны, цветники, спортивные площадки, площадки отдыха, дорожки, малые формы архитектуры). Для каждого участка проектируется свое покрытие, которое устраивается поверх конструктивных элементов кровли. Для удобства дальнейшего изложения в настоящих рекомендациях назовем это покрытие деятельным покрытием в отличие от конструкции крыши, различные варианты которой приведены в предыдущих разделах.

10-2. При устройстве деятельного покрытия необходимо учитывать:

- нагрузку, которую может выдержать конструкция данной крыши; с ее учетом выбирается тип зеленых насаждений;

- объем почвенного слоя, необходимого для размещения корней растений;

- необходимое количество влаги для обеспечения растений водой; необходимость дренажа для удаления излишней влаги, которую получает эксплуатационное покрытие при атмосферных осадках или при поливе растений;

- необходимость защиты конструктивных элементов крыши от проникновения корней.

10-3. Исходя из этих соображений деятельное покрытие должно состоять из следующих элементов:

- почвенный субстрат;

- фильтрующий слой (исключающий смешивание частиц почвенного субстрата с частицами, образующими дренажный слой);

- дренажный слой или субстрат;

- противокорневой слой, исключающий проникновение корней в конструктивные элементы крыши.

10-4. Толщина деятельного покрытия определяется теми растениями, которые, с учетом текущей способности конструкции крыши, предполагается использовать при создании сада на крыше.

В таблице 10.1 представлены минимальные размеры основных элементов деятельного покрытия при использовании различных групп растений:

Таблица 10.1

Наименование групп растений

Минимальные толщины

Почвенный субстрат, см

Фильтрующий слой, мм

Дренаж, см

Корнезащитный слой, см

Почвопокровные травы (очиток, молодило)

10

20 - 40

5

3 - 4

Декоративные травы (газон)

15 - 20

20 - 40

5 - 10

3 - 4

Рулонный газон

5 - 6

20 - 40

10 - 15

3 - 4

Цветы однолетние

20

20 - 40

10

3 - 4

Цветы многолетние

20 - 25

20 - 40

10

3 - 4

Малые кустарники

25 - 30

20 - 40

10

3 - 4

Большие кустарники

40 - 60

20 - 40

10

3 - 4

Деревья

40 - 120

20 - 40

15

3 - 4

10-5. Почвенный субстрат

Рекомендуется использовать не полностью почву, а добавлять в нее в качестве составных частей керамзит, торф, вермикулит, перлит, имеющие меньшие удельные веса, чем почва и тем самым уменьшающие нагрузку на несущие конструкции здания.

Используемые для создания почвенного субстрата компоненты должны удовлетворять следующим требованиям:

- компоненты должны быть инертны, не изменять химический состав почвенного раствора и не оказывать токсического действия на растения;

- соотношение воды и воздуха в почвенном субстрате при поливе должно быть благоприятным для нормальной жизнедеятельности растений, что достигается соответствующими размерами частиц субстрата. Оптимальными считаются частицы диаметром 3-6 мм, допускается наличие частиц до 1 см;

- почвенный субстрат должен обладать достаточной механической прочностью и долговечностью в сочетании с небольшим объемным весом.

10-6. Основным компонентом почвенного субстрата является почва. В качестве почвы можно использовать так называемый растительный грунт, который изготавливается путем снятия верхнего слоя почвы на глубину залегания корневой системы растений, произрастающих на участке, где заготавливается этот грунт.

Почва должна быть очищена от посторонних примесей и корневых остатков растений и иметь плотность не менее 5-20 кг/см2 (плотность определяется как сопротивление сжатию).

Почва должна быть достаточно плодородной, т.е. содержать в 20 г почвы не менее 4 % гумуса, не менее 6 мг легко гидролизуемого (доступного) растениям азота и не менее чем по 10 мг гидроокиси фосфора (Р2О5) и окиси калия (К2О).

Плодородие почвы определяется лабораторным путем.

10-7. Повышение плодородия почвы достигается путем введения минеральных и органических удобрений, а механический состав улучшается введением добавок (песок, торф).

10-8. Важное значение имеет кислотность почв, которая определяется по шкале:

сильно кислые почвы                     рН ниже 4;

средне кислые почвы                      рН 4,1 - 4,5;

слабо кислые почвы                        рН 4,6 - 5,2;

нейтральные почвы                        рН 6,7 - 7,4;

щелочные почвы                             рН более 7,5.

Нужно избегать применения удобрений, имеющих щелочную реакцию, во избежание негативного воздействия на конструктивные элементы крыши.

10-9. В целях обеззараживания почву перед укладкой ее на крышах рекомендуется прокалить при температуре ≈ 100 °С. В построечных условиях прокаливание можно провести путем нагрева на костре железных листов, на которые слоем 5 см насыпается почва.

10-10. В качестве компонентов почвенного субстрата могут быть использованы: керамзит, вермикулит, перлит, торф.

Керамзит - строительный материал готовится из глины путем обжига, представляет собой округлые гранулы разной величины с оплавленной поверхностью. Объемный вес низкий (0,4), влагоемкость достаточно высокая от 20 до 80 %, прочен, долговечен. В качестве добавки в почвенный субстрат используют как дробленый, так и недробленый керамзит с частицами 5 - 10 мм. В химическом отношении нейтрален.

При подготовке керамзита к приготовлению почвенного субстрата его прежде всего промывают водой и сортируют на грохоте, отбирая фракции 5 - 10 мм. Крупные фракции дробят.

Керамзит может использоваться как добавка к почве для получения почвенного субстрата в соотношении 1 : 1, а также в качестве самостоятельного дренажного слоя.

Вермикулит - минерал из группы гидрослюд, представляет собой комплекс силикатов алюминия, магния и железа.

Характерным свойством вермикулита является его вспучивание при нагревании в заводских условиях до 250 - 300 °С с увеличением объема в 18 - 25 раз. При этом в нем образуется масса воздушных полостей, субстрат становится легким (1 м3 прокаленного вермикулита весит 100 - 150 кг) и влагоемким (до 400 %).

Однако при обильных поливах, вермикулит быстро уплотняется и его аэрационные качества ухудшаются. Для улучшения воздушного режима вермикулит рекомендуется смешивать с керамзитом в соотношении 1 : 1.

Торф - наиболее пригоден верховой, сфагновый, слабо разложившийся, малозольный, с высокой влагоемкостью. Перед применением торф измельчают с помощью дробилки и нейтрализуют кислотность добавлением известняковых материалов.

Торф может применяться 2 - 3 года и затем заменяться. Отработанный торф можно использовать как удобрение.

Перлит - вспученный перлитовый песок или щебень, получаемый при термической обработке сырья из вулканических стекловатных водосодержащих пород кислого состава. В качестве дренажного слоя рекомендуется применять перлитовый гравий фракции 10 - 20 мм. Влажность должна быть не менее 2 % по массе.

Почвенный субстрат - при подготовке необходимо учитывать требования к почве высаживаемых растений. Для видов, предпочитающих легкие песчаные почвы, берут на 1 часть растительной земли 2 части по объему песка и одну часть низинного торфа. Растениям, требующим плодородных почв, земляная смесь готовится из двух частей растительной земли, одной части низинного торфа и одной части песка.

10-11. При составлении почвенных субстратов на 1 часть растительного грунта добавляют 1 часть керамзита, или 1 часть вермикулита, или 1 часть перлита и 2 части торфа. При использовании в качестве элемента озеленения суккулентов можно использовать керамзит, смесь керамзита с вермикулитом или перлит с добавлением торфа.

10-12. Для устройства фильтра, отделяющего почвенный субстрат от дренажного слоя, рекомендуется использовать нетканый материал со свойствами фильтра плотностью 250 г/м2. Для этого используют стекловолокно толщиной 20 - 40 мм.

10-13. Для устройства дренажного слоя можно использовать керамзит, гравий, перлит.

Гравий - компонент прочный, долговечный, с большим объемным весом (1,5), величина частиц должна быть 3 - 7 мм. Влагоудерживающая способность гравия составляет 80 - 90 %, что является благоприятным для развития растений.

По химическому составу гравий неоднороден. Наиболее нежелательными являются известняковые соединения, которые подщелачивают почвенный раствор и нередко вызывают выделение фосфатов и некоторых микроэлементов в осадке.

Наиболее пригоден для использования гранитный щебень, который практически не содержит включений, взаимодействующих с почвенным раствором.

При подготовке к употреблению гравий сортируют на грохотах по фракциям от 3 до 6 мм, от 6 до 10 мм и на 10 - 15 мм. Затем гравий дезинфицируют. Для этого его заливают кипятком, и когда вода остынет до 40 - 45 °С, заливают кипятком снова, пока гравий не нагреется до 80 - 90 °С.

Весьма перспективным может оказаться использование в качестве дренажного слоя цеолитов.

Цеолит (в переводе с греческого - камень) - кристаллический смолосиликат, пронизанный тончайшими полостями и каналами, придающими ему свойства молекулярного сита.

Эти пустоты заполнены ионами щелочных и щелочноземельных металлов и молекулами воды, имеющими значительную степень свободы, что наделяет цеолит высокой ионообменной способностью, свойствами адсорбента и донора, возможностью впитывать и отдавать влагу, пролонгировать действие веществ, с которыми он смешан, отдавать почве и живым организмам необходимые им элементы.

Примерный химический состав природного цеолита (клинотилолита):

S1O2 - 0,2 - 0,7 %                 Al2O3 - 10,7 - 12,2 %                 C2O - 3,0 - 4,09 %

Na2O - 2,5 - 3,3 %                K2O - 1,2 - 2,4 %                      Fe2O3 - 1,01 - 1,9 %

MnO - 0,03 - 1,17 %            MgO - 11,64 - 11,85 %             влага 11,45 - 14,6 %

Благодаря высокой ионообменной емкости и способности длительное время удерживать влагу, цеолиты являются своего рода аккумулятором и регулятором водного режима почвенного субстрата.

10-14. Противокорневой слой должен обеспечить защиту от прорастания корней в конструктивные элементы крыши.

Даже если защитный слой крыши выполнен из водонепроницаемого монолитного бетона, в нем со временем, вследствие попеременного замораживания и оттаивания, появятся трещины, куда проникнут корни растений.

В связи с этим противокорневой слой следует располагать под дренажным слоем.

Следует предостеречь от использования в качестве противокорневого слоя плотных волокнистых материалов, пропитанных фенолом. Фенол быстро испаряется, а пористая структура материала позволяет корням проникать вглубь.

На рисунке 12 показана схема устройства «сада на крыше» с применением системы Floradrain.

Атмосферные осадки и лишняя влага на крышах обычно удаляются по внутренним водостокам. Уклон крыши должен быть не менее 2 - 3 % в сторону водоотводящих устройств (см. рис. 11).

Подпорные стенки почвенного слоя и борта контейнеров-емкостей для растений должны быть на несколько сантиметров выше грунта, чтобы предотвратить смыв почвы во время сильных дождей, и отстоять от парапетов и несущих конструкций не менее чем на 0,5 м.

10-15. При проектировании общественных зданий при наличии чердачного помещения или технического этажа, в случае если концепция проекта изначально предусматривает строительство сада на крыше, возможно устройство специальных шахт для посадки крупных деревьев, комы которых будут находиться в чердачном помещении или в техническом этаже в специальных емкостях. Такое решение позволит избежать гибели растений от промерзания корневой системы зимой.

10-16. В садах на крышах кроме зеленых насаждений устраиваются дорожки и площадки детские, спортивные, отдыха. Основной тип покрытия - тротуарная плитка размером 50 × 50, выполненная из бетона марки 400, имеющая морозостойкость не менее 300 циклов. Конструкция дорожек и площадок представлена в таблице 10.2.

Таблица 10.2

Наименование слоя

Толщина

Плитка 0,5 × 0,5 м

7

Цементно-песчаный раствор

5 см

Разделительный слой

1 см

Дренажный слой

6 - 13 мм

Ширина дорожки применяется 1,0 - 1,5 м. Спортивные площадки: баскетбольная, волейбольная, настольного тенниса, тенниса, для игр в хоккей - должны иметь стандартные размеры, но допускается и их уменьшение, но не более чем на 10 %.

Стандартные размеры площадки приведены в таблице 10.3.

Таблица 10.3

Наименование площадок

Размер игрового поля

Площадь в м2

Баскетбольная

26 × 14

364

Волейбольная

9 × 18

162

Площадка для настольного тенниса

4,5 × 8

36

Площадка для игры в хоккей

40 × 20

800

Площадка для тенниса

36 × 18

648

Ограждение спортивных площадок выполняется из металлической сетки на столбах из труб. Его высота 300 - 400 м, причем сетка закрепляется сверху, образуя нечто вроде клетки.

10-17. На территории садов на крышах могут быть устроены детские площадки и площадки отдыха взрослого населения.

Площадки отдыха взрослого населения должны устраиваться таким образом, чтобы была обеспечена возможность просмотра окрестностей через проемы в парапете ограждения. На них устанавливаются скамьи и столики, возможно устройство пергол, увитых вьющимися растениями. Столики и скамьи должны быть удалены от парапета на расстояние не менее 1,5 м, с тем, чтобы исключить возможность лазания детей на парапет ограждения. На детских площадках могут быть установлены следующие малые формы:

Таблица 10.4

Наименование малых форм

Материал

Длина, м

Высота, м

Ширина, м

Примечание

Качели из труб

Металл, сидение деревянное

1,5

1,5

1,66

 

Качалка

Металл, дерево

3,0

3,0

0,64

 

Лиана

Дерево

2,76

0,77

1,83

 

Песочница

Дерево, фундамент, бетон

1,47

1,47

0,18

 

Стол со скамьями

Дерево

2,0

1,4

0,82

Для площадок отдыха

Скамьи

Металл, дерево

2,08

0,8

0,8

Для площадок отдыха

В соответствии с пожеланиями заказчика набор малых форм может быть скорректирован как в сторону уменьшения, так и расширения номенклатуры.

10-18. Проектирование мест посадки растений

При устройстве деятельной поверхности при проектировании садов на крышах площади, предназначенные проектом для высадки растений, ограждаются высокими бортами, образующим своего рода карты. Борт карты крепится на основной конструкции крыши. В целях обеспечения нормальной работы дренажного слоя по удалению дождевой влаги рекомендуется борт, ограждающий карту с растениями, устанавливать на столбиках, промежутки между которыми должны засыпаться дренирующим слоем. Борт должен быть утоплен в дренажный слой на 1/3 толщины дренажного слоя, чтобы исключить смыв почвенного субстрата в дренажный слой. Для изготовления таких бортов можно использовать монолитный бетон, заливая его в определенную форму (опалубку) после устройства карт для посадки растений. На их дно укладывается противокорневой слой. Поверх противокорневого слоя укладывается дренажный слой, который укладывается по всей крыше. Поверх дренажного слоя укладывается разделительно-фильтрующий слой (см. Приложение 4-9), препятствующий проникновению частиц почвенного субстрата или другого вышерасположенного слоя в дренажный слой. Фильтрующий разделительный слой заводится на высоту борта карты и прикрепляется к ее верхнему краю, образуя своего рода корыто, в которое укладывается почвенный субстрат. Поверх разделительно-фильтрующего слоя укладывается почвенный субстрат. В соответствии с выбранным способом озеленения и видом используемых растений почвенный субстрат насыпается слоем в соответствии с таблицей 10.1.

10-19. Освещение сада на крыше

Сады на крышах могут посещаться и в вечернее время, в связи с чем возникает проблема их освещения и подсветки растений. Для этого используются стационарные светильники различной формы. Низкими светильниками можно освещать ступени и пандусы (свет направлен вниз). Для подсветки растений и воды можно использовать разные варианты подсветки светильниками на траве, на дорожке, в структуре подпорной стенки, на дне чаши водоема. Для подсветки хвойных пород рекомендуется использовать ртутные лампы, дающие голубовато-зеленое освещение, натриевые светильники рекомендуются для подсветки осенней листвы. Следует учитывать, что излишнее применение подсветки может вызвать нежелательное ускорение роста растений. Минимальное воздействие оказывают светильники, размещенные у пешеходных дорожек и освещающие путь пешеходам.

Деревья лиственные

Подпорная стенка

Кустарник в группах

Борт садовый

Вьющийся кустарник

Пергола

Кустарник в 2-х рядной живой изгороди

Песочница

Кустарник хвойный

Катальная горка

Газон

Качели

Цветники

Скамья садовая

Покрытие и бетонной плитки

Шезлонг

Парапет с сетчатыми ограждениями

Урна бетонная

Рис. 12 Принципиальная схема озеленения сада на крыше

11. ЭЛЕМЕНТЫ НАЗЕМНЫХ САДОВ НА ИСКУССТВЕННЫХ ОСНОВАНИЯХ

11-1. Структура наземных садов над подземными сооружениями (гаражами, объектами ГО и т.д.) близка к структуре территорий садов на крышах. Одновременно они входят в композицию прилегающих озелененных территорий.

11-2. В отличие от садов на крышах часть территории может быть использована под автостоянку, что требует использования на этом участке усиленных несущих конструкций подземных сооружений, позволяющих применять дорожные плиты или укладку асфальта на этот участок.

Конструкция верхнего покрытия автостоянки на кровле подземного сооружения принимается аналогичной конструкции подъездов к зданию.

11-3. Территория наземного сада должна быть ограничена высоким бортом высотой 0,5 м для предотвращения заезда автотранспорта. Спортивные площадки должны быть ограждены сеткой высотой до 4 м.

11-4. Необходимо предусматривать, чтобы любые площадки (отдыха, детские, спортивные) располагались не ближе 15 м от вентиляционных шахт.

11-5. При устройстве детских и спортивных площадок на кровлях подземных сооружений на дренажный слой укладывается гравийный или известняковый щебень толщиной слоя 10 см. Щебень укладывается слоями (3 - 4 см), каждый слой при этом проливается и укатывается катком. На щебень укладывается спецсмесь - 5 см, которая также укатывается с проливкой.

Состав спецсмеси:

гранитная высевка               - 60 %;

песок                                      - 10 %;

глина                                     - 20 %;

известь                                  - 10 %.

11-6. Площадки отдыха, а также площадки другого назначения могут иметь нежесткое покрытие или плиточное. Плитка 0,5 × 0,5 м укладывается на слой песка 10 см.

11-7. С учетом пунктов 11-2 и 11-3 остальные компоненты эксплуатируемого покрытия аналогичны устройству соответствующих компонентов сада на крышах (разделы 9, 10).

12. ЗЕЛЕНЫЕ КРЫШИ

12-1. Зеленые крыши устраивают в основном на кровлях промышленных, складских и хозяйственных построек, но можно устраивать и на жилых домах. В качестве основного вида используемых для озеленения растений выбираются травянистые растения (газонные травы, суккуленты, почвопокровные растения).

12-2. Зеленые крыши могут устраиваться на кровлях, имеющих уклон до 6 °.

12-3. Зеленые крыши не используются для рекреации и выполняют следующие функции:

- обеспечивают сохранность гидроизолирующего слоя любой крыши;

- обеспечивают теплоизоляцию крыш, что позволяет экономить тепло зимой и защищает от перегрева летом;

- поглощают пыль и шумы, создают свой благоприятный микроклимат;

- при разновысокой застройке зеленые крыши создают большой эстетический эффект;

- деятельное покрытие зеленых крыш значительно легче деятельного покрытия наземных садов и садов на крышах, что расширяет диапазон их применения и создает возможность их использования на кровлях типовых жилых зданий без дополнительного усиления несущей способности конструктивных элементов крыши.

12-4. Возможны два основных способа устройства зеленых покрытий:

- посев семян газонных трав в непосредственно подготовленный почвенный субстрат;

- использование рулонного газона.

12-5. При озеленении крыш широкое применение должны иметь рулонные газоны. Рулонный газон готовится следующим образом. На армирующий слой (синтетическая сетка, мешковина, нетканые материалы и т.д.) насыпается почвенный субстрат толщиной 3 - 5 см и высеваются семена газонных трав. Когда трава прорастает, образуя рулонный ковер, ее разрезают на части и скатывают их в рулоны. Примерные технические условия на рулонный газон:

размер ковра                                 - 0,6 × 1,65 м;

вес ковра                                       - 5 - 7 кг;

толщина дернового слоя              - от 3 до 5 см;

высота травяного покрова           - от 5 см.

13. УСТРОЙСТВО АРХИТЕКТУРНО-ЛАНДШАФТНЫХ ОБЪЕКТОВ НА КРЫШАХ ЗДАНИЙ С ЭЛЕМЕНТАМИ ОЗЕЛЕНЕНИЯ

13-1. На крышах общественных зданий, гостиниц, домов отдыха, санаториев, кинотеатров, киноконцертных зданий и т.п. могут быть устроены кафе, рестораны, солярии и т.п. При их оформлении могут быть использованы элементы озеленения.

13-2. Основной формой озеленения в этих случаях является использование растений, высаженных в те или иные емкости: контейнеры, горшки. Широко должно применяться вертикальное озеленение, которое улучшает микроклимат, поглощает пыль и шум и играет огромную эстетическую и декоративную роль.

13-3. Отдельные замкнутые емкости для растений должны устанавливаться на опорах с определенным зазором между ними и конструктивными элементами крыши, что позволяет следить за состоянием днищ, возможным прорастанием корней и своевременно принять меры к ликвидации последних; при этом исключается возможность применения фенолов и других вредных веществ для подавления роста растений. Небольшие по размеру емкости удобны, легко перемещаются с одного места на другое, позволяя создавать различные композиции из растений.

Для грядок и газонов можно применять широкие 1 - 2 м длинные емкости глубиной 0,3 - 0,4 м. Для ампельных растений часть емкостей-цветочниц размещается на подставках высотой 30 - 40 см от поверхности. Емкости могут быть изготовлены из различных материалов: железобетона, бетона, асбестоцемента, полимерных материалов, керамики, дерева, пенопласта, а также из комбинации этих материалов.

Деревянные емкости - ящики, бочки и пр. - необходимо антисептировать и обкладывать с внутренней стороны полиэтиленовой пленкой. Очень интересен вариант устройства емкостей для растений из полистирольного пенопласта. Для большей надежности и долговечности целесообразно покрывать внутренние их поверхности защитным, гидроизоляционным, агрессивностойким составом типа «изолет».

13-4. Широкое применение должно найти вертикальное озеленение. Однолетние растения, используемые для вертикального озеленения:

- горошек душистый - относится к семейству бобовых. Плетистые стебли горошка могут достигать 2 м длины. Листья светло-зеленые, нежные, цветы душистые, неправильные, довольно крупные, собраны в небольшие кисти. Окраска цветов самая разнообразная: от чисто белой до темно-красной, темно-синей и фиолетовой. В культуре насчитывается много сортов. Наиболее декоративными являются сорта группы «спенсер». Горошек требует солнечного местоположения, защищенного от ветра, может использоваться для озеленения входов в кафе, оформлять невысокие ограды, внутренние помещения. Устанавливается в 9-сантиметровых горшках. На 1 п. м. помещается 5 горшков по 5 шт. в горшке. Требует опоры (тычин, шпалер, шпагатной сетки и т.п.;

- ипомея (граммофончики) чрезвычайно быстро растущее растение с крупными воронкообразными цветами самых разных колеров. Достигает высоты 3 - 4 м. Наиболее распространенной является пурпурная ипомея. Высаживается в 11-сантиметровые горшки по 5 шт. на 1 п. м. Использование аналогично использованию душистого горошка. Ипомея требует опоры (крепкий шпагат, проволоку, деревянный каркас);

- настурция - семейство капуциновых имеет низкорослые и высокорослые сорта. Высокорослая настурция подразделяется на следующие группы:

- а) настурция большая (майюс) достигает высоты 2 м. Цветы желтые, оранжевые, красные, имеются темнолистные сорта. Растение образует пирамидальные кусты;

- б) настурция Лоббе достигает 3 м высоты и имеет самые разветвленные плети;

- в) настурция канадская цветет позже большой настурции и достигает высоты 3,6 м. Лучше развивается при солнечном расположении. Высадка в 11-сантиметровые горшки по 2 шт. на 1 п. м. Для своего произрастания требует опоры; также как и другие однолетние культуры может быть использована для устройства пирамид и других фигур перед входами на ровной поверхности;

- г) фасоль (фазеолус) - семейство мотыльковых - растение отличается быстрым ростом, достигает высоты 4 - 5 м. В культуре распространена огненная фасоль. Посев в ящики размером 0,4 × 0,5 × 1,0 м, которые устанавливаются вдоль стен или у входов, производится в конце мая из расчета 5 г на 1 п. м.

Все однолетние культуры кроме фасоли приобретаются в цветочных хозяйствах и высаживаются на открытое место после 5 июня (конец периода заморозков).

13-5. Многолетние растения, используемые для вертикального озеленения

Многолетние лианы являются наиболее ценными растениями для вертикального озеленения. Они высаживаются на расстоянии 0,5 м от стенок, экранов и других вертикальных элементов архитектурно-ландшафтных объектов в ящики 0,4 × 0,5 × 1,5 м.

а) актинидия - семейство дилленевых, плодово-декоративный кустарник, наиболее распространены два вида: актинидия аргута и актинидия коломикта. В условиях Москвы поднимается на 6 м, спиралями своих побегов обвивая опору справа налево. Цветет актинидия в июле, цветки мелкие с приятным запахом. Высевается из расчета 0,2 г на 1 п. м. Срок посева осенью или весной после стратификации. Ее можно размножать горизонтальными отводками. Побег длиной 60 см может дать 5 отводков. Саженцы актинидии высаживаются в апреле из расчета 32 шт. на 1 п. м. Местоположение солнечное. Может быть использована для озеленения любых объектов. Актинидия требует опоры, вокруг которой она могла бы обвиваться.

б) аристолохия (кирказон) - семейство кирказоновых. Кустарник с красивыми листьями и цветами изогнуто-трубчатой формы. В условиях Москвы достигает 8 м высоты. В молодом возрасте требует укрытия, для чего осенью снимается с опоры и пригибается к земле для укрытия еловыми ветками или сухими листьями. Аристолохия требует полива. Хорошо развивается при посеве семенами из расчета 8 г на 1 п. м. Саженцы аристолохии высаживаются из расчета 2 шт. на 1 п. м.

в) виноград - в условиях Москвы для вертикального озеленения рекомендуется виноград амурский и виноград пятилистный. Первый из рода Витис, второй из рода партеноциссус.

Виноград амурский исключительно морозостойкий кустарник, достигающий в условиях Москвы 20 м высоты. Листья кожистые, трех или пятилопастные. Мирится и с полутенью. Осенью листья винограда исключительно живописны. Виноград амурский легко размножается семенами, черенками летними и зимними, отводками и отпрысками. Сеют его осенью, сразу же после переработки плодов, на 1 п. м. нужно 2,5 г семян. Черенки (чубуки) заготавливают из однолетних побегов осенью или ранней весной до распускания почек. На 1 п. м. высаживается 6 чубуков. Саженцы винограда амурского высаживаются 1 шт. на 1 п. м. Виноград амурский может быть использован для всех объектов вертикального озеленения. Хорошо растет по шпалерам, давая в год плети до 3 м.

Виноград пятилистный по внешнему виду похож на виноград амурский, но отличается менее сильным ростом. Посев и посадка аналогичны с виноградом амурским, но семян на 1 п. м. высевают 2 г.

14. ИСПОЛЬЗОВАНИЕ РАСТЕНИЙ ДЛЯ УСТРОЙСТВА САДОВ НА КРЫШАХ, НАЗЕМНЫХ САДОВ И ЗЕЛЕНЫХ КРЫШ

14-1. На крышах многоэтажных домов растения оказываются в более сложных микроклиматических условиях, чем на земле. Растения страдают от воздействия избыточной солнечной радиации, летом - от высоких температур, сухости воздуха и недостатка влаги, зимой - от более низких температур, чем на уровне земли. Растениям часто недостает того ограниченного объема почвы, который может быть им обеспечен на искусственном основании. Ветер наносит растениям механические повреждения и иссушает почву, причем значительно быстрее, чем на земле. Он усиливает испарения воды растением и снижает температуру растения.

Нормальное развитие растений невозможно без соответствующего количества тепла во время вегетации и определенной температуры зимой, которую растения способны перенести без повреждений. Весной и летом температура воздуха у поверхности покрытия крыши выше, чем на земле. Осенью различия уменьшаются, в период с конца сентября до ноября воздух у поверхности крыши несколько холоднее, чем у земли. Зимой за счет теплоотдачи здания и за счет снежных заносов температура поверхности крыши становится немного выше.

Снежный покров на крыше далеко не всегда образует слой необходимой толщины, и в невысоких контейнерах грунт может промерзать на всю глубину. Морозоустойчивость растений зависит от уровня осмотического давления в клетках ткани, образующей корни, которое, в свою очередь, зависит от концентрации клеточного сока. Чем выше концентрация клеточного сока, тем устойчивее корневая система к морозам.

Относительная влажность у поверхности крыши весной на 5 - 10 % ниже, чем на земле, а летом разница доходит до 14 %. Ночью в ясную погоду относительная влажность воздуха на крыше даже на 15 - 20 % ниже, чем на земле, днем на 1 - 15 %.

Положительным фактором является то обстоятельство, что на крышах зданий свыше 9 этажей концентрация вредных веществ в воздухе в несколько раз ниже, чем у поверхности земли.

Тем не менее, в условиях крыш растения обладают значительно более ограниченной способностью противостоять изменениям климата, чем в наземных условиях.

14-2. Растения на крыше не только испытывают негативное влияние различных факторов, определяющих микроклимат на крыше, но и вносят в него определенные коррективы.

Атмосферные осадки и поливочная вода в значительной мере аккумулируются растительным слоем, а ее излишки медленно испаряются. В результате повышается влажность воздуха и снижается его температура. Подсчитано, что в среднем с 1 м2 газона на крыше испаряется до 200 г воды в час и это повышает влажность воздуха на 18 - 20 % по сравнению с обычной не озелененной крышей. По другим данным, за счет полива газона в засушливую погоду, влажность воздуха может измениться с 3,5 % до 16 %. При этом значительно уменьшается сток в ливневую канализацию. Если сток воды с обычных, не озелененных крыш составляет 70 % от выпадающих атмосферных осадков, то с крыш-садов он равен всего 40 %, а с озелененных крыш почти полностью отсутствует.

Увеличение влажности воздуха в саду на крыше ощущается в пределах расстояния равного 10 - 12 высотам растения. Охлаждающий эффект озеленения создается исходящими потоками воздуха, образующего воронки. При этом снижается скорость ветра, встречающего на своем пути преграды в виде деревьев, кустарников, оборудования крыш-садов. Непосредственно над крышей это снижение достигает 70 %, а отдельные порывы ветра снижают скорость на 0,5 м/сек. Это значительно улучшает аэрационный режим на верхних уровнях застройки.

14-3. Исследования ботаников и биологов показывают, что растения, высаженные на крышах, ведут себя несколько иначе, чем растения тех же видов, высаженные на земле. Активный рост их весной начинается на 3 - 12 дней раньше, чем на земле. Это вызывается более быстрым оттаиванием и прогреванием почвенного субстрата на крыше, чем почвы на земле. Приблизительно на столько же раньше начинается цветение декоративных кустарников, хотя большинство видов сохраняют присущую им продолжительность цветения.

Осенью плоды у многих растений созревают на 6 - 20 дней раньше, чем в наземных условиях. Осенний период - ярко окрашенная листва у некоторых видов появляется раньше (клен приречный, древогубец круглолистный, дерен белый, спирея Вангутта) на 4 и даже 10 дней, чем в наземных условиях, причем деревья имеют более интенсивную окраску листвы. Таким образом, у некоторых растений в садах на крышах увеличивается общий срок вегетации, причем значительно, как это видно из следующей таблицы:

Таблица 14.1

Название растений

Продолжительность вегетации (дни)

На земле

На крыше

Кизильник блестящий

182

192

Клен татарский

170

182

Жимолость съедобная

181

195

Акация желтая

165

181

Калина обыкновенная «снежный шар»

179

207

Рябина обыкновенная

139

181

14-4. При использовании растений для создания наземных садов на искусственных основаниях необходимо учитывать, что на растения действует весь комплекс условий, действующих и на наземные зеленые насаждения, создающий определенный микроклимат не всегда благоприятный для растений. Плюс к этому вынужденная небольшая глубина почвенного субстрата, не позволяющая корням использовать для питания большой объем почвы.

14-5. Для озеленения зеленых крыш используются газонные травы, рулонные газоны или вегетативные и дренажные маты с использованием растений группы суккулентов. К суккулентам относятся растения, обладающие способностью запасать воду в своих мясистых стеблях и листьях.

14-6. Использование вьющихся декоративных растений при устройстве архитектурно-ландшафтных объектов на крышах зданий см. раздел 12 настоящих рекомендаций.

15. АССОРТИМЕНТ ДЕРЕВЬЕВ И КУСТАРНИКОВ, ИСПОЛЬЗУЕМЫХ ДЛЯ ОЗЕЛЕНЕНИЯ САДОВ НА КРЫШАХ И НАЗЕМНЫХ САДОВ

15-1. Рекомендуется использовать ассортимент деревьев и кустарников в соответствии с таблицей:

Таблица 15.1

Наименование породы

Характер растений

Используется:

Примечание

Для садов на крышах

Для наземных садов

Хвойные породы

Ель колючая

Д

+

-

Подвержена ветровалу, нуждается в ветрозащите и укреплении на месте посадки

Ель обыкновенная

Д

+

-

 

Лиственница сибирская

Д

-

+

 

Можжевельник казацкий

К

+

+

 

Туя западная

Д

+

+

 

Лиственные породы

Айва японская высокая

К

+

+

Поддается формовке

Акация желтая

К

+

+

Поддается формовке

Барбарис обыкновенный

К

+

+

Поддается формовке

Барбарис Тунберга

К

+

+

Поддается формовке

Бархат амурский

Д

+

+

Не формуется

Груша обыкновенная

Д

+

+

Не формуется

Дерен белый

К

+

+

Формуется

Ирга канадская

ДК

+

+

Формуется

Калина Гордовина

К

+

+

Формуется

Кизильник блестящий

К

+

+

Формуется

Клен Гиннала

К

+

+

Формуется

Клен татарский

К

+

+

Формуется

Лох серебристый

К

-

+

Формуется

Рододендрон даурский

К

+

-

Формуется

Рябина обыкновенная

Д

+

+

Формуется

Сирень обыкновенная

ДК

+

-

Формуется

Сирень персидская

К

+

-

Формуется

Снежноягодник

К

+

+

Формуется

Спирея Бумельда, Вангутта

К

+

+

Формуется

Спирея городчатая дубравколистная

К

+

+

Формуется

Черемуха Маака

Д

+

+

Формуется

Шиповник

К

+

+

Формуется

Яблоня сибирская Шейдекара

Д

+

+

Формуется

Условные обозначения:

форма роста: Д - дерево, ДК - дерево, кустарник, К - кустарник.

Формирование - обрезка.

Этот ассортимент может быть расширен при условии, если создается достаточный объем почвенного субстрата и учитываются потребности используемых пород в плодородии почвы. В связи с тем, что создание для растений необходимого слоя почвенного субстрата до 120 см сопряжено с большими трудностями, основным способом посадки деревьев будет посадка их в кадки и контейнеры. В любом случае деревья, высаженные непосредственно в почвенный субстрат или контейнеры, должны быть дополнительно укреплены с тем, чтобы противостоять ветру, который на высоте может достигать большой скорости.

Кроме того, надо учитывать, что деревья в садах на крышах и наземных садах не обладают той долговечностью, которую имеют деревья, высаженные в естественный грунт, и через 5 - 6 лет их надо будет заменять.

Все эти обстоятельства ограничивают возможности применения деревьев в садах на крышах и наземных садах.

15-2. Для озеленения садов на крышах используются саженцы из первой школы: 6 - 7-летние деревья и 3 - 4-летний кустарник. Для озеленения наземных садов используются саженцы из 2-ой школы питомника - 12 - 16 лет. Наиболее оптимальным временем для посадки растений являются весна и осень, когда растения находятся в состоянии физиологического покоя. Весной посадки проводятся после оттаивания и прогревания почвы до начала активного распускания почек и образования побегов. Осенние посадки следует проводить с момента листопада до устойчивых заморозков. Хвойные породы лучше переносят пересадку в ранневесеннее время (март - начало апреля) и раннеосеннее (август - начало сентября).

15-3. Посадка саженцев деревьев и кустарников в садах на крышах производится без кома в лунки, приготовленные в почвенном субстрате размерами 0,5 × 0,6 м. В середину ямки устанавливается кол для укрепления дерева. На дно лунки насыпается небольшой холмик земли, на котором аккуратно расправляются корни. Перед посадкой корневая система саженца обмакивается в земляную жижу, имеющую вязкую консистенцию. Засыпка корней производится постепенно. Земля послойно уплотняется ногой от периферии к центру.

После посадки дерево привязывается к колу сначала временно в одном месте, чтобы растение оседало вместе с почвой, а затем постоянно. Высаженные деревья после осадки почвы в лунке (приблизительно через 7 - 10 дней) укрепляют дополнительно растяжками, прикрепленными к элементам конструкций садов на крышах, использованием сетки, защищают от ветра экранами и т.п. Сразу же после посадки производят полив. Глубина посадки делается на 3 - 4 см выше уровня окружающей поверхности почвенного субстрата в расчете на последующую осадку почвы.

Перед посадкой саженцы тщательно осматриваются. Поврежденные корни и ветви должны быть срезаны. Срезы ветвей и места повреждений следует зачистить и покрыть садовой замазкой или закрасить масляной краской надрез ствола.

После посадки саженцы должны быть обильно политы водой. Осевшую после первого полива землю нужно подсыпать на второй день и снова полить.

У высаженных деревьев и кустарников нужно примерно на 1/3 подрезать крону, чтобы восстановить баланс между корневой системой и кроной.

15-4. При посадке деревьев в наземных садах саженцы высаживаются с комом 0,4 × 0,5 м, соответственно лунки должны быть 1,0 × 0,6 м. Ямы должны быть засыпаны почвенным субстратом до низа кома. Лучше всего использовать саженцы с комом в мягкой упаковке. Кустарники могут высаживаться с обнаженной корневой системой. После установки растения в лунку щели между комом и стенками лунки заполняются почвенным субстратом, который уплотняется. После посадки крона растений подрезается, а сами они обильно поливаются.

15-5. На зимний период следует предусмотреть укрытие растений, для чего можно использовать рогожу, лапник и другие материалы, которые обычно используются для укрытия растений под зиму. Весной это укрытие должно быть снято.

16. АССОРТИМЕНТ ТРАВЯНИСТЫХ РАСТЕНИЙ, ИСПОЛЬЗУЕМЫХ ДЛЯ САДОВ НА КРЫШАХ И НАЗЕМНЫХ САДОВ

Таблица 16.1

Вид

Рекомендуемый вид озеленения

Рекомендуемый вид озеленения

Кошение

Интенсивность полива

Сад на крыше

Наземные сады

Зеленые крыши

Посев в почвенный субстрат

Рулонный газон

Маты

Очиток едкий

-

-

+

+

 

+

-

низкая

Очиток белый

-

-

+

+

 

+

-

низкая

Очиток шестирябый

-

-

+

+

 

+

-

низкая

Очиток Эверса

-

-

+

+

 

+

-

низкая

Очиток гибридный

-

-

+

+

 

+

-

низкая

Овсянница красная

+

+

+

+

+

-

+

регуляр.

Овсянница луговая

+

+

+

+

+

-

+

регуляр.

Мятлик луговой

+

+

+

+

+

-

+

регуляр.

Костер безостый

+

+

+

+

+

-

+

регуляр.

Пырей бескорневищный

+

+

+

+

+

-

+

регуляр.

Газон из очитков нуждается в выпалывании высокорослых сорняков, особенно однолетних. Полив такого газона производится лишь в первые 6 - 7 недель после укладки на крышу. Удобрения вносятся в случае появления красно-бурой окраски листьев и побегов очитков, свидетельствующей о недостатке элементов минерального питания в субстрате. Обычно удобрения вносят один раз в год. Средняя норма - 30 г комплексных удобрений на 1 м2. Такой газон не нуждается в скашивании. Газон из злаковых трав регулярно поливается и скашивается. При достижении побегов 10 - 12 см, с целью недопущения выхода растения в колос и связанной с этим потери декоративности, побеги срезаются до 5 - 7 см.

ПРИЛОЖЕНИЕ 1

ЗАРУБЕЖНЫЙ ОПЫТ УСТРОЙСТВА ЭКСПЛУАТИРУЕМЫХ КРЫШ

За рубежом разработано несколько систем садов на крышах, которые обеспечивают наиболее оптимальные условия для развития растений, а также снижения статической нагрузки на кровлю.

Одна из таких систем - Флорадрен фирмы Imperbel (Бельгия) была на практике осуществлена на строительстве здания Газпрома в Москве и показала свою высокую эффективность (рис. 14). Основным конструктивным элементом этой системы являются прочные полиэтиленовые элементы флорадрен ячеистой формы размером 2 × 1 м и весом 2 кг/м2. Они обладают высокой эластичностью, хорошим сопротивлением к сжатию, высоким сопротивлением на разрыв. При устройстве озелененной кровли эти элементы дают возможность накапливать дождевые воды для увлажнения растений. Кроме того, система Флорадрен предусматривает гидроизоляционный слой и специальный противокорневой материал, дающий хорошую защиту от корней растений. Однако эта система требует применения специальных материалов (у нас они не выпускаются), что вызывает необходимость привлечения иностранных фирм.

В Москве фирма ЗАО «Диат» освоила устройство эксплуатируемых, в том числе и озелененных покрытий подземных гаражей с применением материалов и технологий фирмы Imperbel (Бельгия). При этом фирма «Диат» использует наиболее прогрессивное конструктивное решение покрытия с кровлей в инверсионном варианте, т.е. с размещением водоизоляционного ковра под теплоизоляцией. Такое решение обеспечивает высокую долговечность водоизоляционного ковра в связи с тем, что он в процессе эксплуатации в гораздо меньшей степени подвергается воздействию атмосферных факторов и работает в узком диапазоне температур. В качестве теплоизоляции используется плитный экструзионный пенополистирол, имеющий низкое водопоглощение, что исключает возможность его увлажнения и размораживания в процессе эксплуатации кровли. В качестве гидроизоляционного материала применяется бельгийский материал фирмы Imperbel Дербигум (Derbigum SP). Дербигум - это АПП модифицированный битумный наплавляемый гидроизоляционный материал с двойным армированием из стекловолокнистого холста и полотен из синтетических волокон.

Рис. 14 Устройство «сада на крыше» с применением системы Floradrain эксплуатируемая кровля (инверсионный вариант)

1. Бетонное основание; 2. Выравнивающая цементная стяжка; 3. Праймер PRIMER SI; 4. Нижний слой гидроизоляционного ковра из материала DERBIGUM; 5. Верхний слой гидроизоляционного ковра из материала DERBIGUM; 6. Утеплитель с закрытыми порами (экструзионный пенополистирол); 7. Полиэтиленовая пленка; 8. Геотекстиль (мат); 9. Сотовый элемент FLORADRAIN; 10. Керамзитовый гравий мелкой фракции; 11. Геотекстиль; 12. Засыпка земляным растительным слоем; 13. Бетонная подушка под бордюрный камень; 14. Бордюрный камень; 15. Гравий фракции 5 - 20; 16. Бетонная плитка; 17. Зеленые насаждения.

Не так давно за рубежом появился новый теплоизолирующий и противокорневой материал фомглас, который производится из битого стекла и углерода и обладает уникальной способностью обеспечивать жесткую конструкцию с постоянными физическими свойствами. Фомглас имеет коэффициент расширения такой же как у стали и бетона, обладает большим сопротивлением на сжатие. Химический состав защищает его от грызунов, насекомых, бактерий. Он не подвержен воздействию кислот, защищает от коррозии соседствующие с ним конструкции, полностью невозгораемый и соответственно не выделяющий дыма. Фомглас не впитывает в себя воду и водяные пары, что исключает необходимость устройства дополнительного параизоляционного слоя.

Фомглас представляет из себя жесткую пеноплиту с высоким сопротивлением к сжатию и высокой стабильностью формы.

Фомглас укладывается на профилированный металлический лист или на бетонную основу и клеится на горячий битум.

Фомглас обеспечивает быстрый сток воды, поэтому он должен иметь уклоны в сторону водостоков.

Пока он является очень дорогим материалом, поэтому мы не можем его рекомендовать к широкому применению. Однако он имеет большую перспективу.

В Германии широко применяют посадку предварительно подготовленных растений. Растения для посадки газона этим способом предварительно готовят. Черенки или одиночные побеги растений (очитков, гвоздик, лапчаток, тысячелистника, тимьяна, будры - виды подобраны для условий Москвы и Московской области) высаживают в горшочки диаметром не более 5 см и глубиной не менее 7 см из пластмассы или другого плотного материала (не торфа!). Субстрат в горшочках должен состоять из 2 частей пористых материалов (перлита, дробленого керамзита и т.д.), 1 части торфа и 1 части песка. Подготовка растений в ограниченном объеме почвы позволяет сформировать компактную корневую систему. В течение периода от 3 недель до 2 месяцев растения укореняются и развиваются в горшочках. Они готовы к посадке в том случае, если при попытке вытянуть растение за побег из горшочка оно не отрывается от корней. Растения выдавливают из горшочков вместе с субстратом с помощью палочки и высаживают на крышу. Субстрат на крыше должен состоять их тех же компонентов, что и субстрат горшочков. Высота субстрата составляет в среднем 5 - 7 см. Распределение по поверхности крыши производится как равномерно, так и группами. Рекомендуемая плотность посадки - 20 - 35 растений на 1 м2.

Полив необходим лишь в первые 6 - 7 недель, в течение которых растения приспосабливаются к условиям крыши. Удобрения вносятся после высадки на крышу по мере проявления растениями признаков голодания (красной, бурой или бледно-зеленой окраски листьев). Норма внесения удобрений не должна превышать 30 г/м2.

В Германии посев газона осуществляется двумя основными способами: сухим и мокрым.

Сухой посев

Этот способ посева представляет собой разбрасывание по поверхности субстрата побегов и семян растений. Сухой посев производят на субстрат толщиной до 10 см, содержащий пористые вещества (например, дробленый керамзит), песок и перегной. В конструкции обязательно необходимо предусмотреть под субстратом дренажный слой. В качестве материала для посева используют побеги суккулентных растений, семена бобовых и злаков. Рекомендуемые виды: очиток едкий, очиток шестирядный, очиток белый, очиток ложный, очиток гибридный, очиток Эверса, очиток отклоняющийся - высев побегов; полевица тонкая, мятлик луговой, клевер ползучий, клевер луговой - высев семян. Норма высева составляет 50 - 60 г побегов и от 5 до 30 г семян на 1 м2. Для повышения влажности субстрата, столь необходимой для прорастания семян и укоренения побегов, обычно добавляют в смесь для посева абсорбент (вещество, удерживающее влагу - древесный уголь, полиакриламид), соломенную сечку, вату и клей на натуральной основе (например, водорослевой - препарат Terrasol). Примерное соотношение различных компонентов посадочной смеси представлено в следующей таблице:

Компонент смеси

Норма, г/м2

Побеги суккулентных трав

50 - 60

Семена злаков и бобовых

5 - 30

Абсорбирующее влагу вещество

20 - 30

Вата хлопчатобумажная

60 - 120

Соломенная сечка

30 - 60

Натуральный клей (порошок)

20 - 30

Посеянную смесь регулярно поливают лишь в течение первых 6-7 недель развития растений на крыше из расчета 3 мм поливочной воды или атмосферных осадков в сутки.

Мокрый посев

При этом способе смесь, описанная в разделе «Сухой посев», разводится водой и подается с помощью насоса в шланг, с помощью которого распыляется. Это ускоряет посев и делает его более равномерным. Это единственное отличие этого способа посева от сухого посева.

При озеленении крыш широкое применение имеют рулонные газоны. Рулонный газон готовится следующим образом. На армирующий слой (синтетическая сетка, мешковина, нетканые материалы и т.д.) насыпается почвенный субстрат толщиной 3 - 5 см и высеваются семена газонных трав. Когда трава прорастает, образуя рулонный ковер, ее разрезают на части и скатывают их в рулоны.

Примерные технические условия на рулонный газон:

размер ковра                                 - 0,6 × 1,65 м;

вес ковра                                       - 5 - 7 кг;

толщина дернового слоя              - от 3 до 5 см;

высота травяного покрова           - от 5 см.

Чаще всего для создания газонов на крыше в Германии используют вегетационные и комбинированные маты. Вегетационные маты выполняют функцию верхнего слоя субстрата, несущего растительность. Комбинированные минераловатные маты кроме аналогичной могут выполнять функцию накопления и распределения влаги (т.е. дренажного слоя).

Субстрат на крыше для озеленения с помощью вегетационных матов или комбинированных матов состоит из пористых материалов (перлит, дробленый керамзит и т.д.) и органического вещества (торфа, перегноя). Толщина субстрата составляет в зависимости от видов применяемых растений от 3 - 5 до 15 см. При создании газона из суккулентных злаков толщина субстратного слоя составляет 10 - 15 см. Независимо от видов применяемых растений необходим дренажный слой в виде дробленого керамзита или других пористых материалов (цеолита) или дренажных матов.

Стандартные вегетационные маты имеют вид квадрата или прямоугольника площадью 1 м2. Основу вегетационных матов составляет прочный слой нетканого полипропиленового материала (или прочных натуральных нитей), на который укладывается волокно естественного (лен, кокос) или искусственного происхождения (полипропиленовые волокна). Волокно прикрепляется к основе (например, полипропиленовые нити термически «приклеиваются» к полипропиленовой ткани). Нетканый материал служит разделительным слоем между субстратом крыши и живым содержимым вегетационного мата. Сверху на волокнистую основу насыпается субстрат, содержащий пористые вещества (дробленый керамзит, перлит), торф и песок. На субстрат разбрасываются семена злаков (полевицы тонкой, мятлика лугового или узколистого, овсяницы полевой и красной), луковички луковичных или побеги суккулентных растений и побегоносных злаков (полевицы побегоносной, п. гигантской, п. виноградниковой). Общая толщина вегетационного мата составляет от 2 до 5 см. Полив производится регулярно по мере высыхания субстрата. Мат готов к укладке на крышу, если 70 % его поверхности покрыто развившимися растениями. В зависимости от желания размеры и форма вегетационных матов могут варьироваться. Срок жизни волокон в составе вегетационных матов составляет, согласно наблюдениям, не менее 5 лет. Вес вегетационного мата - 3 - 5 кг/м2.

Комбинированные минераловатные маты выполняют одновременно функцию субстрата и дренажа. Их изготавливают из тонкой стекловаты. На слой стекловаты толщиной до 10 см насыпают слоем 2 - 5 см субстрат того же состава, что и применяемый для вегетационных матов, или смесь песка и перегноя или торфа. Сверху разбрасываются побеги и семена растений. Размеры матов ограничиваются разумными пределами. Из-за толщины и хрупкости основы комбинированные минераловатные маты нельзя сворачивать. В связи с большим весом минераловатных матов 7 - 10 кг (за счет накопления влаги стекловатой) применение их на крыше ограничено. Их транспортируют, укладывая друг на друга. Для посева на комбинированные минераловатные маты используют те же виды растений, что и для вегетационных матов.

Уход за вегетационным матом и комбинированным минераловатным матом на крыше зависит от назначения крыши. Для «зеленой крыши» регулярный полив необходим лишь в течение первых 6 - 7 недель развития растений на крыше. Удобрения вносятся в случае, если растения обнаруживают признаки бедности минерального питания (появляется красная, бурая и желтая окраска листьев). Для регулярно скашиваемого газона необходим регулярный полив и внесение удобрений, которые производят несколько чаще, чем для напочвенного газона.

ПРИЛОЖЕНИЕ 2

ИСТОРИЧЕСКИЙ ОБЗОР

Первые сады появились в глубокой древности на Ближнем Востоке, где было принято строить здания с плоскими крышами.

Родиной так называемых висячих садов являются Ассирия и Вавилон, располагавшиеся в плодородных равнинах Евфрата и Тигра.

«Висячие сады» устраивались на специальных, иногда ступенчатых конструкциях, создававших равномерно распределенную нагрузку.

При раскопках в Ниневии были обнаружены рельефы времен ассирийского царя Санхериба (705 - 681 г. до н. э.), изображавшие «висячие сады», расположенные на столбах или кирпичных стенах с готическими сводами и имеющие специальную водопроводную систему.

Однако наиболее смелыми по конструктивному решению и великолепными по благоустройству следует считать сооруженные в Вавилоне за шесть столетий до нашей эры знаменитые «висячие сады Семирамиды», которые были отнесены к семи чудесам света.

Вместе с культурой Востока в Древнюю Грецию был перенесен культ Адониса и обычай украшать плоские крыши и балконы растениями в горшках. Праздник Адониса отмечался также в Риме. Этот обычай озеленять крыши домов сохранился и позже.

В Древнем Риме крыши многих доходных домов озеленяли кустарниками и фруктовыми деревьями в бадьях. На крышах устраивались также рыбные водоемы и «висячие озера».

При раскопках Помпеи было обнаружено, что виллы часто завершались террасами на крышах, так, например, над виллой Диомеда находилась большая терраса с колоннадой.

В доме Салуста плоская крыша служила солярием. На круглых террасах императора Августа имелись древесные насаждения. Клаудили рассказывает о чудесном корабле императора Калигулы, на котором росли виноградные лозы и фруктовые деревья.

Примеры устройства садов на кораблях, так называемых «плавучих садов», имелись также в Греции и ее владениях в Малой Азии.

В V в. византийские императоры создавали роскошные сады на террасах верхних этажей своих дворцов. Поэт Юстиниана I воспевал защищающие от ветра и солнца красивые сады на крышах, с которых открывается чудесный вид на море.

Изображение садов и террас на крышах в византийском Евангелии и молитвенниках в XI - XII вв., а также в индийской миниатюрной живописи говорит о распространении этих сооружений в разных странах.

В период Ренессанса с расцветом культуры вообще и культуры садоводства в частности, сады на крышах обогатились чужеземными растениями. Принадлежавшие королям, герцогам и прочим знатным людям «висячие сады» стали роскошными.

Во Флоренции в 1400 г. была известна вилла Медичи, где в садах на крышах росли цветы.

В г. Мантуя над замком был сооружен огромный «висячий сад».

В 1530 г. кардинал Андреа дель Валье выстроил в Риме музей в виде «висячего сада». На крыше дворца графа Мафарея в Вероне имелся прекрасный сад, разделенный на участки, засаженные разными цветами и деревьями.

На утесе Изола Белла были сооружены сады на террасах, верхние из них были подняты на высоту 32 м с помощью огромных конструкций.

Император Фридрих III построил в 1487 г. на южной стороне замка в Нюрнберге «висячий сад» с цветниками, виноградниками, фруктовыми деревьями. Такой же сад устроил в Тироле над замком Амбрае эрцгерцог Фердинанд.

В своей книге Иоганн Фолькмер (1714 г.) пишет: «В Венеции и Генуе над дворцами находятся роскошные, висящие в воздухе сады. В Генуе, где большинство зданий расположено на холмах, принято устраивать крыши-сады над зданиями, которые могут нести дополнительную нагрузку от земли, насыпанной на крыши».

Имелись дома с крышами-садами в богатых немецких городах, таких как Нюрнберг, Аугсбург, торговавших с иностранцами. В период расцвета Ренессанса в Италии было принято устраивать сады и террасы над гротами. Грот, над которым располагалась большая терраса с бассейном и фонтаном, был построен в Англии в парке «Уилтон хауз». Вычурность и декоративная пышность отличали эти устройства. Над резиденцией архиепископа в Нассау поднималась двухступенчатая крыша-сад.

Крупный специалист, строитель и ученый, Пауль Марнергер (1656 - 1730) писал, что плоские крыши надо повсеместно использовать для домашнего труда и отдыха и рекомендовал обычные скатные крыши заменить на плоские. Спустя полвека идею строительства плоских крыш возродил Карл Рабитц, известный строитель и изобретатель. Он вместе с Марнергером создал ряд принципиально новых проектов плоских крыш-садов.

С 1867 г. стали использоваться цветочницы из бетона с кристаллической арматурой (железобетон).

В 1997 г. Франсуа Геннобик построил первый железобетонный дом-виллу в Лампардцейте.

Строительство плоских крыш из железобетона приняло большие размеры в течение последнего десятилетия XIX в. и первого десятилетия XX в.

Горячим сторонником использования крыш домов был Ле Корбюзье, который сделал частную тему «крыши-сады» необходимой составной частью архитектуры. Он разработал большое количество проектов с использованием крыш. В статье «Улицы» (1929) он писал: «Между высокими блестящими вертикалями домов тянутся в виде восхитительных низко бегущих горизонталей три ряда возвышающихся друг над другом «садов Семирамиды» - улиц отдыха… Далеко в высоте над небоскребами видны настоящие сады, в которых растут туя, лавровые кусты, вечнозеленый плющ, тюльпаны, герань и другие растения: Приятное электрическое освещение создает радостное настроение. Кругом тишина. Стоят удобные кресла, люди ведут беседы».

В 1914 г. Франк Ллойд Рейт запроектировал в Чикаго большой ресторан с крытыми и открытыми эксплуатируемыми крышами.

В том же году Вальтер Гроппиус выстроил в Кельне конторское здание с рестораном на озелененной крыше.

Эту тему разрабатывали многие архитекторы во многих странах.

В 1903 г. братья Перет построили в Париже дом с крышами, садами и террасами. По проекту Генри Севажа в 1912 г. был построен дом с террасами.

Большой интерес представляет книга Германа Груба «Зелень между домами». В этой книге приводится большое количество примеров использования зеленых насаждений как для озеленения прилегающих к зданиям и сооружениям территорий, так и использования для этих целей «пятого фасада» - крыш. Он отмечает, что озеленение крыш особенно оправдано с экологической и экономической сторон при строительстве промышленных объектов, которые занимают большие территории и создают сложные экологические условия для окружающей среды. Он пишет «в одном промышленном районе Штутгарта разрешена постройка зданий только с озелененными крышами». Он отмечает важную роль ежегодно проводимого в ФРГ министерством строительства и градостроительства конкурса, на котором промышленные, торговые и ремесленные предприятия демонстрируют свои новые достижения в области благоустройства, показывают новые тенденции. Наиболее интересные примеры озеленения крыш, приведенные в этой книге:

- многоэтажная автостоянка Массальского аэропорта (Франция);

- трансформаторная подстанция в Фрайбурге (Германия);

- комплекс административных зданий в Фрайбурге (озеленено почти 3000 м2 крыш) (Германия);

- ресторан швейцарской фармацевтической фирмы, размещенный на крыше и утопающий в зелени (Швейцария);

- зелень на крыше многоэтажного гаража (Северная Германия);

- озеленение заброшенной цементной фабрики в Барселоне (арх. Рикардо Бофил, Испания);

- озеленение крыш полиграфического предприятия (древесный питомник на крыше);

- озеленение конторского комплекса в Лондоне (Великобритания);

- озеленение крыш Баварского банка (Германия);

- озеленение крыш банковского комплекса во Франкфурте (Германия).

Первые описания русских садов на крышах относятся к XVII веку. «Верховые сады» или «сады на сенях» располагались на каменных сводах пристроек к дворцовым зданиям Московского Кремля. В Кремле было несколько таких садов, и особенно хороши были Верхний и Нижний набережные сады, получившие за свою красоту название «красных».

Верхний сад был построен в 1623 г. садовником Назаром Ивановым на сводах углового корпуса дворца, выходившего на Москву-реку. Он был обнесен каменной оградой с окнами, из которых открывался обширный вид на Замоскворечье. Позднее, в 1687 г. в Верхнем саду был сооружен пруд глубиной 2 аршина (1,42 м) и построена сохранившаяся поныне Водовзводная башня со специальным механизмом для заполнения его водой из реки. Именно здесь, плавая по пруду на «потешной флотилии» из маленьких лодок, малолетний Петр I получил свое пристрастие к навигационному делу.

Нижний красный набережный сад находился недалеко от Верхнего и был устроен при царе Алексее Михайловиче в 1681 г. В нем также был сделан пруд. Этот сад был украшен «першпективным письмом»: расписанные мастером Петром Энглесом изнутри стены каменной ограды зрительно расширяли его пространство.

«Верховой» сад стал одним из наиболее своеобразных типов русского городского сада XVII в. Располагаясь на уровне верхних этажей дома, он как бы входил в состав жилых помещений. В Москве в XVII в. славились «красные» сады бояр Голицыных и Ордын-Нащокиных. Характерным для них было сочетание практической пользы с художественными достоинствами, и прохлада, создаваемая прозрачной легкой тенью любимых на Руси берез, дополнялась прямым ароматом цветов, душистых и целебных трав, пением певчих птиц и красочностью архитектурных деталей.

Планировка верховых садов в XVII в. была очень простой. Сад обычно имел несколько дорожек, пересекавшихся под прямым углом, участки между которыми обрамлялись тонкими досками, поставленными на ребро. В образовавшихся ящиках высаживались цветы, главным образом, пионы, тюльпаны, лилий, розы, гвоздика, а также различные сорта яблонь. На зиму для защиты от холода деревья укрывались рогожами и войлоком.

Устройство верховых садов требовало больших средств. Оно предусматривало сооружение массивных опор и перекрытий, которые могли бы держать тяжесть земли. Основание сада в целях водонепроницаемости покрывалось свинцовыми «досками» (плитами), швы между которыми запаивались.

Были, однако, и другие варианты конструкций перекрытий.

В 1675 г. патриарх Иоаким «указал строить на своем патриаршем дворе в Кремле «каменное дело» для хозяйственных помещений, а над ними, подле своих деревянных келий устроить и утвердить место, чтобы можно было на нем сад учинить, и то садовое место огородить каменной стеной». Патриаршие хоромы, занимавшие второй этаж, были по площади меньше подклетов, и поэтому на них оставалось место для создания сада. Он был устроен на крыше каменной палаты, а вместо свинцовых плит его основанием служил «бревенчатый мост с бревенчатыми толстыми желобами для спуска воды». На этот помост была насыпана земля, в которую и посажены растения.

Для своего времени Кремлевские верховые сады были в России не меньшим «чудом света», чем знаменитые висячие сады Семирамиды.

В XVIII в. висячие сады как бы переместились в новую столицу России - Петербург. Они были созданы на галереях Екатерининского дворца в Царском Селе и на Камероновой галерее. Особую же известность приобрел висячий сад Малого Эрмитажа в Зимнем дворце. Он был размещен на каменных сводах дворцовых конюшен и тянулся вдоль двух галерей - Петровской и Романовской. Сад и сам похож на галерею под открытым небом: фонтан и мраморные статуи белеют здесь среди кустарников, деревьев и цветников. Висячий сад сохранился до наших дней, хотя в тяжкие годы Ленинградской блокады, также, как и весь Зимний дворец, служил мишенью для фашистской артиллерии, а сотрудники Эрмитажа разбивали в нем огородные грядки.

В XIX в. идея садов на крышах с резиденций царей, вельмож и высшего духовенства переходит к среднему богатому сословию. В 1839 г. строится висячий сад в усадьбе Марфино под Москвой (арх. М. Быковский), в конце XIX в. - эксплуатируемая кровля особняка Морозова на Воздвиженке в Москве (арх. В. Мазырин) и смотровая площадка с китайской беседкой на доме Перлова на Мясницкой ул. (арх. Р. Клейн).

В Петербурге на рубеже веков сады создавались преимущественно на крышах доходных домов (дом Зайцевой на Фурштадской ул., арх. М. Богомолов; дом Орлова на Вознесенском пр., арх. И. Маркелов и др.).

В начале XX в. увлечение садами на крышах стало в Москве своеобразной модой. Возможно, толчок этому дала статья известного тогда журналиста И. Василевского, вернувшегося из Германии в 1911 г., в которой он писал о том, что там крыши многих зданий «дают то, чего нет у массы городского населения, - чистый воздух, солнце, свет и теплоту На одном из больших домов в Лейпциге сад на крыше таких размеров, что он дает хозяину даже клубнику, малину, цветную капусту и низкорослые фрукты» («Ресторатор», 1911, № 14, с. 4).

В 1912 г. владелец ресторана на Дорогомиловской улице открыл на крыше своего дома сад для посетителей ресторана, а в следующем году еще более богатый сад с гротами и фонтанами был устроен на крыше кафе на Каляевской улице. Крыши самых высоких по тому времени домов Москвы стали использоваться и как смотровые площадки, а на первом 10-этажном доме был сооружен киноконцертный зал, так и называвшийся «Крыша» (дом построен по проекту архитектора Э. Нирнзее в Большом Гнездниковском переулке).

В 20-е годы плоские эксплуатируемые крыши были введены в структуру зданий как неотъемлемый компонент в организации новой жилой среды, и советский конструктивизм дал теоретическое обоснование их применения (А. Кузнецов, братья Веснины и Голосовы, Г. Бархин, И. Леонидов. Н. Милютин, М. Гинзбург).

По проекту М. Гинзбурга на крыше нового жилого дома на М. Бронной разместился огромный солярий и сад с кустами цветущих роз (1926 г.). Предполагалось соорудить такую же крышу-солярий на 6-этажном доме-коммуне на Хавской улице. В 1923 г. плоская крыша 8-этажного дома на нынешней улице Спиридоновка, частично занятая помещениями детского сада, была приспособлена для детских игровых площадок, защищенных металлическими сетками, и много лет использовалась для прогулок и игр детей. Цветы и низкий кустарник были высажены там, в вазах и ящиках, а на лето туда выносились комнатные растения в кадках.

Таким образом, озеленение крыш носило как интенсивный, так и экстенсивный характер, т.е. сады использовались для рекреации, для выращивания плодов, ягод, цветов и овощей, или только как теплоизолирующее, либо декоративное покрытие зданий.

С ростом городов вверх немаловажным становится еще один аспект архитектуры «пятого фасада» зданий. До XX в. крыши русских городов воспринимались сверху - в исключительных случаях застройка большинства из них не превышала 3 - 4 этажей, и панораму города в целом можно было воспринять лишь с колоколен, либо с холмов, окружающих город. В наш век «высотная точка зрения» горожанина становится привычной. Возникающий при этом визуальный дискомфорт от однообразия плоских крыш более низких зданий усиливает и неприятное чувство «оторванности» от земли. Это одновременно сказывается и на впечатлении от общего эстетического облика города.

Итак, экономика градостроительства (рациональное использование городских земель), оздоровление городской среды, тесно связанное с экологией человека, наконец, проблемы социологические, вплоть до задач трудоустройства населения и решения продовольственной программы, - все это стало предпосылкой исследований и экспериментального строительства озелененных крыш в наше время.

Следует признаться, что в этом вопросе мы значительно отстали от зарубежных ландшафтных архитекторов. Первый крупный сад на крыше пятиэтажного гаража площадью 1,2 га был создан в США еще в 50-х годах; в ФРГ в настоящее время осуществляется массовое строительство так называемых «травяных крыш» и уже стали привычными целые поселки из таких домов; можно назвать множество примеров скверов и парков, созданных на искусственных основаниях, в том числе над транспортными магистралями и на крышах небоскребов. В зарубежной терминологии прочно укрепился термин «ландшафт крыш» («roofscape»).

В Советском Союзе исследования по размещению различных типов «висячих» садов в структуре жилого дома, по озеленению крыш и фасадов зданий велись давно, но только в последнее десятилетие было построено несколько экспериментальных зданий, в которых на практике проверялись разные аспекты проблемы.

В качестве примера можно рассмотреть два объекта, построенных в различных климатических зонах СССР - Белоруссии и Узбекистане.

Сад на крыше 16-этажного жилого дома в Минске был построен в 1976 г. (арх. Г. Сысоев, инж. Н. Тюшко). Здание состоит из двух блоков в 14 и 16 этажей. На крыше первого из них размещен двухуровневый сад на террасах, соединенных лестницей. В центре верхней террасы предусмотрен проем, через который освещается нижняя терраса. Парапеты с бетонными цветочницами обеспечивают безопасность, не мешая обзору. С севера террасы защищены от ветра стеной технической надстройки 16-этажного блока, и весь сад воспринимается снизу как архитектурное завершение здания. Растения, в том числе деревья и кустарники размещены на обеих террасах в бетонных вазах и контейнерах.

В течение нескольких лет проводились исследования особенностей микроклимата и эксплуатации висячего сада (регулярные замеры температуры воздуха, скорости ветра, относительной влажности). Материалы метеорологических и социологических обследований, а также наблюдения за растениями были обработаны методами математической техники. Установлено, что микроклимат на озелененной крыше незначительно отличается от микроклимата на уровне земли: скорость ветра, например, оказалась в среднем лишь на 10 % выше, благодаря ветровой тени от парапетов и стены технической надстройки, размещенной с наветренной стороны. Температура воздуха в саду на крыше в среднем на 0,5 °С ниже, чем на земле, причем вследствие инверсии теплого воздуха в вечерние часы даже выше, чем на земле (летом на 1 °С, зимой на 0,1 °С). Это позволило сделать вывод о целесообразности использования озелененных плоских крыш для отдыха населения в условиях Белоруссии.

Социологическим обследованием было установлено, что в летние месяцы сад на крыше ежедневно посещает 9 % жильцов дома, причем, относительная частота посещений жильцами верхних этажей составляет 15 %, нижних - 6 % и заметный рост посещаемости начинается с 10 - 11 этажей. Наиболее частыми посетителями являются дети и молодежь; люди среднего и пожилого возраста в сад приходят реже, мотивируя это страхом перед высотой, предвзятым мнением о сильном ветре и т.д., хотя те, кто побывал в саду, быстро меняют свое мнение. Средняя продолжительность пребывания в саду в летнее время составляет около часа. Основные формы отдыха - беседы, игры, обзор панорамы города, зимой - прогулки. В среднем посещаемость сада-крыши жилого дома находится на уровне посещаемости обычных садов. Поскольку конкурирующим фактором служит лесной массив, находящийся в трехстах метрах от жилого района, можно сделать вывод, что в другой ситуации посещаемость может быть и выше, особенно жильцами верхних этажей.

Таблица 1

Распределение посетителей сада по формам отдыха и возрастным группам (лето 1978 г.) (по И. Соскову)*.

Форма отдыха

Число посетителей, %

Всего

В том числе

Дети до 14 лет

Молодежь 15 - 25 лет

Взрослые 26 - 55 лет

Пожилые старше 55

Беседы

41,6

13,6

23,2

4,6

0,2

Игры

22,8

20,3

2,5

-

-

Обзор панорамы

20,7

8,3

7,2

5,0

0,2

Прогулки

9,5

5,8

-

3,3

0,4

Прочие формы

5,4

-

2,4

3,0

-

Итого

100,0

48,0

35,3

15,9

0,8

* - Сосков И. Микроклимат и эксплуатация сада на крыше высотного жилого дома. «Известия вузов», № 5, 1983. С. 57 - 61.

В новых для них условиях были проверены на морозостойкость породы деревьев: береза бородавчатая, клен ясенелистый, ель колючая. Они оказались наиболее выносливыми. Среди кустарников наиболее перспективны облепиха крушинная, кизильник блестящий. Эти растения переносят сильное промерзание корневой системы. На основе проведенных исследований были разработаны рекомендации по устройству садов на искусственных основаниях в условиях Белоруссии.

К необходимости активного включения растений в структуру высотного жилого дома и создания сада на крыше пришли и ландшафтные архитекторы Узбекистана. Традиционной чертой национального жилища в этой южной республике была ориентация всех помещений малоэтажного дома на внутренний дворик - патио, связь комнат с этим открытым озелененным пространством.

После землетрясения 1966 г. для быстрого восстановления жилья большая часть строительства осуществлялась по типовым проектам, и жители Ташкента переселились в многоэтажные здания. Это нарушило привычный для людей масштаб окружающей среды, ограничило и осложнило связь с землей. Авторы экспериментального проекта (арх. О. Айдинова, Г. Голубева, Е. Шаталов, А. Шамузафаров, инж. П. Левин, Я. Арадовский) предложили помимо устройства сада на крыше введение в структуру дома озелененных рекреационных площадок в уровнях 2, 5, 8, 11 и 14-го этажей, на каждую из которых выходят 24 квартиры, размещенные вдоль дугообразных галерей.

В торцах каждой из площадок устроены бетонные стенки двухметровой высоты, завершающиеся цветочницами с вечнозелеными и вьющимися растениями. Защищая площадки от излишнего ветра, они, тем не менее, не мешают необходимому проветриванию. Летом почти отвесные лучи солнца проникают вглубь площадок на 3 - 5 метров. Зимой они освещаются значительно больше - на глубину 15 - 20 метров и при этом даже в дождливую погоду остаются практически сухими. Такой инсоляционно-ветровой режим способствует созданию благоприятного микроклимата: летом сохраняется ночная прохлада, столь важная для южных районов, зимой же значение площадок для игр детей даже возрастает.

Шестая рекреационная площадка, общая для всех жильцов дома - крыша с бассейном, солярием, спортивным и игровым оборудованием. Двенадцать вентиляционных шахт одновременно служат теневыми навесами со скамьями. Высокий парапет и цветочницы ограждают детей от излишнего интереса к внешней среде, но при этом сквозь декоративные решетки можно любоваться панорамой города.

В последние годы в нашей стране ведутся активные поиски новых приемов введения растений в структуру зданий, особенно жилых.

В проектах жилых домов для новых районов страны определился даже новый тип дома - «висячий сад» (арх. Г. Полторак, г. Душанбе). В лоджиях, имеющих высоту в два этажа, предусмотрены специальные бункера для посадки деревьев, кустарников и лиан. В аналогичном проекте для г. Ашхабада небольшие сады предусмотрены на всех этажах жилого дома галерейного типа.

Такие же общественные сады в структуре жилых домов уже осуществлены в столице Грузии. В жилом доме по улице Чавчавадзе, размещенном на крутом рельефе, два этажа здания представляют собой открытое рекреационное пространство длиной 120 и шириной 11 метров. Другой композиционный прием использован в группе жилых домов на набережной реки Куры. Лестничные площадки заканчиваются открытыми «микросадами» площадью 60 квадратных метров, рассчитанными на отдых жильцов двух этажей.

Известны озелененные крыши общественных зданий, построенных в послевоенные годы, в основном санаториев и пионерских лагерей, где их используют как солярии (например, санаторий «Приморье» на Черноморском побережье Кавказа). Террасная архитектура таких зданий продиктована природным рельефом. Интересен также сад на крыше подсобных помещений и зверинца в Сочинском цирке (арх. Ю. Шварцбрейм и В. Эдемская). Во время антрактов зрители прогуливаются над внутренним двориком комплекса, рассматривая цветущие растения, высаженные в контейнеры среди декоративного мощения.

Ленинградские архитекторы повторили в новом качестве идею висячего сада Эрмитажа, использовав ее в архитектуре городского аэропорта, в форме низких круглых цветников из полиантовых роз. Стены помещений, выходящие на крышу, увиты диким виноградом. Небольшой по площади сад на крыше служит дополнительным местом отдыха для пассажиров.

К сожалению, перечисленные примеры пока единичны и даже проекты зданий, предусматривающие устройство садов на крышах, в нашей стране чаще можно увидеть на конкурсах. Чем можно объяснить такое положение?

Годы отечественной истории, когда в условиях жесткой экономии предпринимались попытки ликвидации жилищного кризиса, привели не только к упрощению архитектурно-конструктивных решений плоских крыш, но практически исключили их эксплуатацию. И хотя термин «эксплуатируемая кровля» в официальном нормативном документе СНиП II-26-76, ч. II, гл. 26 существует, но там «кровля» определяется как один из элементов покрытия, выполняющий функцию гидроизоляции и, следовательно, не может эксплуатироваться отдельно. Заметим, что для этого нужно иметь и пол, который в том же документе фигурирует только как «защитный слой», в то время как он должен представлять собой особую конструкцию. Очевидно, что из такого определения выпали самые существенные свойства эксплуатируемых крыш - функциональные, эстетические и композиционно-планировочные. Конструктивные же и технические характеристики тоже оказались неполными, и трактовка задач проектирования крыш-садов выглядит поэтому односторонней. Возможно, именно благодаря этому противоречию и распространилось мнение об озеленении крыш как об очередном излишестве в архитектуре, в борьбе с которыми в то время уделялось особое внимание.

Между тем, ссылки на большой дополнительный вес конструкций перекрытия в связи с устройством садов на крышах, невозможность использовать стандартные панели или особую сложность устройства гидроизоляции в новых условиях, и особенно с развитием монолитного железобетона и созданием облегченных синтетических материалов, оказываются несостоятельными. По-новому и шире взглянуть на проблему садов на крышах заставляет резко ухудшившаяся экологическая ситуация и дефицит свободных территорий в городах. Поверхность эксплуатируемых крыш фактически дублирует территорию на уровне земли, а устройство садов на искусственных основаниях становится новым типом архитектурно-ландшафтной организации городской среды, способным оптимизировать функциональные, микроклиматические и санитарно-гигиенические параметры наших городов.

Именно поэтому задача разработки научных основ проектирования садов на крышах, так же как продолжение экспериментальных исследований существующих объектов, представляется сейчас особенно актуальной. Наибольшего внимания при этом заслуживает использование достижений химии, растениеводства и автоматизация ухода за насаждениями. В проблеме возрождения в нашей стране эксплуатируемых крыш-садов можно выделить следующие направления научных исследований:

- архитектурно-конструктивное (разработка новых конструкций крыш на базе новых строительных материалов);

- ландшафтно-архитектурное (поиск и разработка новых функциональных и планировочных решений, освоение специфических приемов ландшафтной архитектуры таких садов, компоновка растений, мощение и т.п.);

- биолого-технические (исследование и выбор приемов выращивания растений на искусственных основаниях, в том числе с использованием гидропоники, выбор ассортимента и селекция растений, их испытание в разных условиях и на разных уровнях, автоматизация ухода за насаждениями и пр.).

Сады на крышах, так же как вертикальное озеленение фасадов - вся эта «климатообразующая» архитектура, безусловно, должна занять достойное место в экологии жилой среды наших городов.

ПРИЛОЖЕНИЕ 3

ОБЗОР ПАТЕНТНОЙ ИНФОРМАЦИИ

Настоящий патентный обзор по разделу «Озеленение крыш» составлен на основании обработки ретроспективного и текущего патентного фонда Всесоюзной патентно-технической библиотеки.

Цель данной работы - выявление состояния и перспектив развития различных конструктивных и технологических решений, связанных с озеленением крыш.

Как показал анализ патентных материалов, наибольшее количество патентов в данной области принадлежит германским фирмам. Фирмы Германии являются ведущими в области патентования решений, направленных на создание эксплуатируемой кровли. Многие патенты Германии защищены в качестве Европейских патентов и на них выданы патенты РСТ (международные заявки), что свидетельствует о европейском признании изобретений Германии.

Конструктивных отечественных патентов в рассматриваемой области не обнаружено.

Анализ патентных материалов показал, что патенты, относящиеся к озеленению крыш, условно можно разделить по следующим направлениям:

- озеленение плоских, наклонных, волнистых и черепичных крыш;

- почвонесущая система для озеленения;

- субстраты (структурная среда) для выращивания растений;

- дренажные элементы;

- готовые элементы с растительностью, укладываемые на озелененные крыши. Однако это разделение весьма условно, т.к. большинство технических решений может быть отнесено одновременно к нескольким вышеперечисленным направлениям.

Следует отметить, что анализ патентной информации позволил сделать вывод, что наиболее важным из рассматриваемых являются два направления: растительный субстрат для озеленения крыш и дренажные элементы.

Остальные ключевые вопросы при создании конструкции инверсионной кровли (повышенные требования к утеплителю, гидроизоляции) освещены в патентной литературе как конструктивные решения кровли безотносительно к озеленению, что является предметом самостоятельного обзора.

Обзор и систематизация сведений по вопросам, касающимся патентных разработок в области озеленения крыш, которые до настоящего времени не проводились, могут быть использованы при создании новых отечественных конструкций, а также при ознакомлении инженеров и архитекторов с запатентованными решениями в данной области.

Поиск патентных материалов проведен по следующим классам международной классификации изобретений (МКИ): E04D11/00 - кровли, состоящая из различных материалов; A01G9/00 - выращивание цветов и растений; С05 - составы и смеси для удобрений.

В том случае, если у пользователя возникнет необходимость получения полного описания к конкретному патенту, а также вопросы по порядку использования патентов в отечественных разработках, следует обратиться к составителю обзора.

ОЗЕЛЕНЕНИЕ ПЛОСКОЙ КРОВЛИ

Конструктивные решения, относящиеся к озеленению плоских кровель, в основном, определяют расположение слоев покрытия.

В процессе патентного поиска выявлены следующие наиболее интересные решения:

1. Европейский патент № 0047365, МКИ E04D11/00, 1981 г. «Покрытие плоской кровли с фиксируемым основанием под озеленение».

В патенте разработано покрытие с фиксируемым основанием для размещения растительного грунта на озеленяемых плоских кровлях 10. Оно включает в себя первый верхний трехмерный фиксирующий слой 16, состоящий из переплетенных друг с другом в форме решетки волокон и прядей и обеспечивающий высокую стабильную фиксацию конструкций. Между волокнами и прядями имеются достаточные полости 20 для размещения растительного грунта и корней. Для укладки растительного грунта предусмотрен подстилающий слой 18, состоящий из водопроницаемых упрочненных фильтрующих матов, на котором крепится волокнистый фиксирующий слой 20. Кроме того, конструкция покрытия включает в себя второй фиксирующий слой 22, размещаемый под матами и используемый в качестве дренажа.

Толщина первого фиксирующего слоя соответствует половине толщины слоя насыпаемого растительного грунта. Фиксирующий слой состоит из плетенных и потканных полимерных волокон и прядей.

2. Европейский патент № 0207503, МКИ A01G9/00, 1986 г. «Озеленение плоской крыши».

Для озеленения свободной от растительности поверхности, например, плоской крыши, разработана фасонная деталь для применения в садоводстве. Фасонная деталь, которая укладывается на водонепроницаемое основание 7 плоской поверхности, выполнена в виде решетки 1. Детали 2, 4 выполнены из естественного органического материала, преимущественно из древесноволокнистого материала, который задерживает влагу и образует основание для растительности. Благодаря этому на песчаной смеси, нанесенной на детали 2, 4, может хорошо расти растительность.

3. Заявка Германии № 35297/17, МКИ E04D11/00, 1987 г. «Озеленение плоских крыш».

Для озеленения плоских крыш, террас и других подобных конструкций зданий по соответствующим строительным элементам, например по кровельному ковру, накладывается слой полимерной пленки, изолирующей прорастание корней. В соответствии с уровнем технологии эта операция требует незначительных предварительных работ и затрат материалов. При этом, озеленение кровли осуществляется с минимальными затратами, дешево, просто и их последующая эксплуатация не требует затрат. При этой технологии для озеленения крыш предлагается использование субстрата, состоящего из смеси, преимущественно содержащей минеральные легкие строительные материалы, например лаву, керамзит или пемзу с размерами частиц от 3 до 16 мм. Кроме того, субстрат содержит семенные материалы и удобрения. Содержащиеся в субстрате семенные материалы должны быть послойно укрыты удобрениями.

1 - разделительный пласт; 2 - противокорневой слой; 3 - защитный слой; 4 - зажимной профиль; 5 - обочина; 6 - разделительный холст; 7 - растительный субстрат; 8 - поверхность крыши; 10 - несущая поверхность; 11 - боковая стенка.

4. Заявка Германии № 4120777, МКИ E04D11/00, 1992 г. «Плоская крыша».

В заявке описывается улучшенная плоская крыша, включающая в себя располагаемые друг над другом в следующей последовательности: покрытие кровли 1, защитные маты 2 и кровельный гидроизоляционный материал 3. В другом варианте по покрытию кровли размещается кровельный гидроизоляционный материал и грязевые маты. Грязевые маты состоят из формованного текстильного материала, имеющего прочность на сжатие более 0,01 Н/мм2, объемный вес по меньшей мере 7 кг/м3 и толщину от 3 до 33 мм.

В патентных материалах имеются разработки, относящиеся к кровлям, состоящим из двух и более соединенных слоев, один из которых является водонепроницаемым.

Конструкция крыши разработана таким образом, что предусматривает возможность нанесения субстрата 8 и выполнения озеленяемой крыши.

5. Франция, патент № 2671121, МКИ E04D11/00, 1992 г. «Панель покрытия плоской крыши, образующей опору для выращивания растений».

В патенте предложена панель покрытия плоской крыши или другой верхней части конструкции, образующей опору для выращивания растений. Панель отличается тем, что она содержит опору 1 из пластмассы, имеющей небольшой удельный вес. Эта опора представляет собой конструкцию, образующую большое количество отдельных емкостей или ячеек 2, расположенных рядом. Эти ячейки преимущественно выполнены одинаковыми и симметричными. Каждая ячейка открыта в своей верхней части 3 и закрыта в нижней части днищем 4, имеющим, по меньшей мере, одно узкое отверстие 11 для удаления избытка воды, подаваемой к панели. Ячейки заполнены органической основой 6 для питания корней 17 растений 16, посаженных в слой чернозема 15. Верхняя часть панели изолирована от земли слоем 13 текстильного материала, препятствующего подъему воды, содержащейся в органической основе, но не мешающего стоку воды в обратном направлении к указанной органической основе.

6. Германия, заявка № 3636771, МКИ E04D11/00, 1988 г. «Озеленение крыш»

Изобретение, защищенное патентом Германии, относится к озеленению крыш и предусматривает наличие устройства для независимого орошения, которое расположено между гидроизоляцией и растительным слоем и состоит из холста и каналов орошения, выполняемых в холсте или под ним.

1 - Бетонный свод; 2 - Уплотняющая (герметизирующая) прокладка; 3 - Слой стекловолокна; 4 - Гибкая трубка; 5 - Корневой мат; 6 - Растительный слой; 7 - Прорезь (паз) в гибкой трубке 4; 8 - Металлический обруч.

7. Япония, патент № 6104016, МКИ A0G9/02, 1998 г. «Конструкция, обеспечивающая зеленые насаждения на крыше здания».

Конструкция выполнена следующим образом:

На верхней поверхности крыши 11 здания установлены боковые опорные элементы - гнутые L-образные профили 1 с горизонтальным участком 4 дна и вертикальной стенкой 5. Профили образуют определенное внутреннее пространство 13, которое образовано стенками 5. Противоположные стенки 5 соединены тягами. Пространство 13 заполнено грунтом S, в который посажены деревья Т.

8. Международная заявка РСТ WO97/01687 «Многослойный вегетационный элемент»

Элемент 10 предназначен для покрывания больших поверхностей кровли и имеет несколько индивидуальных слоев, скрепленных между собой 22. Нижний слой выполнен из пористого нетканного материала 12, следующий слой выполнен из минерального волокна 16. Затем следует растительный слой 18 из семян растений. Сверху растительного слоя расположен защитный слой 20.

9. Германия, заявка № 19501209, МКИ A01G7/08, 1996 г. «Способ озеленения крыши»

Для предупреждения проникновения корней в крышу разработан способ озеленения крыш путем уплотнения материала крыши с последующей укладкой дренажного слоя 5, фильтрующего слоя-ковра 6, почвы 7 и растения 8 с корневой системой. В почву закладывается водонепроницаемый поддон 9, на поверхности которого может нарастать корневая система. Поддон заполняется почвой. В поддон с почвой высаживаются растения или разводятся в нем. После прореживания поддон 9 вместе с растениями 8 и почвой 7, которая пронизана корневой системой, извлекается и накладывается на слой-ковер 6.

10. Германия, заявка № 4400372, МКИ E04D11/00, А01G7/00, 1995 г. «Защитный покров для озеленяемой крыши»

Изобретение относится к защитному настилу для озеленяемых крыш и предохраняет крышу от проникновения корней.

Настил выполнен из размельченного строительного мусора. Приводится вариант выполнения настила из строительного мусора и грунта. Плотность настила должна составлять, по меньшей мере, 1 г/см3, преимущественно 1,5 г/см3, водопоглощающая способность составляет не более чем 10 весовых %, преимущественно 5 весовых %.

В патенте приведены процентные соотношения компонентов предлагаемого в качестве настила материала.

11. Германия, заявка № 4405063, МКИ A01G7/00, C05G3/00; E04D11/00, 1995 г. «Надстройка для озеленения»

Разработана надстройка, включающая, по меньшей мере, одно водонепроницаемое основание 1, на котором размещены уплотнитель 7, защитный слой 8 и субстрат 4 для озеленения плоских поверхностей, в особенности крыш.

Данное конструктивное решение обеспечивает при незначительном водопоглощении субстрата 4 непроницаемость поверхности 2, которая сбоку защищена выравнивающим слоем 5.

12. Европейский патент ЕР0575940, МКИ E04D11/00, 1993 г. «Растительное покрытие для плоских крыш»

Растительное покрытие для плоских и слабо наклонных крыш состоит из противокорневого слоя 2, положенного на крышу, дренажного слоя из сборных пластин 3, разделительного водопоглощающего слоя 5, который покрывает сборные пластины 3, а также растительного слоя 6.

Сборные пластины 3 образованы из пеноматериала с удельным весом от 80 до 120 кг/м3.

ОЗЕЛЕНЕНИЕ НАКЛОННЫХ (СКАТНЫХ) КРЫШ

Патенты, относящиеся к озеленению наклонных крыш, в основном направлены на решение задачи предотвращения сдвига конструкции по наклонной кровле.

1. Германия, заявка № 4216476 МКИ E04D11/00, 1993 г. «Озеленение наклонных крыш, покрытых асбоволокнистыми плитами»

Разработана технология озеленения наклонных крыш, покрытых асбоволокнистыми плитами. Озеленение наклонных крыш, покрытых асбоволокнистыми плитами при уклоне менее 10 ° по традиционной технологии не выполнимо, так как дополнительные нагрузки от грунта, растительности и подлежащих конструктивных слоев для устройства озеленения могут перегружать кровлю и ведут к нарушению ее надежности.

Решение проблемы найдено благодаря уменьшению изгибающих напряжений по принципу, известному из теории плит. Данный принцип гласит, что граничные зоны плит, используемые для опирания дополнительных конструкций, можно усилить при помощи наклеивания ребер жесткости. Тем самым обеспечиваются резервы для дополнительных нагрузок, возникающих от массы самого усиления, слоя грунта, растительности, изоляционных слоев. С другой стороны появляется возможность использования для озеленения крыш быстрорастущих вечнозеленых сортов растительности, например зеленчука, которые требуют достаточно толстого слоя грунта (лесной грунт с гумусом).

При этой технологии фактическое давление на кровлю не превышает допустимого и обеспечивается надежное устройство озеленяемой крыши. Область применения данной технологии ограничивается зданиями с асбоволокнистым покрытием с уклоном менее 10 °, которые стоят в полутени. К ним относятся гаражи, вспомогательные сооружения, складские здания и бунгало.

1 - Опорная балка; 2 - Усилительное ребро (элемент жесткости высотой от 5 до 10 см); 3 - Стабилизирующая выемка; 4 - Древесная перекладина; 5 - Земляная крыша; 6 - Отверстие; 9 - Земляная растительность; 10 - Несущая поверхность; 11 - Фильтрующая зона; 12 - Волнообразная асбестовая крыша; 14 - Фильтрующая зона.

2. Европейский патент № 0045376, МКИ E04D11,00, 1981 г. «Покрытие для озеленения наклонных (скатных) крыш»

Разработано специальное покрытие скатной крыши для озеленения наклонных (скатных) крыш. Покрытие для озеленения устраивается по традиционному покрытию, выполненному при помощи несущих конструкций и водонепроницаемого ковра. Покрытие для озеленения включает в себя верхний слой S, предназначенный для посадки зеленой растительности. Оно предусматривает также использование независимой от кровельного ковра устойчивой к гниению удерживающей конструкции 10 с фиксирующими выступами 12, 14, позволяющими предотвратить сдвиг конструкции по наклонной кровле. В состав покрытия входит нижний раздельный дренаж, маты с верхними фиксирующими выступами, которые одновременно являются верхней границей дренажа.

Фиксирующие выступы раздельно соединяются с фильтрующими матами непосредственно или через промежуточное звено. Выступы представляют собой фиксирующие петли, штыри, стыки, перегородки, ребра или подобные им устройства. Фиксирующие выступы объединяются с волокнами и прядями подлежащего слоя. Маты с фиксирующими выступами изготовлены из полимерных моноволокон, включают в себя трехмерное плетеное изделие или ткань с волокнами или прядями, которые имеют хаотичное переплетение волокон и прядей.

3. Германия, заявка № 4124448, МКИ E04D11.00, 1993 г. «Несущая конструкция для озеленения крыш»

В конструкции для озеленения крыши предусмотрены элементы, препятствующие сползанию грунта. Продольные балки 1 проходят на расстоянии одна от другой в направлении наклона крыши, составляющего более 25 °, предпочтительно до 45 °, и фиксированы от сползания. На балках 1 на расстоянии одна от другой закреплены перпендикулярные им поперечные балки 2, которые препятствуют сползанию грунта, уложенного в образованных таким образом прямоугольных полях 3.

4. Германия, заявка № 3511002, МКИ E04F13/08, 1986 г. «Решетка для озеленения вертикальных и круто опускающихся поверхностей»

В патенте Германии представлена специальная решетка для озеленения круто опускающихся поверхностей, которая содержит опорную конструкцию 2 для грунта, проходящую лишь по части ширины b пространства, ограниченного решеткой 1.

5. Германия, заявка № 19731803, E04D11/00, 1999 г. «Ограждения озелененных наклонных крыш»

В патенте предусмотрено защитное ограждение 1, которое изготовлено из прессованного эластомера. Ограждение предназначено для замены применяемых в настоящее время предохранительных конструкций из бруса, которые подвержены гниению.

Устройство обеспечивает возможность отказаться от имеющих большие размеры отбортовок крыши. Последние должны воспринимать все усилия сдвига, действующие на обычные предохранительные конструкции из дерева, т.к. они не соединены с конструкцией крыши. Это стало возможным потому, что устройство 1, благодаря автоматической герметизации при креплении и различным дополнительным мерам, обеспечивающим соединение, можно привинчивать непосредственно на существующую конструкцию крыши, не нарушая при этом ее герметичность.

6. Международная заявка РСТ 98/42176, E04D11/00, 1998 г. «Элемент вегетации для озелененных крыш, имеющих выпуклости и впадины»

Изобретение связано с вегетационным элементом 10 для ландшафтных крыш, выполненных с впадинами 3 и выпуклостями 4, особенно для крыш, выполненных в виде волнистого кровельного материала 2. Вышеуказанный элемент крепится к крыше 2 и таким образом удерживается.

Изобретение характеризуется тем, что вегетационный элемент 10 имеет несколько опор 20, которые располагаются параллельно друг другу и установлены независимо друг от друга. Опоры связаны друг с другом посредством опорного слоя 60 в виде сетчатой конструкции, установленной на поверхностях вышеупомянутых вегетационных опор 20.

Вегетационные опоры состоят из тела вегетации 30, отвода 40, прикрепленного к нижней стороне вышеупомянутого тела и основы для семян 50, содержащей семена, размещенные между верхом тела вегетации и опорным слоем. Углубления крыши могут заполняться вегетационными опорами 20.

7. Германия, заявка № 4124215, МКИ E04D1/02, 1992 г. «Засаживаемая растениями кровельная черепица»

В выполнении кровли из черепицы (10) в последней предусмотрено отверстие для стебля растений. Под черепицей предусмотрена емкость для корней. Емкость для корней также может иметь отверстия для стебля и предусмотрен вариант ее расположения над черепицей. Также емкостью для корней с отверстием для стебля может быть снабжена сама черепица.

СУБСТРАТЫ ДЛЯ ВЫРАЩИВАНИЯ РАСТЕНИЙ

Большое внимание в патентной информации уделяется разработке субстрата для озеленения крыш.

Среди патентов, относящихся к данному направлению, наибольший интерес представляют следующие запатентованные решения:

1. Европейский патент № 677242, МКИ A01G1/00, 1998 г. «Вегетационный субстрат и система вегетации для озеленения»

В патенте защищен вегетационный субстрат 22 и система вегетации 16, 18, 20 для озеленения крыш и других искусственных поверхностей 12 растениями 24.

Субстрат 22 содержит материал 26 на основе углеродосодержащих веществ. Материал предназначен для адсорбции и/или разрушения вредных веществ и/или преобразования их в безвредные вещества. К субстрату 22 добавляются такие микроорганизмы 28, которые предназначены для разложения определенных вредных веществ и/или для их преобразования в безвредные вещества; с помощью этого, кроме эффекта озеленения крыш, можно разлагать вредные вещества в окружающем воздухе.

2. Европейский патент № 0480378, МКИ E04D11/00, 1991 г. «Структурная среда для выращивания растительности и водонепроницаемая система, улучшающая условия размещения растительности на крыше»

Патент относится к конструкции для культивации зеленых растений и ее установке на здании. Конструкция состоит не менее чем из трех слоев 1, 2, 3 из синтетического пластикового материала, при котором верхний слой 1 для торфа, средний слой 2 для защиты корневой системы и нижний слой 3 для дренирования. В соответствии с другим аспектом данного изобретения предусмотрен метод гидроизоляции для такой установки, т.е. гидроизоляционный слой, блокирующий корни, настилается на поверхность плиты крыши 21 для гидроизоляции здания и для защиты против разрастания вниз корней. Сетка 4 также накладывается поверх торфа с тем, чтобы защитить его от повреждения ветром и защиты против концентрации нагрузок.

Изобретение позволяет осуществить культивацию торфяного слоя на крыше так, что по нему можно благодаря сетке ходить и, кроме того, помогает предотвратить повышение температуры в помещениях под крышей путем установки экрана от солнца.

3. Международная заявка РСТ 95/04166, 1996 г. «Субстрат для озеленения ровных или наклонных поверхностей»

Субстрат предназначен, в основном, для озеленения крыш и содержит, по меньшей мере, один верхний слой 2 из почвы, гумуса или подобного материала. Нижний слой 1 выполнен из повторно используемого волокнистого материала, который уже пропитан и отформован с помощью связующего. Последнее может уже присутствовать в материале или дополнительно добавляться в него.

4. Заявка Германии № 3507563, МКИ E04D3/32, 1986 г. «Несущая плита для растительного субстрата»

Несущая плита для растительного субстрата, предназначенного для озеленения кровли, включает гидроизолированную влагонакопительную ванну из пенопласта. Свободное внутреннее пространство ванны разделено несколькими параллельно расположенными перегородками в виде выступов или ребер 12, 13, доходящих до верхней стороны плиты, на ровное число пролетов 8. Расстояние между ребрами и свободное расстояние между ними не превышает ширины большого пальца руки. В каждом пролете 8 расположен фитильный язычок. Фитильные язычки опираются на выступы и частично входят в зазоры между ребрами.

Язычки покрыты полотном озеленения (водоснабжающим холстом) согласно патенту Германии Р 3502296.

5. Германия, заявка № 3535448, МКИ E04D11/00, 1987 г. «Несущая плита для растительного субстрата для озеленения крыш»

Несущая плита для растительного субстрата для озеленения крыш представляет собой сплошную влагоаккумулирующую ванну из пенопласта, свободное внутреннее пространство которой разделено на отдельные поля параллельными перегородками и заполнено выступами или ребрами любой формы, доходящими до верхней стороны плиты. Расстояние между ребрами и свободное расстояние между ними не превышает ширины большого пальца руки. На ребра опираются частично входящие в промежутки между ними фитили и закрывающий их водоснабжающий холст согласно патентам Германии (NP 3502296 и Р 3507563).

Верхняя сторона верхнего и нижнего крайних 1, 2 и средних 3, 3… перегородок плиты 4 содержит проходящие в направлении попадания воды сливные желобы 6, 6… На верхнюю крайнюю перегородку 1' примыкающей к линии 7 конька плиты 4', укреплена часть проходящей параллельно линии 7 сплошной трубы 8 с отверстием 9 для выхода воды на каждую плиту, которую по необходимости заполняют водой.

6. Европейский патент № 0204883, МКИ A01G9/10, 1986 г. «Несущая плита для субстрата, служащая для озеленения крыши»

При помощи несущей плиты независимо обеспечиваются дренаж и орошение. Конструкция достаточно проста и дешева, не требует дополнительных средств на обслуживание. Одновременно она служит и в качестве высокоэффективной теплоизоляции кровли.

Высокопрочные несущие плиты для субстрата изготавливаются из водонакопительных ванн из пенопласта. Эти ванны разделены промежуточными перегородками одинаковой высоты на равные зоны. Кроме того, в этих зонах предусмотрены водоотводящие каналы, соединенные с сетью мелких каналов.

7. Европейский патент № 0226701, МКИ A01G9/00, 1992 г. «Размещение субстрата на озеленяемых крышах, а также способ и технология его производства»

Несущая плита для субстрата предусматривает открытые сверху водонакопительные камеры 6, засыпаемые водопоглощающим пористым наполнителем. В основании водонакопительных камер имеются отверстия 7 для стока воды, проходящей через наполнитель вниз в зону дренирования.

Наполнитель для водонакопительных камер предпочтительно изготавливать из вспененных материалов и при помощи дозирующих и смесительных головок, которые используются на вспенивающих установках, непрерывно подавать на несущую плиту.

8. Германия, заявка № 19630830, МКИ A01G7/00, 1996 г. «Озелененная без применения субстрата крыша и способ ее озеленения»

Для осуществления озеленения крыши без применения субстрата покрытие выполняется из эластичного материала, которое является корнеобитаемым слоем 2. Последний укладывается на кровельное покрытие 1 здания. На корнеобитаемом слое 2 свободно лежит верхний слой 3, удерживающий растения 5.

В корнеобитаемом слое 2 размещена система снабжения растений водой в виде распределительного трубопровода 7 и форсунок 8, которые соединены с резервуаром воды 11 через насос. Регулирование системы обеспечивает наличие в корнеобитаемом слое 2 постоянной водной пленки. В системе снабжения растений водой может использоваться дождевая вода с крыши. Слой 2 защищен панелями 6 (их массой) от сноса ветром.

9. Германия, заявка № 3442134, E04D11/00, 1986 г. «Система для озеленения крыши»

Для озеленения крыши может быть использована слоистая система, которая состоит из нескольких слоев, уложенных один над другим на кровельное покрытие. Снизу вверх расположены, по меньшей мере, один слой, защищающий корни, водопроводящий слой, покрывающий слой и слой земляного субстрата.

Покрывающий слой 6 состоит из фильтрующего мата 9 и допускающего диффузию, прочного на разрыв полотна из водо- и кислотостойких синтетических волокон, а также из пленки 10 из плотной, водо- и кислостойкой, неразбухающей пластмассы. Пленка снабжена мелкими отверстиями.

10. Япония, патент № 6002014, МКИ A01G31/00, 1994 г. «Слоистый питательный грунт для выращивания растений и способ выращивания растений с использованием этого грунта»

Питательный грунт, который размещают на крыше здания или балкона, образован основой из синтетического волокна, имеющего различную плотность в направлении его толщины.

Питательный грунт состоит из слоя 1 для выращивания растений из семян. Верхняя часть этого слоя имеет среднюю плотность. Под слоем 1 для выращивания растений расположен слой 2, который обладает высокой влагоудерживающей способностью и создает благоприятные условия для развития и защиты корней растений. Средняя часть этого слоя имеет большую плотность волокна. Затем расположен водопропускающий слой 3. Этот слой обладает низкой влагоудерживающей способностью и служит для удаления лишней влаги из грунта, например, дождевой воды. Внутри грунта в горизонтальном направлении проложен трубопровод 7 для горячей воды. На самом верхнем слое питательного грунта размещена сетка 4 из синтетической смолы. Питательный грунт предусматривает наличие в нижнем слое грунта мата 5 из синтетической смолы, который не пропускает воду и служит противокорневой защитой.

В определенном месте грунта размещен датчик 8 температуры; на основе сигнала датчика 8 регулируют температуру грунта. При этом в случае повышения температуры грунта верхнего заданного предела в трубопровод 7 подают холодную воду, а в том случае, если температура грунта стала ниже нижнего заданного предела - подают горячую воду.

11. Япония, патент № 6002015, МКИ A01G31/00, 1996 г. «Слоистый питательный грунт для выращивания растений и способ выращивания растений с использованием этого грунта»

Разработка, защищенная патентом, аналогична вышеизложенному патенту Японии № 6002014. Однако трубы 7 могут быть выполнены с многочисленными небольшими отверстиями для подачи воды и жидкого удобрения. Корни растений не могут проходить через эти отверстия.

12. Германия, заявка № 4400372, МКИ E04D11/00, 1996 г. «Озеленяемое защитное покрытие кровли»

В заявке приводится состав материала для озеленяемого защитного покрытия кровли.

Так, согласно патенту материал может состоять из измельченного строительного мусора, смешанного с просеянным вынутым грунтом. Покрытие имеет плотность в пределах 1 г/см3 - 1,5 г/см3. Водопоглощающая способность покрытия должна быть не выше 10 %; оптимальным показателем является 5 %.

13. Германия, экономический патент № 281624, МКИ E04D11/00, 1990 г. «Зеленая крыша из вторсырья»

Крыша из вторсырья предусматривает использование отходов, которые образуют в сочетании с бетоном с монофракционным заполнителем вегетационный, фильтрующий и защитный слои, а также границу корнеобитания. Пропитанный питательным раствором краевой ковровый мат охватывает культурную почву при одновременном снижении напора воды. Отходы укладывают в виде предварительно изготовленных ящиков и после подготовки озеленяемых поверхностей крыши закрывают рулонным дерном. Сетчатые отходы текстильного производства обеспечивают в качестве фильтрующего слоя очистку и сток напорной воды через фунгицидный бетон, который за счет боковой вентиляции быстро сохнет и препятствует прорастанию корней. Волнистая нижняя поверхность бетона уплотняет мелкие отходы штамповочного производства, уложенные в качестве защитного слоя для высокополимерных полотнищ гидроизоляции, и отводит скапливающуюся воду по плоским желобам, по которым может ходить обслуживающий персонал.

ДРЕНАЖНЫЕ ЭЛЕМЕНТЫ

Большое внимание в патентной литературе уделяется решению вопроса дренирования и подпора воды в матах для озеленения.

1. Германия, заявка № 4220334 МКИ E04D11/00 «Озеленение плоских крыш»

При озеленении плоских крыш предусматривается наличие следующих слоев: изолирующего от прорастания корней, дренирующего слоя, водопроницаемого разделительного слоя и растительного слоя; предусматривается их простейшее устройство при повышенной способности к накоплению влаги. Дренирующий слой составляется из подготовленных плит из комбинированных шлаков со специфической объемной массой 80 - 120 кг/м3. Дренирующий слой покрывается разделительным, представляющим собой подходящие нетканые материалы.

2. Европейский патент № 0178382, E04D11/00, 1985 г. «Дренажный элемент»

Для устройства поверхностного дренажа для осушения верхних слоев при озеленении крыш разработана конструкция дренажного элемента. Дренажный элемент выполнен в виде устойчивого к сжатию листа 8 и имеет покрывающий слой 4 из тонкого гибкого водо- и воздухопроницаемого материала. Под ним располагается система водоприемных и водоотводящих каналов 2, 11, 14, выполненная при помощи перегородок 10 из высокопрочного легкого бетона. Покрывающий слой представляет собой материал в форме продольных матов, на нижней поверхности которых перегородки в поперечном к длине матов направлении на одинаковом расстоянии. Эти перегородки приклеены к матам. Перегородки выполнены из полос жесткого пенопласта и могут иметь прямоугольное, квадратное, трансцендальное или круглое поперечное сечение.

На перегородках выбраны пазы канальной формы, проходящие через всю их ширину, а на одном конце перегородки или на внешнем конце соответствующей перегородки имеют пазы по размерам, соответствующим половине сечения каналов.

3. Европейский патент № 0457157, МКИ E04D11/00, 1990 г. «Маты для озеленения, дренажа и обеспечения подпора воды»

Маты для озеленения, дренажа и обеспечения подпора воды служат для озеленения крыш, обеспечения дренирования и подпора воды. Маты изготавливаются из профильных высокопрочных полимеров. Они используются в качестве водоотводящей и орошающей подосновы для устройства озеленения крыш. Благодаря их многоканальной профильной конструкции образуются разделенные между собой подпорные камеры 1, в которые собирается дренирующая влага. На перегородках наклеена геотекстильная ткань 4, чтобы пустоты не заполнялись верхними слоями субстрата. Подпор воды внутри соединенных между собой подпорных камер осуществляется таким образом, что созданный растительный слой озелененной крыши сохраняется длительный период.

4. Заявка Германии № 3814142 МКИ E04D11/00, 1989 г. «Несущий слой для озеленения крыш»

Согласно патенту Германии несущий слой для озеленения крыш выполнен в виде полимерной пленки с водосточными отверстиями, которая покрыта сверху фильтрующим матом. В пленке путем глубокой вытяжки первые 4 и вторые 5 соответственно верхние и нижние углубления. При этом верхние углубления смещены в сторону относительно нижних углублений. Первые углубления полностью заполнены прочным на сжатие сыпучим материалом. Первые и вторые углубления 4, 5 имеют чашеобразную форму. Водосточные отверстия 1 смещены в сторону относительно углублений 4, 5. Фильтрующий мат 3 неподвижно закреплен на направленных вверх донышках углублений 5.

5. Европейский патент № 0339186, МКИ E04D11/00, 1989 г. «Несущий слой для озеленения крыш»

Несущий слой для озеленения крыши включает в себя слой полимерной пленки 2 с отверстиями 1 для стоков воды. Эта полимерная пленка сверху накрыта фильтрующими матами 3. Путем глубокой вытяжки в пленке образованы углубленные каналы 5. Эти каналы полностью заполнены прочным сыпучим материалом 6. Кроме того, пленка имеет малые боковые вторичные пазы. Между вторичными пазами устроены каналы для приема воды. Фильтрующие маты 3 укладываются фиксированно для предотвращения смещения.

6. Европейский патент № 0601396, МКИ E04D11/00, 1989 г. «Разворачивающееся дренажное полотно»

Дренажное полотно, которое выполнено в виде полосы, которую можно развернуть и создать дренажный слой, препятствующий возникновению эффекта капиллярности.

Дренажный элемент состоит из верхней водонепроницаемой полосы 13, на которую крепятся путем сцепления ячеистые полосы 11, выполненные из синтетического материала. Полосы крепятся через определенные расстояния и разворачиваются под прямым углом по отношению к продольному направлению покрывающего полотна 13. Между двумя полосами 11 образуется промежуточное пространство 14 в виде поперечных осушительных канальцев. Полосы 11, имеющие множество канальцев 12, разворачивают в процессе нанесения на покрытие под прямым углом поперек покрывающего полотна 13, при этом образуются открытые осушительные канальцы на уровне плоской поверхности полос 11. Осушительные канальцы имеют глубину меньше, чем высота полос 11. В поперечные осушительные канальцы выходят продольные осушительные канальцы 12, а полоса 11 опирается на покрывающее полотно 13 плоской поверхностью. Покрывающее полотно 13 приклеивается плоской поверхностью к полосам 11 в местах, расположенных между продольными осушительными канальцами.

ГОТОВЫЕ ЭЛЕМЕНТЫ ДЛЯ ВЫРАЩИВАНИЯ РАСТЕНИЙ

При озеленении крыш могут быть использованы готовые элементы с землей и растительностью, в том числе ящики для цветов.

1. Европейский патент № 0202346, E04D11/00, 1981 г. «Готовые элементы с растительностью, укладываемые на озеленяемые крыши»

Готовые элементы выполнены с жесткой несущей плитой из изоляционного материала, укладываемые на озеленяемые крыши. На верхней поверхности изоляционной плиты предусматривается структурный слой, служащий основой субстрата, при этом структурный слой является составной частью изоляционной плиты.

В состав структурного слоя входит монолитная плита, соединенная с изоляционной плитой, и усиленные маты из нейлона. Маты из нейлона приклеены к изоляционной плите при помощи диффузионной клейковины или механически соединены с ней. При этом структурный слой включает в себя нетканый материал, соединяемый с несущей плитой, а также предусмотрено наличие одного или нескольких слоев проволочной сетки.

Изоляционная плита состоит из прессованного полистирола, а на боковых сторонах изоляционной плиты выполнены ступенчатые фальцы, например, шпунт и гребень для соответствующего соединения. Субстрат может быть проращен травой, мхом или подобной растительностью.

2. Германия, заявка № 3607772, E04F13/00, 1986 г. «Озеленяемые элементы с землей»

Озеленяемые элементы с землей предназначены для озеленения фасадов, крыш, служат в качестве столбов, колонн и перегородок изнутри и снаружи, а также для выращивания растений.

Элементы выполнены двухслойными (облицовочные элементы, озеленяемые с одной стороны) или трехслойными (озеленяемые с обеих сторон элементы перегородок). Элементы содержат несущий слой-основание или средний слой и один или два наружных слоя. Оба вида слоев выполнены волнистыми или складчатыми, причем гребни волн проходят в вертикальном направлении. Возможны различные виды волн и складок. Слой-основание, выполненный сплошным, может иметь у элементов перегородок отверстия для прорастания растений и для уменьшения давления ветра. Отверстия могут быть круглыми, овальными, треугольными или звездчатыми. Слой-основание у облицовочных элементов выполнен водонепроницаемым, прочным и совместимым с растениями и может нести со стороны стены теплоизоляционный материал, а также может быть снабжен монтажными отметками или отверстиями. Слой-основание может быть изготовлен из следующих материалов:

полимерной пленки, армированной в случае необходимости армированной тканью;

- ткани с резиновым покрытием;

- коррозионно-стойкой листовой ткани;

- кровельного картона и т.д.

Слой-основание может быть более тонким, цветным, структурированным, перфорированным, узорчатым, а в случае необходимости - снабжен отражающим покрытием. Слой может быть сплошным, а также - из полос или отдельных кусков. Он выкроен таким образом, что его части выступают наружу во впадины волнами в виде гребней (тип 1) или внутрь элемента в виде впадин (тип 2). Необходимые для этого линии сгиба могут быть предварительно выдавлены. Тип 1 образуется в том случае, когда слой-основание и наружный слой везде прилегают один к другому, а тип 2 - когда они соприкасаются только вдоль гребней волн. У элементов перегородок второго типа оба наружных слоя выполняют функцию слоя-основания.

3. Заявка Германии № 3529055, МКИ A01G9/02, 1986 г. «Почвонесущая система для озеленения»

Согласно заявке почвонесущая система для озеленения образуется желобами, принимающими землю, и держателями, несущими эти желоба. Материалом желобов могут быть синтетический материал, металл, минеральный материал с покрытием для защиты от гниения или стойкая к гниению ткань или нетканый материал (синтетический материал, стекловолокно и др.) с частичным покрытием. Свойства материала: нейтральность к растениям, долговечность, коррозионная стойкость и огнестойкость. Вставные полосы могут быть выполнены также из этих материалов или из дерева. Способы изготовления желобов: непрерывное литье, штамповка/резка и закатка/гибка плоских полос (ткани, листовой металл, синтетический материал). Дно всех желобов перфорировано, а фронтальные стороны могут содержать дополнительные элементы, выполненные штамповкой, для вентилирования и прорастания. Желоба из стеклоткани остаются в соответствующих местах без покрытия. Системы желобов, облицовывающие стенки, имеют более высокие перекрывающие задние стенки. В случае использования крюкообразных держателей, у которых точка прикрепления ближайшего нижнего держателя расположена над верхней кромкой желоба, желоб имеет прямую верхнюю кромку задней стенки. При применении крюкообразных держателей, у которых точка прикрепления ближайшего нижнего крюка расположена на одной высоте с дном выше установленного желоба или еще ниже, необходимы вырезы на верхней кромке задней стенки желоба, обеспечивающие перекрытие задних стенок. Держатели могут быть выполнены заодно с желобами благодаря тому, что профили крюка, проходящие горизонтально на задней стороне желоба, входят один в другой, или горизонтальные ряды крюков, отогнутых от задней стенки желоба, входят в соответствующие прорези в задней стенке желоба.

4. Патент США № 5410840, A01G9/02, 1996 г. «Способ изготовления мата с растительным покровом для озеленения крыш»

Для изготовления мата используют блоки питательной среды. Блоки имеют приподнятые кромки и вспомогательные кромки. Приподнятые кромки позволяют штабелировать блоки. На участках блоков выращивают растения, а блоки штабелируют и транспортируют к озеленяемой конструкции, затем сегменты с растительным покровом перемещают скольжением с блоков поверх вспомогательных кромок.

Образующие маты сегменты укладывают на крышах.

ЭЛЕМЕНТЫ, СОПУТСТВУЮЩИЕ ОЗЕЛЕНЕНИЮ ЗДАНИЙ, СООРУЖЕНИЙ

В патентной литературе имеется достаточно большое количество патентов, относящихся к сопутствующим приспособлениям (ящикам, горшкам, подвесным устройствам и др.) для озеленения крыш, фасадов, наклонных склонов и балконов.

Некоторые патентные материалы в качестве примера приведены ниже.

1. Заявка Германии № 3533537, МКИ E04D1/03, 1982 г. «Ящик для цветов для крыш, покрытых кровельными плитами»

Ящик имеет форму лотка, проходящего параллельно плоскости крыши. Лоток фиксируется над плоскостью кровельных плит с помощью опирающейся на плиты крепежной скобы, имеющей дугообразный опорный элемент. Наклон лотка относительно крыши регулируется посредством крепежных болтов, проходящих через опорный элемент. Две нижние выемки ящика образуют днище, соответствующее форме опорных элементов крепежной скобы. Расстояние между выемками соответствует расстоянию между крепежными скобами. Установленные на крыше опорные элементы крепежной скобы, поддерживающие днище ящика в зоне выемок, с помощью крепежных болтов соединены с днищем ящика.

Опорные элементы 8 опираются на изогнутые в сечении балки 4, своей вогнутой стороной с геометрическим замыканием прилегающие к верхней стороне 0 кровельной плиты 1.

ВЫВОДЫ

Изучение патентной документации, относящейся к конструктивным решениям, позволяет сделать следующие выводы.

Наибольшее количество патентов, относящихся к конструктивному выполнению озеленяемых крыш, принадлежит Германии. Причем, патенты Германии получили защиту не только в стране - патентообладателе, но и в других странах, где на них выданы патенты-аналоги. Однако этот вывод может быть предметом самостоятельного исследования.

К решению вопроса разработчики озелененных крыш подходят многосторонне и с точки зрения конструктивных решений самой крыши, в том числе ее гидро- и теплоизоляции, составу материалов для этих целей, и с точки зрения разработки почвенных слоев, их размещения на кровле здания.

Разработчики уделяют внимание составам и конструктивным решениям слоев культурной среды для выращивания растений, а также способам сохранения растительного субстрата.

Кроме того, интерес представляют конструктивные решения, относящиеся к эксплуатируемым крышам: организации на них спортивных площадок, бассейнов, прогулочных дорожек.

Организация озелененной крыши является многохарактерной задачей, анализ патентных материалов позволяет определить уровень развития техники в этой области и, при необходимости, осуществить прогнозирование дальнейшего развития.




Яндекс цитирования



   Copyright © 2007-2026,  www.tehlit.ru.

[ ѓосты, стандарты, нормативы, инструкции, правила, строительные нормы ]