//
ТехЛит.ру
- крупнейшая бесплатная электронная интернет библиотека для "технически умных" людей.
WWW.TEHLIT.RU - ТЕХНИЧЕСКАЯ ЛИТЕРАТУРА

:: Алготрейдинг::


АЛГОТРЕЙДИНГ
шаг за шагом
с нуля по урокам!

Торговые роботы на PYTHON, BackTrader,
Pandas, Pine Script для TradingView. Связка с брокерами, телеграм и легкими приложениями.


ГОСТ 1756-2000 (ИСО 3007-99)

МЕЖГОСУДАРСТВЕННЫЙ СТАНДАРТ

НЕФТЕПРОДУКТЫ

Определение давления насыщенных паров

МЕЖГОСУДАРСТВЕННЫЙ СОВЕТ
ПО СТАНДАРТИЗАЦИИ, МЕТРОЛОГИИ И СЕРТИФИКАЦИИ

Минск

Предисловие

1 РАЗРАБОТАН Техническим комитетом 31 «Нефтяные топлива и смазочные материалы»

ВНЕСЕН Госстандартом России

2 ПРИНЯТ Межгосударственным Советом по стандартизации, метрологии и сертификации № 17-2000 от 22 июня 2000 г.

За принятие голосовали:

Наименование государства

Наименование национального органа по стандартизации

Азербайджанская Республика

Азгосстандарт

Республика Армения

Армгосстандарт

Республика Беларусь

Госстандарт Республики Беларусь

Грузия

Грузстандарт

Республика Молдова

Молдовастандарт

Российская Федерация

Госстандарт России

Республика Таджикистан

Таджикгосстандарт

Туркменистан

Главгосинспекция «Туркменстандартлары»

Республика Узбекистан

Узгосстандарт

3 Настоящий стандарт представляет собой полный аутентичный текст международного стандарта ИСО 3007-99 «Нефтепродукты. Определение давления пара методом Рейда» с дополнительными требованиями, отражающими потребности экономики страны

4 Постановлением Государственного комитета Российской Федерации по стандартизации, метрологии от 3 ноября 2000 г. № 286-ст межгосударственный стандарт ГОСТ 1756-2000 введен в действие непосредственно в качестве государственного стандарта Российской Федерации

5 ВЗАМЕН ГОСТ 1756-52

6 ПЕРЕИЗДАНИЕ. Январь 2002 г.

СОДЕРЖАНИЕ

1 Область применения. 2

2 Нормативные ссылки. 2

3 Сущность метода. 2

4 Аппаратура. 2

5 Подготовка проб. 2

6 Подготовка к испытанию.. 3

7 Проведение испытания. 3

8 Меры предосторожности. 6

9 Обработка результатов. 6

10 Особенности метода для продуктов с давлением насыщенного пара по Рейду выше 180 кПа. 6

11 Аппаратура. 6

12 Отбор пробы вручную.. 7

13 Подготовка к испытанию.. 7

14 Проведение испытания. 7

15 Меры предосторожности. 7

16 Особенности метода для авиационного бензина с давлением насыщенных паров по Рейду 50 кПа. 8

17 Выражение результатов. 8

18 Протокол испытания. 10

Приложение А Аппаратура для определения давления пара по Рейду. 10

Приложение В Аппаратура при использовании манометра с установкой первоначального давления. 14

Приложение С Отбор проб. 15

Приложение D Библиография. 17

ГОСТ 1756-2000 (ИСО 3007-99)

МЕЖГОСУДАРСТВЕННЫЙ СТАНДАРТ

НЕФТЕПРОДУКТЫ

Определение давления насыщенных паров

Petroleum products.
Determination of saturated vapours pressure

Дата введения 2001-07-01

1 Область применения

Настоящий стандарт устанавливает метод определения абсолютного давления пара летучей сырой нефти и летучих невязких нефтепродуктов, кроме сжиженных нефтяных газов.

Стандарт не распространяется на топлива с кислородсодержащими соединениями, смешивающиеся с водой (типа низших спиртов).

Так как внешнее атмосферное давление нейтрализуется начальным атмосферным давлением в воздушной камере, давление пара по Рейду является приблизительно абсолютным давлением пара испытуемого продукта при 37,8 °С в кПа (барах) (кПа = 1 кН/м2 = 0,01 бар). Давление пара по Рейду отличается от истинного давления пара пробы вследствие незначительного испарения пробы и присутствия водяных паров и воздуха в ограниченном пространстве.

Дополнения, отражающие потребности экономики страны, выделены курсивом.

2 Нормативные ссылки

В настоящем стандарте использованы ссылки на следующие стандарты:

ГОСТ 2405-88 Манометры, вакуумметры, мановакуумметры, напоромеры, тягомеры и тягонапоромеры. Общие технические условия

ГОСТ 2517-85 Нефть и нефтепродукты. Метод отбора проб

3 Сущность метода

3.1 Жидкостную камеру аппарата наполняют охлажденной пробой испытуемого продукта и подсоединяют к воздушной камере при температуре 37,8 °С. Аппарат погружают в баню с температурой (37,8 ± 0,1) °С и периодически встряхивают до достижения постоянного давления, которое показывает манометр, соединенный с аппаратом. Показание манометра, скорректированное соответствующим образом, принимают за давление насыщенных паров по Рейду.

3.2 Метод предусматривает испытание следующих продуктов:

- частично насыщенных воздухом и имеющих давление насыщенных паров по Рейду ниже 180 кПа (разделы 4-9 и 17);

- не насыщенных воздухом и имеющих давление насыщенных паров по Рейду выше 180 кПа (разделы 10-15 и 17), а также продуктов с более узким диапазоном определяемых свойств при измерении давления пара авиационных бензинов (разделы 16 и 17).

4 Аппаратура

Конструкция требуемой аппаратуры приведена в приложении А. Для проб с давлением пара ниже 180 кПа применяют жидкостную камеру с одним отверстием (А.1.2), для проб с давлением пара выше 180 кПа - жидкостную камеру с двумя отверстиями (А.1.3). Для проб, имеющих давление насыщенных паров по Рейду ниже 180 кПа, может быть использован ртутный манометр с установкой первоначального давления (приложение В).

5 Подготовка проб

5.1 Общие требования

Пробы для определения давления пара должны соответствовать требованиям 5.2-5.6, кроме проб с давлением пара выше 180 кПа (см. раздел 10). Высокая чувствительность метода к потерям при испарении и незначительном изменении состава требует предельной точности и тщательного внимания при подготовке проб.

5.2 Отбор проб

Процедура отбора проб приведена в приложении С.

Допускается отбор проб по ГОСТ 2517.

5.3 Контейнер для пробы

Контейнер для отбора пробы вместимостью 1 дм3 должен быть заполнен пробой на 70-80 %.

5.4 Подготовка пробы

Контейнер с пробой перед открыванием охлаждают до температуры от 0 до 1 °С.

5.5 Перенос пробы

Давление насыщенных паров по Рейду определяют на вновь отобранной пробе. При переносе пробы из больших контейнеров или отбора пробы для других испытаний используют способ, указанный на рисунке 1.

а - контейнер с пробой; б - контейнер с устройством для переноса пробы; в - жидкостная камера, помещенная над контейнером, с устройством для переноса пробы; г - положение системы при переносе пробы

1 - жидкость; 2 - пар; 3 - устройство для переноса охлажденной пробы; 4 - охлажденная жидкостная камера; 5 - охлажденная проба

Рисунок 1 - Способ переноса пробы в жидкостную камеру из контейнеров открытого типа

5.6 Меры предосторожности

После отбора пробу следует как можно скорее поместить в холодное место и хранить там до конца испытания.

Пробы в контейнерах, которые дали утечку, не пригодны для испытаний, их следует отбросить и взять новые.

6 Подготовка к испытанию

6.1 Насыщение пробы воздухом в контейнере

Ставят пробу в контейнере в холодную водяную баню или холодильник.

Контейнер с пробой при температуре 0-1 °С вынимают из охлаждающей водяной бани или холодильника, открывают и проверяют содержание жидкости, которая должна составлять 70-80 % вместимости контейнера. Правильно заполненный контейнер закрывают, энергично встряхивают и снова помещают в охлаждающую водяную баню или равноценный холодильник.

6.2 Подготовка жидкостной камеры

Открытую жидкостную камеру и соединительное устройство для переноса пробы полностью погружают в водяную охлаждающую баню или холодильник на время, достаточное для достижения в камере и переходнике температуры бани 0-1 °С.

6.3 Подготовка воздушной камеры

Продувают и промывают воздушную камеру и манометр в соответствии с 7.5 и присоединяют манометр к воздушной камере. Воздушную камеру непосредственно перед ее соединением с жидкостной камерой погружают в водяную баню с температурой (37,8 ± 0,1) °С (примечание 1 к 7.5) на глубину не менее 25 мм от верхней части камеры и выдерживают не менее 10 мин. Не допускается вынимать воздушную камеру из бани до наполнения жидкостной камеры пробой.

7 Проведение испытания

7.1 Перенос пробы

Охлажденный контейнер с пробой вынимают из бани или холодильника, открывают и вставляют в него охлажденное устройство для переноса пробы (рисунок 1).

Охлажденную жидкостную камеру быстро опорожняют и надевают ее на трубку устройства для переноса пробы. Эту систему (контейнер, трубка и жидкостная камера) быстро переворачивают, чтобы жидкостная камера оказалась в вертикальном положении на одной оси с трубкой устройства для переноса пробы, которая должна находиться в жидкостной камере на расстоянии 6 мм от дна камеры.

Жидкостную камеру наполняют пробой до краев. Слегка постукивают по жидкостной камере для удаления из пробы воздушных пузырьков. Если уровень пробы уменьшается, камеру снова доливают до краев.

7.2 Сборка аппаратуры

7.2.1 В жидкостную камеру добавляют избыток пробы до перелива.

7.2.2 Вынимают воздушную камеру из водяной бани с температурой 37,8 °С (6.3).

7.2.3 Воздушную и жидкостную камеры соединяют за возможно короткий период времени. Полная сборка аппаратуры после наполнения жидкостной камеры должна быть произведена не более чем за 20 с.

7.2.4 При использовании ртутного манометра проверяют игольчатый клапан, чтобы быть уверенным, что он закрыт, и соединяют шланг манометра с переходником верхней части воздушной камеры.

7.3 Установка аппаратуры в баню

Собранный аппарат для определения давления пара переворачивают вверх дном для переливания пробы из жидкостной в воздушную камеру и энергично встряхивают в направлении, параллельном оси аппарата. Аппарат погружают в баню, отрегулированную на температуру (37,8 ± 0,1) °С, в наклонном положении так, чтобы переходник жидкостной и воздушной камер располагался ниже уровня воды в бане и можно было бы определить утечку.

Если утечки не наблюдается, аппарат погружают не менее чем на 25 мм выше верхней части воздушной камеры. За утечкой из аппарата наблюдают в течение всего испытания. Если в течение испытания обнаруживают утечку, пробу отбрасывают и испытание проводят на свежей пробе.

Примечание - Утечку жидкости обнаружить труднее, чем утечку пара, так как неоднократно используемый переходник расположен обычно в жидкости, заполняющей аппарат; это требует особого внимания.

7.4 Измерение давления пара

Выдерживают собранный аппарат в погруженном состоянии в течение 5 мин, слегка постукивая манометр, и снимают показание.

Во избежание охлаждения как можно быстрее вынимают аппарат из бани, опрокидывают, энергично встряхивают и снова помещают в баню. Для обеспечения условий равновесия повторяют перемешивание и снимают показания прибора не менее пяти раз с интервалами не менее 2 мин, пока два последовательных показания не будут идентичны.

На эти операции уходит 20-30 мин. Снимают окончательное показание манометра с точностью до 0,25 кПа для манометра с ценой деления 0,5 кПа, и с точностью 0,5 кПа - для манометра с ценой деления 1,0-2,5 кПа; отмечают это значение как «нескорректированное давление» насыщенных паров испытуемой пробы. Манометр сразу снимают и проверяют его показание по манометру, показывающему давление пара по Рейду.

Допускается проводить испытания без сличения с ртутным или деформационным образцовым манометром. В этом случае не реже 1 раза в квартал проверяют аппарат с испытанием не менее двух типов стандартных образцов.

В нескорректированное давление насыщенных паров вносят поправку (раздел 17). За результат испытания принимают среднее арифметическое результатов двух определений.

7.5 Подготовка аппаратуры для следующего испытания

Отсоединяют воздушную и жидкостную камеры и манометр (примечание 1). Из манометра Бурдона выливают оставшуюся жидкость следующим образом: манометр кладут между ладонями рук, держа правую руку на лицевой стороне манометра и резьбовым соединением манометра вперед. Руки с манометром протягивают вперед и вверх под углом 45° и по дуге приблизительно 135° с помощью центробежной силы и силы тяжести удаляют оставшуюся жидкость. Это действие повторяют три раза до удаления всей жидкости. Манометр прочищают, пропуская не менее 5 мин слабую струю воздуха через трубку манометра Бурдона.

Воздушную камеру с оставшейся пробой тщательно промывают, наполняя ее теплой водой (выше 32 °С) и оставляют для просушки (примечание 2). Промывку повторяют не менее пяти раз. После тщательного удаления предыдущей пробы из жидкостной камеры ее погружают в охлаждающую баню до следующего испытания.

Примечания

1 При испытании сырой нефти необходимо перед каждым испытанием промыть все оборудование легким растворителем, предпочтительно толуолом.

2 Если воздушную камеру очищают в ванне, следует избегать небольших незаметных пленок плавающей пробы, держа закрытыми верхнее и нижнее отверстия камер при прохождении через поверхность воды.

7.6 Использование ртутного манометра для измерения давления пара продуктов с давлением насыщенных паров по Рейду менее 180 кПа

7.6.1 Перенос пробы

Переносят пробу, как указано в 7.1.

7.6.2 Сборка аппаратуры

Собирают аппараты, как указано в 7.2, проверяют, чтобы игольчатый клапан на воздушной камере плотно закрывался, прикрепляют шланг манометра на верхнем переходнике воздушной камеры и соблюдают последовательность операций по 7.2.

7.6.3 Установка аппаратуры в баню

Устанавливают аппаратуру в баню, как указано в 7.3.

7.6.4 Предварительная установка давления манометра

После погружения аппарата в баню для определения давления насыщенных паров и проверки его на утечку, как указано в 7.3, предварительно устанавливают давление манометра и гибкого шланга на предполагаемое давление пара пробы (см. примечание) и записывают значение «Начальная настройка манометра». Пока пробу приводят в равновесие, как указано в 7.6.6, наблюдают за манометром, чтобы проверить на утечку комплект манометра. Любое изменение в начальной настройке манометра указывает на утечку, при этом аппарат отсоединяют и подсоединяют к другому манометру.

Примечание - С целью герметизации и во избежание необходимости последовательных определений сведения о предполагаемом давлении пара очень полезны.

На идентификационной марке пробы должен быть указан уровень давления пара (где возможно). Полезно сохранить перечень значений давления пара образцов, анализируемых в повседневных испытаниях.

7.6.5 Измерение давления пара

Погружают аппараты в баню на 5 мин. Если не будет обнаружена утечка, осторожно вынимают из бани аппаратуру. В возможно короткий период, не открывая клапан, переворачивают аппарат, встряхивают сильно по всей оси и ставят обратно в баню. Повторяют операцию изъятия и встряхивания после следующих 5 мин в возможно короткий срок, затем снова ставят аппарат в баню. По истечении 2 мин или более открывают клапан, регистрируют показание манометра. Закрывают клапан, убирают аппарат из бани и повторяют взбалтывание и погружение. Снимают показания манометра через каждые 2 мин, пока два последовательных показания не будут постоянными, чтобы гарантировать достижение равновесия. Эти операции обычно требуют 20-30 мин.

Снимают конечное показание давления манометра с точностью 1 кПа и регистрируют значение как «Постоянное показание манометра» для испытуемой пробы.

7.6.6 Оценка наблюдений

Для достижения точных результатов постоянное показание манометра должно быть в пределах 10 кПа начальной настройки манометра. Если расхождение меньше 10 кПа, проводят определение согласно разделу 9. Если расхождение больше, проводят второе определение, используя первый результат для предварительной установки давления манометра. Повторяют эту операцию до тех пор, пока расхождение не будет в указанных пределах.

7.6.7 Подготовка аппаратуры для следующего анализа

Отсоединяют шланг манометра, воздушную и жидкостную камеры. Удаляют переходник из воздушной камеры и при открытом клапане продувают воздухом не менее 5 мин. Промывают воздушную камеру струей теплой воды не менее 1 мин или заполняют и сливают теплую воду не менее пяти раз. После удаления предыдущего образца из жидкостной камеры последнюю промывают холодной водой и погружают в охлажденную баню или холодильник для подготовки к следующему испытанию.

8 Меры предосторожности

При измерении давления пара необходимо строго соблюдать предписанные действия. Особую важность имеют действия, приведенные в 8.1-8.8.

8.1 Проверка манометра

После каждого испытания все манометры проверяют по ртутному или деформационному манометру для обеспечения высокой точности результатов (7.4), следя за тем, чтобы перед снятием показаний манометры находились в вертикальном положении.

8.2 Насыщение пробы воздухом

Контейнер для пробы открывают и закрывают сразу после достижения температуры содержимого 0-1 °С. Контейнер энергично встряхивают для равновесия пробы с воздухом в контейнере (6.1).

8.3 Проверка на утечку

Перед испытанием и во время его проведения проверяют всю аппаратуру на утечку жидкости и пара (см. А.1.6 и примечание к 7.3).

8.4 Отбор проб

Поскольку первичный отбор и подготовка проб будут существенно влиять на конечные результаты, необходимо принять меры предосторожности для предотвращения потерь от испарения и небольшого изменения состава проб (см. 5 и 7.1).

Не допускается использовать какую-либо часть аппарата Рейда в качестве контейнера для пробы перед проведением испытания.

8.5 Очистка аппарата

Манометр и жидкостную камеру тщательно очищают от остатков пробы в конце предварительного испытания (см. 7.5).

8.6 Сборка аппарата

Точно соблюдают требования 7.2.

8.7 Встряхивание аппарата

Аппарат энергично встряхивают, как указано в 7.4, для обеспечения равновесных условий.

8.8 Контроль температуры

Температура охлаждающей водяной бани (А.3) и водяной бани (А.4) должна быть постоянной в течение испытания.

9 Обработка результатов

Окончательное значение, зарегистрированное в 7.4 или 7.6, записывают как давление насыщенных паров по Рейду в килопаскалях с точностью 0,25 кПа или 0,5 кПа без ссылки на температуру. Порядок расчета приведен в разделе 17.

10 Особенности метода для продуктов с давлением насыщенного пара по Рейду выше 180 кПа

Для продуктов с давлением пара выше 180 кПа метод, описанный в разделах 5-8, является неточным и рискованным. Разделы 11-15 определяют изменения в методе для этих продуктов. Кроме специально установленных случаев, необходимо следовать всем требованиям разделов 1-9 и 17.

Примечание - Метод насыщения воздухом следует использовать в случае необходимости установления имеет ли продукт давление паров свыше 180 кПа.

11 Аппаратура

11.1 Бомба (приложение А), использующая жидкостную камеру с двумя отверстиями.

11.2 Калибровка манометра

Для проверки показаний прибора свыше 180 кПа вместо ртутного манометра (А.6) можно использовать прибор с весовой нагрузкой или образцовый деформационный манометр (А.7). В 7.4, 8.1 и разделе 9 вместо слов «манометр» и «показание ртутного манометра» используют слова «прибор с весовой нагрузкой» и «показание калиброванного измерительного прибора» соответственно.

12 Отбор пробы вручную

12.1 Не следует соблюдать требования 5.3-5.5.

12.2 Вместимость контейнера, из которого берут пробу для определения давления пара, должна быть не менее 0,5 дм3.

13 Подготовка к испытанию

13.1 Не следует соблюдать требования 6.1 и 6.2.

13.2 При переливании испытуемой пробы из контейнера следует применять любой надежный метод, обеспечивающий наполнение жидкостной камеры охлажденной пробой, не подвергавшейся атмосферным влияниям. Переливание посредством парциального давления - по 13.3-13.5 и разделу 14.

13.3 Контейнер с пробой выдерживают при температуре достаточно высокой, чтобы сохранить избыточное давление, но не выше 37,8 °С.

13.4 Жидкостную камеру с двумя открытыми клапанами полностью погружают в баню с водяным охлаждением или холодильник на период времени, достаточный для получения температуры бани от 0 до 4,5 °С.

13.5 К выпускному клапану контейнера с пробой присоединяют змеевик ледяного охлаждения.

Примечание - Соответствующий змеевик ледяного охлаждения можно приготовить погружением медной спиральной трубки диаметром 6 мм и длиной 800 мм в ведро с ледяной водой.

14 Проведение испытания

14.1 Не следует соблюдать требования 7.1 и 7.2.

14.2 6-мм клапан охлажденной жидкостной камеры присоединяют к змеевику ледяного охлаждения. При закрытом 13-мм клапане жидкостной камеры открывают выпускной клапан контейнера с пробой и 6-мм клапан жидкостной камеры. 13-мм клапан жидкостной камеры слегка приоткрывают и жидкостную камеру медленно наполняют. Камеру заполняют пробой с избытком объемом 200 см3 или более. Этот процесс контролируют так, чтобы не произошло падение давления на 6-мм клапане жидкостной камеры.

В указанной последовательности закрывают 13- и 6-мм клапаны жидкостной камеры, затем закрывают все другие клапаны системы с пробой. Отсоединяют жидкостную камеру и охлаждающий змеевик.

Меры предосторожности.

Для устранения утечки жидкости и пара в процессе испытания следует соблюдать меры предосторожности. Чтобы предотвратить разрыв вследствие переполнения жидкостной камеры, ее следует быстро присоединить к воздушной камере с открытым 13-мм клапаном.

14.3 Жидкостную камеру сразу же присоединяют к воздушной и открывают 13-мм клапан жидкостной камеры.

Сборка аппарата после наполнения жидкостной камеры не должна превышать 25 с, при этом:

1) снимают показания начальной температуры или удаляют воздушную камеру из водяной бани;

2) воздушную камеру присоединяют к жидкостной;

3) открывают 13-мм клапан жидкостной камеры.

14.4 Если вместо ртутного манометра (11.2) используют прибор с весовой нагрузкой или образцовый деформационный манометр, к «нескорректированному давлению» насыщенных паров применяют поправочный коэффициент, выраженный в килопаскалях, установленный для измерительного прибора (манометра) при «нескорректированном давлении» насыщенных паров, отмечая показание, найденное как показание калиброванного прибора, которое должно быть использовано в соответствии с разделом 9 вместо показания манометра.

15 Меры предосторожности

Не следует соблюдать меры предосторожности, указанные в 8.2.

16 Особенности метода для авиационного бензина с давлением насыщенных паров по Рейду 50 кПа

16.1 Общие положения

Последующие пункты определяют особенности в методе при определении давления насыщенных паров авиационного бензина. Если не оговорено особо, следует соблюдать все требования, установленные в разделах 1-9 и 17.

16.2 Отношение объемов воздушной и жидкостной камер

Отношение объемов воздушной и жидкостной камер 3,95-4,05 (примечание к А.1).

16.3 Баня водяного охлаждения

В бане водяного охлаждения следует поддерживать температуру от 0 до 1 °С (А.3).

16.4 Проверка измерительного прибора

Перед каждым измерением давления насыщенных паров измерительный прибор проверяют с точностью 50 кПа по ртутному манометру для обеспечения требований А.2. Эту предварительную проверку проводят дополнительно к окончательному сравнению измерительного прибора в соответствии с 7.4.

16.5 Температура воздушной камеры

Соблюдают требования 6.3.

17 Выражение результатов

17.1 Расчет

См. раздел 9.

В показатель «нескорректированное давление насыщенных паров» вносят поправку (DР) на изменение давления воздуха и насыщенных паров воды в воздушной камере, вызванное различием между исходной температурой и температурой водяной бани.

Поправку DР, кПа вычисляют по формуле

,

где Ра - атмосферное давление в месте проведения испытания, кПа;

Pt - давление насыщенных паров воды при исходной температуре воздуха, кПа;

t - исходная температура воздуха, °С;

P37,8 - Давление насыщенных паров воды при 37,8 °С, кПа.

Значения поправки, вычисленные с точностью до 0,1 кПа, приведены в таблице 1.

Таблица 1

Исходная температура воздуха, °С

Поправка при барометрическом давлении, кПа

101,3

100,0

98,7

97,3

96,0

93,3

90,7

88,0

85,3

82,7

80,0

0

-20,0

-19,9

-19,7

-19,5

-19,3

-18,9

-18,5

-18,1

-17,9

-17,5

-17,1

1

-19,6

-19,3

-19,2

-19,1

-18,8

-18,5

-18,1

-17,7

-17,5

-17,1

-16,7

2

-19,1

-19,0

-18,8

-18,5

-18,4

-18,0

-17,7

-17,3

-16,9

-16,7

-16,3

3

-18,7

-18,4

-18,3

-18,1

-18,0

-17,6

-17,3

-16,9

-16,5

-16,3

-15,9

4

-18,1

-18,0

-17,7

-17,6

-17,5

-17,2

-16,8

-16,5

-16,1

-15,9

-16,6

5

-17,7

-17,5

-17,2

-17,2

-17,1

-16,7

-16,4

-16,1

-15,7

-15,5

-15,2

6

-17,2

-17,1

-16,9

-16,8

-16,7

-16,3

-16,0

-15,7

-15,3

-15,1

-14,8

7

-16,8

-16,7

-16,4

-16,3

-16,1

-15,9

-15,6

-15,2

-14,9

-14,7

-14,4

8

-16,3

-16,1

-16,0

-15,9

-15,7

-15,5

-15,1

-14,8

-14,5

-14,3

-14,0

9

-15,9

-15,7

-15,5

-15,3

-15,2

-14,9

-14,7

-14,4

-14,1

-13,9

-13,6

10

-15,3

-15,2

-15,1

-14,9

-14,8

-14,5

-14,3

-14,0

-13,7

-13,5

-13,2

11

-14,8

-14,7

-14,5

-14,4

-14,3

-14,1

-13,9

-13,6

-13,3

-13,1

-12,8

12

-14,4

-14,3

-14,1

-14,0

-13,9

-13,6

-13,3

-13,2

-12,9

-12,7

-12,4

13

-13,9

-13,7

-13,6

-13,5

-13,3

-13,2

-12,9

-12,7

-12,4

-12,3

-12,0

14

-13,3

-13,2

-13,2

-13,1

-12,9

-12,7

-12,5

-12,3

-12,0

-11,9

-11,6

15

-13,0

-12,8

-12,7

-12,5

-12,4

-12,3

-12,0

-11,9

-11,6

-11,3

-11,2

16

-12,4

-12,3

-12,1

-12,1

-12,0

-11,7

-11,6

-11,3

-11,2

-10,9

-10,8

17

-11,9

-11,7

-11,7

-11,6

-11,5

-11,3

-11,1

-10,9

-10,8

-10,5

-10,4

18

-11,3

-11,3

-11,2

-11,1

-11,1

-10,8

-10,7

-10,5

-10,3

-10,1

-9,9

19

-10,9

-10,8

-10,7

-10,7

-10,5

-10,4

-10,1

-10,0

-9,9

-9,7

-9,5

20

-10,4

-10,3

-10,3

-10,1

-10,0

-9,9

-9,7

-9,6

-9,3

-9,2

-9,1

21

-9,9

-9,7

-9,7

-9,6

-9,5

-9,3

-9,2

-9,1

-8,9

-8,8

-8,7

22

-9,3

-9,2

-9,2

-9,1

-9,1

-8,8

-8,8

-8,7

-8,4

-8,3

-8,1

23

-8,8

-8,8

-8,7

-8,7

-8,5

-8,4

-8,3

-8,1

-8,0

-7,9

-7,7

24

-8,3

-8,3

-8,1

-8,1

-8,0

-7,9

-7,7

-7,6

-7,5

-7,3

-7,3

25

-7,7

-7,7

-7,6

-7,6

-7,5

-7,3

-7,3

-7,2

-7,1

-6,9

-6,8

26

-7,2

-7,2

-7,1

-7,1

-6,9

-6,9

-6,8

-6,7

-6,5

-6,4

-6,4

27

-6,7

-6,7

-6,5

-6,5

-6,4

-6,4

-6,3

-6,1

-6,1

-6,0

-5,9

28

-6,1

-6,0

-6,0

-6,0

-5,9

-5,9

-5,7

-5,6

-5,6

-5,7

-5,3

29

-5,6

-5,5

-5,5

-5,5

-5,3

-5,3

-5,2

-5,2

-5,1

-4,9

-4,9

30

-4,9

-4,9

-4,9

-4,8

-4,8

-4,8

-4,7

-4,5

-4,5

-4,4

-4,4

31

-4,4

-4,4

-4,3

-4,3

-4,3

-4,1

-4,1

-4,0

-4,0

-4,0

-4,0

32

-3,7

-3,7

-3,7

-3,7

-3,7

-3,6

-3,6

-3,5

-3,5

-3,5

-3,3

33

-3,2

-3,2

-3,2

-3,1

-3,1

-3,1

-3,1

-2,9

-2,9

-2,9

-2,8

34

-2,5

-2,5

-2,5

-2,5

-2,5

-2,4

-2,4

-2,4

-2,4

-2,3

-2,3

35

-2,0

-2,0

-2,0

-2,0

-1,9

-1,9

-1,9

-1,9

-1,9

-1,7

-1,7

36

-1,3

-1,3

-1,3

-1,3

-1,3

-1,2

-1,2

-1,2

-1,2

-1,2

-1,2

37

-0,7

-0,7

-0,7

-0,7

-0,7

-0,7

-0,7

-0,7

-0,7

-0,7

-0,5

38

0

0

0

0

0

0

0

0

0

0

0

39

+0,7

+0,7

+0,7

+0,7

+0,7

+0,7

+0,7

+0,7

+0,7

+0,7

+0,7

40

+1,3

+1,3

+1,3

+1,3

+1,3

+1,3

+1,3

+1,3

+1,3

+1,2

+1,2

Для проверки правильности результатов измерения и повышения точности определения используют стандартные образцы давления насыщенных паров газожидкостной равновесной системы [1].

Порядок применения ГСО указан в свидетельстве на государственные стандартные образцы давления насыщенных паров.

Если разность между результатом, полученным при испытании ГСО, и аттестованной характеристикой, приведенной в свидетельстве на ГСО, превышает абсолютную погрешность, приведенную в свидетельстве, рассчитывают поправочный коэффициент по формуле

,

где Ас.о - аттестованная характеристика стандартного образца, кПа (мм рт. ст.);

Хс.о - результат испытания стандартного образца, кПа (мм рт. ст.).

Для расчета давления насыщенных паров испытуемого нефтепродукта результат испытания умножают на поправочный коэффициент.

Пример

Давление насыщенных паров нефтепродуктов равно 60,92 кПа (457 мм рт. ст.).

Давление насыщенных паров стандартного образца равно 9,99 кПа (75 мм рт. ст.), аттестованная характеристика стандартного образца 11,86 кПа (89 мм рт. ст.).

Для расчета давления насыщенных паров испытуемого нефтепродукта рассчитывают поправочный коэффициент

.

Правильный результат испытания равен

60,92×1,18 = 71,9 кПа (539,4 мм рт. ст.)

Периодичность проверки аппаратов при применении стандартных образцов - один раз в год.

Правильность результатов измерений с использованием стандартных образцов контролируют не реже одного раза в месяц.

17.2 Точность

Точность метода получают путем статистической обработки результатов межлабораторных испытаний.

17.2.1 Сходимость

Разность результатов двух испытаний, полученная одним и тем же оператором, на одном и том же аппарате, при постоянных условиях, на идентичном испытуемом материале в процессе длительной работы при нормальном и правильном выполнении методики испытания может превышать указанные значения только в одном случае из двадцати.

В килопаскалях

Давление

Сходимость

35-110

2,1

17.2.2 Воспроизводимость

Разность двух отдельных и самостоятельных результатов, полученная разными операторами, в различных лабораториях на идентичном испытуемом материале в процессе длительной работы при нормальном и правильном выполнении методики испытаний может превысить указанные значения только в одном случае из двадцати.

В килопаскалях

Давление

Воспроизводимость

35-110

4,9

Примечание - Приведенные точностные характеристики были установлены в 1981 г. совместной исследовательской программой, включающей 25 лабораторий, 12 образцов с пределами насыщенных паров от 5 до 16 psi по Рейду. Для других пределов давления насыщенных паров ранее, в 1950 г., были установлены требования:

Давление, кПа (бар)

Сходимость, кПа

Воспроизводимость, кПа

0-35 (0-0,35)

0,7

2,4

110-180 (1,1-1,8)

2,1

2,8

180 и выше (1,8 и выше)

2,8

2,9

Авиационные бензины 50 (0,5)

0,7

1,0

18 Протокол испытания

Протокол испытания должен включать следующие данные:

а) тип и отождествление испытуемого продукта;

б) ссылку на настоящий стандарт;

в) результат испытания;

г) любые отклонения по соглашению или по другим документам от предписанного метода;

д) точностные данные испытания.

ПРИЛОЖЕНИЕ А

(обязательное)

Аппаратура для определения давления пара по Рейду

А.1 Бомба (для измерения давления насыщенных паров по Рейду)

Бомба состоит из двух камер - воздушной (верхняя) и жидкостной (нижняя) - в соответствии с требованиями А.1.1 - А.1.4.

Примечание - Предостережение. Для сохранения правильного соотношения объемов воздушной и жидкостной камер не следует заменять детали без повторной калибровки.

А.1.1 Воздушная камера

Верхняя секция или воздушная камера (рисунок А.1) представляет собой цилиндрический сосуд внутренним диаметром (51 ± 3) мм и длиной (254 ± 3) мм и слегка наклонными внутренними поверхностями краев, обеспечивающими полное опорожнение сосуда при вертикальном положении. На одном конце воздушной камеры следует предусмотреть переходник измерительного прибора внутренним диаметром не менее 5 мм, чтобы принять 6-мм соединение. На другом конце воздушной камеры следует предусмотреть отверстие диаметром около 13 мм для соединения с жидкостной камерой. Переходники на концах отверстий не должны препятствовать полному осушению камеры.

А.1.2 Жидкостная камера (одно отверстие)

Нижняя секция или жидкостная камера (см. рисунок А.1) представляет собой цилиндрический сосуд таким же внутренним диаметром, как воздушная камера, и таким объемом, чтобы соотношение объемов воздушной и жидкостной камер было 3,95-4,05.

На одном конце жидкостной камеры предусмотрено отверстие диаметром около 13 мм для соединения с воздушной камерой. Внутренняя поверхность камеры, прилегающей к переходнику, должна быть с уклоном для обеспечения полной осушки камеры при переворачивании. Другой конец жидкостной камеры должен быть полностью закрыт.

А.1.3 Жидкостная камера (два отверстия)

Для отбора проб из закрытых сосудов нижняя секция или жидкостная камера (рисунок А.1) должна быть в основном такой же, как и у жидкостной камеры (А.1.2), с той разницей, что 6-мм клапан присоединяют ближе к основанию жидкостной камеры, а проходной полностью открытый 13-мм клапан вводят в соединение между камерами. Объем жидкостной камеры, включая только вместимость, заключенную клапанами, должен соответствовать требованиям к объемам (А.1.2).

Примечание - При определении вместимости жидкостной камеры с двумя отверстиями (рисунок А.1) вместимость жидкостной камеры рассматривают ниже 13-мм клапана. Объем этого клапана, включающий участок соединения, постоянно прикрепленного к жидкостной камере, считают частью вместимости воздушной камеры. Допускается использовать аппарат типа ЛДП [2].

А.1.4 Метод соединения воздушной и жидкостной камер

Можно применять любой метод соединения воздушной и жидкостной камер, исключающий потери испытуемого продукта, компрессию и утечку из собранного аппарата при испытании. Для предотвращения испарения продукта при сборке желательно, чтобы на жидкостной камере находилась заглушка с наружной резьбой, соответствующей переходнику. Чтобы предотвратить компрессию воздуха при сборке соответствующего резьбового соединения, можно использовать вентиляционное отверстие, обеспечивающее атмосферное давление в воздушной камере.

Предостережение - Имеющееся в наличии оборудование не может обеспечить избежания пневматических эффектов.

Перед использованием аппаратуры следует установить, что процесс сборки не приводит к сжатию воздуха в воздушной камере. Для этого плотно закрывают отверстие жидкостной камеры и монтируют аппаратуру обычным способом, используя манометр на 0-35 кПа. Любое увеличение давления на манометре указывает, что аппаратура не соответствует техническим требованиям и следует обращаться к изготовителю за консультацией и ремонтом.

А.1.5 Вместимость воздушной и жидкостной камер

Для установления объемного соотношения камер в пределах 3,95-4,05 берут объем воды больше, чем требуется для наполнения жидкостной и воздушной камер. Жидкостную камеру полностью наполняют водой, разность исходного и оставшегося объема составит объем жидкостной камеры. Затем после соединения камер воздушную камеру заполняют дополнительным количеством воды до места соединения манометра, разность объемов составит объем воздушной камеры.

Воздушная камера

Жидкостная камера с двумя отверстиями

Жидкостная камера с одним отверстием

1 - присоединительный внутренний диаметр 13 мм; 2 - вентиляционное отверстие; 3 - присоединительный внутренний диаметр 5 мм; 4 - присоединительный внешний диаметр 13 мм; 5 - клапан 13 мм; 6 - клапан 6 мм

Рисунок А.1 - Бомба для определения давления пара

А.1.6 Проверка на отсутствие утечек

Перед применением нового аппарата, а в дальнейшем по мере необходимости его следует проверять на утечку, наполняя воздухом под давлением до 700 кПа и полностью погружая в водяную баню. Применяют аппарат, который при проверке не дает утечки.

А.2 Манометр

Применяют манометр типа Бурдона с определенными характеристиками диаметром 100-150 мм, предусматривающий номинальное 6-мм резьбовое наружное соединение, имеющее канал диаметром не менее 5 мм от трубки Бурдона в атмосферу.

Датчик давления (манометр) с определенными пределами измерения выбирают в зависимости от давления паров испытуемой пробы в соответствии с таблицей 1.

Таблица 1

В килопаскалях

Давление пара по Рейду

Диапазон шкалы

Числовые интервалы, не более

Промежуточная градуировка, не более

До 27,5 включительно

0-35

5,0

0,5

(0,275)

(0-0,350)

(0,050)

(0,005)

До 28,0

0-30,5

5,1

0,5

20-75

0-100

15

0,5

(0,200-0,750)

(0-1,0)

(0,150)

(0,005)

20,4-76,5

0-91,8

15,3

0,5

70-180

0-200

25

1,0

(0,700-1,800)

(0-2,000)

(0,250)

(0,010)

71,4-186,3

0-204,0

25,5

1,0

70-250

0-300

25

1,0

(0,700-2,500)

(0-3,000)

(0,250)

(0,010)

71,4-255,0

0-306,0

25,5

1,0

200-375

0-400

50

1,5

(2,000-3,750)

(0-4,000)

(0,500)

(0,015)

204,0-322,5

0-408,0

51,0

1,5

350 и свыше

0-700

50

2,5

(3,500)

(0-7,000)

(0,5000)

(0,025)

Св. 357,0

0-765,0

51,0

2,5

Следует использовать только точные приборы.

Если показание прибора отличается от показания манометра (или прибора с весовой нагрузкой при испытании давления выше 180 кПа) более чем на 1 % предела шкалы, измерительный прибор считают неточным. Например, отклонение при калибровке не должно превышать 0,3 кПа для прибора диапазоном 0-35 кПа или 0,9 кПа для прибора с диапазоном 0-100 кПа.

Примечание - Можно использовать измерительные приборы диаметром 90 мм в диапазоне 0-30 кПа. Допускается использовать пружинный манометр класса точности не ниже 0,6 по ГОСТ 2405 или образцовый деформационный манометр. Пружинный манометр считают точным, если расхождение между его показателем и показателем ртутного манометра не превышает 1 % диапазона шкалы.

А.3 Баня с водяным охлаждением или равноценный холодильник

Размеры бани с водяным охлаждением должны обеспечивать полное погружение в нее контейнеров с пробой и жидкостных камер. Баня должна обеспечивать температуру 0-1 °С.

Примечание - Для охлаждения проб в процессе хранения или приготовления на стадии воздушного насыщения не следует применять твердую двуокись углерода. Двуокись углерода заметно растворяется в бензине, и ее применение может привести к получению ошибочных значений давления пара.

А.4 Водяная баня

Водяная баня должна быть таких размеров, чтобы аппарат был погружен на глубину не менее 25 мм выше верхней части воздушной камеры. Баня должна обеспечивать постоянную температуру (37,8 ± 0,1) °С. Для контроля температуры в баню погружают термометр до метки 37 °С.

А.5 Термометр

А.5.1 Для определения температуры воздушной камеры 37,8 °С используют термометр ТИН-12 по ГОСТ 400 или термометры со следующими характеристиками:

Диапазон измерения, °С                                                                                          34-42

Погружение                                                                                                               Общее

Цена деления, °С                                                                                                       0,1

Удлиненная отметка на каждые, °С                                                                       0,5

Цифровое обозначение через каждый 1 °С                                             (кроме на 38 °С)

Погрешность шкалы, °С, не более                                                                           0,1

Камера расширения, допускающая нагрев до                                                        100 °С

Общая длина термометра, мм                                                                                 275 ± 5

Диаметр термометра, мм                                                                                         6-7

Длина ртутного резервуара, мм                                                                              25-35

Диаметр ртутного резервуара, мм                                              Не менее 5, но не более

диаметра термометра

Расстояние от основания ртутного резервуара до отметки 34,4 °С, мм             35-150

Расстояние от основания ртутного резервуара до отметки 42 °С, мм                215-234

Расстояние от основания ртутного резервуара до камеры сжатия, мм, не более     60

Диаметр расширения ртутного капилляра, мм                                                     8-10

Длина расширения ртутного капилляра, мм                                                         4-7

Расстояние от основания ртутного резервуара до основания расширения

ртутного капилляра, мм                                                                                           112-116

Допускается использовать термометр стеклянный ртутный ТЛ-4 № 2 [3].

А.5.2 Для водяной бани используют термометр, указанный в А.5.1.

А.6 Ртутный манометр

Применяют ртутный манометр с диапазоном, пригодным для проверки применяемого измерительного прибора. Шкала манометра должна быть градуирована на 1 мм или 0,1 кПа.

Допускается использовать стеклянный ртутный манометр, представляющий собой U-образную стеклянную трубку диаметром 5-8 мм, длиной 1000 мм, заполненную ртутью и снабженную шкальной пластинкой с диапазоном измерения от 0 до 700-800 мм и ценой наименьшего деления 1 мм или образцовый деформационный манометр.

А.7 Прибор с весовой нагрузкой

Вместо ртутного манометра для проверки давления выше 180 кПа можно применять прибор с весовой нагрузкой.

ПРИЛОЖЕНИЕ В

(обязательное)

Аппаратура при использовании манометра с установкой первоначального давления

В.1 Сборка манометра с учетом первоначального давления

Схема сборки манометра дана на рисунке В.1.

Основные части манометра приведены в В.2-В.14.

В.2 Ртутный манометр типа прямого отсчета длиной приблизительно 1 м, градуированный с интервалами 0,05 кПа, имеющий запасной резервуар.

В.3 Гибкий шланг хлоропреновый или из равноценного материала наружным диаметром 5 мм и длиной 1-1,1м.

В.4 Вентиль к воздушной камере с 6-мм трубной резьбой.

В.5 Прерыватель быстрого действия для подсоединения аппарата для определения давления насыщенных паров к комплекту манометра. Он должен быть такого типа, чтобы в эксплуатации не происходило случайного отказа, т.е. винтовой.

В.6 Микрометровый клапан для измерения воздуха в коленце манометра.

В.7 Трубка из меди или нержавеющей стали для подсоединения гибкого шланга к манометру внутренним диаметром 3 мм, длиной 760 мм.

В.8 Подача отфильтрованного сжатого воздуха под давлением 100-140 кПа.

В.9 Комплект манометра давления

Общий объем воздушного пространства в комплекте манометра, включающий свободное пространство ртутного резервуара, соединения, трубки, прерыватель быстрого разрыва, должен быть от 12 до 16 см3, чтобы общий коэффициент поправки можно было применять ко всем комплектам.

В.10 Охлаждающая водяная баня (А.3).

В.11 Водяная баня (А.4).

В.12 Термометр (А.5).

В.13 Ртутный термометр (А.6).

В.14 Прибор с весовой нагрузкой (А.7).

1 - контрольный резервуар; 2 - ртутный манометр с непосредственным отсчетом; 3 - хлоропреновая каучуковая трубка; 4 - хомутик для крепления манометра к подставке; 5 - медная трубка; 6 - прерыватель быстрого действия; 7 - игольчатый клапан; 8 - аппарат для определения упругости паров; 9 - микрометровый клапан; 10 - резервуар с ртутью

Рисунок В.1 - Схема сборки манометра

ПРИЛОЖЕНИЕ С

(рекомендуемое)

Отбор проб

С.1 Меры предосторожности

Давление паров крайне чувствительно к потерям от испарения и малейшим изменениям в составе анализируемых продуктов. При получении, хранении или работе с ними следует соблюдать необходимые меры техники безопасности для обеспечения получения представительных образцов для определения паров методом Рейда.

Представительные образцы должны быть взяты квалифицированным специалистом или под его непосредственным наблюдением согласно правилам отбора проб. Если отбор проб или требования к образцу отличаются от описанных в С.2-С.9, следует отобрать отдельный образец для испытания давления пара методом Рейда. Не допускается брать смешанные пробы для этого анализа.

Во время промывки и очистки линии или резервуара следует соблюдать нужные предписания мер противопожарной безопасности и правила взрывоопасности. Образцы для анализа, описанного в этом приложении, не пригодны для определения воды.

С.2 Охлаждающая баня

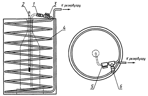
Баня (рисунок С.1) достаточного размера для установки емкости с охлаждающим змеевиком, изготовленным из медной трубки длиной 7,6 м и наружным диаметром 9,5 мм или меньше, если применяется методика, указанная в С.7. Один конец змеевика должен быть снабжен соединением к клапану или крану резервуара для отбора проб. Другой конец должен быть снабжен выпускающим клапаном хорошего качества. Съемная медная труба наружным диаметром 9,5 мм или менее и достаточной длины, чтобы достигнуть дна контейнера для образца, соединена с открытым концом выпускного клапана.

1 - выпускной клапан; 2 - термометр; 3 - вентиль продувки; 4 - медная трубка длиной 7,6 м, наружным диаметром 9,5 мм; 5 - выпускной клапан; 6 - вентиль продувки

Рисунок С.1 - Охлаждающая баня

С.3 Контейнеры с пробой

Для переноса образца в жидкостную камеру аппарата для определения давления насыщенных паров используют контейнеры, выдерживающие возникающее давление, вместимостью 1 дм3, у которых можно заменять колпачок или пробку удобными соединениями.

Контейнеры открытого типа имеют единственное отверстие, позволяющее отбирать пробу при погружении. Контейнеры закрытого типа имеют два отверстия - по одному на каждом конце (или в равноценных точках), снабженных клапанами, удобными для отбора проб с помощью перемещения воды или продувкой.

С.4 Соединения для переноса образца

Соединение для переноса образца из контейнера открытого типа состоит из воздушной трубки, трубки подачи жидкости, вмонтированной в колпачок или пробку. Воздушная трубка доходит до дна контейнера. Один конец трубки подачи жидкости обильно смачивается с внутренней стороны клапана или пробки, трубка имеет длину, достаточную, чтобы доходить до дна жидкостной камеры во время переноса пробы в камеру.

Соединение для переноса образца из контейнера закрытого типа состоит из одной трубки с соединением, удобным для присоединения его к одному из отверстий контейнера с пробой. Трубка имеет длину, достаточную, чтобы доходить до дна жидкостной камеры во время переноса пробы.

С.5 Открытые резервуары для отбора проб

При отборе проб из открытых резервуаров и вагонов-цистерн используют чистые контейнеры открытого типа.

Рекомендуются локальные пробы, но можно отбирать среднюю пробу [5]. Перед отбором пробы контейнер обильно промывают, погружая его в отбираемый продукт. Затем отбирают пробу. Заполняют контейнер на 70-80 % и тотчас его закрывают. Маркируют контейнер и передают в лабораторию. При отборе проб летучих сырых нефтей или продуктов следует избегать потери легких фракций.

Не допускается переносить (за исключением случаев, указанных в 7.1) или отливать исходный образец.

С.6 Контейнеры для отбора проб закрытого типа

Контейнеры как закрытого, так и открытого типов используют для получения пробы из закрытых или находящихся под давлением резервуаров. Если контейнер открытого типа, то следуют методике с охлаждающей баней, как указано в С.7. При применении контейнера закрытого типа отбирают пробу по методике вытеснения водой (С.8) или продувки. Предпочтительна процедура вытеснения водой, потому что поток продукта при продувке опасен.

С.7 Процедура с использованием охлаждающей бани

При применении контейнера открытого типа держат его при температуре от 0 до 1 °С во время операции по отбору проб, используя охлаждающую баню (С.2).

Подсоединяют змеевик к клапану или крану резервуара для отбора проб и промывают достаточным количеством продукта, чтобы обеспечить полную очистку.

При подготовке образца дросселируют выпускной клапан, чтобы давление в змеевике было бы приблизительно таким же, как и в резервуаре. Заполняют контейнер неоднократно, чтобы промыть, охладить и удалить промывку. Затем немедленно вводят пробу. Заполняют контейнер на 70-80 % и быстро закрывают. Контейнер маркируют и передают его в лабораторию.

С.8 Процедура вытеснения водой

Полностью заполняют контейнер закрытого типа водой и закрывают клапаны. Вода должна быть той же температуры или ниже температуры испытуемого продукта. Пропуская небольшое количество продукта сквозь фитинги, соединяют верх или впускной клапан емкости с клапаном или краном контейнера для отбора проб. Затем открывают все клапаны на входе в контейнер. Приоткрывают слегка донный или выпускной клапан, чтобы дать образцу, вводимому в контейнер, медленно вытеснить воду. Регулируют поток так, чтобы не было значительного изменения в давлении внутри контейнера. Закрывают выпускной клапан как только отбираемая проба начинает сливаться из выходного отверстия, затем закрывают впускной клапан и клапан для отбора пробы на резервуаре.

Отсоединяют контейнер и дают возможность испариться содержимому настолько, чтобы контейнер был бы заполнен на 70-80 %. Если давление паров продукта не очень высокое для вытеснения жидкости из контейнера, открывают слегка как верхний, так и нижний клапаны, чтобы устранить излишки. Немедленно запечатывают и маркируют контейнер и передают его в лабораторию. Указанное выше не пригодно для отбора проб сжиженных нефтяных газов (СНГ).

С.9 Процедура очистки

Подсоединяют впускной клапан контейнера закрытого типа к крану и клапану контейнера отбора проб. Дросселируют выпускной клапан контейнера так, чтобы давление в нем было бы приблизительно равным давлению в контейнере, из которого отбирают пробу. Объем продукта, равный двойному объема контейнера, пропускают через систему отбора проб. Затем закрывают все клапаны: сначала выпускной, затем впускной и в последнюю очередь клапан для отбора проб на резервуаре. Немедленно отсоединяют контейнер.

Удаляют достаточное количество содержимого, чтобы контейнер был заполнен на 70-80 % пробой. Если давление пара продукта невысокое, чтобы вытеснить жидкость из контейнера, слегка открывают верхний и нижний клапаны для удаления излишка. Быстро запечатывают, маркируют контейнер и отправляют его в лабораторию.

ПРИЛОЖЕНИЕ D

(справочное)

Библиография

1 ГСО 4093-87-4096-87 «Государственные стандартные образцы давления насыщенных паров»

2 ТУ 25.05.2185-77 «Аппарат ЛДП. Технические условия»

3 ТУ 25-2021.003-88 «Термометры ртутные стеклянные лабораторные»

4 ТУ 92-07.887.019-90 «Термометры стеклянные для испытания нефтепродуктов. Технические условия»

5 ИСО 3170-88 «Нефтепродукты. Жидкие углеводороды. Отбор проб вручную»

Ключевые слова: нефтепродукты, давление, насыщенные пары, давление по Рейду, подготовка к испытаниям




Яндекс цитирования



   Copyright © 2007-2026,  www.tehlit.ru.

[ ѓосты, стандарты, нормативы, инструкции, правила, строительные нормы ]