
ГОСУДАРСТВЕННЫЙ СТАНДАРТ СОЮЗА ССР
ПРИСПОСОБЛЕНИЯ
СБОРНО-РАЗБОРНЫЕ
ПЕРЕНАЛАЖИВАЕМЫЕ ДЛЯ СБОРКИ ДЕТАЛЕЙ ПОД СВАРКУ
ТИПЫ,
ПАРАМЕТРЫ И РАЗМЕРЫ
ГОСТ 31.2031.01-91
КОМИТЕТ
СТАНДАРТИЗАЦИИ И МЕТРОЛОГИИ СССР
Москва
ГОСУДАРСТВЕННЫЙ
СТАНДАРТ СОЮЗА ССР
|
ПРИСПОСОБЛЕНИЯ
СБОРНО-РАЗБОРНЫЕ
ПЕРЕНАЛАЖИВАЕМЫЕ ДЛЯ СБОРКИ ДЕТАЛЕЙ
ПОД СВАРКУ
Типы, параметры и размеры
Readjustable built-up detachable fixtures
for assembly of elements to be welded.
Types, parameters and dimensions
|
ГОСТ
31.2031.01-91
|
Дата
введения 01.07.92
Настоящий
стандарт распространяется на переналаживаемые накладные сборно-разборные
приспособления (далее - приспособления), их детали и сборочные единицы.
Приспособления предназначены
для сборки под сварку цилиндрических деталей с гладкими и резьбовыми
отверстиями, стержней и плоскостных деталей.
Требования пп. 1, 2, 4, 6-10
являются обязательными, другие требования настоящего стандарта являются
рекомендуемыми.
1.
Размеры деталей, устанавливаемых под сварку, должны соответствовать указанным в
табл. 1.
Таблица 1
|
Размер
|
Значение, мм
|
|
1.
Цилиндрические детали с гладкими и резьбовыми отверстиями:
|
|
|
длина, не более
|
60
|
|
диаметр наружный
|
8 ... 22
|
|
диаметр внутренний гладкий
|
3 ... 12
|
|
диаметр внутренний резьбовой
|
M3 ... M12
|
|
2.
Стержни:
|
|
|
длина, не более
|
60
|
|
диаметр
|
3 ... 22
|
|
3.
Плоскостные детали:
|
|
|
длина
|
10 ... 150
|
|
ширина
|
10 ...
150
|
|
высота
|
5 ...
40
|
2. Стандарт устанавливает типы приспособлений в зависимости от способа
их базирования:
1 - по трем
плоскостям;
2 - по двум
плоскостям и отверстию;
3 - по
плоскости и двум отверстиям;
4 - по двум
плоскостям и риске;
5 - по плоскости,
отверстию и риске.
3. Детали и
сборочные единицы приспособлений по функциональному назначению подразделяются
на базовые, соединительные, опорно-направляющие, фиксирующие и крепежные.
4.
Стандарт устанавливает серии приспособлений, основные параметры которых должны
соответствовать указанным в табл. 2.
Таблица 2
|
Серия
|
Диаметр
базовой детали, мм
|
Собираемые
приспособления
|
|
Габаритные
размеры, мм, не более
|
Масса,
кг, не более
|
|
1
|
16
|
835´415´200
|
8,0
|
|
2
|
20
|
1530´830´200
|
12,0
|
5.
Основными конструктивными элементами соединения деталей приспособления
являются: конические и цилиндрические базовые отверстия, П-образные базы и
выступы, зубчатые зацепления.
6.
Основные размеры конических базовых отверстий должны соответствовать указанным
на черт. 1 и в табл. 3. Предельные отклонения углового размера -
.

Черт.
1
Таблица 3
мм
|
Серия
|
d
|
h
|
|
1
|
6,2
|
5,7
|
|
2
|
8,2
|
9,7
|
7.
Основные размеры цилиндрических базовых отверстий должны соответствовать
указанным в табл. 4. Предельные отклонения размеров диаметров в
соединительных деталях - Н9.
Таблица 4
|
Серия
|
Диаметр базового отверстия, мм
|
|
в соединительных деталях
|
в других деталях
|
|
1
|
16
|
6, 8,
10
|
|
2
|
20
|
8, 10,
12
|
8. Ширина
П-образных пазов и выступов должна составлять 12 мм. Предельные отклонения - H9, h9
соответственно.
9.
Основные размеры зубчатых зацеплений должны соответствовать указанным на черт. 2 и в табл. 5. Степень точности зубчатых
зацеплений - 7-B ГОСТ 10242.
Таблица 5
мм
|
Серия
|
Высота зуба h
|
Модуль
|
|
1
|
1,5
|
0,8
|
|
2
|
1,8
|

Черт. 2
10.
Неуказанные предельные отклонения размеров деталей и сборочных единиц
приспособлений - Н14, h14, 
11. Примеры
типовых схем компоновок приспособлений приведены в приложении.
ПРИЛОЖЕНИЕ
Справочное
ПРИМЕРЫ ТИПОВЫХ СХЕМ КОМПОНОВОК, ПРИСПОСОБЛЕНИЙ
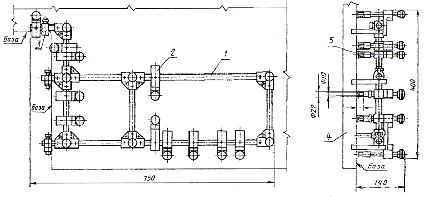
Приспособление с базированием
по трем плоскостям (тип 1)

1 - каркас приспособления (1 шт.); 2 - сборочная единица фиксации
(11 шт.); 3 - сборочная единица базирования (3 шт.); 4 - корпус
изделия (1 шт.); 5 - привариваемая цилиндрическая деталь с гладким
отверстием (11 шт.)
Черт.
3
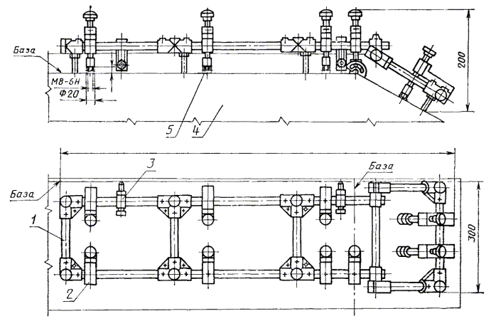
Приспособление
с базированием по двум плоскостям и отверстию (тип 2)

1 - каркас приспособления (1 шт.); 2 -
сборочная единица фиксации (6 шт.); 3 - сборочная единица базирования (2
шт.); 4 - корпус изделия (1 шт.); 5 - привариваемый стержень (7
шт.).
Черт.
4
Приспособление
с базированием по плоскости я двум отверстиям (тип 3)

1 - каркас приспособления (1 шт.); 2 -
сборочная единица фиксации (6 шт.); 3 - сборочная единица базирования (2
шт.); 4 - корпус изделия (1 шт.); 5 - привариваемая
плоскостная деталь (6 шт.)
Черт.
5
Приспособление
с базированием по двум плоскостям и риске (тип 4)
(длина
приспособления 980 мм)

1 - каркас приспособления (1 шт.); 2 -
сборочная единица фиксации (9 шт.); 3 - сборочная единица базирования (2
шт.); 4 - корпус изделия
(1 шт.); 5 - привариваемая цилиндрическая деталь с резьбовым отверстием
(9 шт.)
Черт.
6
Приспособление
с базированием по плоскости, отверстию и риске (тип 5)

1 - каркас приспособления (1 шт.); 2 -
сборочная единица фиксации (5 шт.); 3 - сборочная единица базирования (1
шт.); 4 - корпус изделия (1 шт.); 5 - привариваемый стержень (4
шт.); 6 - привариваемая плоскостная деталь (2 шт.)
Черт.
7
ИНФОРМАЦИОННЫЕ ДАННЫЕ
1. РАЗРАБОТАН И ВНЕСЕН Министерством оборонной промышленности СССР
2. УТВЕРЖДЕН И ВВЕДЕН В
ДЕЙСТВИЕ Постановлением Государственного комитета СССР по управлению качеством
продукции и стандартам от 24.04.91 № 562
3. Срок проверки - 1996 г., периодичность проверки - 5 лет
4. ВВЕДЕН ВПЕРВЫЕ
5. ССЫЛОЧНЫЕ
НОРМАТИВНО-ТЕХНИЧЕСКИЕ ДОКУМЕНТЫ
|
Обозначение
НТД, на который дана ссылка
|
Номер
пункта
|
|
ГОСТ 10242-81
|
9
|