//
ТехЛит.ру
- крупнейшая бесплатная электронная интернет библиотека для "технически умных" людей.
WWW.TEHLIT.RU - ТЕХНИЧЕСКАЯ ЛИТЕРАТУРА

:: Алготрейдинг::


АЛГОТРЕЙДИНГ
шаг за шагом
с нуля по урокам!

Торговые роботы на PYTHON, BackTrader,
Pandas, Pine Script для TradingView. Связка с брокерами, телеграм и легкими приложениями.


ГОСУДАРСТВЕННЫЙ СТАНДАРТ СОЮЗА ССР

ПОДКЛАДКИ КОСТЫЛЬНОГО
СКРЕПЛЕНИЯ К РЕЛЬСАМ ТИПА Р43

КОНСТРУКЦИЯ И РАЗМЕРЫ

ГОСТ 7056-77

Москва

ИНФОРМАЦИОННЫЕ ДАННЫЕ

1. РАЗРАБОТАН И ВНЕСЕН Министерством черной металлургии СССР

РАЗРАБОТЧИКИ

Н.М. Воронцов, И.С. Гринь, А.В. Дюбина, Л.Л. Корсун

2. УТВЕРЖДЕН И ВВЕДЕН В ДЕЙСТВИЕ Постановлением Государственного Комитета СССР по стандартам от 09.01.77 № 27

3. ВЗАМЕН ГОСТ 7056-66

4. ССЫЛОЧНЫЕ НОРМАТИВНО-ТЕХНИЧЕСКИЕ ДОКУМЕНТЫ

Обозначение НТД, на который дана ссылка

Номер пункта

ГОСТ 3280-84

6

5. Ограничение срока действия снято по протоколу № 2-93 Межгосударственного Совета по стандартизации, метрологии и сертификации (ИУС 2-93)

6. ПЕРЕИЗДАНИЕ (сентябрь 1998 г.) с Изменением № 1, утвержденным в апреле 1987 г. (ИУС 7-87)

ГОСУДАРСТВЕННЫЙ СТАНДАРТ СОЮЗА ССР

ПОДКЛАДКИ КОСТЫЛЬНОГО СКРЕПЛЕНИЯ
К РЕЛЬСАМ ТИПА Р43

Конструкция и размеры

The plates of spike fastening for type P43 rails.

Construction and dimensions

ГОСТ
7056-77

Дата введения 01.01.78

1. Настоящий стандарт распространяется на подкладки Д43 костыльного скрепления к железнодорожным рельсам типа Р43 для путей промышленного транспорта.

Показатели технического уровня, установленные настоящим стандартом, соответствуют требованиям высшей категории качества.

(Измененная редакция, Изм. № 1).

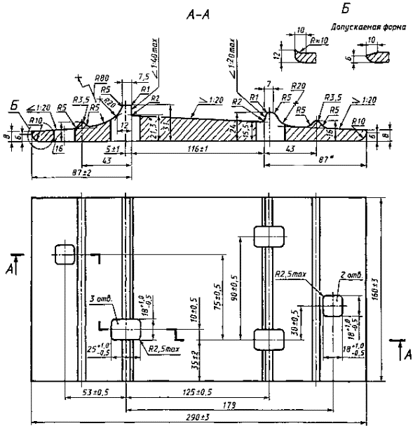
2. Конструкция и размеры подкладок, предельные отклонения по размерам в готовых подкладках должны соответствовать указанным на чертеже.

3. Предельные отклонения по толщине подкладки должны быть не более ±1 мм.

4. Размеры подкладок, для которых не указаны предельные отклонения, не контролируются, но должны обеспечиваться технологией изготовления с точностью ±1 мм.

5. Масса подкладки, исходя из номинальных размеров и относительной плотности стали 7850 кг/м3 - 5,26 кг.

6. Технические требования к подкладкам - по ГОСТ 3280.

* Размеры для справок.

Примечание. Предельные отклонения размеров отверстий указаны со стороны продавливания.

Условное обозначение подкладки типа Д43:

Подкладка Д43 ГОСТ 7056-77




Яндекс цитирования



   Copyright © 2007-2026,  www.tehlit.ru.

[ ѓосты, стандарты, нормативы, инструкции, правила, строительные нормы ]