//
|
|
Министерство нефтяной промышленности Всесоюзный научно-исследовательский институт по сбору, УТВЕРЖДЕН первым заместителем министра В. Ю. Филановским 22 июля 1986 года РУКОВОДЯЩИЙ ДОКУМЕНТ МЕТОДИКА
ОПРЕДЕЛЕНИЯ И ВВЕДЕНИЯ ПОПРАВОК РД 39-0147103-351-86 Уфа 1986 Руководящий документ РД 39-0147103-351-86 «Методика определения и введения поправок на массу брутто нефти, измеряемую на автоматизированных узлах учета нефти при учетно-расчетных операциях между предприятиями Миннефтепрома». РАЗРАБОТАН Всесоюзным научно-исследовательским институтом по сбору, подготовке и транспорту нефти и нефтепродуктов (разработчики - А.Г. Гумеров, В.Г. Володин, Н.М. Черкасов, Э.Г. Любарская, A. А. Дворяшин, А. В. Безрук, Р. Ф. Гизатуллина, Ф. Ш. Хайдарова, Н. И. Безногова); Специализированным Управлением пуско-наладочных работ (разработчики - И. С. Микасян, Е. Ю. Сементовская); Объединенным диспетчерским Управлением Главтранснефти (разработчики - Н. А. Сафонов, Ю. В. Романенко); Уфимским нефтяным институтом Минвуза РСФСР (разработчики - И. Р. Байков). СОГЛАСОВАН Казанским филиалом Всесоюзного ордена Трудового Красного Знамени научно-исследовательского института физико-технических и радиотехнических измерений (КВ ВНИИФТРИ) Госстандарта. В связи с ограниченным тиражом институт ВНИИСПТнефть разрешает заинтересованным организациям размножение данного документа. РУКОВОДЯЩИЙ ДОКУМЕНТ МЕТОДИКА ОПРЕДЕЛЕНИЯ И ВВЕДЕНИЯ ПОПРАВОК НА МАССУ БРУТТО НЕФТИ, ИЗМЕРЯЕМУЮ НА АВТОМАТИЗИРОВАННЫХ УЗЛАХ УЧЕТА НЕФТИ ПРИ УЧЕТНО-РАСЧЕТНЫХ ОПЕРАЦИЯХ МЕЖДУ ПРЕДПРИЯТИЯМИ МИННЕФТЕПРОМА РД 39-0147103-351-86 Вводится
взамен Срок введения установлен с 1.10.86 г. Срок действия до 1.10.88 г. Настоящий руководящий документ (в дальнейшем - РД) устанавливает порядок определения и введения поправок на результат измерения массы брутто нефти (в дальнейшем - поправок), учитывающих режим работы, свойства перекачиваемой нефти, различия термодинамических условий определения объема и плотности нефти при учетно-расчетных операциях на узлах учета нефти (в дальнейшем - УУН). 1. ОБЩИЕ ПОЛОЖЕНИЯ1.1. Значение массы нефти при учетно-расчетных операциях на узлах учета определяют в соответствии с "Инструкцией по определению количества нефти на автоматизированных узлах учета с турбинными счетчиками при учетно-расчетных операциях" МИ 275-83 (РД 39-5-770-82) с учетом поправок, вводимых, настоящим РД на массу брутто нефти. 1.2. Определение поправочных множителей и введение поправок в соответствии с настоящим РД производится представителями предприятий поставщика и покупателя ежесменно. Поправочные множители и величина поправки вносятся в журнал регистрации (приложение 1), поправка учитывается при составлении акта приема-сдачи нефти. 1.3. Контроль определения поправочных множителей и введения поправок осуществляется представителями треста "Спецнефтеметрология" (базовой организацией по метрологическому обеспечению учета нефти в отрасли) ежеквартально и при возникновении разногласий с составлением акта (приложение 2). 1.4. При определении массы брутто должны быть учтены необходимые поправки на результат измерения массы брутто нефти по давлению, температуре нефти, содержанию в ней свободного газа. При определении плотности нефти в химлаборатории по отобранной пробе необходимо учитывать также поправку на возникающую при этом систематическую погрешность, связанную в первую очередь с испарением легких фракций из отобранной пробы нефти. 1.5. Действия оперативного персонала и ответственность за расчет и введение поправок должны быть оговорены в инструкции по эксплуатации узла учета. 1.6. Для контроля наличия и измерения количества свободного газа в нефти УУН должен быть оборудован приборами типа ИФС-1 и УОСГ-100М. Индикатор фазового состояния ИФС-1 должен быть установлен на приеме насосов внешней откачки. Прибор УОСГ-100М должен быть установлен в блоке контроля качества (БКК) в соответствии со схемой, приведенной в рекомендуемом приложении 3. 1.7. При отборе нефти на преобразователь плотности и УОСГ-100М должны обеспечиваться одинаковые скорости течения в трубопроводе в месте отбора и входных патрубках пробозаборного устройства, выполненного по ГОСТ 2517-80. Контроль изокинетичности отбора пробы нефти осуществляется с помощью расходомера, установленного в БКК (см. схему приложения 3). Рекомендуемое соотношение расходов нефти через систему отбора и в трубопроводе для обеспечения изокинетических условий приведено в приложении 4. 1.8. Измерение температуры и давления нефти, проходящей через ТПР, производится на выходном коллекторе УУН. 1.9. Измерение температуры и давления нефти, проходящей через преобразователь плотности, производится в БКК на выходе плотномера. 1.10. Для измерения давления и температуры используются манометры класса точности 1,5 и ртутные термометры с ценой деления 0,1 °С. 1.11. На межповерочном интервале должен осуществляться периодический контроль коэффициентов преобразования ТПР в соответствии с приложением 6. 2. ВВЕДЕНИЕ ПОПРАВОК НА РЕЗУЛЬТАТ ИЗМЕРЕНИЯ МАССЫ БРУТТО НЕФТИ2.1.1. Массу брутто (Mбр.сч.) нефти определяют по показаниям вторичных приборов измерения или результатам регистрации на цифропечатающем устройстве (ЦПУ) в соответствии с п. 2.1 МИ 275-83. 2.1.2. В результат измерений по п. 2.1.1 должна быть введена поправка, учитывающая различие термодинамических условий в преобразователе плотности и ТПР. Поправка вводится со знаком, полученным в результате вычислений, т.е. может складываться с измеренным значением массы брутто или вычитаться из него:
ΔР = Ртпр - Рпл; Δt = tпл - tтпр; где Мбр - значение массы брутто с учетом поправок, т; ΔМ - поправка на измеренное значение массы-брутто, т; КΣ - суммарный поправочный множитель; F - коэффициент сжимаемости нефти, F = 1,0 × 10-3 МПа-1; β - объемный коэффициент термического расширения, значения β представлены в приложении 5. Рпл, Ртпр - среднесменные значения давления нефти соответственно в преобразователе плотности и ТПР, МПа; tпл, tтпр - среднесменные значения температуры нефти соответственно в преобразователе плотности и ТПР, °С. 2.1.3. Среднесменные значения температуры и давления вычисляются по данным измерений Pi, ti через 2 часа по формулам
n - общее число измерений за смену. Поправки на давление и температуру учитываются в случаях, если среднее значение разности давлений и температур в ТПР и плотномере в процессе работы узла учета равно или превышает 0,3 МПа и 0,5 °С соответственно. 2.1.4. Текущий контроль работоспособности преобразователя плотности производится в соответствии с "Методикой контроля работоспособности преобразователя плотности в условиях эксплуатации". В случае несоблюдения условий достоверности измерений преобразователя плотности, оговоренных в разделе 6 указанной методики, определение массы брутто нефти за соответствующий период производится по п. 2.2. настоящего РД. 2.2.1. При отказе автоматического плотномера, а также при обнаружении в нефти свободного газа массу брутто нефти Мбр определяют расчетным путем по формуле Мбр = М + ΔМ; М = Vt×ρлt; ΔМ = М·КΣ; КΣ = FP + Kρ - где Vt - измеренный объем нефти при рабочей температуре на узле учета, м3; ρлt - плотность нефти по данным аналитической лаборатории, приведенная к температуре tтпр на узле учета, т/м3; Kρ - поправочный множитель, вводимый при измерении плотности в аналитической лаборатории, определяется по методика приложения 7; Р - давлении (избыточное) в ТПР, MПа; δсг - содержание свободного газа в нефти при рабочем давлении, % учитывается при δсг ³ 0,1 %. 2.2.2. Содержание свободного газа определяют 1-2 раза за смену, но не менее трех раз за сутки, а также непосредственно после появления сигнала с ИФС. Плотность нефти определяют путем лабораторного анализа по ГОСТ 3900-85 с учетом рекомендаций, представленных в приложении 8. 2.3. Поправочные множители вычисляют и округляют до пяти знаков после запятой, значение суммарного поправочного множителя округляют до четырех знаков после запятой, поправку - до целых значений тонн. 2.4. Примеры исправления результата измерения массы брутто нефти путем введения поправок приводятся в справочном приложении 9. В справочных приложениях 10 и 11 приведены методика и примеры расчета суммарной погрешности автоматизированного УУН при подсчете массы брутто нефти с учетом поправок. ПРИЛОЖЕНИЕ 1
| |||||||||||||||||||||||||||||||||||||||||||||||||||||||||||||||||||||||||||||||||||||||||||||||||||||||||||||||||||||||||||||||||||||||||||||||||||||||||||||||||||||||||||||||||||||||||||||||||||||||||||||||||||||||||||||||||||||||||||||||||||||||||||||||||||||||||||||||||||||||||||||||||||||||||||||||||||||||||||||||||||||||||||||||||||||||||||||||||||||||||||||||||||||||||||||||||||||||||||||||||||||||||||||||||||||||||||||||||||||||||||||||||||||||||||||||||||||||||||||
|
Смена |
Номер рабочей линии |
Значения коэффициентов преобразования ТПР |
Отклонение, % |
Объем перекачки за смену, м3 |
Среднесменные значения параметров |
||||||||||
|
Kдi |
Kд прi |
Дата приварки |
Δi |
Vi |
VΣ |
Pтпр МПа |
Рпл МПа |
tпл °С |
tтпр °С |
ρпл кг/м3 |
ρлt кг/м3 |
δсг, % |
|||
|
20.02 |
I |
1 |
1513 |
1511,8 |
12.02 |
0,08 |
14609 |
42390 |
0,87 |
0,54 |
23,7 |
24,3 |
843,3 |
844,7 |
0 |
|
3 |
1431 |
1429,6 |
12.02 |
0,10 |
13836 |
||||||||||
|
4 |
1540 |
1540,3 |
12.02 |
-0,02 |
13945 |
||||||||||
|
22.02 |
II |
1 |
|
|
|
0,08 |
14887 |
42794 |
0,92 |
- |
- |
23,6 |
- |
846,0 |
0 |
|
3 |
0,10 |
13742 |
|||||||||||||
|
4 |
-0,02 |
14165 |
|||||||||||||
|
12.03 |
I |
2 |
1591 |
1590,4 |
4.03 |
0,04 |
12955 |
44447 |
0,87 |
- |
- |
24,1 |
- |
844,8 |
0,3 |
|
3 |
1431 |
1428,9 |
3.03 |
0,15 |
15969 |
||||||||||
|
4 |
1540 |
1538,6 |
3.03 |
0,09 |
15523 |
||||||||||
Таблица 2
РАСЧЕТ ПОПРАВОК
|
Смена |
Поправочные множители |
Измеренное
значение массы брутто |
Поправка на массу брутто ΔМ, т |
Исправленное значение массы брутто, Мбр, т |
Подписи представителей поставщика и покупателя |
||||||
|
FΔP |
βΔt |
FPтпр |
Кρ |
|
КΣ |
||||||
|
1 |
2 |
3 |
4 |
5 |
6 |
7 |
8 |
9 |
10 |
11 |
12 |
|
20.02 |
I |
0,00033 |
-0,00050 |
|
|
|
-0,0002 |
35747 |
-7,0 |
35740 |
|
|
22.02 |
II |
- |
- |
0,00092 |
-0,00240 |
0 |
-0,0015 |
36204 |
-54 |
36150 |
|
|
12.03 |
I |
- |
- |
0,00087 |
-0,00257 |
0,0030 |
-0,0047 |
37549 |
-176 |
37373 |
|
Акт составляется в трех экземплярах
и передается 1 - экз. - продавцу;
1 - экз. - покупателю; 1 - экз. –
Управлению СНМ.
|
№№ пп |
Декада м-ца, дата, смена, за которую выполнен контроль |
Значение поправочных множителей |
|||||||||
|
рассчитанных представителями продавца-покупателя |
рассчитанных при выборочном контроле |
||||||||||
|
βΔt |
FΔP |
|
Kρ |
KΣ |
βΔt |
FΔP |
|
Kρ |
KΣ |
||
|
1. |
|
|
|
|
|
|
|
|
|
|
|
|
2. |
|
|
|
|
|
|
|
|
|
|
|
|
3. |
|
|
|
|
|
|
|
|
|
|
|
|
4. |
|
|
|
|
|
|
|
|
|
|
|
|
5. |
|
|
|
|
|
|
|
|
|
|
|
|
6. |
|
|
|
|
|
|
|
|
|
|
|
|
7. |
|
|
|
|
|
|
|
|
|
|
|
|
8. |
|
|
|
|
|
|
|
|
|
|
|
|
9. |
|
|
|
|
|
|
|
|
|
|
|
|
Поправка на массу брутто |
по расчету продавца-консультанта |
- тн. |
|
по расчету при выборочном контроле |
- тн. |
ЗАКЛЮЧЕНИЕ:
Расчеты поправок по данным, приведенным в "Журнале регистрации
поправок", выполнен
(ненужное зачеркнуть)
______________________________________
(подпись представителя Управления СНМ)

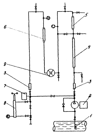
1 - пробозаборное устройство; 2 - насос с электродвигателем; резиновые шланги; 4 - датчик влагомера; 5 - датчик плотномера; 6 - датчик плотномера; 7 - автоматический пробоотборник; прибор УОСГ-100М; 9 - расходомер
РЕКОМЕНДАЦИИ
по обвязке блока качества узла учета нефти
При использовании схемы следует руководствоваться нижеприведенными дополнениями и разъяснениями.
1. Отбор на блоке качества рекомендуется производить с выходного коллектора УУН.
2. При давлениях в магистральных трубопроводах, не превышающих 2,5 МПа, подачу в блок качества производить только через насос на входе (производительность насоса - не менее 3,6 м3/ч). При давлениях более 2,5 МПа допускается применение безнасосной схемы.
3. Насос должен быть установлен в блоке качества.
4. Параллельно насосу необходимо установить вентиль для регулировки производительности.
5. Схема привязки блока качества к трубопроводу должна обеспечивать возможность создания перепада давления в блоке качества не менее 0,2 МПа.
6. Длина трубопровода от пробоотборника до технологической схемы блока качества должна быть не более 2 м. Трубопроводы, идущие от пробоотборника до технологической схемы, должны быть теплоизолированы, причем толщина теплоизолирующих чехлов из асбестоматериалов и стеклоткани должна быть не менее 50 мм.
7. Давление и температура в блоке качества не должны отличаться от давления и температуры в магистральном трубопроводе более чем на 0,5 МПа и 0,5 °С соответственно.
8. Датчики влагомеров и плотномеров должны быть установлены последовательно.
9. В блоке качества должен быть смонтирован резервный плотномер для оперативного контроля достоверности показаний плотномеров.
10. Внутренний диаметр труб, используемых в технологической схеме, должен быть не менее 50 мм.
11. Прибор для измерения свободного газа в нефти УОСГ-100М устанавливается на выходе блока качества.
12. После насоса и перед прибором УОСГ-100М предусмотреть установку шлангов не менее 2².
13. Место отбора пробы для солемера и установки датчика вискозиметра должно быть после прибора УОСГ-100М.
14. Предусмотреть байпасирование блока качества в случае ремонта приборов, сохранив возможность отбора проб.
15. Расходомер для контроля расходов должен быть установлен в блоке качества в промежутке между плотномерами.
16. При перекачке парафинистых нефтей предусмотреть в блоке качества установку бака с соляровым маслом с возможностью нагрева масла и промывки трубных коммуникаций блока качества при помощи насоса.
17. Рекомендуется предусматривать установку в блоке качества резервного насоса.
18. Отступления от данных рекомендаций в части места отбора потока на блок качества и использования безнасосной схемы должны обосновываться в каждом конкретном случае и согласовываться с разработчиками типовой схемы.
Рекомендуемое
|
Условный диаметр трубопровода, мм |
K1×102 |
K2×102 |
|
250 |
0,42 |
1,72 |
|
300 |
0,30 |
1,18 |
|
350 |
0,22 |
0,88 |
|
400 |
0,17 |
0,67 |
|
450 |
0,13 |
0,53 |
|
500 |
0,11 |
0,44 |
|
600 |
0,08 |
0,30 |
|
700 |
0,06 |
0,23 |
|
800 |
0,04 |
0,18 |
|
1000 |
0,03 |
0,11 |
|
1200 |
0,02 |
0,08 |
Q = Ki×Qтр; i = 1,2.
Примечание: 1. К1 - соотношение расходов нефти через пробозаборное устройство Q и трубопровод Qтр, при соотношении диаметров трубок пробозаборного устройства 6:10:13, при кинематической вязкости до 15×10-6 м2/с (15 сСт).
2. К2 - соотношение расхода нефти через пробозаборное устройство Q и трубопровод Qтр, при соотношении диаметров трубок пробозаборного устройства 12:20:26, при кинематической вязкости равной или выше 15×10-6 м2/с (15 сСт).
3. Допускается увеличение расхода нефти в системе пробоотбора в пределах 20 % от рекомендуемого.
Пример расчета.
Определить минимальный расход через пробозаборное устройство с соотношением диаметров трубок 6:10:13, который установили на трубопроводе Ду = 1200 мм при среднем объеме перекачки Qтруб = 10400 м3/час.
Q = K1 × Qтруб = 0,02×10-2×10400 = 2,1 м3/час = 0,6 л/сек.
|
Плотность, кг/м3 |
β×104, °С-1 |
|
800,0-809,9 |
9,5 |
|
810,0-819,9 |
9,2 |
|
820,0-829,9 |
9,0 |
|
830,0-839,9 |
8,7 |
|
840,0-849,9 |
8,4 |
|
850,0-859,9 |
8,2 |
|
860,0-869,9 |
7,9 |
|
870,0-879,9 |
7,7 |
|
880,0-889,9 |
7,5 |
|
890,0-899,9 |
7,2 |
|
900,0-909,9 |
7,0 |
1. Контроль ТПР на межповерочном интервале производится ведомственной метрологической службой для определения фактического значения коэффициента преобразования ТПР в рабочей точке или в фактическом диапазоне расходов и его сопоставления со значением коэффициента, определенного при поверке и выставленного на вторичном приборе.
2. Контроль коэффициента преобразования ТПР производится по ТПУ в соответствии с МИ 303-83. При отсутствии влияния подключения рабочих линий на работу контрольного преобразователя допускается производить контроль коэффициентов преобразования ТПР по контрольному преобразователю, проверенному по ТПУ непосредственно перед проведением контроля рабочих ТПР (в соответствии с МИ 305-83).
3. Для оценки влияния подключения рабочих линий на показания контрольного преобразователя необходимо провести следующие работы
3.1. Определить коэффициент преобразования контрольного ТПР по ТПУ при минимальном значении расхода Qmin из рабочего диапазона без подключения рабочего ТПР - Ко, либо подключив последовательно с ближайшей рабочей линией - К1. Операции проводятся в соответствии с МИ 304-83 не менее чем по пяти измерениям.
3.2. Операции по п. 3.1 провести, подключая контрольный преобразователь последовательно к каждому рабочему.
3.3. Определить изменение коэффициента преобразования контрольного ТПР при подключении i-ой рабочей линии:
%
или
(1)
где Кi - коэффициенты преобразования контрольного ТПР, определенные по п. 3.2.
3.4. При δki £ 0,05 % влияние рабочих линий на работу контрольного ТПР считается несущественным.
3.5. По результатам работ составляется акт, в котором выносится решение о методе контроля рабочих ТПР: по контрольному преобразователю или по ТПУ. Акт подписывается представителями организации, обслуживающей УУН, а также представителями предприятий поставщика и покупателя.
4. Перед проведением контроля определяются рабочие точки или рабочий диапазон загрузки преобразователя на интервале времени между данным контролем и предыдущим контролем или поверкой.
5. При отличии фактического диапазона расходов за контролируемый период от рабочего диапазона, в котором поверен преобразователь, не более чем на ± 5 % от Qmax, среднее значение коэффициента преобразования при контроле (Кд пр) определяется в тех же точках, что и при поверке, по пяти измерениям в каждой точке диапазона:
(2)
где m - общее число измерений,
Ki пр - результат i-го измерения.
6. Определяется отклонение полученного при контроле значения Кд пр, от величины Кд, выставленной на вторичном приборе:
(3)
7. При /Δ/ ³ 0,1 % контроль повторяется через 5 дней.
Если по результатам двух повторных контрольных проверок сохраняется знак величины Δ и соблюдается /Δ/ ³ 0,1 %, то необходимо провести внеочередную поверку ТПР и определить новое значение Кд΄.
8. Если
то производится
перерасчет количества нефти, учтенного данным ТПР за период
между настоящей поверкой и контролем, выявившем отклонение Кд,
превышающее 0,1 %. Перерасчет осуществляется по формуле:
(4)
где ΔМi - количество нефти в тоннах, на которое корректируется количество сданной - (принятой) нефти (с учетом знака "+" или "-");
Kд, K¢д - средние значения коэффициента преобразования ТПР в диапазоне соответственно при предыдущей и настоящей поверках i-го преобразователя;
Vij - объем нефти, учтенный i-м преобразователем за j-ю смену;
VΣj - суммарный объем, учтенный за j-ю смену;
- количество учтенной нефти в тоннах за j-ю смену;
n - число смен работы i-го преобразователя за рассматриваемый период.
Изменение учтенного количества нефти ΔМi оформляется двухсторонним актом между покупателем и продавцом.
8. Интервал между проверками не должен превышать десяти суток фактической наработки преобразователя расхода.
1. Определяется среднесменное значение плотности нефти при температуре на УУН по данным аналитической лаборатории. При числе измерений плотности за смену меньшем 4-х определяются среднесуточные значения:
(1)
где n - число определений плотности за смену (сутки);
-
значение i-гo определения по ГОСТ 3900-85.
2. Определяется среднесменное (среднесуточное) значение плотности нефти по показаниям преобразователя плотности, проверенного в условиях эксплуатации по "Методике контроля преобразователя плотности в условиях эксплуатации":
(2)
где
- учтенная за смену
(сутки) масса брутто нефти по показаниям вторичных приборов или ЦПУ;
-
суммарный объем, учтенный за смену (сутки).
3. Определяется коэффициент приведения:
К = 1 + 1,0×10-3×Рпл + β(tтпр - tпл), (3)
где Рпл - среднесменное (среднесуточное) давления нефти в плотномере, МПа,
![]()
tтпр, tпл - среднесменные (среднесуточные) значения температуры нефти соответственно на УУН и в плотномере.
4. Определяется значение
с учетом его знака
("+" или "-"):
, (4)
где ![]()
5. При отключении
поточного плотномера проводится усреднение полученных значений
за ближайшие 30 смен
(суток), для которых соблюдалось условие достоверности показаний преобразователя
плотности, оговоренное в р. 6 "Методики контроля...". При усреднении
обязательно учитывается знак:
. (5)
Полученном значение поправочного множителя Кρ заносится со своим знаком в журнал регистрации поправок (приложение 1) и используется в расчетах поправок на массу брутто нефти весь период работы УУН с отключенным плотномеров.
6. В начальный период
ввода в действие данного РД допускается определить Кρ
по усреднению значений
за 10¸12 смен.
По мере накопления статистических данных по
производится уточнение значения Кρ:
(6)
где
и
- значения поправочного
множителя по усреднению за n и n + 1 смен соответственно;
-
значение
за (n + 1)-ю смену.
Таблица 1
Форма регистрации значений
и пример расчета
|
Данные i-ых измерений |
Среднесуточные значения |
К |
|
|||||||||
|
ρлi |
ρплi |
ρплi |
tтпрi |
tплi |
|
|
Рпл |
tтпр |
tпл |
|||
|
1.07.84 г. |
0,8416 |
0,8397 |
0,80 |
42 |
41 |
0,8408 |
0,8393 |
0,80 |
42,0 |
40,6 |
1,0019 |
-0,0036 |
|
0,8399 |
0,8393 |
0,80 |
43 |
41,5 |
||||||||
|
0,8408 |
0,8389 |
0,80 |
41 |
39,5 |
||||||||
|
2.07.84 г. |
0,8402 |
0,8394 |
0,75 |
41 |
40 |
0,8412 |
0,8407 |
0,77 |
41,3 |
40,3 |
1,0016 |
-0,0022 |
|
0,8423 |
0,8409 |
0,80 |
41 |
40 |
||||||||
|
0,8412 |
0,8419 |
0,75 |
42 |
41 |
||||||||
1. Пробу нефти отбирают автоматическим или ручным пробоотборником по ГОСТ 2517-65.
2. Нефть из контейнера пробоотборника затопленной струей (по трубке, опущенной до дна) сливается в канистру, которая доставляется в лабораторию.
3. Пробу нефти необходимо анализировать в кратчайшие сроки после отбора. Если возникает необходимость хранения пробы до проведения испытаний, температура хранения не должна превышать 20 °С.
4. Последовательность операций при проведении измерений
4.1. Пробу нефти из канистры переливают в измерительный цилиндр по трубке, опущенной до дна, по возможности исключив соприкосновение струи с атмосферой. При этом следует избегать образования воздушных пузырьков.
4.2. Пену, которая образуется на поверхности нефти, снимают фильтровальной бумагой.
4.3. Цилиндр устанавливают на ровной поверхности в месте, где нет сквозняков.
4.4. Чистый и сухой ареометр медленно и осторожно погружают в нефть примерно на два деления шкалы, держа за верхний конец, и сообщают ему легкое кручение. Часть стержня ареометра, находящаяся над поверхностью жидкости, должна быть сухой, так как присутствие жидкости на стержне влияет на полученные показания.
4.5. Измерение плотности и температуры нефти производят через две-три минуты после погружения, чтобы ареометр и термометр приняли температуру нефти и воздушные пузырьки вышли на поверхность.
4.6. Измеряют температуру пробы нефти до и после измерения плотности, осторожно перемешивая нефть термометром, тщательно следя за тем, чтобы столбик ртути был полностью погружен, и чтобы стержень ареометра не смачивался выше уровня погружения.
4.7. Результат записывает в единицах плотности кг/м3. Запись и округление чисел производят по СТ СЭВ 535-77 до четырех значащих цифр.
В журнал регистрации поправок (приложение 1, табл. 1) ежесменно вносятся значения всех параметров, необходимых для расчета поправочных множителей. Во 2-й таблице приложения приводятся значения поправочных множителей, рассчитанные по формулам п.п. 2.1 и 2.2., величина поправки ΔМ и исправленное значение массы брутто.
Пример 1. Исходные данные для расчета поправок приведены в таблице 1 приложения 1. Свободный газ отсутствует, поточный плотномер работает - поверен, проверен на месте эксплуатации, его показания за смену 20 февраля удовлетворяют требованиям текущего контроля датчика плотности.
Расчет поправки ведется по п. 2.1 РД:
,
где
- масса нефти по
показаниям цифропечатающего устройства за смену (35747 т.);
ΔР - средняя разность давлений на ТПР и плотномере за смену, ΔР = 0,87 - 0,54 = 0,33 МПа;
F = 1×10-3 МПа-1;
β = 8,4×10-4 °С-1 (приложение 5);
Δt - средняя разность температур на плотномере и ТПР за смену, Δt = tтпр - tпл;
Δt = + 0,6 °С,
ΔМ = 35747 (0,00033 - 0,00050) = 35747 (0,00033 - 0,00050) = 35747 (-0,00017) = - 6 т.
В таблицу 2 заносится величина поправки и поправочные множители: FΔP, βΔt, KΣ.
Кроме того для набора статистики по поправочному множителю
каждую смену при работающем плотномере следует определять величину
:
![]()
К = 1 + F×ΔP + βΔt = 1 + 0,00033 + 0,00050 = 1,00083;
![]()
Пример 2. Во 2 смену 22 февраля на УУН отключен плотномер (снят для проверки, т.к. на предыдущую смену показания плотномера не удовлетворяли условию текущего контроля).
Все данные, необходимые для расчета поправочных коэффициентов и поправки берутся из таблицы 1, поправочный множитель Кρ = -0,0024 определен как среднее значение за предшествующие 30 смен, в течение которых плотномер работал удовлетворительно.
Расчет поправки производится по п. 2.2 РД:
![]()
ΔМ = 36204 (0,00092 - 0,0024) = 36204 (-0,0015) = -54 т.
Пример 3. 12 марта. 1 смена, плотномер не работает из-за наличия в нефти свободного газа.
δсг = 0,3 %, все данные, необходимые для расчета - в таблице 1.
Расчет поправки - по п. 2.2 РД:
ΔМ = 37549 (0,00087 - 0,00257 - 0,0030) = 37549 (-0047) = -176 т.
1. При отсутствии свободного газа в нефти при определении массы брутто по п. 2.1 настоящего РД суммарная относительная погрешность вычисляется по формуле:
(1)
(2)
(3);
(4)
(5)
(6)
(7)
(8)
(9)
где Δтпр - наибольшее значение относительной основной погрешности ТПР в рабочем диапазоне расходов, % (из свидетельства об аттестации или поверке);
Δρпл - относительная погрешность определения плотности, %;
Sпл - приведенная основная погрешность преобразователя плотности, % (из свидетельства об аттестации или поверке);
ρmax - наибольшее значение диапазона измерений преобразователя плотности, т/м3 (из свидетельства об аттестации или поверке датчика плотности);
ρ - среднее значение плотности нефти, проходящей через УУН, т/м3:
при аттестации - за время аттестации УУН, при поверке - за межповерочный интервал (из паспорта на сдаваемую нефть согласно приложению 9 МИ 275-83);
ΔNБ - относительная основная погрешность ЦБОИ при подсчете массы брутто нефти, % (из свидетельства об аттестации или поверке ЦБОИ);
ΔF - относительная погрешность определения коэффициента сжимаемости, % (по предварительным данным ΔF £ 20 %);
Δ
- относительная погрешность определения
разности давлений, %;
Sр - класс манометра, %;
Рм - наибольшее значение диапазона измерений манометра, кг/см2;
- среднее значение разницы давлений нефти в
ТПР и плотномере, кг/см2;
Δβ - относительная погрешность определения коэффициента термического расширения, % (по предварительным данным Δβ £ 5 %);
Δ
-
относительная погрешность определения разности температур, %;
Сt - цена деления термометра, °С;
-
среднее значение разности температур нефти в плотномере и ТПР, °С;
F - коэффициент сжимаемости нефти (F = 1,0×10-4 см2/кг);
β - коэффициент термического расширения нефти (β представлены в приложении 5).
2. При отключении преобразователя плотности при определении массы брутто по п. 2.2 суммарная относительная погрешность вычисляется по формулам:
(10)
(13)
(14)
(15)
где Δρл - относительная погрешность измерения плотности ареометром, %;
Δρmax - предельная допускаемая погрешность ареометра, т/м3;
ρл - значение плотности, полученное с помощью ареометра, т/м3;
γ - температурная поправка по ГОСТ 3900-47;
Сtл - цена деления термометра, которым замеряется температура пробы в лаборатории, °С;
Сtр - цена деления термометра, которым замеряется температура нефти на УУН, °С;
Р - среднее значение давления на УУН;
Δr - предельная основная погрешность измерения содержания свободного газа в нефти, % (для УОСГ-100М при δсг ³ 1,0 %, Δг = 0,05 %);
ΔΚρ - погрешность определения поправочного множителя Κρ;
-
значение поправочного множителя, определенное по среднесуточным значениям
параметров по методике, представленной в приложении 7;
n - число суток, за которые усредняется значение поправочного множителя.
Пример 1.
Исходные данные для расчета
1. Измерение объема нефти производится по двум измерительным линиям. Значения относительной погрешности для работающих ТПР по данным поверки:
Δ тпр1 = 0,21 %; Δ тпр2 = 0,23 %.
2. Измерение плотности нефти производится преобразователем плотности.
Параметры датчика плотности:
Sпл = 0,1 %, ρмакс = 1 т/м3 (из свидетельства об аттестации).
3. Среднее значение плотности нефти
ρ = 0,854 м/м3.
4. Давление нефти на УУН в районе ТПР: Ртпр = 0,85 МПа, температура tтпр = 32 °С.
5. Давление нефти в плотномере Рпл = 0,7 МПа, температура tпл = 31 °С.
6. Класс манометров Sр = 1,0, предел измерения Рм = 2,5 MПа.
7. Цена деления термометров
Сt = 0,5°.
8. Относительная погрешность ЦБОИ ΔNБ = 0,2 %:
КΣ = [1×10-3×(0,85 - 0,7) - 8,2×10-4×1,0 - 0,0012] = -0,0019.
По формулам П. 10 настоящего РД вычисляем составляющие суммарной погрешности УУН:
![]()
![]()
![]()
![]()
![]()
![]()
Суммарная погрешность определения Мбр на УУН составляет:
![]()
![]()
Пример 2.
В связи с появлением в нефти свободного газа (δсг = 0,3 %) измерение плотности нефти производится в аналитической лаборатории. Расчет массы брутто производится по п. 2.2 настоящего РД. Вычислим погрешность определения массы брутто на УУН в соответствии с п. 2. П. 10.
1. Определяем относительную погрешность измерения плотности ареометром по формуле (11) при следующих исходных данных:
- предельная допустимая погрешность ареометра
Δρmax = 0,5×10-3 т/м3;
- значение плотности нефти по ареометру ρл = 0,8602 т/м3;
- температурная поправка
по ГОСТ 3900-47 γ = 0,000686
:
- цена деления термометров:
лабораторного Сtл = 0,1 °С;
на УУН Ctр = 0,5 °С.

![]()
2. Вычислим поправочный множитель Кρ.
2.1. По
методике, приведенной в приложении 7 по данным, часть которых представлена в
таблице 1, вычисляем среднесуточное значение
для ближайших
предыдущих 30 дней.
2.2. Усредняем полученные значения и определяем Кρ = -0,00174.
2.3. Оцениваем дисперсию среднего значения Кρ по формуле
![]()
Для рассматриваемого случая
.
2.4. Вычисляем предельную погрешность определения Кρ (при доверительной вероятности Р = 0,95) по формуле (12) (погрешность плотномера взята из примера 1);
![]()

3. Суммарный поправочный множитель вычисляется по формуле (16);
![]()
4. Для давления на УУН Ртпр = 0,85 МПа
![]()
5. ![]()
![]()
6. С учетом полученных составляющих погрешностей вычислим суммарную погрешность определения массы брутто нефти при наличии свободного газа:
![]()
![]()
СОДЕРЖАНИЕ
|
|
|
|