|
| |
РУКОВОДЯЩИЙ
ТЕХНИЧЕСКИЙ МАТЕРИАЛ
РЕКОМЕНДАЦИИ
ПО ИЗГОТОВЛЕНИЮ
СОЕДИНИТЕЛЬНЫХ ДЕТАЛЕЙ
ИЗ ПОЛИЭТИЛЕНОВЫХ
И ПОЛИПРОПИЛЕНОВЫХ ТРУБ
ДЛЯ МОНТАЖА ТЕХНОЛОГИЧЕСКИХ
ТРУБОПРОВОДОВ
РТМ 36.44.15.3-87
МИНИСТЕРСТВО МОНТАЖНЫХ И
СПЕЦИАЛЬНЫХ
СТРОИТЕЛЬНЫХ РАБОТ СССР
Москва 1988
РАЗРАБОТАН Киевским филиалом
ВНИИмонтажспецстроя (Г. Н. Лысюк, Н. А. Цецюра, Е. Ш-М. Гисер, В. Х. Бондарь,
канд. техн. наук Э. В. Котенко, канд. техн. наук Л. М. Шмульский, Ю. Д.
Овсянников, Ю. А. Сидоренко, В. Н. Кравченко, Э. Д. Коротченко, канд. техн.
наук Р. И. Тавастшерна.
УТВЕРЖДЕН Киевским филиалом ВНИИмонтажспецстроя 20 июля 1987
г.
СОДЕРЖАНИЕ
РУКОВОДЯЩИЙ
ТЕХНИЧЕСКИЙ МАТЕРИАЛ
|
РЕКОМЕНДАЦИИ
ПО ИЗГОТОВЛЕНИЮ СОЕДИНИТЕЛЬНЫХ ДЕТАЛЕЙ ИЗ ПОЛИЭТИЛЕНОВЫХ И ПОЛИПРОПИЛЕНОВЫХ
ТРУБ ДЛЯ МОНТАЖА ТЕХНОЛОГИЧЕСКИХ ТРУБОПРОВОДОВ
|
РТМ 36.44.15.3-87
Введен
впервые
|
Срок
введения установлен с 1 января 1988 г.
1.1. Настоящие рекомендации разработаны в развитие «Инструкции по
монтажу технологических трубопроводов из пластмассовых труб» ВСН
440-83/ММСС СССР в части соединительных деталей, изготовляемых из
полиэтиленовых и полипропиленовых труб и применяемых в соответствии с
«Инструкцией по проектированию технологических трубопроводов из пластмассовых
труб» СН
550-82.
1.2. Рекомендации содержат типы и основные размеры гнутых и сварных
отводов, равнопроходных и переходных сварных тройников, формованных втулок под
фланцы и формованных переходов, требования к их изготовлению, правила приемки,
методы испытания, требования к маркировке, транспортированию и хранению.
1.3. Соединительные детали изготовляются в условиях
трубозаготовительных цехов или участков при температуре окружающего воздуха не
ниже + 10 °С в соответствии с требованиями ВСН
440-83/ММСС СССР.
1.4. Соединительные детали изготовляют из полиэтиленовых труб высокого
и низкого давления по ГОСТ 18599-83 и
полипропиленовых труб по ТУ 38-102-100-76.
1.5. Отводы сварные и гнутые, втулки формованные под фланец и
формованные переходы среднего С и тяжелого Т типа изготовляют из труб типа С и
Т соответственно. Тройники равнопроходные и переходные сварные типа С
изготовляют из труб типа Т.
Примечание. Соединительные детали типа С и Т отвечают номинальному
давлению воды при 20 °С, равному 0,6 МПа (6 кгс/см2) и 1,0 МПа (10
кгс/см2) соответственно.
2.1. Основные размеры гнутых отводов выбирают согласно черт. 1 и табл. 1.
Гнутый отвод

Черт. 1.
Таблица 1
Размеры гнутого отвода, мм
|
Dн
|
R
|
l
|
L
|
|
j = 90°
|
j = 60°
|
j
=
45°
|
j = 30°
|
|
25
|
100
|
100
|
200
|
158
|
141
|
127
|
|
32
|
130
|
100
|
230
|
175
|
154
|
135
|
|
40
|
160
|
100
|
260
|
192
|
166
|
143
|
|
50
|
200
|
100
|
300
|
215
|
183
|
154
|
|
63
|
250
|
150
|
400
|
294
|
254
|
222
|
|
75
|
300
|
150
|
450
|
323
|
274
|
230
|
|
90
|
360
|
150
|
510
|
358
|
299
|
246
|
|
110
|
440
|
150
|
590
|
404
|
332
|
263
|
|
125
|
500
|
150
|
650
|
439
|
357
|
284
|
|
140
|
560
|
150
|
710
|
473
|
382
|
300
|
|
160
|
640
|
150
|
790
|
490
|
415
|
321
|
Пример
условного обозначения гнутого отвода с углом j = 90°
из труб наружным диаметром 63 мм типа Т, материал труб - полиэтилен высокого
давления: отвод гнутый 90° - ПВД63Т.
2.2. Основные размеры сварных отводов выбирают согласно черт. 2 и табл. 2.
Сварной
отвод

Черт. 2.
а -
односекторный с углом j = 90°; б - двухсекторный с углом j = 90°; в - с углом j = 60°; г - с углом j = 45°; д - с углом j = 30°; е - полусектор; ж - сектор; 1 - a = 15°, 2 - a =
22°30′; 3 - a = 15°; 4 - a =
22°30′.
Таблица 2
Размеры сварного отвода, мм
|
Dн
|
R
|
a
|
h
|
l
|
|
j = 90° односекторный
|
j = 90° двухсекторный
|
j = 60°
|
j = 45°
|
j = 30°
|
j = 15°
|
j = 22°30′
|
j = 15°
|
j = 22°30′
|
|
25
|
38
|
130
|
-
|
116
|
107
|
103
|
31
|
45
|
108
|
114
|
|
32
|
48
|
140
|
-
|
122
|
112
|
106
|
38
|
57
|
112
|
120
|
|
40
|
60
|
150
|
-
|
127
|
116
|
107
|
47
|
70
|
114
|
126
|
|
50
|
75
|
160
|
-
|
130
|
117
|
105
|
58
|
87
|
113
|
129
|
|
63
|
95
|
220
|
-
|
182
|
164
|
151
|
72
|
108
|
161
|
179
|
|
75
|
113
|
235
|
-
|
189
|
169
|
152
|
84
|
128
|
164
|
186
|
|
90
|
135
|
260
|
-
|
205
|
181
|
161
|
100
|
153
|
175
|
201
|
|
110
|
165
|
290
|
290
|
223
|
194
|
170
|
122
|
186
|
187
|
219
|
|
125
|
188
|
340
|
340
|
263
|
230
|
203
|
138
|
211
|
222
|
258
|
|
140
|
210
|
360
|
360
|
274
|
237
|
207
|
154
|
236
|
228
|
268
|
|
160
|
240
|
390
|
390
|
291
|
249
|
215
|
175
|
269
|
238
|
284
|
|
180
|
270
|
420
|
420
|
308
|
263
|
222
|
197
|
302
|
248
|
302
|
|
200
|
300
|
450
|
450
|
326
|
275
|
231
|
218
|
335
|
260
|
318
|
|
225
|
338
|
490
|
490
|
349
|
292
|
242
|
255
|
377
|
274
|
340
|
|
250
|
375
|
600
|
600
|
441
|
387
|
325
|
272
|
418
|
362
|
434
|
|
280
|
420
|
670
|
670
|
492
|
424
|
362
|
304
|
468
|
400
|
484
|
|
315
|
473
|
770
|
770
|
573
|
495
|
425
|
342
|
526
|
469
|
558
|
Пример
условного обозначения сварного односекторного отвода с углом j = 90° из полипропиленовых труб наружным диаметром 63 мм
типа С: отвод сварной 1-90° - ПП63С. Пример условного обозначения сварного
двухсекторного отвода с углом j = 90°
из полипропиленовых труб наружным диаметром 110 мм типа С: отвод сварной П-90° -
ПП110С.
Пример
условного обозначения сварного отвода с углом j = 60°
из полипропиленовых труб наружным диаметром 110 мм типа С: отвод сварной 60° -
ПП110С.
2.3. Основные размеры сварных равнопроходных
тройников выбирают согласно черт. 3 и табл. 3.
Сварной
равнопроходный тройник

Черт. 3.
Таблица 3
Размеры сварных равнопроходных тройников, мм
|
Dн
|
L
|
S
|
S1
|
|
ПНД
|
ПВД
|
ПНД
|
ПВД
|
|
25
|
230
|
2,3
|
4,2
|
2,0
|
2,7
|
|
32
|
230
|
3,0
|
5,4
|
2,0
|
3,5
|
|
40
|
240
|
3,7
|
6,7
|
2,3
|
4,3
|
|
50
|
250
|
4,6
|
8,4
|
2,9
|
5,4
|
|
63
|
320
|
5,8
|
10,5
|
3,6
|
6,8
|
|
75
|
340
|
6,9
|
12,5
|
4,3
|
8,1
|
|
90
|
360
|
8,2
|
15,0
|
5,1
|
9,7
|
|
110
|
400
|
10,0
|
18,4
|
6,3
|
11,8
|
|
125
|
520
|
11,4
|
20,9
|
7,1
|
13,4
|
|
140
|
560
|
12,8
|
-
|
8,0
|
-
|
|
160
|
600
|
14,6
|
-
|
9,1
|
-
|
|
180
|
640
|
16,4
|
-
|
10,2
|
-
|
|
200
|
660
|
18,2
|
-
|
11,4
|
-
|
|
225
|
700
|
20,5
|
-
|
12,8
|
-
|
|
250
|
740
|
22,8
|
-
|
14,2
|
-
|
|
280
|
760
|
25,5
|
-
|
15,9
|
-
|
|
315
|
800
|
28,7
|
-
|
17,9
|
-
|
Пример
условного обозначения сварного равнопроходного тройника, изготовленного из труб
типа Т наружным диаметром 63 мм; материал труб - полиэтилен низкого давления:
тройник - ПНД63С.
2.4. Основные размеры сварных переходных
тройников выбирают согласно черт. 4 и табл. 4.
Сварной
переходный тройник

Черт. 4
Таблица 4
Размеры сварных переходных тройников, мм
|
Dн
|
dн
|
L
|
S
|
S1
|
S2
|
S3
|
|
ПНД
|
ПВД
|
ПНД
|
ПВД
|
ПНД
|
ПВД
|
ПНД
|
ПВД
|
|
110
|
50
|
400
|
10,8
|
18,4
|
6,3
|
11,8
|
4,6
|
8,4
|
2,9
|
5,4
|
|
110
|
63
|
400
|
10,0
|
18,4
|
6,3
|
11,8
|
5,8
|
10,5
|
3,6
|
6,8
|
|
110
|
75
|
400
|
10,0
|
18,4
|
6,3
|
11,8
|
6,9
|
12,6
|
4,3
|
8,1
|
|
125
|
63
|
520
|
11,4
|
20,9
|
7,1
|
13,4
|
5,8
|
10,5
|
3,6
|
6,8
|
|
125
|
90
|
520
|
11,4
|
20,9
|
7,1
|
13,4
|
8,2
|
15,0
|
5,1
|
9,7
|
|
140
|
110
|
560
|
12,8
|
-
|
8,0
|
-
|
10,0
|
-
|
6,3
|
-
|
|
160
|
110
|
600
|
14,6
|
-
|
9,1
|
-
|
10,0
|
-
|
6,3
|
-
|
|
160
|
125
|
600
|
14,6
|
-
|
9,1
|
-
|
11,4
|
-
|
7,1
|
-
|
|
180
|
110
|
640
|
16,4
|
-
|
10,2
|
-
|
10,0
|
-
|
6,3
|
-
|
|
180
|
140
|
640
|
16,4
|
-
|
10,2
|
-
|
12,8
|
-
|
8,0
|
-
|
|
200
|
110
|
660
|
18,2
|
-
|
11,4
|
-
|
10,0
|
-
|
6,3
|
-
|
|
200
|
160
|
660
|
18,2
|
-
|
11,4
|
-
|
14,6
|
-
|
9,1
|
-
|
|
225
|
110
|
700
|
20,5
|
-
|
12,8
|
-
|
10,0
|
-
|
6,3
|
-
|
|
225
|
160
|
700
|
20,5
|
-
|
12,8
|
-
|
14,6
|
-
|
9,1
|
-
|
|
250
|
160
|
740
|
22,8
|
-
|
14,2
|
-
|
14,6
|
-
|
9,1
|
-
|
|
280
|
160
|
760
|
25,5
|
-
|
15,9
|
-
|
14,6
|
-
|
9,1
|
-
|
|
315
|
160
|
800
|
28,7
|
-
|
17,9
|
-
|
14,6
|
-
|
9,1
|
-
|
Пример
условного обозначения сварного переходного тройника, изготовленного из труб
типа Т наружным диаметром 110 и 63 мм; материал труб - полиэтилен низкого
давления: тройник - ПНД110×63С.
2.5. Основные размеры формованных втулок под фланец выбирают согласно
черт. 5
и табл. 5.
Формованная
под фланец втулка

Черт. 5.
Таблица 5
Размеры формованной втулки под фланец, мм
|
Dн
|
Dб
|
D1
|
R
|
L
|
l
|
Н
|
|
ПНД,
тип С и Т, ПП, тип С
|
ПВД,
тип С
|
ПВД,
тип Т
|
|
25
|
51
|
30
|
2,0
|
125
|
110
|
6
|
6
|
15
|
|
32
|
63
|
37
|
2,0
|
125
|
105
|
8
|
7
|
15
|
|
40
|
74
|
45
|
2,0
|
125
|
105
|
9
|
8
|
15
|
|
50
|
86
|
55
|
2,0
|
125
|
100
|
12
|
10
|
15
|
|
63
|
102
|
73
|
3,0
|
125
|
95
|
12
|
12
|
16
|
|
75
|
122
|
88
|
3,0
|
140
|
110
|
14
|
15
|
18
|
|
90
|
137
|
100
|
3,5
|
140
|
110
|
16
|
18
|
22
|
|
110
|
158
|
122
|
3,5
|
140
|
80
|
20
|
18
|
24
|
|
125
|
175
|
135
|
3,5
|
140
|
80
|
22
|
20
|
24
|
|
140
|
190
|
150
|
3,5
|
140
|
80
|
25
|
-
|
-
|
|
160
|
212
|
172
|
3,5
|
140
|
80
|
28
|
-
|
-
|
|
180
|
229
|
190
|
4,5
|
140
|
80
|
32
|
-
|
-
|
|
200
|
246
|
210
|
4,5
|
140
|
80
|
36
|
-
|
-
|
|
225
|
268
|
233
|
4,5
|
140
|
80
|
40
|
-
|
-
|
|
250
|
300
|
265
|
5,5
|
160
|
80
|
42
|
-
|
-
|
|
280
|
330
|
295
|
5,5
|
160
|
80
|
46
|
-
|
-
|
|
315
|
370
|
332
|
5,5
|
160
|
80
|
50
|
-
|
-
|
Пример
условного обозначения формованной втулки под фланец, изготовленной из
полипропиленовых труб типа С наружным диаметром 63 мм:
втулка под фланец ПП63С.
2.6. Основные размеры формованных переходов выбирают согласно черт. 6 и табл. 6.
Формованный
переход

Черт. 6.
Таблица 6
Размеры формованного перехода, мм
|
D
|
d
|
L
|
S
|
S1
|
|
полиэтилен
высокого
давления
типа
|
полиэтилен
низкого давления типа
|
полипропилен
типа
|
полиэтилен
высокого
давления
типа
|
полиэтилен
низкого
давления
типа
|
полипропилен
типа
|
|
С
|
Т
|
С
|
Т
|
С
|
С
|
Т
|
С
|
Т
|
С
|
|
32
|
25
|
63
|
4,1
|
6,2
|
2,4
|
3,5
|
-
|
3,2
|
4,9
|
2,4
|
2,8
|
-
|
|
40
|
32
|
65
|
5,0
|
7,6
|
2,8
|
4,3
|
-
|
4,1
|
6,2
|
2,4
|
3,5
|
-
|
|
50
|
40
|
69
|
6,2
|
9,5
|
3,4
|
5,3
|
-
|
5,0
|
7,6
|
2,8
|
4,3
|
-
|
|
63
|
50
|
76
|
7,7
|
11,8
|
4,2
|
6,6
|
3,6
|
6,2
|
9,5
|
3,4
|
5,3
|
2,9
|
|
75
|
63
|
72
|
9,2
|
14,0
|
5,0
|
7,8
|
4,3
|
7,7
|
11,8
|
4,2
|
6,6
|
3,6
|
|
90
|
75
|
78
|
10,9
|
16,7
|
5,9
|
9,3
|
5,1
|
9,2
|
14,0
|
5,0
|
7,8
|
4,3
|
|
110
|
63
|
138
|
13,2
|
20,5
|
7,2
|
11,2
|
6,2
|
6,2
|
9,5
|
4,2
|
6,6
|
3,6
|
|
110
|
90
|
87
|
13,2
|
20,5
|
7,2
|
11,2
|
6,2
|
10,9
|
16,7
|
5,9
|
9,3
|
5,1
|
|
125
|
110
|
78
|
15,0
|
23,2
|
8,1
|
12,8
|
7,0
|
13,2
|
20,5
|
7,2
|
11,2
|
6,2
|
|
140
|
125
|
78
|
-
|
-
|
9,0
|
14,3
|
7,9
|
-
|
-
|
8,1
|
12,8
|
7,0
|
|
160
|
110
|
143
|
-
|
-
|
10,3
|
16,3
|
9,0
|
-
|
-
|
7,2
|
11,2
|
6,2
|
|
160
|
140
|
87
|
-
|
-
|
10,3
|
16,3
|
9,0
|
-
|
-
|
9,0
|
14,3
|
7,9
|
|
180
|
160
|
87
|
-
|
-
|
11,5
|
18,3
|
10,0
|
-
|
-
|
10,3
|
16,3
|
9,0
|
|
200
|
180
|
87
|
-
|
-
|
12,8
|
20,3
|
11,2
|
-
|
-
|
11,5
|
18,3
|
10,0
|
|
225
|
160
|
171
|
-
|
-
|
14,3
|
22,8
|
12,6
|
-
|
-
|
10,3
|
16,3
|
9,0
|
|
225
|
200
|
97
|
-
|
-
|
14,3
|
22,8
|
12,6
|
-
|
-
|
12,8
|
20,3
|
11,2
|
|
250
|
225
|
97
|
-
|
-
|
15,9
|
25,3
|
13,8
|
-
|
-
|
14,3
|
22,8
|
12,6
|
|
280
|
250
|
106
|
-
|
-
|
17,7
|
28,3
|
15,5
|
-
|
-
|
15,9
|
25,3
|
13,8
|
|
315
|
225
|
218
|
-
|
-
|
19,9
|
31,8
|
17,4
|
-
|
-
|
14,3
|
22,8
|
12,6
|
|
315
|
280
|
115
|
-
|
-
|
19,9
|
31,8
|
17,4
|
-
|
-
|
17,7
|
28,3
|
15,5
|
Пример
условного обозначения формованного перехода из полиэтилена высокого давления,
предназначенного для соединения труб типа Т наружным диаметром 110 и 63 мм:
переход ПВД 110×63Т.
2.7. При изготовлении соединительных деталей размер L, указанный на черт. 1 - 4 и в табл. 1 - 4, допускается увеличивать, а
размер L, указанный на черт. 5 и в табл. 5,
допускается уменьшать для деталей Dн 63 -
75 мм - до 50 мм, Dн 90 -
225 мм - до 80 мм, Dн 280 -
315 мм - до 100 мм.
2.8. Масса соединительных деталей приведена в приложении 1.
2.9. Рекомендуемое оборудование для изготовления соединительных деталей
приведено в приложении 2.
3.1. Срок хранения соединительных деталей с учетом срока хранения труб,
из которых они изготовлены, не должен превышать два года.
3.2. Предельные отклонения размеров деталей
должны соответствовать размерам, указанным в табл. 7 и на черт. 7.
Таблица 7
Предельные отклонения размеров детали, мм
|
Dн
|
Предельные
отклонения
|
|
плоскости
торца от перпендикулярности D, не более
|
длины
отвода и тройника
|
длины
втулки под фланец и перехода
|
угла
гиба гнутых отводов, град
|
|
25 - 63
|
0,3
|
± 10
|
± 3
|
± 3
|
|
75 - 110
|
0,5
|
|
125 - 160
|
0,7
|
± 4
|
|
180 - 225
|
± 4,5
|
-
|
|
250 - 315
|
± 25
|
± 6
|
-
|
Схемы отклонений размеров соединительных деталей

Черт. 7.
а - сварные и
гнутые отводы с углом j = 90, 60, 45 и
30°; б - равнопроходный и переходный
тройники; в - втулка под фланец; г - переход.
3.3. Допуски на наружные диаметры и толщину стенок присоединительных
концов деталей должны быть в пределах допусков на наружные диаметры и толщину
стенок труб из полиэтилена и полипропилена соответствующего типоразмера.
3.4. Торцы соединительных деталей, подлежащие сварке с трубами или деталями,
должны иметь шероховатость поверхности Rz не
более 20 по ГОСТ 2789-73.
Для формованных деталей
допускаются незначительные следы от формующего инструмента в виде вмятин, при
которых толщина стенки не выходит за пределы допускаемых отклонений. Трещины,
раковины, видимые посторонние включения и следы холодных спаев не допускаются.
3.5. Смещение кромок отдельных элементов свариваемых деталей не должно
превышать 10 % номинальной толщины стенки трубы, но не более 1,0 мм.
3.6. Сварной шов должен иметь форму гладкого двойного валика примерно
одинаковой высоты по всему периметру. Между валиками должен быть плавный
переход. Высота валика в зависимости от толщины стенок свариваемых труб должна
находиться в пределах, указанных в табл. 8, а ширина должна составлять
1,8 - 2,3 его высоты.
Таблица 8
Размеры валика сварного шва, мм
|
Толщина
стенки
|
Высота
валика
|
|
До 7
|
1 - 3
|
|
7,1 - 18,0
|
2 - 4
|
|
18,1 - 26,0
|
3 - 5
|
|
26,1 - 32,0
|
6 - 10
|
3.7. Толщина стенки гнутого отвода в местах
гиба должна быть не менее 95 % номинальной толщины стенки заготовки.
3.8. Овальность сечения в местах гиба должна быть не более 8 %.
3.9. Неуказанные предельные отклонения
размеров деталей должны соответствовать Js 16х по ГОСТ
25347-82 (СТ СЭВ 144-75).
3.10. Испытания соединительных деталей следует проводить по ГОСТ
24157-80.
3.11. Соединительные детали из
полиэтиленовых (ПВД и ПНД) труб должны выдерживать испытания, указанные в табл.
9,
внутренним гидростатическим давлением без признаков разрушения, а испытание
деталей из полипропилена следует выполнять в соответствии с указаниями ТУ
38-102-100-76.
Таблица 9
Режимы испытаний соединительных деталей
|
Материал
детали
|
Тип
трубы
|
Температура
испытания, °С
|
Испытательное
давление, МПа (кгс/см2)
|
Время
испытаний, ч, не менее
|
|
Отвод
гнутый и сварной, втулка под фланец формованная, переход формованный
|
Тройник
равнопроходный сварной, тройник переходной сварной
|
|
Полиэтилен низкого давления
|
С
|
20±1
|
1,80 (18)
|
1,20 (12,0)
|
1
|
|
80±1
|
0,36 (3,6)
|
0,24 (2,4)
|
170
|
|
0,50 (5,0)
|
0,34 (3,4)
|
44
|
|
Т
|
20±1
|
3,00 (30)
|
1,80 (18)
|
1
|
|
80±1
|
0,60 (6,0)
|
0,36 (3,6)
|
170
|
|
0,84 (8,4)
|
0,50 (5,0)
|
44
|
|
Полиэтилен высокого давления
|
С
|
20±1
|
1,60 (16)
|
-
|
1
|
|
Т
|
20±1
|
2,70 (27)
|
1,60 (16)
|
1
|
Погрешность
испытательного давления не должна превышать 2 % значений, указанных в табл. 9.
4.1. Соединительные детали принимают партиями. Партией считается
количество соединительных деталей одного вида, типа и размера, изготовленных из
одной партии труб при установившемся технологическом режиме, предъявляемое
одновременно к сдаче и оформленное одним документом о качестве. Размер партии
не должен превышать: 200 шт. - для деталей из труб диаметром до 225 мм; 50 шт.
- для деталей из труб диаметром 280 - 315 мм.
4.2. Партия соединительных деталей должна сопровождаться документом,
содержащим: наименование изготовителя, условное обозначение детали, номер
партии (заказа), размер партии (заказа), дату изготовления; подтверждение о
соответствии партии деталей, требованиям ВСН
440-83/ММСС СССР и настоящих рекомендаций; подпись или штамп технического
контроля.
4.3. Осмотру должна быть подвергнута каждая
деталь партии. Внешний вид деталей должен отвечать требованиям п. 4.23 СНиП
3.05.05-84. Обмеру
подвергают 20 % деталей партии, но не менее 10 шт. Предельные отклонения
размеров должны соответствовать п. 3.2
настоящего стандарта.
4.3.1. Толщину стенки гнутого отвода проверяют только при отработке
технологии гибки, приемке или после ремонта оснастки. При использовании
неразрушающих методов испытаний проверяют толщину стенки двух гнутых отводов из
каждой партии.
4.4. Испытания на стойкость к внутреннему
гидростатическому давлению при температуре 20 и 80 °С проводят при опробовании
нового или отремонтированного технологического оборудования или оснастки, но не
менее одного раза в год. Испытаниям подвергают не менее трех деталей каждого
вида и типа.
Примечание. До 1 января
1990 г. испытания на стойкость к внутреннему гидростатическому давлению
проводить при температуре 20 °С.
4.5. При получении неудовлетворительных
результатов испытаний по п. 4.3 хотя бы по одному показателю,
этот показатель контролируют на удвоенном количестве образцов, взятых от той же
партии. При получении отрицательных результатов повторных испытаний этот
показатель контролируют на каждой детали партии.
4.6. При получении неудовлетворительных результатов испытаний по п. 4.4
проводят уточнение технологического процесса производства данных деталей, после
чего проводят повторные испытания до получения удовлетворительных результатов.
4.7. Исправлять дефекты в сварных швах не допускается.
5.1. Испытания проводят не ранее чем через 24 ч после изготовления
соединительных деталей.
5.2. Требования п. 4.3 проверяют визуально, без применения увеличительных
приборов путем сравнения с контрольным образцом.
5.3. Контроль размеров деталей производят с помощью рулетки по ГОСТ
7502-80, штангенциркуля по ГОСТ 166-80, микрометра МТ и МК 50 по ГОСТ 6507-78,
стенкомера С2 или С10А по ГОСТ 11951-82, угольника по ГОСТ 3749-77,
шаблонов.
6.1. Соединительные детали рекомендуется маркировать нагретым
металлическим клеймом или другим способом, обеспечивающим четкость изображения.
Маркировку наносят на наружную поверхность детали вне зоны сварных швов и
втулки под фланец. Маркировочные метки на детали не должны превышать следующих
размеров: высота 5 мм, глубина 0,3 мм.
6.2. Маркировка должна включать условное обозначение детали без ее
наименования.
6.3. При транспортировании и хранении детали рекомендуется упаковывать
в тару, обеспечивающую их сохранность.
6.4. Соединительные детали допускаются к транспортированию любым видом
транспорта в соответствии с правилами перевозки грузов, действующими для
данного вида транспорта.
6.5. Соединительные детали следует хранить упакованными в тару или на
стеллажах в неотапливаемых или отапливаемых складах (расстояние от
нагревательных приборов должно быть не менее 1 м), защищенными от воздействия
прямых солнечных лучей и атмосферных осадков.
Условия хранения должны
исключать возможность загрязнения поверхности, механического повреждения и
деформации деталей.
Таблица 1
Масса гнутого отвода под углом j, кг
|
Dн,
мм
|
Полиэтилен низкого давления
|
Полиэтилен высокого давления
типа С
|
|
Тип С
|
Тип Т
|
|
90°
|
60°
|
45°
|
30°
|
90°
|
60°
|
45°
|
30°
|
90°
|
60°
|
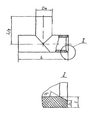
45°
|
30°
|
|
25
|
0,05
|
0,05
|
0,04
|
0,04
|
0,06
|
0,05
|
0,05
|
0,04
|
0,07
|
0,06
|
0,05
|
0,05
|
|
32
|
0,08
|
0,07
|
0,06
|
0,06
|
0,11
|
0,09
|
0,08
|
0,08
|
0,13
|
0,10
|
0,09
|
0,08
|
|
40
|
0,13
|
0,10
|
0,09
|
0,08
|
0,19
|
0,16
|
0,14
|
0,12
|
0,22
|
0,17
|
0,16
|
0,14
|
|
50
|
0,23
|
0,18
|
0,17
|
0,14
|
0,34
|
0,27
|
0,24
|
0,20
|
0,38
|
0,30
|
0,27
|
0,23
|
|
63
|
0,48
|
0,39
|
0,34
|
0,30
|
0,73
|
0,59
|
0,53
|
0,46
|
0,81
|
0,66
|
0,58
|
0,51
|
|
75
|
0,76
|
0,60
|
0,53
|
0,45
|
1,15
|
0,91
|
0,80
|
0,68
|
1,29
|
1,02
|
0,90
|
0,77
|
|
90
|
1,20
|
0,94
|
0,81
|
0,68
|
1,84
|
1,44
|
1,24
|
1,04
|
2,06
|
1,61
|
1,39
|
1,17
|
|
110
|
2,07
|
1,59
|
1,35
|
1,11
|
3,13
|
2,40
|
2,04
|
1,68
|
3,50
|
2,69
|
2,29
|
1,96
|
|
125
|
2,92
|
2,21
|
1,87
|
1,52
|
4,45
|
3,36
|
2,85
|
2,32
|
4,95
|
3,74
|
3,16
|
2,58
|
|
140
|
3,95
|
2,96
|
2,48
|
2,00
|
6,06
|
4,55
|
3,81
|
3,06
|
-
|
-
|
-
|
-
|
|
160
|
5,70
|
4,22
|
3,52
|
2,79
|
8,74
|
6,47
|
5,39
|
4,28
|
-
|
-
|
-
|
-
|
Продолжение табл. 1
|
Dн,
мм
|
Полиэтилен высокого давления
типа Т
|
Полипропилен типа С
|
|
90°
|
60°
|
45°
|
30°
|
90°
|
60°
|
45°
|
30°
|
|
25
|
0,10
|
0,08
|
0,08
|
0,07
|
-
|
-
|
-
|
-
|
|
32
|
0,18
|
0,15
|
0,13
|
0,12
|
-
|
-
|
-
|
-
|
|
40
|
0,31
|
0,25
|
0,22
|
0,19
|
-
|
-
|
-
|
-
|
|
50
|
0,55
|
0,43
|
0,38
|
0,33
|
0,17
|
0,13
|
0,12
|
0,10
|
|
63
|
1,16
|
0,94
|
0,84
|
0,73
|
0,37
|
0,30
|
0,27
|
0,23
|
|
75
|
1,84
|
1,45
|
1,28
|
1,09
|
0,54
|
0,43
|
0,38
|
0,32
|
|
90
|
2,96
|
2,31
|
2,00
|
1,68
|
0,91
|
0,71
|
0,61
|
0,51
|
|
110
|
5,06
|
3,89
|
3,31
|
2,72
|
1,62
|
1,25
|
1,06
|
0,87
|
|
125
|
7,28
|
5,50
|
4,66
|
3,79
|
2,21
|
1,67
|
1,4
|
1,15
|
|
140
|
-
|
-
|
-
|
-
|
3,01
|
2,26
|
1,89
|
1,52
|
|
160
|
-
|
-
|
-
|
-
|
4,32
|
3,19
|
2,66
|
2,12
|
Примечание. Масса
деталей подсчитана по номинальным размерам, исходя из следующих значений
плотности, г/см3: полиэтилен низкого давления 0,95, полиэтилен
высокого давления - 0,92, полипропилен - 0,95.
Таблица 2
Масса сварного отвода под углом j, кг
|
Dн,
мм
|
Полиэтилен высокого давления
|
|
Тип С
|
Тип Т
|
|
90° односекторный
|
90° двухсекторный
|
60°
|
45°
|
30°
|
90° односекторный
|
90° двухсекторный
|
60°
|
45°
|
30°
|
|
25
|
0,05
|
-
|
0,04
|
0,04
|
0,04
|
0,07
|
-
|
0,06
|
0,06
|
0,06
|
|
32
|
0,08
|
-
|
0,07
|
0,07
|
0,06
|
0,12
|
-
|
0,11
|
0,10
|
0,10
|
|
40
|
0,14
|
-
|
0,12
|
0,11
|
0,10
|
0,20
|
-
|
0,17
|
0,16
|
0,15
|
|
50
|
0,22
|
-
|
0,19
|
0,17
|
0,16
|
0,32
|
-
|
0,27
|
0,25
|
0,22
|
|
63
|
0,48
|
-
|
0,41
|
0,38
|
0,35
|
0,69
|
-
|
0,60
|
0,55
|
0,51
|
|
75
|
0,71
|
-
|
0,61
|
0,56
|
0,50
|
1,03
|
-
|
0,88
|
0,80
|
0,73
|
|
90
|
1,13
|
-
|
0,95
|
0,86
|
0,77
|
1,54
|
-
|
1,27
|
1,24
|
1,01
|
|
110
|
1,88
|
1,86
|
1,54
|
1,38
|
1,21
|
2,69
|
2,67
|
2,21
|
1,98
|
1,74
|
|
125
|
3,01
|
2,99
|
2,52
|
2,29
|
2,04
|
4,34
|
4,31
|
3,63
|
3,30
|
2,94
|
Продолжение табл. 2
|
Dн,
мм
|
Полиэтилен низкого давления
|
|
Тип С
|
Тип Т
|
|
90° односекторный
|
90° двухсекторный
|
60°
|
45°
|
30°
|
90° односекторный
|
90° двухсекторный
|
60°
|
45°
|
30°
|
|
25
|
0,04
|
|
0,04
|
0,03
|
0,03
|
0,04
|
-
|
0,04
|
0,04
|
0,04
|
|
32
|
0,05
|
-
|
0,05
|
0,04
|
0,04
|
0,07
|
-
|
0,07
|
0,06
|
0,06
|
|
40
|
0,08
|
-
|
0,07
|
0,07
|
0,06
|
0,12
|
|
0,11
|
0,10
|
0,10
|
|
50
|
0,13
|
-
|
0,11
|
0,10
|
0,09
|
0,20
|
|
0,17
|
0,15
|
0,14
|
|
63
|
0,28
|
-
|
0,25
|
0,23
|
0,21
|
0,43
|
-
|
0,37
|
0,34
|
0,31
|
|
75
|
0,43
|
-
|
0,36
|
0,33
|
0,30
|
0,64
|
-
|
0,56
|
0,50
|
0,46
|
|
90
|
0,66
|
-
|
0,66
|
0,50
|
0,45
|
1,02
|
-
|
0,85
|
0,77
|
0,69
|
|
110
|
1,09
|
1,09
|
0,89
|
0,80
|
0,70
|
1,67
|
1,66
|
1,37
|
1,23
|
1,08
|
|
125
|
1,81
|
1,80
|
1,52
|
1,39
|
1,25
|
2,70
|
2,68
|
2,26
|
2,05
|
1,83
|
|
140
|
2,36
|
2,35
|
1,97
|
1,78
|
1,59
|
3,63
|
3,61
|
3,02
|
2,73
|
2,42
|
|
160
|
3,40
|
3,37
|
2,80
|
2,52
|
2,22
|
4,22
|
5,18
|
4,30
|
3,88
|
3,42
|
|
180
|
4,60
|
4,50
|
3,68
|
3,32
|
2,88
|
6,04
|
6,94
|
5,69
|
5,12
|
4,44
|
|
200
|
5,86
|
5,80
|
4,67
|
4,15
|
3,56
|
9,00
|
8,89
|
7,18
|
5,38
|
5,47
|
|
225
|
7,93
|
7,94
|
6,31
|
5,53
|
4,69
|
12,19
|
12,16
|
9,61
|
8,48
|
7,18
|
|
250
|
11,40
|
13,96
|
9,15
|
8,08
|
6,98
|
17,58
|
17,40
|
14,06
|
12,46
|
10,72
|
|
280
|
16,02
|
15,76
|
12,72
|
11,34
|
9,68
|
24,56
|
24,20
|
19,53
|
17,38
|
14,86
|
|
315
|
23,21
|
23,00
|
18,67
|
16,56
|
14,34
|
34,68
|
34,40
|
27,92
|
24,74
|
21,44
|
Продолжение табл. 2
|
Dн,
мм
|
Полипропилен
типа С
|
|
90°
односекторный
|
90°
двухсекторный
|
60°
|
45°
|
30°
|
|
25
|
-
|
-
|
|
-
|
-
|
|
32
|
-
|
-
|
-
|
-
|
-
|
|
40
|
-
|
-
|
-
|
-
|
-
|
|
50
|
0,10
|
-
|
0,08
|
0,08
|
0,07
|
|
63
|
0,22
|
-
|
0,19
|
0,18
|
0,16
|
|
75
|
0,32
|
-
|
0,27
|
0,25
|
0,23
|
|
90
|
0,50
|
-
|
0,50
|
0,38
|
0,34
|
|
110
|
0,87
|
0,87
|
0,71
|
0,64
|
0,56
|
|
125
|
1,39
|
1,39
|
1,17
|
1,07
|
0,96
|
|
140
|
1,82
|
1,82
|
1,52
|
1,37
|
1,22
|
|
160
|
2,60
|
2,60
|
2,16
|
1,94
|
1,71
|
|
180
|
3,54
|
3,54
|
2,87
|
2,56
|
2,22
|
|
200
|
4,45
|
4,41
|
3,55
|
3,15
|
2,71
|
|
225
|
6,11
|
6,08
|
4,83
|
4,24
|
3,59
|
|
250
|
8,72
|
8,64
|
6,98
|
6,18
|
5,32
|
|
280
|
12,21
|
12,02
|
9,70
|
8,64
|
7,38
|
|
315
|
17,77
|
17,62
|
14,30
|
12,68
|
10,98
|
Таблица 3
Масса сварного равнопроходного тройника типа С, кг
|
Dн,
мм
|
Полиэтилен
|
|
высокого давления
|
низкого давления
|
|
25
|
0,09
|
0,06
|
|
32
|
0,14
|
0,09
|
|
40
|
0,23
|
0,14
|
|
50
|
0,37
|
0,23
|
|
63
|
0,75
|
0,46
|
|
75
|
1,11
|
0,69
|
|
90
|
1,67
|
1,04
|
|
110
|
2,72
|
1,69
|
|
125
|
4,64
|
2,89
|
|
140
|
-
|
3,86
|
|
160
|
-
|
5,38
|
|
180
|
-
|
7,19
|
|
200
|
-
|
9,08
|
|
225
|
-
|
12,01
|
|
250
|
-
|
16,22
|
|
280
|
-
|
20,40
|
|
315
|
-
|
26,18
|
Таблица 4
Масса сварного переходного тройника типа С, кг
|
Dн,
мм
|
dн,
мм
|
Полиэтилен
|
|
высокого давления
|
низкого давления
|
|
110
|
50
|
2,20
|
1,36
|
|
110
|
63
|
2,28
|
1,41
|
|
110
|
75
|
2,39
|
1,48
|
|
125
|
63
|
3,83
|
2,34
|
|
125
|
90
|
4,17
|
2,56
|
|
140
|
110
|
-
|
3,54
|
|
160
|
110
|
-
|
4,69
|
|
160
|
125
|
-
|
4,92
|
|
180
|
110
|
-
|
6,09
|
|
180
|
140
|
-
|
6,59
|
|
200
|
110
|
-
|
7,59
|
|
200
|
160
|
-
|
8,40
|
|
225
|
110
|
-
|
9,97
|
|
225
|
160
|
-
|
10,78
|
|
250
|
160
|
-
|
13,70
|
|
280
|
160
|
-
|
17,10
|
|
315
|
160
|
-
|
21,72
|
Таблица 5
Масса втулки под фланец, кг
|
Dн,
мм
|
Полиэтилен
|
Полипропилен типа С
|
|
высокого давления
|
низкого давления
|
|
Тип С
|
Тип Т
|
Тип С
|
Тип Т
|
|
25
|
0,03
|
0,06
|
0,03
|
0,03
|
-
|
|
32
|
0,05
|
0,07
|
0,04
|
0,05
|
-
|
|
40
|
0,08
|
0,12
|
0,07
|
0,08
|
-
|
|
50
|
0,13
|
0,19
|
0,09
|
0,12
|
0,07
|
|
63
|
0,21
|
0,29
|
0,15
|
0,19
|
0,13
|
|
75
|
0,34
|
0,46
|
0,25
|
0,32
|
0,21
|
|
90
|
0,48
|
0,64
|
0,34
|
0,45
|
0,30
|
|
110
|
0,70
|
0,86
|
0,49
|
0,64
|
0,43
|
|
125
|
0,90
|
1,22
|
0,64
|
0,83
|
0,55
|
|
140
|
-
|
-
|
0,92
|
1,17
|
0,81
|
|
160
|
-
|
-
|
1,05
|
1,38
|
0,90
|
|
180
|
-
|
-
|
1,40
|
1,81
|
1,22
|
|
200
|
-
|
-
|
1,53
|
2,04
|
1,30
|
|
225
|
-
|
-
|
1,86
|
2,51
|
1,58
|
|
250
|
-
|
-
|
2,61
|
3,51
|
2,21
|
|
280
|
-
|
-
|
3,23
|
4,36
|
2,72
|
|
315
|
-
|
-
|
4,18
|
5,51
|
3,55
|
Таблица 6
Масса переходов, кг
|
Dн,
мм
|
d,
мм
|
Полиэтилен
|
Полипропилен типа С
|
|
высокого давления
|
низкого давления
|
|
Тип С
|
Тип Т
|
Тип С
|
Тип Т
|
|
32
|
25
|
0,02
|
0,03
|
0,02
|
0,02
|
-
|
|
40
|
32
|
0,03
|
0,05
|
0,02
|
0,03
|
-
|
|
50
|
40
|
0,06
|
0,08
|
0,03
|
0,05
|
-
|
|
63
|
50
|
0,09
|
0,12
|
0,05
|
0,08
|
0,05
|
|
75
|
63
|
0,12
|
0,20
|
0,08
|
0,11
|
0,06
|
|
90
|
75
|
0,20
|
0,29
|
0,12
|
0,18
|
0,09
|
|
110
|
63
|
0,36
|
0,51
|
0,21
|
0,31
|
0,16
|
|
110
|
90
|
0,29
|
0,43
|
0,17
|
0,27
|
0,15
|
|
125
|
110
|
0,36
|
0,52
|
0,21
|
0,32
|
0,16
|
|
140
|
125
|
-
|
-
|
0,27
|
0,41
|
0,21
|
|
160
|
110
|
-
|
-
|
0,51
|
0,78
|
0,38
|
|
160
|
140
|
-
|
-
|
0,39
|
0,60
|
0,31
|
|
180
|
160
|
-
|
-
|
0,50
|
0,77
|
0,38
|
|
200
|
180
|
-
|
-
|
0,62
|
0,95
|
0,48
|
|
225
|
160
|
-
|
-
|
1,24
|
1,89
|
0,95
|
|
225
|
200
|
-
|
-
|
0,88
|
1,36
|
0,69
|
|
250
|
225
|
-
|
-
|
0,93
|
1,43
|
0,71
|
|
280
|
250
|
-
|
-
|
1,26
|
1,94
|
0,97
|
|
315
|
225
|
-
|
-
|
2,77
|
4,18
|
2,11
|
|
315
|
280
|
-
|
-
|
1,73
|
2,62
|
1,56
|
|
№ п/п
|
Наименование
|
Диаметр обрабатываемых труб, Dн,
мм
|
Краткая техническая
характеристика
|
Изготовитель, разработчик,
калькодержатель
|
Примечание
|
|
1
|
Пила
маятниковая для резки полимерных труб ПМПТ-500 ТУ 36 УССР 21-85 (Шифр проекта
13350А)
|
25
- 160
|
Угол резки,
град
|
45
|
ПОЛМЗ
Киевский
филиал Киевский отдел СКБ ВНИИмонтажспецстроя
|
-
|
|
Диаметр
режущего инструмента, мм
|
500
|
|
Габариты,
мм
|
1050×875×1090
|
|
Масса, кг
|
292
|
|
2
|
Приспособление
для резки пластмассовых труб ПРП-315 ТУ 36.48.11-005-86 (Шифр проекта 13763А)
|
110
- 400
|
Максимальные
диаметры разрезаемых труб, мм:
|
ПЗМИСА
Киевский
филиал ВНИИМСС
Киевский
отдел СКБ ВНИИмонтажспецстроя
|
Комплектность:
электроножовка, в том числе: электрическая сверлильная машина ИЭ 1023А;
ножовочное полотно, комплект сменной оснастки
|
|
прямой рез
|
400
|
|
рез под углом
|
315
|
|
режущий орган
|
Ножовочное
полотно
|
|
Углы реза,
град
|
15,
22, 30, 45
|
|
Ход штока,
мм
|
60
|
|
Габариты
(без ножовочного полотна), мм
|
570×420×455
|
|
Масса, кг
|
19,2
|
|
3
|
Устройство
для резки пластмассовых труб УРП-500 ТУ 36-2594-84 (Шифр проекта И 16001)
|
63
- 315
|
Угол резки,
град
|
45
|
КЗМиССП
Киевский филиал
ВНИИмонтажспецстроя Гипромонтажиндустрия
|
-
|
|
Диаметр
режущего инструмента, мм
|
500
|
|
Габариты,
мм
|
1880×940×1630
|
|
Масса, кг
|
500
|
|
4
|
Машина для обработки
концов полимерных труб МОПТ ТУ 36 УССР 28-85 (Шифр проекта 13053)
|
50
- 225
|
Угол
поворота зажимного устройства, град
|
|
ПОЛМЗ
Киевский
филиал ВНИИмонтажспецстроя Киевский отдел СКБ ВНИИмонтажспецстроя
|
Обеспечивает
торцовку концов труб и образование отверстий для изготовления
неравнопроходных тройников
|
|
45
|
|
Габариты,
мм
|
930×420×1100
|
|
Масса, кг
|
220
|
|
|
|
|
5
|
Устройство для
сварки соединительных деталей из полимерных труб УСДП-110 ТУ 36 УССР 140-82
(Шифр проекта 13628А)
|
63
- 110
|
Мощность
нагревателя, кВт
|
0,5
|
ПОЛМЗ
КЗМиССП Киевский филиал ВНИИмонтажспецстроя
Киевский
отдел СКБ ВНИИмонтажспецстроя
|
Комплектность:
устройство для сварки соединительных деталей из полимерных труб, в том числе:
устройство электронагревательное сварочное, комплект инструментов для
торцовки, комплект сменной оснастки
|
|
Привод
торцовки
|
Ручной
|
|
Привод
каретки
|
Пружинный
|
|
Габариты,
мм
|
870×700×1080
|
|
Масса, кг
|
150
|
|
6
|
Устройство
для сварки соединительных деталей из полимерных труб УСДП-225 ТУ 36 УССР 1-84
(Шифр проекта 13629)
|
125
- 225
|
Мощность
нагревателя, кВт
|
1,5
|
ПОЛМЗ КЗМиССП
Киевский филиал ВНИИмонтажспецстроя
Киевский
отдел СКБ ВНИИмонтажспецстроя
|
Комплектность:
устройство для сварки соединительных деталей из полимерных труб, в том числе:
устройство электронагревательное сварочное, комплект инструмента для
торцовки, комплект сменной оснастки
|
|
Привод
торцовки
|
Ручной
|
|
Привод
каретки
|
Пружинный
|
|
Габариты,
мм
|
1300×750×1280
|
|
Масса, кг
|
370
|
|
7
|
Установка
для сварки соединительных деталей и узлов из полимерных труб УСДП-315 (Шифр проекта
13846А)
|
160
- 315
|
Мощность
нагревателя, кВт
|
3,75
|
КЗМиССП
Киевский
филиал ВНИИмонтажспецстроя Киевский отдел СКБ ВНИИмонтажспецстроя
|
Комплектность:
установка для сварки соединительных деталей и узлов, в том числе устройство
электронагревательное сварочное, торцовочное устройство, гидропривод,
комплект сменной оснастки.
Изготовление
опытной партии в 1988 г.
|
|
Привод
торцовки
|
Электромеханический
|
|
Привод
каретки
|
Гидравлический
|
|
Габариты,
мм
|
1700×1450×2320
|
|
Масса, кг
|
1600
|
|
8
|
Станок для
гибки пластмассовых труб
|
40
- 160
|
Радиус гиба
по средней линии
|
4
Dн
|
ВНИИмонтажспецстрой
Киевский отдел СКБ ВНИИмонтажспецстроя
|
-
|
|
Максимальный
угол гиба, град
|
180
|
|
Привод
|
Ручной
|
|
Охлаждение
|
Водяное
|
|
Габариты,
мм
|
2425×1815×1190
|
|
Масса
|
545
|
|
9
|
Машина для
изготовления горловин ответвлений в полимерных трубах МГОПТ ТУ 36 УССР 9-86
(Шифр проекта 13905)
|
110
- 225
|
Диаметр
формуемых горловин, мм
|
50
- 160
|
ПОЛМЗ
Киевский
филиал ВНИИмонтажспецстроя Киевский отдел СКБ ВНИИмонтажспецстроя
|
Комплектность:
машина для формования горловин; устройство для местного нагрева труб;
комплект сменных частей
|
|
Тип привода
|
Пневматический
|
|
Максимальная
температура нагретого воздуха, °С
|
220
|
|
Давление
воздуха в сети, МПа, не менее
|
0,3
|
|
Охлаждение
|
Водяное
|
|
Габариты,
мм:
|
|
|
машина для формования горловин
|
810×600×1735
|
|
устройство для местного нагрева труб
|
985×260×400
|
|
Масса, кг
|
260
|
|
10
|
Комплект
устройств для формования втулок под фланцы и переходов из полимерных труб
УФВП-315
|
50
- 315
|
Наибольшее
усилие формования деталей, кН
|
0,45
|
ПОЛМЗ
Киевский филиал
ВНИИмонтажспецстроя Киевский отдел СКБ ВНИИмонтажспецстроя
|
Устанавливается
на прессе.
Комплектность:
комплект устройств для формования втулок под фланцы и переходы;
нагревательная камера; пульт управления.
Изготовление
опытной партии в 1988 г.
|
|
Наибольшая
длина нагреваемых труб, мм
|
300
|
|
Наибольшая
температура воздуха в нагревательной камере, °С
|
200
|
|
11
|
Машина для
формования буртов на полимерных трубах МФБ ТУ 36 УССР 27-85 (Шифр проекта
13713)
|
32
- 160
|
Привод
|
Пневматический
|
ПОЛМЗ
Киевский
филиал ВНИИмонтажспецстроя Киевский отдел СКБ ВНИИмонтажспецстроя
|
Комплектность:
машина для формования буртов, комплект инструментов для формования буртов,
устройство электронагревательное для концов труб
|
|
Максимальное
усилие формования, кН
|
24
|
|
Максимальное
давление воздуха, МПа
|
0,55
|
|
Максимальная
температура нагретого воздуха, °С
|
280
|
|
Габариты,
мм
|
1520×635×1350
|
|
Масса, кг
|
610
|
|
12
|
Станок для
отбортовки концов труб ОПТ-315
|
225
- 315
|
Привод
|
Пневматический
|
СМСЛ треста
Востокметаллургмонтаж
|
Комплектность:
станок для отбортовки труб, комплект инструмента для формования буртов,
устройство электронагревательное для концов труб
|
|
Максимальное
усилие формования, кН
|
39,5
|
|
Максимальное
давление воздуха, МПа
|
0,5
|
|
Габариты,
мм
|
1520×635×1350
|
|
Организация
|
Адрес
|
|
Киевский
филиал ВНИИмонтажспецстроя
|
252022,
Киев-22, ГСП, ул. Казачья, 118
|
|
ВНИИмонтажспецстрой
|
111141,
Москва, 2-й проезд Перова поля, 9
|
|
Киевский отдел
СКБ ВНИИмонтажспецстроя
|
252022,
Киев-22, ГСП, ул. Казачья, 118а
|
|
Гипромонтажиндустрия
|
109088,
Москва, 1-я ул. Машиностроения, 5
|
|
СМСЛ треста
Востокметаллургмонтаж
|
455000,
Магнитогорск, ГСП, ул. Гагарина, 35
|
|
КЗМССП - Кропоткинский
завод монтажных и специальных строительных приспособлений
|
352130,
Кропоткин-7, Краснодарский край
|
|
ПОЛМЗ -
Полтавский опытный литейно-механический завод
|
314022,
Полтава, ул. Панянка, 26
|
|
ПЗМИСА -
Пермский завод монтажных изделий и средств автоматизации
|
614600,
Пермь, ГСП, ул. 3-я Теплопроводная
|
| |
|