ÃÎÑÒ ÈÑÎ 4378-1-2001
ÌÅÆÃÎÑÓÄÀÐÑÒÂÅÍÍÛÉ
ÑÒÀÍÄÀÐÒ
ÏÎÄØÈÏÍÈÊÈ ÑÊÎËÜÆÅÍÈß
ÒÅÐÌÈÍÛ, ÎÏÐÅÄÅËÅÍÈß
È ÊËÀÑÑÈÔÈÊÀÖÈß
×ÀÑÒÜ 1
ÊÎÍÑÒÐÓÊÖÈß, ÏÎÄØÈÏÍÈÊÎÂÛÅ ÌÀÒÅÐÈÀËÛ
È ÈÕ ÑÂÎÉÑÒÂÀ
ÌÅÆÃÎÑÓÄÀÐÑÒÂÅÍÍÛÉ
ÑÎÂÅÒ
ÏÎ ÑÒÀÍÄÀÐÒÈÇÀÖÈÈ, ÌÅÒÐÎËÎÃÈÈ È ÑÅÐÒÈÔÈÊÀÖÈÈ
Ìèíñê
Ïðåäèñëîâèå
1. ÐÀÇÐÀÁÎÒÀÍ Ìåæãîñóäàðñòâåííûì òåõíè÷åñêèì êîìèòåòîì ïî
ñòàíäàðòèçàöèè ÌÒÊ 344 «Ïîäøèïíèêè ñêîëüæåíèÿ», Âñåðîññèéñêèì
íàó÷íî-èññëåäîâàòåëüñêèì èíñòèòóòîì ñòàíäàðòèçàöèè è ñåðòèôèêàöèè â
ìàøèíîñòðîåíèè (ÂÍÈÈÍÌÀØ) Ãîññòàíäàðòà Ðîññèè
ÂÍÅÑÅÍ Ãîññòàíäàðòîì Ðîññèè
2. ÏÐÈÍßÒ
Ìåæãîñóäàðñòâåííûì Ñîâåòîì ïî ñòàíäàðòèçàöèè, ìåòðîëîãèè è ñåðòèôèêàöèè
(ïðîòîêîë ¹ 19 îò 24 ìàÿ 2001 ã.)
Çà ïðèíÿòèå
ïðîãîëîñîâàëè:
|
Íàèìåíîâàíèå ãîñóäàðñòâà
|
Íàèìåíîâàíèå íàöèîíàëüíîãî îðãàíà ïî ñòàíäàðòèçàöèè
|
|
Àçåðáàéäæàíñêàÿ
Ðåñïóáëèêà
|
Àçãîññòàíäàðò
|
|
Ðåñïóáëèêà
Àðìåíèÿ
|
Àðìãîññòàíäàðò
|
|
Ðåñïóáëèêà
Áåëàðóñü
|
Ãîññòàíäàðò
Ðåñïóáëèêè Áåëàðóñü
|
|
Ðåñïóáëèêà
Êàçàõñòàí
|
Ãîññòàíäàðò
Ðåñïóáëèêè Êàçàõñòàí
|
|
Êûðãûçñêàÿ
Ðåñïóáëèêà
|
Êûðãûçñòàíäàðò
|
|
Ðåñïóáëèêà
Ìîëäîâà
|
Ìîëäîâàñòàíäàðò
|
|
Ðîññèéñêàÿ
Ôåäåðàöèÿ
|
Ãîññòàíäàðò
Ðîññèè
|
|
Ðåñïóáëèêà
Òàäæèêèñòàí
|
Òàäæèêñòàíäàðò
|
|
Òóðêìåíèñòàí
|
Ãëàâãîññëóæáà
«Òóðêìåíñòàíäàðòëàðû»
|
|
Ðåñïóáëèêà
Óçáåêèñòàí
|
Óçãîññòàíäàðò
|
|
Óêðàèíà
|
Ãîññòàíäàðò
Óêðàèíû
|
Íàñòîÿùèé ñòàíäàðò ïðåäñòàâëÿåò ñîáîé
àóòåíòè÷íûé òåêñò ìåæäóíàðîäíîãî ñòàíäàðòà ÈÑÎ 4378-1-97 «Ïîäøèïíèêè
ñêîëüæåíèÿ. Òåðìèíû, îïðåäåëåíèÿ è êëàññèôèêàöèÿ. ×àñòü 1. Êîíñòðóêöèÿ,
ïîäøèïíèêîâûå ìàòåðèàëû è èõ ñâîéñòâà»
3. Ïîñòàíîâëåíèåì Ãîñóäàðñòâåííîãî êîìèòåòà
Ðîññèéñêîé Ôåäåðàöèè ïî ñòàíäàðòèçàöèè è ìåòðîëîãèè îò 5 ìàðòà 2002 ã. ¹ 85-ñò
ìåæãîñóäàðñòâåííûé ñòàíäàðò ÃÎÑÒ ÈÑÎ 4378-1-2001 ââåäåí â äåéñòâèå
íåïîñðåäñòâåííî â êà÷åñòâå ãîñóäàðñòâåííîãî ñòàíäàðòà Ðîññèéñêîé Ôåäåðàöèè ñ 1
èþëÿ 2002 ã.
4. ÂÇÀÌÅÍ ÃÎÑÒ 18282-88
ÌÅÆÃÎÑÓÄÀÐÑÒÂÅÍÍÛÉ ÑÒÀÍÄÀÐÒ
|
Ïîäøèïíèêè
ñêîëüæåíèÿ
ÒÅÐÌÈÍÛ,
ÎÏÐÅÄÅËÅÍÈß È ÊËÀÑÑÈÔÈÊÀÖÈß
×àñòü 1
Êîíñòðóêöèÿ,
ïîäøèïíèêîâûå ìàòåðèàëû è èõ ñâîéñòâà
Plain bearings. Terms, definitions and classification. Part 1. Design,
bearing materials and their properties
|
Äàòà ââåäåíèÿ 2002-07-01
Íàñòîÿùèé ñòàíäàðò óñòàíàâëèâàåò òåðìèíû è îïðåäåëåíèÿ, ïðèìåíÿåìûå äëÿ
ïîäøèïíèêîâ ñêîëüæåíèÿ, à òàêæå èõ êëàññèôèêàöèþ.
Òåðìèíû, óñòàíîâëåííûå íàñòîÿùèì ñòàíäàðòîì, îáÿçàòåëüíû äëÿ ïðèìåíåíèÿ
âî âñåõ âèäàõ äîêóìåíòàöèè è ëèòåðàòóðû ïî ïîäøèïíèêàì ñêîëüæåíèÿ, âõîäÿùèõ â
ñôåðó ðàáîò ïî ñòàíäàðòèçàöèè è/èëè èñïîëüçóþùèõ ðåçóëüòàòû ýòèõ ðàáîò.
 ñòàíäàðòå ïðèâåäåíû èíîÿçû÷íûå ýêâèâàëåíòû ñòàíäàðòèçîâàííûõ òåðìèíîâ
íà àíãëèéñêîì (en) è
ôðàíöóçñêîì (fr)
ÿçûêàõ.
Ñòàíäàðòèçîâàííûå òåðìèíû íàáðàíû ïîëóæèðíûì øðèôòîì, èõ êðàòêèå ôîðìû,
ïðåäñòàâëåííûå àááðåâèàòóðîé, - ñâåòëûì.
|
2.1. ïîäøèïíèê:
Îïîðà èëè íàïðàâëÿþùàÿ, êîòîðàÿ îïðåäåëÿåò ïîëîæåíèå äâèæóùåéñÿ ÷àñòè
îòíîñèòåëüíî äðóãèõ ÷àñòåé ìåõàíèçìà
|
en bearing
fr palier
|
|
2.2. ïîäøèïíèê
ñêîëüæåíèÿ: Ïîäøèïíèê, â êîòîðîì âèäîì îòíîñèòåëüíîãî äâèæåíèÿ ÿâëÿåòñÿ
ñêîëüæåíèå
|
en plain
bearing
fr palier
lisse
|
|
2.3. óçåë
ïîäøèïíèêà ñêîëüæåíèÿ: Òðèáîñèñòåìà, âêëþ÷àþùàÿ ïîäøèïíèê ñêîëüæåíèÿ è
îïîðíóþ ÷àñòü (íàïðèìåð êîðïóñ)
|
en plain
bearing unit
fr ensemble
avec palier lisse
|
3. Âèäû ïîäøèïíèêîâ ñêîëüæåíèÿ, êëàññèôèêàöèÿ
|
|
3.1. Ïî âèäó íàãðóçêè
|
|
|
3.1.1. ñòàòè÷åñêè
íàãðóæåííûé ïîäøèïíèê ñêîëüæåíèÿ: Ïîäøèïíèê ñêîëüæåíèÿ, ïîäâåðãàþùèéñÿ
âîçäåéñòâèþ ïîñòîÿííîé ïî ìîäóëþ è íàïðàâëåíèþ íàãðóçêè
|
en statically
loaded plain bearing
fr palier
lisse a charge statique
|
|
3.1.2. äèíàìè÷åñêè
íàãðóæåííûé ïîäøèïíèê ñêîëüæåíèÿ: Ïîäøèïíèê ñêîëüæåíèÿ, ïîäâåðãàþùèéñÿ
âîçäåéñòâèþ íàãðóçêè, èçìåíÿþùåéñÿ ïî ìîäóëþ è/èëè íàïðàâëåíèþ
|
en dynamically
loaded plain bearing
fr palier
lisse a charge dynamique
|
|
3.2. Ïî íàïðàâëåíèþ
âîñïðèíèìàåìûõ íàãðóçîê
|
|
|
3.2.1. ðàäèàëüíûé
ïîäøèïíèê ñêîëüæåíèÿ, ðàäèàëüíûé ïîäøèïíèê: Ïîäøèïíèê ñêîëüæåíèÿ,
âîñïðèíèìàþùèé íàãðóçêó, íàïðàâëåííóþ ïåðïåíäèêóëÿðíî ê îñè âðàùåíèÿ âàëà
|
en plain
journal bearing journal bearing
fr palier
lisse radial
|
|
3.2.2. óïîðíûé
ïîäøèïíèê ñêîëüæåíèÿ, óïîðíûé ïîäøèïíèê: Ïîäøèïíèê ñêîëüæåíèÿ,
âîñïðèíèìàþùèé íàãðóçêó, íàïðàâëåííóþ âäîëü îñè âðàùåíèÿ âàëà (ðèñóíîê 1)
|
en plain
thrust bearing
thrust bearing
fr palier
lisse de butee
butee (lisse)
|
|
3.2.3. ðàäèàëüíî-óïîðíûé ïîäøèïíèê
ñêîëüæåíèÿ, áóðòîâûé ïîäøèïíèê: Ïîäøèïíèê ñêîëüæåíèÿ, ñïîñîáíûé
âîñïðèíèìàòü íàãðóçêó â îñåâîì è ðàäèàëüíîì íàïðàâëåíèÿõ
|
en journal
thrust bearing flanged bearing
fr palier
radial de butee palier a collerette
|
|
3.3. Ïî âèäó ñìàçêè
|
|
|
3.3.1. àýðîñòàòè÷åñêèé
ïîäøèïíèê: Ïîäøèïíèê ñêîëüæåíèÿ, ïðåäíàçíà÷åííûé äëÿ ðàáîòû â ðåæèìå
àýðîñòàòè÷åñêîé ñìàçêè
|
en aerostatic
bearing
fr palier
aerostatique
|
|
3.3.2. àýðîäèíàìè÷åñêèé
ïîäøèïíèê: Ïîäøèïíèê ñêîëüæåíèÿ, ïðåäíàçíà÷åííûé äëÿ ðàáîòû â ðåæèìå
àýðîäèíàìè÷åñêîé ñìàçêè
|
en aerodynamic
bearing
fr palier
aerodynamique
|
|
3.3.3. ãèäðîñòàòè÷åñêèé
ïîäøèïíèê: Ïîäøèïíèê ñêîëüæåíèÿ, ïðåäíàçíà÷åííûé äëÿ ðàáîòû â ðåæèìå
ãèäðîñòàòè÷åñêîé ñìàçêè
|
en hydrostatic
bearing
fr palier hydrostatique
|
|
3.3.4. ãèäðîäèíàìè÷åñêèé
ïîäøèïíèê: Ïîäøèïíèê ñêîëüæåíèÿ, ïðåäíàçíà÷åííûé äëÿ ðàáîòû â ðåæèìå
ãèäðîäèíàìè÷åñêîé ñìàçêè
|
en hydrodynamic
bearing
fr palier
hydrodynamique
|
|
3.3.5. âèáðîäåìïôåðíûé
ïîäøèïíèê: Ïîäøèïíèê ñêîëüæåíèÿ, â êîòîðîì ïîëíîå ðàçäåëåíèå ïîâåðõíîñòåé
äîñòèãàåòñÿ çà ñ÷åò äàâëåíèÿ, âîçíèêàþùåãî â ñìàçî÷íîì ìàòåðèàëå â ðåçóëüòàòå
èõ âçàèìíîãî ïåðåìåùåíèÿ âäîëü íîðìàëè ê ïîâåðõíîñòè
|
en squeeze
oil film bearing
fr palier a
effet amortisseur
|
|
3.3.6. ãèäðîñòàòîäèíàìè÷åñêèé
ïîäøèïíèê: Ïîäøèïíèê ñêîëüæåíèÿ, ïðåäíàçíà÷åííûé äëÿ ðàáîòû êàê ïðè
ãèäðîäèíàìè÷åñêîé, òàê è ïðè ãèäðîñòàòè÷åñêîé ñìàçêå
|
en hybrid
bearing
fr palier
hybride
|
|
3.3.7. ïîäøèïíèê
ñêîëüæåíèÿ ñ òâåðäûì ñìàçî÷íûì ìàòåðèàëîì: Ïîäøèïíèê ñêîëüæåíèÿ,
ðàáîòàþùèé ñ òâåðäûì ñìàçî÷íûì ìàòåðèàëîì
|
en solid-film
lubricated bearing
fr palier a
lubrifiant solide
|
|
3.3.8. ïîäøèïíèê,
ðàáîòàþùèé áåç ñìàçêè: Ïîäøèïíèê ñêîëüæåíèÿ, ïðåäíàçíà÷åííûé äëÿ ðàáîòû
áåç ñìàçî÷íîãî ìàòåðèàëà
|
en unlubricated
bearing
fr palier
sans lubrifiant
|
|
3.3.9. ñàìîñìàçûâàþùèéñÿ
ïîäøèïíèê: Ïîäøèïíèê ñêîëüæåíèÿ, â êîòîðîì ñìàçêà îáåñïå÷èâàåòñÿ
ïîäøèïíèêîâûì ìàòåðèàëîì, âõîäÿùèì â íåãî êîìïîíåíòàìè èëè òâåðäûìè
ñìàçûâàþùèìè ïîêðûòèÿìè
|
en self-lubricating
bearing
fr palier
autolubrifiant
|
|
3.3.10. ñàìîñìàçûâàþùèéñÿ ïîðèñòûé ïîäøèïíèê, ñïå÷åííûé ïîäøèïíèê:
Ïîðèñòûé ïîäøèïíèê ñêîëüæåíèÿ, ñîîáùàþùèåñÿ ïîðû êîòîðîãî çàïîëíåíû ñìàçî÷íûì
ìàòåðèàëîì
|
en porous
self-lubricating bearing
sintered bearing
fr palier
autolubrifiant en materiau poreux
palier fritte
|
|
3.3.11. ïîäøèïíèêîâûé óçåë ñ ñèñòåìîé ñìàçêè:
Ïîäøèïíèêîâûé óçåë, ñîäåðæàùèé ðåçåðâóàð ñî ñìàçî÷íûì ìàòåðèàëîì, è ñðåäñòâà
åãî ïîäà÷è ê ïîâåðõíîñòÿì òðåíèÿ
Ñì. òàêæå «óçåë ïîäøèïíèêà ñêîëüæåíèÿ â ñáîðå» (3.4.8)
|
en self-contained
plain bearing assembly
fr palier
lisse autonome
|
|
3.4. Ïî êîíñòðóêöèè
|
|
|
3.4.1. ïîäøèïíèê
êðóãëîöèëèíäðè÷åñêèé: Ïîäøèïíèê ñêîëüæåíèÿ, âñå ïîïåðå÷íûå ñå÷åíèÿ
ðàáî÷åé ïîâåðõíîñòè êîòîðîãî èìåþò ôîðìó îêðóæíîñòè îäíîãî è òîãî æå äèàìåòðà
(ðèñóíîê 2)
|
en circular
cylindrical bearing
fr palier
cylindrique circulate
|
|
3.4.2. ïîäøèïíèê
íåêðóãëîöèëèíäðè÷åñêèé: Ïîäøèïíèê ñêîëüæåíèÿ, ïîïåðå÷íûå ñå÷åíèÿ
âíóòðåííåé ïîâåðõíîñòè êîòîðîãî îòëè÷àþòñÿ ïî ôîðìå îò îêðóæíîñòè (ðèñóíêè 3, 4)
|
en profile
bore bearing
fr palier a
alesage profile
palier
cylindrique non circulaire
|
|
3.4.3. ìíîãîêëèíîâûé
ïîäøèïíèê: Ðàäèàëüíûé ïîäøèïíèê ñêîëüæåíèÿ, èìåþùèé íåñêîëüêî
öèëèíäðè÷åñêèõ ïîâåðõíîñòåé, ðàñïîëîæåííûõ òàê, ÷òî äâà èëè áîëåå ìàñëÿíûõ
êëèíà îáðàçóþòñÿ ïî îêðóæíîñòè ïîäøèïíèêà (ðèñóíêè 3, 4)
|
en lobed
bearing
fr palier a
lobes
|
|
3.4.4. ñåãìåíòíûé
óïîðíûé ïîäøèïíèê: Óïîðíûé ïîäøèïíèê ñêîëüæåíèÿ, íåñóùàÿ ïîâåðõíîñòü
êîòîðîãî ñîñòîèò èç íåïîäâèæíûõ ñåãìåíòîâ (ðèñóíîê 5)
|
en pad
thrust bearing
taper land bearing
fr butee a
segments (patins)
butee a
segments inclines
butee a
segments inclines puis paralleles
|
|
3.4.5. ñàìîóñòàíàâëèâàþùèéñÿ
ñåãìåíòíûé ðàäèàëüíûé ïîäøèïíèê: Ñàìîóñòàíàâëèâàþùèéñÿ ðàäèàëüíûé
ïîäøèïíèê ñêîëüæåíèÿ, íåñóùàÿ ïîâåðõíîñòü êîòîðîãî ñîñòîèò èç ñåãìåíòîâ,
ñâîáîäíî óñòàíàâëèâàþùèõñÿ îòíîñèòåëüíî âàëà ïîä äåéñòâèåì äàâëåíèÿ â
ñìàçî÷íîì ñëîå (ðèñóíîê 6)
|
en tilting
pad journal bearing
fr palier a
patins oscfflants
|
|
3.4.6. ñàìîóñòàíàâëèâàþùèéñÿ
ñåãìåíòíûé óïîðíûé ïîäøèïíèê: Ñàìîóñòàíàâëèâàþùèéñÿ óïîðíûé ïîäøèïíèê
ñêîëüæåíèÿ, íåñóùàÿ ïîâåðõíîñòü êîòîðîãî ñîñòîèò èç ñåãìåíòîâ, ñâîáîäíî
óñòàíàâëèâàþùèõñÿ äëÿ ñîçäàíèÿ ìàñëÿíîãî ñëîÿ îòíîñèòåëüíî ïÿòû ïîä äåéñòâèåì
äàâëåíèÿ â ñìàçî÷íîì ñëîå (ðèñóíîê 7)
|
en tilting
pad thrust bearing
fr butee a
patins oscillants
|
|
3.4.7. ïîäøèïíèê
ñ ïëàâàþùåé âòóëêîé: Ïîäøèïíèê ñêîëüæåíèÿ ñ âòóëêîé, èìåþùåé âîçìîæíîñòü
ñêîëüçèòü îòíîñèòåëüíî âàëà è âíóòðåííåé ïîâåðõíîñòè êîðïóñà ïîäøèïíèêà (ðèñóíîê
8)
|
en floating
bush bearing
fr palier a
bague flottante
|
|
3.4.8. óçåë ïîäøèïíèêà ñêîëüæåíèÿ â ñáîðå:
Ïîäøèïíèêîâûé óçåë, ñîñòîÿùèé èç ïîäøèïíèêà ñêîëüæåíèÿ (ðàäèàëüíîãî è/èëè
óïîðíîãî), ïîìåùåííîãî â êîðïóñ íà ëàïàõ èëè ñ ôëàíöåì.
Ñì. òàêæå «ïîäøèïíèêîâûé óçåë ñ ñèñòåìîé ñìàçêè» (3.3.11)
|
en plain
bearing assembly
fr ensemble
avec palier lisse
|
|
3.4.8.1. êîðïóñíîé ïîäøèïíèê íà ëàïàõ: Óçåë ïîäøèïíèêà ñêîëüæåíèÿ, êðåïëåíèå
êîðïóñà êîòîðîãî îñóùåñòâëÿåòñÿ êðåïåæíûìè ýëåìåíòàìè â íàïðàâëåíèè,
ïåðïåíäèêóëÿðíîì ê îñè âàëà
|
en pedestal
plain bearing assembly
fr palier
lisse a chaise sur le sol
|
|
3.4.8.2. êîðïóñíîé ïîäøèïíèê ñ ôëàíöåì: Óçåë ïîäøèïíèêà ñêîëüæåíèÿ,
êðåïëåíèå êîðïóñà êîòîðîãî îñóùåñòâëÿåòñÿ êðåïåæíûìè ýëåìåíòàìè â
íàïðàâëåíèè, ïàðàëëåëüíîì îñè âàëà
|
en flanged
plain bearing assembly
fr palier
lisse a collerette
|
|
3.4.9. ñàìîóñòàíàâëèâàþùèéñÿ
ïîäøèïíèê: Ïîäøèïíèê ñêîëüæåíèÿ, êîíñòðóêöèÿ êîòîðîãî îáåñïå÷èâàåò åãî ñàìîóñòàíîâêó
îòíîñèòåëüíî ñîïðÿæåííîé ïîâåðõíîñòè
|
en self-aligning
bearing
fr palier
auto-alignant
|
4. Ýëåìåíòû êîíñòðóêöèè óçëîâ ïîäøèïíèêîâ ñêîëüæåíèÿ
|
|
4.1. âêëàäûø
ïîäøèïíèêà: Äåòàëü ðàäèàëüíîãî ïîäøèïíèêà ñêîëüæåíèÿ, ïîâåðõíîñòü
ñêîëüæåíèÿ êîòîðîé ñîñòàâëÿåò 180° îêðóæíîñòè îïîðû (ðèñóíêè 9, 10)
|
en half-bearing
fr demi-coussinet
|
|
4.1.1. òîíêîñòåííûé
âêëàäûø ïîäøèïíèêà: Âêëàäûø ïîäøèïíèêà ñêîëüæåíèÿ, òîëùèíà ñòåíêè
êîòîðîãî òàê ìàëà, ÷òî îòêëîíåíèÿ îò ïðàâèëüíîé ãåîìåòðè÷åñêîé ôîðìû
ïîñàäî÷íîé ïîâåðõíîñòè âëèÿþò íà ôîðìó ðàáî÷åé ïîâåðõíîñòè ïîäøèïíèêà
ñêîëüæåíèÿ (ðèñóíîê 11)
|
en thin wall
half-bearing
fr demi-coussinet
mince
|
|
4.1.2. òîëñòîñòåííûé
âêëàäûø ïîäøèïíèêà: Âêëàäûø ïîäøèïíèêà ñêîëüæåíèÿ, òîëùèíà ñòåíêè
êîòîðîãî òàê âåëèêà, ÷òî îòêëîíåíèÿ îò ïðàâèëüíîé ãåîìåòðè÷åñêîé ôîðìû
ïîñàäî÷íîé ïîâåðõíîñòè íå âëèÿþò íà ôîðìó ðàáî÷åé ïîâåðõíîñòè ïîäøèïíèêà
ñêîëüæåíèÿ
|
en thick
wall half-bearing
fr demi-coussinet
epais
|
|
4.1.3. ïîñàäî÷íàÿ
(çàäíÿÿ) ïîâåðõíîñòü ïîäøèïíèêà ñêîëüæåíèÿ: Öèëèíäðè÷åñêàÿ íàðóæíàÿ
ïîâåðõíîñòü âêëàäûøà ïîäøèïíèêà ñêîëüæåíèÿ èëè âòóëêè
|
en bearing
back
fr surface
d’engagement du palier
|
|
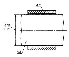
4.2. âòóëêà
ïîäøèïíèêà ñêîëüæåíèÿ, âòóëêà ïîäøèïíèêà, âòóëêà: Ñìåííûé òðóá÷àòûé
ýëåìåíò ïîäøèïíèêà ñêîëüæåíèÿ, âíóòðåííÿÿ è/èëè íàðóæíàÿ ïîâåðõíîñòü êîòîðîãî
ÿâëÿåòñÿ ðàáî÷åé ïîâåðõíîñòüþ ïîäøèïíèêà ñêîëüæåíèÿ (ðèñóíîê 12)
|
en plain
bearing bush
bearing
bush
bush
fr bague
|
|
4.2.1. ñâåðòíàÿ
âòóëêà ïîäøèïíèêà ñêîëüæåíèÿ, ñâåðòíàÿ âòóëêà: Âòóëêà, èçãîòàâëèâàåìàÿ
ñâåðòûâàíèåì ëåíòû èç îäíîñëîéíîãî èëè ìíîãîñëîéíîãî ïîäøèïíèêîâîãî ìàòåðèàëà
(ðèñóíîê 13)
|
en plain
bearing wrapped bush
bearing
wrapped bush
wrapped bush
fr bague
roulee
|
|
4.3. áóðòîâûé
âêëàäûø (âòóëêà) ïîäøèïíèêà, áóðòîâûé âêëàäûø (âòóëêà): Âêëàäûø (âòóëêà)
ïîäøèïíèêà ñêîëüæåíèÿ, ñíàáæåííûé (àÿ) áóðòîì ñ îäíîé èëè äâóõ ñòîðîí (ðèñóíîê
14)
|
en flanged
half-bearing (flanged-bush)
fr demi-coussinet
(bague) a collerette
|
|
4.4. îäíîñëîéíûé
âêëàäûø (âòóëêà): Âêëàäûø (âòóëêà) ïîäøèïíèêà ñêîëüæåíèÿ, âûïîëíåííûé
(àÿ) èç îäíîãî ìàòåðèàëà
|
en solid
half-bearing (solid-bush)
fr demi-coussinet
massif (bague massive)
|
|
4.5. ìíîãîñëîéíûé
âêëàäûø (âòóëêà): Âêëàäûø (âòóëêà) ïîäøèïíèêà ñêîëüæåíèÿ, ñîñòîÿùèé (àÿ)
èç ñëîåâ ðàçëè÷íûõ ìàòåðèàëîâ (ðèñóíîê 15)
|
en multilayer
half-bearing (multilayer bush)
fr demi-coussinet
(bague) multicouche
|
|
4.5.1. îñíîâà
âêëàäûøà ïîäøèïíèêà, îñíîâà âêëàäûøà: ×àñòü ìíîãîñëîéíîãî âêëàäûøà
ïîäøèïíèêà, íà êîòîðóþ íàíîñèòñÿ ïîäøèïíèêîâûé ìàòåðèàë è êîòîðàÿ
îáåñïå÷èâàåò åìó òðåáóåìóþ ïðî÷íîñòü è/èëè æåñòêîñòü (ðèñóíîê 15)
|
en half-bearing
backing
backing
fr support
support
de demi-coussinet
|
|
4.5.2. ñëîé
ïîäøèïíèêîâîãî ìàòåðèàëà, ïîäøèïíèêîâûé ñëîé: Òîëñòûé ñëîé ïîäøèïíèêîâîãî
ìàòåðèàëà, ÿâëÿþùèéñÿ ÷àñòüþ ìíîãîñëîéíîãî âêëàäûøà (ðèñóíîê 15)
Ïðèìå÷àíèå - Òîëùèíà ñëîÿ îáû÷íî
áîëåå 0,2 ìì
|
en bearing
material layer
bearing
layer
lining
fr couche
de material antifriction
couche
antifriction revetement
|
|
4.5.3. ïðèðàáîòî÷íûé
ñëîé ïîäøèïíèêà ñêîëüæåíèÿ, ïðèðàáîòî÷íûé ñëîé: Ñëîé ìàòåðèàëà, íàíîñèìûé
íà ïîäøèïíèêîâûé ìàòåðèàë äëÿ óëó÷øåíèÿ ïðèðàáàòûâàåìîñòè, ïðèëåãàåìîñòè,
ñïîñîáíîñòè ê ïîãëîùåíèþ òâåðäûõ ÷àñòèö è, â íåêîòîðûõ ñëó÷àÿõ, êîððîçèîííîé
ñòîéêîñòè (ðèñóíîê 15)
Ïðèìå÷àíèå - Òîëùèíà ñëîÿ îáû÷íî îò
0,01 äî 0,05 ìì
|
en plain
bearing running-in layer
running-in layer overlay
fr couche
de rodage
|
|
4.5.4. ïðîìåæóòî÷íûé
ñëîé, ñöåïëÿþùèé ñëîé: Î÷åíü òîíêèé ñëîé ìåæäó ïðèðàáîòî÷íûì ñëîåì è
ñëîåì ïîäøèïíèêîâîãî ìàòåðèàëà äëÿ óïðî÷íåíèÿ ñöåïëåíèÿ è óìåíüøåíèÿ äèôôóçèè
Ïðèìå÷àíèå - Òîëùèíà ñëîÿ îáû÷íî îò
0,001 äî 0,002 ìì
|
en interlayer
bonding
layer
nickel dam
fr couche
intermediaire
couche
d’adherence
couche
de nickel
|
|
4.5.5. çàùèòíûé
ñëîé: Î÷åíü òîíêèé ñëîé íà ïîâåðõíîñòè ïîäøèïíèêà èëè íà îñíîâå äëÿ
çàùèòû îò êîððîçèè ïðè õðàíåíèè
Ïðèìå÷àíèå - Òîëùèíà ñëîÿ îáû÷íî îò 0,0005 äî 0,0010 ìì
|
en protective
layer flash
fr couche
de protection voile
|
|
4.6. óïîðíîå
êîëüöî: Ïëîñêîå êîëüöî, óñòàíàâëèâàåìîå ñ ðàäèàëüíûì ïîäøèïíèêîì
ñêîëüæåíèÿ äëÿ âîñïðèÿòèÿ îñåâûõ óñèëèé (ðèñóíîê 16)
|
en thrust
washer
fr rondelle
ou flasque de butee
|
|
4.6.1. óïîðíîå
ïîëóêîëüöî: ×àñòü êîëüöà, êîòîðàÿ ïðè ñî÷åòàíèè ñ äðóãîé òàêîé æå ÷àñòüþ
îáðàçóåò óïîðíîå êîëüöî (ðèñóíîê 17)
|
en thrust
half-washer
fr demi-flasque
de butee
|
|
4.7. ñåãìåíò:
Ñîñòàâíàÿ ÷àñòü ñåãìåíòíîãî ïîäøèïíèêà ñêîëüæåíèÿ, âîñïðèíèìàþùàÿ íàãðóçêó
(ðèñóíêè 4, 5)
|
en pad
fr segment
ou patin
|
|
4.7.1. ðàäèàëüíûé
ñåãìåíò: Ñåãìåíò, ïðåäñòàâëÿþùèé ñîáîé ñîñòàâíóþ ÷àñòü ðàäèàëüíîãî
ñåãìåíòíîãî ïîäøèïíèêà ñêîëüæåíèÿ (ðèñóíîê 6)
|
en journal
pad
fr segment
radial ou partie du coussinet
|
|
4.7.2. óïîðíûé
ñåãìåíò: Ñåãìåíò, ïðåäñòàâëÿþùèé ñîáîé ñîñòàâíóþ ÷àñòü ñåãìåíòíîãî
óïîðíîãî ïîäøèïíèêà ñêîëüæåíèÿ (ðèñóíêè 1, 5)
|
en thrust
pad
fr segment
axial
|
|
4.8. øåéêà
âàëà: Ó÷àñòîê âàëà èëè îñè, îïèðàþùèéñÿ íà ðàäèàëüíûé ïîäøèïíèê
ñêîëüæåíèÿ (ðèñóíêè 2, 3, 18)
|
en journal
fr tourillon
|
|
4.9. ïÿòà:
Êîëüöåâîé ýëåìåíò, ñîåäèíÿåìûé ñ âàëîì, îïèðàþùèéñÿ íà óïîðíûé ïîäøèïíèê
ñêîëüæåíèÿ
|
en thrust
collar
fr collet
de butee
|
|
4.10. ñìàçî÷íîå
êîëüöî (ñâîáîäíî âèñÿùåå), ñìàçî÷íûé äèñê (íåïîäâèæíî çàêðåïëåííûé):
Êîëüöåîáðàçíàÿ äåòàëü, íåïîäâèæíî ñîåäèíåííàÿ èëè ñâîáîäíî âèñÿùàÿ íà âàëó,
ïðåäíàçíà÷åííàÿ äëÿ ïîäà÷è ñìàçî÷íîãî ìàòåðèàëà ê ïîäøèïíèêó
|
en oil ring
(loose)
oil disc (secured)
fr bague de
lubrification (libre)
disque
de lubrification (fixe)
|
|
4.11. êîðïóñ
ïîäøèïíèêà ñêîëüæåíèÿ: Êîðïóñ, â êîòîðîì óñòàíàâëèâàåòñÿ ïîäøèïíèê
ñêîëüæåíèÿ (ðèñóíîê 10)
|
en plain
bearing housing
fr logement
ou support de palier lisse
|
|
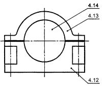
4.12. áëîê
êîðïóñà ïîäøèïíèêà ñêîëüæåíèÿ, áëîê êîðïóñà: ×àñòü êîðïóñà, íà êîòîðóþ
îïèðàåòñÿ ïîäøèïíèê (ðèñóíîê 19)
|
en plain
bearing housing block
bearing block
fr bloc du
logement de palier lisse
corps de
palier
|
|
4.13. êðûøêà
êîðïóñà ïîäøèïíèêà: ×àñòü êîðïóñà, óäåðæèâàþùàÿ ïîäøèïíèê â áëîêå
(ðèñóíîê 19)
|
en plain
bearing housing cap
bearing cap
fr partie
superieure du logement de palier lisse
|
|
4.14. çàïîðíàÿ
êðûøêà ïîäøèïíèêà ñêîëüæåíèÿ, çàïîðíàÿ êðûøêà: Êðûøêà, çàêðûâàþùàÿ
ïîäøèïíèê ñ òîðöà â îñåâîì íàïðàâëåíèè (ðèñóíîê 19)
|
en plain
bearing housing cover plate
cover plate
fr flasque
de fermeture du logement de palier lisse
|
|
4.15. óïëîòíåíèå
óçëà ïîäøèïíèêà ñêîëüæåíèÿ: Ýëåìåíò, ñëóæàùèé äëÿ óïëîòíåíèÿ êîðïóñà
ïîäøèïíèêà ñêîëüæåíèÿ, ïðåïÿòñòâóþùèé óòå÷êå ñìàçî÷íîãî ìàòåðèàëà è ïîïàäàíèþ
ãðÿçè
|
en plain
bearing assembly gasket
bearing gasket
fr joint de
palier lisse
|
|
4.16. ôëàíåö
êîðïóñíîãî ïîäøèïíèêà: ×àñòü êîðïóñíîãî ôëàíöåâîãî ïîäøèïíèêà äëÿ
êðåïëåíèÿ â íàïðàâëåíèè îñè
|
en bearing
housing flange
fr collerette
de logement de palier
|
|
4.17. óñòàíîâî÷íàÿ
ïëîñêîñòü êîðïóñíîãî ïîäøèïíèêà ñêîëüæåíèÿ, óñòàíîâî÷íàÿ ïëîñêîñòü: ×àñòü
êîðïóñíîãî ïîäøèïíèêà ñêîëüæåíèÿ íà ëàïàõ, ïðåäíàçíà÷åííàÿ äëÿ êðåïëåíèÿ â
íàïðàâëåíèè, ïåðïåíäèêóëÿðíîì ê îñè âàëà
|
en bearing
housing base
fr base du
logement du palier
|
|
4.18. èçîëÿöèîííûé
ýëåìåíò: Ýëåìåíò, ïðåäíàçíà÷åííûé äëÿ ýëåêòðè÷åñêîé èçîëÿöèè ìåæäó
ïîäøèïíèêîì ñêîëüæåíèÿ è êîðïóñîì èëè ìåæäó êîðïóñîì è êðåïëåíèåì êîðïóñà
|
en bearing
insulation
fr insolation
du palier
|
|
4.19. ïàç
ñìàçî÷íîãî êîëüöà: Âûòî÷êà âî âêëàäûøå ïîäøèïíèêà ñêîëüæåíèÿ äëÿ
óñòàíîâêè ñìàçî÷íîãî êîëüöà
|
en oil ring
slot
fr encoche
de la bague de lubrification
|
|
4.20. çàëèâíîå
îòâåðñòèå: Çàïèðàåìîå îòâåðñòèå äëÿ çàëèâêè ñìàçî÷íîãî ìàòåðèàëà â êîðïóñ
ïîäøèïíèêà ñêîëüæåíèÿ
|
en oil
filler hole
fr trou de
remplissage d’huile
|
|
4.21. ñëèâíîå
îòâåðñòèå: Çàïèðàåìîå îòâåðñòèå äëÿ ñëèâà ñìàçî÷íîãî ìàòåðèàëà èç êîðïóñà
ïîäøèïíèêà ñêîëüæåíèÿ
|
en oil drain
hole
fr trou de
vidange d’huile
|
|
4.22. ïîñàäî÷íîå
îòâåðñòèå êîðïóñà ïîäøèïíèêà ñêîëüæåíèÿ: Ñôåðè÷åñêîå èëè öèëèíäðè÷åñêîå
îòâåðñòèå â êîðïóñå ïîäøèïíèêà ñêîëüæåíèÿ äëÿ óñòàíîâêè âòóëêè èëè âêëàäûøåé
|
en plain
bearing housing bore
fr alesage
du logement de palier lisse
|
|
|
|
5.1. ñìàçî÷íîå
îòâåðñòèå: Îòâåðñòèå, èäóùåå ê ðàáî÷åé ïîâåðõíîñòè ïîäøèïíèêà ñêîëüæåíèÿ,
ñëóæàùåå äëÿ ïîäâåäåíèÿ è ðàñïðåäåëåíèÿ ñìàçî÷íîãî ìàòåðèàëà (ðèñóíêè 20, 21)
|
en oil hole
fr trou de
lubrification
|
|
5.2. íàðóæíàÿ
ñìàçî÷íàÿ êàíàâêà: Êàíàâêà íà çàäíåé ïîâåðõíîñòè ïîäøèïíèêà ñêîëüæåíèÿ,
ñëóæàùàÿ äëÿ ïîäâåäåíèÿ ñìàçî÷íîãî ìàòåðèàëà ê ñìàçî÷íîìó îòâåðñòèþ (ðèñóíîê 21)
|
en oil outer
groove
fr canal de
lubrification ou rainure externe
|
|
5.3. ñìàçî÷íàÿ
êàíàâêà: Êàíàâêà, âûïîëíåííàÿ íà ðàáî÷åé ïîâåðõíîñòè ïîäøèïíèêà
ñêîëüæåíèÿ äëÿ ïîäà÷è ñìàçî÷íîãî ìàòåðèàëà è åãî ðàñïðåäåëåíèÿ ïî ïîâåðõíîñòè
òðåíèÿ (ðèñóíêè 16, 17, 22)
|
en oil
groove
fr rainure
de lubrification
|
|
5.3.1. ïðîäîëüíàÿ
ñìàçî÷íàÿ êàíàâêà: Ñìàçî÷íàÿ êàíàâêà, âûïîëíåííàÿ â íàïðàâëåíèè,
ïàðàëëåëüíîì îñè ïîäøèïíèêà ñêîëüæåíèÿ (ðèñóíîê 22)
|
en longitudinal
(axial) groove
fr rainure
longitudinale (axiale)
|
|
5.3.2. êîëüöåâàÿ
ñìàçî÷íàÿ êàíàâêà: Ñìàçî÷íàÿ êàíàâêà, âûïîëíåííàÿ â ôîðìå êîëüöà èëè åãî
÷àñòè (ðèñóíîê 23)
|
en circumferential
groove
fr rainure
circulaire
|
|
5.3.3. âèíòîâàÿ
ñìàçî÷íàÿ êàíàâêà: Ñìàçî÷íàÿ êàíàâêà, âûïîëíåííàÿ â ôîðìå âèíòîâîé ëèíèè
(ðèñóíîê 24)
|
en helical
groove
fr rainure
helicoidale
|
|
5.3.4. îòêðûòàÿ
ñìàçî÷íàÿ êàíàâêà: Îñåâàÿ ñìàçî÷íàÿ êàíàâêà, âûïîëíåííàÿ íà ïîëíóþ øèðèíó
ïîäøèïíèêà (ðèñóíîê 25)
|
en open
groove
fr rainure
ouverte
|
|
5.3.5. çàêðûòàÿ
ñìàçî÷íàÿ êàíàâêà: Ñìàçî÷íàÿ êàíàâêà, íå äîñòèãàþùàÿ òîðöåâîé (ûõ)
ïîâåðõíîñòè (åé) ïîäøèïíèêà (ðèñóíîê 22)
|
en stopped-off
groove
fr rainure
fermee
|
|
5.3.6. îòâîäíàÿ
ñìàçî÷íàÿ êàíàâêà: Ïðîäîëüíàÿ ñìàçî÷íàÿ êàíàâêà, ïðèìûêàþùàÿ èëè
ïðîõîäÿùàÿ ïî ñòûêó âêëàäûøåé
|
en gutterway
fr bassin
relais
|
|
5.4. ñìàçî÷íûé
êàðìàí: Óãëóáëåíèå íà ïîâåðõíîñòè ïîäøèïíèêà ñêîëüæåíèÿ, ñëóæàùåå äëÿ
íàêîïëåíèÿ ñìàçî÷íîãî ìàòåðèàëà è åãî ðàñïðåäåëåíèÿ (ðèñóíîê 26)
|
en oil
pocket
fr alveole
|
|
5.5. ôèêñàòîð:
Âûñòóï, ïàç èëè îòâåðñòèå, ñëóæàùèå äëÿ ïðåäîòâðàùåíèÿ ñìåùåíèÿ ïîäøèïíèêà â
êîðïóñå (ðèñóíîê 27)
|
en locating
element
fr element
de positionnement
|
6. Ðàçìåðíûå õàðàêòåðèñòèêè ïîäøèïíèêîâ ñêîëüæåíèÿ
|
|
6.1. âíóòðåííèé
äèàìåòð (ðàäèóñ) ðàäèàëüíîãî ïîäøèïíèêà ñêîëüæåíèÿ: Âíóòðåííèé äèàìåòð
(ðàäèóñ) ñå÷åíèÿ, ïåðïåíäèêóëÿðíîãî ê îñè ðàäèàëüíîãî êðóãëîöèëèíäðè÷åñêîãî
ïîäøèïíèêà ñêîëüæåíèÿ (ðèñóíîê 28)
|
en journal
bearing bore diameter (radius)
bore
ID
fr Diametre
(rayon) d’alesage d’un palier lisse radial
alesage
D
|
|
6.2. íàðóæíûé
äèàìåòð ðàäèàëüíîãî ïîäøèïíèêà ñêîëüæåíèÿ: Äèàìåòð íàðóæíîé ïîâåðõíîñòè
ïîäøèïíèêà, íàõîäÿùåãîñÿ â êîðïóñå (ðèñóíîê 28)
|
en plain
journal bearing outside diameter
bearing
outside diameter
OD
fr diametre
exterieur d’un palier lisse radial
diametre
exterieur d’un palier
DE
|
|
6.3. øèðèíà
âêëàäûøà (âòóëêè) ïîäøèïíèêà: Ðàçìåð ðàäèàëüíîãî ïîäøèïíèêà, èçìåðåííûé â
îñåâîì íàïðàâëåíèè, èëè óïîðíîãî ïîäøèïíèêà, èçìåðåííûé â ðàäèàëüíîì
íàïðàâëåíèè (ðèñóíêè 9 è 29)
|
en bearing
width
fr largeur
d’un palier
|
|
6.3.1. ðàáî÷àÿ
øèðèíà âêëàäûøà ïîäøèïíèêà: Øèðèíà âêëàäûøà (âòóëêè), çà èñêëþ÷åíèåì
øèðèíû öåíòðàëüíîé êàíàâêè è ôàñîê
|
en bearing
effective width
fr largeur
utile d’un palier
|
|
6.3.2. ïîëîâèíà
ðàáî÷åé øèðèíû ïîäøèïíèêà: Ðàçìåð ðàäèàëüíîãî ïîäøèïíèêà ñ êîëüöåâîé
êàíàâêîé îò êðàÿ êàíàâêè äî êðàÿ ïîäøèïíèêà â îñåâîì íàïðàâëåíèè, çà
èñêëþ÷åíèåì ôàñîê (ðèñóíîê 23)
|
en bearing
land width
fr largeur
de la face d’appui du palier
|
|
6.4. äèàìåòðàëüíûé
çàçîð ðàäèàëüíîãî ïîäøèïíèêà ñêîëüæåíèÿ, çàçîð ðàäèàëüíîãî ïîäøèïíèêà,
çàçîð: Ðàçíîñòü ìåæäó âíóòðåííèì äèàìåòðîì ðàäèàëüíîãî ïîäøèïíèêà ñêîëüæåíèÿ
è äèàìåòðîì øåéêè âàëà
|
en diametral
clearance of a plain journal bearing
journal
bearing clearance
bearing clearance
fr jeu
diametral d’un palier lisse radial
jeu d’un
palier radial
jeu
|
|
6.5. ðàäèàëüíûé
çàçîð êðóãëîöèëèíäðè÷åñêîãî ïîäøèïíèêà ñêîëüæåíèÿ: Ðàçíîñòü ìåæäó
âíóòðåííèì ðàäèóñîì ðàäèàëüíîãî ïîäøèïíèêà è ðàäèóñîì øåéêè âàëà (ðèñóíîê 2)
|
en radial
clearance of a circular cylindrical bearing
fr jeu
radial d’un palier cylindrique circulaire
|
|
6.6. ìèíèìàëüíûé
ðàäèàëüíûé çàçîð íåêðóãëîöèëèíäðè÷åñêîãî ïîäøèïíèêà ñêîëüæåíèÿ:
Ìèíèìàëüíîå ðàññòîÿíèå ìåæäó ïîâåðõíîñòÿìè ñêîëüæåíèÿ ñîîñíî ðàñïîëîæåííûõ
âàëà è ïîäøèïíèêà (ðèñóíêè 3, 4)
|
en minimum
bearing radial clearance of a non-circular cylindrical bearing
fr jeu
radial minimal d’un palier cylindricue non circulaire
|
|
6.7. îòíîñèòåëüíûé
çàçîð ïîäøèïíèêà: Îòíîøåíèå ðàäèàëüíîãî çàçîðà ê âíóòðåííåìó ðàäèóñó èëè
äèàìåòðàëüíîãî çàçîðà ê âíóòðåííåìó äèàìåòðó êðóãëîöèëèíäðè÷åñêîãî ïîäøèïíèêà
|
en relative
clearance of a bearing
fr jeu
relatif d’un palier
|
|
6.8. òîëùèíà
ñòåíêè âêëàäûøà (âòóëêè): Ðàññòîÿíèå ìåæäó íàðóæíîé è âíóòðåííåé
ïîâåðõíîñòÿìè âêëàäûøà (âòóëêè) â äàííîì ðàäèàëüíîì íàïðàâëåíèè (ðèñóíîê 30)
|
en half-bearing
(bush) wall thickness
fr epaisseur
de paroi de demi-coussinet (bague)
|
|
6.9. òîëùèíà
ñëîÿ ïîäøèïíèêîâîãî ìàòåðèàëà: Òîëùèíà ñëîÿ àíòèôðèêöèîííîãî ìàòåðèàëà,
íàíåñåííîãî íà îñíîâó ïîäøèïíèêà (ðèñóíîê 30)
|
en bearing
material layer thickness
lining thickness
fr epaisseur
de la couche de materiau antifriction
epaisseur
du revetement
|
|
6.10. òàíãåíöèàëüíûé
ðàçìåð ñåãìåíòà: Ëèíåéíûé ðàçìåð ñåãìåíòà â íàïðàâëåíèè ñêîëüæåíèÿ ïî
äóãå ñðåäíåãî äèàìåòðà (ðèñóíîê 5)
|
en pad
length
fr longueur
d’un segment
|
|
6.11. øèðèíà
ñåãìåíòà: Ëèíåéíûé ðàçìåð ñåãìåíòà â ðàäèàëüíîì íàïðàâëåíèè (óïîðíûé
ñåãìåíò - ðèñóíîê 5) èëè â îñåâîì íàïðàâëåíèè (ðàäèàëüíûé
ñåãìåíò)
|
en pad width
fr largeur
d’un segment
|
|
6.12. òîëùèíà
ñåãìåíòà: Ëèíåéíûé ðàçìåð ñåãìåíòà, èçìåðåííûé â îñåâîì íàïðàâëåíèè
(îñåâîé ñåãìåíò - ðèñóíîê 5) èëè â ðàäèàëüíîì íàïðàâëåíèè (ðàäèàëüíûé
ñåãìåíò)
|
en pad
thickness
fr epaisseur
d’un segment
|
|
6.13. ñêîñ
âêëàäûøà: Ïëàâíîå óìåíüøåíèå òîëùèíû âêëàäûøà ó ïëîñêîñòè ðàçúåìà
(ðèñóíîê 31)
|
en bore
relief
fr depincage
de l’alesage
|
|
6.14. âåëè÷èíà
âûñòóïàíèÿ: Ðàçìåð, íà êîòîðûé äëèíà âêëàäûøà ïîäøèïíèêà ñêîëüæåíèÿ ïðè
èçìåðåíèè â ñïåöèàëüíîì ïðèñïîñîáëåíèè ïîä íàãðóçêîé ïðåâûøàåò äëèíó
ïîëóîêðóæíîñòè èçìåðèòåëüíîãî ïðèñïîñîáëåíèÿ (ðèñóíîê 11)
|
en nip crush
fr depassement
|
|
6.15. íåïàðàëëåëüíîñòü
ïëîñêîñòåé ðàçúåìà âêëàäûøà: Âåëè÷èíà, õàðàêòåðèçóþùàÿ îòêëîíåíèå îò
ïàðàëëåëüíîñòè ïëîñêîñòåé ðàçúåìà âêëàäûøà îòíîñèòåëüíî îáðàçóþùåé íàðóæíîé
öèëèíäðè÷åñêîé ïîâåðõíîñòè èçìåðèòåëüíîãî ïðèñïîñîáëåíèÿ (ðèñóíîê 10)
|
en inclination
fr non-parallelisme
des plans de joint
|
|
6.16. ðàñïðÿìëåíèå
âêëàäûøà ïîäøèïíèêà ñêîëüæåíèÿ: Ðàçíîñòü ìåæäó íàðóæíûì äèàìåòðîì
âêëàäûøà, èçìåðåííûì â ñâîáîäíîì ñîñòîÿíèè, è äèàìåòðîì ïîñàäî÷íîãî ìåñòà
êîðïóñà ïîäøèïíèêà ñêîëüæåíèÿ (ðèñóíîê 32)
|
en free
spread
fr ouverture
a l’etat libre
|
|
6.17. äëèíà
êîðïóñà: Ìàêñèìàëüíûé ðàçìåð êîðïóñà ïîäøèïíèêà ñêîëüæåíèÿ â íàïðàâëåíèè
îñè âàëà
|
en housing
length
fr largeur
du logement
|
|
6.18. øèðèíà
êîðïóñà: Ìàêñèìàëüíàÿ øèðèíà êîðïóñà ïîäøèïíèêà ñêîëüæåíèÿ â
ãîðèçîíòàëüíîì íàïðàâëåíèè, ïåðïåíäèêóëÿðíîì ê îñè âàëà
|
en housing
width
fr longueur
du logement
|
|
6.19. âûñîòà
êîðïóñà: Ìàêñèìàëüíàÿ âûñîòà êîðïóñà ïîäøèïíèêà ñêîëüæåíèÿ â íàïðàâëåíèè,
ïåðïåíäèêóëÿðíîì ê îñè âàëà
|
en housing
height
fr hauteur
du logement
|
|
6.20. òîðöåâàÿ
ïîâåðõíîñòü êîðïóñà: Íàðóæíàÿ ïîâåðõíîñòü êîðïóñà, ïåðïåíäèêóëÿðíàÿ ê
îñåâîìó íàïðàâëåíèþ
|
en housing
face
fr face du
logement
|
|
6.21. ðåáðà
îõëàæäåíèÿ: Âûñòóïû íà íàðóæíîé ïîâåðõíîñòè êîðïóñà, íåîáõîäèìûå äëÿ
óëó÷øåíèÿ òåïëîîòâîäà
|
en cooling
fins
fr ailettes
de refroidissement
|
|
6.22. ïëîñêîñòü
ðàçúåìà: Ïëîñêîñòü ñîïðÿæåíèÿ äâóõ ïðîòèâîëåæàùèõ âêëàäûøåé èëè äâóõ
ñîïðÿæåííûõ äåòàëåé ñáîðíîãî êîðïóñà (ðèñóíêè 2, 3)
|
en joint
face
fr plan de
joint
|
|
6.23. ðàçúåì:
Ïëîñêîñòü ðàçúåìà äâóõ ïðîòèâîëåæàùèõ êîíöîâ ñâåðòíîé âòóëêè (ðèñóíîê 13)
|
en joint
split
fr joint
|
|
6.24. âûñîòà
îñè êîðïóñíîãî ïîäøèïíèêà íà ëàïàõ: Ðàññòîÿíèå îò óñòàíîâî÷íîé ïëîñêîñòè
äî îñè âàëà â êîðïóñíîì ïîäøèïíèêå ñêîëüæåíèÿ íà ëàïàõ
|
en centre
height of a pedestal plain bearing
fr hauteur
de l’axe d’un palier lisse a chaise sur le sol
|
|
6.25. äèàìåòð
øåéêè: Ðèñóíêè 18 è 33
|
en journal
diameter
fr diametre
du tourillon
|
|
6.26. äèàìåòð
âàëà: Ðèñóíêè 18 è 33
|
en shaft
diameter
fr diametre
de l’arbre
|
|
6.27. äèàìåòð
ïÿòû, äèàìåòð óïîðíîé ïÿòû: Ðèñóíîê 1
|
en collar
diameter thrust
collar diameter
fr diametre
du collet de butee
|
|
|
|
7.1. ïîäøèïíèêîâûé
ìàòåðèàë, àíòèôðèêöèîííûé ìàòåðèàë: Ïîäøèïíèêîâûé ìàòåðèàë, îáëàäàþùèé
êîìïëåêñîì ñïåöèàëüíûõ ñâîéñòâ, îáåñïå÷èâàþùèõ âîçìîæíîñòü åãî ïðèìåíåíèÿ äëÿ
ïîäøèïíèêîâ ñêîëüæåíèÿ
|
en bearing
material
antifriction
material
lining
fr materiau
antifriction revetement
|
|
7.2. ìíîãîñëîéíûé
ïîäøèïíèêîâûé ìàòåðèàë: Ïîäøèïíèêîâûé ìàòåðèàë, ñîñòîÿùèé èç äâóõ èëè
áîëåå ñëîåâ ðàçëè÷íîãî ñîñòàâà
|
en multilayer
material
fr materiau
multicouche
|
|
7.3. ìàòåðèàë
îñíîâû ïîäøèïíèêà ñêîëüæåíèÿ: Ìàòåðèàë, èç êîòîðîãî èçãîòîâëåíà îñíîâà
âêëàäûøà ïîäøèïíèêà ñêîëüæåíèÿ
|
en backing
material
fr materiau
support
|
|
7.4. êîìïîçèöèîííûé
ïîäøèïíèêîâûé ìàòåðèàë: Ïîäøèïíèêîâûé ìàòåðèàë, ñîäåðæàùèé ìåòàëëû,
ïîëèìåðû, òâåðäûå ñìàçî÷íûå ìàòåðèàëû èëè âîëîêíà
|
en composite
material
fr materiau
composite
|
|
7.5. ñïå÷åííûé
ïîäøèïíèêîâûé ìàòåðèàë, ñïå÷åííûé ìàòåðèàë: Ìàòåðèàë, ïîëó÷åííûé èç
ñïðåññîâàííûõ è ñïå÷åííûõ ïîðîøêîâ
|
en sintered
bearing material
sintered material
fr materiau
fritte antifriction
|
|
7.6. òðèáîëîãè÷åñêàÿ
ñîâìåñòèìîñòü: Ñâîéñòâî ïîäøèïíèêîâîãî ìàòåðèàëà îáåñïå÷èâàòü îïòèìàëüíûå
òðèáîëîãè÷åñêèå õàðàêòåðèñòèêè â äàííîé òðèáîëîãè÷åñêîé ñèñòåìå
|
en tribological
compatibility
fr compatibilite
tribologique
|
|
7.7. ïðèëåãàåìîñòü
ïðè òðåíèè, ïðèëåãàåìîñòü: Ñâîéñòâî ïîäøèïíèêîâîãî ìàòåðèàëà îáåñïå÷èâàòü
ïðèåìëåìûå óñëîâèÿ ïðèëåãàíèÿ ê ñîïðÿæåííîé ïîâåðõíîñòè â ðåçóëüòàòå óïðóãîãî
è ïëàñòè÷åñêîãî äåôîðìèðîâàíèÿ
|
en conformability
fr conformabilite
|
|
7.8. ïðèðàáàòûâàåìîñòü:
Ñâîéñòâî ïîäøèïíèêîâîãî ìàòåðèàëà îáåñïå÷èâàòü ïðèåìëåìî ìàëóþ ñèëó òðåíèÿ,
âûñîêóþ èçíîñîñòîéêîñòü è ñòîéêîñòü ê çàåäàíèþ ïîñëå íà÷àëüíîé ïðèðàáîòêè ê
çàäàííîìó ìàòåðèàëó ïðè ïðèìåíåíèè çàäàííîãî ñìàçî÷íîãî ìàòåðèàëà
|
en running-in
ability
fr aptitude
au radage
|
|
7.9. ñïîñîáíîñòü
ê ïîãëîùåíèþ: Ñâîéñòâî ïîäøèïíèêîâîãî ìàòåðèàëà ê ïîãëîùåíèþ òâåðäûõ
÷àñòèö
|
en embeddability
fr pouvoir
d’inclusion
|
|
7.10. ñöåïëÿåìîñòü:
Ñâîéñòâî àíòèôðèêöèîííîãî ïîäøèïíèêîâîãî ìàòåðèàëà îáðàçîâûâàòü ïðèåìëåìî
ïðî÷íûå ñîåäèíåíèÿ ñ çàäàííûì ìàòåðèàëîì îñíîâû ïîäøèïíèêîâ ñêîëüæåíèÿ
|
en bonding
fr pouvoir
d’adherence
|
|
7.11. ñòîéêîñòü
ê çàåäàíèþ: Ñâîéñòâî ïîäøèïíèêîâîãî ìàòåðèàëà â òðèáîëîãè÷åñêîé ñèñòåìå
îêàçûâàòü ñîïðîòèâëåíèå çàåäàíèþ
|
en seizure
resistance
fr resistance
au grippage
|
|
7.12. èçíîñîñòîéêîñòü:
Ñâîéñòâî àíòèôðèêöèîííîãî ïîäøèïíèêîâîãî ìàòåðèàëà â òðèáîëîãè÷åñêîé ñèñòåìå
îêàçûâàòü ñîïðîòèâëåíèå èçíàøèâàíèþ, îöåíèâàåìîå ïîêàçàòåëåì èçíîñîñòîéêîñòè
- âåëè÷èíîé, îáðàòíîé ñêîðîñòè èçíàøèâàíèÿ èëè èíòåíñèâíîñòè èçíàøèâàíèÿ
|
en wear
resistance
fr resistance
a l’usure
|
|
7.13. îòíîñèòåëüíàÿ
èçíîñîñòîéêîñòü: Îòíîøåíèå ïîêàçàòåëåé èçíîñîñòîéêîñòè äâóõ ðàçëè÷íûõ
àíòèôðèêöèîííûõ ïîäøèïíèêîâûõ ìàòåðèàëîâ ïðè èçíàøèâàíèè â îäèíàêîâûõ
óñëîâèÿõ
|
en relative
wear resistance
fr resistance
relative a l’usure
|
|
7.14. òåìïåðàòóðîñòîéêîñòü:
Ñâîéñòâî àíòèôðèêöèîííîãî ïîäøèïíèêîâîãî ìàòåðèàëà ñîõðàíÿòü
ðàáîòîñïîñîáíîñòü ïðè øèðîêîì äèàïàçîíå òåìïåðàòóð
|
en temperature
stability
fr stabilite
en temperature
|
|
7.15. ñîïðîòèâëåíèå
óñòàëîñòè: Ñâîéñòâî ïîäøèïíèêîâîãî ìàòåðèàëà â òðèáîëîãè÷åñêîé ñèñòåìå
îêàçûâàòü ñîïðîòèâëåíèå óñòàëîñòè
|
en fatigue
resistance
fr resistance
a la fatigue
|
|

Ðèñóíîê 1
|

Ðèñóíîê 2
|

Ðèñóíîê 3
|
|

Ðèñóíîê 4
|

Ðèñóíîê 5
|

Ðèñóíîê 6
|
|

Ðèñóíîê 7
|

Ðèñóíîê 8
|
|

Ðèñóíîê 9
|

Ðèñóíîê 10
|

Ðèñóíîê 11
|
|

Ðèñóíîê
12
|

Ðèñóíîê
13
|

Ðèñóíîê
14
|
|

Ðèñóíîê
15
|

Ðèñóíîê
16
|
|

Ðèñóíîê
17
|

Ðèñóíîê
18
|
|

Ðèñóíîê
19
|

Ðèñóíîê
20
|

Ðèñóíîê
21
|
|

Ðèñóíîê
22
|

Ðèñóíîê
23
|

Ðèñóíîê
24
|

Ðèñóíîê
25
|
|

Ðèñóíîê
26
|

Ðèñóíîê
27
|

Ðèñóíîê
28
|
|

Ðèñóíîê
29
|

Ðèñóíîê
30
|

Ðèñóíîê
31
|
|

Ðèñóíîê
32
|

Ðèñóíîê
33
|
|
|
|
|
|
|
|
|
|
|
|
|
|
áëîê êîðïóñà 4.12
áëîê êîðïóñà
ïîäøèïíèêà ñêîëüæåíèÿ 4.12
âåëè÷èíà
âûñòóïàíèÿ 6.14
âêëàäûø áóðòîâûé 4.3
âêëàäûø
ìíîãîñëîéíûé 4.5
âêëàäûø
îäíîñëîéíûé 4.4
âêëàäûø
ïîäøèïíèêà 4.1
âêëàäûø
ïîäøèïíèêà áóðòîâûé 4.3
âêëàäûø
ïîäøèïíèêà òîëñòîñòåííûé 4.1.2
âêëàäûø
ïîäøèïíèêà òîíêîñòåííûé 4.1.1
âòóëêà 4.2
âòóëêà áóðòîâàÿ 4.3
âòóëêà
ìíîãîñëîéíàÿ 4.5
âòóëêà
îäíîñëîéíàÿ 4.4
âòóëêà
ïîäøèïíèêà 4.2
âòóëêà
ïîäøèïíèêà áóðòîâàÿ 4.3
âòóëêà ïîäøèïíèêà ñêîëüæåíèÿ 4.2
âòóëêà
ïîäøèïíèêà ñêîëüæåíèÿ ñâåðòíàÿ 4.2.1
âòóëêà ñâåðòíàÿ 4.2.1
âûñîòà
êîðïóñà 6.19
âûñîòà îñè
êîðïóñíîãî ïîäøèïíèêà íà ëàïàõ 6.24
äèàìåòð âàëà 6.26
äèàìåòð ïÿòû 6.27
äèàìåòð
ðàäèàëüíîãî ïîäøèïíèêà ñêîëüæåíèÿ âíóòðåííèé 6.1
äèàìåòð
ðàäèàëüíîãî ïîäøèïíèêà ñêîëüæåíèÿ íàðóæíûé 6.2
äèàìåòð
óïîðíîé ïÿòû 6.27
äèàìåòð øåéêè 6.25
äèñê ñìàçî÷íûé (íåïîäâèæíî çàêðåïëåííûé) 4.10
äëèíà êîðïóñà 6.17
çàçîð 6.4
çàçîð
êðóãëîöèëèíäðè÷åñêîãî ïîäøèïíèêà ñêîëüæåíèÿ ðàäèàëüíûé 6.5
çàçîð
íåêðóãëîöèëèíäðè÷åñêîãî ïîäøèïíèêà ñêîëüæåíèÿ
ìèíèìàëüíûé
ðàäèàëüíûé 6.6
çàçîð
ïîäøèïíèêà îòíîñèòåëüíûé 6.7
çàçîð
ðàäèàëüíîãî ïîäøèïíèêà 6.4
çàçîð
ðàäèàëüíîãî ïîäøèïíèêà ñêîëüæåíèÿ äèàìåòðàëüíûé 6.4
èçíîñîñòîéêîñòü 7.12
èçíîñîñòîéêîñòü
îòíîñèòåëüíàÿ 7.13
êàíàâêà
ñìàçî÷íàÿ 5.3
êàíàâêà
ñìàçî÷íàÿ âèíòîâàÿ 5.3.3
êàíàâêà
ñìàçî÷íàÿ çàêðûòàÿ 5.3.5
êàíàâêà
ñìàçî÷íàÿ êîëüöåâàÿ 5.3.2
êàíàâêà
ñìàçî÷íàÿ íàðóæíàÿ 5.2
êàíàâêà
ñìàçî÷íàÿ îòâîäíàÿ 5.3.6
êàíàâêà
ñìàçî÷íàÿ îòêðûòàÿ 5.3.4
êàíàâêà
ñìàçî÷íàÿ ïðîäîëüíàÿ 5.3.1
êàðìàí
ñìàçî÷íûé 5.4
êîëüöî
ñìàçî÷íîå (ñâîáîäíî âèñÿùåå) 4.10
êîëüöî
óïîðíîå 4.6
êîðïóñ
ïîäøèïíèêà ñêîëüæåíèÿ 4.11
êðûøêà çàïîðíàÿ 4.14
êðûøêà
êîðïóñà ïîäøèïíèêà 4.13
êðûøêà
ïîäøèïíèêà ñêîëüæåíèÿ çàïîðíàÿ 4.14
ìàòåðèàë àíòèôðèêöèîííûé 7.1
ìàòåðèàë
îñíîâû ïîäøèïíèêà ñêîëüæåíèÿ 7.3
ìàòåðèàë
ïîäøèïíèêîâûé 7.1
ìàòåðèàë
ïîäøèïíèêîâûé êîìïîçèöèîííûé 7.4
ìàòåðèàë
ïîäøèïíèêîâûé ìíîãîñëîéíûé 7.2
ìàòåðèàë ñïå÷åííûé 7.5
ìàòåðèàë
ñïå÷åííûé ïîäøèïíèêîâûé 7.5
íåïàðàëëåëüíîñòü
ïëîñêîñòåé ðàçúåìà âêëàäûøà 6.15
îñíîâà âêëàäûøà 4.5.1
îñíîâà
âêëàäûøà ïîäøèïíèêà 4.5.1
îòâåðñòèå
çàëèâíîå 4.20
îòâåðñòèå
êîðïóñà ïîäøèïíèêà ñêîëüæåíèÿ ïîñàäî÷íîå 4.22
îòâåðñòèå
ñëèâíîå 4.21
îòâåðñòèå
ñìàçî÷íîå 5.1
ïàç
ñìàçî÷íîãî êîëüöà 4.19
ïëîñêîñòü
êîðïóñíîãî ïîäøèïíèêà ñêîëüæåíèÿ óñòàíîâî÷íàÿ 4.17
ïëîñêîñòü
ðàçúåìà 6.22
ïëîñêîñòü óñòàíîâî÷íàÿ 4.17
ïîâåðõíîñòü
êîðïóñà òîðöåâàÿ 6.20
ïîâåðõíîñòü
ïîäøèïíèêà ñêîëüæåíèÿ ïîñàäî÷íàÿ (çàäíÿÿ) 4.1.3
ïîäøèïíèê 2.1
ïîäøèïíèê
àýðîäèíàìè÷åñêèé 3.3.2
ïîäøèïíèê
àýðîñòàòè÷åñêèé 3.3.1
ïîäøèïíèê áóðòîâûé 3.2.3
ïîäøèïíèê
âèáðîäåìïôåðíûé 3.3.5
ïîäøèïíèê
ãèäðîäèíàìè÷åñêèé 3.3.4
ïîäøèïíèê
ãèäðîñòàòè÷åñêèé 3.3.3
ïîäøèïíèê
ãèäðîñòàòîäèíàìè÷åñêèé 3.3.6
ïîäøèïíèê
êðóãëîöèëèíäðè÷åñêèé 3.4.1
ïîäøèïíèê
ìíîãîêëèíîâûé 3.4.3
ïîäøèïíèê íà
ëàïàõ êîðïóñíîé 3.4.8.1
ïîäøèïíèê
íåêðóãëîöèëèíäðè÷åñêèé 3.4.2
ïîäøèïíèê
ðàáîòàþùèé áåç ñìàçêè 3.3.8
ïîäøèïíèê ðàäèàëüíûé 3.2.1
ïîäøèïíèê
ñàìîñìàçûâàþùèéñÿ 3.3.9
ïîäøèïíèê
ñàìîñìàçûâàþùèéñÿ ïîðèñòûé 3.3.10
ïîäøèïíèê
ñàìîóñòàíàâëèâàþùèéñÿ 3.4.9
ïîäøèïíèê
ñàìîóñòàíàâëèâàþùèéñÿ ñåãìåíòíûé ðàäèàëüíûé 3.4.5
ïîäøèïíèê
ñàìîóñòàíàâëèâàþùèéñÿ ñåãìåíòíûé óïîðíûé 3.4.6
ïîäøèïíèê
ñåãìåíòíûé óïîðíûé 3.4.4
ïîäøèïíèê
ñêîëüæåíèÿ 2.2
ïîäøèïíèê
ñêîëüæåíèÿ äèíàìè÷åñêè íàãðóæåííûé 3.1.2
ïîäøèïíèê
ñêîëüæåíèÿ ðàäèàëüíî-óïîðíûé 3.2.3
ïîäøèïíèê
ñêîëüæåíèÿ ðàäèàëüíûé 3.2.1
ïîäøèïíèê
ñêîëüæåíèÿ ñ òâåðäûì ñìàçî÷íûì ìàòåðèàëîì 3.3.7
ïîäøèïíèê
ñêîëüæåíèÿ ñòàòè÷åñêè íàãðóæåííûé 3.1.1
ïîäøèïíèê
ñêîëüæåíèÿ óïîðíûé 3.2.2
ïîäøèïíèê
ñïå÷åííûé 3.3.10
ïîäøèïíèê ñ
ïëàâàþùåé âòóëêîé 3.4.7
ïîäøèïíèê ñ
ôëàíöåì êîðïóñíîé 3.4.8.2
ïîäøèïíèê óïîðíûé 3.2.2
ïîëîâèíà ðàáî÷åé øèðèíû ïîäøèïíèêà 6.3.2
ïîëóêîëüöî óïîðíîå 4.6.1
ïðèëåãàåìîñòü 7.7
ïðèëåãàåìîñòü ïðè òðåíèè 7.7
ïðèðàáàòûâàåìîñòü 7.8
ïÿòà 4.9
ðàäèóñ ðàäèàëüíîãî ïîäøèïíèêà ñêîëüæåíèÿ
âíóòðåííèé 6.1
ðàçìåð ñåãìåíòà òàíãåíöèàëüíûé 6.10
ðàçúåì 6.23
ðàñïðÿìëåíèå âêëàäûøà ïîäøèïíèêà ñêîëüæåíèÿ 6.16
ðåáðà îõëàæäåíèÿ 6.21
ñåãìåíò 4.7
ñåãìåíò ðàäèàëüíûé 4.7.1
ñåãìåíò óïîðíûé 4.7.2
ñêîñ âêëàäûøà 6.13
ñëîé çàùèòíûé 4.5.5
ñëîé ïîäøèïíèêà ñêîëüæåíèÿ ïðèðàáîòî÷íûé 4.5.3
ñëîé ïîäøèïíèêîâîãî ìàòåðèàëà 4.5.2
ñëîé ïîäøèïíèêîâûé 4.5.2
ñëîé ïðèðàáîòî÷íûé 4.5.3
ñëîé ïðîìåæóòî÷íûé 4.5.4
ñëîé ñöåïëÿþùèé 4.5.4
ñîâìåñòèìîñòü òðèáîëîãè÷åñêàÿ 7.6
ñîïðîòèâëåíèå óñòàëîñòè 7.15
ñïîñîáíîñòü ê ïîãëîùåíèþ 7.9
ñòîéêîñòü ê çàåäàíèþ 7.11
ñöåïëÿåìîñòü 7.10
òåìïåðàòóðîñòîéêîñòü 7.14
òîëùèíà ñåãìåíòà 6.12
òîëùèíà ñëîÿ ïîäøèïíèêîâîãî ìàòåðèàëà 6.9
òîëùèíà ñòåíêè âêëàäûøà 6.8
òîëùèíà ñòåíêè âòóëêè 6.8
óçåë ïîäøèïíèêà ñêîëüæåíèÿ 2.3
óçåë ïîäøèïíèêà ñêîëüæåíèÿ â ñáîðå 3.4.8
óçåë ñ ñèñòåìîé ñìàçêè ïîäøèïíèêîâûé 3.3.11
óïëîòíåíèå óçëà ïîäøèïíèêà ñêîëüæåíèÿ 4.15
ôèêñàòîð 5.5
ôëàíåö êîðïóñíîãî ïîäøèïíèêà 4.16
øåéêà âàëà 4.8
øèðèíà âêëàäûøà ïîäøèïíèêà 6.3
øèðèíà âêëàäûøà ïîäøèïíèêà ðàáî÷àÿ 6.3.1
øèðèíà âòóëêè ïîäøèïíèêà 6.3
øèðèíà êîðïóñà 6.18
øèðèíà ñåãìåíòà 6.11
ýëåìåíò èçîëÿöèîííûé 4.18
aerodynamic
bearing 3.3.2
aerostatic
bearing 3.3.1
antifriction
material 7.1
axial
groove 5.3.1
backing 4.5.1
backing
material 7.3
bearing 2.1
bearing
back 4.1.3
bearing
block 4.12
bearing
bush 4.2
bearing
cap 4.13
bearing
clearance 6.4
bearing
effective width 6.3.1
bearing
gasket 4.15
bearing
housing base 4.17
bearing
housing flange 4.16
bearing
insulation 4.18
bearing
land width 6.3.2
bearing
layer 4.5.2
bearing
material 7.1
bearing
material layer 4.5.2
bearing
material layer thickness 6.9
bearing
outside diameter 6.2
bearing
width 6.3
bearing
wrapped bush 4.2.1
bonding 7.10
bonding
layer 4.5.4
bore 6.1
bore
relief 6.13
bush 4.2
bush
wall thickness 6.8
centre
height of a pedestal plain bearing 6.24
circular
cylindrical bearing 3.4.1
circumferential
groove 5.3.2
collar
diameter 6.27
composite
material 7.4
conformability 7.7
cooling
fins 6.21
cover
plate 4.14
crush 6.14
diametral
clearance of a plain journal bearing 6.4
dynamically
loaded plain bearing 3.1.2
embeddability 7.9
fatigue
resistance 7.15
flanged
bearing 3.2.3
flanged
bush 4.3
flanged
half- bearing 4.3
flanged
plain bearing assembly 3.4.8.2
flash 4.5.5
floating
bush bearing 3.4.7
free
spread 6.16
gutterway 5.3.6
half-bearing 4.1
half-bearing
backing 4.5.1
half-bearing
wall thickness 6.8
helical
groove 5.3.3
housing
face 6.20
housing
height 6.19
housing
length 6.17
housing
width 6.18
hybrid
bearing 3.3.6
hydrodynamic
bearing 3.3.4
hydrostatic
bearing 3.3.3
ID 6.1
inclination 6.15
interlayer 4.5.4
joint 6.23
joint
face 6.22
journal 4.8
journal
bearing 3.2.1
journal
bearing bore diameter 6.1
journal
bearing bore radius 6.1
journal
bearing clearance 6.4
journal
diameter 6.25
journal
pad 4.7.1
journal
thrust bearing 3.2.3
lining 4.5.2, 7.1
lining
thickness 6.9
lobed
bearing 3.4.3
locating
element 5.5
longitudinal
groove 5.3.1
minimum
bearing radial clearance of a non-circular cylindrical bearing 6.6
multilayer
bush 4.5
multilayer
half- bearing 4.5
multilayer
material 7.2
nickel
dam 4.5.4
nip 6.14
OD 6.2
oil
disc (secured) 4.10
oil
drain hole 4.21
oil
filler hole 4.20
oil
groove 5.3
oil
hole 5.1
oil
outer groove 5.2
oil
pocket 5.4
oil
ring (loose) 4.10
oil
ring slot 4.19
open
groove 5.3.4
overlay 4.5.3
pad 4.7
pad
length 6.10
pad
thickness 6.12
pad
thrust bearing 3.4.4
pad
width 6.11
pedestal
plain bearing assembly 3.4.8.1
plain
bearing 2.2
plain
bearing assembly 3.4.8
plain
bearing assembly gasket 4.15
plain
bearing bush 4.2
plain
bearing housing 4.11
plain
bearing housing block 4.12
plain
bearing housing bore 4.22
plain
bearing housing cap 4.13
plain
bearing housing cover plate 4.14
plain
bearing running-in layer 4.5.3
plain
bearing unit 2.3
plain
bearing wrapped bush 4.2.1
plain
journal bearing 3.2.1
plain
journal bearing outside diameter 6.2
plain
thrust bearing 3.2.2
porous
self-lubricating bearing 3.3.10
profile
bore bearing 3.4.2
protective
layer 4.5.5
radial
clearance of a circular cylindrical bearing 6.5
relative
clearance of a bearing 6.7
relative
wear resistance 7.13
running-in
ability 7.8
running-in
layer 4.5.3
seizure
resistance 7.11
self-aligning
bearing 3.4.9
self-contained
plain bearing assembly 3.3.11
self-lubricating
bearing 3.3.9
shaft
diameter 6.26
sintered
bearing 3.3.10
sintered
bearing material 7.5
sintered
material 7.5
solid
bush 4.4
solid-film
lubricated bearing 3.3.7
solid
half-bearing 4.4
split 6.23
squeeze
oil film bearing 3.3.5
statically
loaded plain bearing 2.1.1
stopped-off
groove 5.3.5
taper
land bearing 3.4.4
temperature
stability 7.14
tilting
pad journal bearing 3.4.5
tilting
pad thrust bearing 3.4.6
thick
wall half-bearing 4.1.2
thin
wall half-bearing 4.1.1
thrust
bearing 3.2.2
thrust
collar 4.9
thrust
collar diameter 6.27
thrust
half-washer 4.6.1
thrust
pad 4.7.2
thrust
washer 4.6
tribological
compatibility 7.6
unlubricated
bearing 3.3.8
wear
resistance 7.12
wrapped
bush 4.2.1
Àëôàâèòíûé
óêàçàòåëü òåðìèíîâ íà ôðàíöóçñêîì ÿçûêå
ailettes de
refroidissement 6.21
alesage 6.1
alesage du
logement de palier lisse 4.22
alveole 5.4
aptitude au
rodage 7.8
bague 4.2
bague a
collerette 4.3
bague de
lubrication (libre) 4.10
bague
massive 4.4
bague
multicouche 4.5
bague
roulee 4.2.1
base du
logement du palier 4.17
bassin
relais 5.3.6
bloc du
logement de palier lisse 4.12
butee
(lisse) 3.2.2
butee a
patins 3.4.4
butee a
patins oscillants 3.4.6
butee a
segments 3.4.4
butee a
segments inclines 3.4.4
butee a
segments inclines puis paralleles 3.4.4
canal de
lubrication ou rainure externe 5.2
collerette
de logement de palier 4.16
collet de
butee 4.9
compatibilite
tribologique 7.6
conformabilite 7.7
corps de
palier 4.12
couche
antifriction 4.5.2
couche
dadherence 4.5.4
couche de
materiau antifriction 4.5.2
couche de
nickel 4.5.4
couche de
protection 4.5.5
couche de
rodage 4.5.3
couche
intermediaire 4.5.4
D 6.1
DE 6.2
demi-coussinet 4.1
demi-coussinet
a collerette 4.3
demi-coussinet
multicouche 4.5
demi-coussinet
epais 4.1.2
demi-coussinet
massif 4.4
demi-coussinet
mince 4.1.1
demi-flasque
de butee 4.6.1
depassement 6.14
depincage
de l’alesage 6.13
diametre
d’alesage d’un palier lisse radial 6.1
diametre de
l’arbre 6.26
diametre du
collet de butee 6.27
diametre du
tourillon 6.25
diametre
exterieur d’un palier 6.2
diametre
exterieur d’un palier lisse radial 6.2
disque de
lubrication (fixe) 4.10
element de
positionnement 5.5
encoche de
la bague de lubrification 4.19
ensemble
avec palier lisse 2.3, 3.4.8
epaisseur
d’un segment 6.12
epaisseur
de la couche de materiau antifriction 6.9
epaisseur
de paroi de bague 6.8
epaisseur
de paroi de demi-coussinet 6.8
epaisseur
du revetement 6.9
face du
logement 6.20
flasque de
fermeture du logement de palier lisse 4.14
hauteur de
l’àõå d’un palier lisse
a chaise sur le sol 6.24
hauteur du
logement 6.19
isolation
du palier 4.18
jeu 6.4
jeu d’un
palier radial 6.4
jeu
diametral d’un palier lisse radial 6.4
jeu radial
d’un palier cylindrique circulaire 6.5
jeu radial
minimal d’un palier cylindrique non circulaire 6.6
jeu relatif
d’un palier 6.7
joint 6.23
joint de
palier lisse 4.15
largeur
d’un palier 6.3
largeur
d’un segment 6.11
largeur de
la face d’appui du palier 6.3.2
largeur du
logement 6.17
largeur
utile d’un palier 6.3.1
logement ou
support de palier lisse 4.11
longueur
d’un segment 6.10
longueur du
logement 6.18
materiau
antifriction 7.1
materiau
composite 7.4
materiau
fritte antifriction 7.5
materiau
multicouche 7.2
materiau
support 7.3
non-parallelisme
des plans de joint 6.15
ouverture a
l’etat libre 6.16
palier 2.1
palier a
alesage profile 3.4.2
palier a
bague flottante 3.4.7
palier a
collerette 3.2.3
palier a
effet amortisseur 3.3.5
palier a
lobes 3.4.3
palier a
lubrifiant solide 3.3.7
palier a
patins oscillants 3.4.5
palier
aerodynamique 3.3.2
palier
aerostatique 3.3.1
palier
auto-alignant 3.4.9
palier
autolubrifiant 3.3.9
palier
autolubrifiant en materiau poreux 3.3.10
palier cylindrique
circulaire 3.4.1
palier
cylindrique non circulaire 3.4.2
palier de
butee 3.2.2
palier
fritte 3.3.10
palier
hybride 3.3.6
palier
hydrodynamique 3.3.4
palier
hydrostatique 3.3.3
palier
lisse 2.2
palier
lisse a chaise sur le sol 3.4.8.1
palier
lisse a charge dynamique 3.1.2
palier
lisse a charge statique 3.1.1
palier
lisse a collerette 3.4.8.2
palier
lisse autonome 3.3.11
palier
lisse de butee 3.2.2
palier
lisse radial 3.2.1
palier
radial 3.2.1
palier
radial de butee 3.2.3
palier sans
lubrifiant 3.3.8
partie
superieure du logement de palier lisse 4.1.3
plan de
joint 6.22
pouvoir
d’adherence 7.10
pouvoir
d’inclusion 7.9
rainure
axiale 5.3.1
rainure circulaire 5.3.2
rainure de
lubrication 5.3
rainure
fermee 5.3.5
rainure
helicoidale 5.3.3
rainure
longitudinale 5.3.1
rainure
ouverte 5.3.4
rayon
d’alesage d’un palier lisse radial 6.1
resistance
a l’usure 7.12
resistance
a la fatigue 7.15
resistance
au grippage 7.11
resistance
relative a l’usure 7.13
revetement 4.5.2, 7.1
rondelle ou
flasque de butee 4.6
segment
axial 4.7.2
segment ou
patin 4.7
segment
radial ou partie du coussinet 4.7.1
stabilite
en temperature 7.14
support 4.5.1
support de
demi-coussinet 4.5.1
surface
d’engagement du palier 4.1.3
tourillon 4.8
trou de
lubrification 5.1
trou de
remplissage d’huile 4.20
trou de
vidange d’huile 4.21
voile 4.5.5
ÑÎÄÅÐÆÀÍÈÅ
Êëþ÷åâûå ñëîâà: ïîäøèïíèêè, ïîäøèïíèêè
ñêîëüæåíèÿ, òåðìèíû, îïðåäåëåíèÿ, êîíñòðóêöèÿ, ìàòåðèàëû, ñâîéñòâ