//
ТехЛит.ру
- крупнейшая бесплатная электронная интернет библиотека для "технически умных" людей.
WWW.TEHLIT.RU - ТЕХНИЧЕСКАЯ ЛИТЕРАТУРА

:: Алготрейдинг::


АЛГОТРЕЙДИНГ
шаг за шагом
с нуля по урокам!

Торговые роботы на PYTHON, BackTrader,
Pandas, Pine Script для TradingView. Связка с брокерами, телеграм и легкими приложениями.


Система нормативных документов в газовой промышленности

ВЕДОМСТВЕННЫЙ РУКОВОДЯЩИЙ ДОКУМЕНТ

ИНСТРУКЦИЯ
ПО ВЫПОЛНЕНИЮ ИЗМЕРЕНИЙ КОНЦЕНТРАЦИЙ
ЗАГРЯЗНЯЮЩИХ ВЕЩЕСТВ И СКОРОСТИ ГАЗОВЫХ И ВОЗДУШНЫХ
ПОТОКОВ НА СТАЦИОНАРНЫХ ГАЗОМОТОРНЫХ ДВИГАТЕЛЯХ

ВРД 39-1.13-059-2002

ОТКРЫТОЕ АКЦИОНЕРНОЕ ОБЩЕСТВО "ГАЗПРОМ"
Общество с ограниченной ответственностью
"Научно-исследовательский институт природных газов
и газовых технологий - ВНИИГАЗ"
(ООО "ВНИИГАЗ")

Общество с ограниченной ответственностью
"Информационно-рекламный центр газовой промышленности"
(ООО "ИРЦ Газпром")

Москва 2002

ПРЕДИСЛОВИЕ

РАЗРАБОТАН                      Обществом с ограниченной ответственностью «Научно-исследовательский институт природных газов и газовых технологий - ВНИИГАЗ»

СОГЛАСОВАН                    Государственным Комитетом Российской Федерации по охране окружающей среды (письмо № 03-22/22-265 от 05.07.2000 г.)

ВНЕСЕН                               Управлением науки, новой техники и экологии ОАО «Газпром»

УТВЕРЖДЕН                       Заместителем Председателя Правления ОАО «Газпром» В. В. Ремизовым. 22 августа 2000 г.

ВВЕДЕН В ДЕЙСТВИЕ      Приказом ОАО «Газпром» от 13.1 1. 2001 г. № 81 с 1 декабря 2001 г.

ВВОДИТСЯ ВПЕРВЫЕ

ИЗДАН                                 Обществом с ограниченной ответственностью «Информационно-рекламный центр газовой промышленности» (ООО «ИРЦ Газпром»)

СОДЕРЖАНИЕ

Введение. 2

1. Общие положения. 2

2. Требования к погрешности измерений. 3

3. Средства измерений. 3

4. Методы измерений. 4

5. Подготовка к выполнению измерений. 9

6. Выполнение измерений. 10

7. Обработка результатов измерений. 12

8. Требования к оформлению результатов измерений. 14

9. Требования к квалификации оператора. 14

10. Требования безопасности. 14

Приложение Форма записи результатов определения концентрации компонентов отработавших газов гмд.. 15

Нормативно-правовые ссылки. 15

Термины, определения и сокращения. 16

Литература. 16

ВВЕДЕНИЕ

Настоящая Инструкция предназначена для экспериментального определения концентраций компонентов отработавших газов, а также скорости и объемного расхода газовых и воздушных потоков на стационарных газомотодвигателях (ГМД).

"Инструкция..." регламентирует порядок проведения и основные требования к проведению измерений и предназначена для использования при проведении сертификационных экологических испытаний стационарных ГМД мощностью 0,6-7,0 МВт, эксплуатируемых в газовой и смежных отраслях промышленности, а также опытно-промышленных образцов разрабатываемых ГМД.

В экологическую характеристику ГМД входят такие основные показатели, как концентрация и массовый выброс ЗВ, определяемые по результатам измерения компонентного состава и расхода отработавших газов.

В "Инструкции..." учтены требования Государственных стандартов и других нормативных документов, действующих на настоящий момент. В "Инструкции ..." представлены сведения о средствах измерений, имеющих сертификаты и внесенных в Государственный реестр средств измерений.

"Инструкция..." может быть использована для проведения испытаний в стендовых и станционных условиях, а также проведения мониторинговых наблюдений, инвентаризации организованных выбросов и осуществления контроля за соблюдением требований по предельно допустимым выбросам (ПДВ) и техническим нормативам выбросов (ТНВ) на предприятиях газовой и смежной отраслях промышленности.

Разработчики:

к.т.н. Г.С. Акопова, Н.А. Соловьева, Н.Г. Гладкая, Е.В. Дорохова (ВНИИГАЗ)

ВРД 39-1.13-059-2002

Система нормативных документов в газовой промышленности

ВЕДОМСТВЕННЫЙ РУКОВОДЯЩИЙ ДОКУМЕНТ

ИНСТРУКЦИЯ
ПО ВЫПОЛНЕНИЮ ИЗМЕРЕНИЙ КОНЦЕНТРАЦИЙ
ЗАГРЯЗНЯЮЩИХ ВЕЩЕСТВ И СКОРОСТИ ГАЗОВЫХ И ВОЗДУШНЫХ
ПОТОКОВ НА СТАЦИОНАРНЫХ ГАЗОМОТОРНЫХ ДВИГАТЕЛЯХ

Дата введения 01.12.2001

1. ОБЩИЕ ПОЛОЖЕНИЯ

1.1. Документ разработан на основе "Временной инструкции по контролю вредных выбросов с отработавшими газами газомотокомпрессоров" [1] с учетом требований ряда государственных и отраслевых документов [2-9] и регламентирует требования к порядку проведения сертификационных экологических испытаний стационарных ГМД, инвентаризации источников выбросов ЗВ, контроля нормативов ПДВ и ТНВ.

1.2. Инструкция предназначена для определения концентрации загрязняющих веществ, скорости и объемного расхода газовых потоков (отработавших газов и воздуха) с целью контроля экологических характеристик действующих, вновь разрабатываемых и модернизированных стационарных газомотодвигателей (ГМД).

1.3. Документ распространяется на эксплуатируемые ГМД мощностью 0,6-7,0 МВт, а также опытно-промышленные образцы разрабатываемых ГМД в газовой и смежной отраслях промышленности.

Экологические характеристики газомотокомпрессоров, работающих на номинальном режиме на компрессорных станциях (КС) подземного хранения газа и магистральных газопроводов, приведены в [2].

1.4. В Документе изложены порядок подготовки, проведения и обработки результатов экологических испытаний стационарных ГМД, методы и средства измерения в стендовых и станционных условиях.

1.5. Инструкция регламентирует измерение следующих показателей экологических характеристик стационарных ГМД:

- концентрации в сухих продуктах сгорания оксида азота NO, диоксида азота NO2, оксида углерода СО, диоксида серы SO2, мг/м3; кислорода О2, % об.;

- скорости отработавших газов ГМД, м/с;

- скорости воздуха, подаваемого на горение в ГМД, м/с.

1.6. По измеренной скорости отработавших газов рассчитывается их объемный расход. По измеренной концентрации ЗВ и объемному расходу отработавших газов определяется массовый выброс ЗВ от ГМД, являющийся основной экологической характеристикой ГМД.

1.7. Если измерение скорости высокотемпературного потока отработавших газов ГМД невозможно (по причине отсутствия средств измерения, применимых для газовых сред с Т до 673 К), то измеряется скорость потока воздуха, подаваемого на горение, по которой рассчитывается объемный расход воздуха на горение.

В этом случае объемный расход отработавших газов определяется как сумма объемных расходов на горение природного газа и воздуха. Объемный расход природного газа на горение является штатным постоянно контролируемым технологическим параметром.

1.8. Документ предназначен для промышленных предприятий, природоохранных органов, научно-исследовательских и проектных организаций газовой и смежных отраслей промышленности, занимающихся проведением сертификационных испытаний ГМД, инвентаризацией источников загрязнения атмосферы и контролем за соблюдением установленных нормативов ПДВ и ТНВ.

2. ТРЕБОВАНИЯ К ПОГРЕШНОСТИ ИЗМЕРЕНИЙ

2.1. Погрешность определения параметров вредных выбросов ГМД складывается из составляющих погрешностей измерения концентраций ЗВ и параметров объемного расхода газового потока [10].

2.2. Погрешность измерений концентраций ЗВ в отработавших газах газомоторных двигателей не должна превышать пределов допускаемой погрешности используемых средств измерения (табл. 1, 2).

Погрешность измерения концентрации ЗВ в ГМД рассчитывается в соответствии с ГОСТ 8.207-76 и МИ1317/10/.

2.3. Основная погрешность средств измерения параметров объемного расхода газа, воздуха и газовых потоков (скорости, температуры, влажности, давления и др.) не должна превышать ±10 %.

Погрешность измерения параметров объемного расхода газового потока рассчитывается в соответствии с ГОСТ 17.2.4.06-90.

2.4. Норма точности. В соответствии с ГОСТ 17.2.3.01-86 и РД 52.04.59-85 основная погрешность СИ концентраций не должна превышать ± 25 %, а СИ объемного расхода не должна превышать ±10 %.

3. Средства измерений

3.1. Требования к средствам измерений. Измерения концентраций ЗВ и характеристик объемного расхода газа и воздуха должны производиться СИ, прошедшими государственную метрологическую аттестацию или государственные испытания и внесенными в Государственный реестр средств измерений. СИ должны быть поверены (аттестованы) органами метрологической службы в установленные сроки в соответствии с графиком поверки.

3.2. Отбор проб и измерения концентраций ЗВ, температуры, давления отработавшего газа, а также температуры и давления воздуха, подаваемого на горение, рекомендуется осуществлять с помощью приборов, представленных в таблицах 1, 2 [7]. Атмосферное давление (Ра) рекомендуется измерять с помощью барометра, например барометра мембранного MB 3-1-04, ГОСТ 23696-79.

3.3. Измерение скорости газовых потоков (отработавших газов или воздуха) в газоходе и воздуховоде рекомендуется осуществлять с помощью измерительных средств измерений, представленных в табл. 3. Пневмометрическая трубка типа НИИОГАЗ, предназначенная для определения скорости и расхода газопылевых потоков в соответствии с ГОСТ 17.2.04.06-90, применяется в комплекте с дифференциальным манометром цифровым, типа ДМЦ-01 или другими микроманометрами.

Рекомендуемые средства измерений могут быть заменены аналогичными с погрешностями, не превышающими погрешность рекомендуемых.

4. МЕТОДЫ ИЗМЕРЕНИЙ

4.1. Метод измерения концентраций ЗВ в отработавших газах ГМД.

4.1.1. Для измерения концентраций компонентов отработавших газов ГМД широко используются газоанализаторы с электрохимическими сенсорами, действующими по принципу процесса электролиза с регулируемым потенциалом при управляемой диффузии. Переносные компьютерные электрохимические газоанализаторы типа Testo, ECOM, IMR, Дитангаз позволяют быстро, в автоматическом режиме измерять в отработавших газах концентрацию следующих компонентов: оксида азота (NO), диоксида азота (NO2), оксида углерода (СО), кислорода О2, диоксида серы SO2, в ряде случаев H2S с высокой степенью точности (см. табл. 1, 2).

Таблица 1

Перечень отечественных СИ для определения компонентного состава отработавших газов ГМД [7]

№№ п/п

Наименование прибора, принцип действия

Фирма-изготовитель

Тип прибора

Определяемый компонент

Диапазон измерения

Пределы допускаемой погрешности

Номер Госреестра

1

2

3

4

5

6

7

8

1.

Газоанализаторы с пробоотборным зондом, электрохимические, переносные

СП Дитангаз, г. Нижний Новгород

Дитангаз IMR 3000Р

IMR 3010P

О2

0-20,9 % об.

g = ±2,5 %

13920-94

СО

0-6000 ppm

g = ±5 %

SO2

0-4000 ppm

g = ±15 %

H2S

0-200 ppm

g = ±15 %

NO

0-2000 ppm

g = ±15 %

NO2

0-100 ppm

g = ±15 %

Тем-pa воздуха, tB

-20° ... +60 °С

g = ±2 %

Тем-pa газа

0 ... 1500 °С

g = ±2 %

2.

Газоанализатор для контроля выбросов топливо-использующих установок

СП Дитангаз, г. Нижний Новгород

Дитангаз-16 (ДАГ-16)

O2

0-20,9 % об.

g = ±5 %

15306-96

NO

0-100 ppm

D = ±10 ppm

100-1000 ppm

d = ±10 %

100-2000 ppm

d = ±10 %

NO2

0-100 ppm

D = ±15 ppm

SO2

0-200 ppm

D = ±20 ppm

200-2000 ppm

d = ±10 %

200-4000 ppm

d = ±10 %

CO

0-200 ppm

 

200-2000 ppm

D = ± 10 ppm

200-6000 ppm

d = ±5 %

H2S

0-100 ppm

d = ±5 %

0-200 ppm

D = ±15 ppm

 

D = ±30 ppm

CО2

0-21 % об.

d = ±5 % (по расчету)

Тем-pa воздуха, tB

-20° ... +60 °С

g = ±2 %

Тем-pa газа

0 ... +1500 °С

g = ±2 %

3.

Газоанализаторы электрохимические стационарные

АО "Полигаз Плюс", Москва

Газотест

СО

0-300 ppm

D = ±30 ppm

13810-94

300-1000 ppm

d = ±20 %

SO2

0-400 ppm

D = ±40 ppm

400-1000 ppm

d = ±10 %

О2

0-5 % об.

D = ±0,2 %

5-21 % об.

D = ±0,4 %

NO

0-250 ppm

D = ±25 ppm

250-400 ppm

d = ±10 %

NO2

0-30 ppm

D = ±6 ppm

30-150 ppm

d = ±10 %

4.

Газоанализаторы оксидов азота, фотоколометрические переносные

МНВП "Техноприбор" Раменское, Моск. обл.

Энометр

NO

0,1-2,0 г/м3

d = ±13 %

14994-96

5.

Экспресс-анализаторы дымовых газов

ВНИИОСуголь г. Пермь

ЭАДГ

SО2

0,005-0,06 г/м3

g = ±25 %

14746-95

0,05-0,7 г/м3

g = ±25 %

0,5-10,0 г/м3

g = ±25 %

NO + NO2

0,1-1,0 г/м3

D = ±(0,02 + 0,23СХ) г/м3

CO

0,1-2,5 г/м3

D = ±(0,03 + 0,20СХ) г/м3

6.

Газоанализаторы с устройством пробоподготовки, инфракрасные недисперсионные стационарные

ПО "Аналит-прибор", г. Смоленск

ГИАМ 10-М2

CO

0-5; 0-15 г/м3

g = ±8 %

13591-93

NO

0-1; 0-2 г/м3

g = ±10 %

SO2

0-1; 0-2 г/м3 или

g = ±8 %

0-2; 0-5 г/м3

g = ±8 %

0-5; 0-10 г/м3 или

g = ±8 %

0-10; 0-20 г/м3

g = ±8 %

0-30; 0-60 г/м3

g = ±8 %

7.

Газоанализаторы многокомпонентные для контроля дымовых газов ТЭЦ

НИИ "Автоматика" г. Москва

МАГ-01

SО2

0,005-0,75 % об.

d = ±15 %

16448-97

0,005-0,400 % об.

 

0,005-0,220 % об.

 

NO

0,005-0,14 % об.

 

0,005-0,75 % об.

d = ±15 %

0,005-0,400 % об.

 

0,005-0,220 % об

 

0,005-0,14 % об.

 

NО2

0,005-0,75 % об.

индикатор

D - предел допускаемой основной абсолютной погрешности

d - предел допускаемой основной относительной погрешности

g - предел допускаемой основной приведенной погрешности

Таблица 2

Перечень зарубежных СИ, рекомендуемых для определения содержания ЗВ в отработавших газах ГМД [7]

№№ п/п

Наименование прибора, принцип действия

Фирма-изготовитель

Тип прибора

Определяемый компонент

Диапазон измерения

Пределы допускаемой погрешности

Номер Госреестра

 

1

2

3

4

5

6

7

8

 

1.

Газоанализаторы в комплексе с устройством пробоподготовки Testo-339, электрохимические переносные

"Testo-Term" Германия

Testo 33 + 339

О2

0-21 % об.

g = ±2,5 %

12639-92

СО

0-2000 ppm

g = ±5 %

NО2

0-100 ppm

g = ±15 %

NO

0-2000 ppm

g = ±15 %

SO2

0-100 ppm

g = ±15 %

2.

Газоанализаторы электрохимические переносные

"Testo Term" Германия

Testo 340

О2

0-21 % об.

g = ±2,5 %

13430-92

 

СО

0,0-0,4 % об.

D = ±0,002 %

 

0,04-2,0 % об.

d = ±5 %

 

NO

0,0-0,04 % об.

D = ±0,004 %

 

 

d = ±10 %

 

NO2

0,0-0,05 % об.

g = ±15 %

 

SO2

0,0-0,04 % об.

D = ±0,004 %

 

0,04-0,5 % об.

d = ±10 %

 

Тем-pa газа, tr

-40 ... +350 °С

g = ±2,5 %

 

Скорость потока, v

0,0 ... 30,0 м/с

g = ±2,5 %

 

Давление в точке отбора, Р

-10 ... +10 гПа

g = ±2,5 %

Относит, влажность

0-100 %

g = ±2,5 %

 

Тем-pa воздуха, tB

-20 ... +140 °С

 

 

3.

Приборы ЕСОМ, электрохимические переносные

"ЕСОМ" Германия

Есом-SL

O2

0-20,9 % об.

g = ±2,5 %

13395-92

 

Есом-SG-plus

CO

0-2000 ppm

g = ±5 %

 

Есом-S-plus

NO

0-2000 ppm

g = ±15 %

 

Есом-I-plus

SО2

0-2000 ppm

g = ±15 %

 

 

Тем-pa газа, t

0-1500 °С

g = ±2 %

 

4.

Газоанализаторы Есом-GAMME с блоком пробоподготовки, переносные

"ЕСОМ" Германия

Есом-S-plus

О2

0-21 % об.

D = ±0,5 %

14671-95

 

Есом-I-plus

CO

0-6 % об.

D = ±0,05 %

 

1-4 % об.

d = ±5 %

 

0-1000 ppm

D = ±50 ppm

 

1000-4000 ppm

d = ±5 %

 

NO

0-500 ppm

D = ±50 ppm

 

500-4000 ppm

d = ±10 %

 

NO2

0-500 ppm

D = ±75 ppm

 

SO2

0-500 ppm

D = ±50 ppm

 

500-5000 ppm

d = ±10 %

 

Горючие газы

0-2 % об.

D = ±0,2 %

 

 

2-6 % об.

d = ±10 %

 

Тем-pa газа, tr

0-1000 °С

D = ±5 %

 

Тем-pa воздуха, tB

-20 ... +120 °С

D = ±2 %

 

Давление в точке отбора пробы, Р

0 ... 40 гПа

D = ±1,0 гПа

 

5.

Газоанализаторы переносные

"ЕСОМ", Германия

Есом-KL

О2

0-21 % об.

D = ±0,5 %

14669-95

 

СО

0-1 % об.

D = ±0,05 %

 

1-4% об.

d = ±5 %

 

0-1000 ppm

D = ±50 ppm

 

1000-4000 ppm

d = ±5 %

 

0-500 ppm

D = ±50 ppm

 

500-4000 ppm

d = ±10 %

 

0-500 ppm

D = ±75 ppm

 

NO2

0-500 ppm

D = ±50 ppm

 

SO2

500-5000 ppm

d = ±10 %

 

Тем-pa пробы, tn

0-1000 °C

D = ±5 %

 

Тем-pa воздуха, tB

-20 ... +120 °C

D = ±2 %

 

Давление в точке отбора пробы, Р

0 ... 40 гПа

D = ±1,0 гПа

 

6.

Приборы IMR в комплекте с зондом и пробоотборной системой IMR500, электрохимические, переносные

"IMR", Германия

IMR-500

IMR-1200P

IMR-1200PG

IMR-2000R

 

IMR-8000P

О2

0-20,9 % об.

g = ±2,5 %

13281-92

 

СО

0-6000 ppm

g = ±5 %

 

SO2

0-4000 ppm

g = ±15 %

 

H2S

0-200 ppm

g = ±15 %

 

NO

0-2000 ppm

g = ±15 %

 

NO2

0-100 ppm

g = ±15 %

 

Тем-pa воздуха, tB

-20 °C ... +60 °C

g = ±2 %

 

Тем-pa газа, tr

0 ... 1500 °C

g = ±2 %

 

7.

Комплекты газоаналитические MSI

"Drager-werk AG" Германия

MSI 150 Pro

О2

0-5 % об.

g = ±5 %

15026-95

 

5-21 % об.

d = ±5 %

 

СО

0-400 ppm

g = ±10 %

 

400-4000 ppm

d = ±10 %

 

NO

0-100 ppm

g = ±15 %

 

100-1000 ppm

d = ±15 %

 

СО (Pro-1)

2000-9999 ppm

d = ±10 %

 

1-2% об

d = ±10 %

 

NO2 (Pro-2)

0-100 ppm

g = ±15 %

 

100-500 ppm

d = ±15%

 

SO2 (Pro-3)

0-200 ppm

g = ±15 %

 

200-2000 ppm

d = ±15 %

 

Тем-pa окр. среды, tB

0-50 °С

D = ±2 °С

 

0-100 °С

 

 

Тем-pa газа, tr

0-1200 °С

D = ±3 °С

 

Давление (разрежение), Р

-10 ... +5 гПа

D = ±0,5 гПа

 

-50 ... +75 гПа

 

8.

Комплект газоаналитический для контроля промышленных выбросов

"Messgeratefur Rauchgase und Umwett-Schhutz GmbH (MRU/Becker messtechnik (BM)" Германия

MRU MRU 95/3CO FIY-GASE-SAE 19; PAS 6000

O2

0,5 % об.

g = ±5 %

15334-96

 

5-21 % об.

d = ±5 %

 

CO

0-400 ppm

g = ±10 %

 

400-800 ppm

d = ±10 %

 

SO2

0-200 ppm

g = ±15 %

 

200-4000 ppm

d = ±15 %

 

NO

0-100 ppm

g = ±15 %

 

100-1000 ppm

d = ±15 %

 

1000-4000 ppm

d = ±15 %

 

NO2

0-20 ppm

g = ±15 %

 

20-100 ppm

d = ±15 %

 

20-200 ppm

d = ±15 %

 

NOx

0-100 ppm

g = ±15 %

 

ppm

d = ±15 %

 

H2S

0-100 ppm

g = ±15 %

 

100-200 ppm

d = ±15 %

 

Тем-pa окр. среды, tB

0-50 °С

D = ±2 °С

 

0-100 °С

D = ±2 °С

 

Тем-pa газа, tr

0-850 °С

D = ±3 °С

 

0-1600 °С

D = ±3 °С

 

Давление (разрежение), Р

-10 ... +10 гПа

D = ±0,5 гПа

 

-50 ... +50 гПа

D = ±0,5 гПа

 

9.

Анализаторы для контроля промышленных выбросов переносные, электрохимические

"РРМ SYSTEMS" Финляндия

Модификация PPM S-960

О2

0-5 % об.

g = ±4%

16426-97

 

5-25 % об.

d = ±4%

 

СО

0-500 ppm

g = ±10 %

 

500-2000 ppm

d = ±10%

 

SO2

0-500 ppm

g = ±15 %

 

500-2000 ppm

d = ±15 %

 

NO

0-500 ppm

g = ±15 %

 

500-2000 ppm

d = ±15 %

 

Тем-ра газового потока, t

0-100 °С

g = ±2

 

100-999 °С

d = ±2

 

Скорость газового потока, v

0,3-30 м/с

d = ±15 %

D - предел допускаемой основной абсолютной погрешности

d - предел допускаемой основной относительной погрешности

g - предел допускаемой основной приведенной погрешности

Таблица 3

Перечень СИ для измерения скоростей газового и воздушного потоков

№№ п/п

Тип, марка СИ. Страна (фирма-изготовитель)

Измеряемый параметр. Диапазон измерения

Погрешность

Вес

габариты

Измерение скорости газа

1.

Пневмометрическая трубка конструкции НИИОГАЗ, ГОСТ 17.2.04.06-90. Россия (ЗАО НПО "ЭКО-ИНТЕХ")

Скорость
4
¸30 м/с

±10

Трубки из нержавеющей стали внешним диаметром 6, 8, 10 мм

2.

Дифференциальный манометр цифровой типа ДМЦ-01, ГОСТ 17.2.04.06-90. Россия (ЗАО НПО "ЭКО-ИНТЕХ")

Перепад давления
0
¸1,4 кПа

Основная приведенная не более 1 %

0,7 кг

170*90*30 мм

3.

Трубка Пито-Прандтля в комплекте с зондом для измерения давления. Testo-350, 400, 452. Германия (Testo-term)

Скорость
40
¸100 м/с

Температура
Т
max = 360 °С

 

0,25 кг

197*55*45 мм

Измерение скорости воздуха

4.

Термоанемометр с раздельным телескопическим зондом, Testo 425. Германия (Testo-term)

Скорость

 

0,25

197*55*95 мм

0¸2 м/с

+0,015 % +5 %

2¸20 м/с

±0,5 % ±5 %

Температура

 

-20 ... +70 °С

±0,5¸0,7 °С

5.

Крыльчатый анемометр, Testo 435. Германия (Testo-term)

Скорость

 

 

0,6¸40 м/с

±0,2 м/с ±3 %

-

Температура

 

-50 ... + 150 °С

±0,5 °С

6.

Портативный измеритель температуры, скорости и влажности воздуха, а также точки росы; Testo 450 Германия (Testo-term):

- зонд для определения скорости

- зонд для определения скорости

- зонд для определения скорости

Скорость

 

0,25 кг

197*55*95 мм

0,4¸20 м/с
(
tmax = 360 °C)

±0,2 м/с ±3 %

0,4¸40 м/с
(
tmax = 60 °C)

±0,2 м/с ±3 %

0,4-60 м/с
(
tmax = 140 °C)

±0,3 м/с ±5 %

4.1.2. Режим измерения включает отбор проб газа с помощью автоматического насоса, калибровку датчиков и измерение концентрации компонентов газа, а также температуры и давления (разряжения) газа в точке отбора, кроме того температуры и влажности атмосферного воздуха с помощью дополнительных устройств в ранее названных типах газоанализаторов.

4.1.3. Принцип измерения температуры газа - термоэлемент; температуры воздуха и давления (разряжения) - полупроводниковый сенсор.

4.2. Метод измерения скорости газового и воздушного потоков.

4.2.1. Пневмометрические трубки типа "НИИОГАЗ" или Пито позволяют определить скорость и расход отработавших газов стационарных ГМД методом измерения динамического давления газа с помощью микроманометров типа ММН 2400 (5)-1,0 по ГОСТ 11151, класса точности 1,0 в соответствии с ГОСТ 17.2.4.06-90, ГОСТ 17.2.4.07-90.

В частности, для измерения динамического давления пневмометрических приемников полного и статического давления в диапазоне от 0 до 1,4 кПа может применяться дифференциальный манометр цифровой типа ДМЦ-01.

4.2.2. Трубка Пито в составе измерителей типа Testo серий 300, 400, 500 применяется для определения скорости газа в автоматическом режиме.

4.2.3. Скорость воздуха в воздуховоде стационарного ГМД определяется с помощью анемометров (термоанемометров и крыльчатых анемометров) в составе зондов приборов типа Testo 425, Testo 435, Testo 450 и др. Диапазон измеряемых скоростей 0¸60 м/с (см. табл. 3).

5. ПОДГОТОВКА К ВЫПОЛНЕНИЮ ИЗМЕРЕНИЙ

5.1. Измерения концентрации ЗВ, температуры, давления и скорости газовых и воздушных потоков проводятся в специально оборудованных точках газохода и воздуховода ГМД. Измерения проводят при установившемся движении газового потока.

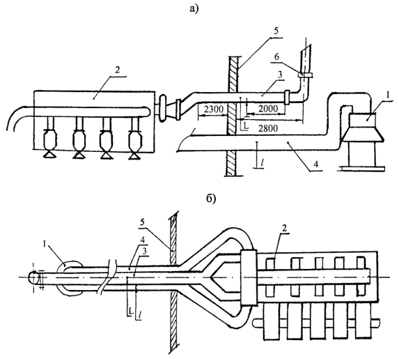
5.2. Измерительное сечение А-А в соответствии с ГОСТ 17.2.4.06-90 выбирается на прямом участке газохода (воздуховода) на достаточном расстоянии от мест, где изменяется направление потока газа (колена, отводы и т.д.) Отрезок прямого участка газохода (воздуховода) до измерительного сечения должен быть длиннее отрезка за измерительным сечением (рис. 1). Отношение длин отрезков газохода до измерительного сечения и за ним устанавливается в соотношении 3:1; 2:1. Минимальная длина прямого участка газохода (L) должна составлять не менее 4¸5 эквивалентных диаметров Dэ.

В соответствии ГОСТ 17.2.4.06-90 эквивалентный диаметр Дэ газохода круглого сечения равен его внутреннему диаметру, а для газохода прямоугольного сечения его вычисляют по формуле:

, где А и В - внутренние размеры газохода в м.

Рис. 1

L - длина прямого участка газохода, не менее 4¸5 Dэ; А-А - измерительное сечение; Lz - длина прямого участка газохода за измерительным сечением, кратная Dэ; Dэ - эквивалентный диаметр газохода

Рис. 2. Схема расположения точек отбора проб отработавших газов, замера скоростей потоков воздуха и отработавших газов для различных типов газомотокомпрессоров (ГМК):

а) МК 8, МК 8М (вид сбоку); б) 10 ГКН, 10 ГКНАМ (вид сверху)

1 - воздухозаборное устройство (ВЗУ); 2 - ГМК; 3 - выхлопной газоход; 4 - воздуховод; 5 - стена цеха; 6 - шумоглушитель; L - точка замера на газоходе; l - точка замера на воздуховоде

Если условие минимальной длины не может быть обеспечено, то следует увеличить количество точек измерения в два раза.

5.3. Входные отверстия для измерений внутри газохода в измерительном сечении должны быть выполнены таким образом, чтобы не было утечки газа или подсоса воздуха.

5.4. При параметрах измерительной линии: Dэ 200¸900 мм и L = 1,2 + 3,0 м, отношении L/Dэ = 2,5 и выше, количество точек измерения n в круглом сечении А-А равно 1¸2 (ГОСТ 17.2.4.06-90). Расстояние от внутренней стенки до точки измерения, если n = 1 должно составлять не менее 1/2Dэ.

Для примера рекомендуемое в соответствии с п. 5.3. расположение точек замера для типоразмеров ГМК МК 8, МК 8М, 10 ГКН, 10 ГКНАМ представлено на рис. 2.

5.5. В случае невозможности соблюдения условия расположения точек измерения на достаточном расстоянии от мест изменения сечения, поворотов газоходов, арматуры, вентиляторов и т.д. необходимо особо тщательно снимать поле показателей (скоростей, температур, концентраций), увеличив число точек и замеров при обязательном получении близких по значению результатов.

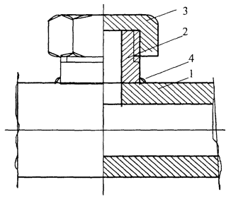
5.6. При отборе проб с помощью газозаборного зонда газоанализаторов типа Testo 340 точки отбора оборудуются следующим образом: снимаются обшивка и изоляция; проваривается отверстие, на которое наваривается патрубок, на наружную стенку патрубка наносится резьба для накидной гайки, закрывающей внутреннее отверстие. Аналогично оборудуются точки для замера скорости воздуха анемометрами приборов Testo 425, Testo 435 и аналогичных. Внутренний диаметр точек замера зависит от диаметра вводимого в газоход (или воздуховод) зонда прибора. Схема оборудования точки замера приведена на рис 3.

Рис. 3. Схема оборудования точки замера:

1 - газоход, 2 - патрубок с резьбой на наружной стенке, 3 - накидная гайка (заглушка), 4 - место сварки патрубка со стенкой газохода (воздуховода)

6. ВЫПОЛНЕНИЕ ИЗМЕРЕНИЙ

6.1. Регламент проведения измерений определяется программой испытаний ГМД в соответствии с требованиями научно-технической документации [3, 4-6].

6.2. В станционных условиях измерения проводятся на рабочих режимах агрегата. В стендовых условиях измерения проводятся по программам научно-исследовательских или приемно-сдаточных межведомственных испытаний, предусматривающих измерения параметров на нескольких режимах (не менее трех), включая номинальный в диапазоне нагрузок Ne от 50 до 100 %. Рекомендуемые уровни нагрузок Ne при испытаниях - 25, 50, 70 и 100 %.

6.3. Перед каждым отбором пробы отработавших газов проводится тщательная проверка и регулировка двигателя, в результате которой расхождение температур по цилиндрам не должно превышать: при Ne ³ 70 % - 25°, при 50 £ Ne ³ 70-40° [10-12].

6.4. Концентрации ЗВ, температура, скорость газовых потоков (отработавших газов или воздуха) измеряются в точке замера, оборудованной в соответствии с пп. 5.2-5.4.

6.5. Отбор проб и измерение состава отработавших газов ГМД.

6.5.1. Отбор проб отработавших газов ГМД с помощью газозаборных зондов газоанализаторов типа Testo-339, Testo-340, ДАГ-16 и аналогичных (см. табл. 1, 2) осуществляется автоматически с помощью насоса, встроенного в анализатор.

6.5.2. Измерения проводятся при установившихся (стабильных) режимах работы ГМД, что оценивается по температуре отработавших газов отдельных цилиндров двигателя. При необходимости в качестве удлинителя к газозаборному зонду используется трубка из стали 1´18н9(10)Т и переходные (соединительные) тефлоновые шланги. Все соединения производятся в стык и герметизируются тефлоновыми шлангами на вакуумной смазке.

Измерение концентраций оксида азота NO, диоксида азота NО2, оксида углерода СО, кислорода О2, диоксида серы SO2 осуществляется непосредственно с помощью электрохимических сенсоров ранее названных автоматических газоанализаторов.

Концентрация диоксида углерода СО2 рассчитывается автоматически по измеренной концентрации О2.

Обязательным при выполнении измерений является регистрация температуры и давления отработавших газов в точке отбора пробы (используется для расчета скорости газа при определении плотности газа в рабочих условиях, см. п. 6.6.2.).

6.5.3. Надежная работа вышеназванных газоанализаторов при проведении испытаний ГМД обеспечивается выполнением ряда требований:

=> не рекомендуется непрерывное использование газоанализатора типа Testo-340 в течение суток (24 ч) и ежедневно в течение 30 дней;

=> допускается работа анализатора в условиях превышения пределов концентраций, установленных для датчиков индивидуально на каждый компонент, в течение 1-2 мин.

Пределы концентраций SO2 - 2000 ppm, NO - 2000 ppm, NO2 - 100 ppm.

Работа анализатора более 1-2 мин с концентрациями, превышающими эти пределы, может привести к быстрому расходованию ресурсов газовых ячеек, т.е. выходу прибора из строя, поэтому осуществляется тщательная продувка всей системы газоанализатора чистым воздухом по окончании фиксаций показаний прибора в порядке, приведенном ниже.

6.5.4. После извлечения зонда из газохода, не выключая анализатора, поместить зонд в поток чистого воздуха и продуть анализатор до полной очистки ячеек, т.е. до момента, когда на табло измерений по всем ингредиентам будет фиксироваться нулевое значение.

6.6. Измерение скорости газа.

6.6.1. Измерение скорости газа в газоходе ГМД осуществляется с помощью пневмометрических трубок типа НИИОГАЗ и Пито-Прандтля и микроманометров (ГОСТ 17.2.4.06-90, ГОСТ 17.2.4.07-90). Проводится измерение динамического напора газа (Рд), представляющего собой разность между полным Рп и статическим давлением газа, Рст, Па

Рд = Рп - Рст                                                                (1)

6.6.2. Последующий расчет скорости газа v (м/с) осуществляют по формуле

                                                               (2)

где r - плотность газа при рабочих условиях, кг/м3, рассчитывается в соответствии с п. 7.2.3 настоящей инструкции.

Динамическое давление газа Рд вычисляют по формуле

Рд = рbкт                                                                   (3)

где р - отсчет по шкале микроманометра, Па;

b - коэффициент, зависящий от угла наклона измерительной трубки микроманометра (приводится в паспортных данных используемых средства измерения);

* кт - коэффициент напорной трубки, определяемый при ее поверке.

Для некоторых трубок конструкции НИИОГАЗ кт равен 0,5-0,55, для трубок Пито-Прандтля 0,9-1,0.

6.6.3. В соответствии с ГОСТ 17.2.4.06-90 собирают измерительную схему.

При выполнении измерений одну напорную трубку устанавливают в контрольной точке на расстоянии 30-100 мм от оси газохода. Рабочую напорную трубку перемещают по линии измерения, последовательно устанавливая в точках измерения, при этом наконечники напорных трубок должны быть направлены навстречу газовому потоку (±5°).

Измерения давления обеими трубками производят одновременно, при этом необходимо использовать пневмометрические трубки с одинаковым коэффициентом кт и микроманометры одного типа.

6.6.4. В каждой точке необходимо выполнить не менее трех измерений динамического давления, по результатам измерений определяется среднее динамическое давление для каждой точки измерения (см. ГОСТ 17.2.4.06-90).

Одновременно измеряют температуру газа и разряжение (давление) в газоходе, а также атмосферное давление воздуха.

6.7. Измерение скорости воздуха

6.7.1. Измерение скорости потока воздуха, поступающего в ГМД осуществляется с помощью анемометров (термоанемометров, крыльчатых анемометров в составе зондов Testo 425, Testo 435, Testo 450, Testo 400), позволяющих определять скорость воздуха в воздуховоде (w) в диапазонах 0¸2, 0¸20, 0¸40, 0,4¸60 м/с при температуре -20¸+60¸140 °С (см. табл. 3).

В каждой точке необходимо выполнить не менее трех измерений скорости потока воздуха, результаты измерений усредняются по времени и числу замеров.

6.7.2. При отсутствии возможности непосредственного измерения скорости воздуха в воздуховоде для определения расхода воздуха, поступающего в ГМД, используются результаты измерений технологических параметров штатным оборудованием [1].

6.8. Определение объемного расхода газа и воздуха

6.8.1. Объемный расход газа v (воздуха v’) (м3/с), определяемый посредством средней скорости газа v (воздуха w) вычисляют по формуле:

v = ,                                                            (4)

v’ =                                                           (5)

где S(S’) - площадь измерительного сечения газохода (воздуховода) соответственно, м2.

6.8.2. Площадь измерительного сечения газохода (воздуховода) определяют в соответствии с ГОСТ 17.2.4.06-90.

6.8.2.1. Измеряют внутренние размеры газохода микрометрическим нутромером. При наличии внутри газохода поверхностных слоев в качестве расчетного сечения принимают действительно свободное сечение.

6.8.2.2. При невозможности непосредственного измерения внутренних размеров допускается определять размеры измерительного сечения измерением наружных размеров газохода и толщины его стенки. Измерения окружности трубы необходимо проводить измерительной рулеткой. Толщину стенки измеряют штангенциркулем.

6.8.2.3. Для газохода круглого сечения диаметр измеряют не менее четырех раз с приблизительно равными углами между измерительными диаметрами. Если разность результатов измерений более 1 %, число измерений удваивают. Диаметр газохода (воздуховода) определяют как среднеарифметическое всех измерений.

7. ОБРАБОТКА РЕЗУЛЬТАТОВ ИЗМЕРЕНИЙ

7.1. В целях унификации данных о концентрациях загрязняющих веществ отработавших газов ГМД в качестве основной единицы измеряемых концентраций принимается мг/м3 (при нормальных условиях: температура 273 К, давление 0,1013 МПа), приведенный к условной концентрации кислорода 15 % об. в сухих отработавших газах Сi15.

7.1.1. Газоанализаторы типа Testo, Ecom, Дитан-газ, IMR измеряют концентрацию компонентов газа Сi0 в следующих единицах:

- оксид азота NO, диоксид азота, оксид углерода, диоксид серы - ppm (объемные доли на миллион);

- кислород O2 - % об.

Соотношения с другими единицами следующие:

1 ppm = 1*10-4 % об.

· диоксид азота NO2 1 ppm = 2,054 мг/м3

· оксид азота NO 1 ppm = 1,34 мг/м3

· оксид углерода СО 1 ppm = 1,25 мг/м3

· диоксид серы SO2 1 ppm = 2,9 мг/м3

7.1.2. Приведенная концентрация ЗВ, Сi15 (к условной концентрации кислорода 15 % в отработавших газах) определяется по формуле:

Сi15 = Сi0 *6/(21 - С02)                                                       (6)

где Со2 - измеренная концентрация кислорода, % об.

Сi0 - измеренная концентрация ЗВ, мг/м3 (при нормальных условиях).

7.2. Среднюю скорость газового потока  (м/с) вычисляют по формуле:

 =                                                                (7)

где a - коэффициент поля скоростей в измерительном сечении;

РДК - динамическое давление в контрольной точке измерительного сечения, Па;

r - плотность газовой смеси при рабочих условиях, кг/м3.

7.2.1. Коэффициент поля скоростей (а) вычисляют по формуле

                                                               (8)

где РДi - динамическое давление газа в i-ой точке линии измерения, определяется по формуле (3).

7.2.2. Среднюю скорость воздушного потока w (м/с) вычисляют по формуле:

 = a w                                                               (9)

коэффициент a может быть определен по формуле (5), [2]

                                                          (10)

где wk - скорость воздушного потока в контрольной точке измерительного сечения, м/с;

wi - скорость воздушного потока в i-ой точке линии измерения, м/с.

7.2.3. Плотность газа при рабочих условиях вычисляют по формуле:

r = r0×2,695                                                      (11)

где r0 - плотность газа при нормальных условиях, кг/м3;

t - температура газа в газоходе, °С;

Ра - атмосферное давление, кПа;

Рр - давление (разряжение) в газоходе, кПа.

7.2.4. Плотность газа, состоящего из j компонентов при нормальных условиях, может быть вычислена по данным химической лаборатории по формуле:

                                                            (12)

где mj - значение молекулярной массы, г/моль j-го компонента газовой смеси;

qj - объемная доля jo компонента газовой смеси, % об.;

22,4 - мольный объем при нормальных условиях, м3/кмоль (л/моль).

Если известны плотности компонентов газовой смеси при нормальных условиях r0i, то плотность газовой смеси вычисляют по формуле:

                                                             (13)

Для приближенных расчетов плотность отработавших газов принимают равной плотности воздуха (r0в = 1,29 кг/м3).

7.3. Объемный расход газа (воздуха) может быть приведен к нормальным условиям по формулам:

                                                         (14)

                                                         (15)

где tГ, tB - температура газа (воздуха) в газоходе (воздуховоде), °С;

РГ, (РВ) - давление газа (разряжение воздуха) в газоходе (воздуховоде), кПа;

Ра - барометрическое давление, кПа.

8. ТРЕБОВАНИЯ К ОФОРМЛЕНИЮ РЕЗУЛЬТАТОВ ИЗМЕРЕНИЙ

Результаты измерений оформляют в соответствии с МИ 1317-86. Формы записи результатов определения концентраций компонентов отработавших газов ГМД, скорости газа и воздуха приведены в приложении.

По результатам исследований составляется протокол, в котором указывается дата выполнения измерений, кем выполнены измерения, кратко излагается объем выполненных работ. К протоколу прилагаются: перечень использованных средств измерений с указанием их заводских номеров, схема расположения точки отбора проб, таблица с результатами измерений и их обработки.

9. ТРЕБОВАНИЯ К КВАЛИФИКАЦИИ ОПЕРАТОРА

9.1. К выполнению измерений и обработке результатов измерений концентраций исследуемых компонентов в отходящих газах ГМД допускается персонал, прошедший специальную подготовку по работе со средствами измерения, перечисленными в табл. 1-3.

9.2. К выполнению измерений концентраций ЗВ в отходящих газах ГМД, а также измерению и определению скорости и расхода газа в газоходе (воздуховоде) и обработке полученных результатов допускается персонал, прошедший специальную подготовку по работе с приборами и нормативно-технической документацией настоящей методики. Квалификация персонала определяется методом тестирования.

10. ТРЕБОВАНИЯ БЕЗОПАСНОСТИ

При проведении измерений на стационарных ГМД необходимо соблюдать требования безопасности, изложенные в методических указаниях по охране труда [15], а также в отраслевых и межотраслевых инструкциях, применяемых на обследуемом предприятии. При этом работниками должны выполняться требования пожарной безопасности по ГОСТ 12.1.004-91, электробезопасности по ГОСТ 12.1.019-79, взрывобезопасности по ГОСТ 12.1.010-76.

Оборудование и организация рабочего места должны соответствовать требованиям безопасности по ГОСТ 12.2.061-81 и ОСТ 51140-86.

К требованию испытаний на ГМД допускаются лица не моложе 18 лет, прошедшие предварительный медицинский осмотр, обучение и инструктаж по безопасности труда.

Работы на высоте необходимо проводить в соответствии с требованиями ГОСТ 12.2.003-91. Запрещается проводить работы на высоте, если площадка не имеет ограждений или они повреждены.

Запрещается проводить работы при неблагоприятных метеорологических условиях, представляющих опасность для жизни и здоровья работников (во время грозы или ее приближении, при сильном морозе, ветра, дожде, снегопаде, гололеде).

При проведении работ на ГМД работники должны быть обеспечены спецодеждой, необходимым оборудованием и средствами индивидуальной защиты, в частности средствами защиты от шума в соответствии с ГОСТ 12.1.029-80.

Приложение

ФОРМА ЗАПИСИ РЕЗУЛЬТАТОВ ОПРЕДЕЛЕНИЯ КОНЦЕНТРАЦИИ КОМПОНЕНТОВ ОТРАБОТАВШИХ ГАЗОВ ГМД

Предприятие _____________________________________________________________

Дата измерения ___________________________________________________________

Место измерения _________________________________________________________

Средства измерения _______________________________________________________

Заводской № СИ __________________________________________________________

Температура газа в газоходе, °С _____________________________________________

Разряжение (давление) в газоходе Па (мм. вод. ст.) _____________________________

Атмосферное давление воздуха, Па (мм. рт. ст.) _______________________________

Плотность газа при рабочих условиях, кг/м3 __________________________________

Время измерения

Номер измерения

Показания прибора, ppm (% об.)

Концентрация компонента, мг/м (при нормальных условиях)

Концентрация компонента, приведенная к условной концентрации кислорода 15 %, мг/м3 (при нормальных условиях)

Погрешность измерений, %

1

2

3

4

5

 

i-e точки измерения

 

 

 

Измерения проводил ______________________

(Ф.И.О., подпись)

НОРМАТИВНО-ПРАВОВЫЕ ССЫЛКИ

В настоящем документе использованы ссылки на следующие нормативно-правовые документы:

· Федеральный закон об охране атмосферного воздуха от 04.05.1999 г.

· ГОСТ 8.207-76. ГСИ. Прямые измерения с многократными наблюдениями. Методы обработки результатов наблюдений. Основные положения.

· ГОСТ 12.1.010-76 ССБТ. Взрывобезопасность. Общие требования.

· ГОСТ 17.2.1.04-77 (с изм. 1). Охрана природы. Атмосфера. Источники и метеорологические факторы загрязнения, промышленные выбросы. Термины и определения.

· ГОСТ 10448-80. Дизели судовые, тепловозные и промышленные. Приемка. Методы испытаний.

· ГОСТ 12.1.029-80 ССБТ. Средства и методы защиты от шума.

· ГОСТ 12.2.061-81 ССБТ. Оборудование производственное. Общие требования безопасности к рабочим местам.

· ГОСТ 24585-81. Дизели судовые, тепловозные и промышленные. Выбросы вредных веществ с отработавшими газами. Нормы и методы определения.

· ГОСТ 17.2.1.03-84. Охрана природы. Атмосфера. Термины и определения контроля загрязнения.

· ГОСТ 17.2.2.05-97. Охрана природы. Атмосфера. Нормы и методы измерения выбросов вредных веществ с отработавшими газами тракторных и комбайновых дизелей.

· ОСТ 51140-86 ССБТ. Организация и проведение контроля воздуха рабочей зоны на объектах газовой промышленности. Общие требования безопасности.

· Предельно допустимые концентрации (ПДК) загрязняющих веществ в атмосферном воздухе населенных мест. ГН 2.1.6.695-98.

· Ориентировочные безопасные уровни воздействия (ОБУВ) загрязняющих веществ в атмосферном воздухе населенных мест. ГН 2.1.6.696-98.

· ГОСТ 17.2.4.06-90. Охрана природы. Атмосфера. Методы определения скорости и расхода газа газопылевых потоков, отходящих от стационарных источников загрязнения.

· ГОСТ 17.2.4.07-90. Охрана природы. Атмосфера. Методы определения давления и температуры газопылевых потоков, отходящих от стационарных источников загрязнения.

· ГОСТ 12.1.004-91. Пожарная безопасность. Общие требования.

· ГОСТ 12.2.003-91 ССБТ. Оборудование производственное. Общие требования безопасности.

· ГОСТ Р 8.563-96. Государственная система обеспечения единства измерений. Методики выполнения измерения.

ТЕРМИНЫ, ОПРЕДЕЛЕНИЯ И СОКРАЩЕНИЯ

В настоящей инструкции все термины и определения приняты в соответствии с основными понятиями федерального закона об охране атмосферного воздуха, а также Государственными стандартами, действующими на 01.01.2000 г.: ГОСТ 17.2.1.04.77 (с изменением 1), ГОСТ 17.2.1.03-84; ГОСТ Р8.563-96, а именно:

Вредное (загрязняющее) вещество - химическое или биологическое вещество, либо смесь таких веществ, которые содержатся в атмосферном воздухе и которые в определенных концентрациях оказывают вредное воздействие на здоровье человека и окружающую природную среду.

Массовый выброс загрязняющего вещества - масса вещества загрязняющего вещества, поступающего в атмосферу от источников загрязнения в единицу времени.

Отработавшие газы (выхлопные газы) - отработанные газы двигателей внутреннего сгорания.

Методика выполнения измерений - совокупность операций и правил, выполнение которых обеспечивает получение результатов измерений с известной погрешностью (в соответствии с ГОСТ Р 8.563.96).

Экологическая характеристика агрегата - это количественный показатель в виде диапазона или фиксированного значения характеризующего выброс ЗВ в процессе эксплуатации агрегата.

Технический норматив выброса - норматив выброса вредного (загрязняющего) вещества в атмосферный воздух, который устанавливается для передвижных и стационарных источников выбросов, технологических процессов, оборудования и отражает максимально допустимую массу выброса вредного (загрязняющего) вещества в атмосферный воздух в расчете на единицу продукции, мощности пробега транспортных или иных передвижных средств и другие показатели.

В настоящей методике приняты следующие сокращения:

КС - компрессорная станция

ГМД - газомоторный двигатель

МВИ - методика выполнения измерений

ЗВ - загрязняющие вещества

ПДВ - предельно-допустимый выброс вредного (загрязняющего) вещества в атмосферный воздух

ТНВ - технический норматив выброса вредного (загрязняющего) вещества в атмосферный воздух.

СИ - средства измерения.

ГМК - газомотокомпрессор.

ЛИТЕРАТУРА

1. Временная инструкция по контролю вредных выбросов с отработавшими газами газомотокомпрессоров. М.: ИРЦ Газпром, 1995.

2. Каталог удельных выбросов загрязняющих веществ отработавшими газами газомотокомпрессоров. - М.: ИРЦ Газпром, 1997.

3. Типовая инструкция по организации системы контроля промышленных выбросов в атмосферу в отраслях промышленности. Л: ГГО им. А.И. Воейкова, 1986.

4. Инструкция по инвентаризации выбросов загрязняющих веществ в атмосферу. - Л.: Госкомприроды СССР, 1990.

5. РД 39-0147098-017-90. Положение по контролю за выбросами загрязняющих веществ в атмосферу на объектах предприятий Миннефтегазпрома СССР. Миннефтегазпром СССР. ВостНИИГБ. Уфа, 1990 г. РД 52.04.59-85. Руководящий документ. Охрана природы. Атмосфера. Требования к точности контроля промышленных выбросов. Методические указания. - М., 1986.

6. ОНД-90. Руководство по контролю источников загрязнения в атмосферу. Часть 2. С-Петербург, 1992.

7. Контроль химических и биологических параметров окружающей Среды. Энциклопедия "Экометрия". С-Петербург, "Крисмас" 1998 г.

8. Современные поршневые газоперекачивающие установки с поршневыми ДВС. - М.: ВНИИГАЗ, 1997.

9. Сборник временных инструкций по измерению, учету и контролю выбросов оксида азота и углерода на объектах транспорта и использования газа. - М.: ИРЦ Газпром, 1993.

10. Методические указания ГСИ. Результаты и характеристики погрешности измерений. Формы представления. Способы использования при испытаниях образцов продукции и контроле их параметров. МИ 1317-86.

11. Технический отчет по договору № 631. Разработка рекомендаций заводам-изготовителям по экологическим требованиям в технические условия на поставку газомотокомпрессоров. - М.: НТЦ "Кайван", 1992.

12. Отчет о НИР по договору № 6. Проведение анализов выхлопных газов ГМК для определения содержания вредных веществ. - М.: "Экосервис", 1992.

13. РД 52.04.59-85 "Требования к точности контроля промышленных выбросов. Методические указания Госкомгидромета.

14. ГОСТ 12.2.003-91 "ССБТ" Оборудование производственное. Общие требования безопасности.

15. Методические указания по охране труда при осуществлении контроля загрязнения атмосферного воздуха для системы Госкомэкологии России. М., Госкомэкология России, 1999 г.




Яндекс цитирования



   Copyright © 2007-2026,  www.tehlit.ru.

[ ѓосты, стандарты, нормативы, инструкции, правила, строительные нормы ]