//
|
|
ЦЕНТРАЛЬНЫЙ НАУЧНО-ИССЛЕДОВАТЕЛЬСКИЙ РЕКОМЕНДАЦИИ МДС 31-8.2002 Москва 2002 Рекомендованы к изданию решением Секции строительных конструкций зданий Научно-технического совета ОАО «ЦНИИпромзданий» 10 июля 2002 г. Рекомендации содержат сведения о современных конструкциях фонарей со светопропускающими элементами из стекла и полимерных материалов, предназначенных для устройства естественного освещения помещений зданий и сооружений. В Рекомендациях изложены основные требования к фонарям - по конструктивному решению, сопротивлению теплопередаче, воздухопроницанию, несущей способности, атмосферостойкости и др. Приведена методика выбора и расчета конструкций фонарей в соответствии с требованиями действующих нормативных документов. Рассмотрены вопросы монтажа и эксплуатации фонарей. Рекомендации предназначены для архитекторов, инженерно-технических работников проектных и строительных организаций, работников служб эксплуатации зданий, студентов строительных высших и средних учебных заведений. Разработаны ОАО «ЦНИИпромзданий» (кандидаты техн. наук Ю. П. Александров и Ф. Л. Шехтер). СОДЕРЖАНИЕ ПРЕДИСЛОВИЕСовременные строительные нормы и правила предъявляют высокие требования к микроклимату в помещениях зданий и сооружений. Уровень освещенности, температура, влажность, скорость движения воздуха и другие характеристики микроклимата имеют важное значение для жизнедеятельности людей и существенно влияют на производительность труда. Светопрозрачные конструкции являются важным фактором в решении вопросов объемно-планировочного решения зданий и формировании микроклимата в помещениях. В последнее время появилось много новых видов конструкций верхнего света, которые позволяют рационально решать проблему устройства естественного освещения помещений зданий различного назначения, имеющих большую протяженность по длине и ширине. Техническая целесообразность и экономическая эффективность новых видов светопрозрачных конструкций в значительной степени зависят от правильного их применения и учета специфических свойств. Внесенные в 1998 г. Госстроем России в действующие строительные нормы и правила по строительной теплотехнике дополнения и изменения значительно повысили требования к теплотехническим характеристикам светопрозрачных конструкций. В связи с этим при устройстве фонарей стали более широко использовать эффективные виды светопропускающих элементов из стеклопакетов и полимерных материалов. Настоящие Рекомендации содержат основные правила проектирования и устройства различных видов конструкций верхнего света - зенитных и светоаэрационных фонарей, включая вопросы теплотехнических, светотехнических и прочностных расчетов конструкций. Авторы надеются, что Рекомендации помогут архитекторам и инженерно-техническим работникам проектных и строительных организаций, сотрудникам предприятий-производителей в решении вопросов рационального выбора конструктивного решения фонарей во вновь строящихся и реконструируемых зданиях. 1. ОБЩИЕ ПОЛОЖЕНИЯ1.1. Рекомендации распространяются на проектирование и устройство светопрозрачных конструкций верхнего света (далее - фонари), предназначенных для устройства естественного освещения и вентиляции помещений вновь строящихся и реконструируемых общественных, жилых и производственных зданий и сооружений. 1.2. При проектировании и устройстве фонарей наряду с настоящими Рекомендациями следует руководствоваться действующими нормативными документами по строительству и эксплуатации зданий и сооружений, технике безопасности, производственной санитарии, пожаро- и взрывобезопасности и другими документами, учитывающими особенности размещаемых в здании организаций и производств. 1.3. Для устройства верхнего естественного освещения помещений зданий применяют фонари зенитные и прямоугольные светоаэрационные. 1.4. Зенитные фонари рекомендуется применять для устройства естественного освещения помещений общественных зданий, мансардных этажей жилых зданий, а также помещений производственных зданий с сухим и нормальным температурно-влажностным режимом и избытками явного тепла, не превышающими 23 Вт/м3. 1.5. Для устройства естественного освещения помещений производственных зданий с избытками явного тепла от 23 до 50 Вт/м3, к которым не предъявляются специальные требования к чистоте воздуха, следует применять светоаэрационные фонари. 1.6. При проектировании верхнего естественного освещения помещений зданий, производственные процессы в которых сопровождаются избытками явного тепла более 50 Вт/м3 и интенсивным выделением пыли и газов, рекомендуется применять фонари с функциональным разделением по конструктивному решению на световые и аэрационные. 2. НОРМАТИВНЫЕ ССЫЛКИВ настоящих Рекомендациях даны ссылки на следующие стандарты, СНиП и проектную документацию: ГОСТ 111-2001 «Стекло листовое. Технические условия» ГОСТ 2715-75* «Сетки металлические проволочные. Типы, основные параметры и размеры» ГОСТ 2889-80 «Мастика битумная кровельная горячая. Технические условия» ГОСТ 4640-93* «Вата минеральная. Технические условия» ГОСТ 5533-86 «Стекло листовое узорчатое. Технические условия» ГОСТ 7481-78 «Стекло армированное листовое. Технические условия» ГОСТ 8278-83* «Швеллеры стальные гнутые равнополочные. Сортамент» ГОСТ 8282-83* «Профили стальные гнутые С-образные равнополочные. Сортамент» ГОСТ 9573-96 «Плиты из минеральной ваты на синтетическом связующем теплоизоляционные. Технические условия» ГОСТ 14918-80* «Сталь тонколистовая оцинкованная с непрерывных линий. Технические условия» ГОСТ 15588-86 «Плиты пенополистирольные. Технические условия» ГОСТ 17622-72* Е «Стекло органическое техническое. Технические условия» ГОСТ 19177-81 «Прокладки резиновые пористые уплотняющие. Технические условия» ГОСТ 19903-74* «Прокат листовой горячекатаный. Сортамент» ГОСТ 19904-90 «Прокат листовой холоднокатаный. Сортамент» ГОСТ 20916-87 «Плиты теплоизоляционные из пенопласта на основе резольных фенолформальдегидных смол. Технические условия» ГОСТ 22160-76 «Купола из органического стекла двухслойные. Технические условия» ГОСТ 24866-99 «Стеклопакеты клееные строительного назначения. Технические условия» ГОСТ 25621-83 «Материалы и изделия полимерные строительные герметизирующие и уплотняющие. Классификация и общие технические требования» ГОСТ 30245-94 «Профили стальные гнутые замкнутые сварные квадратные и прямоугольные для строительных конструкций. Технические условия» ГОСТ 30698-2000 «Стекло закаленное строительное. Технические условия» ГОСТ 30773-2000 «Стекло с низкоэмиссионным твердым покрытием. Технические условия» ГОСТ 30778-2001 «Прокладки уплотняющие из эластомерных материалов для оконных и дверных блоков» ГОСТ Р 51136-98 «Стекло защитное многослойное. Общие технические условия» СНиП 2.01.07-85* «Нагрузки и воздействия» СНиП 2.03.06-85 «Алюминиевые конструкции» СНиП 2.03.11-85 «Защита строительных конструкций от коррозии» СНиП 2.04.05-91* «Отопление, вентиляция и кондиционирование» СНиП 2.08.01-89* «Жилые здания» СНиП 2.08.02-89* «Общественные здания и сооружения» СНиП II-3-79* (изд. 1998 г.) «Строительная теплотехника» СНиП II-4-79* «Естественное и искусственное освещение» СНиП II-23-81* «Стальные конструкции» СНиП II-25-80* «Деревянные конструкции» СНиП II-26-76 «Кровли» СНиП 21-01-97* «Пожарная безопасность зданий и сооружений» СНиП 23-01-99 «Строительная климатология» СНиП 23-05-95 «Естественное и искусственное освещение» СНиП 31.03-2001 «Производственные здания» МГСН 2.06-99 «Естественное, искусственное и совмещенное освещение» 1.464.2-18 «Фонари зенитные с размерами светового проема 2,9×5,9 со стальными переплетами» 1.464.2-21 «Фонари зенитные с размерами светового проема 1,5×1,7 м со стальными переплетами» 1.464.2-25.93 «Фонари светоаэрационные одноярусные прямоугольные» 1.464.2-26.93 «Фонари зенитные длиной до 6 м стальные» 1.464.2-27.93 «Фонари ленточные длиной до 50 м стальные» 1.464.3-22 «Светоаэрационные фонари шириной 6 м и 12 м с одним ярусом переплетов из конструкций серии 1.464-11/82» 1.464.3-28.94 «Фонари световые треугольные, устанавливаемые вдоль ската кровли производственных зданий промышленных предприятий» 1.464-29.94 «Фонари зенитные с применением органического стекла» 1.464-11/82 «Светоаэрационные фонари с одним ярусом переплетов» 1.464-13/82 «Светоаэрационные фонари с двумя ярусами переплетов» 1.465.1-15 «Плиты железобетонные ребристые размером 3,0×12 м для покрытий одноэтажных производственных зданий (с проемами в полке для зенитных фонарей)» 1.465.1-20 «Плиты железобетонные ребристые размером 1,5×6 м для покрытий одноэтажных производственных зданий (с проемами в полке для зенитных фонарей)» 1.465.1-21 «Плиты железобетонные ребристые размером 3×6 м для покрытий одноэтажных производственных зданий (с проемами в полке для зенитных фонарей)» 3. ПРОЕКТИРОВАНИЕ3.1. Общие требования к конструкциям3.1.1. Выбор вида, конструктивного решения фонарей и способа их размещения в покрытии зданий следует производить на основании анализа технико-экономического сравнения различных вариантов с учетом архитектурно-композиционного решения здания или сооружения и особенностей выполняемых в них технологических процессов. 3.1.2. Конструктивное решение фонарей и их расположение в покрытии здания или сооружения должно обеспечивать: нормируемое значение коэффициента естественного (или совмещенного) освещения (КЕО*) в помещении; поддержание в комплексе с системой отопления и вентиляции необходимых параметров температуры и скорости движения воздуха в рабочей зоне и воздухообмена в помещении; надежность эксплуатации в течение расчетного срока; ремонтопригодность; удобство эксплуатации. * КЕО - коэффициент естественной освещенности представляет собой выраженное в % отношение естественной освещенности, создаваемой в определенной точке помещения светом неба, к одновременному значению наружной горизонтальной освещенности, создаваемой светом полностью открытого небосвода (СНиП 23-05-95). 3.2. Зенитные фонари3.2.1. Зенитные фонари (рис. 3.1 и 3.2) классифицируются по следующим основным признакам: - материалу и виду элементов светопропускающего заполнения (листовое стекло, стеклопакеты, купола и панели из полимерных материалов); - форме поверхности элементов светопропускающего заполнения (односкатные, двухскатные, пирамидальные, криволинейные); - конструктивным решениям (глухие, открывающиеся). 3.2.2. Для устройства естественного освещения помещений рекомендуется применять унифицированные конструкции зенитных фонарей, утвержденные Госстроем России для массового применения, а также конструкции зенитных фонарей, разработанные отечественными и зарубежными фирмами (табл. 3.1), при наличии согласованной в установленном порядке технической документации (технических условий, технических свидетельств и проектных решений). 3.2.3. Конструктивное решение зенитных фонарей должно предусматривать возможность их поставки на строительство в комплекте, в который входят элементы светопропускающего заполнения, несущие элементы каркаса, створок, детали опорного контура, приборы и механизмы открывания, нащельники, уплотнительные прокладки, утеплитель, фартуки, предохранительные сетки, герметики, крепежные и другие детали. Рис. 3.1. Зенитные фонари со светопропускающими элементами из стеклопакетов а - двухскатный глухой; б - двухскатный открывающийся; в - односкатный открывающийся Рис. 3.2. Зенитные фонари со светопропускающими элементами из полимерных материалов а - открывающийся с прямоугольным куполом из органического стекла; б - глухой с пирамидальным куполом из органического стекла; в - глухой с круглым куполом из органического стекла; г - пирамидальный глухой со светопропускающими элементами из сотового поликарбоната Таблица 3.1
3.2.4. В качестве элементов светопропускающего заполнения фонарей используют следующие материалы и изделия из силикатного стекла и полимеров: стекло листовое по ГОСТ 111-2001; стеклопакеты клееные одно- и двухкамерные по ГОСТ 24866-99; купола из органического стекла двухслойные по ГОСТ 22160-76; панели сотовые из поликарбоната по НД*; профилированные и волнистые листы из светопропускающего поливинилхлорида (ПВХ) по НД. Основные физико-технические характеристики материалов даны в табл. 3.2. Значения сопротивления теплопередаче указанных материалов и изделий даны в приложении 1. * НД (здесь и далее по тексту) - технические условия или технические свидетельства на материалы и изделия. Таблица 3.2
3.2.5. Светопропускающие элементы из силикатного стекла и стеклопакетов должны опираться на несущие элементы по периметру (по всем сторонам). 3.2.6. Конструктивное решение зенитных фонарей должно обеспечивать независимость их статической работы от несущих элементов покрытия. Опорные контуры зенитных фонарей в покрытиях из сборных железобетонных элементов следует устанавливать на специальные плиты с проемами (см. серии 1.465.1-15, 1.465.1-20, 1.465.1-21) или на монолитные железобетонные конструкции покрытий, имеющие световые проемы, а в покрытиях из профилированного стального настила - на стальные прогоны. 3.2.7. Опорные контуры зенитных фонарей должны возвышаться над кровлей не менее чем на 300 мм. Угол наклона к горизонту светопропускающего заполнения зенитных фонарей должен составлять не менее 12°. Грани опорных контуров фонарей могут выполняться наклонными. Угол наклона граней к вертикали не должен превышать 30°. Примеры конструктивного решения различных видов фонарей со светопропускающими элементами из стеклопакетов, органического стекла и поликарбоната и узлы их опирания показаны на рис. 3.3 - 3.8. Рис. 3.3. Зенитный фонарь со светопропускающими элементами из стеклопакетов 1 - стеклопакет; 2 - опорный контур; 3 - нащельник; 4 - уплотнительная резиновая прокладка; 5 - болт; 6 - защитная металлическая сетка; 7 - уплотнитель; 8 - прижимной элемент; 9 - упорный элемент; 10 - герметизирующая мастика; 11 - винт; 12 - фартук; 13 - гидроизоляционный ковер; 14 - утеплитель; 15 - пароизоляция
Рис. 3.4. Открывающийся зенитный фонарь с однокамерным стеклопакетом и механизмом открывания 1 - стеклопакет; 2 - опорный контур; 3 - стальная рама; 4 - утеплитель; 5 - фартук; 6 - защитная сетка; 7 - прижимной элемент; 8 - резиновые прокладки; 9 - механизм открывания; 10 - болты; 11 - несущие прогоны; 12 - профилированный настил
Рис. 3.5. Зенитный фонарь со светопропускающим элементом из органического стекла 1 - двухслойный купол из органического стекла; 2 - опорный контур; 3 - деревянная рама; 4 - утеплитель; 5 - фартук; 6 - прижимная планка; 7 - прижимная кляммера; 8 - уплотнитель; 9 - несущие прогоны
Рис. 3.6. Узлы сопряжения между стеклопакетами в зенитном фонаре с каркасом из алюминиевых профилей 1 - стеклопакет; 2 - несущий элемент; 3 - прижимной элемент; 4 - крепежный элемент; 5 - уплотнитель; 6 - соединительный пластмассовый элемент; 7 - нащельник
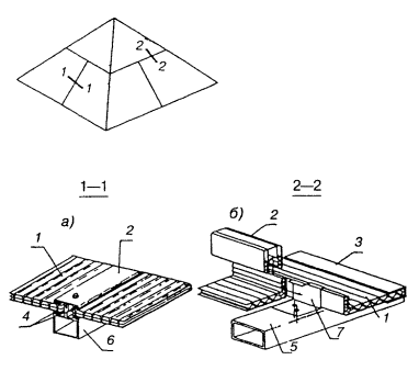
Рис. 3.7. Узлы сопряжения элементов светопропускающего заполнения из сотового поликарбоната: а - плоского; б - ребристого 1 - панель из сотового поликарбоната; 2 - нащельник из: а - алюминия и б - поликарбоната; 3 - торцевая накладка из поликарбоната; 4 - уплотнитель; 5 - стальной несущий профиль; 6 - алюминиевый несущий профиль; 7 - деталь крепления панели Рис. 3.8. Узлы сопряжения панелей из сотового поликарбоната со стеной 1 - панель из сотового поликарбоната; 2 - алюминиевый крепежный профиль; 3 - деревянный ригель; 4 - рейка обрешетки; 5 - фартук 3.2.8. Детали опорного контура и несущего каркаса зенитных фонарей изготавливают из тонколистовой стали по ГОСТ 19903-74 и ГОСТ 19904-90 и холодногнутых стальных профилей по ГОСТ 8278-83*, ГОСТ 8282-83*, ГОСТ 30245-94*. Соединение деталей опорного контура и рамных элементов следует, как правило, выполнять на болтах или самонарезающих винтах. Допускается соединение элементов на сварке. Для изготовления опорных контуров зенитных фонарей могут также применяться листы из стеклопластика и асбестоцемента, профили и листы из алюминиевых сплавов и другие материалы. 3.2.9. Несущие конструкции элементов светопропускающего заполнения (каркас) зенитных фонарей могут выполняться из алюминиевых или стальных профилей. Крепление элементов светопропускающего заполнения (стеклопакетов, панелей из поликарбоната) производится с помощью нащельников, закрепляемых к опорным конструкциям шурупами или самонарезающими винтами. Нащельники выполняют из алюминиевых или холодногнутых стальных профилей. 3.2.10. Опорные контуры должны быть утеплены и защищены от коррозии. Материалы, применяемые для антикоррозийных покрытий, должны соответствовать требованиям СНиП 2.03.11-85. 3.2.11. Для утепления опорных контуров зенитных фонарей следует, как правило, применять плитные эффективные утеплители из негорючих (НГ) или слабогорючих (Г1) материалов с плотностью не более 250 кг/м3. В качестве таких материалов могут применяться жесткие и полужесткие минераловатные плиты по ГОСТ 9573-82, плиты теплоизоляционные из пенопласта по ГОСТ 20916-87, плиты полистирольные типа ПСБ-С с антипиреном по ГОСТ 15588-86. 3.2.12. Наклейку плит утеплителя на стенки опорного контура рекомендуется производить на горячей битумной мастике теплостойкостью до 100 °С по ГОСТ 2889-80. 3.2.13. Для уплотнения и герметизации стыков элементов светопропускающего заполнения фонарей между собой и стыков между этими элементами и опорным контуром должны применяться полимерные профилированные и плоские пористые прокладки (ГОСТ 19177-81, ГОСТ 25621-83, ГОСТ 30778-2001), а для их герметизации - силиконовые или тиоколовые герметики, нетвердеющие самоклеющиеся ленты и другие подобные материалы по соответствующей нормативной документации. 3.2.14. Фартуки зенитных фонарей следует изготавливать из стального оцинкованного листа толщиной 0,5 - 0,7 мм по ГОСТ 14918-80. 3.2.15. Уплотнение стыков между элементами светопропускающего заполнения следует выполнять вспененным полимерным материалом. 3.2.16. Уплотнители, прокладки, герметики и другие полимерные материалы, применяемые в конструкциях зенитных фонарей, должны быть защищены от прямого солнечного облучения нащельниками или фартуками. 3.2.17. Полимерные материалы, используемые для изготовления фонарей, должны иметь разрешение на их применение от органов Государственного санитарного надзора. 3.2.18. Способы крепления и герметизации элементов светопропускающего заполнения фонарей должны обеспечивать независимость их температурных деформаций от несущих элементов. 3.2.19. Для устройства верхнего естественного освещения помещений с подвесными потолками рекомендуется применять зенитные фонари со светопроводными шахтами (рис. 3.9). Поверхности внутренних граней опорных контуров фонарей и светопроводных шахт следует окрашивать материалами, имеющими коэффициент отражения не менее 0,85. Установка остекления в плоскости подвесного потолка не рекомендуется. Рис. 3.9. Зенитный фонарь со светопроводной шахтой 1 - подвесной потолок; 2 - светопропускающее заполнение; 3 - защитная сетка; 4 - опорный конур; 5 - светопроводная шахта; 6 - кровля 3.2.20. Для обеспечения безопасности эксплуатации зенитных фонарей со светопропускающими элементами из листового стекла или стеклопакетов под ними должны быть установлены предохранительные сварные сетки с размерами ячеек 50×50 мм, изготовленные по ГОСТ 2715-75* из оцинкованной проволоки диаметром 2 мм. Сетки должны выполняться в виде отдельных полотен с обрамлением из гнутых уголков или арматурных стержней. Сетки навешиваются на крюки, устанавливаемые на стенках опорного контура. При применении светопропускающих элементов из стеклопакетов, нижний слой которых (обращенный в сторону помещения) выполнен из защитного многослойного стекла или стекла с наклеенной на его поверхность защитной полимерной пленкой, предохранительная сетка может не устанавливаться. 3.2.21. Световые проемы в неутепленных покрытиях с кровлей из профилированных асбестоцементных или стальных листов рекомендуется заполнять вставками из светопрозрачного профилированного или волнистого ПВХ, форма поперечного сечения которых соответствует форме листов основной кровли. Крепление светопрозрачных вставок к прогонам осуществляется самонарезающими винтами или болтами со специальными шайбами и прокладками, устанавливаемыми по гребням (рис. 3.10). Рис. 3.10. Узлы крепления из светопропускающего волнистого ПВХ к балкам покрытия: а - стальным, б - деревянным 1 - светопропускающий элемент из ПВХ; 2 - накладка; 3 - крепежный элемент; 4 - хомут; 5 - шайба; 6 - защитный колпачок; 7 - герметизирующая прокладка; 8 - балка 3.3. Светоаэрационные фонари3.3.1. Для устройства верхнего естественного освещения и вентиляции помещений, избытки явного тепла в которых превышают 23 Вт/м3, как правило, должны применяться прямоугольные одноярусные светоаэрационные фонари (рис. 3.11). Техническая документация на эти конструкции представлена в альбомах серий 1.464.2-25.93, 1.464-11/82, 1.464-13/82 и 1.464.3-22. Двухъярусные светоаэрационные фонари (серия 1.464-13/82) могут применяться только при соответствующем технико-экономическом обосновании целесообразности их использования. Рис. 3.11. Одноярусный светоаэрационный фонарь 1 - несущие элементы; 2 - механизм открывания; 3 - рамочный створный элемент; 4 - светопропускающее заполнение; 5 - покрытие; 6 - защитная сетка 3.3.2. Светоаэрационные фонари должны располагаться по оси пролетов здания. Длина фонарей не должна превышать 120 м. Расстояние между торцами фонарей, а также от торца фонаря до наружной стены должно быть не менее 6 м. Открывание створок фонарей должно быть механизированным (с включением механизмов открывания из помещений) и дублировано ручным управлением. Для открывания фонарей рекомендуется применять механизмы реечного типа (серия 1.464.2-25.93, вып. 5). 3.3.3. С внутренней стороны остекления светоаэрационных фонарей должна устанавливаться защитная металлическая сетка с размерами ячеек не более 50×50 мм из оцинкованной проволоки диаметром 2 мм. Сетка должна располагаться вертикально вдоль внутренней стороны несущих стоек фонаря на высоту не менее 1/3 высоты светового проема. 3.4. Требования пожарной безопасности, предъявляемые к фонарям3.4.1. Зенитные фонари со светопропускающими элементами из материалов групп Г3 и Г4 (по горючести) допускается применять в производственных зданиях I, II и III* степени огнестойкости класса пожарной опасности С0 в помещениях категорий В4, Г и Д с покрытиями из материалов с пожарной опасностью НГ и Г1 и рулонной кровлей, имеющей покрытие из гравия (7.8 СНиП 31-03-2001) или крупнозернистой посыпки. Общая площадь светопропускающих элементов таких фонарей не должна превышать 15 % общей площади покрытия. * Определение степени огнестойкости и класса конструктивной пожарной опасности здания - см. СНиП 21-01-97*. 3.4.2. Площадь проема одного фонаря должна быть не более 12 м2 при удельной массе светопропускающих элементов не более 20 кг/м2 и не более 18 м2 при удельной массе светопропускающих элементов не более 10 кг/м2. При этом рулонная кровля должна иметь защитные покрытия из гравия или крупнозернистой посыпки. 3.4.3. Расстояние в свету между фонарями должно составлять не менее 6 м при площади проемов от 6 до 18 м2 и не менее 3 м при площади проемов до 6 м2. При совмещении фонарей в группы они принимаются за 1 фонарь, к которому относятся все указанные ограничения. 3.4.4. Между фонарями со светопропускающими заполнениями из материалов групп Г3 и Г4 в продольном и поперечном направлении покрытия здания должны не более чем через 54 м устраиваться разрывы шириной не менее 6 м. Расстояние по горизонтали от противопожарных стен до фонарей должно составлять не менее 5 м. 3.5. Сопротивление теплопередаче3.5.1.
Основной теплотехнической характеристикой фонарей является приведенное
сопротивление теплопередаче - R0 (справочные значения R0 элементов светопропускающего заполнения
фонарей приведены в приложении 1). Требуемое значение приведенного
сопротивления теплопередаче Градусо-сутки отопительного периода (ГСОП) определяют по формуле ГСОП = где tв - температура воздуха в рабочей зоне помещения (определяется по приложению 2); tот.пер и Zот.пер - средняя температура, °С, и продолжительность, сут, периода со средней суточной температурой воздуха ниже или равной 8 °С, принимаются по приложению 3. Таблица 3.3
3.5.2. Требуемое сопротивление теплопередаче фонарей, отвечающих санитарно-гигиеническим условиям, определяют по формуле где
где tв - расчетная температура воздуха в рабочей зоне помещения в холодный период года (приложение 2); Н - высота помещения, м; tн - средняя температура наиболее холодной пятидневки (принимается по приложению 3); tр - температура точки росы, принимаемая в зависимости от относительной
влажности и значения aв - коэффициент теплоотдачи ограждения, принимаемый равным 9,9 Вт/(м2·°С). 3.5.3. Из двух требуемых значений сопротивления теплопередаче по 3.5.1 и 3.5.2 при выборе конструктивного решения фонаря принимается наибольшее значение. 3.5.4. В случае, если возможные конструктивные решения фонарей не обеспечивают выполнение требований формулы (2), следует в проекте предусматривать мероприятия по обдуву или обогреву внутренней поверхности светопропускающих элементов в холодный период года. 3.6. Сопротивление воздухопроницанию3.6.1. Фактическое сопротивление фонарей
воздухопроницанию Ru должно быть не менее требуемого сопротивления
воздухопроницанию
где Gн - нормативная воздухопроницаемость фонаря, кг/(м2·ч), принимается равной 10,0 кг/(м2·ч); K = 10 Па - разность давлений воздуха, при которой определяется сопротивление воздухопроницанию Ru; Dр - разность давлений воздуха на наружной и внутренней поверхности фонаря, Па, определяемая по формуле где Н - высота от поверхности пола до низа фонаря, м; γн и γв - удельный вес наружного и внутреннего воздуха, Н/м3, определяемый по формулам, м:
где tн - средняя температура наиболее холодной пятидневки, принимаемая по приложению 3; tв - расчетная температура внутреннего воздуха, принимаемая по приложению 2; v - максимальная из скоростей ветра по румбам за январь, повторяемость которых составляет 16 % и более, принимаемая по приложению 3. 3.6.2. Действительные значения воздухопроницаемости фонарей Gн принимаются по результатам испытаний. Конструкция фонаря по показателю сопротивления воздухопроницанию должна удовлетворять условию
3.7. Естественное освещение помещений3.7.1. Основной величиной, характеризующей показатель естественного освещения помещений, является коэффициент естественной освещенности (КЕО). Нормированное значение КЕО в помещении определяют по формуле где ен - значение КЕО, определяемое в зависимости от разряда зрительных работ, выполняемых в помещении (табл. 3.4); mN - коэффициент светового климата, принимаемый с учетом ориентации светового проема и района по ресурсам светового климата (приложения 5, 6). 3.7.2. Разряды зрительных работ, выполняемых в помещениях общественных и административно-бытовых зданий и мансардных этажей жилых зданий, следует принимать по приложению 7. Разряды зрительных работ, выполняемых в помещениях производственных зданий, следует принимать по отраслевым нормативным документам по строительному проектированию зданий и сооружений, утвержденным в установленном порядке. 3.7.3. В случае, когда из-за особенностей объемно-планировочных решений общественных, административно-бытовых и жилых зданий или экономических соображений не представляется возможным обеспечить требуемое значение КЕО в помещениях, допускается предусматривать совмещенное их освещение, за исключением жилых комнат и кухонь жилых домов, помещений для пребывания детей, учебных и учебно-производственных помещений школ и учебных заведений, спальных помещений санаториев и домов отдыха. 3.7.4. При проектировании совмещенного освещения значение КЕО следует принимать по табл. 3.4 в зависимости от разрядов зрительных работ, выполняемых в помещениях (приложение 7). 3.7.5. Нормированные значения КЕО при совмещенном освещении помещений производственных зданий следует принимать по табл. 3.4: а) в случаях устройства освещения помещений, в которых выполняются зрительные работы I, II и III разрядов; б) для производственных помещений, в которых по условиям технологии, организации производства или климата в месте строительства требуются объемно-планировочные решения, не позволяющие обеспечить нормированные значения КЕО, а также в случаях подтвержденных соответствующими расчетами технико-экономической целесообразности применения совмещенного освещения; в) в соответствии с утвержденными отраслевыми нормативными документами. Таблица 3.4
3.7.6. В производственных помещениях зданий, строящихся в районах со средней температурой наиболее холодной пятидневки минус 27 °С и ниже, а так же в помещениях, в которых выполняются работы I - III разрядов, допускается принимать значения совмещенного освещения по табл. 3.5. В помещениях торговых залов магазинов и залов предприятий общественного питания значения КЕО при совмещенном освещении, приведенные в табл. 3.4, могут быть уменьшены на 50 %. 3.7.7. Площадь световых проемов зенитных фонарей, необходимая для обеспечения нормируемого значения КЕО в помещении, определяется по формуле где ен - нормированное значение КЕО; kз - коэффициент запаса, принимаемый по приложению 8; ηф - световая характеристика зенитных фонарей, определяемая по табл. 3.6; Sn - площадь освещаемого помещения; t0 - общий коэффициент светопропускания, определяемый по формуле
где t1 - коэффициент светопропускания светопропускающего элемента, определяемый по табл. 3.7; t2 - коэффициент, учитывающий потери света в несущих элементах каркаса, принимаемый для открывающихся фонарей 0,75, а для глухих - 0,9; t3 - коэффициент, учитывающий потери света в несущих конструкциях, принимаемый 0,8 - 0,9; t4 - коэффициент, учитывающий потери света в защитной сетке, устанавливаемой под фонарем, принимаемый равным 0,9; rф - коэффициент, учитывающий повышение КЕО при верхнем освещении за счет света, отраженного от поверхностей помещения, принимаемый по табл. 3.8; kф - коэффициент, учитывающий тип фонаря, принимаемый для зенитных фонарей длиной менее 6 м равным 1,1, а для фонарей большей протяженности - 1,0, для светоаэрационных фонарей - 1,2. 3.7.8. Общая площадь световых проемов зенитных фонарей, как правило, не должна превышать 15 % площади пола. В случае, если при этом не достигается средний требуемый уровень естественного освещения в помещении, следует устраивать совмещенное освещение. 3.7.9. Необходимую для обеспечения нормируемого уровня естественного освещения помещений площадь световых проемов фонарей определяют при условии отсутствия в них мебели, оборудования и других предметов. Установленные расчетом размеры световых проемов фонарей могут быть уменьшены на 10 % (5.5 СНиП 23-05-95). 3.7.10. Размеры световых проемов зенитных фонарей следует выбирать с учетом высоты помещений. Для освещения помещений высотой до 6 м рекомендуется применять фонари с площадью световых проемов до 3 м2. Таблица 3.5
Таблица 3.6 Значения световой характеристики ηф зенитных фонарей
Таблица 3.7
Таблица 3.8 Значения коэффициента rф
3.7.11. Расположение световых проемов в покрытии здания определяется характером размещения рабочих мест в помещении. При поточном или конвейерном технологическом процессе фонари следует располагать над технологическими линиями. В случаях, когда не предъявляются специальные требования к естественному освещению рабочих мест, фонари рекомендуется размещать равномерно по площади покрытия. Неравномерность естественного освещения по площади помещений производственных и общественных зданий не должна превышать 3 : 1. Неравномерность естественного освещения не нормируется для вспомогательных помещений производственных зданий и помещений общественных зданий с разрядами зрительной работы Г, Д, Е, Ж, З. 3.7.12. Степень неравномерности естественного освещения по площади помещения находят по значениям КЕО в расчетных точках, расположенных на пересечении вертикальной плоскости разрезов помещения с наименьшей и наибольшей освещенностью и условной рабочей поверхности или пола. Определение КЕО в расчетных точках помещения следует производить по методу, изложенному в приложении 9 настоящих Рекомендаций. 3.7.13. Зенитные фонари не должны располагаться в местах перепада высот зданий. Расстояние от фонарей до места перепада высот должно составлять не менее 6 м. Расстояние от зенитных фонарей до парапетов и вентиляционных камер должно составлять не менее 3 м. 3.7.14. Среднее значение КЕО в помещениях, освещаемых светоаэрационными фонарями с однослойным остеклением, может определяться с помощью графиков, приведенных на рис. 3.12. При заполнении световых проемов однокамерными стеклопакетами значения КЕО на рис. 3.12 должны быть уменьшены на 12 - 15 %, а при заполнении панелями из поликарбоната толщиной 10 - 16 мм - на 15 - 20 %. На рис. 3.12 приведены значения КЕО для помещений высотой от условной рабочей поверхности (у.р.п.) до низа светоаэрационного фонаря до 18 м и длиной - 60 м и более. При меньшей длине фонаря и большей высоте до низа фонаря принимаемые по графикам значения КЕО должны умножаться на коэффициент K1 приведенный в табл. 3.9. Рис. 3.12. Графики для определения средних значении КЕО на у.р.п. в помещениях, освещаемых прямоугольными светоаэрационными фонарями I - фонарь одноярусный высотой 1,8 м, шириной 6 м, помещение пролетом 18 м II - » » » » » 12 м » » 24 м III - » » » » » 12 м » » 30 м IV - » » » » » 12 м » » 36 м V - » » » » » 12 м » » 42 м VI - двухъярусный фонарь высотой 2×1,25 м » 12 м » » 36 м VII - » » » » » 12 м » » 42 м Таблица 3.9
3.8. Прочность и прогибы конструктивных элементов3.8.1. Конструктивные элементы фонарей по характеру статической работы разделяются на несущие (элементы каркаса, импосты, опорные контуры и др.) и самонесущие (светопропускающие элементы). Несущие элементы фонарей и светопропускающие элементы из полимерных материалов рассчитываются по прочности и прогибам. Элементы светопропускающего заполнения из стекла рассчитываются только по прочности. 3.8.2. Элементы фонарей должны рассчитываться на нагрузки от снега, ветра и собственного веса. Нормативные значения ветровых и снеговых нагрузок следует принимать по СНиП 2.01.07-85*. 3.8.3. Расчетные значения нагрузок на элементы фонарей определяются как произведение их нормативных значений на коэффициенты надежности по нагрузкам, принимаемые для: снега - ветра - собственного веса:
3.8.4. При расчете фонарей на одновременное действие снеговых и ветровых нагрузок расчетная нагрузка умножается на коэффициент сочетания нагрузок y, принимаемый равным 0,9. 3.8.5. Сбор нагрузок на несущие элементы фонарей от ветра и снега следует производить согласно схемам, указанным в табл. 3.10. 3.8.6. Коэффициент условий работы при расчете несущих элементов фонарей на прочность принимается для конструкций: стальных - 1,1 (разд. 4 СНиП II-23-81*); алюминиевых - 1,0 (3.13 СНиП 2.03.06-85); деревянных - 1,0 (табл. 5 СНиП II-25-80). 3.8.7. Величина расчетной нагрузки от снега определяется по формуле где μ0 - коэффициент, учитывающий снижение снеговой нагрузки для зенитных фонарей зданий, расположенных в районах с v ≥ 4 м/с (см. прил. 3)*, равный 0,85. Снижение нагрузки не распространяется на фонари, защищенные от прямого воздействия ветра соседними зданиями и сооружениями, удаленными менее чем на 10Н, где H - превышение здания над фонарем (5.5 СНиП 2.01.07-85*); S0 - вес снегового покрова на 1 м2 горизонтальной поверхности земли, принимаемый в соответствии с указаниями 5.2 СНиП 2.01.07-85*; μ - коэффициент перехода от веса снегового покрова земли к снеговой нагрузке на светопропускающее заполнение, принимается по прил. 3 СНиП 2.01.07-85*. * v - максимальная из средних скоростей ветра по румбам за январь. 3.8.8. Величина расчетной нагрузки от ветрового давления определяется по формуле
где w0 - нормативное значение ветрового давления, принимается по 6.4 СНиП 2.01.07-85*, кПа; k - коэффициент, учитывающий изменение ветрового давления по высоте (принимаемого по 6.5 СНиП 2.01.07-85*); с - аэродинамический коэффициент (принимается по 6.6 СНиП 2.01.07-85*). 3.8.9. Значения допустимых относительных прогибов несущих элементов фонарей следует принимать не более при опирании на них: листового стекла - 1/200; стеклопакетов - 1/300; элементов из полимерных материалов - 1/150. Таблица 3.10
3.8.10. Толщина стекла, располагаемого вертикально, в светоаэрационных фонарях определяется расчетом на ветровые нагрузки. В зенитных фонарях элементы остекления рассчитываются на совместное воздействие нагрузок от ветра, снега и собственного веса стекла. При этом в случае, если нагрузка от ветра направлена от наружной поверхности стекла (отрицательное давление), расчет производится на большую из сочетаний нагрузок. 3.8.11. Величина расчетной нагрузки от собственного веса определяется по формуле
где a - угол наклона остекления. 3.8.12. Толщину стекла, опертого по 4 сторонам, в зенитных и светоаэрационных фонарях следует определять по формуле где Ru - расчетное сопротивление стекла на растяжение при изгибе, принимаемое равным 15,0 МПа; qр - суммарная расчетная нагрузка на стекло, МПа; а - большая сторона стекла, м; b - меньшая сторона стекла, м;
β - коэффициент, принимаемый равным: 0,2 при l < 1,5; 0,1 при 1,5 < l ≤ 2; 0,08 при l > 2; т - коэффициент, зависящий от сочетания или вида нагрузки на стекло, определяется по формуле
где
Независимо от результатов расчета толщина стекла в зенитных фонарях должна приниматься не менее 5 мм, а в светоаэрационных - не менее 4 мм. 3.8.13. Совместная работа стекол в стеклопакетах при воздействии расчетных нагрузок (от собственного веса, снега и ветра) не учитывается. При расчете стекол в стеклопакетах в расчет принимается только одно стекло, расположенное со стороны действия суммарной нагрузки. Максимальная площадь каждого из стеклопакетов, применяемых для устройства светопропускающих элементов фонарей, не должна превышать 2,5 м2. 3.8.14. Справочные значения несущей способности некоторых видов светопропускающих элементов из поликарбоната и поливинилхлорида, в зависимости от длины пролета, даны в приложении 10. 4. МОНТАЖ4.1. Монтаж фонарей следует выполнять, руководствуясь указаниями рабочих чертежей и проекта производства работ (ППР), а также требованиями СНиП по технике безопасности и правилами пожарной безопасности при производстве строительно-монтажных работ. 4.2. Проект производства работ по монтажу фонарей должен содержать: календарный план с указанием очередности и сроков выполнения работ; графики потребностей в материалах и конструкциях; очередность и сроки поставки конструкций или отдельных их элементов на строительство; способы укрупнительной сборки отдельных элементов или конструкций в целом с указанием максимально возможных размеров и веса; технологическую последовательность монтажа конструкций с учетом их особенностей; мероприятия по обеспечению пространственной жесткости и неизменяемости конструкций при монтаже; порядок приемки установленных конструкций, включая скрытые работы; мероприятия по пожарной безопасности. В проекте производства работ должны быть указаны места складирования монтируемых элементов, места для выполнения подготовительных работ, подъемные механизмы, правила техники безопасности проведения работ. 4.3. Конструкции фонарей, как правило, должны изготавливаться на специализированных заводах. Отдельные сборочные единицы фонарей должны иметь полную заводскую готовность и поставляться на строительство комплектно для последующей их сборки. Уровень готовности сборочных единиц фонарей устанавливается в договоре на их изготовление (поставку) по согласованию изготовителя с потребителем. 4.4. Транспортирование и хранение конструкций фонарей, в том числе светопропускающих элементов, должно производиться в соответствии с требованиями ГОСТ или технических условий на эти изделия, а также установленными правилами перевозки таких грузов. 4.5. При хранении светопропускающие элементы фонарей должны быть защищены от атмосферных осадков и прямого солнечного облучения. Стеклопакеты, листовое стекло и купола из полимерных материалов должны храниться и перевозиться в специальных контейнерах в вертикальном положении, а панели из поликарбоната и профилированные листы из ПВХ - в горизонтальном положении в штабелях, опирающихся на деревянные подкладки. 4.6. Каждое изделие должно быть упаковано и замаркировано. Маркировка изделий из поликарбоната и ПВХ должна указывать их наружную поверхность, защищенную от ультрафиолетового облучения. 4.7. Поставляемые на строительство конструкции фонарей должны удовлетворять требованиям действующей нормативной документации или документа, подтверждающего пригодность применения их в строительстве. 4.8. Работы по монтажу фонарей рекомендуется производить в теплый период года. 4.9. При производстве работ по монтажу светопропускающих элементов фонарей, а также в процессе выполнения отделочных работ необходимо предусматривать мероприятия по их защите от повреждений и загрязнений. 4.10. Перед монтажом конструкций фонарей производителем работ должна быть произведена техническая приемка отдельных их элементов и выполнены подготовительные работы. Техническая приемка включает проверку геометрических параметров, комплектности конструкций, качества защитных покрытий и др. 4.11. Монтаж фонарей должен производиться специализированной строительной организацией, имеющей право (лицензию) на производство таких работ. Окончание монтажных работ должно подтверждаться актом сдачи-приемки, включающим в себя гарантийные обязательства производителя работ. 4.12. Монтаж зенитных фонарей производят в следующей последовательности выполнения основных операций: установка, выверка и закрепление опорных контуров и несущего каркаса; монтаж предохранительных сеток; устройство пароизоляции опорных контуров; утепление стенок опорных контуров; устройство гидроизоляции опорных контуров; монтаж светопропускающих элементов; установка нащельников и устройство гидроизоляции стыков. 4.13. Монтаж прямоугольных светоаэрационных фонарей должен производиться со следующей последовательностью выполнения отдельных операций: установка, выверка и закрепление несущих элементов; монтаж элементов покрытия; монтаж бортовых элементов; установка защитных сеток; монтаж карниза и устройство пароизоляции на покрытии; монтаж пожарных лестниц; утепление бортовых элементов и покрытия; устройство кровли; монтаж механизмов открывания; монтаж створок и их остекление; установка вставок и нащельников. 4.14. Работы по установке опорных контуров зенитных фонарей, их утеплению и гидроизоляции производятся одновременно с устройством конструкций покрытия. 4.15. При устройстве зенитных фонарей в реконструируемом здании, в покрытии которого не были предусмотрены специальные световые проемы, они должны выполняться с помощью специального инструмента путем вырезания отверстий дисковыми пилами с насадками из сверхтвердых материалов. Выполнение отверстий в покрытии с помощью ударных инструментов не допускается. Возможность устройства световых проемов в существующем покрытии из железобетона, в том числе из сборных железобетонных плит, должна быть подтверждена расчетом. 4.16. Работы по монтажу несущих элементов каркаса, защитных сеток, окраске металлоконструкций, утеплению стенок опорных контуров зенитных фонарей следует, как правило, выполнять при укрупнительной сборке конструкций. 4.17. Монтажные работы по устройству зенитных фонарей со светопропускающими элементами из листового стекла или стеклопакетов без установленных в световом проеме защитных металлических сеток производить не разрешается. Производственный персонал, выполняющий работы по монтажу фонарей, должен пройти соответствующий инструктаж и обучение. 4.18. Крепление опорных контуров зенитных фонарей, устанавливаемых на железобетонных плитах, имеющих специальные световые проемы, следует производить посредством их приварки к закладным деталям плит. При отсутствии закладных деталей опорные контуры фонарей крепят к элементам железобетонного покрытия с помощью анкерных болтов. При установке зенитных фонарей на покрытии из стального профилированного настила опорные контуры крепят к прогонам покрытия самонарезающими винтами или болтами. 4.19. Сотовые панели из поликарбоната должны устанавливаться в конструкции таким образом, чтобы каналы в панелях были направлены вдоль ската. Верхние и нижние торцы панелей из сотового поликарбоната герметизируют специальной лентой, после чего торцы закрываются насадками. Перед герметизацией все каналы должны быть продуты. 4.20. При необходимости панели из сотового поликарбоната и листы из ПВХ обрезают по месту дисковыми или ручными пилами с мелкими зубьями. Отверстия в панелях сверлятся ручной или электрической дрелью. При сверлении отверстий необходимо предусмотреть допуск на термическое расширение материала в процессе эксплуатации, который должен быть не менее 3 мм/м длины. 4.21. Утеплитель зенитных фонарей крепят к бортовым элементам светоаэрационных фонарей и к стенкам опорных стаканов зенитных фонарей на клею с тщательной подгонкой плит друг к другу. 4.22. Работы по устройству гидроизоляции опорных элементов фонарей должны производиться с учетом требований СНиП II-26-76. 4.23. Установленные в покрытии фонари должны быть приняты приемной комиссией с участием представителей заказчика, генерального подрядчика и субподрядчика. Приемка оформляется актом за подписью членов комиссии. При приемке проверяется: соответствие установленных фонарей рабочей документации; правильность установки несущих конструкций фонарей; правильность установки светопропускающих элементов фонарей; качество заделки стыков между отдельными элементами фонарей; сохранность элементов и их отделка; работа механизмов открывания; выполнение специальных требований проекта. 5. ЭКСПЛУАТАЦИЯ5.1. Контроль за эксплуатацией и ремонтом фонарей должен осуществляться службой эксплуатации зданий совместно с руководителями производственных подразделений, расположенных в данных помещениях. 5.2. На службу эксплуатации зданий, ответственную за состояние фонарей, возлагаются следующие обязанности: осуществление контроля за соблюдением производственным персоналом правил эксплуатации фонарей; организация периодических осмотров фонарей не реже двух раз в год - весной и осенью с выявлением причин возникновения дефектов; организация внеочередных осмотров, осуществляемых совместно со специальной комиссией, в случае техногенных катастроф или стихийных бедствий; составление смет на ремонтно-восстановительные работы; составление заявок на материалы и механизмы для выполнения ремонтных работ; хранение документов по эксплуатации и периодическому ремонту фонарей. 5.3. В обязанности лиц, на которых возлагается ответственность за эксплуатацию и ремонт фонарей, входит: систематическое наблюдение за состоянием фонарей и, в том числе, светопропускающих элементов; ведение технического журнала по эксплуатации фонарей с указанием неисправностей, требующих устранения; оказание необходимой помощи в работах по ремонту фонарей; составление заявок на проведение очистки и ремонтно-восстановительных работ светопропускающих элементов фонарей; приемка текущих ремонтных работ; участие в работах комиссии по приемке и сдаче в эксплуатацию фонарей и их отдельных элементов после их ремонта. 5.4. Служба эксплуатации зданий может приглашать специализированные организации для проведения обследования фонарей, а также подрядные ремонтно-строительные организации для выполнения ремонтных работ с осуществлением контроля за качеством их выполнения. 5.5. При периодических весенних осмотрах фонарей должны устанавливаться объемы основных работ по ремонту конструкций. Осенние осмотры фонарей должны ставить своей целью выявление готовности конструкций к эксплуатации в зимних условиях и необходимости проведения дополнительных ремонтных работ. 5.6. При проведении периодического осмотра фонарей должны быть выявлены: дефекты элементов остекления; состояние уплотнительных прокладок и герметизирующих мастик в швах между отдельными элементами конструкций; места и причины образования конденсата на поверхности элементов остекления; состояние и работоспособность механизмов открывания створных элементов. 5.7. Если при осмотре или текущей эксплуатации фонарей выявляются неисправности конструкций фонарей, угрожающие безопасности людей или сохранности имущества, они должны быть немедленно устранены. 5.8. Основными видами и причинами возникновения дефектов в фонарях являются: снижение светопропускания элементов остекления вследствие нерегулярной и некачественной их очистки от загрязнений, а также образования на поверхности остекления капельного конденсата, инея и наледей; протечки дождевых вод через дефектные либо поврежденные участки фонарей; повышенная воздухопроницаемость вследствие разрушения остекления, деформации створок, отсутствия уплотняющих прокладок; разрушение остекления - трещины, выколы и другие механические повреждения светопропускающих элементов, образовавшиеся при монтаже, ремонте и очистке от загрязнений, накопления и замерзания влаги во внутренних полостях остекления, температурные деформации несущих элементов; образование инея или наледей на обращенных в помещение поверхностях вследствие низких теплотехнических качеств конструкций или их отдельных узлов; дефекты и повреждения уплотняющих прокладок и герметизирующих мастик; дефекты и повреждения приборов открывания. 5.9. При эксплуатации фонарей основное внимание должно уделяться элементам светопропускающего заполнения и предохранению их от механических повреждений и разрушающего воздействия климатических факторов. Скалывание наледей или смерзшегося снега с элементов фонарей не допускается. 5.10. Ремонт фонарей должен включать выполнение комплекса мероприятий, направленных на поддержание или восстановление первоначальных эксплуатационных характеристик конструкций. 5.11. Разрушенные стекла или стеклопакеты должны быть удалены, а световые проемы до их замены закрыты щитами. При разгерметизации стеклопакетов или светопропускающих элементов из полимерных материалов (в случае невозможности их замены) влага, скопившаяся в воздушной прослойке, может быть удалена путем устройства отверстий в торцах. При проведении ремонта разгерметизированные или имеющие трещины стеклопакеты или светопропускающие элементы из полимерных материалов должны быть заменены новыми. Светопропускающие элементы из полимерных материалов с незначительными механическими повреждениями допускается ремонтировать. 5.12. При выполнении работ по ремонту конструкций фонарей должны обеспечиваться выполнение правил техники безопасности, охрана труда, а также бесперебойная работа размещенных в помещениях производств. 5.13. До выполнения ремонтных работ по замене поврежденных светопропускающих элементов необходимо оградить зоны возможного падения осколков. 5.14. Ремонт конструкций фонарей должен, как правило, производиться в теплое время года. При выполнении ремонтных работ необходимо выполнять мероприятия по защите помещений и оборудования от атмосферных осадков и предотвращения случайного падения элементов светопропускающего заполнения, вспомогательных материалов и инструмента. 5.15. Светопропускающие элементы фонарей должны регулярно очищаться от загрязнений. Обязательное количество чисток остекления в год указано в приложении 8. Очистка остекления может производиться сухим, полусухим и мокрым способами. При сухой очистке используют специальные пасты, которые наносятся на остекление и удаляются с него без последующей промывки. При полусухом способе после нанесения пасты остекление промывается. Мокрую очистку выполняют чистой водой или специальными растворителями. Не допускается применение моющих средств, являющихся агрессивными к материалу светопропускающего заполнения и герметизирующих элементов. В качестве инструмента и приспособлений для очистки остекления могут использоваться: - аппараты высокого давления с нагревом воды; - щетки с электрическим или пневматическим приводом; - скребки с резиновыми насадками, поролоновые или резиновые губки, швабры, полотенца и т.п. При выполнении работ по очистке или ремонту зенитных фонарей не допускается класть или опирать на остекление инструменты и приспособления. 5.16. Устанавливаемые при ремонте фонарей новые элементы конструкций по своим размерам и физико-техническим характеристикам должны соответствовать заменяемым. 5.17. В тех случаях, когда в процессе осмотра фонарей выявлены элементы конструкций с дефектами, которые не могут быть устранены, они должны быть заменены на новые с такими же характеристиками. ПРИЛОЖЕНИЕ 1СПРАВОЧНЫЕ
ЗНАЧЕНИЯ СОПРОТИВЛЕНИЯ ТЕПЛОПЕРЕДАЧЕ ЭЛЕМЕНТОВ СВЕТОПРОПУСКАЮЩЕГО ЗАПОЛНЕНИЯ
ФОНАРЕЙ
| ||||||||||||||||||||||||||||||||||||||||||||||||||||||||||||||||||||||||||||||||||||||||||||||||||||||||||||||||||||||||||||||||||||||||||||||||||||||||||||||||||||||||||||||||||||||||||||||||||||||||||||||||||||||||||||||||||||||||||||||||||||||||||||||||||||||||||||||||||||||||||||||||||||||||||||||||||||||||||||||||||||||||||||||||||||||||||||||||||||||||||||||||||||||||||||||||||||||||||||||||||||||||||||||||||||||||||||||||||||||||||||||||||||||||||||||||||||||||||||||||||||||||||||||||||||||||||||||||||||||||||||||||||||||||||||||||||||||||||||||||||||||||||||||||||||||||||||||||||||||||||||||||||||||||||||||||||||||||||||||||||||||||||||||||||||||||||||||||||||||||||||||||||||||||||||||||||||||||||||||||||||||||||||||||||||||||||||||||||||||||||||||||||||||||||||||||||||||||||||||||||||||||||||||||||||||||||||||||||||||||||||||||||||||||||||||||||||||||||||||||||||||||||||||||||||||||||||||||||||||||||||||||||||||||||||||||||||||||||||||||||||||||||||||||||||||||||||||||||||||
|
№ п.п. |
Элементы светопропускающего заполнения |
Государственный стандарт на материал или изделие |
Приведенное сопротивление теплопередаче |
|
1 |
Остекление одинарное |
0,18 |
|
|
Остекление двойное раздельное |
0,36 |
||
|
2 |
Однокамерный стеклопакет с межстекольным расстоянием d = 16 мм из стекла: |
|
|
|
листового |
|
0,34 |
|
|
с твердым селективным покрытием на одном из стекол |
|
0,53 |
|
|
с мягким селективным покрытием на одном из стекол |
|
0,59 |
|
|
3 |
Двухкамерный стеклопакет из стекла: |
|
|
|
листового (с межстекольным расстоянием 6 мм) |
|
0,42 |
|
|
листового (с межстекольным расстоянием 12 мм) |
|
0,49 |
|
|
с твердым селективным покрытием на одном из стекол |
|
0,61 |
|
|
с мягким селективным покрытием на одном из стекол |
|
0,68 |
|
|
с твердым селективным покрытием на одном из стекол и заполнением межстекольного пространства аргоном |
|
0,68 |
|
|
4 |
Купол из полиметилметакрилата (органического стекла) двухслойный |
0,42 |
|
|
5 |
Профилированный лист из прозрачного поливинилхлорида (ПВХ) однослойный |
- |
0,19 |
|
6 |
Панель сотовая из поликарбоната толщиной, мм: |
- |
|
|
6 |
|
0,25 |
|
|
10 |
|
0,35 |
|
|
16 |
|
0,45 |
|
|
25 |
|
0,65 |
|
|
Примечания 1. К мягким селективным покрытиям стекла относят покрытия с тепловой эмиссией менее 0,15, к твердым - более 0,15. 2. Значения приведенного сопротивления теплопередаче изделий, указанные в таблице, допускается использовать в качестве расчетных при отсутствии данных в стандартах или технических условиях на эти материалы и изделия. |
|||
|
№ п.п. |
Помещения |
Расчетная температура воздуха в помещении в холодный период года, °С |
|
1 |
Жилые комнаты квартир и общежитий в районах с температурой наиболее холодной пятидневки выше минус 31 °С |
18 (20) |
|
2 |
То же, в районах с температурой наиболее холодной пятидневки минус 31 °С и ниже |
20 (22) |
|
3 |
Кухни |
18 |
|
4 |
Вестибюли, общие коридоры, лестничные клетки в жилых домах |
16 |
|
5 |
То же, в общежитиях |
18 |
|
6 |
Помещения для культурно-массовых мероприятий, отдыха, учебных и спортивных занятий, для администрации и персонала |
18 |
|
7 |
Зрительные залы в клубах и театрах |
20 |
|
8 |
Помещения библиотек |
18 |
|
9 |
Спортивные залы, крытые катки |
18 |
|
10 |
Торговые залы магазинов: |
|
|
продовольственных |
12 |
|
|
универсальных и непродовольственных |
15 |
|
|
11 |
Помещения больниц, палаты: |
|
|
наркозные, родовые, послеоперационные, для грудных детей |
25 |
|
|
для взрослых больных |
20 |
|
|
послеоперационные, реанимационные, предродовые, фильтры, приемно-смотровые |
22 |
|
|
перевязочные, предоперационные |
22 |
|
|
стерилизационные |
18 |
|
|
12 |
Помещения детских садов: |
|
|
групповых, раздевальных - младших групп |
22 (23) |
|
|
старших групп |
20 (21) |
|
|
спальни - младших групп (ясельных) |
21 (22) |
|
|
дошкольных |
19 (20) |
|
|
буфетные |
16 |
|
|
для музыкальных и гимнастических занятий |
19 (20) |
|
|
бассейнов |
30 |
|
|
13 |
Школьные помещения: |
|
|
классные, учебные кабинеты, лаборатории |
18 (21) |
|
|
учебные мастерские |
15 (17) |
|
|
актовый зал, лекционные аудитории, клубные комнаты |
18 (20) |
|
|
кружковые |
18 (21) |
|
|
спальные комнаты школьных интернатов |
16 (18) |
|
|
14 |
Производственные помещения с категориями работ: |
|
|
легкой Iа |
21 (18) |
|
|
Iб |
20 (17) |
|
|
средней тяжести IIа |
17 (15) |
|
|
IIб |
15 (13) |
|
|
тяжелой III |
13 (12) |
|
|
Примечания 1. В пп. 1, 2 в скобках даны значения расчетной температуры воздуха в помещениях для престарелых и семей инвалидов. 2. В пп. 12, 13 в скобках даны значения расчетной температуры воздуха в помещениях общественных зданий, расположенных в северной строительно-климатической зоне и северной части о. Сахалин. 3. В п. 14 в скобках даны значения расчетной температуры воздуха в производственных помещениях с непостоянными рабочими местами. 4. Категории работ (п. 14) указываются в отраслевых нормативных документах. |
||
|
Республика, край область, пункт |
Средняя температура наиболее холодной пятидневки, °С |
Период со среднесуточной температурой воздуха < 8 °С |
Среднемесячная температура за июль, °С |
Максимальная из средних скоростей ветра по румбам за январь, м/с |
|
|
продолжительность, сут |
средняя температура, °С |
||||
|
Республика Адыгея |
|
|
|
|
|
|
Майкоп |
- 19 |
148 |
2,3 |
29 |
5,7 |
|
Республика Алтай |
|
|
|
|
|
|
Алейск |
- 38 |
216 |
- 7,8 |
26,9 |
6,8 |
|
Барнаул |
- 39 |
221 |
- 7,7 |
26 |
5,9 |
|
Беля |
- 23 |
223 |
- 2,7 |
22,3 |
7 |
|
Бийск |
- 38 |
222 |
- 7,8 |
25,9 |
4,7 |
|
Змеиногорск |
- 38 |
217 |
- 6,6 |
26 |
6,9 |
|
Катанда |
- 40 |
237 |
- 9,2 |
23,8 |
1,8 |
|
Кош-Агач |
- 46 |
262 |
- 12,8 |
21,3 |
4,1 |
|
Онгудай |
- 38 |
231 |
- 8,3 |
24,6 |
2,3 |
|
Родино |
- 38 |
215 |
- 8,1 |
27,5 |
6 |
|
Рубцовск |
- 38 |
213 |
- 7,4 |
27,4 |
7,9 |
|
Славгород |
- 37 |
215 |
- 8,7 |
27,3 |
6,2 |
|
Тогул |
- 37 |
225 |
- 7,3 |
25,1 |
- |
|
Амурская область |
|
|
|
|
|
|
Архара |
- 36 |
219 |
- 11,8 |
26,3 |
3,4 |
|
Белогорск |
- 37 |
223 |
- 11,9 |
26,6 |
2,7 |
|
Благовещенск |
- 34 |
218 |
- 10,6 |
27 |
3,4 |
|
Бомнак |
- 42 |
242 |
- 14,7 |
24,6 |
1,9 |
|
Братолюбовка |
- 37 |
229 |
- 12,4 |
25,6 |
- |
|
Бысса |
- 41 |
236 |
- 13,6 |
25,9 |
1,3 |
|
Гош |
- 42 |
233 |
- 14 |
25,7 |
1,5 |
|
Дамбуки |
- 43 |
244 |
- 14,3 |
24,8 |
5,2 |
|
Ерофей Павлович |
- 38 |
245 |
- 12,7 |
25,5 |
- |
|
Завитинск |
- 36 |
226 |
- 11,8 |
25,7 |
3,3 |
|
Зея |
- 42 |
238 |
- 13,8 |
25,5 |
3,5 |
|
Норский |
- 43 |
232 |
- 14,3 |
25,9 |
2,1 |
|
Склад |
|
|
|
|
|
|
Огорон |
- 40 |
247 |
- 13,3 |
24,1 |
3,2 |
|
Поярково |
- 37 |
222 |
- 11,9 |
26,6 |
3,4 |
|
Свободный |
- 39 |
229 |
- 12,4 |
26,6 |
- |
|
Сковородино |
- 40 |
247 |
- 13,4 |
25,4 |
4,7 |
|
Средняя |
- 45 |
262 |
- 16,1 |
25 |
- |
|
Нюкжа |
|
|
|
|
|
|
Тыган-Уркан |
- 37 |
245 |
- 12,4 |
25,4 |
5,2 |
|
Тында |
- 42 |
258 |
- 14,7 |
24,9 |
5,3 |
|
Унаха |
- 42 |
255 |
- 14 |
24,9 |
- |
|
Усть-Нюкжа |
- 44 |
253 |
- 14,9 |
25,3 |
4,3 |
|
Черняево |
- 41 |
235 |
- 12,7 |
25,9 |
1,9 |
|
Шимановск |
- 38 |
233 |
- 12,5 |
25,9 |
2,3 |
|
Экимчан |
- 44 |
253 |
- 14,4 |
24,5 |
2,2 |
|
Архангельская область |
|
|
|
|
|
|
Архангельск |
- 31 |
253 |
- 4,4 |
20,9 |
5,9 |
|
Борковская |
- 42 |
277 |
- 6,6 |
20,3 |
- |
|
Емецк |
- 33 |
249 |
- 4,7 |
21,8 |
- |
|
Койнас |
- 40 |
264 |
- 5,9 |
21,4 |
3,7 |
|
Мезень |
- 35 |
272 |
- 5,2 |
19,2 |
5,8 |
|
Онега |
- 31 |
248 |
- 3,9 |
21,2 |
4,6 |
|
Астраханская область |
|
|
|
|
|
|
Астрахань |
- 23 |
167 |
- 1,2 |
31 |
4,8 |
|
Верхний Баскунчак |
- 26 |
179 |
- 3 |
31,4 |
5,9 |
|
Республика Башкортостан |
|
|
|
|
|
|
Белорецк |
- 34 |
231 |
- 6,5 |
22,4 |
5,6 |
|
Дуван |
- 36 |
228 |
- 6,3 |
22,8 |
- |
|
Мелеуз |
- 35 |
210 |
- 6,4 |
26,2 |
5 |
|
Уфа |
- 35 |
213 |
- 5,9 |
24,2 |
5,5 |
|
Янаул |
- 37 |
226 |
- 6 |
24,9 |
7,6 |
|
Белгородская область |
|
|
|
|
|
|
Белогород |
- 23 |
191 |
- 1,9 |
25,7 |
5,9 |
|
Брянская область |
|
|
|
|
|
|
Брянск |
- 26 |
205 |
- 2,3 |
22,8 |
6,3 |
|
Республика Бурятия |
|
|
|
|
|
|
Бабушкин |
- 28 |
254 |
- 5,6 |
19,3 |
- |
|
Баргузин |
- 42 |
241 |
- 11,5 |
25 |
- |
|
Багдарин |
- 42 |
267 |
- 13 |
23,3 |
- |
|
Кяхта |
- 35 |
232 |
- 9 |
24,8 |
4 |
|
Монды |
- 33 |
266 |
- 8,1 |
21,7 |
5,2 |
|
Нижнеангарск |
- 33 |
258 |
9,6 |
21 |
- |
|
Сосново-Озерское |
- 38 |
261 |
- 10,6 |
22,8 |
- |
|
Уакит |
- 40 |
274 |
- 12,7 |
21,2 |
- |
|
Улан-Удэ |
- 37 |
237 |
- 10,4 |
25,9 |
2,8 |
|
Хоринск |
- 39 |
241 |
- 10,8 |
25,9 |
- |
|
Владимирская область |
|
|
|
|
|
|
Владимир |
- 28 |
213 |
- 3,5 |
23,3 |
4,5 |
|
Муром |
- 30 |
214 |
- 4 |
23,3 |
- |
|
Волгоградская область |
|
|
|
|
|
|
Волгоград |
- 25 |
178 |
- 2,2 |
30 |
8,1 |
|
Котельниково |
- 24 |
176 |
- 1,6 |
30,8 |
4,2 |
|
Эльтон |
- 26 |
181 |
- 3,6 |
31,3 |
4,6 |
|
Вологодская область |
|
|
|
|
|
|
Вологда |
- 32 |
231 |
- 4,1 |
22,3 |
6 |
|
Вытегра |
- 32 |
235 |
- 3,4 |
21,9 |
5,3 |
|
Никольск |
- 34 |
236 |
- 4,9 |
22,7 |
- |
|
Тотьма |
- 32 |
235 |
- 4,5 |
22,4 |
4,5 |
|
Воронежская область |
|
|
|
|
|
|
Воронеж |
- 26 |
196 |
- 3,1 |
25,9 |
5,1 |
|
Республика Дагестан |
|
|
|
|
|
|
Дербент |
- 9 |
138 |
3,7 |
28,2 |
5,2 |
|
Махачкала |
- 14 |
148 |
2,7 |
28,6 |
8,5 |
|
Ивановская область |
|
|
|
|
|
|
Иваново |
- 30 |
219 |
- 3,9 |
23,3 |
4,9 |
|
Кинешма |
- 31 |
221 |
- 4,1 |
23,8 |
- |
|
Иркутская область |
|
|
|
|
|
|
Алыгджер |
- 36 |
264 |
- 6,4 |
22,3 |
3,8 |
|
Бодайбо |
- 47 |
254 |
- 13,9 |
26,1 |
- |
|
Братск |
- 43 |
249 |
- 8,6 |
23,5 |
3,4 |
|
Верхняя Гутара |
- 37 |
273 |
- 7,7 |
21,9 |
- |
|
Дубровское |
- 50 |
257 |
- 12,3 |
25,5 |
- |
|
Ербогачен |
- 51 |
264 |
- 14,8 |
24,3 |
3,1 |
|
Жигалово |
- 47 |
252 |
- 13,3 |
25,6 |
- |
|
Зима |
- 42 |
239 |
- 9,7 |
24,8 |
4,8 |
|
Ика |
- 50 |
262 |
- 13 |
24,1 |
- |
|
Илимск |
- 45 |
255 |
- 11 |
25,5 |
- |
|
Иркутск |
- 36 |
240 |
- 8,5 |
24,7 |
2,9 |
|
Ичера |
- 50 |
254 |
- 12,9 |
25,1 |
- |
|
Киренск |
- 49 |
251 |
- 12,3 |
25,1 |
4,4 |
|
Мама |
- 46 |
255 |
- 12,6 |
25,8 |
- |
|
Марково |
- 49 |
250 |
- 12,3 |
25,6 |
4,2 |
|
Наканно |
- 54 |
268 |
- 16,5 |
23,9 |
- |
|
Невон |
- 48 |
253 |
- 11,1 |
25 |
- |
|
Непа |
- 50 |
261 |
- 12,9 |
24,2 |
- |
|
Орлинга |
- 46 |
253 |
- 11,6 |
25,1 |
- |
|
Перевоз |
- 46 |
262 |
- 12,4 |
24,9 |
- |
|
Преображенка |
- 50 |
259 |
- 13,3 |
24,5 |
- |
|
Слюдянка |
- 28 |
254 |
- 6,4 |
19,8 |
1,5 |
|
Тайшет |
- 40 |
240 |
- 8,3 |
24,8 |
6,4 |
|
Тулун |
- 40 |
247 |
- 9 |
24,0 |
4,4 |
|
Усть-Ордынский - Бурятский АО |
- 41 |
243 |
- 10,9 |
25,2 |
- |
|
Кабардино-Балкарская Республика |
|
|
|
|
|
|
Нальчик |
- 18 |
168 |
0,6 |
27 |
2,5 |
|
Калининградская область |
|
|
|
|
|
|
Калининград |
- 19 |
193 |
1,1 |
22,4 |
5,9 |
|
Республика Калмыкия - Хальмг Тангч |
|
|
|
|
|
|
Элиста |
- 23 |
173 |
- 1,2 |
31 |
7,6 |
|
Калужская область |
|
|
|
|
|
|
Калуга |
- 27 |
210 |
- 2,9 |
23,4 |
4,9 |
|
Камчатская область |
|
|
|
|
|
|
Апука - Корякский АО |
- 29 |
300 |
- 5,1 |
13,2 |
- |
|
Ича - Корякский АО |
- 25 |
282 |
- 3,8 |
14,1 |
- |
|
Ключи |
- 35 |
257 |
- 6,3 |
19,5 |
7,2 |
|
Козыревск |
- 37 |
256 |
- 7,3 |
21,1 |
- |
|
Корф - Корякский АО |
- 30 |
281 |
- 6,9 |
15,5 |
- |
|
Лопатка, мыс |
- 13 |
306 |
0 |
11,4 |
- |
|
Мильково |
- 38 |
256 |
- 8,3 |
21,3 |
- |
|
Начики |
- 36 |
280 |
- 7,0 |
18 |
5,4 |
|
о. Беринга |
- 11 |
292 |
0,4 |
12,5 |
10,1 |
|
Оссора - Корякский АО |
- 31 |
281 |
- 6 |
15,7 |
- |
|
Петропавловск-Камчатский |
- 20 |
259 |
1,6 |
16,8 |
9 |
|
Семлячики |
- 16 |
267 |
1,2 |
16 |
12,2 |
|
Соболево |
- 30 |
275 |
- 4,8 |
16,3 |
3,8 |
|
Кроноки |
- 20 |
280 |
- 2,2 |
15,4 |
- |
|
Ука |
- 34 |
281 |
- 6,7 |
17 |
9,2 |
|
Октябрьская |
- 25 |
281 |
- 3,5 |
13,9 |
6,4 |
|
Усть-Воямполка - Корякский АО |
- 35 |
295 |
- 6,2 |
13,7 |
9,1 |
|
Усть-Камчатск |
- 28 |
277 |
- 4 |
15,6 |
7,1 |
|
Усть-Хайрюзово |
- 31 |
278 |
- 5,2 |
15,5 |
8,1 |
|
Карачаево-Черкесская Республика |
|
|
|
|
|
|
Черкесск |
- 18 |
169 |
0,6 |
27,2 |
- |
|
Республика Карелия |
|
|
|
|
|
|
Кемь |
- 27 |
258 |
- 3,2 |
17,8 |
5,7 |
|
Лоухи |
- 31 |
261 |
- 4,2 |
19,8 |
- |
|
Олонец |
- 29 |
233 |
- 3,2 |
29,1 |
6,5 |
|
Паданы |
- 29 |
251 |
- 3,5 |
20 |
4,6 |
|
Петрозаводск |
- 29 |
240 |
- 3,1 |
20,3 |
5,9 |
|
Реболы |
- 32 |
251 |
- 4 |
20,6 |
- |
|
Кемеровская область |
|
|
|
|
|
|
Кемерово |
- 39 |
231 |
- 8,3 |
25,1 |
6,8 |
|
Киселевск |
- 39 |
227 |
- 7,3 |
24,9 |
5,5 |
|
Кондома |
- 40 |
236 |
- 7,8 |
24,7 |
3,6 |
|
Мариинск |
- 40 |
235 |
- 7,7 |
24,5 |
5,7 |
|
Тайга |
- 39 |
240 |
- 8,3 |
23,6 |
6,6 |
|
Тисуль |
- 40 |
236 |
- 7,3 |
24,3 |
- |
|
Топки |
- 39 |
235 |
- 8,2 |
23,8 |
- |
|
Усть-Кабырза |
- 41 |
241 |
- 9 |
24,6 |
- |
|
Кировская область |
|
|
|
|
|
|
Вятка |
- 33 |
231 |
- 5,4 |
23,1 |
5,3 |
|
Нагорское |
- 34 |
239 |
- 5,8 |
22,2 |
- |
|
Савали |
- 33 |
220 |
- 5,7 |
24,4 |
- |
|
Республика Коми |
|
|
|
|
|
|
Вендинга |
- 39 |
257 |
- 5,9 |
22 |
3,8 |
|
Воркута |
- 41 |
306 |
- 9,1 |
18 |
10,1 |
|
Объячево |
- 34 |
239 |
- 5,3 |
22,3 |
- |
|
Петрунь |
- 43 |
286 |
- 8,6 |
19,2 |
- |
|
Печора |
- 43 |
270 |
- 7,9 |
21,7 |
5,6 |
|
Сыктывкар |
- 36 |
245 |
- 5,8 |
22,2 |
5,5 |
|
Троицко-Печорск |
- 41 |
258 |
- 6,9 |
21,6 |
4,8 |
|
Усть-Уса |
- 41 |
279 |
- 7,6 |
19,5 |
- |
|
Усть-Цильма |
- 39 |
272 |
- 6,6 |
19,7 |
- |
|
Усть-Щугор |
- 45 |
268 |
- 7,9 |
21 |
5 |
|
Ухта |
- 39 |
261 |
- 6,4 |
21,3 |
4,8 |
|
Костромская область |
|
|
|
|
|
|
Кострома |
- 31 |
222 |
- 3,9 |
23,1 |
5,8 |
|
Чухлома |
- 32 |
230 |
- 4,3 |
22,5 |
- |
|
Шарья |
- 32 |
228 |
- 4,7 |
23,1 |
4,5 |
|
Краснодарский край |
|
|
|
|
|
|
Краснодар |
- 19 |
149 |
2 |
29,8 |
3,2 |
|
Сочи |
- 3 |
72 |
6,4 |
26,6 |
6,5 |
|
Тихорецк |
- 22 |
158 |
1,1 |
30 |
6,8 |
|
Красноярский край |
|
|
|
|
|
|
Агата |
- 53 |
293 |
- 16,3 |
20,4 |
- |
|
Ачинск |
- 41 |
237 |
- 7,6 |
24,2 |
5,7 |
|
Байкит - Эвенкийский АО |
- 50 |
267 |
- 13,9 |
24,5 |
19 |
|
Боготол |
- 39 |
239 |
- 7,6 |
23,8 |
- |
|
Богучаны |
- 46 |
245 |
- 10,8 |
25,7 |
5,3 |
|
Ванавара - Эвенкийский АО |
- 51 |
262 |
- 13,7 |
24,7 |
3,3 |
|
Бельмо |
- 49 |
264 |
- 12,5 |
24,3 |
- |
|
Верхнеимбатск |
- 48 |
266 |
- 11,5 |
22,7 |
4,3 |
|
Волочанка |
- 50 |
306 |
- 16,1 |
18 |
6,1 |
|
Диксон - Таймырский АО |
- 41 |
365 |
- 11,4 |
7,5 |
12,2 |
|
Дудинка - Таймырский АО |
- 47 |
303 |
- 14,3 |
18,1 |
7,7 |
|
Енисейск |
- 46 |
245 |
- 9,6 |
24,5 |
3,7 |
|
Ессей - Эвенкийский АО |
- 55 |
298 |
- 17,7 |
18,8 |
2,5 |
|
Игарка |
- 49 |
285 |
- 13,9 |
20,3 |
7,8 |
|
Канск |
- 42 |
237 |
- 8,8 |
25,5 |
7,3 |
|
Кежма |
- 48 |
252 |
- 12,3 |
24,9 |
4,5 |
|
Ключи |
- 39 |
240 |
- 7,4 |
24,5 |
- |
|
Красноярск |
- 40 |
234 |
- 7,1 |
24,3 |
6,2 |
|
Минусинск |
- 40 |
225 |
- 8,8 |
26,6 |
4,8 |
|
Таимба |
- 51 |
264 |
- 13,6 |
24,9 |
- |
|
Троицкое |
- 47 |
251 |
- 9,8 |
25,4 |
- |
|
Тура - Эвенкийский АО |
- 55 |
271 |
- 16,9 |
23,5 |
2,7 |
|
Туруханск |
- 50 |
279 |
- 12,9 |
21,4 |
5,7 |
|
Хатанга - Таймырский АО |
- 49 |
311 |
- 17,1 |
17,6 |
5,8 |
|
Челюскин, мыс - Таймырский АО |
- 41 |
365 |
- 14,7 |
3,9 |
9,3 |
|
Ярцево |
- 47 |
254 |
- 10,8 |
24,1 |
4,7 |
|
Курганская область |
|
|
|
|
|
|
Курган |
- 37 |
216 |
- 7,7 |
25,2 |
- |
|
Курская область |
|
|
|
|
|
|
Курск |
- 26 |
198 |
- 2,4 |
24 |
5,3 |
|
Липецкая область |
|
|
|
|
|
|
Липецк |
- 27 |
202 |
- 3,4 |
25,9 |
5,9 |
|
Ленинградская область |
|
|
|
|
|
|
Свирица |
- 29 |
228 |
- 2,9 |
21,8 |
5,5 |
|
Тихвин |
- 29 |
227 |
- 2,8 |
22,5 |
5,5 |
|
Санкт-Петербург |
- 26 |
220 |
- 1,8 |
22 |
4,2 |
|
Магаданская область |
|
|
|
|
|
|
Аркагала |
- 51 |
289 |
- 19 |
20,7 |
6,4 |
|
Брохово |
- 36 |
285 |
- 8,7 |
15,7 |
11,7 |
|
Магадан (Нагаева бухта) |
- 29 |
288 |
- 7,1 |
14,9 |
7,3 |
|
Омсукчан |
- 50 |
286 |
- 17,2 |
19,5 |
6,9 |
|
Палатка |
- 38 |
280 |
- 10,7 |
19,4 |
7,6 |
|
Среднекан |
- 52 |
274 |
- 19,3 |
22,2 |
2 |
|
Сусуман |
- 55 |
286 |
- 19,9 |
20,6 |
4,4 |
|
Республика Марий Эл |
|
|
|
|
|
|
Йошкар-Ола |
- 34 |
220 |
- 5,1 |
24 |
6,2 |
|
Республика Мордовия |
|
|
|
|
|
|
Саранск |
- 30 |
209 |
- 4,5 |
24,9 |
6,9 |
|
Московская область |
|
|
|
|
|
|
Дмитров |
- 28 |
216 |
- 3,1 |
22,7 |
5,2 |
|
Кашира |
- 27 |
212 |
- 3,4 |
23,1 |
- |
|
Москва |
- 28 |
214 |
- 3,1 |
23,6 |
4,9 |
|
Мурманская область |
|
|
|
|
|
|
Вайда-Губа |
- 17 |
294 |
- 0,7 |
14 |
- |
|
Кандалакша |
- 30 |
266 |
- 3,9 |
19,1 |
5,7 |
|
Ковдор |
- 34 |
276 |
- 5,2 |
18,7 |
3,5 |
|
Краснощелье |
- 32 |
279 |
- 5 |
18,8 |
3 |
|
Ловозеро |
- 31 |
281 |
- 5 |
18,2 |
3,9 |
|
Мончегорск |
- 30 |
271 |
- 4,5 |
18,7 |
5,7 |
|
Мурманск |
- 27 |
275 |
- 3,2 |
17,5 |
7,5 |
|
Ниванкюль |
- 36 |
271 |
- 4,6 |
18,7 |
- |
|
Пулозеро |
- 35 |
277 |
- 4,8 |
18,5 |
2,5 |
|
Пялица |
- 25 |
298 |
- 2,8 |
14,2 |
- |
|
Териберка |
- 21 |
286 |
- 2 |
13,5 |
- |
|
Терско-Орловский |
- 22 |
312 |
- 2,5 |
13,5 |
- |
|
Умба |
- 29 |
265 |
- 3,7 |
18,7 |
- |
|
Юкспор |
- 24 |
340 |
- 4,5 |
12,5 |
- |
|
Нижегородская область |
|
|
|
|
|
|
Арзамас |
- 32 |
216 |
- 4,7 |
24,6 |
7,5 |
|
Выкса |
- 30 |
212 |
- 4 |
24,7 |
- |
|
Нижний Новгород |
- 31 |
215 |
- 4,1 |
23,5 |
5,1 |
|
Новгородская область |
|
|
|
|
|
|
Новгород |
- 27 |
221 |
- 2,3 |
22,7 |
6,6 |
|
Новосибирская область |
|
|
|
|
|
|
Барабинск |
- 39 |
230 |
- 9 |
24,8 |
6,5 |
|
Болотное |
- 39 |
231 |
- 8,2 |
24,8 |
5,6 |
|
Карасук |
- 37 |
218 |
- 8,9 |
26,3 |
- |
|
Кочки |
- 39 |
228 |
- 8,9 |
25,3 |
- |
|
Купино |
- 38 |
224 |
- 9 |
25,8 |
6,7 |
|
Кыштовка |
- 40 |
231 |
- 8,9 |
24,3 |
- |
|
Новосибирск |
- 39 |
230 |
- 8,7 |
24,6 |
5,7 |
|
Татарск |
- 39 |
229 |
- 8,9 |
24,8 |
4,8 |
|
Чулым |
- 39 |
230 |
- 8,8 |
24,7 |
6,2 |
|
Омская область |
|
|
|
|
|
|
Исиль-Куль |
- 36 |
225 |
- 8,6 |
24,4 |
5,2 |
|
Омск |
- 37 |
221 |
- 8,4 |
25 |
5,1 |
|
Тара |
- 40 |
234 |
- 8,8 |
23,5 |
4,5 |
|
Чердак |
- 37 |
217 |
- 8,7 |
26,1 |
5,4 |
|
Оренбургская область |
|
|
|
|
|
|
Оренбург |
- 31 |
202 |
- 6,3 |
28,5 |
5,5 |
|
Орловская область |
|
|
|
|
|
|
Орел |
- 26 |
205 |
- 2,7 |
24,1 |
6,5 |
|
Пензенская область |
|
|
|
|
|
|
Земетчино |
- 29 |
208 |
- 4,2 |
25,6 |
6,2 |
|
Пенза |
- 29 |
207 |
- 4,5 |
25,3 |
5,6 |
|
Пермская область |
|
|
|
|
|
|
Бисер |
- 36 |
254 |
- 6,8 |
20,9 |
3,5 |
|
Пермь |
- 35 |
229 |
- 5,9 |
23,4 |
5,2 |
|
Приморский край |
|
|
|
|
|
|
Анучино |
- 31 |
203 |
- 8,1 |
27,5 |
- |
|
Астраханка |
- 26 |
202 |
- 6,6 |
25,5 |
- |
|
Богополь |
- 21 |
208 |
- 4,2 |
25,1 |
- |
|
Владивосток |
- 24 |
196 |
- 3,9 |
24,8 |
9 |
|
Дальнереченск |
- 31 |
205 |
- 8,5 |
26,6 |
4,1 |
|
Мельничное |
- 32 |
225 |
- 9,3 |
26,5 |
- |
|
Партизанск |
- 22 |
198 |
- 4,5 |
25,4 |
8,4 |
|
Посьет |
- 19 |
192 |
- 2,9 |
24,7 |
- |
|
Преображение |
- 17 |
205 |
- 1,6 |
22,8 |
- |
|
Рудная Пристань |
- 20 |
219 |
- 3,1 |
22,4 |
9,1 |
|
Чугуевка |
- 32 |
211 |
- 8,6 |
27,5 |
- |
|
Псковская область |
|
|
|
|
|
|
Великие Луки |
- 27 |
212 |
- 1,9 |
23,2 |
6,1 |
|
Псков |
- 26 |
212 |
- 1,6 |
22,9 |
4,8 |
|
Ростовская область |
|
|
|
|
|
|
Миллерово |
- 25 |
184 |
- 2,1 |
28,4 |
7,9 |
|
Ростов-на-Дону |
- 22 |
171 |
- 0,6 |
29,1 |
6,5 |
|
Таганрог |
- 22 |
167 |
- 0,4 |
28,2 |
- |
|
Рязанская область |
|
|
|
|
|
|
Рязань |
- 27 |
208 |
- 3,5 |
24,1 |
7,3 |
|
Самарская область |
|
|
|
|
|
|
Самара |
- 30 |
203 |
- 5,2 |
25,9 |
5,4 |
|
Свердловская область |
|
|
|
|
|
|
Верхотурье |
- 37 |
236 |
- 6,8 |
23,4 |
- |
|
Екатеринбург |
- 35 |
230 |
- 6 |
23,1 |
5 |
|
Ивдель |
- 39 |
245 |
- 7,4 |
22,7 |
- |
|
Саратовская область |
|
|
|
|
|
|
Саратов |
- 27 |
196 |
- 4,3 |
27,5 |
5,6 |
|
Сахалинская область |
|
|
|
|
|
|
Александровск-Сахалинский |
- 27 |
240 |
- 6,2 |
20,5 |
7,8 |
|
Долинск |
- 24 |
231 |
- 4 |
22,2 |
5,6 |
|
Кировское |
- 36 |
246 |
- 9,2 |
21,5 |
5,7 |
|
Корсаков |
- 20 |
232 |
- 2,7 |
20,8 |
5,6 |
|
Курильск |
- 15 |
227 |
- 0,2 |
19,3 |
11,9 |
|
Макаров |
- 23 |
241 |
- 4,2 |
19,2 |
- |
|
Невельск |
- 16 |
218 |
- 1,8 |
20,9 |
7 |
|
Ноглики |
- 32 |
260 |
- 7,2 |
19,4 |
- |
|
Оха |
- 29 |
266 |
- 7,3 |
18,3 |
11,2 |
|
Погиби |
- 30 |
255 |
- 8,2 |
18,5 |
- |
|
Поронайск |
- 28 |
249 |
- 5,5 |
19,4 |
4,8 |
|
Рыбновск |
- 33 |
255 |
- 8,9 |
18,8 |
- |
|
Холмск |
- 18 |
220 |
- 2,3 |
21 |
10,7 |
|
Южно-Курильск |
- 12 |
228 |
0,1 |
18,7 |
8,5 |
|
Южно-Сахалинск |
- 24 |
230 |
- 4,3 |
22,1 |
4,8 |
|
Республика Северная Осетия |
|
|
|
|
|
|
Владикавказ |
- 18 |
174 |
0,4 |
25,4 |
3 |
|
Смоленская область |
|
|
|
|
|
|
Вязьма |
- 27 |
217 |
- 2,8 |
21,8 |
- |
|
Смоленск |
- 26 |
215 |
- 2,4 |
22,3 |
6,8 |
|
Ставропольский край |
|
|
|
|
|
|
Арзгир |
- 22 |
163 |
0,1 |
31,5 |
4,6 |
|
Ставрополь |
- 19 |
168 |
0,9 |
27,4 |
7,4 |
|
Тамбовская область |
|
|
|
|
|
|
Тамбов |
- 28 |
201 |
- 3,7 |
25,6 |
4,7 |
|
Республика Татарстан |
|
|
|
|
|
|
Бутульма |
- 33 |
221 |
- 5,8 |
23,9 |
7,5 |
|
Елабуга |
- 34 |
215 |
- 5,5 |
25,3 |
4,7 |
|
Казань |
- 32 |
215 |
- 5,2 |
24,7 |
5,7 |
|
Тверская область |
|
|
|
|
|
|
Бежецк |
- 31 |
222 |
- 3,4 |
22,2 |
5 |
|
Тверь |
- 29 |
218 |
- 3 |
23 |
6,2 |
|
Ржев |
- 28 |
217 |
- 2,7 |
22,5 |
- |
|
Томская область |
|
|
|
|
|
|
Александровское |
- 42 |
252 |
- 9,6 |
22,7 |
4,3 |
|
Колпашево |
- 42 |
243 |
- 9,1 |
23,6 |
4,8 |
|
Средний Васюган |
- 41 |
244 |
- 8,8 |
23,7 |
3,8 |
|
Томск |
- 40 |
236 |
- 8,4 |
23,7 |
5,6 |
|
Усть-Озерное |
- 43 |
248 |
- 9,5 |
24,4 |
3,6 |
|
Республика Тыва |
|
|
|
|
|
|
Кызыл |
- 47 |
225 |
- 15 |
26,9 |
1,7 |
|
Тульская область |
|
|
|
|
|
|
Тула |
- 27 |
207 |
- 3 |
24,3 |
4,9 |
|
Тюменская область |
|
|
|
|
|
|
Березово - Ханты-Мансийский АО |
- 43 |
267 |
- 9,7 |
20,4 |
4,1 |
|
Демьянское |
- 40 |
241 |
- 8 |
22,6 |
4,6 |
|
Кондинское - Ханты-Мансийский АО |
- 40 |
238 |
- 8,6 |
24 |
4,7 |
|
Леуши |
- 39 |
238 |
- 7,4 |
22,8 |
- |
|
Марресаля |
- 39 |
365 |
- 8,1 |
11,2 |
- |
|
Надым |
- 44 |
283 |
- 11,6 |
20,9 |
- |
|
Октябрьское |
- 41 |
261 |
- 9 |
22,3 |
5,2 |
|
Салехард |
- 42 |
292 |
- 11,4 |
18,7 |
4,6 |
|
Сосьва |
- 44 |
261 |
- 9,5 |
22,3 |
- |
|
Сургут - Ханты-Мансийский АО |
- 43 |
257 |
- 9,9 |
21,7 |
5,3 |
|
Тарко-Сале - Ямало-Ненецкий АО |
- 46 |
278 |
- 12,2 |
21,2 |
5 |
|
Тобольск |
- 39 |
232 |
- 8,1 |
23,6 |
6,3 |
|
Тюмень |
- 38 |
225 |
- 7,2 |
24 |
3,9 |
|
Угут |
- 42 |
251 |
- 9,1 |
23,3 |
4,4 |
|
Уренгой - Ямало-Ненецкий АО |
- 46 |
286 |
- 13,1 |
20,7 |
- |
|
Ханты-Мансийск - Ханты-Мансийский АО |
- 41 |
250 |
- 8,8 |
22,6 |
6,9 |
|
Удмуртская Республика |
|
|
|
|
|
|
Глазов |
- 35 |
231 |
- 6 |
23,6 |
4,9 |
|
Ижевск |
- 34 |
222 |
- 5,6 |
24,1 |
4,8 |
|
Сарапул |
- 34 |
220 |
- 5,9 |
24,6 |
- |
|
Ульяновская область |
|
|
|
|
|
|
Сурское |
- 31 |
211 |
- 4,8 |
25,1 |
- |
|
Ульяновск |
- 31 |
212 |
- 5,4 |
25,7 |
- |
|
Хабаровский край |
|
|
|
|
|
|
Аян |
- 28 |
278 |
- 7,4 |
16,5 |
- |
|
Байдуков |
- 31 |
255 |
- 9 |
18,7 |
- |
|
Бикин |
- 32 |
208 |
- 9,1 |
27,2 |
3,2 |
|
Вира |
- 31 |
220 |
- 9,1 |
26,1 |
- |
|
Биробиджан |
- 32 |
219 |
- 10,4 |
26 |
- |
|
Вяземский |
- 31 |
213 |
- 9,3 |
26,4 |
4,1 |
|
Гвасюги |
- 35 |
228 |
- 10,4 |
26,7 |
- |
|
Гроссевичи |
- 22 |
248 |
- 4,3 |
19,2 |
- |
|
Де-Кастри |
- 27 |
256 |
- 6,9 |
19,5 |
- |
|
Джаорэ |
- 30 |
252 |
- 7,9 |
19,2 |
- |
|
Екатерино-Никольское |
- 30 |
213 |
- 8,8 |
26,5 |
7,9 |
|
Комсомольск-на-Амуре |
- 35 |
223 |
- 10,8 |
25,2 |
5,7 |
|
Нижнетамбовское |
- 36 |
229 |
- 10,9 |
25,2 |
- |
|
Николаевск-на-Амуре |
- 35 |
249 |
- 9,6 |
21,5 |
4,5 |
|
Облучье |
- 36 |
227 |
- 11,5 |
25,8 |
- |
|
Охотск |
- 33 |
280 |
- 9,5 |
16,4 |
- |
|
Им. Полины Осипенко |
- 41 |
240 |
- 12,2 |
24,6 |
- |
|
Сизиман |
- 26 |
263 |
- 6,2 |
19,4 |
- |
|
Советская Гавань |
- 27 |
243 |
- 6 |
21,66 |
- |
|
Софийский Прииск |
- 43 |
268 |
- 14,3 |
22,6 |
2,3 |
|
Средний Ургал |
- 40 |
238 |
- 13,3 |
26 |
- |
|
Троицкое |
- 31 |
217 |
- 9,7 |
25,3 |
- |
|
Хабаровск |
- 31 |
211 |
- 9,3 |
25,7 |
5,9 |
|
Чумикан |
- 32 |
274 |
- 8,8 |
18,3 |
10,3 |
|
Энкэн |
- 28 |
281 |
- 7,7 |
17,3 |
- |
|
Республика Хакассия |
|
|
|
|
|
|
Абакан |
- 40 |
225 |
- 9,7 |
26,2 |
- |
|
Шира |
- 38 |
236 |
- 7,7 |
24,1 |
4,1 |
|
Челябинская область |
|
|
|
|
|
|
Челябинск |
- 34 |
218 |
- 6,5 |
24,1 |
4,5 |
|
Чеченская Республика |
|
|
|
|
|
|
Грозный |
- 18 |
160 |
0,9 |
30,7 |
3,5 |
|
Читинская область |
|
|
|
|
|
|
Агинское |
- 36 |
238 |
- 10,4 |
25,3 |
- |
|
Акта |
- 34 |
237 |
- 9,6 |
25,6 |
5,2 |
|
Александровский Завод |
- 38 |
250 |
- 12 |
23,9 |
- |
|
Борзя |
- 40 |
236 |
- 12 |
26 |
- |
|
Дарасун |
- 34 |
247 |
- 9,5 |
24,4 |
- |
|
Калакан |
- 47 |
260 |
- 16 |
25,3 |
- |
|
Красный Чикой |
- 39 |
244 |
- 10,9 |
24,8 |
- |
|
Могоча |
- 41 |
254 |
- 13,4 |
24,1 |
5,2 |
|
Нерчинск |
- 44 |
233 |
- 14,1 |
26,7 |
4,4 |
|
Нерчинский Завод |
- 41 |
237 |
- 12,7 |
25,2 |
2,7 |
|
Средний Калар |
- 46 |
271 |
- 16,4 |
24 |
- |
|
Тунгокочен |
- 45 |
262 |
- 13,8 |
23,9 |
- |
|
Тупик |
- 44 |
260 |
- 14,8 |
24,4 |
- |
|
Чара |
- 46 |
267 |
- 15,5 |
23,6 |
- |
|
Чита |
- 38 |
242 |
- 11,4 |
25,2 |
3,2 |
|
Чувашская Республика - Чаваш республики |
|
|
|
|
|
|
Порецкое |
- 31 |
212 |
- 4,6 |
24,7 |
6,4 |
|
Чебоксары |
- 32 |
217 |
- 4,9 |
24,1 |
- |
|
Чукотский АО (Магаданская область) |
|
|
|
|
|
|
Анадырь |
- 40 |
311 |
- 10,5 |
14,7 |
11,4 |
|
Марково |
- 48 |
286 |
- 14,3 |
19,2 |
6 |
|
Островное |
- 51 |
288 |
- 17,8 |
19,2 |
4,5 |
|
Усть-Олой |
- 51 |
286 |
- 18,4 |
19,4 |
- |
|
Эньмувеем |
- 48 |
294 |
- 14,5 |
18,4 |
- |
|
Республика Саха (Якутия) |
|
|
|
|
|
|
Алдан |
- 42 |
267 |
- 13,3 |
22,6 |
4,1 |
|
Аллах-Юнь |
- 54 |
280 |
- 21,4 |
22,2 |
3,2 |
|
Амга |
- 55 |
259 |
- 21,3 |
25,4 |
2,5 |
|
Батамай |
- 52 |
265 |
- 20,8 |
23,3 |
- |
|
Бердигястях |
- 54 |
268 |
- 19,6 |
23,9 |
- |
|
Буяга |
- 52 |
266 |
- 18,2 |
25,1 |
- |
|
Верхоянск |
- 59 |
279 |
- 24,1 |
22,1 |
2,1 |
|
Вилюйск |
- 52 |
262 |
- 18,2 |
24,5 |
3 |
|
Витим |
- 51 |
257 |
- 13,7 |
25,1 |
4,9 |
|
Воронцово |
- 51 |
297 |
- 19,6 |
17,3 |
- |
|
Джалинда |
- 56 |
296 |
- 19,5 |
19,7 |
- |
|
Джарджан |
- 52 |
284 |
- 19 |
20,3 |
6,1 |
|
Джикимда |
- 51 |
259 |
- 16,5 |
26,4 |
- |
|
Дружина |
- 52 |
284 |
- 20,2 |
18,9 |
2,8 |
|
Екючю |
- 58 |
281 |
- 23 |
22,3 |
- |
|
Жиганск |
- 51 |
278 |
- 19,3 |
21,4 |
5,1 |
|
Зырянка |
- 51 |
274 |
- 19,2 |
20,8 |
5,3 |
|
Исить |
- 50 |
256 |
- 17,4 |
24,7 |
5,4 |
|
Иэма |
- 57 |
292 |
- 22,9 |
19,6 |
- |
|
Крест-Хальджай |
- 55 |
256 |
- 22,1 |
24,6 |
- |
|
Кюсюр |
- 54 |
298 |
- 18,7 |
17,6 |
7,7 |
|
Ленек |
- 49 |
259 |
- 14,2 |
24,7 |
- |
|
Нагорный |
- 41 |
275 |
- 14,2 |
22,1 |
6,6 |
|
Нера |
- 58 |
272 |
- 23,8 |
22,5 |
- |
|
Нюрба |
- 52 |
263 |
- 17,7 |
24,1 |
3,3 |
|
Нюя |
- 50 |
253 |
- 14,2 |
24,9 |
5,3 |
|
Оймякон |
- 60 |
286 |
- 24,3 |
21,6 |
1 |
|
Олекминск |
- 50 |
256 |
- 15,3 |
25,1 |
3,5 |
|
Оленек |
- 57 |
290 |
- 20 |
21,1 |
2,4 |
|
Охотский Перевоз |
- 55 |
260 |
- 21,7 |
24,2 |
1,8 |
|
Сангар |
- 50 |
261 |
- 19,6 |
23,4 |
7,6 |
|
Саскылах |
- 53 |
314 |
- 17,8 |
17,3 |
- |
|
Среднеколымск |
- 51 |
287 |
- 18,9 |
19 |
2,9 |
|
Сунтар |
- 51 |
260 |
- 16,5 |
24,7 |
3,3 |
|
Сухана |
- 57 |
286 |
- 20,6 |
21,1 |
4 |
|
Сюльдюкар |
- 53 |
270 |
- 18 |
24,2 |
- |
|
Сюрен-Кюель |
- 46 |
292 |
- 17,4 |
19,2 |
8,7 |
|
Токо |
- 51 |
279 |
- 18,4 |
22,4 |
- |
|
Томмот |
- 51 |
262 |
- 17,1 |
25,5 |
- |
|
Томпо |
- 55 |
276 |
- 22,2 |
23,2 |
3,1 |
|
Туой-Хая |
- 52 |
266 |
- 15,8 |
23,5 |
3 |
|
Тяня |
- 50 |
262 |
- 15,7 |
26,2 |
- |
|
Усть-Мая |
- 54 |
256 |
- 20,1 |
24,6 |
2,2 |
|
Усть-Миль |
- 51 |
259 |
- 18,9 |
25 |
- |
|
Усть-Мома |
- 58 |
277 |
- 23,1 |
21,8 |
3,8 |
|
Чульман |
- 49 |
270 |
- 17,1 |
23,7 |
2,3 |
|
Чурапча |
- 56 |
239 |
- 21,8 |
24,9 |
- |
|
Шелагонцы |
- 57 |
285 |
- 20,1 |
21,9 |
2,3 |
|
Эйик |
- 52 |
284 |
- 18,5 |
20,8 |
- |
|
Якутск |
- 54 |
256 |
- 20,6 |
25,2 |
2,6 |
|
Ненецкий АО (Архангельская область) |
|
|
|
|
|
|
Варандей |
- 36 |
323 |
- 7,3 |
13 |
- |
|
Индига |
- 33 |
305 |
- 5,1 |
14,2 |
10,6 |
|
Канин Нос |
- 23 |
325 |
- 2 |
11,4 |
10,1 |
|
Коткино |
- 41 |
285 |
- 7,1 |
18,8 |
- |
|
Нарьян-Мар |
- 37 |
290 |
- 7,2 |
17,6 |
6,3 |
|
Ходовариха |
- 32 |
330 |
- 6,2 |
11,1 |
- |
|
Хоседа-Хард |
- 42 |
296 |
- 8,6 |
18,8 |
7,2 |
|
Ярославская область |
|
|
|
|
|
|
Ярославль |
- 31 |
221 |
- 4 |
23,2 |
5,5 |
|
Температура воздуха под фонарем, °С |
Температура точки росы, °С, при относительной влажности внутреннего воздуха, % |
||||||
|
60 |
55 |
50 |
45 |
40 |
35 |
30 |
|
|
12 |
4,5 |
3,3 |
1,9 |
0,4 |
- 1,0 |
- 2,9 |
- 4,4 |
|
13 |
5,4 |
4,2 |
2,8 |
1,4 |
- 0,2 |
- 1,8 |
- 3,7 |
|
14 |
6,4 |
5,1 |
3,8 |
2,3 |
0,6 |
- 1,0 |
- 2,9 |
|
15 |
7,3 |
6,0 |
4,7 |
3,1 |
1,5 |
- 0,3 |
- 2,2 |
|
16 |
8,2 |
7,0 |
5,5 |
4,1 |
2,4 |
0,5 |
- 1,4 |
|
17 |
9,2 |
7,9 |
6,5 |
5,0 |
3,3 |
1,4 |
- 0,6 |
|
18 |
10,1 |
8,8 |
7,4 |
5,9 |
4,2 |
2,3 |
0,2 |
|
19 |
11,1 |
9,8 |
8,3 |
6,8 |
5,1 |
3,2 |
1,0 |
|
20 |
12 |
10,7 |
9,3 |
7,7 |
6,0 |
4,1 |
1,9 |
|
21 |
12,9 |
11,6 |
10,2 |
8,6 |
6,9 |
5,0 |
2,7 |
|
22 |
13,9 |
12,5 |
11,1 |
9,5 |
7,8 |
5,8 |
3,6 |
|
23 |
14,8 |
13,5 |
12,0 |
10,4 |
8,7 |
6,7 |
4,5 |
|
24 |
15,7 |
14,4 |
13,0 |
11,3 |
9,6 |
7,6 |
5,4 |
|
25 |
16,7 |
15,3 |
13,9 |
12,2 |
10,5 |
8,5 |
6,3 |
|
26 |
17,6 |
16,2 |
14,8 |
13,1 |
11,4 |
9,3 |
7,1 |
|
27 |
18,6 |
17,2 |
15,7 |
14,0 |
12,3 |
10,3 |
7,9 |
|
28 |
19,5 |
18,1 |
16,6 |
15,0 |
13,2 |
11,1 |
8,8 |
|
Примечание - При определении температуры точки росы относительная влажность воздуха (см. 2.10 СНиП II-3-79*) принимается: - в помещениях жилых, а также больничных, детских учреждений, домов-интернатов - 55 %, - в административных помещениях и помещениях общественных зданий - 50 %, - в производственных помещениях, в которых отсутствуют технологические влаговыделения, - 45 %. |
|||||||
|
Световые проемы |
Ориентация световых проемов по сторонам горизонта |
Коэффициент светового климата mN |
||||
|
Номер группы административных районов |
||||||
|
1 |
2 |
3 |
4 |
5 |
||
|
Прямоугольных светоаэрационных фонарей |
С - Ю |
1 |
0,9 |
1,1 |
1,2 |
0,75 |
|
СВ - ЮЗ |
1 |
0,9 |
1,2 |
1,2 |
0,7 |
|
|
ЮВ - СЗ |
|
|
|
|
|
|
|
В - 3 |
1 |
0,9 |
1,1 |
1,2 |
0,7 |
|
|
Зенитных фонарей |
- |
1 |
0,9 |
1,2 |
1,2 |
0,75 |
|
Примечание - В таблице принято следующее условное обозначение ориентации световых проемов относительно сторон горизонта: С - северная; СВ - северо-восточная; СЗ - северо-западная; 3 - западная; В - восточная; ЮВ - юго-восточная; ЮЗ - юго-западная; Ю - южная. |
||||||
|
Номер группы |
Административный район |
|
1 |
Московская, Смоленская, Владимирская, Калужская, Тульская, Рязанская, Нижегородская, Свердловская, Пермская, Челябинская, Курганская, Новосибирская, Кемеровская области, Мордовия, Чувашия, Удмуртия, Башкортостан, Татарстан, Красноярский край (севернее 63° с. ш.), Республика Саха (Якутия) (севернее 63° с. ш.), Чукотский авт. округ, Хабаровский край (севернее 55° с. ш.), Республика Марий Эл |
|
2 |
Брянская, Курская, Орловская, Белгородская, Воронежская, Липецкая, Тамбовская, Пензенская, Самарская, Ульяновская, Оренбургская, Саратовская, Волгоградская области, Республика Коми, Кабардино-Балкарская Республика, Северо-Осетинская Республика, Чеченская Республика, Ингушская Республика, Ханты-Мансийский авт. округ, Алтайский край, Красноярский край (южнее 63° с. ш.), Республика Саха (Якутия) (южнее 63° с. ш.), Республика Тува, Бурятская Республика, Читинская область, Хабаровский край (севернее 55° с. ш.), Магаданская обл. |
|
3 |
Калининградская, Псковская, Новгородская, Тверская, Ярославская, Ивановская, Ленинградская, Вологодская, Костромская, Кировская области, Карельская Республика, Ямало-Ненецкий авт. округ, Ненецкий авт. округ |
|
4 |
Архангельская, Мурманская области |
|
5 |
Калмыцкая Республика, Ростовская, Астраханская области, Ставропольский край, Республика Дагестан, Амурская область, Приморский край |
|
№ п.п. |
Помещения |
Разряд и подразряд зрительной работы |
|
1. ПОМЕЩЕНИЯ ЖИЛЫХ ЗДАНИЙ |
||
|
1 |
Общие комнаты, гостиные, спальни |
В |
|
2 |
Жилые комнаты общежитий, игровые |
Б-2 |
|
3 |
Кабинеты, библиотеки |
Б-1 |
|
4 |
Кухни, кухни-столовые, раздевалки, бассейны, тренажерные залы, привратницкие |
В |
|
5 |
Лестничные клетки |
З |
|
2. ПОМЕЩЕНИЯ ОБЩЕСТВЕННЫХ, АДМИНИСТРАТИВНО-БЫТОВЫХ И ВСПОМОГАТЕЛЬНЫХ ЗДАНИЙ А. Органы управления, общественные, конструкторские, проектные, научно-исследовательские, организации, учреждения финансирования |
||
|
1 |
Кабинеты, рабочие комнаты, представительства, проектные кабинеты, комнаты совещаний, общественных организаций, экспертизы, помещения для посетителей, обслуживающего персонала, нотариальные конторы, читальные залы |
Б-1 |
|
2 |
Проектные залы и комнаты, конструкторские бюро, архитектурные мастерские |
А-1 |
|
3 |
Машинописные бюро |
А-2 |
|
4 |
Читательские каталоги, лингафонные кабинеты, помещения тематических выставок, переплетные |
Б-2 |
|
5 |
Редакционно-оформительские |
А-1 |
|
6 |
Подготовки изготовления печатных форм, печатные |
А-2 |
|
7 |
Макетные, столярные и ремонтные мастерские |
III |
|
8 |
Помещения для работы с видеоматериалами |
А-2 |
|
9 |
Рекреационные помещения, фойе |
Е |
|
10 |
Химические лаборатории, препараторские |
А-2 |
|
11 |
Аналитические лаборатории |
А-1 |
|
12 |
Лаборатории научно-технические (кроме медицинских учреждений), термические, физические, механические, электронных устройств и др. |
А-2 |
|
13 |
Операционные залы, кассовые залы, помещения для пересчета денег |
А-2 |
|
Б. Учебные организации (школы, специальные и высшие учебные заведения) |
||
|
14 |
Классные комнаты, аудитории, учебные кабинеты, лаборатории |
Б-1 |
|
15 |
Кабинеты вычислительной техники, информатики |
А-2 |
|
16 |
Кабинеты технического черчения, рисования |
А-1 |
|
17 |
Инструментальные комнаты мастера, инструктора, кабинеты преподавателей |
Б-1 |
|
18 |
Кабинеты обслуживающих видов труда |
А-2, Б-1 |
|
19 |
Спортивные залы |
Б-1 |
|
20 |
Актовые залы, киноаудитории, рекреации |
Д, Е |
|
В. Детские дошкольные учреждения |
||
|
21 |
Приемные, раздевальные |
Б-2 |
|
22 |
Групповые, игральные, столовые, комнаты для музыкальных и гимнастических занятий |
А-2 |
|
23 |
Спальные, изоляторы |
Б-2 |
|
Г. Физкультурно-оздоровительные учреждения |
||
|
24 |
Залы спортивных игр, аэробики, гимнастики, борьбы |
Б-2 |
|
25 |
Палаты и спальные комнаты санаториев, домов отдыха, бассейны |
В |
|
Д. Предприятия общественного питания |
||
|
26 |
Обеденные залы столовых, закусочных, ресторанов, кафе, баров, буфеты |
Б-2 |
|
27 |
Горячие и холодные заготовочные цехи, моечные, помещения для резки продуктов |
Б-2 |
|
28 |
Кондитерские цехи, мучных изделий, шоколада и конфет |
А-2 |
|
29 |
Цехи производства мороженого, приготовления напитков, подготовки продуктов, упаковки готовой продукции |
Б-3 |
|
Е. Магазины |
||
|
30 |
Торговые залы супермаркетов |
А-1 |
|
31 |
Торговые залы магазинов: книжных, готового платья, белья, обуви, тканей, меховых изделий, головных уборов, парфюмерных, галантерейных, ювелирных, электро- и радиотоваров, продовольственных без самообслуживания |
Б-1 |
|
32 |
Торговые залы продовольственных магазинов с самообслуживанием |
А-2 |
|
33 |
Торговые залы магазинов: посудных, мебельных, спортивных товаров, стройматериалов, электробытовых, машин, игрушек и канцелярских товаров, помещения отделов заказов, бюро обслуживания, помещения для подготовки товаров к продаже |
Б-2 |
|
34 |
Рекламно-декорационные мастерские, мастерские ремонта оборудования и инвентаря, помещения бракеров, помещения для нарезки тканей, гладильные мастерские, мастерские в магазинах радио- и электротоваров |
Б-1 |
|
35 |
Мастерские подгонки готового платья |
А-2 |
|
Ж. Предприятия бытового обслуживания, досуга населения |
||
|
36 |
Парикмахерские |
А-1, 2 |
|
37 |
Фотографии |
Б-2 |
|
38 |
Прачечные |
Б-1, 2 |
|
39 |
Ателье пошива и ремонта одежды и трикотажных изделий |
II |
|
40 |
Ремонтные мастерские |
II, III |
|
41 |
Пункты проката, помещения для посетителей |
Б-2 |
|
42 |
Помещения для игровых автоматов, настольных игр, компьютерных игр, бильярдные, комнаты кружков |
Б-1 |
|
43 |
Выставочные залы, фойе кинотеатров, клубов |
Д, Е |
|
44 |
Гостиницы |
Б-2, В |
|
45 |
Экспозиционные залы |
Б-2, В |
|
З. Учреждения здравоохранения, больницы |
||
|
46 |
Операционная, помещения гипотемии |
А-2 |
|
47 |
Родовая, диализационная, реанимационные залы, наркозная, перевязочная |
А-1 |
|
48 |
Предоперационная |
Б-1 |
|
49 |
Монтажные аппаратов искусственного кровообращения, искусственной почки и т.д. |
II |
|
50 |
Кабинеты хирургов, акушеров, гинекологов, травматологов, педиатров, инфекционистов, дерматологов, аллергологов, стоматологов, смотровые, приемно-смотровые боксы |
А-1 |
|
51 |
Кабинеты врачей (в амбулаторно-поликлинических учреждениях, не приведенных выше), кабинеты врачей без приема больных |
Б-1 |
|
52 |
Кабинеты функциональной диагностики, эндоскопические кабинеты |
Б-1 |
|
53 |
Фотарии, помещения электросветолечения, аэроионолечения, теплолечения, лечебной физкультуры, массажа, механотерапии |
Б-2 |
|
54 |
Кабинеты: рентгенобронхоскопии и лапароскопии, гидротерапии, лечебные ванны, душевые залы, флюорографии, рентгеновских снимков зубов, приготовления бария |
Б-2 |
|
55 |
Кабинеты для терапии излучениями высоких энергий, сканерная |
Б-1 |
|
56 |
Кабина внутриполостной гамма-терапии |
А-2 |
|
57 |
Палаты детских отделений для новорожденных, послеоперационные палаты, палаты интенсивной терапии, спальни матерей |
Б-1 |
|
58 |
Палаты психиатрических отделений, прочие палаты и спальни, приемные фильтры и боксы |
Б-2 |
|
Лаборатории медицинских учреждений |
||
|
59 |
Помещения приема, выдачи и регистрации анализов |
Б-2 |
|
60 |
Комната срочных анализов, боксы, кабинеты серологических исследований, колориметрические |
А-2 |
|
61 |
Препараторские и лаборантские общеклинических, гематологических и биохимических, бактериологических, гистологических и цитологических лабораторий, кабинеты врача-лаборанта, взятия проб крови, цитологических исследований, коагулографии, фотометрии, освоения методик, весовая, термостатная, средоварная с боксом для розлива сред, помещения для окраски проб, центрифужная |
Б-1 |
|
Аптеки |
||
|
62 |
Зал обслуживания посетителей |
Б-2 |
|
63 |
Рецептурный отдел, отделы готовых лекарственных средств, ручной продажи, оптики |
Б-1 |
|
64 |
Ассистентская, асептическая, аналитическая, фасовочная, заготовочная концентратов и полуфабрикатов, контрольно-маркировочная |
А-1 |
|
65 |
Стерилизационная посуды и лекарственных форм и дезинфекционное отделение |
VI |
|
Патологоанатомическое отделение |
||
|
66 |
Секционная |
А-2 |
|
67 |
Предсекционная, фиксационная, помещение для одевания трупов, траурный зал |
Б-2 |
|
Санитарно-эпидемиологические станции |
||
|
68 |
Диспетчерские, помещения для хранения готовых приманок и выдачи, фасовочные, выдачи дезинфекционных средств и бактерийных препаратов |
Б-2 |
|
69 |
Комнаты энтомологов, гельминтологов, вирусологов, бактериологов, лаборантские, химические, биохимические лаборатории, серологические боксы, препараторские |
А-2 |
|
70 |
Радиологические, радиохимические, помещения спектроскопии и полярографии, лаборатории акустики, вибрации, электромагнитных полей, физиологии труда, средневарочные с боксами, термитные |
Б-1 |
|
71 |
Моечные |
VI |
|
72 |
Помещения для взятия проб |
Б-1 |
|
73 |
Комнаты эпидемиологов, бактериологов, боксы серологических исследований особо опасных инфекций |
А-1 |
|
74 |
Комнаты зоопаразитолога для приема и разбора материала, зараженного опасными инфекциями |
Б-1 |
|
75 |
Биопробная, помещения для хранения питательных сред, предбоксы |
Б-2 |
|
76 |
Помещения дезкамер, стиральные цехи |
VI |
|
77 |
Виварий. Помещения для содержания животных |
А-2 |
|
Станции скорой и неотложной медицинской помощи |
||
|
78 |
Диспетчерская приема вызовов и направления бригад |
Б-1 |
|
79 |
Помещение радиопоста, комната выездных бригад |
Б-2 |
|
Молочные кухни, раздаточные пункты |
||
|
80 |
Помещения фильтрации и разлива молока, приготовления кисло-молочных продуктов и молочно-кислых смесей, приготовления и фасовки творога, подготовки фруктов, овощей и приготовления фруктовых и овощных смесей, подготовки рыбы, мяса и приготовления рыбных и мясных блюд |
Б-1 |
|
81 |
Раздаточная |
Б-2 |
|
Прочие помещения лечебных учреждений |
||
|
82 |
Процедурная, манипуляционная, кабинеты медицинских сестер, сестер-хозяек, посты дежурных медицинских сестер |
Б-1 |
|
83 |
Комнаты дневного пребывания для бесед с врачом, кормления детей до 1 года, сцеживания грудного молока и его стерилизации |
Б-2 |
|
84 |
Кабинеты главного врача, заместителя главного врача, заведующего отделением |
А-2 |
|
И. Вокзалы |
||
|
85 |
Залы ожидания |
Г |
|
86 |
Операционные, кассовые залы билетные, багажные кассы, помещения отделения связи, операторская, диспетчерская |
Б-1 |
|
87 |
Вычислительный центр |
А-2 |
|
88 |
Распределительные залы, вестибюли |
Е |
|
89 |
Комнаты матери и ребенка, длительного пребывания пассажиров |
В |
|
К. Прочие помещения вспомогательных и общественных зданий |
||
|
90 |
Вестибюли и гардеробные |
Е |
|
91 |
Лестницы: |
|
|
|
а) главные лестничные клетки |
В |
|
|
б) остальные лестничные клетки, главные коридоры и проходы |
Ж |
|
3. ПРОИЗВОДСТВЕННЫЕ ПОМЕЩЕНИЯ ПРЕДПРИЯТИЙ БЫТОВОГО ОБСЛУЖИВАНИЯ А. Станции технического обслуживания автотранспорта, транспортные предприятия, депо, стоянки |
||
|
1 |
Участки мойки и уборки подвижного состава |
VI |
|
2 |
Участки диагностирования |
III-IV |
|
3 |
Участки технического обслуживания и текущего ремонта |
IV-V |
|
4 |
Агрегатные участки |
III-IV |
|
5 |
Участки монтажа и ремонта автомобильных шин, кузнечный, сварочно-жестяночный, кузовной участки |
IV |
|
6 |
Окрасочный участок |
III |
|
7 |
Слесарно-механический участок |
II |
|
Б. Электропомещения |
||
|
8 |
Помещения распределительных устройств, диспетчерские, операторные, электрощитовые, электромашинные с постоянным дежурством персонала |
IV |
|
В. Помещения инженерных сетей и прочие технические помещения |
||
|
9 |
Машинные залы насосных, генераторные с постоянным дежурством персонала |
VIII |
|
10 |
Компрессорные (блоки, станции, помещения, залы) с постоянным дежурством персонала |
IV |
|
11 |
Помещения приготовления реагентов, углевальная, фтораторная, хлордозаторная, аммонизаторная, озонаторная, фильтровальные |
VIII |
|
12 |
Помещения вакуум-фильтров, центрифуг, фильтр-прессов, помещения сушки осадка |
VI |
|
13 |
Электролизерная |
VIII |
|
Г. Склады |
||
|
14 |
Экспедиция приема и выдачи груза |
IV |
|
Д. Пожарные депо |
||
|
15 |
Зона стоянки технического состава |
VIII |
|
16 |
Пост технического обслуживания |
V |
|
17 |
Аппаратная, пункт связи |
III |
|
Примечание - Нормирование значений КЕО принимается, как правило, в горизонтальной плоскости, расположенной на уровне рабочей поверхности (у.р.п) 0,8 м от пола; для основных помещений жилых домов, детских дошкольных учреждений, помещений для спортивных соревнований, мойки транспорта у.р.п принимается на отметке 0,0, в первой группе административных районов для жилых комнат и кухонь - на отм. + 0,5, для групповых, игральных, столовых и спален - на отм. + 1,5, для бассейнов в качестве у.р.п принимается поверхность воды, в экспозиционных залах - экспонаты. |
||
|
№ п.п. |
Виды помещений, особенности воздушной среды |
Назначение помещений |
Коэффициент запаса kз |
Колич. чисток светопрозрачного заполнения в год |
|||
|
Угол наклона светопропускающего заполнения к горизонту, град |
|||||||
|
0 - 15 |
16 - 45 |
46 - 75 |
76 - 90 |
||||
|
1 |
Помещения общественных и жилых зданий: |
|
|
|
|
|
|
|
|
а) с нормальной средой |
Кабинеты и рабочие помещения, жилые комнаты, учебные помещения, лаборатории, читальные залы, залы совещаний, торговые залы и т.д. |
1,5 |
1,4 |
1,3 |
1,2 |
1 - 2 |
|
|
б) запыленные, с высокой эксплуатационной температурой, с повышенной влажностью |
Горячие цехи предприятий общественного питания, охлаждаемые камеры, помещения для приготовления растворов в прачечных, душевые и т.д. |
2,0 |
1,8 |
1,7 |
1,6 |
3 |
|
2 |
Помещения производственных зданий с воздушной средой, содержащей в рабочей зоне: |
|
|
|
|
|
|
|
а) св. 5 мг/м3 пыли, дыма и копоти |
Агломерационные фабрики, цементные заводы и обрубные отделения литейных цехов |
2,0 |
1,8 |
1,7 |
1,5 |
4 |
|
|
б) от 1 до 5 мг/м3 пыли, дыма и копоти |
Цехи кузнечные, литейные, мартеновские, сборного железобетона |
1,8 |
1,6 |
1,5 |
1,4 |
3 |
|
|
в) менее 1 мг/м3 пыли, дыма и копоти |
Цехи инструментальные, сборочные, механические, механосборочные, пошивочные |
1,6 |
1,5 |
1,4 |
1,3 |
2 |
|
|
г) значительные концентрации паров, кислот, щелочей, газов, способных при соприкосновении с влагой образовывать слабые растворы кислот, щелочей, а также обладающих большой корродирующей способностью |
Цехи химических заводов по выработке кислот, щелочей, едких химических реактивов, ядохимикатов, удобрений, цехи гальванических покрытий и различных отраслей промышленности с применением электролиза |
2,0 |
1,8 |
1,7 |
1,5 |
3 |
|
|
Примечание - При применении узорчатого стекла значения коэффициента запаса следует умножать на 1,1. |
|||||||
Определение КЕО в точках помещения, расположенных на пересечении вертикальной плоскости характерного разреза помещения и условной рабочей поверхности или пола, производится по формуле
где eср - среднее геометрическое значение КЕО в помещении, освещаемом зенитными фонарями, определяют по формуле
где
- площадь световых
проемов фонарей, определенная согласно расчетам по 3.7.7, 3.7.9 настоящих
Рекомендаций.
В помещении со светоаэрационными фонарями eср определяют по формуле
где е2 - КЕО, определенный по графикам, представленным на рис. 3.12 настоящих Рекомендаций;
eв - геометрический коэффициент естественной освещенности в какой-либо точке помещения, определяемый по формуле
где п1 - количество лучей, определенное по графику I (рис. 1 данного приложения), проходящих от небосвода в расчетную точку через общее количество световых проемов, расположенных в поперечном разрезе помещения;
п2 - то же, по графику II (рис. 2 данного приложения) на
продольном разрезе помещения (п1
и п2 определяются отдельно для каждого
проема, и затем произведения
суммируются между собой).
Подсчет количества лучей для определения геометрического КЕО производится в следующей последовательности:
график I накладывается на поперечный разрез помещения, центр графика «0» совмещается с расчетной точкой, а нижняя линия графика - со следом рабочей поверхности;
подсчитывается количество лучей n1, попадающих в расчетную точку через световые проемы;
отмечается номер полуокружности графика I, которая проходит через середину светового проема;
график II накладывается на продольный разрез помещения, при этом его вертикальная ось и горизонталь, номер которой соответствует номеру полуокружности по графику I, проходит через середину светового проема;
подсчитывается количество лучей n2 по графику II, проходящих через световые проемы;
определяется eв по формуле (1).
Первая и последняя расчетные точки принимаются на расстоянии 1 м от поверхности стен (перегородок) или осей колонн.
Рис. 1. График I для подсчета количества лучей n1, попадающих на рабочую поверхность через световой проем фонаря, на поперечном разрезе помещения
Рис. 2. График II для подсчета количества лучей п2, попадающих на рабочую поверхность через световой проем фонаря, на продольном разрезе помещения

а - «Лексан Термоклеар»; б - «Полигаль»; в - «Марлон СТ»; г - листы из профилированного прозрачного поливинилхлорида типа «Ондекс»
Пример 1. Теплотехнический расчет светопропускающего заполнения зенитного фонаря
А. Исходные данные
Необходимо определить требуемое сопротивление теплопередаче и воздухопроницанию светопропускающего заполнения зенитных фонарей, устанавливаемых в покрытии механического цеха производственного здания, строящегося в Москве. Фонари расположены в покрытии на высоте 8,4 м. Размер светового проема фонарей - 1,5×3,0 м.
Б. Порядок расчета
1. Определяем требуемое сопротивление теплопередаче
.
Находим значение градусо-суток (ГСОП) для Москвы по формуле (1):
ГСОП = ![]()
По приложению 2 принимаем расчетную температуру внутреннего воздуха в рабочей зоне помещения 17 °С (производственных помещений с категорией работ 1-б).
По приложению 3 находим
tот.пер = -3,6 °С и Zот.пер = 230 сут.
Тогда ГСОП = (17 + 3,6) 230 = 4738 °С/сут.
По табл. 3.3, интерполируя значения ГСОП, находим требуемое сопротивление теплопередаче
м2·°С/Вт.
Из условия предотвращения образования конденсата на внутренней поверхности светопропускающего заполнения по формуле (2) определяем значение требуемого сопротивления теплопередаче

Находим температуру воздуха под фонарем по формуле (3):
= 20,2 °С.
Принимаем относительную влажность воздуха в помещении 45 % (приложение 4).
Определяем tр при
= 20,2 °С и
относительной влажности помещения 45 % (по приложению 4)
tр = 7,6 °С.
Расчетная температура наиболее холодной пятидневки для Москвы составляет минус 28 °С.
Тогда
м2·°С/Вт.
В качестве светопропускающего заполнения может быть принят однокамерный стеклопакет из стекла листового с низкоэмиссионным покрытием на одном из стекол или двухкамерный стеклопакет (приложение 1) из листового стекла, а также панели ячеистые из поликарбоната толщиной 16 мм.
2. Определяем требуемое сопротивление воздухопроницанию
.
По формуле (4) определяем

Нормативное значение сопротивления воздухопроницанию фонарей Gн составляет 10,0 кг/(м2·ч).
По формуле (5) определяем
![]()
По приложению 3 находим максимальную из средних скоростей ветра по румбам за январь v, повторяемость которых составляет 16 % и более:
tн = - 28 °С; tв = + 17 °С;
![]()
v = 4,9 м/с; Н = 8,4 м;
![]()
Тогда
Dр = 0,55 · 8,4 (14,13 - 11,94) + 0,03 · 14,13 × 4,92 = 20,3 Па.
Находим
м2·ч·Па/кг.
Воздухопроницание фонаря не должно превышать
кг/(м2·ч·Па).
Пример 2. Светотехнический расчет естественного освещения помещения торгового зала магазина
А. Исходные данные
Требуется определить необходимую площадь зенитных фонарей для естественного освещения помещения торгового зала магазина радиотоваров, расположенного в центральной части одноэтажного здания в Москве.
Длина помещения - 42 м, ширина - 18 м, высота до низа покрытия - 7,2 м.
Б. Порядок расчета
По приложению 7 находим разряд и подразряд зрительных работ для таких помещений (зрительные работы высокой точности) - Б-1, которым соответствует значение КЕО, равное 3 % (табл. 3.4).
По формуле (9) определяем нормированное значение КЕО
![]()
согласно приложениям 5 и 6 mN = 1.
Тогда eн = 3 %.
Требуемую площадь зенитных фонарей определяем по формуле (10)
![]()
Для освещения помещения используются глухие двухскатные зенитные фонари с размерами светопроема 2,7×2,7 м со светопропускающим заполнением из двухкамерных стеклопакетов. Для двухкамерных стеклопакетов t1 = 0,65 (табл. 3.7).
По приложению 8 принимаем kз = 1,4 (угол наклона остекления к горизонту составляет 20°).
По табл. 3.6 определяем ηф.
Принимаем высоту опорного контура = 1,0 м.
![]()
Тогда ηф = 2,1.
По табл. 3.7 находим t2 = 0,9; t3 = 0,9; t4(сетка) = 0,9.
По табл. 3.8 определяем rф
![]()
Kф = 1,1 (см. 3.7.7).
Тогда
![]()
Необходимое количество фонарей для обеспечения требуемой освещенности помещения составляет:
шт.
(рис. 1 данного приложения).
Рис. 1. Схемы возможного размещения зенитных фонарей в покрытии
Пример 3. Светотехнический расчет естественного освещения помещения производственного здания с помощью светоаэрационных фонарей
А. Исходные данные
Требуется определить значение КЕО в помещении инструментального цеха, расположенного в одном из центральных пролетов многопролетного производственного здания в Москве, освещаемого с помощью прямоугольных светоаэрационных одноярусных фонарей высотой 1,8 м.
Размеры цеха в плане 18×84 м, высота от уровня рабочей поверхности до покрытия - 9,6 м. Ширина фонаря - 6 м, длина - 72 м. Фонарь остеклен однокамерными стеклопакетами. Нормируемое значение КЕО в помещении составляет 3 %, что соответствует V разряду зрительных работ.
Б. Порядок расчета
По графику 1 на рис. 3.12 при высоте Н = 10,2 м находим КЕО = 3,1 %.
В соответствии с 3.7.14 КЕО = 3,1 % · 0,87 = 2,7 %. Значения КЕО, полученные по графикам на рис. 3.12, ниже нормируемых на 10 %, что допустимо (3.7.9 настоящих Рекомендаций).
Определение КЕО в расчетной точке, на расстоянии 1 м от колонны
График I приложения 9 накладываем на чертеж поперечного разреза помещения (см. рис. 2 данного приложения). Центр графика «0» совмещаем с расчетной точкой, а нижнюю линию - со следом (у.р.п.). Количество лучей, проходящих от небосвода в расчетную точку, составляет n1 = 3.
Отмечаем номер полуокружности графика, который проходит через середину светопроема. Номер полуокружности - 34.
Накладываем график II приложения 9 на чертеж продольного разреза помещения таким образом, чтобы его вертикальная ось и горизонталь 34 проходила через середину светопроема.
Количество лучей, проходящих от небосвода через световой проем по графику II в расчетную точку «0», составляет
п2 = 43,2 · 2 = 87 (см. рис. 3 данного приложения).
Геометрический КЕО в расчетной точке составляет
eв = 0,01 · 3 · 87 = 2,61 %.
Определяем КЕО в расчетной точке по формуле (1) из приложения 9
![]()
По формуле (3) приложения 9 определяем
е2 = 2,7 %; kз = 1,3 (приложение 8).
Определяем rф из табл. 3.8
![]()
при rср = 0,4 и количестве пролетов 3 rф = 1,1; K1 = 1,0 (табл. 3.9).
Тогда
![]()
t1 = 0,75; t2 = 0,9; t3 = 0,9; kф = 1,2 (согласно 3.7.7).
t0 = t1 t2 t3 = 0,75 · 0,9 · 0,9 = 0,6.
Тогда
![]()
Таким образом, КЕО в расчетной точке составляет 1,8 %, что соответствует нормативному значению для зрительных работ V разряда при совмещенном освещении.
Пример 4. Расчет стеклопакета на эксплуатационные нагрузки
А. Исходные данные
Требуется определить толщину стекла в стеклопакете односкатного зенитного фонаря с размерами светопроема 1,5×1,7 м, установленного в покрытии общественного здания в Москве.
Размер стеклопакета - 1,64×1,53 м.
Угол наклона светопропускающего заполнения к горизонту - 12°.
Расчетные размеры стеклопакета принимают равными 1,6 и 1,5 м.
Фонарь расположен на высоте 15 м от поверхности земли.
Расчетные параметры стекла а = 1600 мм, b = 1500 мм; l = 1,07; S = 2,4 м2.
Б. Порядок расчета
Согласно 3.8.5 определяем большую из нагрузок (от ветра за вычетом веса стекла или от снега с учетом веса стекла).
В соответствии с 6.4 СНиП 2.01.07-85* нормативное значение ветрового давления для Москвы w0 - 0,23 кПа;
k = 0,75 (6.5 СНиП 2.01.07-85*, тип местности Б);
с - аэродинамический коэффициент, с = - 0,4 (6.6 СНиП 2.01.07-85*);
- коэффициент надежности по нагрузке,
составляет 1,4.
Расчетное значение ветровой нагрузки
кПа.
Нормативное и расчетное значения нагрузки от веса стекла в соответствии с указаниями 3.8.12 (принимая предварительно толщину стекла d = 6 мм) определяем по формуле
кПа.
кПа.
Определяем значение суммарной нагрузки от отрицательного давления ветра и веса стекла.
qp = - 0,1 + 0,16 = 0,06 кПа.
Поскольку полученное значение нагрузки незначительно, толщину стекла определяем расчетом на воздействие суммарной нагрузки от снега и веса стекла.
Для Москвы S0 = 1,0 кПа (100 кгс/м2) (табл. 4 СНиП 2.01.07-85*).
Величина расчетной нагрузки от снега определяется по формуле (12)
кПа (136 кгс/м2).
С учетом собственного веса стекла расчетная нагрузка составит
qр = 1,36 + 0,16 = 1,52 кПа = 152 кгс/м2 = 0,0152 кгс/см2.
Тогда по формуле (15)
см.
Принимаем толщину стекла в стеклопакете фонаря d = 8 мм.
|
Фирма |
ООО «АЕДИФИКО» |
|
Адрес, телефоны |
121019, Москва, Никитинский бульвар, дом 12 Телефон: 290-32-46; факс: 290-30-98 |
|
Работы, выполняемые предприятием |
Фирма выполняет работы по устройству верхнего освещения помещений зданий и сооружений с помощью зенитных фонарей с 1-, 2- или 3-слойными светопропускающими элементами из полиметилметакрилата (органического стекла) или поликарбоната. По своему функциональному назначению они могут быть световыми (глухими), светоаэрационными (открывающимися) и дымоудаляющими (фонари и люки). Кроме того, конструкции могут быть использованы для выхода на кровлю. Зенитные фонари применены при строительстве ряда производственных зданий в Москве: Складской корпус на ул. 8 Марта, дом 4, Трамвайное депо в микрорайоне «Строгино». На этих объектах установлено более 400 зенитных фонарей с двухслойными светопропускающими элементами из органического стекла. Поставляемые на строительство зенитные фонари имеют полную заводскую готовность. ООО «АЕДИФИКО» осуществляет выполнение проекта по принципу «под ключ» и отвечает за комплексную сдачу объекта, включая проектирование, поставку и строительно-монтажные работы |
|
Основные характеристики конструкций |
Зенитные фонари обеспечивают требуемый уровень естественной освещенности в помещениях с различными видами производств. Коэффициент светопропускания конструкций составляет 0,70 - 0,75. Сопротивление теплопередаче зенитных фонарей с двухслойными светопропускающими элементами составляет 0,42 - 0,44 м2·°С/Вт. По несущей способности светопропускающие элементы из полимерных материалов значительно превышают расчетные нагрузки |

|
Фирма |
ООО «ВЕСТИНСТРОЙ» |
|
Адрес, телефоны |
117485, Москва, ул. Профсоюзная, дом 84/32, корпус В-4 Телефоны: 790-21-62; 790-34-73 Интернет: www.westinstroy.ru E-mail: sale@westinstroy.ru |
|
Работы, выполняемые предприятием |
Поставка и монтаж поликарбонатного покрытия DANPALON. Светопрозрачные покрытия зданий и сооружений, витражи, кровли, галереи, светоаэрационные фонари промышленных зданий. Комплектация со склада в Москве и поставки материалов на заказ, монтаж, проектирование и изготовление несущих конструкций. Реконструкция кровель и фонарей. Комплектующие и доборные элементы, уплотнители, системы покрытий. Гнутые профили из листового металла. Предприятием выполнены работы на многочисленных объектах в Москве и Московской области, а также во многих городах РФ и странах СНГ |
|
Основные характеристики конструкций |
Высоконадежная поликарбонатная система в полной комплектации. Широкие формообразующие возможности. Опыт эксплуатации в различных регионах России и странах СНГ. Прекрасные теплотехнические характеристики: коэффициент теплопередачи до 1,53 Вт/(м2·°С). Светопропускание до 89 %. Высокая механическая прочность. Панели покрытия различной внутренней структуры. Широкая цветовая гамма. Модульная конструкция. Технологичный монтаж. Большой выбор аксессуаров. Продукция сертифицирована. Строительная лицензия |

|
Фирма |
ООО «ДИВВ» |
|
Адрес, телефоны |
125040, Москва, ул. Скаковая, д. 32. стр. 2, к. 70 Тел/Факс: (095) 945-61-30, 945-28-37 http://www.okna.com.ru E-mail: diw@okna.com.ra |
|
Работы, выполняемые предприятием |
Проектирование, изготовление, поставка и монтаж зенитных фонарей и светопрозрачных покрытий. ООО «ДИВВ» имеет пятилетний опыт работы в этой области строительства. Производственная мощность предприятия составляет 3000 м2 в месяц для изделий из алюминия и 10000 м2 - для стеклопакетов и триплекса. Предприятием изготовлены и смонтированы зенитные фонари и покрытия на ряде ответственных объектов Москвы, Московской области и других городов России. Среди них Музей изобразительных искусств им. А. С. Пушкина (покрытие атриума), Центральное здание компании «Авиаэкспорт», Спортивно-оздоровительный комплекс на Рублевском шоссе, теннисный спортивный клуб VALERY на Живописной улице и многие другие |
|
Основные характеристики конструкций |
В качестве несущих элементов в зенитных фонарях и покрытиях используются алюминиевые фасадные системы ВСМПО, Агрисовгаз, Schuco и др., стальные профили, а также их комбинации. Профили окрашиваются в любой цвет полимерными красителями по порошковой технологии. Остекление производится стеклопакетами и триплексом из полированного стекла, листами сотового и монолитного поликарбоната. Применяется также тонированное и энергосберегающее стекло производства фирм Saint Gobain (Франция), Pilkington (Великобритания), Glaverbel (Бельгия). Для защиты по классу А-1, А-2, А-3 (по ГОСТ Р 5136-98) применяется пленка производства Transatlantic Business Group inc (США). Широкий выбор применяемых профилей и элементов остекления позволяет изготавливать конструкции, удовлетворяющие как эстетическим требованиям заказчика, так и всем требованиям действующих нормативных документов |

|
Фирма |
«CAODURO S.P.A.» |
|
Адрес, телефоны |
Московское представительство 121019, Москва, ул. Ленивка, 1/45, стр. 3, оф. 47 Тел. (095) 795-09-90, факс (095) 795-09-91, e-mail: caoduro@rol.ru Caoduro S.P.A. Via Chiuppese - 36010 Cavazzle (VI), Italia tel. ++39(0)444.94.59.59 fax ++39(0)444.94.51.64, e-mail: info@caoduro.it |
|
Работы, выполняемые предприятием |
Изготовление зенитных фонарей, куполов, арочных светопрозрачных конструкций, люков дымоудаления. Объемные изделия из поликарбоната и полиметилметакрилата |
|
Основные характеристики конструкций |
Высокая технология, применяемая при изготовлении зенитных фонарей, позволяет получить самонесущие элементы диаметром до 8 м. Конструктивное решение зенитных фонарей позволяет крепить их с помощью кляммер без устройства в изделиях отверстий. Для изготовления светопропускающих элементов применяются листы поликарбоната и полиметилметакрилата ведущих фирм-производителей - BAYER и General Electric. Изделия, выпускаемые фирмой, сертифицированы в Системе сертификации ГОСТ Р |

|
Фирма |
ЗАО «МСМ Лимитед» |
|
Адрес, телефоны |
129110, Москва, ул. Гиляровского, д. 39, офис 900 Тел/факс: (095) 927-80-47, (095) 927-80-48 http://www.mcmltd.ru, e-mail: sales@mcmltd.ru |
|
Работы, выполняемые предприятием |
Проектирование, строительно-монтажные работы и комплектация объектов со светопрозрачными ограждающими конструкциями: световые фонари и атриумы; термоформованные световые фонари (купола), размер до 2,0 м; навесы и козырьки; витражи и перегородки; крытые корты, бассейны и другие спортивные сооружения; зимние сады, теплицы и парники; рынки и торговые павильоны; противоударное защитное остекление. Продажа светопрозрачных листовых материалов: поликарбонат сотовый, сплошной, профилированный; ПВХ профилированный, акрил; комплектующие и аксессуары |
|
Основные характеристики конструкций |
Широкий выбор архитектурных форм выполняемых конструкций: арочная, скатная, сферическая, пирамидальная и их комбинации. Материал кровельного (стенового) покрытия: сотовый поликарбонат для теплосберегающих конструкций; сплошной поликарбонат для конструкций с повышенными противоударными требованиями; профилированный поликарбонат, ПВХ. Несущий каркас сооружений - легкие металлоконструкции из стального или алюминиевого проката, клееные деревянные конструкции (КДК). Пролет конструкций - до 100 м. Производитель светопрозрачных материалов - компания Brett Martin (Великобритания). Проектная и строительная деятельность ЗАО «МСМ Лимитед» лицензирована на всей территории РФ |

|
Фирма |
«REHAU AG+Co» |
|
Адрес, телефоны |
Представительство в Москве 117418, Москва, Новочеремушкинская ул., д. 61 Тел.: (095) 128-93-10; (095) 937-52-52, факс: (095) 937-52-53 http://www.REHAU.ru |
|
Работы, выполняемые предприятием |
Разработка, производство, поставка и сервисное сопровождение систем ПВХ профилей для изготовления окон, дверей, зимних садов, фасадов, балконных остеклений и прочих светопрозрачных конструкций. Специальные системы для панельного строительства и домов с пассивным отоплением |
|
Основные характеристики конструкций |
Многокамерные системы ПВХ профилей с гладким наклонным фальцем и системной глубиной до 120 мм. Армирующие вкладыши, уплотнения и система дополнительных профилей унифицированы для всех систем. Толщина стеклопакета в стандартных конструкциях до 49 мм. Группа нагрузок С. (По нормам Германии.) Системы профилей сертифицированы в системе ГОСТ Р и имеют сертификат RAL. Фасадная система REHAU - Polytec 50 выполнена по стоечно-ригельному принципу и представляет собой комбинацию стальных, алюминиевых и ПВХ профилей. Группа нагрузок С |

|
Фирма |
ООО «ЛАСМА»; «ТАТПРОФ» |
|
Адрес, телефоны |
129832, Москва, ул. Щепкина, д.28 Телефон: (095) 284-91-21; факс: (095) 284-91-36 E-mail: lasma1@rambler.ru; info@tatprof.com |
|
Работы, выполняемые предприятием |
ООО «ЛАСМА» 1. Строительство, осуществление функций генподрядчика, шефмонтаж. Возведение несущих конструкций, зданий и сооружений. 2. Устройство вентилируемых фасадов 3. Проектирование. 4. Производство и монтаж пространственных строительных конструкций. Группа компаний «ЛАСМА» имеет собственную производственную базу в Подольском районе Московской области общей площадью 30000 м2. Производственные мощности и современное оборудование позволяют изготавливать ежемесячно: 5000 м2 алюминиевых конструкций, 3000 м2 ПВХ конструкций, 5000 м2 стеклопакетов |
|
«ТАТПРОФ» 1. Продажа алюминиевого профиля системы «ТАТПРОФ» для изготовления строительных светопрозрачных конструкций любой сложности. 2. Продажа отечественной фурнитуры САТУРН Высококвалифицированный штат сотрудников производит все необходимые расчеты материалов и комплектующих |
|
|
Основные характеристики конструкций (000 «Ласма») |
Исходя из задач, поставленных архитекторами, мы также предлагаем выполнить конструкции фасадов, дверей и окон из алюминиевого профиля самой совершенной системы SCHUCO INTERNATIONAL (Германия). Мы работаем в тесном контакте с представительством SCHUCO INTERNATIONAL в Москве. Система алюминиевых профилей SCHUCO отличается особой технологичностью, красотой и надежностью, применяется ведущими фирмами мира |

|
Фирма |
POLIGAL Plastic Industries Ltd |
|
Адрес, телефоны |
Представительство в Москве 113162, Москва, ул. Люсиновская, д. 70, комн. 6 Телефон: 954-67-99, тел/факс: 954-15-66 http: www.polygal.com E-mail: polygal@pochtamt.ru |
|
Работы, выполняемые предприятием |
Изготовление и поставка сотовых поликарбонатных панелей. «Полигаль» является ведущим предприятием в своей области. Оно широко известно во всем мире благодаря высокому качеству выпускаемых изделий. «Полигаль» - это первое в мире предприятие, на котором началось изготовление поликарбонатных панелей для нужд строительства. С тех пор и вплоть до сегодняшнего дня, на протяжении 25 лет на предприятии разрабатывают и производят широкий ассортимент многослойных поликарбонатных панелей, с большим успехом применяемых для зданий и сооружений во всех уголках земного шара. Предприятие разрабатывает программные пакеты для проектирования, осуществляет техническое сопровождение проектов, помощь в проектировании, согласовании, монтаже |
|
Основные характеристики изделий |
|
1. Пособие по расчету и проектированию естественного, искусственного и совмещенного освещения/НИИСФ Госстроя СССР. - М.: Стройиздат, 1985.
2. Применение стекла в строительстве: Справочник/Под ред. д-ра техн. наук В. А. Дроздова. - М.: Стройиздат, 1983.
3. Рекомендации по проектированию, устройству и эксплуатации светопрозрачных конструкций промышленных зданий/ЦНИИпромзданий Госстроя СССР. - М., 1985.
4. Руководство по эксплуатации строительных конструкций производственных зданий промышленных предприятий. - М.: ГУП ЦПП, 2001.
5. Каталог алюминиевых конструкций. Унифицированная система «ТАТПРОФ». Издание третье/Управление Моспроект-2, АО «Профиль-Холдинг». - М., 1998.
6. Каталог «Профильные системы Тиссен. Фасады и зимние сады». Вып. 12/97.
7. Рекламные проспекты фирм-производителей несущих профилей и светопропускающих элементов фонарей (1999 - 2002 гг.) «REHAU AG+K°», «COLVAY S.A.», «И.М.С.», «М.С.М Limited», «THYSSEN POLYMER GMBH», «BASK», «SCHUCO Zutenationale KG», «BRETT MARTIN LTD», «CAODURO S.P.A.», «BIK Roof lights», «D+H Mechatronic Dingfolder+Kem Gmbh», «Bayer», «GE Plastics».
|
|
|
|