Центральный научно-исследовательский и
проектно-экспериментальный институт промышленных зданий и сооружений
(ЦНИИПромзданий) ГОССТРОЯ СССР
РЕКОМЕНДАЦИИ ПО ОЦЕНКЕ НАДЕЖНОСТИ
СТРОИТЕЛЬНЫХ КОНСТРУКЦИЙ ПО ВНЕШНИМ
ПРИЗНАКАМ
Главный
инженер института В.В.
Гранев
Зав.
отделом инженерных сооружений В.Т.
Ильин
Зав.
сектором унификации и типизации
инженерных
сооружений А.М.
Туголуков
Руководитель
темы А.Н.
Добромыслов
Москва
1989
Изложена методика для быстрой оценки надежности стальных,
железобетонных, каменных и деревянных конструкций на основе имеющихся в них
повреждений и дефектов, а также оценка состояния здания или сооружения по
состоянию отдельных конструкций.
Для сложных инженерных сооружений: резервуаров, силосов,
конвейерных галерей, дымовых труб, эстакад под трубопроводы, мостов и др.
приведены самостоятельные таблицы для оценки их надежности.
Дана методика по прогнозированию вероятности аварий зданий и
сооружений по показателям проекта, строительства и эксплуатации.
Рекомендации предназначены для работников служб,
занимающихся эксплуатацией зданий и сооружений, инженеров-проектировщиков,
разрабатывающих новые проекты или осуществляющих авторский надзор за
строительством.
При эксплуатации зданий и сооружений широко применяются для
оценки технического состояния конструкций визуальные обследования. В связи с
этим возникает необходимость в установлении надежности обследуемых конструкций
по внешним признакам повреждений.
Как показали наблюдения, в процессе эксплуатации конструкций
происходит циклическое изменение их надежности, что связывается с изменчивостью
величин нагрузок и изменением несущей способности вследствие различных
повреждений.
При достижении конструкций определенного уровня надежности в
ней будут наблюдаться необратимые повреждения: трещины, потеря устойчивости
сжатых элементов, пластические деформации, коррозионные повреждения и т.п. Учет
влияния этих повреждений на надежность конструкции зданий и сооружений обобщен
в настоящей работе.
Для удобства оценки надежности составлены подробные таблицы
для различных видов конструкций, а также отдельных инженерных сооружений.
Своевременная оценка технического состояния конструкций и сооружений позволит
вовремя провести их ремонт и усиление и тем самым обеспечить их надежность при
эксплуатации.
Не менее важным вопросом является экспертиза проекта здания
или сооружения на предрасположенность к аварии. Выявление таких объектов по
предлагаемой в рекомендациях методике позволит эксперту или автору проекта
критически подойти к оценке их надежности и принять в случае необходимости
дополнительные мероприятия по контролю качества, что в итоге будет
способствовать повышению надежности.
Настоящие рекомендации разработаны к.т.н. Добромысловым А.Н.
при участии инж. Осиповой Л.И. на основании исследований, выполненных в
ЦНИИпромзданий.
1.1. Настоящие Рекомендации предназначены для приближения
оценки надежности эксплуатируемых строительных конструкций и надежности зданий и
инженерных сооружений. По результатам этих оценок устанавливается пригодность
конструкций зданий и инженерных сооружений для эксплуатации, сроки ремонтов, а
также необходимость применения более точных методов установления надежности
конструкций.
1.2. Оценка надежности строительных конструкций при
эксплуатации производится на основе, имеющихся в них повреждений,
устанавливаемых на основе визуальных обследований.
1.3. Оценка вероятности аварий зданий и сооружений и их
надежность осуществляется по методике экспертных оценок.
1.4. Под надежностью строительных конструкций понимается
сохранение во времени, установленной нормами или проектом несущей способности,
долговечности и вероятности отказа, характеризующих способность конструкции
выполнять требуемые функции в заданных условиях применения.
2.1. Повреждения в конструкции разделяются в зависимости от
причин их возникновения на две группы: от силовых воздействий и от воздействия
внешней среды. Последняя группа повреждений снижает не только прочность
конструкции, но и уменьшает ее долговечность. Основные виды повреждений
стальных, железобетонных, каменных и деревянных конструкций приведены на рис. 1 - 28 приложения 4.1.
2.2. В зависимости от имеющейся поврежденности и надежности,
техническое состояние конструкций разделяется на 5 категорий: нормальное, удовлетворительное,
не совсем удовлетворительное, неудовлетворительное, аварийное.
2.3. Влияние повреждений на надежность конструкций
оценивается посредством уменьшения общего нормируемого коэффициента надежности
(запаса) go
= gm·gc·gf·gn конструкций в процессе
эксплуатации, где gm
- коэффициент надежности по материалу, gc - коэффициент условий
работы, gf - коэффициент
надежности по нагрузке, gn - коэффициент
надежности по назначению.
Относительная надежность конструкции при эксплуатации J
= g/go и поврежденность
конструкции e = 1 - J,
где g
- фактический коэффициент надежности конструкции с учетом имеющихся
повреждений.
Значения J и e,
а также приближенная стоимость С ремонта по восстановлению первоначального
качества в процентах по отношению к первоначальной стоимости для различных
категорий технического состояния конструкций приведены в табл. 1.
2.4. Оценка технического состояния стальных, железобетонных,
каменных и деревянных конструкций, на основе имеющихся в них повреждений,
приведена в таблицах 2 - 5.
При этом оценка надежности конструкций должна проводиться по максимальному
повреждению на длине конструкции. Для оценки категории состояния конструкции
необходимо наличие хотя бы одного признака, приведенного в графах 2, 3 таблиц.
2.5. Общая оценка поврежденности здания и сооружения
производится по формуле
(2.1)
где
e1,
e2,
…, ei
- средняя величина повреждений отдельных видов конструкций, a1,
a2,
…, ai
- коэффициенты значимости отдельных видов конструкций.
Таблица
1
Категории технического состояния
|
Категория технического состояния
|
Описание
технического состояния
|
J = g/go
|
e = 1 - J
|
С, %
|
|
1
|
2
|
3
|
4
|
5
|
|
1
|
Нормальное
состояние. Отсутствуют
видимые повреждения,
свидетельствующие о снижении несущей способности. Необходимости в ремонтных
работах нет.
|
1
|
0
|
0
|
|
2
|
Удовлетворительное
состояние. Незначительное снижение несущей способности и долговечности
конструкций. Требуется устройство антикоррозионного покрытия, затирка трещин
и т.п.
|
0,95
|
0,05
|
0 - 11
|
|
3
|
Не совсем удовлетворительное
состояние. Существующие повреждения свидетельствуют о снижении несущей
способности конструкции. Требуется текущий ремонт.
|
0,85
|
0,15
|
12 - 36
|
|
4
|
Неудовлетворительное
состояние. Существующие повреждения свидетельствуют о непригодности к
эксплуатации конструкции. Требуется капитальный ремонт с усилением
конструкций. До проведения усиления необходимо ограничение нагрузок.
|
0,75
|
0,25
|
37 - 90
|
|
5
|
Аварийное
состояние. Требуется немедленная разгрузка конструкции и устройство временных
креплений, замена аварийных конструкций.
|
0,65
|
0,35
|
91 - 120
|
Коэффициенты значимости конструкций
устанавливаются на основе экспертных оценок, учитывающих социально-экономические
последствия разрушения отдельных видов конструкций, влияния возможного
разрушения рассматриваемой конструкции на обрушение других конструкций,
характера разрушения (разрушение с предварительным оповещением посредством
развития пластических деформаций или мгновенное хрупкое разрушение).
Относительная оценка надежности здания или сооружения
производится по формуле
J
= 1 - e (2.2)
2.6. Общая оценка надежности и технического состояния различных
инженерных сооружений в зависимости от имеющихся у них характерных повреждений с учетом значимости
отдельных видов конструкций: стальных и железобетонных резервуаров,
тоннелей и каналов, эстакад под технологические трубопроводы, конвейерных галерей,
силосов и бункеров, дымовых труб, градирен, мостов производится по табл. 6 - 14.
Таблица 2
Оценка состояния стальных конструкций по внешним
признакам
|
Категория состояния конструкции
|
Признаки
силовых воздействий на конструкцию
|
Признаки
воздействия внешней среды на конструкцию
|
|
1
|
2
|
3
|
|
1
|
Нет
|
Нет
|
|
2
|
Нет
|
Местами
разрушено антикоррозионное покрытие. На отдельных участках коррозия отдельными
пятнами с поражением до 5 % сечения. Местные погнутости от ударов
транспортных средств и другие повреждения, приводящие к ослаблению сечения до
5 %
|
|
3
|
Прогибы
изгибаемых элементов превышают 1/150 пролета
|
Пластинчатая
ржавчина с уменьшением площади сечения несущих элементов до 15 %. Местные
погнутости от ударов транспортных средств и другие механические повреждения,
приводящие к ослаблению сечения до 15 %. Погнутость узловых фасонок ферм.
|
|
4
|
Прогибы изгибаемых
элементов более 1/75 пролета. Потеря местной устойчивости конструкций
(выпучивание стенок и поясов балок и колонн). Срез отельных болтов или
заклепок в многоболтовых соединениях.
|
Коррозия с
уменьшением расчетного сечения несущих элементов до 25 %. Трещины в сварных
швах или в околошовной зоне. Механические повреждения, приводящие к
ослаблению сечения до 25 %. Отклонения ферм от вертикальной плоскости более
15 мм. Расстройство узловых соединений от проворачивания болтов или заклепок.
|
|
5
|
Прогибы
изгибаемых элементов более 1/50 пролета. Потеря общей устойчивости балок или
сжатых элементов. Разрыв отдельных растянутых элементов ферм. Наличие трещин
в основном материале элементов.
|
Коррозия с
уменьшением расчетного сечения и несущих элементов более 25 %.
Расстройство
стыков со взаимным смещением опор.
|
Таблица 3
Оценка состояния железобетонных конструкций по
внешним признакам
|
Категория состояния конструкции
|
Признаки силовых воздействий на конструкцию
|
Признаки воздействия внешней среды на
конструкцию
|
|
1
|
2
|
3
|
|
1
|
Волосяные
трещины (до 0,1 мм)
|
Имеются
отдельные раковины, выбоины.
|
|
2
|
Трещины в
растянутой зоне бетона не превышают 0,3 мм
|
На отдельных участках
с малой величиной защитного слоя проступают следы коррозии распределительной
арматуры или хомутов. Шелушение ребер конструкций. На поверхности бетона
мокрые или масляные пятна
|
|
3
|
Трещины в
растянутой зоне бетона до 0,5 мм.
|
Продольные трещины
в бетоне вдоль арматурных стержней от коррозии арматуры. Коррозия арматуры до
10 % площади стержней. Бетон в растянутой зоне на глубине защитного слоя
между
стержнями арматуры легко крошится. Снижение прочности бетона до 20 %.
|
|
4
|
Ширина раскрытия
нормальных трещин в балках не более 1 мм и протяженность трещин более 3/4
высоты балки. Сквозные нормальные трещины в колоннах не более 0,5 мм.
Прогибы
изгибаемых элементов более 1/75 пролета.
|
Отслоение
защитного слоя бетона и оголение арматуры. Коррозия арматуры до 15 %.
Снижение прочности бетона до 30 %.
|
|
5
|
Ширина
раскрытия нормальных трещин в балках более 1 мм при протяженности трещин
более 3/4 их высоты. Косые трещины, пересекающие опорную зону и зону
анкеровки растянутой арматуры балок. Сквозные наклонные трещины в сжатых
элементах. Хлопающие трещины в конструкциях, испытывающих знакопеременные
воздействия. Выпучивание арматуры в сжатой зоне колонн и
балок. Разрыв отдельных стержней рабочей арматуры в растянутой зоне, разрыв
хомутов в зоне наклонной трещины. Раздробление бетона в сжатой зоне. Прогибы
изгибаемых элементов более 1/50 пролета при наличии трещин в растянутой зоне
более 0,5 мм.
|
Оголение
всего диаметра арматуры. Коррозия арматуры более 15 % сечения. Снижение прочности
бетона более 30 %. Расстройство стыков.
|
Таблица 4
Оценка состояния каменных конструкций по внешним
признакам
|
Категория состояния конструкции
|
Признаки силовых воздействий на конструкцию
|
Признаки воздействия внешней среды на конструкцию
|
|
1
|
2
|
3
|
|
1
|
Трещины в
отдельных кирпичах, не пересекающие растворные швы.
|
|
|
2
|
Волосные
трещины, пересекающие не более двух рядов кладки (длиной 15 - 18 см).
|
|
|
3
|
Волосные трещины,
при пересечении не более четырех рядов кладки при числе трещин не более
четырех на 1 м ширины (толщины) стены, столба или простенка.
Вертикальные
и косые трещины (независимо от величины раскрытия), пересекающие не более
двух рядов кладки.
|
Размораживание
и выветривание кладки, отслоение облицовки на глубину до 15 % толщин.
|
|
4
|
Вертикальные
и косые трещины в несущих стенах на высоту не более четырех рядов кладки.
Образование вертикальных трещин между продольными и поперечными стенами,
разрывы или выдергивания отдельных стальных связей и анкеров крепления стен к
колоннам и перекрытиям. Местное (краевое) повреждение кладки на глубину до 2
см под опорами ферм, балок и перемычек в виде трещин и лещадок; вертикальные
трещины по концам опор, пересекающие не более двух рядов кладки.
|
Размораживание
и выветривание кладки, отслоение облицовки за глубину до 25 % толщины.
Наклоны и выпучивание стен и фундаментов в пределах этажа не более чем на 1/6
их толщины. Смещение плит перекрытий на опорах не более 1/5 глубины заделки,
но не более 2 см.
|
|
5
|
Вертикальные
и косые трещины в несущих стенах и столбах на высоту более четырех рядов
кладки. Отрыв продольных стен от поперечных в местах их пересечения, разрывы или
выдергивания стальных связей и анкеров, крепящих стены к колоннам и
перекрытиям. Повреждение кладки под опорами ферм, балок и перемычек в виде
трещин, раздробления камня или смещения рядов кладки по горизонтальным швам
на глубину более 2 см; образование вертикальных или косых трещин,
пересекающих более двух рядов кладки.
|
Размораживание
и выветривание кладки на глубину до 40 % толщины. Наклоны и выпучивание стен
в пределах этажа на 1/3 их толщины и более смещение (сдвиг) стен, столбов и
фундаментов по горизонтальным швам.
Смещение плит
перекрытий на опорах более 1/5 глубины заделки в стене.
|
Таблица 5
Оценка состояния деревянных конструкций по
внешним признакам
|
Категория состояния конструкции
|
Признаки
силовых воздействий на конструкцию
|
Признаки
воздействия внешней среды на конструкцию
|
|
1
|
2
|
3
|
|
1
|
|
Волосные
усадочные трещины в конструкциях.
|
|
2
|
Ослабление
креплений отдельных болтов, хомутов, скоб.
|
Большие щели
между досками наката и балками перекрытия.
|
|
3
|
Продольные трещины
в конструкциях. Сдвиги и отслоения в швах и в узлах конструкций заметные на
глаз и частичные зазоры в сплоченных дощатых пакетах, между отдельными
рабочими сдвигающимися поверхностями более 2 мм. Прогибы изгибаемых элементов
превышают предельные значения СНиП II-26-80.
|
Следы
протечек, мокрые пятна в конструкциях. Гниль в мауэрлате и в концах
стропильных ног, снижающая прочность до 15 %.
|
|
4
|
Глубокие
трещины в элементах. Трещины, в работающих на скалывание торцах по ширине более
25 % от толщины элемента.
Сильное
обмятие и зазоры более 3 мм в рабочих поверхностях врубок. Смятие древесины
вдоль волокон по линии болтов и нагелей на 1/2 их диаметра.
Потеря
местной устойчивости элементов конструкций.
Прогибы
изгибаемых элементов более 1/75 пролета.
|
Гниль в
местах заделки балок в наружные стены. Гниль в мауэрлате, стропилах,
обрешетке, накате, снижающая прочность до 25 %.
|
|
5
|
Прогибы
изгибаемых элементов более 1/50 пролета. Быстроразвивающиеся деформации. Сквозные
трещины в накладках стыков по линии болтов ферм.
Надломы и
разрушения отдельных конструкций.
Скалывание
врубок.
Потеря
устойчивости конструкций (поясов ферм, арок, колонн).
|
Поражение
гнилью и жучком строительных конструкций, приводящих к снижению их прочности
более 25 %.
|
|
Примечание. Оценка
повреждений стальных элементов металло-деревянных конструкций производится по
табл. 2.
|
Таблица 6
Оценка технического состояния эстакад и отдельно
стоящих опор под технологические трубопроводы по внешним признакам
|
Категория технического состояния
сооружения
|
Признаки
силовых воздействий
|
Признаки
воздействия внешней среды
|
|
1
|
2
|
3
|
|
Железобетонные
эстакады
|
|
2
|
Нет
|
Ржавые пятна,
следы коррозии распределительной арматуры на бетонной поверхности.
Образование
видимых трещин вдоль хомутов и распределительной арматуры с малым защитным
слоем из-за коррозии арматуры.
|
|
3
|
Образование
трещин в балках в растянутой зоне до 0,5 мм.
|
Образование
продольных трещин вдоль рабочей арматуры с раскрытием трещин 1 - 6 мм из-за
коррозии арматуры.
|
|
4
|
Ширина
раскрытия нормальных трещин в растянутой зоне изгибаемых элементов до 1 мм. Деформации,
перекосы и разрушение отдельных траверс из-за перенапряжения. Осадка
отдельных фундаментов более 0,002В, где В - расстояние между опорами, а крен
превышает 0,002.
|
Отслоение
защитного слоя железобетонных конструкций с уменьшением сечения арматуры до
15 %, из-за коррозии арматуры.
Снижение
прочности бетона до 30 %.
|
|
5
|
Ширина
раскрытия трещин изгибаемых элементов более 1 мм. Раздробление бетона сжатой
зоны. Разрыв арматуры в балках и колоннах опор. Разрушения траверс в пролете
из-за перенапряжения.
Выпучивание
отдельных стержней сжатой зоны колонн, балок и ферм.
Крен опор
превышает 0,05.
|
Уменьшение
сечения арматуры более 15 % сечения вследствие коррозии.
Оголение
всего диаметра арматуры конструкции.
Снижений
прочности бетона более 30 %.
|
|
Стальные
эстакады
|
|
2
|
Нет
|
Местное
разрушение антикоррозионного покрытия. На отдельных участках коррозия пятнами
с поражением до 5 % сечения.
|
|
3
|
Относительные
прогибы изгибаемых элементов более 1/200.
|
Пластинчатая ржавчина
с уменьшением площади сечения элементов до 10 % из-за коррозии. Отсутствие
ряда опорных частей под трубами. Местные погнутости от ударов транспортных
средств.
|
|
4
|
Пластические
деформации (изгиб) траверс из-за температурных деформаций.
Потеря местной
устойчивости отдельных конструкций (выпучивание стенок и поясов).
Трещины в
сварных швах.
Прогибы
изгибаемых элементов более 1/75 пролета. Крен опор превышает 0,002.
|
Коррозия
элементов с уменьшением расчетного сечения до 25 %.
Щелевая
коррозия связей с разрывом сварных швов.
Отклонение
ферм от вертикальной плоскости более 15 мм.
|
|
5
|
Потеря общей
устойчивости балок и сжатых элементов колонн и ферм.
Разрыв
отдельных растянутых элементов среды. Наличие трещин в основном материале
элементов. Разрушение траверс в пролете из-за перегрузки. Прогибы изгибаемых
элементов более 1/50 пролета.
Крен опор
превышает 0,05.
|
Коррозия с
уменьшением расчетного сечения несущих элементов более 25 %.
Расстройство
стыков опирания пролетных строений
|
Таблица 7
Оценка технического состояния железобетонных
емкостных сооружений по внешним признакам
|
Категория технического состояния
сооружения
|
Признаки
силовых воздействий
|
Признаки
воздействия внешней среды
|
|
1
|
2
|
3
|
|
2
|
Трещины в растянутой
зоне бетона до 0,3 мм.
|
Следы
коррозии распределительной арматуры.
Выщелачивание
и частичное разрушение бетона в уровне жидкости.
Отдельные
механические повреждения бетона, не превышающие 5 % сечения.
Частичное
разрушение антикоррозионного покрытия стальных закладных деталей и
конструкций, на отдельных участках коррозия отдельными пятнами с поражением
до 5 % сечения. Разрушение отмосток вокруг сооружения.
|
|
3
|
Трещины в
растянутой зоне бетона до 0,5 мм.
|
Образование
продольных трещин вдоль арматуры от ее коррозии, местами обнажение арматуры
из-за разрушения бетона, разрушение бетона на глубине защитного слоя бетона.
Пластинчатая ржавчина на стержнях оголенной арматуры в зоне продольных трещин
в бетоне вдоль арматурных стержней или на закладных деталях,
металлоконструкциях (коррозия стали до 10 %) стен.
Снижение
прочности бетона стен, днища покрытия до 20 % и до 30 % в прочих
конструкциях. Разрушение бетона отдельных стыков сборных стен.
|
|
4
|
Наличие трещин
шириной более 0,5 мм в стенах, днищах и покрытии.
Разрушение
второстепенных конструкций: проходных мостиков, лотков и т.п.
Неравномерные
осадки и крен сооружения заметные на глаз.
Расстройство
стыков сборных элементов покрытия со взаимным их смещением.
|
Отслоение и
разрушение защитного слоя стены с оголением арматуры.
Снижение
прочности бетона стен и покрытия до 30 %.
Коррозия
арматуры до 15 %. сечения. Коррозия закладных деталей до 25 % сечения.
Потеря
герметичности покрытия и стен.
|
|
5
|
Ширина
раскрытия нормальных трещин в стенах, днище и покрытии более 1 мм.
Выпучивание арматуры и смятие бетона в колоннах.
Разрыв
отдельных стержней рабочей арматуры в растянутой зоне и хомутов.
Прогибы
изгибаемых элементов покрытия и стен более 1/50 пролета при наличии трещин в
растянутой зоне.
|
Коррозия
арматуры стен и покрытий более 15 % сечения.
Оголение
всего диаметра рабочей арматуры изгибаемых элементов стен и покрытия.
Снижение
прочности бетона более 30 %.
Коррозия стальных
несущих закладных деталей более 30 %.
|
Таблица 8
Оценка технического состояния стальных
резервуаров по внешним признакам
|
Категория технического состояния сооружения
|
Признаки силовых воздействий
|
Признаки воздействия внешней среды
|
|
1
|
2
|
3
|
|
2
|
Равномерная
осадка основания до 20 см.
Разность
осадок диаметрально противоположных точек контура днища до 80 мм.
Разность
осадок основания по периметру между смежными точками кольцевого фундамента, отстоящими
друг от друга на расстоянии 6 м до 3 см.
Крен
резервуара до 0,002.
|
Разрушение
местами антикоррозионного покрытия. Коррозия пятнами. Отдельные вмятины в
корпусе и покрытии глубиной не более 50 мм.
Выпучины и
вмятины на поверхности стенки не превышают 40 мм.
|
|
3
|
Значительная
до 30 см равномерная осадка резервуара.
Разность
осадок диаметрально противоположных точек контура днища до 10 см.
Общий крен
резервуара до 0,005.
Выпучина и
хлопун днища высотой до 200 мм на площади до 2 м2.
|
Местная просадка
под днищем глубиной не более 150 мм на площади не более 2 м, образование
зазора между днищем и основанием от его осыпания.
Выпучины и
вмятины на поверхности стенок до 60 мм.
Коррозия на
отдельных участках или на всей длине вертикальных и горизонтальных сварных
соединений внутренней поверхности стенки резервуара. Характер коррозии:
точечные углубления осповидного типа и группа раковин глубиной от 2 до 3 мм,
переходящие в сплошные полосы.
Коррозия
внутренней поверхности первого пояса стенки на значительной длине в зоне
примыкания к днищу. Характер коррозии: группы раковин глубиной до 1,5 мм, а
также точечные углубления осповидного типа.
Пластинчатая
ржавчина покрытия с уменьшением площади сечения элементов до 15 %.
|
|
4
|
Равномерная
осадка основания более 30 см.
Общий крен
резервуара до 0,02.
Местная
выпучина на первом поясе стенки резервуара, возникающая в результате осадки
подводящего трубопровода.
Выпучина-складка
на днище с резкими перегибами и изломами, выпучины высотой более 200 мм на
площади более 2 м2.
Трещины в
сварных швах конструкций покрытия длиной до 100 мм без выхода на основной
металл.
Потеря
местной устойчивости стен и покрытия от вакуума. Отрыв поясов полуферм
покрытия от стенки резервуара. Центральная опорная стойка поднялась.
|
Зазоры между
бетонным кольцом основания и окрайком днища до 100 мм на значительном
протяжении.
Коррозия
днища и кровли до 35 % сечения. Коррозия стен с уменьшением сечения до 25 %.
Выпучины и вмятины на поверхности стен более 60 мм.
|
|
5
|
Трещины в
сварных швах днища и стен.
Трещины в
основном металле стен и днищ.
Потеря
устойчивости стен (гофры) из-за неравномерного крена.
Разрушения
конструкций покрытия.
Общий крен
резервуара более 0,02.
|
Зазоры между
днищем и основанием более 100 мм на значительном протяжении.
Коррозия стен
резервуара более 25 % сечения.
Коррозия
днища и кровли более 35 %.
|
Таблица 9
Оценка технического состояния стальных
конвейерных галерей по внешним признакам
|
Категория технического состояния сооружения
|
Признаки силовых воздействий
|
Признаки воздействия внешней среды
|
|
2
|
Нет
|
Местное
разрушение антикоррозионного покрытия.
На отдельных
участках коррозия пятнами с поражением до 5 % сечения.
|
|
3
|
Прогибы балки
ферм превышают 1/250 пролета.
Поперечные
отклонения опор превышают 1/250 высоты опор до низа ферм.
|
Пластинчатая
ржавчина с уменьшением из-за коррозии площади сечения элементов до 10 %.
Местные погнутости от ударов транспортных средств. Погнутость узловых фасонок
ферм.
|
|
4
|
Потеря местной
устойчивости конструкций (выпучивание стенок и поясов балок).
Трещины в
швах или околошовной зоне.
Срез
отдельных болтов в многоболтовом соединении.
Сильная
вибрация балок и ферм.
Прогибы
элементов превышают 1/75 пролета.
|
Коррозия элементов
с уменьшением расчетного сечения несущих элементов до 25 %.
Отклонение
ферм от вертикальной плоскости более 15 мм.
Щелевая
коррозия сочленяемых элементов (например, спаренных уголков ферм), приводящая
к выпучиванию элементов и частичному разрушению сварных швов.
Местные
погнутости опор транспортными средствами.
Отслоение
защитного слоя бетона перекрытий.
|
|
5
|
Наличие
трещин в основном металле в особенности в растянутых и изгибаемых элементах.
Прогибы балок
и ферм более 1/50 пролета.
Потеря общей
устойчивости балок и сжатых элементов ферм.
Разрыв
отдельных растянутых элементов.
|
Коррозия
несущих конструкций более 25 % сечения.
Расстройство
стыков со взаимным смещением опор.
|
Таблица 10
Оценка технического состояния
железобетонных силосов по внешним признакам
|
Категория технического состояния сооружения
|
Признаки силовых воздействий
|
Признаки воздействия внешней среды
|
|
1
|
2
|
3
|
|
2
|
Трещины в
стенах до 0,3 мм.
|
Следы
коррозии распределительной арматуры.
Изменение окраски
бетона.
Частичное
разрушение антикоррозионного покрытия стальных закладных деталей и
конструкций.
Повреждение
отмосток вокруг силосов.
|
|
3
|
Трещины в
подсилосных воронках до 0,5 мм.
Трещины
вертикальные в стенах силосов с раскрытием до 0,8 мм при длине менее 1/4Н, где
Н - высота стен силосов. Трещины горизонтальные с раскрытием до 1 мм,
расположенные через 1 - 2 м по высоте.
Отдельные
бреши во внутренних стенах размером не более 40×40 см без выпученности
бетона в зоне брешей и трещин, отходящих от брешей.
Средние
осадки силосных корпусов более 40 см, а крен более 0,004.
|
Местами
отслоение защитного слоя бетона стен.
Коррозия
арматуры до 10 %.
Местами
обнажение арматуры из-за разрушения бетона.
|
|
4
|
Трещины в
подсилосных воронках до 1 мм.
Вертикальные
трещины в стенах с раскрытием до 1 мм при длине трещин более 1/4Н при
количестве не более трех на одном силосе. Отдельные бреши в наружных стенах
силосов размером 40×40 см без выпученностей бетона в зоне брешей и
трещин, отходящих от брешей. Выпучивание стен силосов с отдельными трещинами.
Выпучивание домкратных стержней.
Крен
силосного корпуса более 0,012.
|
Разрушение
защитного слоя бетона с оголением арматуры.
Коррозия
арматуры до 15 % сечения.
Снижение
прочности бетона фундаментной плиты до 30 %. Уменьшение сечения стальных
воронок от истирания до 25 % их сечения.
|
|
5
|
Трещины в
силосах с раскрытием более 1 мм при их длине более 1/4Н.
Горизонтальные
трещины раскрытия более 0,5 мм через 15 - 30 см в надкапительной зоне или в простенках
стен, над фундаментом плиты. Сетка пересекающихся горизонтальных и
вертикальных трещин с раскрытием более 0,3 мм на отдельных участках. Смятие
бетона по горизонтальным швам бетонирования в отдельных силосах.
Бреши в
наружных стенах силосов размером более 40×40 см при наличии выпученностей
в зоне брешей. Выпучивание домкратных стержней с обрывами горизонтальной
арматуры.
Сдвиги
участков стен силосов по горизонтальным плоскостям.
|
Коррозия
арматуры более 15 %. сечения.
Снижение
прочности бетона фундаментной плиты более 30 %.
Уменьшение
сечения стальных воронок от истирания более 25 % сечения.
|
Таблица 11
Оценки технического состояния градирен по
внешним признакам
|
Категория технического состояния сооружения
|
Признаки силовых воздействий
|
Признаки воздействия внешней среды
|
|
1
|
2
|
3
|
|
2
|
Трещины не
превышают 0,3 мм.
|
Местное
разрушение защитного слоя бетона.
Признаки
разрушения бетона на входных окнах.
Следы
коррозии распределительной арматуры.
Потеки конденсата
на наружной поверхности оболочки.
Зоны
фильтрации и выщелачивания бетона в верхней части градирни.
Антикоррозионное
покрытие стальных конструкций и деталей разрушено.
|
|
3
|
Трещины в
растянутой зоне бетона до 0,5 мм.
Прогибы изгибаемых
элементов превышают 1/150 пролета.
|
Продольные
трещины в бетоне вдоль арматурных стержней от коррозии арматуры. Коррозия
арматуры до 10 % площади стержней.
Разрушение
бетона в зоне входных окон и в местах соприкасания с водой в резервуаре.
Разрушение
бетона в районе швов оболочки градирни. Обнажение арматуры оболочки в ряде
мест с признаками ее коррозии особенно в местах стыковки ярусов
бетонирования.
Небольшие
сквозные отверстия в оболочке. Частичное разрушение торкрета внутренней
поверхности оболочки.
Коррозия
стальных конструкций и деталей до 15 %.
|
|
4
|
Ширина
раскрытия нормальных трещин в балках не более 1 мм.
Сквозные
нормальные трещины в колоннах до 0,5 мм.
Прогибы
изгибаемых элементов до 1/50 пролета.
Края
сооружения более 0,004.
|
Отслоение
защитного слоя бетона и оголение арматуры большой части наружной поверхности
оболочки. Разрушение защитного слоя бетона стоек наклонной колоннады бетона
до 30 %.
Сквозные
отверстия диаметром 30 - 200 мм в оболочке.
Разрушение
слоя торкрета на большей части внутренней поверхности.
Зона
фильтрации с выщелачиванием составляет 1/3 площади поверхности оболочки
градирен.
Коррозия
арматуры до 15 % сечения.
Коррозия
стальных конструкций до 25 % сечения
|
|
5
|
Ширина раскрытия
нормальных трещин в балках более 1 мм.
Косые
трещины, пересекающие опорную зону балок.
Сквозные
наклонные трещины в сжатых элементах.
Выпучивание
сжатой продольной арматуры.
Разрыв отдельных
стержней рабочей арматуры в растянутой зоне, разрыв хомутов в зоне наклонной
трещины.
Раздробление
бетона в сжатой зоне.
Прогибы
изгибаемых элементов более 1/50 пролета.
Потеря
устойчивости отдельных конструкций.
|
Оголение
всего диаметра арматуры.
Коррозия
арматуры более 15 % сечения.
Снижение
прочности бетона более 30 %.
Коррозия
стальных конструкций и более 25 % сечения.
Расстройство
стыков со взаимным смещением опор.
|
Таблица 12
Оценка технического состояния кирпичных и железобетонных
дымовых труб по внешним признакам
|
Категория технического состояния сооружения
|
Признаки силовых воздействий
|
Признаки воздействия внешней среды
|
|
Кирпичные
трубы
|
|
2
|
Трещины,
пересекающие не более двух рядов кладки.
|
Антикоррозионное
покрытие стальных конструкций и деталей разрушено.
|
|
3
|
Вертикальные
трещины в кладке с шириной раскрытия до 1 мм.
Крен трубы не
превышает 0,004.
|
Коррозия
стальных колец и металлоконструкций (лестницы, площадки) до 15 %.
|
|
4
|
Сквозные
вертикальные трещины в кладке с шириной раскрытия до 5 мм.
Горизонтальные
трещины в кладке длиной менее 1/3 периметра ствола трубы.
|
Бочкообразные
выпучины кладки между стяжными кольцами.
Приподнятие
колпака оголовка трубы.
Коррозия
металлоконструкций до 25 %.
|
|
5
|
Вертикальные
трещины в кладке с шириной раскрытия более 5 мм.
Горизонтальные
трещины в кладке длиной более 1/3 периметра ствола трубы.
Разрыв
стяжных колец.
|
Разрушение оголовка
и выпадения отдельных его звеньев и кирпичей. Кирпичная кладка выпучилась и
покрыта трещинами. Связь кирпича с раствором нарушена.
Коррозия
металлоконструкций более 25 %.
|
|
Железобетонные
трубы
|
|
2
|
Трещины не превышают 0,3 мм.
|
Шелушение защитного слоя бетона,
местное разрушение защитного слоя бетона.
Антикоррозионное покрытие стальных
конструкций разрушено.
|
|
3
|
Образование
вертикальных трещин с шириной раскрытия до 0,5 мм.
Крен трубы не
превышает 0,005.
|
Образование вертикальных
трещин над арматурой вследствие ее коррозии.
Увлажнение
бетона ствола с образованием потеков конденсата, с выщелачиванием бетона.
Коррозия
арматуры до 10 % площади стержней. Коррозия стальных конструкций до 15 %.
Коррозия
футеровки на глубину более 5 мм, раствора более 15 мм. Наличие
крупнопористого бетона или бетона с недостаточным количеством цементного
камня по толщине ствола более 50 мм и от 1/8 до 1/6 окружности трубы.
Вертикальные
трещины в газоходах.
Разрушение
отмостки вокруг трубы.
|
|
4
|
Отслаивание
защитного слоя от перегрузок в нижней зоне трубы.
Крен трубы
превышает 0,005.
Образование
вертикальных трещин с шириной раскрытия до 2 мм.
|
Разрушение,
отслаивание защитного слоя бетона и оголение арматуры на длине окружности
более 1 м.
Разрушение
бетона шва бетонирования в одном месте до 1/4 длины окружности.
Коррозия
арматуры до 15 % сечения.
Коррозия
стальных конструкций до 25 % сечения.
Местами
выпучивание футеровки.
|
|
5
|
Выпучивание
вертикальных арматурных стержней ствола.
Раздробление
бетона сжатой зоны.
Прогибы трубы
более 1/100 высоты.
Трещины в
стволе более 2 мм.
|
Расслоение
бетона по толщине стенки ствола.
Разрушение
шва бетонирования в одном месте более 1/4 длины окружности.
Обвал
футеровки.
Коррозия арматуры
более 15 % сечения.
Снижение
прочности бетона более 30 %.
Коррозия
стальных конструкций более 25 % сечения. Сквозные разрушения ствола.
Расслоение и
выпучивание футеровки по всей поверхности.
|
Таблица 13
Оценка технического состояния железобетонных
тоннелей по внешним признакам
|
Категория технического состояния сооружения
|
Признаки силовых воздействий
|
Признаки воздействия внешней среды
|
|
1
|
2
|
3
|
|
2
|
Трещины в бетоне
с шириной раскрытия до 0,3 мм.
|
На отдельных
участках с малой величиной защитного слоя проступают следы коррозии
распределительной арматуры.
На
поверхности бетона мокрые или масляные пятна, высолы, изменение цвета бетона.
|
|
3
|
Трещины в
растянутой зоне бетона до 0,5 мм.
|
В отдельных
местах отслоение защитного слоя бетона. Продольные трещины вдоль арматурных
стержней от коррозии арматуры.
Бетон в
растянутой зоне на глубине защитного слоя легко крошится от размораживания.
Протечки
перекрытия тоннеля от повреждения гидроизоляции до 5 % площади перекрытия.
Смещение
стенок сборных элементов тоннелей относительно друг друга, нарушение изоляции
в стыках и деформационных швах вследствие чего происходит протечка грунтовых
вод.
Повреждения
от пробивки отверстий в перекрытии.
Промасливание
перекрытия и днища.
|
|
4
|
Ширина
раскрытия нормальных трещин в конструкциях перекрытия до 1 мм.
Прогибы
изгибаемых элементов более 1/75 пролета.
Трещины в
местах стыков блоков до 10 мм от неравномерных осадок.
|
Отслоение
защитного слоя бетона и оголение арматуры конструкции перекрытия на
значительных площадях.
Коррозия
арматуры до 15 % сечения.
Протечки
перекрытия свыше 5 % общей площади перекрытия.
Затопление
тоннеля поверхностными водами.
|
|
5
|
Ширина
раскрытия трещин в конструкциях перекрестия более 1 мм. Разрыв отдельных
стержней арматуры в растянутой зоне. Прогибы изгибаемых элементов более 1/50
пролета.
Разрушение
отдельных конструкций перекрытия от перегрузки.
|
Оголение всего
диаметра арматуры. Коррозия арматуры более 15 % сечения. Снижение прочности
бетона более 30 %.
|
Таблица 14
Оценка технического состояния мостов по внешним
признакам
|
Категория технического состояния
сооружения
|
Признаки
силовых воздействий
|
Признаки
воздействия внешней среды
|
|
1
|
2
|
3
|
|
2
|
Одиночные
трещины на поверхности железобетонного пролетного строения раскрытием до 0,2
мм.
|
Разрушение в
отдельных местах окрасочного слоя главных элементов стальных ферм и проезжей части,
незначительная коррозия элементов на отдельных участках, местные погнутости
элементов стальных связей.
Сколы
защитного слоя железобетонного пролетного строения без оголения арматуры,
одиночные места выщелачивания и потеки на поверхности бетона.
В опорах
разрушение раствора в отдельных швах опор, разрушение поверхности кладки в
отдельных местах на глубину до 3 см в массивных и без обнажения арматуры в
железобетонных конструкциях; одиночные трещины раскрытием до 0,5 мм в
массивных и до 0,2 мм в железобетонных конструкциях.
|
|
3
|
Прогибы
изгибаемых элементов превышают 1/150 пролета.
Многочисленные
трещины в железобетонных конструкциях без предварительного напряжения до 0,2
мм и отдельные трещины более 0,3 мм, в том числе сквозные, наклонные трещины
в стенках балок; в железобетонных предварительно напряженных пролетных
строениях трещины с раскрытием до 0,15 мм.
|
В стальных
пролетных строениях незначительная коррозия главных элементов ферм, коррозия
до 15 % элементов проезжей части, узловых фасонок и элементов связей;
ослабление отдельных заклепок, деформация отдельных элементов связей.
В
железобетонных пролетных строениях отслоение защитного слоя в отдельных
местах с оголением арматуры, повреждение бетона плиты в отдельных местах от выщелачивания
и размораживания.
В опорах
разрушение раствора в швах на значительной части опоры, разрушение
поверхности кладки на глубину до 3 см, а в отдельных местах до 10 см, в
железобетонных конструкциях с обнажением арматуры в отдельных местах, многочисленные
трещины с раскрытием до 0,5 мм, одиночные до 2 мм в массивных, а в
железобетонных конструкциях соответственно до 0,3 и 0,5 мм; потеки
выщелачиваемого раствора в отдельных местах.
|
|
4
|
Потеря
местной устойчивости отдельных балок.
Срез отельных
болтов или заклепок в многоболтовых соединениях, ослабление групп заклепок в
соединении главных элементов, разрывы отельных элементов связей.
В
железобетонных пролетных строениях многочисленные трещины раскрытием более
0,3 мм и отдельные трещины в балках до 1 мм; расстройство поперечных связей
между балками.
|
Значительная
коррозия до 25 % элементов стальных конструкций проезжей части, узловых
фасонок и элементов связей при незначительной коррозии главных элементов
ферм.
В
железобетонных пролетных строениях отслоение защитного слоя и оголение арматуры на
значительных площадях, коррозия арматуры до 15 %; значительные повреждения
бетона плиты от выщелачивания и размораживания.
В опорах
разрушение раствора в швах со сдвигом и выпадением одиночных камней; разрушение
кладки в массивных конструкциях на глубину до 10 см, а в отдельных местах
более 10 см; разрушение значительной части защитного слоя железобетонных
конструкций с коррозией арматуры до 15 %, многочисленные развивающиеся
трещины раскрытием до 2 мм, одиночные до 5 мм в массивных конструкциях и
соответственно до 0,5 и до 1 мм в железобетонных; интенсивное выщелачивание
раствора.
|
|
5
|
В стальных
пролетных строениях потеря общей устойчивости балок и сжатых элементов ферм, разрыв
отдельных растянутых элементов ферм, наличие усталостных трещин в элементах
главных ферм, в том числе перекрытиях накладками.
В
железобетонных пролетных строениях многочисленные трещины с раскрытием более
0,5 мм и отдельные трещины более 1 мм, косые трещины, пересекающие опорные
зоны и зону анкеровки растянутой арматуры балок. Разрыв отдельных стержней
рабочей арматуры в растянутой зоне, разрыв хомутов в зоне наклонной трещины,
раздробление бетона в сжатой зоне.
Выпучивание
арматуры в сжатой зоне колонн и ферм.
|
Значительная
коррозия стальных элементов главных ферм с уменьшением расчетного сечения
элементов более 25 %.
В
железобетонных пролетных строениях оголение всего диаметра арматуры, коррозия
арматуры более 15 % сечения, значительное повреждение бетона от выщелачивания
и размораживания, снижающие прочность более 30 %.
В опорах
разрушение раствора в швах со сдвигом и выпадением рядов или групп камней,
разрушение кладки на глубину более 10 см, в железобетонных опорах разрушение
бетона с сильной коррозией более 15 % арматуры, сквозные трещины,
расчленяющие конструкцию на части, крены опор заметные на глаз.
|
2.7. Величину повреждения строительных
конструкций через t
лет ее эксплуатации определяют по формуле
(2.3)
где
- постоянная износа,
определяемая по данным обследования на основании изменения несущей способности
в момент обследования, J - относительная надежность, определяемая
по категории технического состояния конструкции в зависимости от ее повреждений
по табл. 1, tф
- срок эксплуатации в годах на момент обследования.
2.8. Срок эксплуатации конструкции до капитального ремонта в
годах определяется по формуле
(2.4)
где
λ - постоянная износа, определяемая по п. 2.7.
3.1. Аварии зданий и сооружений возникают в основном из-за
допущенных грубых ошибок и просчетов, допущенных при разработке проектов,
строительстве и эксплуатации.
3.2. Недостаточная надежность проекта может возникнуть
вследствие: а) несоответствия принятой расчетной модели действительной работе
конструкций из-за отсутствия или неполноты норм на проектирование, неясности
расчетных схем и фактических условий работы и эксплуатации объекта; б)
недостаточных данных о действующих нагрузках и воздействиях; в) недостаточных
сведениях о свойствах и изменчивости материалов, конструкций и оснований, а
также масштабного фактора; г) применения новых неапробированных типов
конструкций; д) недостаточной сопротивляемости сооружения случайным
воздействиям и повреждениям; е) допущенных ошибок из-за отсутствия достаточного
опыта проектировщиков, сложности расчета и конструирования, недостатка времени
на проектирование.
3.3. Некачественное строительство объектов может возникнуть
вследствие:
а) применения дефектных материалов;
б) использования необычных или неапробированных методов
возведения;
в) плохого контроля за качеством строительства,
неудовлетворительным взаимодействием проектировщиков и строителей;
г) низкой квалификации производственного персонала;
д) неудовлетворительной обстановки на стройке: недостаток
времени, средств, плохими взаимоотношениями персонала.
3.4. Некачественная эксплуатация может возникнуть вследствие:
а) завышенных проектных нагрузок;
б) отступлений от правил эксплуатации;
в) использования объекта не по назначению;
г) отсутствия контроля за состоянием сооружения;
д) эксплуатации сооружения с устраненными дефектами.
3.5. Определение вероятности аварии рассматриваемого
сооружения производят путем сопоставления его надежности Р с надежностью
аналога Р0, которая установлена при эксплуатации и может считаться
достаточно высокой. Для сооружений, принимаемых в качества аналога, которые
запроектированы в соответствии со СНиП, имеют хорошее качество
строительства и эксплуатации, обеспеченность надежности принимается Р0
= 0,999998 » 1. При этом надежность рассматриваемого
сооружения определяется по формуле
Р = a×Р0, (3.1)
а
вероятность аварии по формуле
Q
= 1 - Р, (3.2)
где
a
- относительная надежность исследуемого сооружения (к аналогу), устанавливаемая
на основе экспертных оценок по п. 3.6. - 3.7.
3.6. Для выяснения надежности сооружения
определяют важнейшие ее факторы и условия их обеспечения
(см. табл. 1 - 4 приложения 4.2). Количественную оценку влияния условий (см.
табл. 2 - 4 приложения 4.2)
надежности проекта, качества строительства и эксплуатации выводят на основе
заключений экспертов, что не исключает применения точно установленных
закономерностей, экспериментальных данных, где это представляется возможным.
3.7. В таблицах эксперт указывает
относительную значимость влияния каждого фактора или
условия на надежность. В скобках даются значения коэффициентов, оценивающих
занимаемое место фактора или условия. Самое высокое место (первое)
соответствует наиболее важному фактору или условию. Соответственно коэффициент
значимости каждого из этих факторов или условий в графе 2 таблиц определяют как
величину, обратно пропорциональную занимаемому месту; при этом сумма
коэффициентов значимости должна быть равна единице. В свою очередь, степень
уверенности в достоверности данного фактора или условия для исследуемого
сооружения и аналога эксперт оценивает в виде их значения в последующих графах.
Сумма значений этих величин также должна быть равна единице. Произведения величин
в графах 3 и 4 таблиц 1 - 4, а также 3 и 6 записывают соответственно в графах 5
и 7. Суммы величин по вертикали в графах 5 и 7 таблиц 2 - 4 вносят в графы 4 и
6 таблицы 1 приложения 4.2.
Относительная надежность представляет собой отношение суммы величин в графе 5 к
сумме в графе 7 таблицы 1 приложения 4.2 и показывает отношение надежности исследуемого
сооружения к надежности аналога.
3.8. Для более достоверных оценок надежности сооружений
против аварии следует их оценку осуществлять несколькими экспертами.
4.1.
Характерные повреждения строительных конструкций.

Рис. 1. Повреждения стальных конструкций:
а - общая потеря
устойчивости банки; б - тоже стойки; в - тоже резервуара; г - местная потеря
устойчивости сжатого пояса банки; д - тоже днища резервуара (хлопун); е -
механические повреждения элемента (погнутость) в ее плоскости; ж - тоже
элементов; з - отклонение фермы от вертикали.

Рис. 2. Повреждения стальных конструкций.
Коррозия элементов:
а - общая; б -
местная; в - язвенная; г - щелевая; д - трещины в фасонке по металлу и сварному
шву; е - трещины в резервуаре по краю отверстия; 1 - трещины; 2 - квадратное
отверстие.

Рис. 3. Дефекты сварных соединений:
а -
неравномерное сечение шва, кратеры; б - прожоги; в - резкий переход от металла
шва к основному; г - неполномерность шва; д - наплывы; е - подрезы основного металла;
ж - трещины; з - непровары; и - шлаковые включения.

Рис.
4. Места зарождения усталостных трещин в сварных элементах стальных
конструкций:
а - в
соединениях прикрепления ребер жесткости балок к сплошной стене; б - в стыковых
соединениях; в, г - в нахлесточных соединениях.

Рис.
5. Основные типы трещин в верхних участках стольных подкрановых балок:
а
- схема расположения трещин, б - трещина Т1 по сварному шву, в - трещина Т2 под
сварным швом, трещины Т3 вблизи ребер жесткости.

Рис. 6. Трещины при разрушении изгибаемых
железобетонных элементов:
а - от действия
изгибающего момента на различных стадиях работы; б - от поперечной силы; в - в
короткой консоле.

Рис. 7. Трещины при разрушении железобетонных
элементов:
а -
центрально-растянутого; б, в - центрально-сжатого; г, д -
внецентрально-сжатого; 1 - место раздробления бетона.

Рис. 8. Трещины в железобетонных балках:
а - без
предварительного напряжения; б - предварительно напряженные;
1 - наклонные трещины;
2 - наклонные трещины, переходящие в горизонтальные; 3 - вертикальные трещины;
4 - горизонтальные трещины; 5 - трещины в месте сопряжения стенки и верхнего
пояса; 6 - система прерывистых трещин в опорной зоне балки; 7 - откол угла
защитного слоя при проскальзывании высокопрочной проволоки.

Рис.
9. Трещины при разрушении плит:
а - балочной
(вид снизу); б - опертой по контуру (вид снизу); в - сборной панели перекрытия;
1 - наклонные трещины до нижней грани ребра; 2 - вертикальные трещины; 3 -
откол бетона опоры.

Рис. 10. Трещины в железобетонных фермах
а - в сжатом
поясе и узле; б - в растянутом раскосе; в - в опорном узле; г - в растянутом
поясе и узле; 1 - система наклонных трещин; 2 - лещадка; 3 - трещина в месте сопряжения
раскоса и пояса; 4, 5 - трещины в поясе фермы; 6 - система вертикальных трещин;
7 - горизонтальная трещина; 8 - наклонная трещина, доходящая до нижней грани
пояса; 9 - откол лещадок; 10 - вертикальные трещины; 11 - горизонтальные
трещины.

Рис. 11. Технологические трещины в
железобетонной балке
1, 2 - от
расслоения и зависания бетонной массы при бетонировании и расширении
металлических паровых рубашек; 3 - усадочные; 4 - от расслоения при
бетонировании и от усадок.

Рис. 12. Расположение усадочных трещин на
монолитной железобетонной стене резервуара для воды:
1, 2 - трещины
от усадки; 3 - рабочий шов бетонирования.

Рис. 13. Характерные дефекты железобетонных
подкрановых балок:
1 - отсутствие
или непроектное крепление балки к консоли колонны; 2 - обрыв элемента крепления
балки к подкрановой части колонны; 3 - разрушение бетона полки в опорной зоне;
4 - косые трещины у опор; 5 - силовые вертикальные трещины в свесах полок; 6 -
механическое повреждение бетона; 7 - местное разрушение свесов полок; 8 -
разрушение свесов полок в местах установки упоров; 9 - горизонтальные трещины;
10 - разрушение бетона в опорной зоне; 11 - сварка закладных деталей смежных
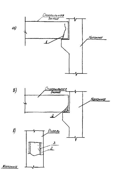
балок; 12 - нарушение анкеровки закладной детали.

Рис. 14. Повреждения фундаментов:
а - под железобетонные
колонны; б - под стальные колонны; 1 - трещина в стаканной части от недостатка
арматуры; 2 - трещина от изгиба нижней ступени; 3 - коррозия бетона и арматуры
от агрессивных вод; 4 - сколы граней; 5 - отслоение защитного слоя; 6 - трещина
вдоль анкерного болта.

Рис. 15. Трещины от нагрузок в оболочках:
а - куполов; б
- на прямоугольном плане; в - цилиндрических; 1 - кольцевая трещина с внутренней
стороны; 2 - меридиональные трещины; 3 - трещины при местном разрушении; 4 -
трещины от
изгиба;
5, 6 - продольные трещины с внутренней и наружной поверхности.

Рис.
16. Характер развития трещин в сжатой кирпичной кладке:
а
- малоразвитые трещины; б - развитие трещин по высоте и увеличение их ширины; в
- трещины при разрушении.

Рис. 17. Повреждение каменных конструкций:
а - трещины в
стене от усадки монолитной перемычки; б - трещины в кирпичной колонне при
нагрузке ее угла; в - трещины в кирпичной колонне от изгиба балок,
установленных без подкладок; г - трещина в карнизе от распора при температурных
деформациях; 1 - трещины; 2 - перемычка; 3 - стена; 4 - колонна; 5 - стальная
балка.

Рис. 18. Характерные трещины в стенах зданий и
сооружений от осадки основания:
1 - слабый
грунт; 2 - котлован; 3 - жесткое включение значительных размеров; 4 - новое сооружение;
5 - старое сооружение; 6 - шов примыкания.

Рис.
19. Трещины в растянутом стыке нижнего пояса деревянной двутавровой
балки.

Рис.
20. Повреждения деревянных наклонных стропил

Рис.
21. Повреждения деревянных ферм

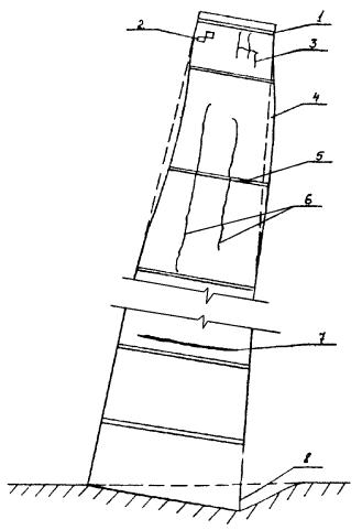
Рис. 22. Наиболее повреждаемые конструкции
одноэтажных промзданий:
1 - расслоение
кладки цоколя; 2 - повреждение крепления простенка к колонне; 3 - трещины и
расслоение кладки карниза; 4 - разрушение опор плит; 5 - коррозия нижнего пояса
пролетного строения; 6 - трещины в опорном узле; 7 - разрушение подкрановых
балок; 8 - разрушение крепления подкрановых балок; 9 - механические повреждения
бетона колонн.

Рис. 23. Наиболее повреждаемые конструкции
многоэтажных промзданий:
1 - расслоение
кладки цоколя; 2 - трещины и расслоение кладки карниза; 3 - разрушение опор
плит; 4 - расстройство стыка ригелей; 5 - расстройство стыка неразрезных балок;
6 - механическое повреждение бетона колонн; 7 - разрушение опор панелей; 8 -
смятие и скалывание кладки.

Рис. 24. Повреждения стальных цилиндрических
резервуаров:
а - разрез; б -
днище; 1 - окрайка днища; 2 - упорный уголок; 3 - вмятина; 4 - отрыв кровли от
стен; 5 - местная потеря устойчивости; 6 - трещина по сварному шву, выходящая
на основной металл; 7 - трещина по основному металлу; 8 - трещина по сварному
шву; 9 - местная коррозия; 10 - хлопун (выпучина); 11 - местная просадка
основания; 12 - зазор между краем днища и основанием; 13 - гофры; 14 - сквозные
коррозионные отверстия.

Рис. 25. Повреждения стен железобетонных
цилиндрических силосов:
а - наружная
поверхность; б - внутренняя поверхность; 1 - бреши; 2 - вертикальные трещины
шириной 0,1 - 3 мм; 3 - смятие бетона в горизонтальных швах бетонирования; 4 -
горизонтальная трещина; 5 - выпучивание домкратных стержней; 6 - горизонтальные
и вертикальные трещины в области пластических шарниров; 7 - коррозионные
разрушения бетона и арматуры; 8 - разрушения защитного слоя бетона от горячего
сыпучего материала с провисанием кольцевой арматуры; 9 - истирающий износ
защитного слоя бетона.

Рис. 26. Трещины от нагрузок в железобетонных
бункерах:
а -
прямоугольный бункер; б - цилиндрический бункер (резервуар) с конической
воронкой; 1 - от местного изгиба призматической части; 2 - тоже пирамидальной
воронки; 3 - от отрыва воронки; 4 - от общего изгиба бункера; 5 - при
разрушении цилиндрической части; 6 - тоже конической части.

Рис. 27. Повреждения железобетонных
прямоугольных резервуаров:
1 - трещины от
перегрузки гидравлическим давлением,; 2 - разрушение бетона и уровня жидкости от
размораживания; 3 - трещины от неравномерной осадки; 4 - отслоение защитного
слоя и коррозии арматуры; 5 - трещины от усадки бетона; 6 - протечки в
температурно-усадочном шве; 7 - разрушение стыков сборных панелей.

Рис. 28. Повреждения кирпичных дымовых труб:
1 - приподнятие
колпака из-за коррозии футеровки; 2 - выпадение отдельных кирпичей; 3 - трещины
и расчленение оголовка; 4 - искривление верхней части ствола из-за коррозии; 5
- коррозия и разрыв стяжных колец; 6 - вертикальные трещины; 7 - горизонтальные
трещины; 8 - крен трубы из-за неравномерной осадки основания.

Рис. 29. Схема повреждений кирпичных стен
промзданий от сейсмических воздействий:
а - повреждение
стен одноэтажного здания; б - повреждение торцевой стены; в - повреждения
перегородок; 1 - обрушение штукатурки, 2 - сквозные трещины.

Рис. 30. Повреждения железобетонных ригелей
каркасных зданий от сейсмических воздействий:
а, б - балок; в
- ригеля; 1 - сквозная трещина; 2 - окол бетона; 3 – арматура.

Рис. 31. Разрушение железобетонных колонн от
сейсмических воздействий:
а -
многоэтажных каркасных зданий; б - одноэтажных промзданий.
4.2. Примеры расчета надежности
строительных конструкций
Пример. Требуется определить техническое состояние
железобетонной эстакады под технологические трубопроводы.
Эстакада выполнена из типовых железобетонных конструкций:
пролетное строение пролетом 12 м, опоры с шагом 12 м, траверсы с шагом 4 м.
По данным визуального обследования характерного участка
эстакады различные ее несущие конструкции имели следующие величины повреждений:
траверсы e = 0 … 0,25, средняя величина повреждения
траверс e1 = 0,2,
балки пролетного строения e
= 0,5 … 0,15, средняя величина повреждения пролетного строения e2
= 0,1,
колонны опор e
= 0 … 0,25, средняя величина повреждения опор e3
= 0,15.
Определим техническое состояние всей эстакады с учетом
значимости отдельных конструкций.
Коэффициенты значимости были приняты по соображениям последствий
разрушения конструкций. Так, например, для эстакады с пролетом 12 м и шагом
траверс 4, (3 траверсы в пролете) разрушение пролетного строения приводит к
обрушению всех траверс, а обрушение опоры приводит к обрушению двух пролетных
строений с 6-ю траверсами. С учетом сказанного выше для рассмотренного примера
необходимо ввести коэффициенты значимости a1
= 1 для траверс, a2 = 3 для
пролетных строений, a3 = 6 для опор.
По формуле
(2.1) находим величину повреждения сооружения

По табл. 1 техническое состояние
эстакады может быть отнесено к 3 категории.
Для ее надежности требуется проведение ремонта.
Пример. Требуется определить техническое
состояние железобетонного аэротенка по данным визуального обследования.
На основании обследования выявлены следующие повреждения
конструкций: в наружных и внутренних стенах следы коррозии распределительной
арматуры, в большинстве конструкциях ходовых мостиков аэротенка отмечается
снижение прочности бетона до 30 % от размораживания.
Определяем по таблице 7 техническое
состояния сооружения, которое может быть отнесено к 3-й категории (e
= 0,15), что говорит о необходимости проведения ремонта.
Пример. Требуется определить время капитального
ремонта основных строительных конструкций эстакады под технологические
трубопроводы.
На основании натурных обследований по внешним признакам
повреждений установлена средняя величина поврежденности железобетонных опор e0
= 0,12, стальных пролетных строении eп
= 0,14.
Относительная надежность конструкции опор и пролетных
строений определяем по формуле (2.2)
J0
= 1 - e0
= 1 - 0,12 = 0,88, Jп
= 1 - eп
= 1 - 0,14 = 0,86.
Определяем по формуле (2.3)
постоянные износа опор и пролетных строений при сроке эксплуатации на момент
обследования tф
= 10 лет


По формуле (2.4) определяем сроки
капитального ремонта конструкций опор и пролетных строений с начала
эксплуатации


,
что
говорит о необходимости проведения капитального ремонта в ближайшее к моменту
обследования время.
Пример. Требуется оценить вероятность аварии
железобетонного силоса для цемента по исходным данным, описанным в книге
Шкинева А.Н. «Авария в строительстве» (Стройиздат, 1984, с. 79). В качестве
аналога примем железобетонное покрытие промышленного здания, состоящее из
типовых сборных предварительно напряженных балок пролетом 12 м, сборных плит
покрытий пролетом 6 м, изготовляемых на заводе. Здание построено специализированной
организацией и за состоянием его конструкций ведется систематическое
наблюдение. Многолетний опыт эксплуатации промзданий такой конструкции показал,
что они обладают высокой надежностью, а действительная их работа соответствует
принятым расчетным предпосылкам. На надежность силоса влияют следующие факторы:
надежность проекта, качество строительства, качество эксплуатации (табл. 1), значения которых найдены в табл. 2, 3, 4.
Таблица 1
Надежность исследуемого сооружения
|
Факторы
|
Оценка
значимости фактора
|
Исследуемое
сооружение
|
Аналог
|
|
относительная
|
коэффициент
|
степень уверенности
в правдивости фактора
|
удельная
надежность
|
степень
уверенности в правдивости фактора
|
удельная
надежность
|
|
Надежность
проекта
|
1 (2)
|
0,4
|
0,332
|
0,133
|
0,668
|
0,267
|
|
Качество
строительства
|
1 (2)
|
0,4
|
0,150
|
0,060
|
0,850
|
0,340
|
|
Качество
эксплуатации
|
2 (1)
|
0,2
|
0,254
|
0,047
|
0,765
|
0,153
|
|
|
Σ = (5)
|
Σ = 1
|
|
Σ = 0,24
|
|
Σ = 0,76
|
При составлении показателей важности проекта
(см. табл. 2) для исследуемого сооружения (силоса) по
сравнению с аналогом было установлено следующее:
расчетная модель силоса как пространственной системы,
работающей на общий изгиб, недостаточно обоснована экспериментально, как и совместная
работа силоса и основания;
нагрузки от сыпучего вещества не вполне обоснованы из-за
отсутствия во время разработки проекта в 1960 г. норм на проектирование
силосов, неизученности динамического действия нагрузки при разгрузке силоса и температурных
воздействий;
не учтено неблагоприятное влияние неравномерности грунтовых
условий и возможного крена силосов;
предложенная конструктивная схема недостаточно была
проверена в эксплуатации;
силосы как пространственные статически неопределимые системы
обладают лучшей сопротивляемостью случайным воздействиям, имеется большая
вероятность ошибок ввиду сложности проекта.
При составлении показателей качества строительства и
эксплуатации (см. табл. 3, 4)
для исследуемого сооружения по сравнению с аналогом было установлено следующее:
качество материалов при строительстве силоса проверялось
нерегулярно;
строительная организация не имела опыта строительства
силосов и скользящей опалубки;
должностной контроль за качеством строительства не
осуществлялся;
строительство велось неквалифицированными кадрами,
руководство строительством не имело высшего технического образования.
Таблица 2
Надежность
проекта
|
Факторы
|
Оценка
значимости фактора
|
Исследуемое
сооружение
|
Аналог
|
|
относительная
|
коэффициент
|
степень
уверенности в правдивости фактора
|
удельная
надежность
|
степень
уверенности в правдивости фактора
|
удельная
надежность
|
|
1
|
2
|
3
|
4
|
5
|
6
|
7
|
|
Расчетная модель
сооружения хорошо соответствует действительной его работе
|
1 (3)
|
0,34
|
0,3
|
0,101
|
0,7
|
0,238
|
|
Расчетные
нагрузки и воздействие хорошо изучены
|
2 (2)
|
0,22
|
0,1
|
0,022
|
0,9
|
0,198
|
|
Непостоянство
всех параметров прочности конструкций и оснований хорошо учтены
|
3 (1)
|
0,11
|
0,4
|
0,044
|
0,6
|
0,066
|
|
Конструкция и
материал сооружения хорошо опробованы в предыдущих сооружениях
|
3 (1)
|
0,11
|
0,4
|
0,044
|
0,6
|
0,066
|
|
Сооружение обладает
хорошей «живучестью»
|
3 (1)
|
0,11
|
0,7
|
0,077
|
0,3
|
0,034
|
|
Вероятность
ошибок незначительная
|
3 (1)
|
0,11
|
0,4
|
0,044
|
0,6
|
0,066
|
|
|
Σ = (9)
|
Σ = 1
|
|
Σ = 0,332
|
|
Σ = 0,668
|
Таблица 3
Качество
строительства
|
Условия
|
Оценка
значимости условия
|
Исследуемое
сооружение
|
Аналог
|
|
относительная
|
коэффициент
|
степень
уверенности в правдивости условия
|
удельная
надежность
|
степень
уверенности в правдивости условия
|
удельная
надежность
|
|
1
|
2
|
3
|
4
|
5
|
6
|
7
|
|
Качество
материалов соответствует проектным
|
2 (1)
|
0,167
|
0,3
|
0,050
|
0,7
|
0,117
|
|
Методы
строительства хорошо опробованы
|
2 (1)
|
0,167
|
0,3
|
0,050
|
0,7
|
0,117
|
|
Контроль за
качеством строительства осуществляется систематически
|
1 (2)
|
0,333
|
0,1
|
0,033
|
0,9
|
0,300
|
|
Строительство
осуществляется квалифицированными кадрами
|
1 (2)
|
0,333
|
0,05
|
0,017
|
0,95
|
0,316
|
|
Обстановка в
которой происходит строительство является нормальной
|
|
|
|
|
|
|
|
|
Σ = (6)
|
Σ = 1
|
|
Σ =
0,150
|
|
Σ = 0,850
|
Таблица
4
Качество эксплуатации сооружения
|
Условия
|
Оценка
значимости условия
|
Исследуемое
сооружение
|
Аналог
|
|
относительная
|
коэффициент
|
степень
уверенности в правдивости условия
|
удельная
надежность
|
степень
уверенности в правдивости условия
|
удельная
надежность
|
|
1
|
2
|
3
|
4
|
5
|
6
|
7
|
|
Завышений
проектных нагрузок не имеется
|
1 (3)
|
0,5
|
0,2
|
0,1
|
0,8
|
0,4
|
|
Отступлений
от правил эксплуатации не имеется
|
2 (2)
|
0,333
|
0,2
|
0,067
|
0,8
|
0,266
|
|
Сооружение
используется по назначению
|
|
|
|
|
|
|
|
За
сооружением ведется систематический контроль
|
|
|
|
|
|
|
|
При
эксплуатации сооружения не имелось повреждений, могущих повлиять на его прочность
|
3 (1)
|
0,167
|
0,4
|
0,067
|
0,6
|
0,1
|
|
|
Σ = (6)
|
Σ = 1
|
|
Σ = 0,234
|
|
Σ = 0,766
|
При эксплуатации силосов имелась вероятность
завышения нагрузок от избыточного давления воздуха при разгрузке силосов, т.к.
это давление никак не контролировалось.
Приемка силосов в эксплуатацию была проведена с нарушением
правил без загрузки всех силосов для выравнивания осадок; производилась
эксплуатация силосов с трещинами в нарушение предписания об остановке их
эксплуатации.
Оценка надежности исследуемого сооружения (силоса) и аналога
выполнена экспертом путем парных сравнений (см. табл. 1
- 4) из которого следует (см. табл. 1), что относительная надежность силоса a
= 0,24/0,76 = 0,32, обеспеченность надежности Р = aР0
= 0,32·0,999998 » 0,32, а вероятность аварии Q = 1 - Р = 1 - 0,32 = 0,68, что
представляет совершенно недопустимую величину. Фактически силос разрушился
из-за разрыва кольцевой арматуры в стенах вследствие занижения ее сечения в 2
раза по сравнению с требуемым.
|
Категория состояния здания
|
Признаки силовых воздействий землетрясения на
конструкции
|
|
Стены
|
Перегородки
|
Несущие конструкции
|
|
1
|
2
|
3
|
4
|
|
2
|
а. Волосные
трещины (до 0,1 мм) в примыкании стен заполнения к элементам каркаса
многоэтажных зданий
б. Волосные
трещины от углов проемов в опорной части перемычек зданий с несущими и самонесущими
стенами
в. Трещины до
0,3 мм по контуру примыкания стен заполнения и навесных панелей к каркасу, в
швах между навесными панелями зданий с панельными стенами.
|
Волосные
трещины в жестких перегородках и заделке швов.
Отдельные
трещины в перегородках до 0,3 мм
|
Изредка
трещины в узлах железобетонного каркаса с шириной раскрытия до 0,3 мм
|
|
3
|
а. Трещины до
0,5 мм по контуру примыкания стен заполнения к каркасу с разрушением штукатурки
в некоторых местах. Отдельные трещины до 0,5 мм в заполнении каркаса,
особенно в углах проемов.
б. Трещины до
0,5 мм от углов проемов в опорной части перемычек.
в. Трещины до
0,5 мм и обмятия углов в навесных железобетонных панелях.
|
Трещины до 0,5
мм в перегородках, местах их примыкания.
|
В единичных
случаях трещины в элементах железобетонного каркаса с шириной раскрытия до
0,5 мм.
Волосные
трещины в швах между панелями перекрытия.
|
|
4
|
а. Массовые
трещины до 1 мм по контуру примыкания стен заполнения к каркасу с разрушением
штукатурки; горизонтальные и наклонные трещины в заполнении каркаса, в
отдельных случаях трещины до 2 мм в углах проемов.
б.
Горизонтальные трещины в узких простенках от углов проемов с шириной
раскрытия до 2 мм. Изредка косые трещины в простенках. Вертикальные трещины
между продольными и поперечными стенами. Разрывы или выдергивание отдельных
анкеров крепления стен к колоннам и перекрытиям.
в. В
некоторых навесных панелях трещины до 1 мм, отколы углов, подвижка панелей с
выпадением раствора швов.
|
Массовые
вертикальные, горизонтальные и косые сквозные трещины в перегородках с раскрытием
до 5 мм, проломы. Отрыв некоторых перегородок от колонн и покрытия.
Расслоение
материала перегородок, смещение из плоскости.
|
Отдельные нормальные
трещины в цементах железобетонного каркаса с шириной раскрытия до 1 мм; косые
трещины в отдельных узлах при опорных частях железобетонных ригелей и колонн
с шириной раскрытия до 1 мм; трещины и выколы в продольных ребрах
железобетонных плит покрытия; сдвижка плит покрытия до 2 см; трещины до 0,5
мм между сборными настилами перекрытия. Относительные сдвиги плит покрытия по
швам между ними в продольном направлении.
Местное
(краевое) повреждение кладки на глубину до 2 см под опорами ферм и балок.
Потеря
устойчивости отдельных элементов стальных ферм. Обрыв отдельных связей.
Повреждения отдельных сварных швов в местах опирания подкрановых балок на
колонны.
|
|
5
|
а. Массовые
трещины в заполнении каркаса, раскрытие многих из них более 2 мм, в некоторых
случаях заполнение полностью разрушено.
б.
Диагональные трещины в сплошных поперечных каменных стенах, наклонные и
горизонтальные трещины в большинстве простенков продольных и поперечных стен
с шириной раскрытия более 2 мм. Отрыв торцевых и поперечных стен от
продольных по всей высоте здания, обрушения парапетов и участков продольных и
поперечных стен, разрывы и выдергивание стальных связей и анкеров, крепящих
стены к колоннам и перекрытиям.
в. Обрушения
отдельных стеновых панелей.
|
Массовые
косые и крестовые трещины в перегородках с шириной раскрытия более 5 мм,
обрушение многих перегородок
|
Разрушения
узлов соединения колонн с ригелями железобетонного каркаса: раздробление и
выкрашивание бетона, оголение и разрывы арматуры и хомутов. Оголение и
выпучивание арматуры железобетонных колонн, скалывание колонн в средней части
наклонными трещинами и смещение частей одна относительно другой. Наклонные
трещины приопорной части железобетонных ригелей и вертикальные в середине
пролета с шириной раскрытия более 1 мм. Расстройство стыков плит покрытия со
сдвижкой последних более 1/4 длины опирания или более 2 см.
Повреждение
кладки под опорами ферм и балок в виде трещин: раздробления камня или
смещения рядов кладки по горизонтальным швам.
|
|
Выпучивание стальных
ферм из своей плоскости.
Обрушения
отдельных конструкций.
|
|
Примечание. По
количеству повреждений конструкций ко всем подобным конструкциям на данном
объекте оценивается в % при: единичные - до 5 , отдельные - до 20, просто повреждения
до 60, массовые 60 и более.
|