//
ТехЛит.ру
- крупнейшая бесплатная электронная интернет библиотека для "технически умных" людей.
WWW.TEHLIT.RU - ТЕХНИЧЕСКАЯ ЛИТЕРАТУРА

:: Алготрейдинг::


АЛГОТРЕЙДИНГ
шаг за шагом
с нуля по урокам!

Торговые роботы на PYTHON, BackTrader,
Pandas, Pine Script для TradingView. Связка с брокерами, телеграм и легкими приложениями.


ОТКРЫТОЕ АКЦИОНЕРНОЕ ОБЩЕСТВО

ПРОЕКТНО-КОНСТРУКТОРСКИЙ И ТЕХНОЛОГИЧЕСКИЙ ИНСТИТУТ ПРОМЫШЛЕННОГО СТРОИТЕЛЬСТВА

ОАО ПКТИпромстрой

ТИПОВАЯ ТЕХНОЛОГИЧЕСКАЯ КАРТА
НА УСТРОЙСТВО КРОВЛИ ИЗ БИТУМНО-ПОЛИМЕРНОЙ
САМООТВЕРЖДАЮЩЕЙСЯ МАСТИКИ
«АНТИКОР МПБ»

МОСКВА 2001

Согласовано:

Генеральный директор

АОЗТ ЦНИИОМТП

_______________ П.П. Олейник

« 6 » октября 1998 г.

Утверждено:

Генеральный директор

ОАО ПКТИпромстрой

_____________ С.Ю. Едличка

« 6 » октября 1998 г.

Начальник Технического управления

АО «Моспромстрой»

__________________ А.К. Готгельф

« 6 » октября 1998 г.

В технологической карте рассмотрены вопросы устройства кровель с применением битумно-полимерных мастичных материалов на примере мастики «Антикор МПБ». Рекомендована область применения, разработаны вопросы организации и технологии производства работ, охрана труда, техника безопасности и пожарной безопасности.

Карту разработали в ОАО ПКТИпромстрой сотрудники отдела проектирования технологии строительства Ярымов Ю.А., Нечаева В.С. при участии главного инженера института Колобова А.В., зам. директора по науке, кандидата технических наук Шахпоронова В.В., начальника технического отдела кандидата технических наук Филипенко Н.Н.

1. ОБЛАСТЬ ПРИМЕНЕНИЯ

1.1. Технологическая карта разработана на устройство безрулонной кровли из полимерно-битумной мастики «Антикор МПБ» на основе хлорсульфированного полиэтилена и битума.

1.2. Мастика «Антикор МПБ» предназначена для устройства атмосферостойкого, водостойкого, химстойкого и теплостойкого кровельного ковра по крышам с любыми уклонами и конфигурацией.

1.3. Карта предусматривает нанесение мастичного покрытия механизированным способом с помощью установки безвоздушного распыления СО-145.

1.4. Свойства битумно-полимерной мастики «Антикор МПБ» позволяют укладывать ее по жестким основаниям:

- поверхности железобетонных плит;

- поверхности цементной стяжки;

- поверхности асфальто-бетонной стяжки;

- старых покрытий мастичных кровель;

- старых ковров рулонной кровли;

- покрытий кровель из жестких асбестоцементных листов;

- покрытий кровель из металлических листов.

1.5. Настоящая карта составлена на устройство кровли площадью 1000 м2.

При привязке карты к конкретным условиям подлежат уточнению объемы работ, калькуляция и график производства работ.

2. ТЕХНОЛОГИЯ И ОРГАНИЗАЦИЯ ВЫПОЛНЕНИЯ РАБОТ

2.1. До начала устройства кровельного ковра должны быть выполнены:

- все строительно-монтажные работы на участках устройства кровли, включая замоноличивание швов между старыми железобетонными плитами, установку и закрепление к несущим плитам водосточных воронок, компенсаторов деформационных швов, патрубков для пропуска инженерного оборудования, анкерных болтов; слои паро- и теплоизоляции;

- проверка качества и правильности выполнения работ по устройству основания кровли с составлением акта;

- подготовка основания под кровельное покрытие включающая сушку и очистку основания от мусора и пыли;

- подготовка и установка в зоне работ механизмов, инвентаря, приспособлений;

- приготовление мастичной композиции.

2.2. При производстве работ по устройству кровель с применением битумно-полимерных материалов («Антикор МПБ») должны соблюдаться требования строительных норм и правил по технике безопасности, действующих правил по охране труда и противопожарной безопасности.

2.3. Подготовка поверхности основания.

Основанием под новую мастичную кровлю из композиции «Антикор МПБ» служит, как правило, поверхность бетонных кровельных плит, или поверхность цементно-песчаной стяжки, а также асфальтобетонной стяжки. Поверхности эти должны быть ровными, чистыми, без пыли, жировых и масляных пятен.

Поверхность основания под кровельное покрытие из композиции «Антикор МПБ» должна быть достаточно ровной с плавными переходами в местах сопряжений с выступающими над крышей конструкциями. В основании допускаются трещины глубиной до 0,3 мм, при ширине до 0,9 мм.

Скопившуюся на кровле воду удаляют, используя машины типа СО-222 или СО-169А, работающие по принципу вакуумного отсоса.

Для просушки изолируемой поверхности используется приспособление, разработанное ПКБ ЛНИИ АКХ.

При незначительных объемах работ по подсушке поверхностей используется инжекционная горелка.

Обеспыливание стяжки выполняют при помощи сжатого воздуха от компрессора, оборудованного масловодоотделителем, щетками или промывкой водой со сбросом ее в водоотводящие воронки.

Зачистка выступающих над крышей металлоконструкций и ограждений выполняется с использованием реверсивной пневмощетки или электродрели со сменными насадками.

Полимерно-битумная мастика с пониженной горючестью «Антикор МПБ» по всем показателям отвечает требованиям технических условий на эту продукцию ТУ 2311-001-17660092-95, что удостоверено соответствующим сертификатом (регистрационный № 51/6).

Мастика представляет собой однородную массу, полученную путем смешения в заданном соотношении полимерного и битумного компонентов.

Полимерный компонент мастики представляет собой раствор лака ХСПЭ с наполнителем, антипиреном и модифицирующей добавкой.

Битумный компонент - раствор битума в ксилоле или толуоле с вулканизатором. Покрытие, выполненное из мастики «Антикор МПБ», сохраняет эластичность и защитные свойства в диапазоне температур от -45 ° до +100 °С, относится к группе горючести Г2 по ГОСТ 30244-94 (группа трудногорючих материалов по СТСЭВ 2437-80).

В соответствии с ГОСТ 9.049-91 мастика относится к материалу, стойкому к воздействию плесневых грибков, т.е. является биостойким.

Условное обозначение мастики в технической документации и при заказе: «композиция полимерно-битумная для трудногорючего кровельного гидроизоляционного покрытия «Антикор МПБ» - ТУ 2311-003-1766092-97».

2.3. Полимерный состав представляет собой раствор хлорсульфированного полиэтилена марки 20И (ТУ 6-55-9-90) в толуоле или ксилоле или лака ХП 743 с наполнителем и вулканизатором.

Битумный состав - 50 % раствор битума марки БНД 60/90 по ГОСТ 22245 в ксилоле или толуоле.

Составляющие полимерно-битумной композиции поставляются раздельно в металлических бочках или флягах по ГОСТ 5799.

Приготовление композиции «Антикор МПБ» должно производиться на открытой площадке или в помещении с интенсивным вентилированием, при температуре не ниже +5 °С.

Приготовление композиции производится в емкости, объем которой определяется сменным расходом материала, путем перемешивания полимерной и битумной составляющих в соотношении 3,5:1. Время перемешивания 10 - 15 минут. При этом вязкость готовой композиции должна быть не более 40 сек по вискозиметру В34. После смешивания композиция выдерживается в течение часа. Время жизнеспособности готовой композиции 24 часа (в герметичной таре).

Простейшим механизмом для смешивания компонентов может служить электродрель любого типа со скоростью вращения до 300 об/мин, снабженная насадкой с лопастями. В качестве смесителей можно использовать бетоносмесители БСП-150 М «Торнадо» с объемом смешиваемой массы 150 литров, бензиновый двигатель позволяет работать автономно, подъемные лопасти облегчают очистку от мастики.

Для обеспечения требуемого качества приготовленной смеси необходимо соблюдать следующие условия:

- точность дозировки компонентов при смешении не должна превышать ±3 % от массы смеси;

- тщательность перемешивания смеси должна обеспечить однородную желеобразную консистенцию в результате последовательности прохождения трех фаз состояния смеси: первоначальная смешанная жидкость, появление многих желеобразных сгустков, превращение в однородную желеобразную массу.

Битумно-полимерная мастика «Антикор МПБ» должна изготовляться в соответствии с требованиями технических условий по рецептуре и технологическому регламенту, утвержденным в установленном порядке.

Битумно-полимерная мастика «Антикор МПБ» должна соответствовать требованиям и нормам, указанным в таблице 1.

Таблица 1

Требования и нормы к битумно-полимерной мастике «Антикор МПБ»

Наименование

Нормы для

показателя

Битумного компонента

Полимерного компонента

Мастики «Антикор МПБ»

1

2

3

4

1. Цвет

черный

коричневый оттенок не нормируется

черный

2. Внешний вид

жидкая однородная масса

вязкая однородная масса

вязкая однородная масса

3. Степень перетира мкм, не более

-

150

150

4. Массовая доля нелетучих веществ, % в пределах

50 ± 3

31 ± 3

33 ± 4

5. Вязкость по ВЗ-246, сопло 4, с, не более

100

500

400

6. Цвет покрытия

-

-

черный, оттенок не нормируется

7. Внешний вид

-

-

покрытие гладкое полуматовое

8. Время высыхания до степени 1, ч., не более

-

-

1

9. Адгезия покрытия к бетону, Мпа (кгс/см), не менее

-

-

1,0 (10)

10. Водопоглощение пленки, в % по массе не более

-

-

1,0

11. Прочность пленки при растяжении, Мпа (кгс/см2), не менее

-

-

1,6 (16)

12. Относительное удлинение пленки при разрыве, %, не менее

-

-

360

13. Теплостойкость пленки в течение 2 час при температуре, °С

-

-

120

14. Гибкость пленки на стержне диаметром 5 мм при температуре -45 °С

-

-

пленка без изменений

15. Водонепроницаемость, при 0,3 Мпа в течение 24 час

-

-

водонепроницаем

16. Биостойкость по трем методам

-

-

грибостоек

17. Стойкость пленки к статическому воздействию неорганич. кислот и щелочей в интервале рН 3 ¸ 12, р-ра сульфатов (концентр. 5 %), гр. стойкости

-

-

2.4. Нанесение композиции «Антикор МПБ».

Для приготовления, подачи и нанесения композиции «Антикор МПБ» используют станцию СО-145. Применение станции СО-145 обеспечивает полный технологический цикл работ: перемешивание исходных (составляющих) компонентов мастики, подачу на кровлю и нанесение ее на поверхность с использованием удочки (кистью, валиком). Использование станции обеспечивает непрерывный технологический цикл производства работ в пределах захватки. Разметки захваток определяются длиной напорных рукавов (длина рукава 80 м). По мере окончания работ на захватке станция СО-145 передвигается на очередную захватку.

Мастика «Антикор МПБ» наносится на основание в 3 - 4 слоя. Количество слоев зависит от требуемой толщины кровельного ковра. Минимальная допустимая толщина кровельного покрытия 1,3 мм. Первый слой толщиной 0,1 мм - грунтовочный, последующие - основные.

На ответственных участках строительных конструкций и в жестких условиях эксплуатации необходимо производить армирование покрытия мест примыкания, водоприемные воронки и т.д. стеклотканью. Стеклоткань накладывается на первый свежеуложенный основной слой композиции «Антикор МПБ» и прикатывается валиком. Нанесение следующих слоев материала производится аналогично. Грунтовочный и основные слои полимерно-битумной композиции наносятся на поверхность методом безвоздушного распыления.

Расстояние форсунки от поверхности составляет 700 ¸ 900 мм. Метод безвоздушного распыления обеспечивает получение бесшовных покрытий на поверхности, сокращает продолжительность работ, снижает потери распыляемого материала в окружающую среду, исключает «туманообразование», что особенно важно при работе с композициями летучих растворителей типа ксилол, толуол.

Мастика наносится на поверхность полосами шириной 1 м равномерно, без пропусков по всей длине изолируемой поверхности. Для получения сплошного покрытия полосы должны перекрывать ранее нанесенные на 3 - 4 см.

Время сушки грунта до нанесения основных слоев составляет 1 час. Межслойная сушка 1,5 - 2 часа.

Слой мастики «Антикор МПБ» считается достаточно высохшим, если он не прилипает при ходьбе. Схема устройства кровельного покрытия из полимер-битумной мастики «Антикор МПБ» дана на рисунке 1.

Полимер-битумную мастику «Антикор МПБ» разрешается наносить при температуре воздуха не ниже +5 ° и относительной влажности не более 70 %. Расход грунта 150 ¸ 200 г/м2. Расход полимерно-битумной мастики при нанесении основных слоев на плоские поверхности не должен превышать 1 кг/м2 на один слой. Общий расход материала 3 - 4 кг/м2.

В районах повышенного воздействия солнечной радиации на кровельное покрытие из мастики «Антикор МПБ» наносится покрывной, светоотражающий слой на основе атмосферо- и светостойких эмалей светлых тонов на основе перхлорвиниловых материалов марок ХВ, ХС, ПХВ. Толщина покрывного слоя 80 - 100 мкм. Краску наносят пистолетом-распылителем окрасочного агрегата СО-5А.

Покрывной слой наносится, как правило, через 5 - 7 суток.

2.5. Последовательность технологических операций по герметизации различных сопряжений (рис. 1).

Последовательность технологических операций по герметизации сопряжения водоотводящей воронки с железобетонной кровельной панелью:

- щетинной кистью, тщательно втирая, наносят мастику на бетон и внутри раструба, одновременно окрашивая прижимное кольцо и колпак;

- каверны выравнивают полимерраствором, тщательно затирая щели и раковины в зоне водоприемной воронки;

- поверхность полимерраствора огрунтовывают мастикой сразу же после затвердевания, обеспечивая нормальные условия набора прочности;

- после затвердевания грунтовки, по центру воронки насухо укладывают полотнище тонкой стеклоткани 1000´1000 мм (от 800´800 до 1200´1200 мм), затем отвернув одну половину, наносят приклеивающий слой композиции и наклеивают отогнутую часть полотнища; то же делают со второй половиной, а потом острозаточенным ножом разрезают полотнище крестообразно по диаметру водосточной трубы;

- покрыв мастикой наклеенное полотнище, накладывают такой же второй слой стеклоткани с таким расчетом, чтобы крестообразные разрезы не совпадали;

- по второму слою (тонкой стеклоткани) наносят слой композиции, вдавливают прижимное кольцо с таким расчетом, чтобы оно не выступало над будущим кровельным покрытием;

- одновременно с нанесением последнего слоя мастики устанавливают заблаговременно окрашенный колпак. Конструктивное решение герметизации сопряжения воронки с ж/б панелью дано на рис. 2.

Герметизацию примыкания к стенам машинного отделения, вентшахт и парапета выполняют в следующей последовательности:

- по периметру стен мастерком выполняют полимеррастворную «выкружку» или бортик, обеспечивая плавный переход к стене;

- по полимерраствору щетко-шваброй наносят первый - приклеивающий слой композиции и по нему расстилают тонкую стеклоткань (если предусмотрено армирование);

- сразу наносят второй приклеивающий слой мастики, а после выдержки - третий завершающий слой. Конструктивное решение герметизации сопряжения приведено на рис. 3.

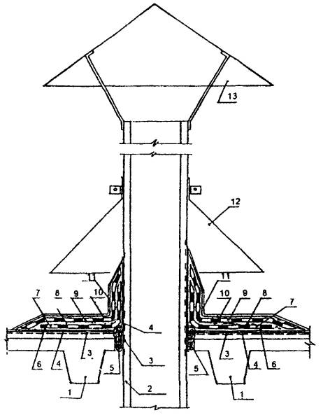
Особенностью герметизации сопряжения вентиляционной трубы с кровлей является (при отсутствии бортика) необходимость уплотнения сквозных щелей между трубой (асбестоцементной или металлической), которые выполняют тщательной набивкой несмоленой пакли, пропитанной мастикой.


Рис. 1. Схема устройства кровельного покрытия


Рис. 2. Решение герметизации сопряжения водоотводящей воронки с ж/б кровельной панелью

1 - зона очистки (пунктир), 2, 4, 9, 11 - композиция «Антикор МПБ», 3, 5, 8, 10 - армирующие слои стеклоткани, 6 - полимер раствор, 7 - прижимное кольцо

Рис. 3. Конструктивно-технологическое решение герметизации сопряжения вентиляционной трубы с кровельными панелями

1 - ж/б панель покрытия, 2 - труба, 3 - зона очистки (пунктир), 4 - мастика, 5 - пакля, пропитанная мастикой, 6 - приклеивающий слой; 7 - стеклоткань, 8 - 2-й приклеивающий слой, 9 - нетканка, стеклоткань, 10 - защитный слой мастики, 11 - защитная посыпка, 12 - фартук, 13 - зонтик

Таблица 2

Материально-технические ресурсы

Наименование

Марка, техническая хар-ка, ГОСТ, № чертежа

Кол-во

Назначение

1

2

3

4

Станция для устройства безрулонных кровельных покрытий

СО-145, производительность 800 м2

1

Механизированное нанесение композиции на кровлю

Удочка-распылитель

РЧ 13.04.00 ОООСП ЦНИИОМТП, производительность 150 м2

1

Нанесение композиции на поверхность методом безвоздушного распыления

Компрессор передвижной

СО-62 (СО-7А)

1

Очистка основания от мусора и пыли

Подъемник

ТП-12, высота подъема 27 м

1

Подача материалов

Рукав резиновый

Æ 9 - 12 мм ГОСТ 9356-75

1

Подвод сжатого воздуха

Бачок

РЧ 806.00.000 Управление механизации Главмосстроя, вместимость 20 л

2

Переноска композиции

Ковш

ОСТ 22.686-73

2

Разливка композиции

Шпатель-скребок

ТУ 22-3059-74

2

Очистка кровли от отслаивающейся мастики

Шпатель стальной

Тип ШД-45, ГОСТ 10778-83

2

То же

Щетка стальная прямоугольная

ТУ 494-01-104-76

2

То же

Кисть малярная

ГОСТ 10597-87

2

Нанесение композиции

Лопата

ГОСТ 19596-87

2

-

Ведро

-

2

-

Очки защитные

ГОСТ 12.4.013-85Е

2

Защита глаз от брызг композиции

Перчатки резиновые

ТУ 38-6-74-86

2

Защита кожи рук

Респиратор

РУ-60 МЛ, РПГ-67-А, РУ-71А

2

Защита органов дыхания

Пояс предохранительный

-

2

Безопасное ведение работ

Огнетушитель

СУ-2, ОХП-10

4

-

Аптечка индивидуальная

ГОСТ 23267-78

1

-

Данные потребности в материалах и полуфабрикатах для выполнения работ по устройству 1000 м2 кровли из полимерно-битумной композиции приведены в таблице 3.

Таблица 3

Наименование материала, полуфабриката, конструкции (марка; ГОСТ)

Исходные данные

Потребность в материалах

Единица измерения

Объем работ в нормативных единицах

принятая норма расх. мат. (1 слой)

Композиция «Антикор МПБ»

1 м2 кровли

1000

1,0 кг

3,0 т (3 слоя)

3. ТРЕБОВАНИЯ К КАЧЕСТВУ И ПРИЕМКЕ РАБОТ

3.1. Контроль качества работ по ремонту кровель должны осуществляться специальными службами, создаваемыми в строительной организации и оснащенными техническими средствами, обеспечивающими необходимую достоверность и полноту контроля.

3.2. Контроль качества работ должен включать входной контроль рабочей документации, конструкций, материалов и оборудования; операционный контроль выполнения отдельных операций при выполнении ремонта кровель и приемочный контроль выполненной кровли.

3.3. При входном контроле рабочей документации производится проверка ее комплектности достаточности содержащейся в ней технической информации для производства работ.

При входном контроле строительных конструкций, изделий, материалов и оборудования проверяются внешним осмотром соответствия их требованиям стандартов или других нормативных документов и рабочей документации, а также наличие паспортов, сертификатов и других сопроводительных документов.

3.4. Операционный контроль осуществляется в ходе выполнения работ по ремонту кровли и обеспечивает своевременное выявление дефектов и принятие мер по их устранению и предупреждению.

Результаты операционного контроля фиксируется в журнале работ.

Основным документом при операционном контроле являются требования СНиП 3.04.01-87 «Изоляционные и отделочные покрытия».

3.5. При поступлении рулонных и мастичных материалов на объект их образцы проверяют в лаборатории на соответствие физико-механических показателей паспортным данным.

3.6. При приемке выполненных работ по кровле проводится ее визуальное обследование. Особое внимание обращается на места сопряжений кровельного ковра с различными конструкциями крыши: выходы на крышу, примыкания к стене, парапетам, оголовкам вентиляционных блоков, установки вытяжных вентиляционных стояков и т.д.

При устройстве безрулонных кровель из полимерно-битумных мастик типа «Антикор МПБ» контролю подлежат: качество исходных материалов, точность их дозировки, равномерность нанесения композиции и качество готового покрытия. Технические критерии оценки качества и средства контроля операции и процессов приведены в таблице 4. Приемочный контроль готовых кровель осуществляют согласно СНиП 3.01.01-85.

Таблица 4

Контроль качества

Наименование процессов подлежащих контролю

Предмет контроля

Инструмент и способ контроля

Время контроля

Ответствен. контролер

Технич. критерии оценки качества

Подготовка поверхности основания

Ровность поверхности, отсутствие грязи, пыли, влажных и масляных пятен

Контрольная рейка, визуально

До начала работ

Мастер

Влажность основания не должна превышать 5 %

Нанесение композиции

Качество композиции

Лабораторное исследование

Отбор проб в процессе работ

- " -

- " -

 

Точность дозировки исходных компонентов

- " -

- " -

- " -

- " -

 

Качество слоев

Визуально

В процессе работ

- " -

Слой должен быть сплошным без разрывов, равномерной толщины

 

Общая толщина всех слоев

Игловой щуп, измерительный, технический осмотр. Не менее 5 измерений на каждые 70 - 100 м2 поверхности

- " -

- " -

Не менее 1,3 мм

4. ТЕХНИКО-ЭКОНОМИЧЕСКИЕ ПОКАЗАТЕЛИ НА УСТРОЙСТВО 1000 м2 КРОВЛИ

Нормативные затраты труда рабочих, чел.-ч                       265,24

Нормативные затраты машинного времени, маш.-ч           7,44

Продолжительность выполнения работ, смена                   16,2

Выработка одного рабочего в смену, м2

Калькуляция затрат труда, машинного времени и устройство кровли из полимерно-битумной композиции «Антикор МПБ» приведена в таблице 5.

Таблица 5

Обоснование (ЕНиР и др. нормы)

Наименование процесса

Ед. изм.

Объем работ

Норма времени

Затраты труда

Время пребывания машины на объекте, маш.-ч

рабочих, чел.-ч

машиниста, чел.-ч

рабочих, чел.-ч

машиниста, чел.-ч

ЕНиР, § Е7-4 № 2

Очистка основания от мусора

100 м2 основания

10

0,41

-

4,1

-

-

ЕНиР, § Е7-1 № 5, 6

Безрулонное покрытие крыши холодной полимер-битумной композицией (3 слоя)

100 м2 кровли

10

26,1

-

261

-

-

ЕНиР, § Е7-1 прим. п. 2

Обслуживание станции

1 т

3,8

-

1,94

-

7,37

7,33

ЕНиР, § Е1-16 табл. 2

табл. 6 «а, б»

Подача материалов на крышу

100 т

0,008

18

9

0,28

0,07

0,07

ИТОГО:

265,38

7,44

 


График производства работ на устройство 1000 м2 кровли

Таблица 6


5. ТЕХНИКА БЕЗОПАСНОСТИ И ОХРАНА ТРУДА, ЭКОЛОГИЧЕСКАЯ И ПОЖАРНАЯ БЕЗОПАСНОСТЬ

5.1. При выполнении работ по ремонту кровель необходимо соблюдать требования, изложенные в СНиП III-4-80 «Техника безопасности в строительстве», ГОСТ 12.0.004-79 «Организация обучения работающих безопасности труда. Общие положения», ГОСТ 12.3.040-86 «Строительство. Paботы кровельные и гидроизоляционные. Требования безопасности» и положения инструкции по эксплуатации машины ЛНИИ АКХ и СО-106 (107)

5.2. Допуск рабочих к выполнению кровельных работ разрешается после осмотра прорабом или мастером совместно с бригадиром исправности несущих конструкции крыши и ограждений.

5.3. При выполнении работ на крыше с уклоном более 20° рабочие должны применять предохранительные пояса. Места закрепления предохранительных поясов должны быть указаны мастером или прорабом.

5.4. Для прохода рабочих, выполняющих работы на крыше с уклоном более 20°, а также на крыше с покрытием, не рассчитанным на нагрузки от веса работающих, необходимо устраивать трапы шириной не менее 0,3 м с поперечными планками для упора ног. Трапы на время работы должны быть закреплены.

5.5. Размещать на крыше материалы допускается только в местах, предусмотренных проектом производства работ, с принятием мер против их падения, в том числе от воздействия ветра. Не допускается хранение и складирование на крыше материалов в большем количестве, чем требуется для работы на данном участке.

5.6. Не допускается выполнение кровельных работ во время гололеда, тумана, исключающего видимость в пределах фронта работ, грозы и ветра скоростью 15 м/сек и более.

5.7. Заготовка элементов и деталей кровли непосредственно на крыше не допускается.

5.8. К работе по устройству кровель допускаются лица не моложе 18 лет, имеющие профессиональные навыки, прошедшие обучение безопасным методам труда и приемам этих работ и получивших соответствующие удостоверения.

5.9. Рабочие, занятые на устройстве кровель, должны быть обеспечены спецодеждой, спецобувью и другими средствами индивидуальной защиты в количестве не ниже установленных норм.

На местах проведения работ должны быть питьевая вода и аптечка для оказания первой медицинской помощи.

5.10. В случае отсутствия наружных строительных лесов здание, на котором производятся ремонтные кровельные работы, ограждается во избежание доступа людей в зону возможного падения материалов, инструмента, тары и др.

5.11. По окончании смены, а также на время перерывов в работе все остатки материалов, приспособлений, инструмент и мусор должны быть убраны с кровли. Сбрасывание с кровли материалов и инструмента запрещается.

Пожарная безопасность

5.12. Места производства кровельных работ должны быть обеспечены первичными средствами пожаротушения в соответствии с требованиями Правил пожарной безопасности РФ.

5.13. На объекте должно быть назначено лицо, ответственное за сохранность и готовность к действию первичных средств пожаротушения.

5.14. Все работники должны уметь пользоваться первичными средствами пожаротушения.

5.15. Перед началом ремонтных работ территория объекта должна быть подготовлена с определением мест установки бытовых помещений, мест складирования материалов и легковоспламеняющихся материалов.

5.16. Противопожарные двери и выходы на крышу должны быть исправны и при проведении работ закрыты. Запирать их запрещается. Проходы и подступы к эвакуационным выходам и стационарным пожарным лестницам должны быть всегда свободны.

Экологическая безопасность

5.17. При ремонте кровли снимаемый кровельный материал должен удаляться на специально подготовленную площадку. Устраивать свалки горючих отходов на территории строительства не разрешается.

5.18. По окончании рабочей смены не разрешается оставлять кровельные рулонные материалы, сгораемые утеплитель и другие горючие материалы внутри здания или на его покрытиях, а также в противопожарных разрывах.

5.19. Кровельный материал, сгораемый утеплитель и другие горючие вещества и материалы, используемые при работе, необходимо хранить вне здания в отдельно стоящем сооружении или на специальной площадке.

5.20. Содержание вредных веществ в рабочей зоне не должно превышать предельно допустимых концентраций.

При разработке технологической карты использованы следующие материалы:

1. Технические условия на полимерно-битумную композицию «Антикор МПБ» предназначенную для наружных работ для устройства монолитных кровель, ремонта кровельных покрытий, гидроизоляций. ТУ 2311-001-17660092-95.

2. СНиП 3.04.01-87 «Изоляционные и отделочные покрытия».

3. СНиП 3.01.01-85* «Организация строительного производства».

4. СНиП III-4-80* «Техника безопасности в строительстве».

5. СНиП II-26-76 «Кровли. Нормы проектирования».

6. «Правила пожарной безопасности в Российской Федерации».

СОДЕРЖАНИЕ

 




Яндекс цитирования



   Copyright © 2007-2026,  www.tehlit.ru.

[ ѓосты, стандарты, нормативы, инструкции, правила, строительные нормы ]