//
ТехЛит.ру
- крупнейшая бесплатная электронная интернет библиотека для "технически умных" людей.
WWW.TEHLIT.RU - ТЕХНИЧЕСКАЯ ЛИТЕРАТУРА

:: Алготрейдинг::


АЛГОТРЕЙДИНГ
шаг за шагом
с нуля по урокам!

Торговые роботы на PYTHON, BackTrader,
Pandas, Pine Script для TradingView. Связка с брокерами, телеграм и легкими приложениями.


ОТКРЫТОЕ АКЦИОНЕРНОЕ ОБЩЕСТВО

ПРОЕКТНО-КОНСТРУКТОРСКИЙ И ТЕХНОЛОГИЧЕСКИЙ ИНСТИТУТ
ПРОМЫШЛЕННОГО СТРОИТЕЛЬСТВА
ОАО ПКТИПРОМСТРОЙ

ТИПОВАЯ ТЕХНОЛОГИЧЕСКАЯ КАРТА
НА РЕМОНТ РУЛОННЫХ КРОВЕЛЬ С ПРИМЕНЕНИЕМ
БИТУМНО-ПОЛИМЕРНЫХ МАСТИЧНЫХ МАТЕРИАЛОВ
С РАЗБОРКОЙ СТАРОГО КРОВЕЛЬНОГО КОВРА

Москва

2001

Согласовано:

Генеральный директор

АОЗТ ЦНИИОМТП

__________________________ И.П. Олейник

«6» октября 1998 г.

Утверждено:

Генеральный директор

ОАО ПКТИпромстрой

______________________ С.Ю. Едличка

«6» октября 1998 г.

Начальник Технического управления

АО «Моспромстрой»

__________________________ А.К. Готгельф

«6» октября 1998 г.

 

В технологической карте рассмотрены вопросы ремонта рулонных кровель с применением битумно-полимерных мастичных материалов на примере мастики «Антикор-МПБ» с разборкой старого ковра. Рекомендована область применения, разработаны вопросы организации и технологии производства работ, охраны труда, техники безопасности и пожарной безопасности.

Карту разработали в ОАО ПКТИпромстрой сотрудники отдела проектирования технологии строительства Ярымов Ю.А., Нечаева Е.С., при участии главного инженера института Колобова А.В., зам. директора по науке кандидата технических наук Шахпоронова В.В., начальника технического отдела кандидата технических наук Филипенко Н.Н.

1. ОБЛАСТЬ ПРИМЕНЕНИЯ

1.1. Технологическая карта разработана на замену старого покрытия мягкой рулонной кровли из рубероида новым, изготовленным на основе битумно-полимерной мастики (принята мастика «Антикор МПБ»).

1.2. Технологическая карта определяет порядок производства работ по снятию пришедшей в негодность кровли из рубероида. При устройстве кровельного гидроизоляционного покрытия из полимерно-битумной мастики необходимо руководствоваться технологической картой на устройство мастичной кровли с применением битумно-мастичной композиции «Антикор МПБ».

1.3. Свойства битумно-полимерной мастики «Антикор МПБ» позволяют укладывать ее по жестким основаниям:

- поверхности железобетонных кровельных плит;

- поверхности цементно-песчаной стяжки;

- поверхности асфальтобетонной стяжки;

- старых покрытий мастичных кровель;

- старых ковров рулонных кровель;

- покрытий кровель из жестких асбестоцементных (волнистых и плоских) листов;

- покрытий кровель из металлических (плоских и профилированных) листов.

1.4. При привязке настоящей технологической карты к конкретному объекту уточняются объем работ, калькуляция трудозатрат, график выполнения работ.

2. ОРГАНИЗАЦИЯ И ТЕХНОЛОГИЯ ВЫПОЛНЕНИЯ РАБОТ

2.1. До начала работ по ремонту кровель должны быть выполнены и приняты:

- все строительно-монтажные работы на ремонтируемых участках, включая замоноличивание швов между сборными железобетонными плитами, установку и закрепление к несущим плитам водосточных воронок, компенсаторов деформационных швов, патрубков для пропуска инженерного оборудования, анкерных болтов;

- слои паро- и теплоизоляции.

2.2. При производстве работ по ремонту кровель с применением битумно-полимерных матричных материалов («Антикор МПБ») должны соблюдаться требования строительных норм и правил по технике безопасности, действующих правил по охране труда и противопожарной безопасности.

2.3. Применяемая при производстве работ полимерно-битумная мастика с пониженной горючестью «Антикор МПБ» по всем показателям отвечает требованиям технических условий на эту продукцию ТУ 2311-001-17660092-95, что удостоверено соответствующим сертификатом (регистрационный № 51/6).

Мастика представляет собой однородную массу, полученную путем смешения в заданном соотношении полимерного и битумного компонентов.

Полимерный компонент (основа) представляет собой раствор лака ХСПЭ с наполнителем, антипиреном и модифицирующей добавкой.

Битумный компонент - раствор битума в ксилоле или толуоле с вулканизатором. Покрытие, выполненное из мастики «Антикор МПБ», сохраняет эластичность и защитные свойства в диапазоне температур от -45 °С до +45 °С, относится к группе горючести Г2 по ГОСТ 30244-94 (группа трудногорючих материалов по СТ СЭВ 2437-80).

В соответствии с ГОСТ 9.-49-91 относится к материалу, стойкому к воздействию плесневых грибков, т.е. является биостойким.

Условные обозначения мастики в технической документации и при заказе: «Композиция полимерно-битумная для трудногорючего кровельного гидроизоляционного покрытия «Антикор МПБ» ТУ 2311-003-1766092-97».

2.4. Битумно-полимерная мастика «Антикор МПБ» должна изготовляться в соответствии с требованиями технических условий по рецептуре и технологическому регламенту, утвержденными в установленном порядке.

Битумно-полимерная мастика «Антикор МПБ» должна соответствовать требованиям и нормам, указанным в таблице 1.

2.5. Процесс ремонта кровельного покрытия с использованием битумно-полимерного покрытия типа «Антикор МПБ» включает в себя следующие операции:

- установка в зоне работы механизмов и инвентаря;

- снятие пришедшего в негодность покрытия;

- очистка основания от остатков мастики;

- восстановление разрушенных участков основания;

- сушка основания;

- очистка основания от мусора и пыли;

- нанесение битумно-полимерной мастики.

Таблица 1

Требования и нормы к битумно-полимерной мастике «Антикор МПБ»

Наименование показателя

Нормы для

битумного компонента

полимерного компонента

мастики «Антикор МПБ»

1

2

3

4

1. Цвет

черный

коричневый, оттенок не нормируется

черный

2. Внешний вид

жидкая однородная масса

вязкая однородная масса

вязкая однородная масса

3. Степень перетира, мкм, не более

-

150

150

4. Массовая доля нелетучих веществ, % в пределах

50 ± 3

31 ± 3

33 ± 4

5. Вязкость по ВЗ-246, сопло 4, с, не более

100

500

400

6. Цвет покрытия

-

-

черный, оттенок не нормируется

7. Внешний вид

-

-

покрытие гладкое полуматовое

8. Время высыхания до степени 1, ч, не более

-

-

1

9. Адгезия покрытия к бетону, МПа (кгс/см2), не менее

-

-

1,0 (10)

10. Водопоглощение пленки, в % по массе, не более

-

-

1,0

11. Прочность пленки при растяжении, МПа (кгс/см2), не менее

-

-

1,6 (16)

12. Относительное удлинение пленки при разрыве, %, не менее

-

-

360

13. Теплостойкость пленки в течение 2 ч при температуре, °С

-

-

120

14. Гибкость пленки на стержне диаметром 5 мм при температуре -45 °С

-

-

пленка без изменений

15. Водонепроницаемость, при 0,3 МПа в течение 24 ч

-

-

водонепроницаем

16. Биостойкость по трем методам

-

-

грибостоек

17. Стойкость пленки к статическому воздействию неорганич. кислот и щелочей в интервале рН 3 - 12, р-ра сульфатов (концентр. 5 %), гр. стойкости

-

-

По окончании работ по подготовке основания составляется акт приемки основания.

2.6. Для снятия старого рулонного ковра используют машину конструкции ЛНИИ АКХ (Ленинградский научно-исследовательский институт академии коммунального хозяйства), предназначенную для нарезки швов в рулонном ковре. Машина используется на крышах зданий с уклоном до 15 %. Применение машины ЛНИИ АКХ позволяет разрезать рулонный ковер с помощью вращающейся фрезы на требуемую глубину. Перемещение машины осуществляется вручную. Зона обслуживания машиной ЛНИИ АКХ и размеры захваток определяются длиной электрических кабелей и конструктивными размерами зданий. Как правило, интервал между нарезаемыми швами принимается равным 1,0 м. По мере окончания работ на захватке машина ЛНИИ АКХ передвигается на очередную захватку. Машина ЛНИИ АКХ работает следующим образом:

- устанавливают требуемую глубину врезания фрезы, определяемую толщиной рулонного покрытия, и включают электродвигатель;

- фрезу плавно опускают до касания с поверхностью рулонного ковра, и начинают равномерно двигать вперед, обеспечивая требуемую глубину нарезки шва.

При перемещении машины на новое место, предварительно необходимо вывести фрезу из материала кровли.

2.7. После нарезания швов рулонного ковра кромки торцов образовавшихся полос надрезают вручную с помощью инвентарного скребка, скатывают в рулоны и удаляют с крыши. Затем основание кровли очищают скребком от остатков мастики.

2.8. Восстановление разрушенных участков основания производится следующим образом: заделываются швы между плитами (рис. 1). Если поверхность основания не отвечает заданным требованиям, ее выравнивают цементно-песчаным раствором.

Рис. 1. Конструктивные решения герметизации швов кровельных плит

При необходимости производится оклейка с пропиткой полимерно-битумной композицией «Антикор МПБ» мест сопряжения основания кровли с металлоконструкциями, трубами, водоприемными воронками, армирующими материалами (например, стеклотканью) (рис. 2, 3, 4, 5).

2.9. После снятия старого ковра, основание кровли должно быть высушено. Для этой цели используют специальную машину марки СО-107 для сушки основания кровли. Использование этой машины обеспечивает высокое качество подготовки поверхности основания под устройство кровли. Зона обслуживания машины СО-107 и размеры захваток определяются конструктивными размерами зданий.

2.10. Очистка основания кровли от мусора и пыли производится с помощью сжатого воздуха. Для этой цели следует применять компрессор СО-62 (СО-7А).

2.11. Работы по производству ремонта кровель с применением битумно-полимерной мастики («Антикор МПБ») выполняются в соответствии со схемой организации работ на захватке (рис. 6).

Для приготовления, подачи и нанесения мастики используется станция СО-145.

2.12. Ремонт различных кровель.

При выполнении ремонтных кровельных работ необходимо установить количество слоев в старом кровельном ковре, и если оно превышает шесть, то необходимо этот ковер удалить и отремонтировать стяжку или выполнить ее заново.

При меньшем количестве слоев старое кровельное покрытие может быть отремонтировано. Возможность и целесообразность снятия старого кровельного покрытия или его ремонта определяет проектная организация, давая официальное заключение.

Снятие старого кровельного покрытия осуществляется с использованием специальных механизмов для резки кровельного ковра (машина ЛНИИ АКХ).

Места сопряжений и примыканий должны быть тщательно очищены.

2.13. Ремонт мастичной кровли осуществляется нанесением поверх существующей мастики нового слоя композиции «Антикор МПБ» толщиной не менее 1,5 мм. Поверхность старой кровли предварительно очищается от частиц разрушенной мастики, отложений пыли, листьев и т.п. Сильно разрушенные участки кровли вырезаются и заполняются новой мастикой. При необходимости, поверхность кровли выравнивается заполнением слабо пониженных мест новой мастикой. При понижениях более 5 мм выравнивать их целесообразно с помощью шпаклевок или строительных растворов (кроме известковых). Слой новой мастики наносится на всю поверхность кровли, включая примыкания и вертикальные участки. Особо тщательно обрабатываются водоприемные воронки внутреннего водостока, не допуская, чтобы мастика у воронки была выше прилегающей кровли.

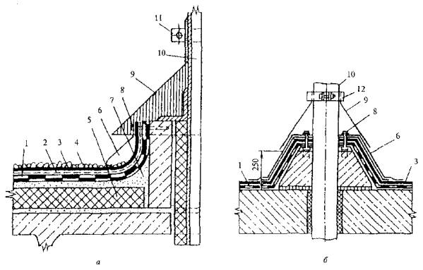
Рис. 2. Устройство кровли на карнизных свесах при капитальном ремонте

1 - парапетная стена; 2 - старый кровельный ковер; 3 - карнизный свес; 4 - армированные карнизные слои; 5 - стойка ограждения; 6 - сборный башмак ограждения кровли; 7- плита покрытия; 8 - песчаный защитный слой

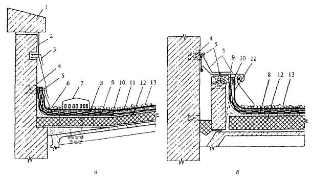
Рис. 3. Устройство примыканий кровли в местах прохода инженерных коммуникаций при капитальном ремонте

а - при диаметре труб 100 мм и более; б - при диаметре труб до 100 мм

1 - старый кровельный ковер; 2 - армирующая прокладка из стекломатериала; 3 - мастичный слой; 4 - защитный гравийный слой; 5 - утеплитель; 6 - фартук; 7 - стяжка; 8 - дюбель; 9 - зонт; 10 - труба; 11 - стяжной болт; 12 - хомут

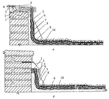
Рис. 4. Устройство примыкания кровли к низкому парапету при капитальном ремонте

а - с поднятием кровли; б - с поднятием кровли на неполную высоту

1 - деревянная пробка; 2 - деревянная доска; 3 - фартук; 4 - металлический костыль; 5 - дюбель; 6 - мастичный слой; 7 - армирующая площадка из стекломатериала; 8 - старый кровельный ковер; 9 - стяжка; 10 - защитный гравийный слой

Рис. 5. Устройство примыкания кровли к высокому (а) и низкому (б) парапетам в местах деформационно-осадочных швов при капитальном ремонте

1 - парапетный камень; 2 - цементная штукатурка; 3 - фартук; 4 - деревянная пробка; 5 - дюбель; 6 - защитный гравийный слой; 7 - водоприемная воронка; 8 - стяжка; 9 - старый кровельный ковер; 10 - армирующая прокладка из стекломатериала; 11 - мастичные слои; 12 - утеплитель; 13 - защитный гравийный слой

Рис. 6. Схема организации работ на захватке

1. Нарезка швов в рулонном ковре (машина для нарезки швов)

2. Снятие нарезанных полос рулонного ковра (скребок)

3. Очистка основания от остатков мастики, мусора, пыли (компрессор СО-62)

4. Заделка швов между плитами

5. Сушка основания (СО-107)

6. Усиление кровли в примыканиях к воронкам

7. Усиление кровли в примыканиях к парапетам

8. Нанесение мастики

 - рабочее место кровельщика

 - направление работ

Рис. 7. Схема устройства стяжки

1 - цементно-песчаный раствор; 2 - рейка-ограничитель ширины полосы укладки раствора; 3 - укладываемый (выравниваемый) раствор; 4 - разравнивающая рейка-правило; 5 - емкость с раствором; 6 - зоны последующей укладки; 7 - полутерок для разравнивания и заглаживания раствора

2.14. Ремонт кровли из рубероида состоит в основном в нанесении на подготовленную поверхность старой кровли слоя композиции толщиной не менее 2 мм.

Подготовка поверхности рубероидной кровли состоит главным образом в устранении и ремонте мест вздутий путем их разрезки и приклейки слоев. Затем с поверхности кровли удаляются разрушенные частицы материала, мастики, отложения пыли, листья. При необходимости выравнивания скатов пониженные места заполняются мастикой, шпаклевкой или строительными растворами.(кроме известковых). Восстанавливаются все места примыканий с удалением разрушенных краев рубероидной кровли. С мест примыкания начинается нанесение ремонтного слоя композиции на всей поверхности кровли.

2.15. Ремонт скатной кровли из жестких асбестоцементных (волнистых и плоских) и металлических (плоских и профилированных) листов возможен при сохранении ими несущей способности и появлении протечек в соединениях и отдельных местах. При этом может проводиться ремонт частичный или полный. При частичном ремонте композицией «Антикор МПБ» покрываются участки (полосы) расстроенных стыков и соединений, при этом возможно армирование стеклотканью. При полном ремонте слой композиции толщиной 1,5 мм покрывает всю поверхность кровли.

2.16. При выполнении ремонтных кровельных работ следует учитывать возможность выпадения обильных осадков в виде дождей и ливней. В данном случае проведение изоляционных работ должно быть организовано небольшими захватками, в пределах сменной производительности бригады, не допуская одновременно полного снятия всего старого кровельного ковра.

2.17. При вскрытии старого кровельного покрытия приходится очищать стяжку или выполнять ее заново.

Цементно-песчаный раствор для устройства стяжки подается растворонасосом. Стяжки укладываются полосами шириной 2 м и длиной 6 м с заполнением их раствором через одну (рис. 7).

После схватывания раствора заполняют пропущенные полосы, при этом края готовых полос служат маяками, а начальные маяки-рейки обязательно извлекаются.

При уклоне кровли до 15 % полосы располагаются поперек ската, а при уклоне более 15 % - по скату. Раствор укладывают вначале на наиболее удаленные участки, постепенно отступая к месту подачи раствора на крышу. При уклонах до 15 % стяжку сначала делают в узлах - сопряжениях и примыканиях, а затем на плоскостях скатов.

Для разравнивания раствора используются правила, виброрейки или пневмогладилки.

Полосы заполняют раствором так, чтобы после извлечения маячных реек образовались температурно-усадочные швы площади покрытия размером не более 6´6 м.

Заделка температурно-усадочных швов приведена на рис. 1.

2.18. После окончания всех кровельных работ необходимо выполнить требования экологической чистоты: все остатки битума, мастичных материалов, обрезки рулонных материалов тщательно упаковать в емкости, контейнеры, опустить на землю и затем вывезти в специально отведенные места.

Таблица 2

Материально-технические ресурсы

Наименование

Марка, техническая характеристика, ГОСТ

Кол-во

Назначение

1

2

3

4

Машина для нарезки швов в рулонном ковре

Конструкция ЛНИИ АКХ, производительность 4 м/мин.

1

Механизированная нарезка швов в рулонном ковре

Машина передвижная для сушки основания кровли

СО-107 (СО-106), производительность 50 м2

1

Сушка основания кровли

Компрессор передвижной

СО-62 (СО-7А)

1

Очистка основания от мусора и пыли

Подъемник

ТП-14, высота подъема до 27 м

1

Снятие и подача материалов

Рукав резиновый

Æ9 - 12 мм, ГОСТ 9356

1

Подача сжатого воздуха

Шпатель-скребок

ТУ 22-3059

2

Очистка основания от налипшей мастики

Шпатель стальной

Тип ШД-45, ГОСТ 10778

2

Очистка основания от налипшей мастики

Лопата

ГОСТ 19596

2

Очистка от мусора

Ведро

ГОСТ 19596

2

Очистка от мусора

Очки защитные

ГОСТ 12.4.013-85Е

2

Защита глаз

Респиратор

РУ-60МА, РПГ-67-А

2

Защита органов дыхания

Пояс предохранительный

-

2

Безопасное ведение работ

Аптечка индивидуальная

ГОСТ 23267

1

То же

3. ТРЕБОВАНИЯ К КАЧЕСТВУ И ПРИЕМКЕ РАБОТ

3.1. Контроль качества работ по ремонту кровель должен осуществляться специальными службами, создаваемыми в строительной организации и оснащенными техническими средствами, обеспечивающими необходимую достоверность и полноту контроля.

3.2. Контроль качества работ должен включать входной контроль рабочей документации, конструкций, материалов и оборудования; операционный контроль выполнения отдельных операций при выполнении ремонта кровель и приемочный контроль выполненной кровли.

3.3. При входном контроле рабочей документации производится проверка ее комплектности, достаточности содержащейся в ней технической информации для производства работ.

При входном контроле строительных конструкций, изделий, материалов и оборудования проверяются внешним осмотром соответствия их требованиям стандартов или других нормативных документов и рабочей документации, а также наличие паспортов, сертификатов и других сопроводительных документов.

3.4. Операционный контроль осуществляется в ходе выполнения работ по ремонту кровли и обеспечивает своевременное выявление дефектов и принятие мер по их устранению и предупреждению.

Результаты операционного контроля фиксируются в журнале работ.

Основным документом при операционном контроле являются требования СНиП 3.04.01-87 «Изоляционные и отделочные покрытия».

3.5. При поступлении рулонных и мастичных материалов на объект их образцы проверяют в лаборатории на соответствие физико-механических показателей паспортным данным.

3.6. При приемке выполненных работ по кровле проводится ее визуальное обследование. Особое внимание обращается на места сопряжений кровельного ковра с различными конструкциями крыши: выходы на крышу, примыкания к стене, парапетам, оголовкам вентиляционных блоков, установки вытяжных вентиляционных стояков и т.д.

3.7. Определяются места протечек через кровлю, застойные зоны, места вздутий и растрескивания кровельного ковра, состояние водоприемных воронок, парапетных камней, парапетных решеток.

3.8. По результатам обследования составляется ведомость дефектов кровли и объемов ремонтных работ.

3.9. Контроль качества работ приведен в таблице 3.

Таблица 3

Контроль качества

Наимен. процессов подлежащих контролю

Предмет контроля

Инструмент и способ контроля

Время контроля

Ответственный контролер

Технич. критерии оценки качества

1

2

3

4

5

6

Подготовка поверхности основания

Ровность поверхности, отсутствие грязи, пыли, влажных и масляных пятен

Контрольная рейка, визуально

До начала работ

Мастер

Влажность основания не должна превышать 5 %

Нанесение композиции

Качество композиции

Лабораторное исследование

Отбор проб в процессе работ

Мастер

Влажность основания не должна превышать 5 %

 

Точность дозировки исходных компонентов

То же

То же

«

То же

 

Качество слоев

Визуально

В процессе работ

«

Слой должен быть сплошным, без разрывов, равномерной толщины

 

Общая толщина всех слоев

Игловой щуп, измерительный, технический осмотр. Не менее 5 измерений на каждые 7 - 100 м2 поверхности

То же

«

Не менее 1,3 мм

4. ТЕХНИКО-ЭКОНОМИЧЕСКИЕ ПОКАЗАТЕЛИ

Значения затрат труда (чел.-ч), выработки на одного рабочего в смену (м2) рассчитываются в целом на общий объем кровельных работ или по элементам конструкции на основании калькуляции, исходя из нормативных затрат труда.

Таблица 4

Калькуляция затрат труда

Обоснование

Наименование процесса

Ед. измерения

Объем работ

Норма времени на ед. измерен. (чел.-ч)

Затраты труда на общий объем работ (чел.-ч)

1

2

3

4

5

6

Расчет 1 (см. прил. 1)

Нарезка швов в рулонном ковре

100 м2

10

0,69

6,9

ЕНиР, § Е20-1-107, № 2

Снятие пришедшего в негодность покрытия из рулонных материалов

100 м2

10

8,8

88

ЕНиР, § Е7-4, № 2

Очистка основания от остатков мастики

100 м2

10

0,41

4,1

ЕНиР, § Е20-1-80

Ремонт разрушенных участков основания из цементно-песчаного раствора

1 м2

1000

0,7

700

ЕНиР, § Е7-4, № 3

Просушивание отремонтированного основания

100 м2

10

8,6

86

ЕНиР, § Е7-1, № 5, 6

Безрулонное покрытие холодной мастикой (3 слоя)

100 м2

10

26,1

261

ЕНиР, § 7-1 прим. п. 2

Обслуживание станции

1 шт.

3,8

1,94

7,37

5. ТЕХНИКА БЕЗОПАСНОСТИ И ОХРАНА ТРУДА, ЭКОЛОГИЧЕСКАЯ И ПОЖАРНАЯ БЕЗОПАСНОСТЬ

5.1. При выполнении работ по ремонту кровель необходимо соблюдать требования, изложенные в СНиП III-4-80 «Техника безопасности в строительстве», ГОСТ 12.0.004-79 «Организация обучения работающих безопасности труда. Общие положения», ГОСТ 12.3.040-86 «Строительство. Работы кровельные и гидроизоляционные. Требования безопасности» и положения инструкции по эксплуатации машины ЛНИИ АКХ и СО-106 (107).

5.2. Допуск рабочих к выполнению кровельных работ разрешается после осмотра прорабом или мастером совместно с бригадиром исправности несущих конструкций крыши и ограждений.

5.3. При выполнении работ на крыше с уклоном более 20° рабочие должны применять предохранительные пояса. Места закрепления предохранительных поясов должны быть указаны мастером или прорабом.

5.4. Для прохода рабочих, выполняющих работы на крыше с уклоном более 20°, а также на крыше с покрытием, не рассчитанным на нагрузки от веса работающих, необходимо устраивать трапы шириной не менее 0,3 м с поперечными планками для упора ног. Трапы на время работы должны быть закреплены.

5.5. Размещать на крыше материалы допускается только в местах, предусмотренных проектом производства работ, с применением мер против их падения, в том числе от воздействия ветра. Не допускается хранение и складирование на крыше материалов в большем количестве, чем требуется для работы на данном участке.

5.6. Не допускается выполнение кровельных работ во время гололеда, тумана, исключающего видимость в пределах фронта работ, грозы и ветра скоростью 15 м/с и более.

5.7. Заготовка элементов и деталей кровли непосредственно на крыше не допускается.

5.8. К работе по устройству кровель допускаются лица не моложе 18 лет, имеющие профессиональные навыки, прошедшие обучение безопасным методам труда и приемам этих работ и получившие соответствующие удостоверения.

5.9. Рабочие, занятые на устройстве кровель, должны быть обеспечены спецодеждой, спецобувью и другими средствами индивидуальной защиты в количестве не ниже установленных норм.

На местах проведения работ должны быть питьевая вода и аптечка для оказания первой медицинской помощи.

5.10. В случае отсутствия наружных строительных лесов здание, на котором производятся ремонтные кровельные работы, ограждается во избежание доступа людей в зону возможного падения материалов, инструмента, тары и др.


Таблица 5

График производства работ


5.11. По окончании смены, а также на время перерывов в работе все остатки материалов, приспособлений, инструмент и мусор должны быть убраны с кровли. Сбрасывание с кровли материалов и инструментов запрещается.

Пожарная безопасность

5.12. Места производства кровельных работ должны быть обеспечены первичными средствами пожаротушения в соответствии с требованиями Правил пожарной безопасности РФ.

5.13. На объекте должно быть назначено лицо, ответственное за сохранность и готовность к действию первичных средств пожаротушения.

5.14. Все работники должны уметь пользоваться первичными средствами пожаротушения.

5.15. Перед началом ремонтных работ территория объекта должна быть подготовлена с определением мест установки бытовых помещений, мест складирования материалов и легковоспламеняющихся материалов.

5.16. Противопожарные двери и выходы на крышу должны быть исправны и при проведении работ закрыты. Запирать их запрещается. Проходы и подступы к эвакуационным выходам и стационарным пожарным лестницам должны быть всегда свободны.

Экологическая безопасность

5.17. При ремонте кровли снимаемый кровельный материал должен удаляться на специально подготовленную площадку. Устраивать свалки горючих отходов на территории строительства не разрешается.

5.18. По окончании рабочей смены не разрешается оставлять кровельные рулонные материалы, сгораемый утеплитель и другие горючие материалы внутри здания или на его покрытиях, а также в противопожарных разрывах.

5.19. Кровельный материал, сгораемый утеплитель и другие горючие вещества и материалы, используемые при работе, необходимо хранить вне здания в отдельно стоящем сооружении или на специальной площадке.

5.20. Содержание вредных веществ в рабочей зоне не должно превышать предельно допустимых концентраций.

ПРИЛОЖЕНИЕ 1

РАСЧЕТ НОРМЫ ВРЕМЕНИ И РАСЦЕНКИ НА НАРЕЗКУ ШВОВ НА 100 м2 ПОКРЫТИЙ ИЗ РУЛОННЫХ МАТЕРИАЛОВ, ПРИШЕДШИХ В НЕГОДНОСТЬ

Техническая производительность машины ЛНИИ АКХ, используемой для нарезки швов:

Пт = 4 м/мин. (паспортные данные машины).

Эксплуатационная производительность:

Пэ = Кт´Пт, где Кт = 0,6 (по результатам хронометража)

Пэ = 0,6´4 = 2,4 м/мин. = 144 м/ч.

Расстояние между нарезаемыми полосами:

А = 1 м.

Норма времени на нарезку швов на 100 м2 покрытий:

ПРИЛОЖЕНИЕ 2

ТЕХНИЧЕСКИЕ ХАРАКТЕРИСТИКИ МАШИН, ИСПОЛЬЗУЕМЫХ ПРИ РЕМОНТЕ КРОВЛИ

1. Машина для нарезки швов в рулонном ковре ЛНИИ АКХ

Техническая производительность, м/мин................................ до 4

Число нарезаемых швов за один проход .................................. 1

Рабочий орган (фреза):

диаметр, мм ...................................................................... 200

частота вращения, мин.-1 .................................................  2260

максимальная глубина врезания в ковер, мм................. 22

максимальная высота подъема от нулевого

положения, мм ................................................................. 25

Электродвигатель:

модель ............................................................................... АН1-550/22

номинальная мощность, Вт ............................................ 550

напряжение, В .................................................................. 220

частота тока, Гц ............................................................... 50

Габарит, мм:

длина ................................................................................. 1250

ширина .............................................................................. 535

высота ................................................................................ 1000

Масса, кг:

полная в комплекте ...................................................................  48

без кабеля и защитно-отключающего устройства................... 27

2. Машина передвижная для сушки основания кровли СО-107

Производительность, м2/час .....................................................  50

Теплопроизводительность, тыс. ккал/час ...............................  60 - 80

Производительность вентилятора, м3/час ...............................  2000

Расход топлива (керосин), л/час ..............................................  6 - 8

Вместимость бака для топлива, л ............................................  15

Габарит, мм:

длина .................................................................................  1670

ширина ..............................................................................  1090

высота ................................................................................  1085

Масса (без топлива), кг .............................................................  80

При разработке технологической карты использованы следующие материалы:

1. Технические условия на полимерно-битумную композицию «Антикор МПБ», предназначенную для наружных работ, для устройства монолитных кровель, ремонта кровельных покрытий, гидроизоляций ТУ 2311-001-17660092-95.

2. СНиП 3.04.01-87 «Изоляционные и отделочные покрытия».

3. СНиП 3.01.01-85* «Организация строительного производства».

4. СНиП III-4-80* «Техника безопасности в строительстве».

5. СНиП II-26-76 «Кровли. Нормы проектирования».

6. «Правила пожарной безопасности в Российской Федерации».

СОДЕРЖАНИЕ

1. Область применения. 1

2. Организация и технология выполнения работ. 1

3. Требования к качеству и приемке работ. 8

4. Технико-экономические показатели. 9

5. Техника безопасности и охрана труда, экологическая и пожарная безопасность. 9

Приложение 1 Расчет нормы времени и расценки на нарезку швов на 100 м2 покрытий из рулонных материалов, пришедших в негодность. 12

Приложение 2 Технические характеристики машин, используемых при ремонте кровли. 12

 




Яндекс цитирования



   Copyright © 2007-2026,  www.tehlit.ru.

[ ѓосты, стандарты, нормативы, инструкции, правила, строительные нормы ]