//
ТехЛит.ру
- крупнейшая бесплатная электронная интернет библиотека для "технически умных" людей.
WWW.TEHLIT.RU - ТЕХНИЧЕСКАЯ ЛИТЕРАТУРА

:: Алготрейдинг::


АЛГОТРЕЙДИНГ
шаг за шагом
с нуля по урокам!

Торговые роботы на PYTHON, BackTrader,
Pandas, Pine Script для TradingView. Связка с брокерами, телеграм и легкими приложениями.


ЦЕНТРАЛЬНЫЙ НАУЧНО-ИССЛЕДОВАТЕЛЬСКИЙ
И ПРОЕКТНО-ЭКСПЕРИМЕНТАЛЬНЫЙ ИНСТИТУТ ОРГАНИЗАЦИИ,
МЕХАНИЗАЦИИ И ТЕХНИЧЕСКОЙ ПОМОЩИ СТРОИТЕЛЬСТВУ
АОЗТ ЦНИИОМТП

ТИПОВАЯ
ТЕХНОЛОГИЧЕСКАЯ КАРТА
НА УСТРОЙСТВО МАСТИЧНОЙ КРОВЛИ
С ПРИМЕНЕНИЕМ МАСТИКИ БИТУРЭЛ

МОСКВА 2001

Согласовано:

Начальник Технического управления

АО «Моспромстрой»

А.К. Готгельф

6 октября 1998 г.

Утверждено:

Генеральный директор

АОЗТ ЦНИИОМТП

П.П. Олейник

6 октября 1998 г.

В технологической карте рассмотрены вопросы устройства и ремонта кровли из битумно-полимерной мастики Битурэл, разработанной в Компании «Гермопласт». Рекомендована область применения, разработаны организация и технология производства работ, охрана труда и техника безопасности.

Карта разработана в АОЗТ ЦНИИОМТП сотрудниками лаборатории кровельных работ кандидатами технических наук Белевичем В.Б. и Чайкой А.Г. при участии зав. сектором компьютерных и информационных технологий Ягудаева Л.М.

Типовая технологическая карта разработана по заданию Управления развития Генплана Правительства Москвы.

Ответственный исполнитель к.т.н. Колосков В.Н.

1. ОБЛАСТЬ ПРИМЕНЕНИЯ

1.1. Технологическая карта разработана на устройство и ремонт мастичной кровли из холодной битумно-полимерной кровельной мастики «Битурэл» с частичным армированием ткаными или неткаными материалами в сопряжениях и примыканиях с применением простейших средств механизации или вручную с помощью валиков, резиновых шпателей, гребков и др.

В настоящей карте узлы кровельных конструкций показаны с элементами армирования и прокладок из рулонных материалов.

1.2. Технологическая карта распространяется на все виды устройства и ремонта, а также при реконструкции мягких кровельных покрытий плоских крыш с внутренним водостоком, кровельных покрытий скатных крыш жилых, общественных и производственных зданий при производстве работ в летних и зимних условиях.

1.3. Наиболее целесообразны кровли из мастики Битурэл на совмещенных крышах, в большей мере подверженных воздействию водяных паров. Мастика Битурэл обеспечивает повышенную надежность за счет проникновения в поры цементно-песчаного раствора стяжки и бетона кровельной панели, а также за счет паропроницаемости материала, ограничивающей возникновение вздутий.

2. ТЕХНОЛОГИЯ И ОРГАНИЗАЦИЯ ВЫПОЛНЕНИЯ РАБОТ

2.1. В состав работ, рассматриваемых в карте, входят:

подготовка поверхностей основания;

приготовление мастики Битурэл;

нанесение мастики Битурэл ручным и механизированным способами;

устройство кровли из мастики Битурэл;

контроль качества мастичной кровли.

До начала работ по устройству мастичной кровли провести контрольную проверку фактических уклонов и ровности поверхности основания всех мест, которые будут покрыты мастикой. Для проверки уклонов использовать геодезический прибор нивелир и рейку, а для проверки ровности основания - контрольную 3-х метровую рейку для обнаружения возможных просветов между рейкой и основанием.

2.2. Битумно-полимерная кровельная и гидроизоляционная мастика Битурэл (ТУ 5775-001-17187505-95) представляет собой изоляционный материал на основе полиуретанбитумной композиции, - это текучая вязкая масса черного цвета, полученная смешиванием двух жидких компонентов 1 и 2 в соотношениях 30:70 массовых частей. Компонент 1 - светлый, гарантированный срок хранения которого 6 месяцев. Компонент 2 - черного цвета, гарантированный срок хранения - 12 месяцев. Прекращение отлипа в процессе отверждения мастики происходит по прошествии суток. Физико-механические показатели мастики приведены в таблице 1.

Таблица 1

Физико-механические показатели мастики Битурэл

Наименование показателя, единицы измерения

Норма

Жизнеспособность (после смешения компонентов), час., не менее

5

Массовая доля летучих веществ, %, не более

30

Условная прочность, МПа, не менее (с бетоном)

1,5

Гибкость

При испытании образца мастики на брусе с закруглением радиусом 5 мм при температуре -50 °С на поверхности образца нет трещин

Водонепроницаемость

При испытании при давлении 0,1 МПа в течение не менее 10 мин на поверхности образца нет признаков проникания воды

Теплостойкость

При испытании при температуре 120 °С в течение не менее 5 ч на поверхности образца нет вздутий

2.3. При температуре наружного воздуха ниже -7 °С (в зимнее время) компоненты мастики необходимо подогревать до 20...60 °С для облегчения перемешивания и нанесения. После отверждения мастика Битурэл превращается в монолитную эластичную резиноподобную пленку, сохраняющую заданные свойства в диапазоне температур от +120 °С до -50 °С.

Мастика обладает высокой химической стойкостью, а также стойкостью к атмосферным воздействиям. Важным техническим преимуществом ее является возможность нанесения на влажное основание. Расход мастики Битурэл составляет в среднем 3,5 кг/м2.

2.4. Толщина покрытия должна быть 2-3 мм. При необходимости разжижения мастики Битурэл используют разбавитель (растворитель) - бензин, соляровое масло, уайт-спирит в количестве не более 5 % по массе при ручном нанесении и не более 15 % - при механизированном нанесении.

2.5. Цементно-песчаный раствор стяжки укладывать сначала на наиболее удаленные участки, постепенно отступая к месту подачи раствора на крышу. Для разравнивания раствора используют правила или виброрейки. Полосы заполняют раствором так, чтобы после извлечения маячных реек образовались участки для заполнения раствором (Рис. 1).

Швы выравнивающих стяжек и возможные трещины следует заполнять мастикой Битурэл. Затем полосу основания вдоль шва на ширину 50-60 мм в каждую сторону покрывают антиадгезионными составами, в качестве которых можно использовать узкие (до 150 мм) полосы рулонного материала, полиэтиленовой пленки для ослабления или предотвращения склеивания мастики Битурэл с основанием вдоль шва.

2.6. Цементно-песчаная стяжка должна соответствовать требованиям нормативных документов. В качестве связующего для стяжки рекомендуется использовать напрягающий цемент НЦ-20 или асфальтобетон с 5 % содержанием резиновой крошки для повышения трещиностойкости. Не допускается использовать для основания стяжки на известковых вяжущих или шлакопортландцементах.

Показатели свойств цементно-песчаного раствора для устройства стяжки приведены в таблице 2.

Таблица 2

Требования к основаниям под кровлю

Наименование показателей

Вид стяжки

из цементно-песчаного раствора

из песчаного асфальтобетона

по засыпной теплоизоляции

по теплоизоляционным плитам или теплоизоляции монолитной укладки

по железобетонным плитам

1. Ровность

Плавно нарастающие неровности не более 10 мм поперек уклона и не более 5 мм вдоль уклона по высоте между основанием и контрольной рейкой длиной 3 м; отклонения от уклона до 0,2 %

2. Прочность на сжатие, МПа (кгс/см2), не менее

10 (100)

5 (50)

5 (50)

0,8 (8)

3. Влажность, %

5

5

5

2,5

4. Толщина, мм

25...30

20...25

10...15

20...25

5. Расстояние между температурно-усадочными швами, м, не более

6

1)

1)

4

1) Температурно-усадочные швы выполняются над швами в несущих плитах.

2.7. Асфальтобетонные стяжки рекомендуется выполнять в холодное время года, в том числе зимой при уклонах крыш до 20 %. Размер карт таких стяжек 4×4 м.

2.8. До устройства кровельного ковра должны быть выполнены следующие работы:

проверены уклоны поверхности основания от водораздела до водосточных воронок, не должно быть обратных уклонов, поверхность должна быть ровной, просветы между основанием и контрольной трехметровой рейкой не должны превышать 5 мм вдоль уклона и 10 мм поперек уклона;

поверхность основания должна быть очищена от мусора и пыли;

по всей поверхности должны быть установлены и закреплены патрубки, в которые вставляют чаши воронок.

2.9. Поверхность основания под кровельное покрытие из Битурэла должна быть ровной, без вздутий и складок с плавными переходами в местах сопряжений с выступающими над крышей конструкциями. По стяжке допускаются трещины шириной до 0,3 мм. При большей ширине на трещину следует нанести слой мастики.

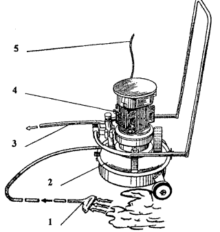
2.10. Скопившуюся на кровле воду следует удалить, используя машину типа СО-222 (Рис. 2).

2.11. Обеспыливание стяжки выполняют струей сжатого воздуха от компрессора.

2.12. Для подсушки поверхностей незначительных объемов можно пользоваться агрегатами инфракрасного излучения.

Приготовление мастики Битурэл

2.13. Приготовление мастики Битурэл должно проводиться на открытой площадке или в помещении с интенсивным вентилированием при температуре не ниже 5 °С. При низких температурах окружающего воздуха происходит загустение мастики, затрудняющее ее приготовление и нанесение. Поэтому в зимнее время при температуре ниже -7 °С рекомендуется предварительно подогреть компоненты мастики до температуры 20...60 °С (в зависимости от температуры воздуха). При приготовлении мастики Битурэл необходимо соблюдать требования ГОСТ 12.1.005-88 «Санитарные правила организации технологических процессов и гигиенических требований к производственному оборудованию» № 1042-73, утвержденных Минздравом.

2.14. Смешивание двух компонентов мастики в заданном соотношении (30 масс. ч. компонента 1 на 70 масс. ч. компонента 2) осуществляется на строительной площадке непосредственно перед употреблением. Смешивание осуществляется в любом смесительном оборудовании или вручную с использованием в качестве емкости любой пригодной тары. Продолжительность перемешивания смеси составляет 3-5 минут.

2.15. Простейшим механизмом для смешивания компонентов мастики может служить электрическая или пневматическая дрель любого типа со скоростью вращения до 300 об/мин, снабженная насадкой с лопастями. Схема приспособления приведена на Рис. 3.

2.16. Для обеспечения требуемого качества приготовленной смеси необходимо соблюдать следующие условия:

точность дозирования компонентов при смешивании (30:70 масс. ч.) не должна превышать 3 % от массы смеси; тщательность перемешивания смеси должна обеспечить однородную желеобразную консистенцию;

осторожность в применении разбавителей (бензин, соляровое масло и др.) для разжижения мастики. Категорически запрещается добавлять разбавители в мастику, наносимую на влажное основание. При нанесении мастики на сухое основание допускается добавление разбавителей (растворителей) не более 5 % при ручном нанесении и не более 15 % - при механизированном.

Нанесение мастики Битурэл

2.17. Нанесение приготовленной мастики на подготовленное основание выполняется вручную или механизированным способом. Допускается нанесение мастики Битурэл на увлажненное основание.

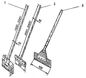
2.18. Для ручного нанесения мастики Битурэл используют крупные малярные кисти, накаточные валики (кроме поролоновых), резиновые металлические шпатели, а также гребки и мастерки с обрезиненными кромками (Рис. 4).

2.19. Жизнеспособность приготовленной мастики составляет не менее 5 час., в течение которых она должна быть употреблена в дело.

2.20. После нанесения мастики начинается ее отверждение в тонком слое и через 3-5 час. при температуре выше 10 °С слой упрочняется настолько, что не смывается ливневым дождем. Через сутки заканчивается основное отверждение Битурэла, достаточное и необходимое для нанесения последующих слоев и начала эксплуатации. Не следует удлинять сроки нанесения следующего слоя мастики более 24 часов для лучшей адгезии слоев. Полное отверждение мастики длится до 6 месяцев.

2.21. Для переноски мастики использовать пластмассовые ведра с крышками. Использовать металлические ведра нецелесообразно, так как очистка их затруднена.

1 - маячные рейки; 2 - полосы, заполненные раствором; 3 - промежуточные полосы, заполняемые раствором после снятия маячных реек; 4 - полутерок для разравнивания растворов в углах

Рис. 1. Устройство цементно-песчаной стяжки

1 - насадка; 2 - бак; 3 - сливной рукав; 4 - электродвигатель; 5 - электрокабель

Рис. 2. Машина СО-222 для удаления воды с основания кровли

1 - направляющие рамы передвижения электродрели; 2 - электродрель; 3 - опора-подшипник; 4 - лопасти; 5 - бидон

Рис. 3. Приспособление для перемешивания материалов

1 - щетка с коротким ворсом; 2 - гребок с резиновой вставкой; 3 - гребенка

Рис. 4. Приспособления для нанесения мастики

Устройство мастичных кровель

2.22. Требования к пароизоляции, теплоизоляции и выравнивающим стяжкам крыш устанавливаются согласно требованиям СНиП 3.04.01-87 «Изоляционные и отделочные покрытия».

2.23. В местах примыкания покрытия к вертикальным элементам устраиваются наклонные бортики из теплоизоляционного или цементно-песчаного раствора размером 100×100 мм или выкружки по радиусу не менее 100 мм (Рис. 5). Бортики следует покрыть мастикой. Над бортиком на вертикальный участок также наносится мастика на высоту не менее 150 мм.

Максимальная высота вертикального участка не должна превышать (на парапете) 600 мм.

Рис. 5. Примыкание стяжки к стенам и парапетам

2.24. Кровельный ковер из мастики Битурэл состоит из следующих слоев:

из огрунтовочного слоя толщиной 0,5-1,0 мм;

из одного-двух основных слоев общей толщиной 2,0-3,0 мм;

из защитного мастичного слоя с добавкой алюминиевой пудры толщиной 0,5-1,0 мм.

Схема устройства кровли и последовательность работ показана на Рис. 6.

2.25. Конструктивные решения кровельного ковра выбираются в зависимости от типа крыш, срока службы, уклонов основных скатов.

2.26. Нанесение мастики Битурэл на основание из свежеуложенной цементно-песчаной стяжки в весенне-летний период допускается не ранее, чем через трое суток после укладки раствора.

2.27. Наносить мастику следует сначала на все примыкания и сопряжения, затем по всей остальной поверхности кровли. Нанесение мастики выполнять захватками, соответствующими сменной выработке бригады кровельщиков.

2.28. При устройстве светозащитного слоя, или слоя из песка работы ведутся полосами на ширину, достаточную для укладки материала рабочими, стоящими на слое затвердевшей мастики.

2.29. При нанесении мастики на участках с большими уклонами в нее необходимо вводить добавки-загустители Гермогуст-1 для увеличения вязкости. Количество добавок-загустителей увеличивается с увеличением уклона (более 25 %) и при повышении температуры мастики при нанесении свыше 60 °С.

2.30. Для механизированного нанесения мастики Битурэл рекомендуются универсальные передвижные установки фирмы Вагнер марки ЕР3000 (Рис. 7) или Финиш-211-1. Применение указанных установок обеспечивает высокое качество мастичного покрытия.

2.31. На ендовах и водосточных воронках основные мастичные слои усиливаются армирующей прокладкой по дополнительным слоям мастики (Рис. 8, 9).

2.32. На коньках крыши основные слои кровельного ковра усиливаются одной армирующей прокладкой шириной 50-60 см по дополнительному слою мастики Битурэл (Рис. 10).

2.33. Конструкции деформационных швов, выступающих над покрытием, защищают сверху компенсаторами из оцинкованной стали (Рис. 11). Усиления кровельного ковра по карнизным свесам и в местах примыканий к выступающим или проходящим через кровлю конструкциям обеспечивается укладкой одной защитной подкладки и одной локальной армирующей прокладки (рис. 12).

2.34. В местах пропуска труб через кровлю на плиты покрытия должны устанавливаться патрубки из оцинкованной стали.

Водонепроницаемость кровли в этих местах обеспечивается:

при пропуске труб диаметром менее 100 мм - путем устройства рамки из уголков с заливкой пространства между рамкой и трубой мастикой Битурэл или герметизирующими мастиками (таблица 3). После этого по основным мастичным слоям наносится один дополнительный слой мастики с наклейкой по нему армирующей прокладки (Рис. 13).

при пропуске труб диаметром 100 мм и более, вентиляционных труб и шахт - путем поднятия основных мастичных слоев до верха переходных бортиков, с усилением их защитной подкладкой и локальной армирующей подкладкой по дополнительному слою мастики. Отвод воды с поверхности труб и конструкций обеспечивается устройством зонтов из оцинкованной стали (Рис. 14).


- рабочие места кровельщиков

1 - швы между плитами; 2 - компрессор СО-243-1; 3 - машина СО-222 (при необходимости); 4 - установка для транспортирования мастики; 5 - трубопровод для подачи мастики на кровлю; 6 - кран крышевой К-1, КБК-2 или аналогичные

Рис 6. Схема устройства кровли из мастики


1 - пистолет-распылитель; 2 - гибкая вставка шланга 2,5 м; 3 - насос подачи материала; 4 - накидная гайка; 5 - всасывающий патрубок с фильтром; 6 - разгрузочный вентиль; 7 - манометр; 8 - фильтр высокого давления; 9 - рукав высокого давления 15 м; 10 - распределительная коробка; 11 - регулятор давления; 12 - магнитный пускатель (220-230 В)

Рис. 7. Универсальная передвижная установка фирмы Вагнер марки ЕР3000

1 - основание под кровлю; 2 - основной кровельный ковер из Битурэла; 3 - дополнительный водоизоляционный слой из Битурэла

Рис. 8. Устройство мастичной кровли на ендове

1 - несущая плита; 2 - пароизоляционный ковер; 3 - теплоизоляционный слой; 4 - армированная выравнивающая стяжка; 5 - основной слой ковра; 6 - слои дополнительного ковра с локальной армирующей прокладкой из стеклоткани на ендове; 7 - то же, вокруг водосточной воронки; 8 - водоприемный колпак с глухой крышкой; 9 - накидная гайка с шайбой; 10 - зажимной хомут; 11 - чаша водоприемной воронки

Рис. 9. Усиление кровли в месте установки воронки внутреннего водостока

1 - утеплитель; 2 - основание под кровлю (выравнивающая стяжка); 3 - грунтовка; 4 - армирующая прокладка из стекломатериала дополнительного водоизоляционного ковра; 5 - слой мастики; 6 - основной мастичный водоизоляционный ковер; 7 - защитный слой с покраской АЛ-177

Рис. 10. Устройство мастичной кровли на коньке

1 - плита покрытия; 2 - уголок 50×50 мм по всей длине; 3 - вставка из листовой стали толщиной 3-4 мм; 4 - выравнивающая затирка по плитам покрытия; 5 - пароизоляция; 6 - утеплитель; 7 - выкружка из оцинкованной кровельной стали; 8 - полоска рубероида насухо; 9 - основание под кровлю; 10 - огрунтовка; 11 - рубероид насухо; 12 - армирующая прокладка из стекломатериала дополнительного водоизоляционного ковра; 13 - слой из мастики; 14 - основной мастичный водоизоляционный ковер; 15 - защитный слой

Рис. 11. Устройство деформационного шва с металлической вставкой (в покрытиях с пароизоляцией)

1 - карнизный блок; 2 - антисептированные деревянные вкладыши; 3 - фартук из оцинкованной кровельной стали; 4 - выравнивающая затирка из цементно-песчаного раствора; 5 - грунтовка; 6 - основной мастичный водоизоляционный ковер; 7 - защитный слой с покраской АЛ-177

Рис. 12. Устройство мастичной кровли на карнизе

1 - плита покрытия; 2 - пароизоляция; 3 - утеплитель; 4 - основание под кровлю (стяжка); 5 - основной мастичный гидроизоляционный ковер; 6- защитный слой; 7 - армирующая прокладка из стекломатериала дополнительного водоизоляционного ковра; 8 - рамка из уголков 20×35 мм, предохраняющая мастику от растекания; 9 - зонт из оцинкованной кровельной стали; 10 - просмоленная пакля; 11 - хомут; 12 - мастика Битурэл или герметики (см. Таблицу 3); 13 - пропускаемая труба; 14 - патрубок с фланцем

Рис. 13. Устройство мастичной кровли в местах пропуска трубы с усилением герметизирующими мастиками

1 - плита покрытия; 2 - пароизоляция; 3 - утеплитель; 4 - выравнивающая стяжка; 5 - основной мастичный кровельный ковер; 6 - защитный слой; 7 - армирующая прокладка из стекломатериала дополнительного водоизоляционного ковра; 8 - бетон или раствор проектной марки 50; 9 - антисептированный деревянный брусок 50×50 мм; 10 - зонт из оцинкованной кровельной стали; 11 - просмоленная пакля; 12 - хомут; 13 - мастика Битурэл или герметики (см. Таблицу 3); 14 - пропускаемая труба; 15 - металлическая или антисептированная деревянная планка, закрепляющая концы армирующих прокладок из стекломатериала; 16 - патрубок с фланцем

Рис. 14. Устройство мастичной кровли в местах пропуска трубы с подъемом основного мастичного водонепроницаемого ковра (в покрытиях с пароизоляцией)

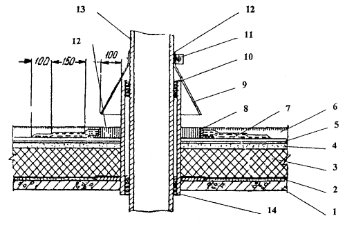
1 - утеплитель; 2 - выравнивающая стяжка; 3 - грунтовка; 4 - основной мастичный гидроизоляционный ковер; 5 - армирующая прокладка из стекломатериала дополнительного водоизоляционного ковра; 6 - слой мастики; 7 - фартук из оцинкованной кровельной стали; 8 - защитный слой с покраской АЛ-177; 9 - полоса 30×40 мм по всей длине; 10 - покраска АЛ-177; 11 - мастика Битурэл или герметики (см. Таблицу 3); 12 - дюбели; 13 - обделка парапета из оцинкованной кровельной стали; 14 - стена; 15 - кляммеры из полосы 3×40 м через 600 мм

Рис. 15. Устройство примыкания мастичной кровли к парапету

2.35. Устройство основного кровельного ковра начинают с укладки армирующих прокладок над деформационными швами в местах примыканий. Подкладки приклеиваются с одной стороны на ширину 50-80 мм, затем устраиваются основные мастичные слои.

2.36. Устройство карнизных свесов следует начинать с установки и крепления костылей и укладки свесов из оцинкованной кровельной стали.

2.37. Основные слои мастичного кровельного ковра укладываются во всех местах скатов и примыканий к выступающим над кровлей конструкциям на проектную высоту, но не менее чем на 250 мм.

2.38 Верхний край вертикального участка мастичной кровли должен быть защищен металлическим фартуком. Сверху зазор между фартуком и стеной заполняется герметизирующей мастикой (таблица 3) либо мастикой Битурэл.

Защитный слой устраивается после формования основных и дополнительных слоев кровельного ковра.

2.39. В узлах примыканий к парапетам кровли целесообразно армировать слои (Рис. 15). В этих слоях мастика армируется одним слоем стеклоткани, стеклосетки или нетканого материала с нанесением дополнительных слоев мастики Битурэл.

2.40. Швы выравнивающих стяжек и трещины следует заполнять мастикой Битурэл. Затем полосу основания вдоль шва на ширину 50-60 мм в каждую сторону покрывают антиадгезионными составами, в качестве которых можно использовать узкие (до 150 мм) полосы рулонного материала, полиэтиленовой пленки для ослабления или предотвращения склеивания мастики Битурэл с основанием вдоль шва.

Перечень машин, средств механизации и оборудования приведен в Таблице 4.

Ремонт кровель с применением мастики Битурэл

2.41. Мастику Битурэл можно использовать при выполнении текущих ремонтов (профилактических и аварийных) с сохранением материала существующей кровли. Выполнение капитального ремонта с полной сменой старого кровельного материала и устройством нового кровельного покрытия из мастики Битурэл целесообразно, если ремонтируемая кровля состоит из большого количества дефектов, что устанавливается при экспертной проверке качества перед принятием решения о необходимости проведения капитального ремонта.

2.42. Ремонт старой мастичной кровли, в том числе ранее выполненной из Битурэла, осуществляется нанесением поверх существующей мастичной кровли нового слоя мастики Битурэл толщиной не менее 1,5 мм.

Поверх старой кровли предварительно следует очистить от частиц разрушенной мастики, отложений пыли, листьев, мусора. Разрушенные участки кровли следует удалить и заполнить эти места новой мастикой Битурэл.

При необходимости, поверхность кровли выравнивают заполнением этих пониженных мест новой мастикой. При понижениях более 5 мм выравнивать поверхность целесообразно с помощью цементно-песчаного раствора. Слой новой мастики наносить на всю поверхность кровли, включая места примыканий и вертикальные участки. Тщательно обрабатываются места расположения водосточных воронок, не допуская, чтобы мастика у воронки была выше прилегающей кровли.

2.43. Ремонт рулонной кровли состоит в нанесении на подготовленную поверхность старой кровли слоя мастики Битурэл толщиной не менее 2 мм. Подготовка поверхности старой рубероидной кровли состоит главным образом в устранении и ремонте вздутий путем их разрезки и приклейки слоев. Затем с поверхности кровли удаляются разрушенные частицы материала, мастики, отложения пыли, листья. При необходимости выравнивания скатов пониженные места заполняются мастикой или строительными растворами. Восстанавливаются все места примыканий с удалением разрушенных краев рубероидной кровли. Затем производится ремонт всей поверхности кровли нанесением слоя мастики Битурэл.

2.44. Последовательность технологических операций по герметизации сопряжения водосточной воронки с железобетонной кровельной панелью состоит в следующем:

в зоне воронки, очищенной от старой изоляции, расчищают прижимное кольцо и извлекают его;

щетинной кистью, тщательно втирая, наносят мастику Битурэл по бетону и внутри раструба, одновременно окрашивая прижимное кольцо и колпак;

каверны выравнивают полимерраствором, тщательно затирая щели и раковины в зоне водосточной воронки;

поверхность полимерраствора огрунтовывают мастикой сразу же после затвердевания, обеспечивая нормальные условия набора прочности;

после затвердевания грунтовки по центру воронки насухо укладывают полотнище тонкой стеклоткани размером 1000×1000 мм (от 800×800 до 1200×1200 мм) затем, отвернув одну половину, наносят приклеивающий слой Битурэла и наклеивают отогнутую часть полотнища; то же делают со второй половиной, а потом ножом разрезают крестообразно по диаметру водосточной трубы;

покрыв мастикой наклеенное полотнище, накладывают такой же второй слой стеклоткани с таким расчетом, чтобы крестообразные разрезы не совпадали; по второму слою тонкой стеклоткани наносят слой мастики Битурэл и вдавливают прижимное кольцо с таким расчетом, чтобы оно не выступало над будущим кровельным покрытием;

образовавшиеся впадины уплотняют полимерраствором, затем выполняют общее кровельное покрытие;

одновременно с нанесением последнего слоя мастики устанавливают заблаговременно окрашенный колпак.

2.45. Герметизацию примыканий к стенам машинного отделения, вентшахт и парапета выполняют в следующей последовательности:

удалив старый кровельный ковер и расчистив «выдру» с сохранившейся деревянной рейки, ее укрепляют и огрунтовывают;

из полимерраствора мастерком устраивают «выкружку» или бортик, обеспечивая плавный переход к стене;

по полимерраствору щеткой наносят первый приклеивающий слой Битурэла и по нему расстилают тонкую стеклоткань;

наносят второй приклеивающий слой мастики, затем - третий.

2.46. При капитальном ремонте крыши, сопровождающемся полным снятием не только старого кровельного покрытия, но и стяжки, следует уделить особое внимание ремонту стыков плит чердачного покрытия. Верхнюю часть стыка следует расчистить на глубину до 5 см, заполнить уплотняющей прокладкой увеличенного размера с возможностью последующего обжатия на 20-50 %. Прокладку герметизировать отверждающейся мастикой толщиной слоя до 3 мм либо неотверждающейся мастикой толщиной слоя до 20 мм.

2.47. Ремонт скатной кровли из асбестоцементных или металлических листов возможен при сохранении ими несущей способности. В зависимости от степени развития дефектов ремонт может быть частичным или полным. При частичном ремонте мастикой Битурэл покрывают участки (полосы) расстроенных стыков и соединений, при этом возможно армирование стекломатериалами. При полном ремонте слой мастики Битурэл толщиной 1,5 мм покрывает всю поверхность кровли.

2.48. Поскольку асбестоцементные и металлические кровли применяются на скатных крышах с большими уклонами (более 20 %), применяемая для ремонта мастика Битурэл должна обладать повышенной вязкостью, для чего в нее добавляются загустители.

2.49. После окончания всех кровельных работ необходимо выполнить требования экологической чистоты:

все остатки битума, мастичных комьев, обрезков рулонных материалов должны быть тщательно упакованы, уложены в емкости, контейнеры и спущены с кровли с помощью механизированных средств (крышевые краны, подъемники, лебедки и т.д.), затем вывезены в специально отведенные зоны.

Таблица 3

Физико-технические свойства герметизирующих мастик

Наименование показателей

Виды герметиков

мастика герметизирующая строительного назначения «Тиопрол»

мастики тиоколовые строительного назначения марок

«Гермобутил-2м»

«Унигекс»

«Супермаст»

«Эламаст»

АМ-05

КБ-05

Предел прочности на разрыв, МПа (кгс/см2), не менее

0,2 (2)

0,1 (1)

0,3 (3)

5-5,5

0,20

0,015

0,01

Относительное удлинение, % не менее

150

150

100

300-350

200

20

15

Жизнеспособность, час, не менее

2

2

2

24

3...24

-

-

Температурный интервал применения, °С

 

-50...+70

-50...+70

-50...+80

-25...+50

-50...+70

-50...+70

Материально-технические ресурсы

Таблица 4

Код

Наименование машин, механизмов и оборудования

Тип, марка, ГОСТ

Технические характеристики

Назначение

Количество на звено (бригаду)

1

2

3

4

5

6

1

Универсальная передвижная установка высокого давления

ЕР 3000, фирма Вагнер или Финиш-211-1

Масса 75 кг

Подача мастики

1 шт.

2

Ведро плотно закрывающееся пластмассовое

ВНИИСМ Минстройдормаш или ИОМТПС Минстроя

Емкость 15 л

Переноска мастики

1 шт.

3

Дрель электрическая или пневматическая с насадкой и лопастями

ИЭ-1017А и др.

300 об/мин

Перемешивание мастики

1 шт.

4

Герметизатор

«Стык», «Шмель» и др.

 

Герметизация в местах, обозначенных в проекте

1 шт.

5

Шпатель

ТУ 22-3059-74

 

Очистка зон сопряжений и примыканий

2 шт.

6

Ножницы ножевые электрические

ИЭ-5403

 

Для резки фартуков

1 шт.

7

Агрегат для удаления воды

СО-222

 

Удаление воды с покрытий

1 шт.

8

Тележка для подвозки материалов

ЦНИИОМТП РЧ 1688.00.000 УМОР Главмосстроя

Масса 17 кг, грузоподъемность 225 т

Подвозка материалов

1 шт.

9

Кран крышевой

К-1 или КБК-2 и др.

Грузоподъемность К-1 - 300 кг, грузоподъемность КБК-2 - 250 кг

Подъем материалов

1 шт.

10

Респиратор

РМП-62, ПФ-2, Р-2, РУ-60 Орехово-Зуевский з-д «Респиратор»

 

 

2 шт.

11

Ножницы ручные

ГОСТ 7210-75

 

Резка кровельного материала

1 шт.

12

Гребок с резиновой вставкой

ОСТ 22-2461-72

 

Уплотнение полотна

1 шт.

13

Нож кровельный

ТУ 400-28-187-76

 

Резка материалов

1 шт.

14

Шпатель скребок металлический

ТУ 400-28-187-74

 

Соскребание с поверхности оснований цементного раствора

2 шт.

15

Предохранительный пояс

ГОСТ 14185-77

 

Защита рабочего от падения

4 шт.

16

Строп 4-х ветвевой

910М Мосгорстрой

Масса 174 кг

Подъем кровельных материалов на крышу

1 шт.

17

Защитные очки

ГОСТ 12.4.013-85Е

 

Защита рабочих

2 шт.

18

Рукавицы комбинированные

ГОСТ 12.4.010-75*

 

 

6 шт.

19

Поддон для подачи рулонов на крышу

ПС-0,5И

Масса 7,6 кг

Подача и хранение рулонов

1 шт.

20

Рулетка

 

20 м

Замеры

1 шт.

21

Метр складной металлический

7253-54

 

Замеры

1 шт.

22

Установка компрессорная

СО-243-1, СО-7А и др.

Масса 132 кг, расход воздуха 0,5 м3/мин

Подача сжатого воздуха

1 шт.

23

Защитная каска винипластовая

ТУ 18-2312-74

ГОСТ 12.4.087-84

 

 

2 шт.

24

Перчатки резиновые

ГОСТ 9502-60

 

 

2 шт.

25

Щетка кровельная стальная

ТУ 497-01-104-76

 

Очистка основания от мусора

1 шт.

26

Кисть-ручник

КР-65 ГОСТ 10597-80

 

Нанесение мастики

1 шт.

27

Щетка волосяная

 

 

Нанесение мастики

1 шт.

3. ТРЕБОВАНИЯ К КАЧЕСТВУ И ПРИЕМКЕ РАБОТ

3.1. В процессе выполнения кровельных работ контроль осуществляет заказчик, сверяя требования к качеству с настоящей технологической картой, и представитель строительной организации.

3.2. В процессе приемки выполненной кровли комиссионно тщательно осматривают всю кровлю, обращая особое внимание на правильность и качество выполненных примыканий к выступающим над крышей конструкциям и воронкам.

3.3. Водонепроницаемость проверяют после дождя, однако заказчик вправе потребовать заливку кровли с предварительной временной герметизацией водоотводов.

3.4. На поверхности кровли, подлежащей сдаче заказчику, не должно быть воздушных «мешков» (вздутий), не должно быть обратных уклонов, сползаний мастики с мест примыканий. При обнаружении дефектов или недоделок заказчик вправе требовать немедленного их устранения.

3.5. При длительном хранении компонентов мастики Битурэл, особенно в отапливаемом складе, следует в лабораторных условиях проверить технологические свойства, проверив прежде всего жизнеспособность мастики и адгезию к бетону.

3.6. Пооперационный контроль качества работ по устройству кровли выполняется в соответствии с требованиями СНиП III-1-76 «Организация строительного производства».

3.7. В процессе подготовки и выполнения кровельных работ проверяют: качество применяемых материалов и их соответствие требованиям действующих ГОСТов и технических условий, качество приготовления мастичного материала, качество выполнения отдельных видов работ, готовность отдельных конструктивных элементов покрытия для выполнения последующих работ: устройство усилений в ендовах, у водосточных воронок, карнизов, коньков; устройство деформационных швов; устройство защитного слоя.

Результаты проверок следует заносить в журнал работ.

Приемка законченной кровли сопровождается контрольной проверкой и тщательным осмотром ее поверхности, особенно у воронок и в местах примыканий к выступающим конструкциям.

3.8. На скрытые работы составляются акты (с оценкой качества работ) по устройству следующих конструктивных элементов:

основания под кровлю, в том числе в местах примыкания к выступающим элементам;

дополнительных слоев ковра в местах установки водосточных воронок, ендовах и у примыканий кровли к выступающим конструктивным элементам.

3.9. Качество поверхности основания под мастичный кровельный ковер, а также участков усиления мастичного ковра определяется осмотром. При этом необходимо, чтобы:

на покрытии не оставалось не заделанных швов, крупных пор или не срубленных острых выступающих частей конструкций, что может привести к повреждению кровельного ковра;

была соблюдена плавность выкружки в местах примыканий и обеспечена высокая степень адгезии грунтовки с основанием;

тщательно наклеены полотнища армирующих материалов, особенно в местах примыканий мастичного ковра к выступающим элементам и водоприемным воронкам, особенно необходимо обращать внимание на полную пропитку рулонных стекломатериалов мастикой Битурэл.

Нанесение каждого последующего слоя допускается только после тщательной проверки качества высыхания предыдущего слоя. Каждый отдельный слой, как и мастичный ковер в целом, должен быть сплошным, не иметь раковин, вздутий и отслоений.

3.10. Проверке с помощью щупа подлежит толщина слоя мастики.

Все обнаруженные дефектные места следует тщательно расчистить и перекрыть заново. Проколы и надрезы изоляции, производимые с целью контроля, допускаются не более одного на каждые 102 м. Отклонения изоляции от проектной толщины не должны превышать 10 %.

Промежуточную приемку каждого конструктивного элемента покрытия производят до устройства вышележащего слоя, при этом следует контролировать качество выполнения работ (таблицы 4, 5).

3.11. При окончательной сдаче-приемке выполненной кровли предъявляется паспорт на огрунтовочный состав мастики Битурэл.

3.12. После окончания всех кровельных работ необходимо выполнить требования экологической чистоты:

все остатки мастичных комков, обрезки рулонных материалов должны быть тщательно упакованы, уложены в емкости, контейнеры и спущены с кровли с помощью механизированных средств (крышевые краны, подъемники, лебедки и т.д.), затем вывезены в специально отведенные зоны.

КОНТРОЛЬ КАЧЕСТВА

Таблица 5

Подготовительные работы

Код

Наименование процессов и конструкций, подлежащих контролю

Технические характеристики оценки качества

Предмет контроля

Способ контроля и инструмент

Время проведения контроля

Ответственный за контроль

1

2

3

4

5

6

7

1

Прочность стяжки:

цементно-песчаной

не менее 50 кг/см2

Правильность устройства стяжки

Инструментальный

Образцы кубиков испытывают через 7 и 28 дней

Строительный мастер, прораб

асфальтобетонной

не менее 8 кг/см2

цементно-песчаной по засыпной теплоизоляции

не менее 100 кг/см2

3

Ровность основания (стяжки):

 

То же

Использование 3-х метровой линейки

После набора прочности через 3 дня

Строительный мастер, прораб

монолитного

Отклонение поверхности основания вдоль уклона и на горизонтальной поверхности 5 мм, поперек уклона и на вертикальной поверхности 10 мм

из сборных элементов

Перепады по высоте между смежными изделиями не более 3 мм

4

Толщина стяжки

По проекту, допустимое отклонение 10 %

То же

Измерение линейкой

В процессе выполнения работ

То же

5

Уклон кровли

По проекту, допустимое отклонение не более 0,2 %

То же

Измерение нивелиром или уклономером

Перед наклеиванием ковра

То же

Таблица 6

Схема пооперационного контроля качества работ

Код

Операции, подлежащие контролю

Состав операций

Способы выполнения

Время

производителя работ

мастера

1

2

3

4

5

6

1

Готовность основания кровли

-

Ровность поверхности основания, отсутствие неровностей, наличие актов на скрытые работы, соответствие уклонов проектным величинам

Визуально, измерение контрольной 3-х метровой рейкой, геодезическим инструментом

До устройства мастичного ковра

2

Обделка водосточных воронок, свесов и мест примыканий к вертикальным плоскостям

-

Равномерность нанесения мастики, толщина слоя, при этом дополнительные слои должны заходить за основной ковер не менее, чем на 15 см

Визуально

Щуп

В процессе работ

3

-

Нанесение мастичного ковра

Равномерность нанесения слоя мастики, толщина слоя

Визуально

Щуп

В процессе работ

4

Готовность устройства кровли по всей площади

-

Отсутствие дефектов, водонепроницаемость.

Визуально после дождя и в процессе эксплуатации

По окончании работ по устройству кровли, при предъявлении работ к сдаче

Степень высыхания слоев мастичного ковра

Визуально

В процессе работ

5

-

Проверка кровельной мастики

Соответствие сертификатам, ТУ и ГОСТам, наличие необходимого количества материалов

Проверка документации, испытание образцов в лаборатории

До начала работ

6

Качество готовой кровли

Качество готовой кровли

Соответствие требованиям СНиП 3.04.01-87

Визуально

После окончания работ

4. КАЛЬКУЛЯЦИЯ ЗАТРАТ ТРУДА

Таблица 7

Код

Обоснование

Наименование работ

Единица измерения

Объем работ

Норма времени на единицу измерения, чел.-ч

Затраты труда на общий объем работ, чел.-ч

1

2

3

4

5

6

7

1

§Е7-4 № 1

Очистка основания от мусора

100 м2 основания

1000 м2

1,0

10

2

§Е7-4 № 8

Обделка водосточных воронок

1 шт.

4 шт.

1,3

5,2

3

§Е7-4 № 3

Просушивание влажных мест (20 % поверхности)

100 м2 основания

200 м2

8,6

17,2

4

§Е7-13

Устройство пароизоляции

100 м2 слоя

1100 м2

6,7

73,7

5

§Е7-14

Устройство теплоизоляции

100 м2 слоя

1000 м2

2,5

25

6

§Е7-15

Устройство цементно-песчаной стяжки

100 м2 стяжки

1000 м2

21

210

7

§Е7-4 № 4

Огрунтовка поверхности праймером ручным способом

100 м2 основания

1000 м2

4,1

41

8

Примечание 4

Устройство температурных швов в стяжке с заполнением мастикой и оклейкой поверху лентой

100 м шва

400

7,8

31,2

9

§Е1-16 № 12

Подача материала

100 т

2 т

(4,2:21) + (10*5):(5*5) = 2,2

0,30

10

§Е1-19 № 12

Переноска материала

1 т

0,1 т

1,2

0,12

11

 

Покрытие крыши мастикой Битурэл

100 м2

1300 м2

2,47

32,1

12

 

Устройство светозащитного слоя

100 м2

1000 м2

2

200

Расчет прямых затрат сметной стоимости на устройство однослойной мастичной кровли из двухкомпонентой мастики Битурэл

Таблица 8

Код

Обоснование

Наименование элементов затрат

Единица измерения

Расценка, руб.

Норма времени на единицу измерения, чел.-ч

Количество на единицу измерения

Сумма, руб.

Затраты труда рабочих-строителей, чел.-ч

1

2

3

4

5

6

7

8

9

1

ЕНиР §3.22

Приготовление мастики (применительно)

м3

0,42

0,6

0,318

0,14

0,191

2

ЕНиР §20.2.26

Очистка покрытия от пыли и сухого мусора

100 м2

0,649

1,1

1

0,65

1,10

3

Сб. 12 12-15.4

Устройство мастичного покрытия в один слой (применительно)

Материалы:

100 м2

6,87

9,3

1

6,87

9,3

Мастика Битурэл

кг

16

-

350

5600

-

4

Сб. 12 12-4-1

Устройство примыканий к элементам крыши

Материалы:

100 м2

19,47

23,1

0,315

6,13

7,276

Мастика Битурэл

кг

16

-

66,2

1059,2

-

Стеклосетка

м2

10

-

10

100

-

Итого

строительные работы

13,79

17,867

с повышающим коэффициентом на строительные работы К = 12,174

167,88

 

материалы

6759,2

 

ВСЕГО

 

6927,08

 

Итого

на м2 кровли

69,27

0,179

с накладными расходами (22 %)

84,51

 

с плановыми накоплениями (8 %)

91,27

 

с зимним удорожанием (1,9 %)

93,00

 

с налогом на пользование дорогами (2,5 %)

95,32

 

с НДС (20 %)

114,39

 

Примечания:

1. Нормами и расценками предусмотрено производство работ на высоте до 15 м от уровня земли. При производстве работ на высоте более 15 м нормы затрат труда и заработной платы следует увеличить на 0,5 % на каждый последующий метр высоты.

2. При определении цены Битурэла франко-стройплощадка учтены затраты на его транспортировку автотранспортом на расстояние до 100 км.

3. Стоимостные показатели приведены по состоянию на 01.05.1998 г.

Расчет прямых затрат сметной стоимости на устройство двухслойной мастичной кровли из двухкомпонентой мастики Битурэл

Таблица 9

Код

Обоснование

Наименование элементов затрат

Единица измерения

Расценка, руб.

Норма времени на единицу измерения, чел.-ч

Количество на единицу измерения

Сумма, руб.

Затраты труда рабочих-строителей, чел.-ч

1

2

3

4

5

6

7

8

9

1

ЕНиР §3.22

Приготовление мастики (применительно)

м3

0,42

0,6

0,318

0,14

0,191

2

ЕНиР §20.2.26

Очистка покрытия от пыли и сухого мусора

100 м2

0,649

1,1

1

0,65

1,10

3

Сб. 12 12-15.4

Устройство мастичного покрытия в один слой (применительно)

100 м2

6,87

9,3

1

6,87

9,3

4

Сб. 12 12-1-1 12-1-2

Нанесение второго слоя мастики с устройством защитной посыпки из песка (применительно)

Материалы:

 

 

 

 

 

 

Мастика Битурэл (2 слоя)

кг

16

-

350

5600

-

Песок

кг

4

-

200

800

-

5

Сб. 12 12-4-1

Устройство примыканий к элементам крыши

Материалы:

100 м2

19,47

23,1

0,315

6,13

7,276

Мастика Битурэл

кг

16

-

66,2

1059,2

-

Стеклосетка

м2

10

-

10

100

-

Итого

строительные работы

21,9

26,767

с повышающим коэффициентом на строительные работы К = 12,174

266,61

 

материалы

7559,2

 

ВСЕГО

 

7825,81

 

Итого

на м2 кровли

78,25

0,268

с накладными расходами (22 %)

95,46

 

с плановыми накоплениями (8 %)

103,10

 

с зимним удорожанием (1,9 %)

105,06

 

с налогом на пользование дорогами (2,5 %)

107,69

 

с НДС (20 %)

129,22

 

Примечания:

1. Нормами и расценками предусмотрено производство работ на высоте до 15 м от уровня земли. При производстве работ на высоте более 15 м нормы затрат труда и заработной платы следует увеличить на 0,5 % на каждый последующий метр высоты.

2. При определении цены Битурэла франко-стройплощадка учтены затраты на его транспортировку автотранспортом на расстояние до 100 км.

3. Стоимостные показатели приведены по состоянию на 01.05.1998 г.

5. ГРАФИК ПРОИЗВОДСТВА РАБОТ

Номер процесса

Наименование технологических процессов

Единица измерения

Объем работ

Затраты труда

Рабочих чел.-ч. на единицу измерения

На общий объем, чел.-ч.

1

Очистка основания от мусора

100 м2 основания

1000 м2

1,0

10

2

Обделка водосточных воронок

1 шт.

4 шт.

1,3

5,2

3

Просушивание влажных мест (20 % поверхности)

100 м2 основания

200 м2

8,6

17,2

4

Устройство пароизоляции

100 м2 слоя

1100 м2

6,7

73,7

5

Устройство теплоизоляции

100 м2 слоя

1000 м2

2,5

25

6

Устройство цементно-песчаной стяжки

100 м2 стяжки

1000 м2

21

210

7

Огрунтовка поверхности праймером ручным способом

100 м2 основания

1000 м2

4,1

41

8

Устройство температурных швов в стяжке с заполнением мастикой и оклейкой поверху лентой

100 м шва

400

7,8

31,2

9

Подача материала

100 т

2 т

2,2

0,30

10

Переноска материала

1 т

0,1 т

1,2

0,12

11

Покрытие крыши мастикой Битурэл

100 м2

1300 м2

2,47

32,1

12

Устройство светозащитного слоя

100 м2

1000 м2

2

200



6. ВЕДОМОСТЬ ПОТРЕБНОСТИ В МАТЕРИАЛАХ, ИЗДЕЛИЯХ И КОНСТРУКЦИЯХ НА 1000 м2

Таблица 8

Код

Наименование материалов, изделий

Исходные данные

Потребность на измеритель конечной продукции

Обоснование нормы расхода

Единица измерения по норме

Норма расхода

1

2

3

4

5

6

1

Битурэл

Технические указания по устройству и ремонту кровель плоских крыш мастикой Битурэл ТУ 5775-001-17187505-95

кг

3,5 кг/м2

3500

2

Праймер

То же

кг

200 г /1 м2

200

3

Растворитель (бензин, соляровое масло, уайт-спирит)

То же

кг

0,47 кг/м2

470

4

Стеклоткань

То же

м2

0,1

100

5

Рулонный материал для защитных прокладок

То же

м2

0,1

100

6

Кровельная сталь - металлические фартуки

То же

кг

0,3

300

7

Герметик отверждающийся

То же

кг

0,01

10

8

Гермогуст-l (добавки-загустители)

То же

кг

0,15

150

7. ТЕХНИКА БЕЗОПАСНОСТИ И ОХРАНА ТРУДА, ЭКОЛОГИЧЕСКАЯ И ПОЖАРНАЯ БЕЗОПАСНОСТЬ

7.1. Устройство и ремонт кровли с использованием мастики Битурэл осуществляется в соответствии с требованиями следующих нормативных документов:

СНиП III-4-80 Техника безопасности в строительстве;

ППБ-01-93 Правила пожарной безопасности в Российской Федерации;

ГОСТ 12.3.040-86 ССБТ Работы кровельные и гидроизоляционные. Требования безопасности;

ГОСТ 12.1.007-76 ССБТ Вредные вещества.

7.2. Рабочие, выполняющие ремонт кровли, должны быть обеспечены спецодеждой и спецобувью, а также средствами индивидуальной и коллективной защиты. Обувь должна быть нескользкой, кровельщики должны быть обеспечены предохранительными поясами с веревкой, предварительно испытанной под нагрузкой 300 кг в течение 10 мин. Веревку следует использовать без узлов и повреждений диаметром не менее 15 мм и длиной не менее 12 м, ходовые мостики, переносные стремянки и т.д. должны быть своевременно испытаны и иметь бирки.

7.3. Перед началом работы кровельщики должны получить у мастера или бригадира инструктаж о безопасных методах, приемах и последовательности выполнения предстоящей работы.

7.4. При работе на скатах кровель с уклоном более 20° и при отделке карнизов кровли с любым уклоном кровельщики обязаны пользоваться предохранительным поясом и веревкой, прочно привязанной к устойчивым конструкциям здания. Места закрепления должны указываться мастером - руководителем работ.

7.5. При работе на крыше с уклоном более 25°, а также на мокрых или покрытых инеем (снегом) кровлях, кроме предохранительного пояса необходимо применять переносные ходовые трапы шириной 300 мм с нашитыми планками для упора ног.

7.6. Сбрасывать с кровли материал, инструмент запрещается. Во избежание падения с кровли каких-либо предметов необходимо устанавливать предохранительные козырьки над проходами, наружными дверьми. Зона возможного падения ограждается и вывешивается плакат «Проход запрещен».

7.7. При складировании на кровле штучных материалов, инструментов и тары с мастикой принять меры против их скольжения по скату или сдуванию ветром. Размещать материалы следует только в специальных местах, предусмотренных проектом производства работ.

7.8. Поднимать материалы следует предпочтительно средствами механизации. Кровельные материалы при их подъеме следует укладывать в специальную тару для предохранения их от выпадения.

7.9. Приемная площадка на кровле по периметру должна иметь прочное ограждение высотой 1 м и бортовую доску высотой не менее 10 см.

7.10. Леса, подмости и другие средства подмащивания должны быть инвентарными и изготовлены по типовым проектам.

7.11. Краны малой грузоподъемности типа КМ-1 или КБК-2, применяемые для подачи материалов при устройстве кровель, устанавливаются и эксплуатируются в соответствии с заводской инструкцией (паспорта) завода изготовителя и инструкцией по охране труда машиниста крышевого крана.

7.12. Лица, допущенные к самостоятельной работе, грузчики-кровельщики, машинисты должны быть обучены и аттестованы на знание безопасного производства работ и проинструктированы по всем видам выполняемых работ.

Рабочие, обслуживающие крышевой кран, должны быть аттестованы на знание устройства и безопасной эксплуатации грузоподъемных кранов и механизмов, а также пройти обучение по программе стропальщиков и знать инструкцию по охране труда для стропальщиков, обслуживающих грузоподъемные машины.

Работы по перемещению груза на высоту должны проводится под руководством руководителя работ (мастера), ответственного за безопасное производство работ п. 7.4.7. «Правил устройства и безопасной эксплуатации грузоподъемных кранов».

7.13. Рабочие-кровельщики, занятые на погрузочно-разгрузочных работах, должны пройти инструктаж по безопасности труда и пожарной безопасности в соответствии с требованиями ГОСТ 12.3.0009-76 «Работы погрузочные».

Пожарная безопасность

7.14. ИТР, мастера, руководители работ должны пройти проверку знаний по технике безопасности труда, знать технологический процесс, вопросы пожаробезопасности и производственной санитарии в соответствии с их должностными обязанностями.

7.15. Компонент 2 мастики Битурэл, мастики и разжижители пожаро- и взрывоопасны при транспортировке, складировании и при использовании в работе.

Для тушения мастики Битурэл следует применять пенные огнетушители типа ОП-3, ОП-5 или порошковые, вместимостью 10 л. Мастика Битурэл относится к 4 классу опасности по степени воздействия на организм человека, в соответствии с этим следует избегать прямого попадания компонента 2 готовой мастики на открытые участки тела.

7.16. Работу с мастикой Битурэл и входящими в ее состав компонентами 1 и 2 необходимо проводить на открытой площади или в помещении, оборудованном приточно-вытяжной вентиляцией, отвечающей ГОСТ 12.4.021-75 и обеспечивающей восьмикратный обмен воздуха.

7.17. Открытое хранение компонентов мастики и растворителей, а также пустой тары из-под них запрещается, так как пустые бочки опаснее полных из-за выделения паров.

7.18. При работе с мастикой Битурэл необходимо соблюдать следующие санитарно-гигиенические требования:

пользоваться индивидуальными респираторами (см. Таблицу 4);

своевременно заменять фильтры;

открытые части тела и рук защищать специальными пастами;

к производству работ не допускаются лица, не прошедшие медицинского обследования, а также страдающие хроническими заболеваниями верхних дыхательных путей, глаз, желудка;

прием пищи производить в бытовом помещении после тщательной обработки и мытья открытых частей тела и рук.

8. ТЕХНИКО-ЭКОНОМИЧЕСКИЕ ПОКАЗАТЕЛИ

Значения затрат труда (ч/час), выработки на одного рабочего в смену (м2) и заработной платы рабочих (руб.) рассчитываются в целом на общий объем кровельных работ или по элементам конструкции на основании калькуляций, исходя из нормативных затрат труда.

При разработке технологической карты использованы следующие материалы:

1. Технические указания по устройству и ремонту кровель плоских крыш битумно-полимерной кровельной и гидроизоляционной мастикой Битурэл

2. ТСН КР-97 МО (ТСН 31-308-97) Кровли. Технические требования. Правила приемки.

3. СП 31-101-97. Проектирование и строительство кровель.

4. СНиП 3.04.01-87. Изоляционные и отделочные покрытия, 1988.

5. СНиП II-26-76. Кровли. Нормы проектирования, 1976.

6. СНиП 3.01.01-85. Организация строительного производства, 1995

7. СНиП III-4-80*. Техника безопасности в строительстве, 1989.

8. Правила пожарной безопасности в Российской Федерации, 1994.

СОДЕРЖАНИЕ

1. Область применения. 1

2. Технология и организация выполнения работ. 1

Приготовление мастики Битурэл. 3

Нанесение мастики Битурэл. 4

Устройство мастичных кровель. 5

Ремонт кровель с применением мастики Битурэл. 11

Материально-технические ресурсы.. 13

3. Требования к качеству и приемке работ. 14

Контроль качества. 15

4. Калькуляция затрат труда. 16

5. График производства работ. 18

6. Ведомость потребности в материалах, изделиях и конструкциях на 1000 м2 21

7. Техника безопасности и охрана труда, экологическая и пожарная безопасность. 21

Пожарная безопасность. 22

8. Технико-экономические показатели. 22

 




Яндекс цитирования



   Copyright © 2007-2026,  www.tehlit.ru.

[ ѓосты, стандарты, нормативы, инструкции, правила, строительные нормы ]