//
ТехЛит.ру
- крупнейшая бесплатная электронная интернет библиотека для "технически умных" людей.
WWW.TEHLIT.RU - ТЕХНИЧЕСКАЯ ЛИТЕРАТУРА

:: Алготрейдинг::


АЛГОТРЕЙДИНГ
шаг за шагом
с нуля по урокам!

Торговые роботы на PYTHON, BackTrader,
Pandas, Pine Script для TradingView. Связка с брокерами, телеграм и легкими приложениями.


ГНМЦ ГП «ВНИИФТРИ»

ОТДЕЛ МЕТРОЛОГИИ В СТРОИТЕЛЬСТВЕ

РЕКОМЕНДАЦИЯ
ГСИ. Материалы цементные. Методики ускоренного
определения морозостойкости бетона (раствора) по
структурно-механическим характеристикам

МИ 2489-98

Москва, 1998 г.

Информационные данные

Разработана Государственным научным метрологическим центром ГП ВНИИФТРИ, Отделом метрологии в строительстве

Исполнители: А. И. Марков, М. П. Польяникова

Метрологическая экспертиза проведена Отделом общих и теоретических проблем метрологии ГП ВНИИФТРИ

Утверждена ГП ВНИИФТРИ «19» июля 1998 г.

Зарегистрирована ВНИИМС «26» июля 1998 г.

Вводится с «01» августа 1998 г.

СОДЕРЖАНИЕ

1 Область применения. 1

2 Определения. 1

3 Средства испытаний и вспомогательные устройства. 2

4 Порядок подготовки к проведению испытаний. 2

5 Порядок проведения испытаний. 4

6 Правила обработки результата испытания. 4

Приложение А.. 5

Приложение Б. 6

Приложение В. Методика определения переводного коэффициента А.. 7

Приложение Г. Методика ускоренного определения морозостойкости бетона неизвестного состава без применения однократного замораживания. 7

Приложение Д. Методика ускоренного определения морозостойкости бетона в возрасте 28 сут путем испытаний образцов непосредственно после их тепловлажностной обработки (ТВО) или возрасте 7 сут нормального твердения. 8

Приложение Е. Методика экспрессной корректировки состава бетона в целях обеспечения требуемой морозостойкости. 9

Приложение Ж... 10

1 Область применения

Настоящая рекомендация распространяется на все виды бетона и раствора, кроме ячеистого, на цементном вяжущем с различными добавками, в т.ч. полимерного вяжущего. Методика предназначена для ускоренного определения состава бетона с заданной морозостойкостью и для постоянного контроля морозостойкости бетона и раствора при серийном изготовлении и эксплуатации изделий и конструкций на любых строительных объектах и воздействиях водной и водно-солевой среды.

Рекомендация разработана в развитие и дополнение МИ 1353-93 «ГСИ. Материалы цементные. Методика выполнения измерений при определении характеристик на дифференциальных контрактометрах» и ГОСТ 10060.4-95 «Бетоны. Структурно-механический метод ускоренного определения морозостойкости».

2 Определения

В настоящих рекомендациях приняты следующие термины с определениями:

2.1. Морозостойкость бетона (раствора) - способность бетона (раствора) сохранять физико-механические свойства при многократном замораживании и оттаивании. Морозостойкость бетона характеризуется его маркой по морозостойкости F (ГОСТ 10060.0).

2.2. Основные образцы - образцы, предназначенные для замораживания.

2.3. Контрольные образцы - образцы, предназначенные для определения прочности бетона на сжатие перед началом замораживания основных образцов.

2.4. Марка бетона (раствора) по морозостойкости F - минимальное число циклов замораживания и оттаивания образцов бетона (раствора), при которых сохраняются первоначальные физико-механические свойства в нормальных пределах (среднее значение прочности бетона на сжатие в основных образцах по сравнению со средней прочностью в контрольных образцах не должно уменьшиться более, чем на 5 %, а для легких бетонов марки до F 50 - не более, чем на 15 %).

2.5. Капиллярно-открытая пористость - объем пор в долях (процентах) от объема бетона, в которых вода переходит в лед при замораживании до минус 20 °С.

2.6. Контракция - уменьшение абсолютного объема материала в результате гидратации цемента. Размерность контракции см3.

2.7. Удельная текущая контракция цемента - контракция 1 г цемента к требуемому времени. Размерность - см3/г.

3 Средства испытаний и вспомогательные устройства

3.1. Оборудование для изготовления, хранения и испытания бетонных образцов, соответствующей ГОСТ 10180 и ГОСТ 28570.

3.2. Морозильный шкаф или бытовой холодильник с морозильной камерой, обеспечивающие достижение и поддержание температуры минус (18 ± 2) °С.

3.3. Переносной контракциометр КД-07 (конструкции ГП ВНИИФТРИ) по МИ 1353-93 и ГОСТ 10060.4

3.4. Электрошкаф сушильный, обеспечивающий температуру нагрева до 105 °С и автоматическое регулирование температуры с пределом допустимой погрешности ±5 °С.

3.5. Весы, имеющие предел допустимой погрешности измерений массы 1 г по ГОСТ 24104.

3.6. Ванна для насыщения водой шести образцов.

3.7. Вода по ГОСТ 23732 в количестве, достаточном для насыщения шести образцов.

4 Порядок подготовки к проведению испытаний

Для испытаний бетона (раствора) на морозостойкость используют либо образцы-кубы или образцы-керны.

Образцы-кубы предпочтительны для заводской технологии и монолитного бетонирования, а образцы-керны предпочтительны для оценки ресурса бетона в интенсивно эксплуатируемых строительных объектах (аэродромы, дороги, гидросооружения и др.).

4.1. Перед изготовлением образцов определяют:

· водопоглощение щебня и песка по ГОСТ 8269 в течение 1 ч;

· водоотделение бетонной смеси по ГОСТ 10180.4 для случая, когда бетонную смесь уплотняют центрифугированием или вакуумированием.

4.2. Основные и контрольные образцы в количестве 6 шт. изготавливают и отбирают по п.п. 4.5-4.10 ГОСТ 10060.0.

4.3. Образцы-керны в количестве 7 шт. отбирают из конструкции и хранят по ГОСТ 28570.

4.4. Контрольные и основные образцы насыщают водой по ГОСТ 10060.0.

4.5. Перед испытаниями образцов-кернов из бетона неизвестного состава или образцов, изготовленных из жестких бетонных смесей со значительным недоуплотнением, один из них подвергают следующим испытаниям:

· определяют массу mво одного керна (образца), г;

· определяют объем V керна (образца), см3;

· раскалывают керн (образец) и отбирают только куски ориентировочным объемом 20-30 см3 и определяют массу твi полученной пробы, г;

· кипятят пробу в течение 5 ч, охлаждают до температуры плюс (20 ± 2) °С, охлажденную воду сливают и определяют массу пробы mki, г;

· высушивают пробу в сушильном шкафу при температуре (105 ± 5) °С до постоянной массы тci.

4.6. Определяют капиллярно-открытую пористость Пki бетона в проектном возрасте, %:

а) для образцов (кернов) из бетона с известным составом

 %                                    (1)

где

Wi - объем воды затворения в 1 л уплотненной смеси образца бетона за вычетом водоотделения в процессе уплотнения, см3;

Пi, Щi - масса заполнителей в 1 л бетона, соответственно мелкого и крупного, г;

β1, β2 - водопоглощение заполнителей, в долях от их массы за время перемешивания и уплотнения смеси, соответственно мелкого и крупного, см3/г. Для пористых заполнителей допускается в формуле 1 вместо β1Пi - β2Щi + νo использовать νo/2.

Примечание.

Для заполнителей плотных пород (гранит, базальт, кварц) водопоглощение β1 и β2 допускается принимать равным 0,01 см3/г.

νо - объем открытых пор пористых заполнителей (объем воды, поглощаемый пористыми заполнителями за 1 ч), см3;

ΔV¢i - удельная текущая контракция применяемого цемента к моменту испытаний материала на морозостойкость, см3/г.

Значение ΔV¢i определяют заранее по мере поступления цемента, используя методику, изложенную в МИ 2486-98:

K5 - стехиометрический коэффициент контракции, принимаемый по таблице 1;

Сi - масса цемента в 1 л бетонной смеси, г.

Таблица 1

Тип цемента

Значение коэффициента K5 при различных γс, отн.

2,85

2,9

3,0

3,1

3,2

Алюминатный

-

-

-

-

4,5

БТЦ, ОБТЦ

-

-

-

5,2

5,1

Портландцемент

-

-

5,7

5,6

-

Пуццолановый, ШПЦ

6,8

6,8

6,7

6,6

-

б) для образцов (кернов) из бетона с неизвестным составом:

,                                              (2)

где

mki; mci; mвi; mвo; V - величины по п. 4.5 настоящей рекомендации.

γw - плотность воды при температуре (20 ± 2) °С, принимаемая равной 1 г/см3;

Д - коэффициент, отражающий объем пор в бетоне керна, в котором вода не переходит в лед при замораживании до минус (18 ± 2) °С (определяют по таблице 2), отн.

Таблица 2

Прочность бетона или фактическая прочность, МПа

15,0

20,0

30,0

40,0

50,0

60,0

Значение коэффициента Д, отн.

0,05

0,03

0,06

0,04

0,07

0,05

0,08

0,06

0,09

0,07

0,11

0,09

В числе приведены значения Д для мелкозернистого бетона (раствора). Их корректируют по примечанию МИ 2625 (стр. 87).

Примечание.

Капиллярно-открытую пористость тощих бетонов с большой межзерновой пустотностьюзготовленных из жестких бетонных смесей) определяют по формуле 1, где вместо Wi подставляют Wj из выражений или .

Wf = Wi + 1000 · (0,97 - γф / γp),                                               (2а)

здесь

γф, γp - объемная масса свежеуплотненной бетонной смеси в образцах испытываемого на морозостойкость бетона соответственно фактическая (определяют путем взвешивания) и расчетная (определяют при расчете состава бетона по методу абсолютных объемов):

,                                                 (2б)

5 Порядок проведения испытаний

5.1. Насыщенные водой контрольные образцы непосредственно после извлечения из ванны испытывают на прочность при сжатии по ГОСТ 10180.

5.2. Основные образцы сразу после извлечения из ванны помещают в морозильный шкаф и подвергают однократному замораживанию в течение 5 ч при температуре минус (18 ± 2) °С.

5.3. Основные образцы после извлечения из холодильника (морозильного шкафа) в замороженном состоянии незамедлительно испытывают на прочность при сжатии и вычисляют коэффициент повышения прочности и бетона Кi по формуле

,                                                                  (3)

где

,  - средние арифметические значения прочности бетона соответственно в контрольных и основных образцах, МПа.

5.4. Из таблиц А.1 и А.2 Приложения А для установленного значения капиллярно-открытой пористости испытываемого бетона находят соответствующие значения морозостойкости Мтах и Мmin, а также коэффициентов повышения прочности Kтах и Kmin и рассчитывают морозостойкость бетона Мi в циклах по формуле

,                                     (4)

где

Кi - фактический коэффициент повышения прочности бетона, отн.;

Мmax, Мmin - соответственно максимальная и минимальная морозостойкость бетона, циклы;

Kmax, Kmin - соответственно максимальный и минимальный коэффициенты повышения прочности бетона, отн.

Если значение Кi для данной капиллярно-открытой пористости меньше Кmin, то морозостойкость Мi определяют по формуле

,                                                          (5)

где

.

Если значение Кi для данной капиллярно-открытой пористости больше Kmax, то морозостойкость Мi определяют по формуле

,                                                          (6)

где

.

Значения чисел N1 и N2, возведенных в степень 1/3, приведены в таблице Б.1 Приложения Б.

6 Правила обработки результата испытания

6.1. Результат определения морозостойкости представляют формулой

Мi = М · (1 - Δo),                                                           (7)

где

,                                               (8)

КM для тяжелого бетона, раствора и легкого бетона принимают соответственно 0,004; 0,005; 0,006.

Значения средних квадратических отклонений  и  находят по формулам

,                                                      (9)

,                                                      (10)

6.2. Испытанному бетону устанавливают марку по морозостойкости F равную меньшему, ближайшему к Мi значению F, приведенному в ГОСТ 10060.

6.3. Определение морозостойкости бетона (раствора) при минус (18 ± 2) °С в солевой среде, а также при использовании золоцементных вяжущих, содержании в вяжущем минеральных добавок свыше 50 % (по массе), применении новых видов суперпластификаторов и заполнителей типа гравия осуществляют по вышеизложенной методике, а результат умножают на понижающий коэффициент А.

Методика определения коэффициента А приведена в приложении В.

6.4. Методика ускоренного определения морозостойкости бетона неизвестного состава без применения однократного замораживания приведена в приложении Г.

6.5. Методика ускоренного определения морозостойкости бетона в возрасте 28 сут путем испытаний образцов непосредственно после их тепловлажностной обработки (ТВО) приведена в Приложении Д.

6.6. Методика экспрессной корректировки состава бетона в целях обеспечения требуемой морозостойкости приведена в приложении Е.

6.7. Исходные данные и результаты определения морозостойкости бетона заносят в журнал по форме, приведенной в Приложении Ж.

Приложение А

Таблица А.1 - Показатели шкалы морозостойкости тяжелого бетона и раствора

Капиллярно-открытая пористость, Пki, %

Морозостойкость, циклы

Коэффициент повышения прочности при однократном замораживании, отн.

Mmax

Mmin

Kmax

Kmin

1

2

3

4

5

0,5

1200

1200

1,00

1,00

1,0

1010

990

1,01

1,01

1,5

905

873

1,04

1,02

2,0

821

775

1,08

1,03

2,5

752

698

1,13

1,03

3,0

690

625

1,17

1,04

3,5

635

571

1,21

1,04

4,0

584

510

1,26

1,05

4,5

539

461

1,30

1,06

5,0

498

412

1,35

1,06

5,5

463

371

1,39

1,07

6,0

436

340

1,44

1,08

6,5

411

313

1,48

1,09

7,0

386

287

1,53

1,09

7,5

365

263

1,57

1,10

8,0

347

240

1,61

1,11

8,5

330

218

1,66

1,11

9,0

312

197

1,70

1,11

9,5

296

177

1,74

1,12

10,0

282

158

1,78

1,12

10,5

273

144

1,80

1,13

11,0

265

131

1,84

1,13

11,5

258

120

1,86

1,13

12,0

251

109

1,89

1,14

12,5

245

98

1,91

1,14

13,0

240

88

1,94

1,15

13,5

235

80

1,96

1,15

14,0

230

73

1,98

1,16

14,5

225

66

1,99

1,16

15,0

220

59

2,03

1,16

15,5

216

53

2,03

1,17

16,0

213

48

2,04

1,18

16,5

210

44

2,05

1,18

17,0

208

41

2,06

1,18

17,5

207

37

2,07

1,18

18,0

206

33

2,08

1,18

18,5

204

30

2,09

1,19

19,0

203

28

2,09

1,19

19,5

202

26

2,10

1,19

20,0

202

24

2,11

1,19

20,5

201

22

2,11

1,19

21,0

201

21

2,13

1,20

21,5

200

20

2,13

1,20

22,0

200

19

2,13

1,20

22,5

199

18

2,14

1,21

23,0

199

17

2,14

1,21

23,5

199

16

2,14

1,21

24,0

198

15

2,14

1,21

24,5

198

15

2,14

1,21

25,0

198

14

2,14

1,21

Таблица А.2 - Показатели шкалы морозостойкости легкого бетона

Капиллярно-открытая пористость, Пki, %

Морозостойкость, циклы

Коэффициент повышения прочности при однократном замораживании, отн.

Mmax

Mmin

Kmax

Kmin

16,5

165

88

2,06

1,10

17,0

159

80

2,09

1,10

17,5

153

73

2,11

1,11

18,0

147

64

2,15

1,11

18,5

141

55

2,16

1,11

19,0

135

50

2,18

1,12

19,5

130

44

2,19

1,12

20,0

125

38

2,20

1,12

20,5

120

33

2,21

1,12

21,0

118

29

2,22

1,12

21,5

113

25

2,22

1,12

22,0

110

21

2,23

1,13

22,5

108

18

2,23

1,13

23,0

105

16

2,23

1,13

23,5

103

15

2,23

1,13

24,0

102

15

2,23

1,13

24,5

101

14

2,24

1,13

25,0

100

13

2,24

1,14

Приложение Б

Taблица Б.1 - Значение чисел N, возведенных в степень 1/3

N

степень 1/3

N

степень 1/3

N

степень 1/3

0,1

0,46

2,1

1,28

4,1

1,60

0,2

0,58

2,2

1,30

4,2

1,61

0,3

0,67

2,3

1,32

4,3

1,63

0,4

0,74

2,4

1,34

4,4

1,64

0,5

0,79

2,5

1,36

4,5

1,65

0,6

0,84

2,6

1,38

4,6

1,66

0,7

0,89

2,7

1,39

4,7

1,67

0,8

0,93

2,8

1,41

4,8

1,69

0,9

0,97

2,9

1,43

4,9

1,70

1,0

1,00

3,0

1,44

5,0

1,71

1,1

1,03

3,1

1,46

5,1

1,72

1,2

1,06

3,2

1,47

5,2

1,73

1,3

1,09

3,3

1,49

5,3

1,74

1,4

1,12

3,4

1,50

5,4

1,75

1,5

1,14

3,5

1,52

5,5

1,77

1,6

1,17

3,6

1,53

5,6

1,78

1,7

1,19

3,7

1,55

5,7

1,79

1,8

1,22

3,8

1,56

5,8

1,80

1,9

1,24

3,9

1,57

5,9

1,81

2,0

1,26

4,0

1,59

6,0

1,82

Пример 3,51/3 = 1,52

Приложение В

Методика определения переводного коэффициента А

1. Для определения коэффициента А проводят предварительные испытания на морозостойкость бетона одного состава с особенностями компонентов и условиями эксплуатации, указанными в п. 6.3. настоящей рекомендации, вышеизложенным ускоренным методом (находят Mi), а также определяют по ГОСТ 10060.1 (в водной или водно-солевой среде) при температуре минус (18 ± 2) °С.

В целях сокращения объемов работ состав бетона выбирают с наибольшим применяемым в конкретном производстве водоцементным отношением.

2. При испытаниях по ГОСТ 10060.1 количество образцов n в серии для испытаний должно быть не менее:

для водной среды                              n = 3 (1 + Мi / 2f),                                     (B.1)

для водно-солевой среды                   n = 3 (1 + Мi / 4f),                                   .2)

где

f - количество циклов, через которые периодически испытывают по 3 образца на прочность (значения f в зависимости от Мi приведены в табл. В.1).

Результаты расчетов по формулам В.1 и В.2 всегда округляют до ближайшего большего целого числа.

Таблица В.1

Mi, циклы

50

75

100

150

200

300

400

500

f, циклы

5

5

10

10

20

20

20

30

3. Мерные испытания образцов на прочность при водной среде производят через Мi/2 циклов, а при водно-солевой среде - через Мi/4 циклов. Заканчивают испытания по достижению критерия по ГОСТ 10060.1, определяя при этом фактическую морозостойкость Мфi.

4. Значение коэффициента А вычисляют по формуле

А = Мфi / Мi                                                           .3)

и в дальнейшем используют для ускоренного определения морозостойкости бетона других составов с особенностями компонентов, указанными в п. 6.3 настоящей рекомендации. При водно-солевой среде значения коэффициента А находятся в пределах от 0,3 до 0,6. Ориентировочные значения коэффициента А для некоторых общих случаев таковы: при заполнителях из гранита и кварцевого песка и Г = 0; Г 1; 1 < Г 3; 3 < Г < 5 соответственно 0,6; 0,55; 0,45; 0,4; при использовании дробленого гравия и гравия для указанных значений Г, приведенные значения А необходимо умножить соответственно на 0,85 и 0,75.

Приложение Г

Методика ускоренного определения морозостойкости бетона неизвестного состава без применения однократного замораживания

1. Откалывают 3 пробы бетона от изделия (конструкции). Ориентировочный объем каждой пробы не менее 0,5 л при максимальной крупности щебня до 40 мм.

2. Насыпают пробы бетона водой при температуре от 18 до 27 °С в течение 24 ч и определяют их суммарную массу в водонасыщенном состоянии тn.

Одновременно определяют (по вытесненному объему воды) суммарный объем проб Vn.

3. Раскалывают водонасыщенные пробы на куски и отбирают из них куски ориентировочным объемом 20 ÷ 30 см3 каждый, определяют их суммарную массу в водонасыщенном состоянии тno (mno должно быть не менее 2/3 тn).

4. Набор кусков насыщают водой кипячением в течение 5 ч. охлаждают до (20-25) °С и определяют взвешиванием их массу после кипячения mko.

5. После охлаждения и взвешивания набор проб высушивают при температуре (100 ± 5) °С до постоянной массы mco.

6. Вычисляют капилляро-открытую пористость бетона по формуле

,                                         (Г.1)

где

Д - коэффициент, принимаемый по таблицы 2, п. 4.6 настоящей рекомендации;

γw - плотность воды в свободном состоянии при температуре 20 °С, принимаемой равной 1 г/см3.

7. Вычисляют коэффициент Ki повышения прочности водонасыщенного бетона на сжатие при однократном замораживании

,                      (Г.2)

Если имеются сведения о прочности испытываемого бетона, то коэффициент 0,9 в формуле (Г.2) заменяют на значения коэффициента В, приведенного в таблице Г.1.

Прочность бетона, МПа

15,0

20,0

25,0

30,0

> 35

Значения В, отн.

1,1

1,05

1,0

0,95

0,9

8. Морозостойкость бетона Мi далее определяют в соответствии с п.п. 5.4-5.5 настоящей рекомендации.

Приложение Д

етодика ускоренного определения морозостойкости бетона в возрасте 28 сут путем испытаний образцов непосредственно после их тепловлажностной обработки (ТВО) или возрасте 7 сут нормального твердения

1. После ТВО бетона 6 образцов одного состава охлаждают до комнатной температуры, выдерживают в течение одних суток в естественных лабораторных условиях при температуре (20 ± 5) °С и затем подвергают стандартному водонасыщению в течение четырех суток.

2. Определяют, как и по п.п. 5.1-5.3 настоящей рекомендации, коэффициент Ki = Km, повышения прочности бетона при однократном замораживании водонасыщенных образцов.

3. Определяют капиллярно-открытую пористость ПТ бетона после ТВО по формуле (1), где вместо ΔV¢i подставляют ΔV¢T (см. МИ 2486-98). Удельную текущую контракцию цемента в бетоне после ТВО определяют по формуле

,                                                 (Д.1)

где

RT, R7 - пределы прочности бетона после ТВО и в возрасте семь суток изначального твердения в нормальных условиях (для определения необходимо дополнительно изготовить 3 образца и испытать их в возрасте семи суток).

Примечание.

Методика определения ΔV¢T приведена в приложении А МИ 2486-98.

4. По капиллярно-открытой пористости ПТ бетона, подвергнутого ТВО, находят из таблицы А.1 соответствующие ей значения Kmax = KTmax и Kmin = KTmin.

5. Определяют капиллярно-открытую пористость П28 бетона в возрасте 28 сут по формуле (1), вместо ΔV¢i подставляют ΔV¢28, взятую из табл. 2 МИ 2486-98.

6. По капиллярно-открытой пористости П28 находят из табл. А.1 соответствующие ей значения Kmax = K28max и Kmin = K28min, а также Mmax = M28max и Mmin = M28min.

7. Прогнозирует коэффициент К28 повышения прочности бетона при однократном замораживании водонасыщенных образцов в возрасте 28 суток по формуле

,                                  (Д.2)

8. Морозостойкость бетона в возрасте 28 сут рассчитывают по формуле

,                              (Д.3)

9. При проведении испытаний бетона в возрасте 7 сут вместо ΔV¢T используют ΔV¢7, взятое из табл. 2 МИ 2486 Кi = К7, далее производят расчеты по формуле (Д.2) используя K7max, K7min и К7 взамен KТmax, KТmin и КТ.

Приложение Е

Методика экспрессной корректировки состава бетона в целях обеспечения требуемой морозостойкости

Корректировку состава бетона производят, если в результате его испытаний фактическая морозостойкость Мi оказывается меньше требуемой F.

1. Для осуществления методики необходимо предварительно построить график зависимости морозостойкости бетона от его капиллярно-открытой пористости.

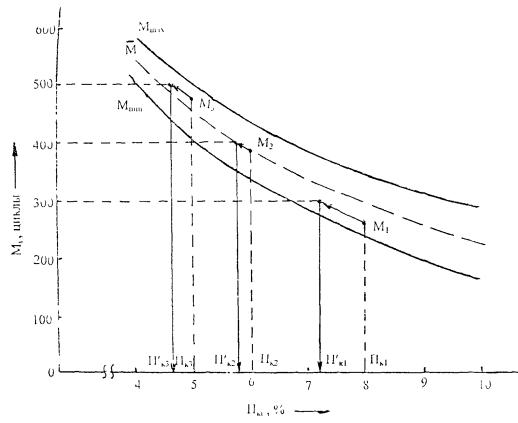
График строят по данным табл. А1 (Приложение А), при этом для каждого значения пористости выбирают соответствующие значения только Mmax и Mmin. Диапазон пористости принимают в соответствии с ее возможными значениями в каждом конкретном случае. Например, для высокоморозостойких бетонов 1,5 Пki £ 5, для среднеморозостойких £ 5 < Пki 10, маломорозостойких Пki > 10. Возможны и сочетания типа 3 Пki 12 и т.д. В качестве примера, на рис. E.1 и приведен такой график.

Желательно график строить на размеченном листе («миллиметровке»), используя масштаб пористости с ценой деления не более 0,1 %. На графике строят и кривую усредненной морозостойкости М, по точкам, вычисляемым для каждого значения пористости по зависимости (Мmax + Мmin) / 2.

2. Если полученная в результате испытаний морозостойкость бетона Mi < Fi, то поступают следующим образом. Наносят на график полученное значение Мi для соответствующей пористости Пki. Анализируют положение Mi на графике. При этом возможны три случая: MminMi < M, Mi = M, M < MiMmax.

В приводимом примере (см. рис. E.1) пористости Пk1, Пk2 и Пk3 соответствуют фактические значения M1, M2 и M3, которые отвечают случаям, первому, второму и третьему.

Рис. E.1. Зависимость морозостойкости бетона от его капиллярно-открытой пористости

Во всех случаях из точек M1, M2 и M3 проводят кривые (указаны стрелками) до их пересечения с горизонтальными линиями, исходящими из значений требуемой морозостойкости F1, F2 и F3 (см. ось ординат и пунктирные линии). Кривые в первом и третьем случае ведут параллельно кривым соответственно Мmin и Mmax, а во втором - по кривой .

Из точек пересечения кривых с пунктирными, прямыми опускают перпендикуляры на ось ординат и отсекают на ней значения пористости П¢k1, П¢k2 и Пk3, обеспечивающие требуемую морозостойкость соответственно F1, F2 и F3.

3. Корректировку состава бетона осуществляют по нескольким вариантам.

Первый - в формуле 1 (п. 4.6), сохраняя расход воды Wi, изменяют расход цемента в сторону его увеличения, уменьшают на соответствующий абсолютный объем суммарный расход заполнителей или расход песка до тех пор пока расчет Пki не приведет к установленному значению П¢ki.

Возможен второй вариант варьирования показателей в формуле (1) - с помощью увеличения расхода добавки-пластификатора (если она применяется) до допустимого практикой и рекомендациями уровня. Для этого можно воспользоваться Программой экспресс-определения состава бетона (ЭСПБУ), задаваясь требуемой прочностью и удобоукладываемостью и увеличивая расход добавки до достижения Пki (отдельно считая ее по формуле 1). Недостающее при этом уменьшение пористости дополняют с помощью первого варианта.

Оба варианта рекомендуют, когда воздухововлекающая добавка либо не применяется, либо дозируется в количестве, обеспечивающем оптимальный эффект.

Третий вариант - введение в бетонную смесь воздухововлекающей добавки, после того как первый и второй варианты (если воздухововлекающую добавку не применяли) не позволяют достигнуть установленного значения Пki.

Этот вариант реализуют только экспериментальным путем, используя составы, скорректированные по двум предшествующим вариантам. Однако, при этом следует помнить, что 1 % вовлеченного в смесь воздуха приводит к снижению прочности бетона на 4 ÷ 6 %.

Для того, чтобы требуемая прочность бетона была также обеспечена необходимо вернуться к ЭСПБУ и снова рассчитать состав бетона по условию прочности и удобоукладываемости с учетом дополнительного объема вовлеченного воздуха.

Если в этом расчете отношение суммы объема воды и воздуха к массе цемента будет не больше, чем после корректировки по третьему варианту, то поставленная задача считается решенной.

Третий вариант можно реализовать и проверить, не дожидаясь 28 суток, по методике Приложения Д.

Необходимо помнить, что эффективность воздухововлечения снижается с повышением пластичности бетонной смеси. Изначально содержащийся в смеси воздух теряется при ее транспортировании в миксерах, подаче по трубопроводам и последующем уплотнении. Например содержанию вовлеченного воздуха 4 % в смеси с пластичностью П4, определенным компрессионным методом непосредственно после ее приготовления, соответствует объемная масса 2280 ÷ 2290 г/л аполнители: щебень гранитный и кварцевый песок). Фактическая же объемная масса этой бетонной смеси после транспортировки и уплотнения на месте (в изделии), как правило, составляет 2350 ÷ 2360 г/л, что соответствует воздухосодержанию 1,5 ÷ 2 %. Во избежании заблуждений и ошибок по определению повышения морозостойкости бетона за счет воздухововлечения его необходимо обеспечивать в изделии и определять одновременно с укладкой в него бетонной смеси. Для этого целесообразно использовать известную методику, приведенную в МИ 2488тр. 8).

Приложение Ж

Таблица Ж.3 - Форма журнала ускоренного определения морозостойкости бетона

Дата изготовления

Размеры образцов, мм

Наименование, расход добавки, кг/м2

Дата определения морозостойкости

Показатели морозостойкости бетона

Морозостойкость Mi, циклы

Марка по морозостойкости F, циклы

Прочность образцов, МПа

ΔVi, см3

Пi, %

Ki, отн.

Δo, отн.

Rk

Ro

1

2

3

4

5

6

7

8

9

10

11

12

Начальник подразделения              ______________               ________________

(лаборатория)                                           подпись                            и.о. фамилия

Лицо, проводившее                         ______________               ________________

испытания                                                подпись                            и.о. фамилия




Яндекс цитирования



   Copyright © 2007-2026,  www.tehlit.ru.

[ ѓосты, стандарты, нормативы, инструкции, правила, строительные нормы ]