//
ТехЛит.ру
- крупнейшая бесплатная электронная интернет библиотека для "технически умных" людей.
WWW.TEHLIT.RU - ТЕХНИЧЕСКАЯ ЛИТЕРАТУРА

:: Алготрейдинг::


АЛГОТРЕЙДИНГ
шаг за шагом
с нуля по урокам!

Торговые роботы на PYTHON, BackTrader,
Pandas, Pine Script для TradingView. Связка с брокерами, телеграм и легкими приложениями.


ФЕДЕРАЛЬНАЯ СЛУЖБА
МОРСКОГО ФЛОТА РОССИИ

МИНИСТЕРСТВО ТРАНСПОРТА РОССИЙСКОЙ ФЕДЕРАЦИИ

ДЕПАРТАМЕНТ МОРСКОГО ТРАНСПОРТА

СОГЛАСОВАНО

Отдел инвестиционной политики
ДМТ

А. Н. Соловьев

10 мая 1994.

СОГЛАСОВАНО

Гидрографическое предприятие
ДМТ

18 ноября 1993.

СОГЛАСОВАНО

Зам. директора Департамента

морского транспорта

Б. С. Гришин

10 мая 1994.

Главный инженер

Ростовского ЦПКБ «Стапель»

И. В. Санкин

2 ноября 1993.

ИНСТРУКЦИЯ
по техническому обслуживанию
средств навигационного оборудования
морских подходных каналов,
акваторий и портов

РД 31.61.01-93

Москва

1996

ИНСТРУКЦИЯ
по техническому обслуживанию средств навигационного оборудования морских подходных каналов, акваторий и портов.

РД 31.61.01-93

Взамен РД 31.61.01-83.

Срок введения в действие установлен с 1 июня 1994 г.

Настоящий руководящий документ (РД) устанавливает требования, дает практические указания по выполнению мероприятий при эксплуатации морских навигационных и плавучих предостерегательных знаков и определяет порядок работ по их содержанию и техническому обслуживанию.

РД является обязательным для всех подразделений, занимающихся эксплуатацией и техническим обслуживанием средств навигационного оборудования морских подходных каналов, фарватеров, рекомендованных курсов, акваторий и портов Департамента морского транспорта Российском Федерации (ДМТ РФ).

РД не распространяется на устройства и оборудование, устанавливаемые на береговых и плавучих знаках, параметры, характеристики и технические требования к которым изложены в действующих стандартах, технических условиях и других документах.

1. ОБЩИЕ ПОЛОЖЕНИЯ

1.1. Назначение средств навигационного оборудования

1.1.1. Средства навигационного оборудования (СНО), находящиеся в ведении предприятия Департамента морского транспорта, занимающихся эксплуатацией СНО, являются составной частью общей системы навигационного оборудования морских портов и совместно с другими его средствами предназначены обеспечивать безопасное плавание судов на подходах к морским портам.

1.1.2. Обеспечение безопасного судовождения на подходах к морским портам достигается:

бесперебойным действием береговых и плавучих СНО;

развитием и совершенствованием средств и методов навигационного оборудования в соответствии с современными требованиями морского флота;

современной информацией мореплавателей об изменениях в навигационной обстановке.

1.1.3. Безопасность судовождения регламентирована следующими документами:

«Общими правилами морских торговых и рыбных портов союза ССР» издание ГУНиМО, 1985 г., раздел 7 «О порядке безопасности и сохранности сооружений на акватории порта»;

Постановлением Совета Министров СССР от 6 апреля 1988 г. № 424 «О мерах по дальнейшему развитию навигационного оборудования морей»;

Положением о навигационно-гидрографическом обеспечении плавания морских и речных судов в океанах, на морях и внутренних водных путях;

Постановлением Совета Министров - Правительства Российской Федерации от 17 декабря 1993 г. № 1299 «Об организации управления морскими портами»;

«Типовым положением о Морской администрации порта»;

Обязательными постановлениями по морским торговым портам;

«Правилами технической эксплуатации портовых сооружений и акваторий» РД 31.35.10-86;

«Положением о подрядных договорах на комплексное гарантийное обслуживание подходных каналов и акваторий морских портов», (Приложение к письму ММФ от 05.08.81 г., 95);

«Наставлением по обеспечению навигационной безопасности рабочих дноуглубительного флота» РД 31.74.07-83.

«Правила безопасности труда при производстве гидрографических, лоцмейстерских и других работ в Арктике» РД 31.89.01-89.

1.1.4. В настоящей Инструкции рассмотрены береговые и плавучие СНО, эксплуатируемые и обслуживаемые подразделениями Департамента морского транспорта: морские навигационные створы, портовые навигационные знаки, морские навигационные знаки и огни, морские и канальные плавучие предостерегательные знаки.

1.1.5. К береговым СНО относят морские навигационные створы, портовые и морские навигационные знаки и огни. Они предназначены для определения места судна или следования его по избранному пути в любое время суток.

1.1.6. К плавучим СНО относят плавучие предостерегательные знаки - буи и вехи.

Они предназначены для ограждения навигационных опасностей, бровок каналов и сторон фарватеров, рекомендованных путей, акваторий морских портов, подводных карьеров, свалок грунта, выходящих в море трубопроводов и кабелей, полигонов и т.п.

1.2. Требования к средствам навигационного оборудования

1.2.1. Действующие морские плавучие предостерегательные знаки должны удовлетворять следующим требованиям:

сохранять штатное место в течение всего периода действия;

обеспечивать дальность видимости, указанную в описании «Огни и знаки» соответствующего бассейна;

сохранять форму топовой фигуры (при наличии), штатный цвет наружной окраски, характеристику и бесперебойное действие огня;

о вынужденных изменениях штатного места знака должны быть оповещены:

начальник района Гидрографической службы флота или подразделения ГП ММФ для Северного морского пути;

заместитель начальника пароходства по мореплаванию;

капитан морского торгового порта.

1.2.2. Морские навигационные знаки должны иметь такую форму и цвет наружной окраски, чтобы мореплаватель без особого напряжения мог распознать их на фоне местности при определенной прозрачности атмосферы.

Цвет огня морских навигационных и плавучих предостерегательных знаков должен быть легко обнаруживаемым с объявленной дальности видимости при определенной прозрачности атмосферы.

Характеристика огня должна быть стабильной и не зависящей от температурных колебаний, влажности воздуха и других внешних условий.

1.2.3. Масса якоря, длина и калибр якорной цепи каждого морского плавучего предостерегательного знака (ППЗ) должны быть определены и подобраны так, чтобы обеспечить сохранение штатного места знака в течение всего периода действия.

1.2.4. Для улучшения опознавания береговых и плавучих знаков при пониженной видимости (туман, снег и т.п.) последние могут быть оборудованы пассивными радиолокационными отражателями (ПРЛО), радиолокационными маяками-ответчиками и звукосигнальным устройством.

1.2.5. Плавучие СНО, ограждающие подходные каналы, фарватеры, акватории портов, находящиеся в ведении технического участка, дистанции пути, порта, гидрографической базы и т.д. (в дальнейшем подразделения), устанавливают в соответствии с утвержденной схемой навигационного ограждения на летний или зимний период.

Схему расстановки плавучих СНО составляют работники подразделений и согласовывают ее со службой мореплавания пароходства, Гидрографической службой флота и капитаном порта. Схему утверждает начальник УМП, а где нет УМП - начальник специальной службы пароходства или начальник порта.

На трассе Северного морского пути схему расстановки плавучих знаков составляют работники гидрографической базы, согласовывают ее с заинтересованными организациями. Схему утверждает Гидрографические предприятия ДМТ.

1.3. Режим работы СНО

1.3.1. Постановку (снятие) морских плавучих предостерегательных знаков, включение (выключение) огней навигационных знаков в связи с открытием (закрытием) навигации производят в сроки, согласованные с Гидрографической службой флота, службой мореплавания пароходства и капитанами портов.

На трассе Северного морского пути постановку морских плавучих предостерегательных знаков производят после полного очищения ограждаемого района от льда, а снятие их, кроме вех и ледовых буев, - с началом ледообразования. Вместо снимаемых буев могут быть установлены рейс-вехи. Сроки ввода огней на береговых и плавучих знаках оговариваются в приказе начальника Гидрографического предприятия.

В замерзающих портах плавучие знаки выставляются в начале навигации, когда акватория порта полностью очищается ото льда, а снимаются в конце навигации с первыми признаками появления льда с учетом гидрометеоусловий.

1.3.2. В замерзающих бассейнах, где навигация продолжается с помощью ледокольного флота, огни береговых навигационных знаков должны работать, как правило, круглый год, а плавучие знаки летней схемы ограждения заменяют ледовыми буями или светящими знаками с ПРЛО на льду на местах буев, согласно зимней схеме ограждения. Если с наступлением ледостава навигация прекращается, то огни морских навигационных знаков должны быть выключены, а ледовые буи оставлены на штатных местах (по специально согласованной с капитаном порта схеме) до открытия новой навигации.

1.3.3. Береговые и плавучие знаки в незамерзающих бассейнах должны действовать круглогодично.

1.3.4. В течение навигационного периода огни береговых навигационных знаков могут быть выключены, а плавучие знаки сняты работниками подразделения для срочного ремонта только при условии их замены. Выключать огни береговых навигационных знаков и снимать ППЗ без замены запрещается.

Разрешается для выработки земкараваном бровки канала временное смещение ППЗ со штатных мест в районе (на участке) производства дноуглубительных работ с одновременным донесением в адреса, указанные в п. 1.2.1 (радиотелефонограммой, письмом) для оповещения мореплавателей.

1.3.5. В замерзающих портах, когда по судовому ходу образовался устойчивый ледовый канал, с разрешения капитана порта отдельные береговые СНО могут выключаться с целью экономии источников питания.

1.3.6. Работы по обеспечению дноуглубительных работ средствами навигационного оборудования определяются:

«Положением о подрядных договорах на комплексное гарантийное обслуживание подходных каналов и акваторий морских портов», приложение к письму ММФ от 05.08.81 № 95 и особыми условиями к ним, заключенными между заказчиком и подрядчиком;

РД 31.74.08-85 «Техническая инструкция по производству морских дноуглубительных работ.

1.3.7. Временное возобновление действия огней береговых навигационных знаков в период, когда общая навигация закрыта, может быть произведено по особому требованию заинтересованных организаций.

1.3.8. Изменения в согласованных схемах расстановки знаков СНО допускаются в исключительных случаях. О каждом изменении должно быть сообщено в «Извещениях мореплавателям».

Администрация подразделения обязана своевременно представить в Гидрографическую службу флота исчерпывающий и достоверный материал для издания «Извещений мореплавателям» и несет за это ответственность.

Развитие, обслуживание, ремонт, систематический контроль за действием СНО, а также ответственность за их повреждения регламентированы «Положением о навигационно-гидрографическом обеспечении плавания транспортных, промысловых, специальных и других морских и речных судов в океанах, на морях и внутренних водных путях СССР».

1.3.9. В целях улучшения контроля за состоянием и сохранностью плавучего ограждения подразделения и капитаны судов обязаны:

проверять правильность расстановки и действия плавучих предостерегательных знаков, а также соответствие их характеристик указанных в «Огнях и знаках» и на навигационных картах;

в случае обнаружения дрейфующих плавучих знаков капитаны судов обязаны составить донесение капитану порта и, если позволяют состояние погоды и технические возможности судна, поднять знак на борт или взять на буксир и доставить в порт;

капитан судна, нанесший какое-либо повреждение плавучему знаку, обязан немедленно сообщить об этом капитану порта с указанием координат, наименования знака и характера повреждения.

Вопросы сохранности средств навигационного оборудования и правила оформления актов о повреждении их регламентированы «Общими правилами морских торговых и рыбных портов Союза ССР», изд. 1985 г. пп. 3.2.21, 10.4.2 и глава 7 «О порядке безопасности и сохранности сооружений на акватории порта», а также РД 31.35.10-86.

2. МОРСКИЕ НАВИГАЦИОННЫЕ СТВОРЫ И ЗНАКИ

2.1. Морские навигационные створы

2.1.1. Общие сведения о створах, их элементах, исходных данных для расчета створа и расчет створа приведены в «Инструкции по навигационному оборудованию» (ИНО-89), изд. ГУНиО МО СССР, 1990.

2.1.2. Знаки должны быть изготовлены по прочности для районов с нормативным скоростным напором ветра по СНиП 2.01.07-85. Параметры и размеры знаков приведены в табл. 1.

Таблица 1

Тип знака

Параметры

Размеры, м

высота знака H, м

высота огня от основания знака Hо, м

А

h

b

b1

b2

Створный с башней колонной (рис. 1)

7

8,6

-

5

2

3

1

9

11,1

-

7,5

2

3

1

11

12,6

-

9

2

3

1

Створный с башней решетчатой конструкции (рис. 2)

12

13,7

3

9

4

5

3

15

16,7

3

12

4

5

3

18

19,7

3

12

5

5

3

21

22,7

6

12

5

6,5

3,5

27

28,7

7

15

6

8

4

Створный с башней решетчатой конструкции (рис. 3)

27

28,55

7

21

6

 

 

36

36,55

9

21

6

 

 

Специальные (переносные из алюминиевых сплавов) для условий Арктики

7

4,5

1,5

6

2,5

 

 

11

11,4

1,5

7

2,5

 

 

Специальные (передвижные для рек с часто меняющимся руслом)

5

5,35

2

3,2

1,1

 

 

8

8,35

3

4,0

2

 

 

10

10,35

3

7,5

3

 

 

2.1.3. РД предусматривает правила эксплуатации и техническое обслуживание следующих типов знаков:

с башней колонной высотой 7; 9 и 11 м (рис. 1);

с башней решетчатой конструкции высотой 12; 15, 18; 21; 27 и 36 м (рис. 2, 3).

специальные створные знаки переносные из алюминиевых сплавов высотой 7 и 11 м, предназначенные для установки в условиях Арктики, участки которых подвергаются ледовому воздействию во время ледохода и передвижные знаки высотой 5, 8 и 10 м для указания судового хода, проходящего по рекам с частым изменением русла.

Технические данные специальных створных знаков приведены в «Справочнике по средствам навигационного оборудования морских путей» 3-е издание 1991 г. ММФ, РЦПКБ «Стапель».

Рис. 1 Створные знаки с башней колонной высотой 7, 9, 11 м:

1 - грузоподъемное устройство; 2 - ПРЛО; 3 - топовая фигура; 4 - площадка; 5 - светооптический аппарат; 6 - электрическое оборудование; 7 - башня; 8 - трап; 9 - щит; 10 - помещение для оборудования; 11 - заземление.

Рис. 2. Створные знаки с решетчатой башней:

1 - грузоподъемное устройство; 2 - ПРЛО; 3 - светооптический аппарат; 4 - электрическое оборудование; 5 - фонарная будка; 6 - башня; 7 - щит; 8 - трап; 9 - площадка; 10 - шкаф для оборудования; 11 - заземление.

Рис. 3. Створные знаки с решетчатой башней:

1 - грузоподъемное устройство; 2 - электрическое оборудование; 3 - фонарное сооружение; 4 - башня; 5 - щит; 6 - трап; 7 - шкаф для оборудования; 8 - световая дорожка; 9 - заземление.

2.1.4. Створные знаки в зависимости от местных условий могут быть оборудованы светооптическим оборудованием, в том числе лазерными створно-маячными системами (ЛСМС), вертикальными светящими дорожками вдоль щита дневной видимости, пассивными радиолокационными отражателями и другим оборудованием.

2.1.5. Питание огней светооптических аппаратов может быть осуществлено, кроме сети напряжением 220 В, от электрических источников напряжением от 3 до 110 В (батарей, аккумуляторов или радиоизотопных энергетических устройств).

2.1.6. Створные знаки с башней колонной выполнены из трубы, с лицевой стороны которой прикреплен щит прямоугольной или трапециевидной формы.

Наилучшей формой щитов следует считать прямоугольную, которая обеспечивает резкие очертания силуэта и наиболее позднее наступление момента точечной видимости знака.

Для створов с небольшой дальностью действия могут быть применены щиты трапециевидной формы. Точечная видимость у таких щитов наступает быстрее, чем у прямоугольных, но на фоне городских строений трапециевидную форму распознать легче, чем прямоугольную.

Форму щитов переднего и заднего знаков принимают одинаковой. Применение щитов различной формы допускают, как исключение, в зависимости от условий места установки.

Над щитом устанавливают топовую фигуру. Щит и топовая фигура должны быть окрашены в цвет, создающий хорошую видимость знака на фоне местности.

Башня колонны оборудована вертикальными трапами и переходными площадками с ограждением, установленными через 2 - 3 м.

На верхней площадке на подфонарном столике установлен основной светооптический аппарат.

При питании огней от сети напряжением 220 В знак может быть оборудован запасным светооптическим аппаратом с питанием от автономных источников (сухих батарей или аккумуляторов), световой дорожкой из светильников с газосветными трубками или с судовыми электрическими светильниками, расположенной впереди щита.

Предусмотрена возможность установки ПРЛО и устройства для подъема оборудования грузоподъемностью до 200 кг. В нижней части башни знака предусмотрено помещение для размещения электрического оборудования.

На знаке предусмотрено заземление башни и электрического оборудования.

К фундаменту знак крепят анкерными болтами.

2.1.7. Створные знаки с башней решетчатой конструкции (рис. 2, 3) выполнены, как правило, из угловой стали.

Башня знака состоит из плоскостных и объемных секций, собираемых на болтах с последующей обваркой. Для подъема на знаке установлены наклонные трапы и переходные площадки с ограждением. Верхняя площадка имеет входной люк с запираемой крышкой.

На верхней площадке установлены:

фонарная будка, в которой размещены основной и запасной (при наличии) светооптические аппараты или установка ЛСМС, запасные части и инструмент;

ПРЛО (при необходимости);

устройство для подъема оборудования грузоподъемностью до 200 кг.

С лицевой стороны башни прикреплен щит прямоугольной или трапециевидной формы. В табл. 1 приведены размеры щита створных знаков для определения дневной дальности видимости для данной высоты знака. При уменьшении заданной дальности видимости по отношению к предельной высоте щита может быть уменьшена.

Знаки с уменьшенным щитом могут быть установлены в районах с повышенным нормативным скоростным напором ветра.

На знаках с питанием огней от сети напряжением 220 В впереди щита может быть установлена электрическая световая дорожка из светильников с газосветными трубками или с судовыми электрическими светильниками.

На знаках (кроме переносных высотой 7 и 11 м) предусмотрено заземление башни и электрического оборудования.

Знаки с башней колонной и решетчатой конструкции крепят к фундаменту болтами. На отдельном фундаменте у основания знака установлен шкаф для размещения электрического оборудования.

2.1.8. Специальные знаки, переносные из алюминиевых сплавов и передвижные для рек с частым изменением русла, устанавливают на естественный спланированный грунт без специального фундамента.

2.1.9. Переносные створные знаки высотой 7 и 11 м представляют собой четырехгранную ажурную башню с переходными и верхней площадками и створным щитом с питанием огня от автономных источников, установленных в рядом стоящем шкафу.

Конструкция знака позволяет в труднодоступных местах переносить его вручную отдельными блоками, масса которых не превышает 200 кг.

2.1.10. Передвижные створные знаки высотой 5, 8, 10 м, башня которых в виде пространственной фермы вращается на оси, дает возможность обслуживания в заваленном положении и перетаскивание знаков в таком же положении. Нижняя часть башни - съемная в виде двух двутавровых салазок, в нее укладывается балласт для уравновешивания башни знака при заваливании и установке ее в вертикальное положение.

Знак, кроме автономного питания светооптического аппарата, может иметь питание от сети напряжением 220 В.

2.1.11. Створные знаки высотой от 12 до 36 м изготавливают с фонарной будкой или без нее. Это требование должно быть оговорено при заказе.

2.1.12. Дневная дальность видимости створного знака обеспечена наличием щита.

Щиты изготавливают из деревянных досок, стеклопластиковых полос, листов или полос из стали или легких сплавов.

Для создания наилучших условий освещенности лицевой стороны щита плоскость каждой полосы или доски наклонена по отношению к вертикали на угол от 10 до 20°. Зазоры между полосами (досками) должны составлять от 0,2 до 0,3 их ширины, но не более 50 мм.

2.1.13. Ночная видимость створных знаков обеспечена огнями маячных светооптических аппаратов направленного действия, которые обладают большой силой света, но имеют сравнительно малый горизонтальный угол излучения (от 3 до 10°). В случаях, когда при подходе к створу необходим более широкий сектор видимости створных огней, могут быть применены маячные светооптические аппараты кругового действия.

2.1.14. Топовые фигуры на знаках устанавливают, как правило, на створах с небольшой дальностью действия, в основном на речных участках, с целью опознания створа. Топовые фигуры имеют различные формы и установлены в верхней части знака. Наиболее часто применяемые формы - треугольник, ромб и круг.

2.1.15. Для увеличения контрастности посередине щита по всей его высоте наносят вертикальные полосы шириной, равной 1/4 - 1/3 ширины щита.

Цвет вертикальной полосы выбирают исходя из цвета окраски щита. На белых щитах вертикальная полоса должна быть окрашена в черный или красный цвет, на черных и красных щитах - в белый или желтый цвет.

Наличие вертикальной полосы на щитах способствует также более точному совмещению створных знаков в светлое время суток.

2.1.16. Дальность видимости створных знаков приведена в табл. 2

Таблица 2

Тип знака

Высота знака H, м

Высота щита, м

Дальность видимости щита знака, проектируемого на (при t = 0,8 на милю), км

Фон неба, щит темный К° = 0,9

Фон местности, щит светлый, К° = 0,4, B = 0,6

Створный с башней колонной (рис. 1)

7

5

7,8

5

9

7,5

8,9

5,6

11

9

9,4

6

Створный с башней решетчатой конструкции (рис. 2)

12

9

11,4

7,2

15

12

12,3

7,8

18

12

13

7,8

21

15

13,7

8,2

27

18

14,3

9,0

Створный с башней решетчатой конструкции (рис. 3)

27

21

15,3

9,6

36

21

15,3

9,6

Переносной из алюминиевых сплавов

7

6

8,9

5,6

11

7

9,2

5,8

Передвижной для рек с часто меняющемся руслом

5

3,2

5,6

3,5

8

4

7,4

4,7

10

7,5

10

5,3

Примечание.

К° - истинный контраст В - коэффициент светлоты фона.

2.1.17. Для обеспечения нормальной эксплуатации и исключения возможности повреждения устанавливаются охранные зоны в виде участков водного пространства на всей глубине от водной поверхности до дна, заключенного между параллельными плоскостями, отстоящими на расстоянии:

для трассы морского кабеля связи - 0,25 мили с каждой стороны;

для кабеля электрической сети - 100 м с каждой стороны;

для подводных переходов трубопроводов - по 100 м от осей крайних ниток трубопроводов с каждой стороны.

2.1.18. Трассы морских кабельных линий и трубопроводов указываются в извещениях мореплавателям и наносятся на морские карты.

2.1.19. С целью обеспечения сохранности кабелей и трубопроводов различного назначения владельцы кабелей, трубопроводов, проложенных в море, обязаны выставлять ограждающие знаки за счет своих средств, в местах, согласованных с соответствующими гидрографическими службами.

У выпусков в море очистных сооружений или трубопроводов других назначений, а также линий кабелей на берегу может быть установлен запрещающий знак «Якоря не бросать» по ГОСТ 26600-85 (справочное приложение 1), обозначающий зоны подводного перехода, где запрещено отдавать якоря, опускать цепи, волокуши, лоты. На мористой оконечности выпуска может быть выставлен плавучий предостерегательный знак.

Ось трассы кабеля, трубопровода, может быть обозначена створом указанных знаков с дальностью действия не менее протяженности выпуска. Створные знаки должны светить желтым постоянным огнем.

2.2. Портовые навигационные знаки

2.2.1. Портовые навигационные знаки применяют как дневные, так и ночные ориентиры для судов, находящихся на акватории порта и на подходах к нему. Знаки устанавливают на молах, пирсах, дамбах и других сооружениях порта.

2.2.2. Конструкция, основные размеры и параметры портовых знаков приведены на рис. 4.

Рис. 4. Портовые навигационные знаки:

1 - грузоподъемное устройство; 2 - электрическое оборудование; 3 - ПРЛО; 4 - светооптический аппарат; 5 - башня; 6 - трап; 7 - площадка; 8 - подфонарный столик; 9 - помещение для оборудования; 10 - заземление.

2.2.3. Источниками питания портовых знаков могут быть сеть 220 В или автономные источники - сухие батареи или аккумуляторные батареи напряжением 6 или 12 В.

Запасной светооптический аппарат на знаке не предусмотрен.

2.2.4. Портовые навигационные знаки высотой 5 м выполнены в двух конструктивных вариантах:

исполнение 1 - нижняя масть башни имеет диаметр 1000 мм, верхняя - 635 мм для питания светооптического аппарата от автономных источников;

исполнение 2 - вся башня имеет диаметр 635 мм для питания от береговой сети напряжением 220 В.

2.2.5. Портовые навигационные знаки оборудованы вертикальным трапом и площадкой с ограждением.

На площадке на подфонарном столике или на приспособленном для крепления маячного светооптического аппарата ПРЛО установлен светооптический аппарат типа ЭМ. На площадке предусмотрено грузоподъемное устройство.

На знаке предусмотрено заземление башни и электрического оборудования.

В нижней части башни знака имеется помещение для размещения электрического оборудования. К фундаменту знак крепят анкерными болтами, входящими в комплект знака.

2.2.6. Портовые навигационные знаки предприятие-изготовитель поставляет комплектно, согласно действующей конструкторской документации и условиям договора с заказчиком.

2.2.7. Портовые навигационные знаки окрашивают красками ярких цветов, контрастными с фоном местности.

2.3. Морские навигационные знаки

2.3.1. Морские навигационные знаки являются дневными и ночными ориентирами и предназначены для опознания определенного участка моря или береговой черты и определения места судна в пределах объявленной дальности видимости знака.

2.3.2. Основным требованием к морскому навигационному знаку является обеспечение требуемой по условиям плавания дальности видимости огня в ночное и сооружения в дневное время суток.

2.3.3. Навигационные знаки могут быть установлены как на берегу, так и в море на гидротехнических основаниях.

В этом случае они служат не только для определения места судна, но и ограждают опасность.

2.3.4. Навигационными знаками могут быть опознавательные и створные знаки, оборудованные щитами с тех сторон, с которых они видны с проходящего судна, или портовые навигационные знаки, имеющие отличительную окраску.

2.3.5. На опознавательных навигационных знаках устанавливают, как правило, светооптические аппараты кругового действия и пассивные радиолокационные отражатели.

Навигационные знаки могут быть несветящими и не иметь светооптического аппарата, т.е. быть только дневными ориентирами.

2.4. Требования к установке навигационных знаков

2.4.1. При установке навигационных знаков необходимо соблюдать следующие требования:

координаты места установки навигационных знаков (центры знаков) должны быть определены геодезическим способом;

высотная отметка основания знака должна определяться с помощью нивелира;

при замене морского навигационного знака новым, сохранение центра знака должно быть проверено с помощью теодолита;

продольная ось створного знака должна быть совмещена с осевой линией створа;

плоскость лицевой стороны щита и топовой фигуры должна быть перпендикулярна линии створа;

знак должен быть отчетливо виден с любой точки ходовой части створа. При выборе окраски знака необходимо создавать наибольшую контрастность знака с фоном местности.

2.4.2. Окраску знаков в зависимости от фона местности рекомендуется производить в цвета, указанные в табл. 3.

Таблица 3

Фон местности

Рекомендуемый цвет окраски

Зеленая растительность

Белый, оранжевый

Небо

Красный, черный

Море

Белый, оранжевый

Песок желтый

Черный, белый

Скалы темного цвета

Белый, желтый

Снег

Красный, оранжевый, черный

2.4.3 Светооптические аппараты устанавливают на подфонарном столике или на ПРЛО, предварительно отнивелированном и проверенными уровнями в двух взаимно-перпендикулярных направлениях.

2.4.4. Светооптические аппараты должны быть установлены на створных знаках так, чтобы источник света был расположен точно на продолжении оси створа. Светооптические аппараты направленного действия должны быть ориентированы по горизонту так, чтобы их оптическая ось совпадала с направлением створа.

Установка светооптического аппарата направленного действия должна быть произведена по визирному приспособлению, ориентированному по направлению провешенной линии створа.

2.4.5. Установку светооптического аппарата по створу можно осуществлять по отблеску полизональной (дисковой) линзы.

В этом случае аппарат устанавливают на знаке приблизительно по направлению оси створа и включают огонь. На местности по оси створной линии забивают несколько кольев. Находясь на створе этих кольев в 5 - 20 м от знака, смотрят снизу на освещенную линзу светооптического аппарата. В несколько метрах от знака есть такое место, с которого при взгляде на линзу виден довольно четкий отблеск огня в форме треугольника расходящегося от центра линзы к низу.

Чтобы выставить аппарат по линии створа, используя отблеск линзы, поставить его нужно в такое положение, при котором треугольник отблеска будет виден с линии створа строго вертикально, вершиной вверх. Наблюдение лучше вести через нить отвеса, расположенную между наблюдателем и светооптическим аппаратом. Оптическая ось светооптического аппарата будет совпадать с осью створа тогда, когда вершина и основание отблеска симметрично разрезаны нитью отвеса. При незначительном отклонении светооптического аппарата от линии оси створа треугольник отблеска отходит своим основанием от вертикальной плоскости.

Наиболее важным при установке и обслуживании светооптического аппарата кругового и направленного действия является нивелирование аппарата и фокусирование источника света.

2.4.6. Створные знаки, установленные в порту, населенном пункте или других местах с большим количеством посторонних огней, целесообразно оборудовать электрической световой дорожкой, обеспечивающей резкое отличие створных огней от всех других.

Электрическая световая дорожка может служить основным створным огнем или дополнением к обычным источникам света.

2.4.7. При установке створных знаков в портах или других районах, где видимость знаков на фоне большого количества кранов, зданий и других высотных сооружений и конструкций в дневное время затруднена, необходимо устанавливать на знаки дополнительные светооптические аппараты для применения их в светлое время суток.

2.4.8. Для повышения отражательной способности навигационных знаков, а также обозначения отдельных точек, расположенных на низменном побережье, не имеющем характерных радиолокационных ориентиров, применяют пассивные радиолокационные отражатели.

2.4.9. Передвижной знак высотой 5 м, предназначенный для установки на естественный грунт без специального фундамента в местах с часто изменяющейся береговой чертой, имеет пассивный радиолокационный отражатель и светооптический аппарат, питаемый от сухих батарей.

Конструкция знака позволяет демонтировать, переносить и устанавливать его на новом месте.

2.4.10. Навигационный знак высотой 15 м с установленным сверху пассивным радиолокационным отражателем К-1,0 с эффективной площадью отражения 9000 - 11000 м2 и расчетной дальностью радиолокационного обнаружения 12 - 14 миль предназначен для установки в условиях Арктики. Для доступа на верхнюю площадку знака предусмотрены вертикальные трапы и переходные площадки.

2.4.11. После установки створных знаков на штатные места, перед сдачей их в эксплуатацию, они должны быть проверены (оплаваны) наблюдением с моря.

При проверке должны быть установлены:

чувствительность створа (боковое уклонение) по всей длине ходовой части канала (фарватера) через равные расстояния;

видимость огней в начальной и конечной точках пользования створом;

видимость знаков в дневное время, опознание их на окружающем фоне, правильность подбора цвета окраски щита;

правильность принятой характеристики и цвета огней, распознание огней знаков среди огней населенного пункта в ночное время;

правильность направления оси створа по отношению к оси канала или фарватера;

величина вертикального угла между огнями переднего и заднего знаков в ночное время и между верхними кромками щитов в дневное время.

По результатам проведенных с моря наблюдений за действием навигационного створа должно быть дано заключение о принятии створа в эксплуатацию или о проведении дополнительных работ по улучшению качества действия створа, после выполнения которых проверка должна быть повторена.

2.5. Обслуживание морских навигационных знаков

2.5.1. В период эксплуатации знаков обслуживающий персонал должен регулярно вести наблюдение за работой светооптических аппаратов, проблесковых аппаратов, внешним состоянием знака.

2.5.2. Обслуживание электрического оборудования морских навигационных знаков осуществляют аналогично обслуживанию плавучих предостерегательных знаков (см. пп. 3.15.6 - 3.15.8).

2.5.3. Замену отработанных батарей и аккумуляторов производят согласно графику, а также в случаях преждевременного разряда источников питания. Отработанные батареи должны быть собраны и отвезены на свалку или в места утилизации. Не разрешается сбрасывать отработанные батареи в море.

2.5.4. В период навигации необходимо следить за чистотой и качеством окраски щита и башни знака.

Если щит или башня загрязнены, их следует промыть мыльной, а затем чистой водой и, при необходимости, подкрасить.

2.5.5. Если в зимний период на данном участке навигация закрыта, то часть оборудования знаков (светооптические аппараты, проблесковые аппараты, газосветные трубки, автономные источники питания) должна быть снята и перевезена на склад хранения.

Фонарная будка, шкафы для оборудования и крышки люков должны быть закрыты на замок.

На знаках с питанием огней от сети напряжением 220 В питание должно быть отключено.

2.5.6. Специальные створные знаки (передвижные и переносные) имеют некоторую специфику при сборке-разборке знаков, их установке и транспортировании. Знаки высотой 7 и 11 м из алюминиевых сплавов позволяют транспортировать их в собранном виде или разобранными на сборочные единицы всеми видами транспорта, вручную и даже вертолетом, для чего предусмотрены стропы для переноски и устройство для подъема знака.

2.5.7. Передвижные створные знаки высотой 5, 8 и 10 м, не имеющие трапа, необходимо обслуживать в заваленном положении и перетаскивать в таком же положении. На знаке устанавливается светооптический и проблесковые аппараты, пассивный радиолокационный отражатель, световая дорожка и съемный щит прямоугольной формы.

Башня знака вращается на оси.

Основание знака имеет обухи для крепления башни опорными штангами с помощью закладных штырей в рабочем и заваленном положении. На концах направляющих основания предусмотрены рымы для крепления тросов при перемещении знаков. Для устойчивости знаков высотой 8 и 10 м на основание укладывают дополнительный груз.

Установка знака для обслуживания производится в следующей последовательности:

отключается питание;

отсоединяются закладные штыри с язычком, крепящие башню знака к основанию;

поворачивают вручную башню знака в положение для обслуживания;

устанавливаются опорные штанги и закрепляют их с помощью закладных штырей.

Установка знака в рабочее положение производится в обратной последовательности.

Установку передвижного створного знака для перетаскивания с места на место производят аналогично, как и для обслуживания, только заваливают башню до горизонтального положения и закрепляют с помощью закладных штырей, а затем устанавливают и закрепляют стропы за рымы на основании знака и при помощи трактора (или любого другого тягача) перемещают знак на другое место.

2.6. Резервный комплект оборудования знаков

2.6.1. Для обеспечения бесперебойной работы морских навигационных знаков в подразделениях необходимо иметь резерв оборудования и запас некоторых материалов:

светооптические аппараты различных типов;

проблесковые аппараты;

линзы дисковые и цилиндрические;

светофильтры (плоские дисковые и цилиндрические);

лампоменятели;

источники света (лампы накаливания, газосветные трубки);

источники питания (батареи, аккумуляторы);

детали электрического оборудования;

электрокабель и провода;

трубы для прокладки электрокабеля;

деревянные доски для щитов и топовых фигур;

стеклопластиковые полосы для щитов и топовых фигур;

стальной листовой и профильный прокат.

2.7. Ремонт знаков и оборудования

2.7.1. Все виды ремонтных работ (навигационный, текущий, средний и капитальный) выполняют согласно ремонтной ведомости.

Составление ремонтных ведомостей является обязанностью персонала подразделения.

Ряд работ выполняет обслуживающий персонал.

К выполнению более сложных работ должны быть привлечены ремонтные мастерские порта или судоремонтные предприятия.

2.7.2. Перед выполнением ремонтных работ башня знака, щит, фонарная будка, трапы и площадки должны быть очищены от грязи, ржавчины и старой краски.

2.7.3. Ремонтные работы на высоте необходимо вести только находясь на переходных площадках знака, на специальных лесах или подвесной люльке (беседке).

Для выполнения ремонтных работ можно применять гидравлические подъемники, шарнирные вышки и другие приспособления, которые значительно сокращают время и удешевляют ремонт.

2.7.4. При выполнении ремонтных работ, особенно сварочных ремонте несущих конструкций башни знака, трапов, площадок и ограждений контроль качества выполненных работ должен быть тщательным.

2.7.5. Результаты ремонтных работ должны быть оформлены актом и внесены в формуляр (паспорт) каждого знака или аппарата.

2.7.6. Ремонт знаков и оборудования или техническое обслуживание, как комплекс операций по поддержанию работоспособности или исправности средств навигационного оборудования, может быть плановым и внеплановым.

2.7.7. Плановое техническое обслуживание предусматривается планами эксплуатации в соответствии с гл. 15 и 16 Инструкции по навигационному оборудованию (ИНО-89), инструкциями по эксплуатации на соответствующее оборудование и Регламентами технического обслуживания средств навигационного оборудования (РТО-88), издания ГУНиО МО СССР, 1989 г.

2.7.8. Регламенты технического обслуживания определяют периодичность и содержание работ по комплексному обслуживанию всех составных частей СНО.

2.7.9. Внеплановое техническое обслуживание производится при обнаружении нарушения режима работы и изменении отдельных параметров работы СНО, выходящих за пределы или достигающих максимально допустимых значении.

2.7.10. Единая система комплексного технического обслуживания СНО является планово-предупредительной, основанной на обязательном проведении ремонта в зависимости от величины наработки (количества циклов, часов работы) или календарных сроков с учетом условий эксплуатации.

3. ПЛАВУЧИЕ ПРЕДОСТЕРЕГАТЕЛЬНЫЕ ЗНАКИ

3.1. Система плавучего ограждения. Система МАМС, Регион А

3.1.1. Система плавучего ограждения - система расстановки морских плавучих предостерегательных знаков с присвоением им определенном окраски, характера огня, формы и окраски топовых фигур с целью обеспечения приметности и единообразия в ограждении или обозначении навигационных опасностей, водных путей (фарватеров, каналов и различных водных районов и мест).

В водах Российской Федерации принята система плавучего ограждения Международной ассоциации маячных служб - Система МАМС, Регион А в «Описании системы плавучего ограждения в водах СССР. Система МАМС, Регион А» адм. № 9028, изд. ГУНиО МО СССР, 1983 г.

3.1.2. По системе МАМС, в регионе А, красный цвет знаков и огней принят для ограждения левой стороны фарватеров и каналов (красный - слева), а зеленый - для правой стороны. При этом направление фарватеров и каналов и наименование их сторон считается с моря, а в отдельных случаях оговаривается специально.

3.1.3. Система плавучего ограждения МАМС предусматривает пять типов знаков:

латеральные знаки;

кардинальные знаки;

знаки отдельных опасностей малых размеров;

осевые знаки (знаки безопасного прохода);

знаки специального назначения.

В зависимости от особенностей района постановки и вида ограждаемой опасности перечисленные типы знаков могут быть применены как каждый самостоятельно, так и в различных комбинациях, включающих все или несколько типов одновременно.

3.1.4. Каждому типу знаков системы плавучего ограждения МАМС присвоены соответствующая окраска, вид топовой фигуры и характер огня, дающие возможность безошибочно опознавать и надежно отличать один тип знаков от других в дневное и ночное время.

3.1.5. На морях РФ каждому типу знаков соответствует только один присвоенный ему характер огня.

Графическое изображение характеров огней, принятых для плавучих предостерегательных знаков системы МАМС на морях РФ и их условное изображение на морских картах показано в обязательном приложении 2.

3.1.6. Форма и конструкция знаков системы МАМС могут быть различными.

На светящих и несветящих плавучих знаках могут быть применены пассивные радиолокационные отражатели, радиолокационные маяки-ответчики, радиомаяки, ревуны и другое дополнительное оборудование. В каждом конкретном случае состав оборудования знаков должен быть объявлен в навигационных пособиях.

3.1.7. Применение топовых фигур на плавучих предостерегательных знаках системы МАМС на морях РФ ОБЯЗАТЕЛЬНО. Как исключение, допускается применение светящих и несветящих буев без топовых фигур только в замерзающих районах в период зимней навигации, а также по согласованию с капитаном порта.

3.1.8. Выбор типов плавучих предостерегательных знаков, выставляемых по системе МАМС, и необходимое количество их определяют по навигационно-гидрографическим особенностям района, условиям и режимам плавания, а также по положению, размерам и видам ограждаемых опасностей.

3.2. Латеральные знаки

3.2.1. Морские каналы и фарватеры ограждают латеральными знаками (рис. 5), которые выставляют по принципу ограждения их сторон.

Наименование латеральных знаков определяют наименованием стороны канала (фарватера), на которой выставляют знак.

Латеральные знаки применяют также для обозначения мест разделения каналов (фарватеров), указания направления основного (предпочтительного) канала (фарватера) и мест их поворота.

Рис. 5. Латеральные знаки.

3.2.2. Направление канала (фарватера), ограждаемого латеральными знаками и наименование его сторон «левая» и «правая» приняты относительно судна, идущего с моря к порту; в отдельных случаях направление канала (фарватера) оговаривают особо.

Если определить направление канала (фарватера) «с моря» затруднительно, то на морских картах наносят специальный указатель сторон канала (фарватера) (справочное приложение 3).

3.2.3. Латеральные знаки включают в себя:

знаки ограждения сторон каналов (фарватеров) - «левой» и «правой» стороны;

знаки обозначения мест разделения каналов (фарватеров) - «основной канал (фарватер) справа» и «основной канал (фарватер) слева».

3.2.4. Цвет ППЗ, их топовых фигур, цвет и характеристика огней латеральных знаков приведены на рис. 5 и п обязательном приложении 2.

Порядковую нумерацию знаков на каналах (фарватерах) ведут со стороны моря. Знакам левой стороны присваивают четные номера, знакам правой стороны - нечетные. В отдельных случаях порядковая нумерация может быть осуществлена так, как это удобно по местным условиям. Принятый порядок нумерации должен быть объявлен в навигационных пособиях.

3.2.5. Латеральные знаки устанавливают по обеим сторонам канала (фарватера) попарно, как наиболее распространенный вариант ограждения канала (фарватера), облегчающий глазомерную оценку местоположения судна относительно бровок. Но в зависимости от местных условий они могут быть выставлены по одному в шахматном или ином порядке.

3.2.6. Латеральные знаки обозначения мест разделения неравнозначных каналов (фарватеров) выставляют в месте (точке) разделения, на левой или правой стороне основного канала (фарватера) и, в соответствии с названием, показывают положение основного канала (фарватера) относительно выставленного знака (считая с моря).

Знаки «Основной канал (фарватер) справа» выставляют на левой стороне основного канала (фарватера) в месте (точке) его разделения. Окраска знака красная с зеленой горизонтальной полосой посередине.

Высота зеленой полосы принята равной одной трети высоты надводной части знака.

Знаки «Основной канал (фарватер) слева» выставляют на правой стороне основного канала (фарватера) в месте (точке) его разделения. Окраска знака зеленая с красной горизонтальной полосой посередине. Высота красной полосы принята равной одной трети высоты надводной части знака.

Места разделения (соединения) равнозначных каналов (фарватеров) обозначают кардинальными и латеральными знаками левой и правой стороны, которые выставляют в комбинации друг с другом.

Типы знаков и места их установки в каждом конкретном случае определяют взаиморасположением каналов (фарватеров) в местах разделения (соединения).

3.2.7. Отдельные опасности, лежащие в зоне канала (фарватера), ограждают знаками отдельных опасностей малых размеров или соответствующими кардинальными знаками.

Применение тех или иных типов знаков зависит от размера ограждаемой опасности.

Варианты расстановки латеральных, кардинальных и других знаков при ограждении каналов (фарватеров) приведены в справочном приложении 3.

3.2.8. Светящие знаки на гидротехнических основаниях, ограждающие стороны каналов (фарватеров), а также входные парные знаки на головах молов и волноломов имеют окраску сооружений, цвет и характер огней в соответствии с принятыми для латеральных знаков левой и правой стороны, но в зависимости от фона окружающей местности могут быть окрашены в другие цвета.

3.3. Кардинальные знаки

3.3.1. Для ограждения навигационных опасностей предназначены кардинальные знаки (рис. 6). Знаки выставляют вокруг опасности по принципу ограждения ее относительно стран света (по четырем главным направлениям по компасу). Горизонт вокруг ограждаемой опасности условно делят на четыре сектора:

северный, между румбами NW и NE;

восточный, между румбами NE и SE;

южный, между румбами SE и SW;

западный, между румбами SW и NW

Рис. 6. Кардинальные знаки.

3.3.2. Кардинальные знаки выставляют в одном, нескольких или во всех секторах одновременно соответственно названию сектора установки знаков, им присвоено наименование: северные, восточные, южные и западные. Наименование знака указывает сторону, с какой следует обходить ограждаемую опасность.

3.3.3. Кардинальными знаками являются светящие и несветящие буи и вехи с комбинированной черно-желтой окраской и белым цветом огня (для светящих буев), оборудованные топовыми фигурами в виде двух черных конусов.

3.3.4. Окраска, цвет и характер огня приведены на рис. 6 и в приложении 2.

Число частых проблесков в группе 3, 6 и 9 в характерах огней восточного, южного и западного буев принято для облегчения опознания их в ночное время с учетом того, что расположение буев относительно опасности (стран света) ассоциируется с расположением соответствующих цифр на циферблате часов.

Дополнительный длительный проблеск продолжительностью 2,0 с в характере огня южного буя обеспечивает безошибочное опознание его среди других групповых частых огней.

3.3.5. В целях облегчения запоминания окраски кардинальных знаков вершины их топовых фигур являются указателями расположения черного цвета на знаке относительно желтого.

Два черных конуса вершинами вверх северных знаков указывают, что их верхняя часть окрашена в черный цвет, а нижняя - в желтый. Конусы вершинами вниз южных знаков указывают, что их нижняя часть окрашена в черный цвет, а верхняя в желтый.

3.3.6. Кардинальные знаки применяют преимущественно в районах, где плавание судов не регламентировано определенными направлениями.

Кардинальные знаки совместно с латеральными могут быть применены в районах стесненного плавания и на каналах (фарватерах) в местах их изгибов (поворотах), разделения и соединения, а также когда к бровкам канала (фарватера) примыкает опасность и т.п.

3.3.7. Кардинальные знаки ограждают навигационные опасности, лежащие в открытом море (банки, мели, гряды камней и т.д.) или простирающиеся от береговой черты (рифы, отмели, косы и т.п.), а также естественные и искусственные подводные препятствия, включая затонувшие суда.

Места постановки кардинальных знаков, их наименование и необходимое количество при ограждении затонувших судов определяют размерами судна, его расположением и стороной, с какой следует его обходить.

3.3.8. Положение каждого выставленного кардинального знака относительно ограждаемой опасности и расстояние от опасности до знака должно быть указано в навигационных пособиях.

3.4. Знаки отдельных опасностей малых размеров

3.4.1. Знаки (рис. 7) предназначены для ограждения отдельно лежащих опасностей малых размеров, окруженных со всех сторон глубинами, обеспечивающими безопасное, в навигационном отношении плавание.

Опасность считают малых размеров, если она вписывается в окружность радиусом до 100 м. Знаками, ограждающими отдельные опасности малых размеров, являются светящие и несветящие буи и вехи. Характер огня знаков приведен в приложении 2.

3.4.2. Знаки отдельных опасностей малых размеров выставляют непосредственно над ограждаемой опасностью. Если поставить знак над опасностью нет возможности, то, как исключение, он может быть выставлен на минимально возможном расстоянии от нее. В этом случае опасность и ограждающий ее знак должны вписываться в окружность радиусом до 100 м (центр окружности принимают лежащим в точке постановки знака).

3.4.3. Если условия и глубина не позволяют поставить знак непосредственно над опасностью или опасность вместе с ограждающим ее знаком не вписываются в окружность радиусом до 100 м, то вместо знака отдельной опасности малых размеров необходимо применить соответствующие кардинальные знаки.

3.4.4. Знаки отдельных опасностей малых размеров могут быть применены и для ограждения затонувших судов. В этом случае обязательным условием их применения является выполнение требований относительно размеров затонувшего судна и места установки знака, указанных в предыдущих пунктах.

3.5. Осевые знаки (знаки, обозначающие начальные точки и ось фарватера или канала и середину прохода)

3.5.1. Осевые знаки (рис. 8) предназначены для обозначения осей фарватеров и рекомендованных путей.

Как правило, осевые знаки применяют на фарватерах, когда район плавания на значительном протяжении не имеет навигационных опасностей. Фарватеры малой ширины ограждают латеральными знаками.

Осевыми знаками являются светящие и несветящие буи и вехи. Окраска знака и характер огней приведены на рис. 8 и в приложении 2.

Рис. 7. Знаки отдельных опасностей малых размеров.

Рис. 8. Осевые знаки (знаки, обозначающие начальные точки и ось фарватера или канала и середину прохода).

3.5.2. Нумерацию осевых знаков осуществляют, как правило, с моря. Принятый порядок нумерации должен быть объявлен в навигационных пособиях.

3.5.3. Осевые знаки при обозначении фарватеров и рекомендованных курсов расставляют так, чтобы обеспечить плавание со знака на знак. Места поворотов осей фарватеров и рекомендованных курсов также обозначают осевыми знаками.

3.5.4. Осевые знаки могут быть применены как приемные, которые выставляют в подходных (начальных) точках к каналу (фарватеру), а также для обозначения:

мест разделения и соединения нескольких рекомендованных путей;

положения линии пробега на мерных милях; середины безопасного прохода или его наиболее глубоководной части; центра района кругового движения.

3.6. Знаки специального назначения

3.6.1. Знаки специального назначения (рис. 9) предназначены для ограждения или обозначения специальных районов или объектов, на которые имеются ссылки в навигационных пособиях и положение которых показано на картах.

Знаками специального назначения являются светящие и несветящие буи и вехи. Окраска знака желтая. Цвет и характер огней показан в приложении 2.

Рис. 9. Знаки специального назначения.

3.6.2. Знаки специального назначения нумеруют или обозначают буквами в соответствии с целью их постановки.

3.6.3. Знаки специального назначения выставляют для ограждения или обозначения:

плавучих и стационарных объектов, несущих научную аппаратуру;

специальных районов и полигонов;

районов свалки грунта;

кабелей и трубопроводов;

якорных мест;

линий и зон разделения движения;

мест выставленных рыболовных снастей.

3.6.4. При ограждении или обозначении полигонов, районов свалки грунта и т.п. знаки специального назначения выставляют, как правило, по их границам. Количество знаков определяют значением ограждаемого района (полигона), его конфигурацией и площадью. При незначительной площади района (полигона) выставляют один специальный знак, устанавливаемый в центре ограждаемой акватории.

3.6.5. Кабели и трубопроводы ограждают знаками специального назначения, вдоль линии прокладки кабеля или трубопровода.

3.6.6. Ограждение мест выставленных рыболовных снастей знаками специального назначения осуществляют соответствующие рыболовецкие организации по согласованию с местными органами Гидрографической службы. При согласовании определяют порядок расстановки знаков и необходимое количество.

Как исключение, для ограждения мест выставленных рыболовных снастей могут быть применены дополнительные специальные знаки. Форма и окраска дополнительных специальных знаков должна быть отличительной от принятых для обычных знаков системы МАМС.

Порядок расстановки, вид знаков, ограждающих места выставленных рыболовных снастей должны быть объявлены в «Извещениях мореплавателям».

3.7. Новые опасности

3.7.1. Термин «Новая опасность» применяют к впервые обнаруженным опасностям, еще не показанным на картах, не описанным в навигационных пособиях и не объявленным в «Извещениях мореплавателям».

3.7.2. Новыми опасностями могут быть естественные и искусственные опасности (скалы, банки, затонувшие суда и т.п.). Новые опасности ограждают кардинальными и латеральными знаками с соответствующими характерами огней.

3.7.3. При ограждении новых опасностей, представляющих собой серьезную угрозу мореплаванию, хотя бы один знак необходимо дублировать.

Дублирующий знак может быть оборудован радиолокационным маяком-ответчиком с опознавательным сигналом «Д» (- • •), длиной 1 миля в масштабе развертки на экране радиолокационной станции.

Дублирующий знак может быть снят после достаточно полной информации об опасности, доведенной до сведения мореплавателей.

3.8. Типы плавучих предостерегательных знаков

3.8.1. Плавучие предостерегательные знаки предназначены только для ориентировки положения судна относительно ограждаемого объекта и не могут быть применены для точного определения местонахождения судна.

3.8.2. Внешним видом корпуса, топовой фигуры, окраской, цветом и характеристикой огня плавучие знаки ориентируют мореплавателя относительно ограждаемой опасности.

3.8.3. Плавучие предостерегательные знаки различают:

по виду исполнения (буи, вехи);

по району постановки (морские, канальные, речные);

по наличию светооптического оборудования (светящие, несветящие);

по наличию звукового сигнала (со звуковым сигналом, без него);

по роду источника питания светооптического аппарата;

по размеру (большие, средние, малые);

по конструктивному исполнению.

3.8.4. Плавание судов по морским каналам и фарватерам происходит в трех характерных районах: морском глубоководном, морском мелководном и речном, что определяет основные параметры и характеристики плавучих предостерегательных знаков и подразделяет их на морские и канальные.

3.8.5. Морские глубоководные районы включают участки открытого моря, не защищенные от волнения глубоководные бухты и заливы с глубиной у подхода к порту или каналу свыше 5 м.

3.8.6. К морским мелководным районам относят участки моря, не защищенные от волнового воздействия, расположенные в мелководных зонах заливов, прилегающих к устьям рек. Эти районы чаще подвержены резким колебаниям уровня моря.

3.8.7. Речные районы расположены в устьях рек, где проходят морские подходные каналы к портам.

3.8.8. Морские (рис. 10) и канальные (рис. 11) светящие буи предназначены для ограждения навигационных опасностей, расположенных в морских глубоководных и речных районах, бровок подходных каналов, фарватеров и акваторий портов.

Типы, основные параметры, размеры, технические и эксплуатационные характеристики морских и канальных светящих буев приведены в табл. 4.

Рис. 10. Буи морские светящие:

1 - держатель топовых фигур; 2 - светооптический аппарат; 3 - электрическое оборудование; 4 - ПРЛО; 5 - надстройка; 6 - корпус; 7 - хвостовик; 8 - якорное устройство.

Рис. 11. Буи канальные светящие:

1 - светооптический аппарат; 2 - электрическое оборудование; 3 - ограждение; 4 - держатель топовых фигур; 5 - ПРЛО; 6 - надстройка; 7 - корпус; 8 - якорное устройство; 9 - балласт (чугунный или бетонный).


Таблица 4

Технические и эксплуатационные характеристики буев

Тип буя

Обозначение

Глубина постановки, м

Оптическая дальность видимости, км

Масса буя без оборудования, кг

Оборудование

Источники питания

Калибр цепи с распорками, м

Масса якоря, кг

светооптическое

радиолокационное

звукосигнальное

батарея типа «Буй-1M», шт.

Аккумуляторная батарея 5НК-125М, шт.

Морской малый (исполнение 1)

БММ-85

7 - 30

9,5

1530

ЭМ-140

ПРЛО

-

18

 

19

1000

Морской малый (исполнение 2)

Б2ММ-85

5 - 30

9,5

1560

ЭМ-140

ПРЛО

-

18

-

19

1000

Морской средний

БМС-85

10 - 40

12

2440

ЭМ-200

ПРЛО

Ревун

36

-

22

1500

Канальный малый

МК-85

2 - 7

7,5

430

ЭМ-100

-

-

6

-

16

500

Канальный средний

СК-85

2 - 7

9,5

780

ЭМ-140

-

-

12

-

17,5

750

Канальный большой

БК-85

2 - 7

12

1800

ЭМ-200

ПРЛО

-

35

-

26

1500

Канальный средний аккумуляторный

СК-90

2 - 7

9,5

950

ЭМ-140

-

-

-

1

19

750

Канальный большой аккумуляторный

БК-90

2 - 7

12

1800

ЭМ-200

ПРЛО

-

-

2

28

1500

Примечание. Цифры в обозначении буев указывают год выпуска проекта.


3.8.9. Морской буй состоит из цилиндрического корпуса с коническим верхним и нижним донышками, ажурной трехгранной надстройки из труб и хвостовика с балластом. В корпус вварены пеналы (два или три) для размещения источников питания.

3.8.10. Якорную цепь крепят концевыми скобами к якорным рымам, приваренным к корпусу буя.

3.8.11. Непотопляемость морских буев обеспечена заполнением их корпусов пенопластом (по согласованию с заказчиком).

3.8.12. Для лучшей ориентировки мореплавателя при пониженной видимости (туман, дождь, снегопад и т.п.) морской средний буй может быть оборудован ревуном.

3.8.13. Принцип работы ревуна основан на использовании вертикальной качки буя при волнении моря.

Ревун при помощи трубы соединен с воздушным резервуаром - трубой, проходящей через корпус буя и соединенной с хвостовиком.

При волнении моря уровень воды в воздушном резервуаре колеблется. При падении уровня воды в резервуаре воздух через пластинчатый клапан поступает в воздушный резервуар. При повышении уровня воды воздух, вытесняемый водой из резервуара, поступает в ревун, закрывает пластинчатый клапан и с большой скоростью проходит через щель между чашкой и диском чашки, заставляя вибрировать колпак ревуна и издавать протяжный звук.

3.8.14. Для обеспечения нормальной работы звукового устройства необходимо следить за целостностью колпака ревуна.

Колпак не должен издавать глухой или дребезжащий звук, при легком постукивании он должен звенеть.

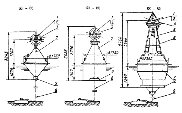
3.8.15. Необходимого тембра звучания можно добиться, изменяя зазор между чашкой и колпаком, вворачивая или выворачивая стойку с колпаком из чашки ревуна.

3.8.16. Канальные буи типа БК-85 и СК-85 представляют собой плоскодонные знаки с малой осадкой, что позволяет эксплуатировать их на малых глубинах.

3.8.17. Канальный буй БК-85 состоит из двух конусного корпуса с цилиндрической вставкой, ажурной трехгранной надстройки и балласта, прикрепленного к нижнему донышку. В корпус буя вварены три пенала для размещения источников питания. Есть вариант буя с аккумуляторами (БК-90).

Якорную цепь крепят концевыми скобами к якорным рымам, приваренным к корпусу буя.

3.8.18. Канальный буй СК-85 состоит из цилиндрического корпуса с конической верхней частью и плоским донышком. Балласт закреплен и нижней части корпуса.

По оси буя, внутри корпуса размещен пенал для электрических батарей. Разработан вариант буя с аккумуляторами (СК-90). На водонепроницаемой крышке пенала установлен светооптический аппарат с ограждением. Предусмотрена возможность установки топовой фигуры.

Якорную цепь крепят скобой к якорному рыму, приваренному в центре днища.

3.8.19. Канальный буй МК-85 выполнен в виде двухконусной бочки. В нижнем конусе размещен балласт. Внутри корпуса расположен боковой пенал, на площадке верхнего конуса установлен светооптический аппарат с ограждением и топовая фигура.

Якорную цепь крепят скобой к центральному якорному рыму или к боковой рейке, на которой имеется несколько отверстий.

К рейке якорную цепь крепят при больших скоростях течения. Высоту крепления цепи выбирают опытным путем так, чтобы буй находился в вертикальном положении при действии внешних сил (ветра, течения и волнения).

3.8.20. Непотопляемость канальных буев обеспечена заполнением их корпусов пенопластом (по согласованию с заказчиком).

3.8.21. Морские и канальные буи оборудованы топовыми фигурами (рис. 12) соответственно штатному месту установки буя (рис. 13).

Рис. 12. Топовые фигуры для буев.

Рис. 13. Возможные сочетания и установка топовых фигур для буев:

1 - штырь; 2 - шайба; 3 - шплинт; 4 - топовая фигура; 5 - шест; 6 - чека; 7 - держатель топовой фигуры.

3.8.22. Вехи предназначены для ограждения навигационных опасностей и обозначения сторон каналов и фарватеров:

морские - на глубоководных акваториях;

канальные - на мелководных акваториях и речных участках.

3.8.23. Морские и канальные вехи (рис. 14) оборудованы топовой фигурой, ПРЛО и номерным щитом.

Технические и эксплуатационные характеристики вех приведены в табл. 5.

3.8.24. Топовые фигуры вех (рис. 15) предназначены для определения назначения вехи и увеличения дальности видимости.

Рис. 14. Вехи:

1 - шест; 2 - ПРЛО; 3 - щит; 4 - корпус; 5 - балласт; 6 - якорное устройство.

Рис. 15. Топовые фигуры для вех.

Таблица 5

Тип вехи

Обозначение

Высота топовой фигуры над уровнем воды, м

Глубина постановки, м

Дневная дальность видимости, км

Общая высота вехи, м

Диаметр шеста, мм

Масса вехи без якорного устройства, кг

Калибр якорной цепи, мм

Mасса якоря, кг

Веха морская

ВМ-86

6,5

7-20

3,0-3,5

8,90

76/45

420

16; 17,5

300, 500

Веха канальная

ВК-86

5,0

2-7

2,0-2,5

5,96

76/45

360

16

300

Примечание. Цифры в обозначении вех указывают год выпуска проекта.

3.8.25. Непотопляемость вех обеспечена заполнением корпуса пенопластом (по согласованию с заказчиком).

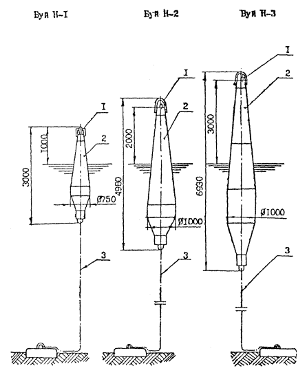
3.8.26. Ледовые буи предназначены для ограждения каналов, фарватеров и отдельных навигационных опасностей в осенне-зимний период в ледовых условиях.

Ледовые буи бывают светящие (БММЛ-88, БМСЛ-88) и несветящие (Н-1, Н-2 и Н-3).

Примечание. Цифры в обозначении ледовых несветящих буев указывают высоту надводной части буя в м., светящих - год выпуска проекта.

3.8.27. Светящие ледовые буи (рис. 16) являются дневными и ночными плавучими предостерегательными знаками.

Технические и эксплуатационные характеристики буев приведены в табл. 6.

Рис. 16. Буи ледовые светящие:

1 - светящая головка; 2 - электрическое оборудование; 3 - швартовно-подъемный рым; 4 - корпус; 5 - балласт; 6 - якорное устройство.

3.8.28. Буй выполнен в виде двух усеченных конусов, разделенных поперечными переборками на водонепроницаемые отсеки, некоторые отсеки заполнены пенопластом для обеспечения непотопляемости. Внутри корпуса проходит пенал для размещения электрических батарей, а нижняя часть пенала является хвостовиком, на котором закреплен чугунный балласт. Сверху пенал закрывает водонепроницаемая крышка. Верхний конус заканчивается фланцем, на котором установлена светящая головка с линзой диаметром 140 мм и топовой фигурой.

Якорную цепь крепят концевыми скобами к якорным рымам, приваренным к корпусу буя, или к скобе на хвостовике.

3.8.29. Несветящие ледовые буи (рис. 17) являются только дневными предостерегательными знаками.

Технические и эксплуатационные характеристики ледовых несветящих буев приведены в табл. 6.

Рис. 17. Буи ледовые несветящие:

1 - швартовно-подъемный рым; 2 - корпус; 3 - якорное устройство.

Таблица 6

Тип ледового буя

Обозначение

Высота огня над уровнем воды или надводной части, м

Глубина постановки, м

Масса буя без якорного устройства, кг

Масса якоря (рекомендуемая), кг

Калибр якорной цепи, мм

Ледовый светящий

БММЛ-88

2,0

5 - 15

1700

1500

26

То же

БМСЛ-88

3,0

 

2400

2000

28

Ледовый несветящий

Н-1

1,0

3 - 7

400

1000

22

То же

Н-2

2,0

3 - 20

1115

1500

26

То же

Н-3

3,0

7 - 20

1720

2000

28

3.8.30. Корпус буя выполнен в виде двух усеченных конусов с цилиндрической вставкой посередине.

Поперечными переборками корпус разделен на водонепроницаемые отсеки, каждый из которых по согласованию с заказчиком может быть заполнен пенопластом, благодаря чему буй практически непотопляем.

К нижнему конусу приварен хвостовик с якорным рымом, в котором находится чугунный балласт.

На донышке верхнего конуса имеется специальный патрубок, в который может быть вставлен шест с топовой фигурой.

3.8.31. Благодаря обтекаемой форме корпуса, большому запасу плавучести и наличию балласта в нижней части обеспечено вертикальное положение буя на воде и незначительное сопротивление движению плавающих льдов, шуги и т.п. При подвижке битого льда и ледоходе буи свободно уходят под лед и принимают вертикальное положение, как только пройдет лед.

3.9. Выбор типа и расстановка плавучих предостерегательных знаков

3.9.1. Количество устанавливаемых знаков должно быть определенным. Избыточное количество их затрудняет маневрирование судов, недостаточное - ухудшает надежность ориентирования.

3.9.2. Плавучие предостерегательные знаки устанавливают так, чтобы мореплаватель мог видеть впереди судна:

на каналах - не менее двух пар буев или вех;

на фарватерах - не менее одной пары буев или вех;

при обозначении осей фарватеров или рекомендованных курсов два или, по крайней мере, один знак.

3.9.3. Интервалы между соседними парами знаков рассчитывают по следующим формулам:

для каналов, оборудованных створами

a = 0,65 D                                                               (1)

для каналов, не оборудованных створами

a = 0,5 D                                                                 (2)

для фарватеров оборудованных и не оборудованных створами

a = D                                                                     (3)

где а - интервал между знаками по одной стороне, км;

D - дневная дальность видимости знаков при коэффициенте прозрачности, характерном для данного района, км.

Вычисленные по этим формулам и округленные до 0,5 км интервалы между знаками в зависимости от дальности их видимости приведены в табл. 7.

Таблица 7

Оборудование канала

Интервалы между знаками при дневной дальности видимости знака, км

2,0

2,5

3,0

3,5

4,0

4,5

5,0

5,5

6,0

С входным створом

1,5

1,5

2,0

2,0

2,5

3,0

3,0

3,5

4,0

Без входного створа

1,0

1,0

1,0

1,5

1,5

2,0

2,0

2,0

2,5

Примечание. Дневная дальность видимости приведена при коэффициенте прозрачности атмосферы t = 0,8 на милю.

3.9.4. Решение об ограждении навигационной опасности в каждом отдельном случае принимают после предварительного изучения и учета следующих факторов:

навигационно-гидрографических и гидрометеорологических условий района плавания;

установленных путей движения судов;

типов судов, плавающих в данном районе;

характера и особенностей навигационной опасности.

3.9.5. Ограждению подлежат все опасности, расположенные:

в зонах прибрежного плавания с интенсивным движением судов;

вблизи подходных точек каналов, фарватеров и рекомендованных курсов;

в море, вблизи фарватеров или рекомендованных курсов движения судов;

в районах специальных работ, рыбной ловли или другого промысла.

3.9.6. Исходными данными для выбора плавучих предостерегательных знаков и расположения их относительно навигационной опасности являются:

схема движения судов в данном районе (наличие фарватеров, рекомендованных курсов, зон разделения движения) и условия плавания (днем, ночью, летом или круглый год);

положение, границы (размеры) и другие особенности навигационной опасности;

метеорологическая дальность видимости, характерная для данного района;

максимальная осадка, скорость, длина, радиус циркуляции судов, плавающих в данном районе;

глубины, рельеф дна и характер донного грунта в районе и на опасности;

максимальная высота волны, колебания уровня моря, направление и скорость течений;

точность определения места в данном районе.

3.9.7. Положение плавучего предостерегательного знака относительно опасности должно обеспечить мореплавателю возможность своевременно обнаружить знак на объявленной дальности действия в дневное и ночное время, опознать его и уклониться от опасности.

3.9.8. Дальность видимости знаков должна создавать вокруг опасности сплошную зону и перекрываться между собой не менее чем на 30 %.

3.9.9. Предусматривают следующие варианты ограждения навигационных опасностей:

опасности в виде кос и отмелей, отходящие от береговой черты в море на расстояние до 2 км, ограждают одним кардинальным знаком. При наличии прохода между берегом и опасностью ее ограждают с четырех сторон кардинальными знаками;

опасности, простирающиеся от берега в море более чем на 2 км, ограждают с трех сторон, а при наличии прохода между берегом и опасностью - с четырех сторон кардинальными знаками;

если опасность ограждена знаком, дальность видимости которого превышает требуемую дальность действия со всех направлений, то границы опасности для обеспечения плавания малых судов дополнительно ограждают вехами;

на отдельных банках протяженностью не более половины величины дальности видимости плавучего знака разрешается постановка одного светящего буя с ПРЛО и вех, детализирующих положение опасности.

Буй устанавливают со стороны фарватера, рекомендованного курса или пути движения судов.

3.9.10. Необходимое количество знаков для ограждения каналов или фарватеров определяют по формулам:

для прямолинейных каналов или фарватеров с двусторонним ограждением

                                                            (4)

для прямолинейных каналов или фарватеров с односторонним ограждением

                                                                 (5)

где n - необходимое количество знаков, шт.;

L - длина прямолинейного участка канала или фарватера, км;

а - расстояние между знаками одной стороны, км.

3.10. Подготовка плавучих предостерегательных знаков к постановке

3.10.1. Перед постановкой плавучих знаков на штатные места необходимо предварительно на берегу проверить:

надежность и правильность крепления надстройки, хвостовика, балластных колец, ревуна, заспинного ограждения, ограждения светооптического аппарата, ограждения хвостовика, ПРЛО, номерных щитов;

якорную цепь и якорь, надежность крепления;

плотность закрытия крышек пеналов и спускных пробок;

работу петель крышек пеналов;

правильность окраски, цвет и характеристику огня, монтаж оборудования и соответствующие номера;

крепление топовой фигуры.

3.10.2. При подготовке плавучих знаков к постановке необходимо произвести осмотр ревуна (если он установлен) и ПРЛО.

У ревуна следует проверить целостность колпака и плотность соединения чашки и крышки с корпусом ревуна.

У ПРЛО необходимо проверить состояние граней. На гранях не должно быть изгибов и вмятин.

3.11. Погрузка и транспортирование плавучих предостерегательных знаков

3.11.1. Судно, предназначенное для постановки (съемки) плавучих знаков, должно соответствовать роду выполняемой работы и оборудовано, как правило, необходимым грузоподъемным устройством.

При массовой постановке (съемке) знаков для их транспортирования могут быть применены самоходные и несамоходные баржи.

Для выгрузки и постановки (съемки и погрузки) знаков, транспортируемых на барже, могут быть применены как суда с грузоподъемным устройством, так и плавкраны.

3.11.2. При транспортировании плавучих знаков на палубе судна (баржи) собранные, укомплектованные и проверенные на берегу знаки укладывают на палубу с помощью грузоподъемного устройства (берегового или плавучего).

Морские и ледовые буи и морские вехи укладывают горизонтально, большой и средний канальные буи - вертикально, канальные малые буи и вехи - наклонно.

Между знаками должны быть предусмотрены проходы шириной не менее 0,5 м.

Знаки должны быть раскреплены с помощью деревянных подкладок, брусьев или клиньев, растительных или стальных канатов для предотвращения их смещения.

Знаки по всей площади палубы следует укладывать с учетом удобства работы обслуживающего персонала и очередности их постановки.

3.11.3. Если судно не оборудовано грузоподъемным устройством, плавучие знаки к месту постановки буксируют за подъемный рым, а якоря и цепи укладывают на палубу судна. При буксировке знаков надо следить за буксиром и предохранять знак от ударов о корпус судна.

При маневрировании судна знак (знаки) следует подтягивать к борту.

Количество буксируемых знаков определяют в зависимости от мощности и размерений судна и типов плавучих знаков.

Интервалы между буксируемыми знаками следует выбирать так, чтобы исключить касание их между собой.

3.11.4. Электрические батареи следует транспортировать и переносить в вертикальном положении (этикеткой вверх), предохранять от ударов.

3.11.5. Хранить электрические батареи необходимо в сухом помещении, желательно при низкой температуре, в вертикальном положении (этикеткой вверх).

3.11.6. Места соединений выводов тока должны быть тщательно заизолированы во избежание короткого замыкания.

3.12. Способы определения места постановки плавучих предостерегательных знаков

3.12.1. Место постановки плавучих предостерегательных знаков должно быть определено наиболее надежными и точными, принятыми в навигации и при выполнении гидрографических работ, способами:

обратной засечкой по двум углам;

по створу и углу;

прямой засечкой;

с помощью высокоточной радионавигационной системы.

3.12.2. Определение места постановки знака обратной засечкой по двум углам применяют на участках канала (фарватера), не имеющего навигационного створа, а также в местах, где плавучие знаки ограждают отдельные навигационные опасности - острова, банки, затонувшие суда и т.п.

3.12.3. Определение места постановки знака по створу и углу является частным случаем определения места по двум углам, когда один из углов равен нулю и может быть применен только на каналах (фарватерах), которые оборудованы навигационными створами. Указанный способ получил широкое распространение и признан основным при выставлении плавучих знаков на подходных каналах (фарватерах).

3.13. Постановка плавучих предостерегательных знаков

3.13.1. За базу установки плавучих знаков на штатное место принимают буйки, установленные на оси навигационного створа.

3.13.2. От буйка судно (мотошлюпка) следует перпендикулярно оси канала по компасу.

На расстоянии, равном половине проектной ширины канала, находят нижнюю бровку канала.

Положение бровки уточняют с помощью замера наметкой глубины канала.

На бровке выставляют дополнительный буек, обозначающий место сбрасывания якоря плавучего знака.

3.13.3. На искусственно углубленных участках (канал, акватория) с плотными грунтами и крутыми откосами, якоря плавучих знаков укладывают по нижней бровке канала или на расстоянии до 10 м от нижней бровки в сторону от оси канала. На каналах с мягким грунтом и пологими откосами якоря укладывают на расстоянии, равном радиусу циркуляции знака от нижней бровки в сторону от оси канала.

Плавучие предостерегательные знаки должны быть выставлены на панер или так, чтобы длина якорной цепи была минимальной для сокращения радиуса циркуляции знака.

3.13.4. До подхода к месту постановки на судне необходимо подготовить знак и якорное устройство к сбрасыванию:

буй (веха) и якорь должны быть освобождены от крепления к судну;

якорная цепь должна быть присоединена скобой к концевой смычке и к рыму на якоре;

судовой стрелой знак опускают на воду, вытравливая цепь до тех пор, пока буй (веха) не будет стоять вертикально;

оставшуюся часть цепи, идущую от знака, следует прикрепить к борту, чтобы она не вытравливалась.

Всю свободную часть якорной цепи раскладывают зигзагообразно по палубе в районе грузового устройства.

Знак удерживают у борта судна за подъемный (швартовный) рым растительным или стальным тросом.

Якорь помещают на край широкой доски, которую необходимо уложить поперек судна так, чтобы она немного выходила за борт. Другой край доски крепят за шкентель стрелы. Шкентель наматывают на барабан лебедки и выбирают слабину. При завершении всех этих работ плавучий знак подготовлен к постановке.

Вместо доски используют специальную сбросовую площадку, которой оборудовано судно.

3.13.5. Судно самым малым ходом должно подойти с подветренной стороны к месту постановки знака. Перед отдачей якоря необходимо застопорить машину и двигаться по инерции. Когда судно подойдет к буйку, подается команда «Товсь!». По этой команде все, находясь на своих местах, принимают положение готовности к действию, соблюдая меры безопасности: рабочее место на судне должно быть свободно от посторонних предметов; обслуживающий персонал, сбрасывающий якорь, должен находиться на палубе судна на безопасном расстоянии от сбросовой площадки; запрещается стоять между якорной цепью, разложенной на палубе, и бортом судна, а также наматывать на руку трос, удерживающий знак у борта судна. Когда якорь, лежащий на доске или подвешенный на глаголь-гаке, окажется над местом постановки (против буйка), подается команда «Отдать якорь!». По этой команде с помощью грузового устройства быстро поднимают край доски или отдают глаголь-гак, и якорь уходит за борт под воду. Одновременно с отдачей якоря необходимо отдать концы, удерживающие цепь и знак, машине дают передний ход, и руль перекладывают на борт, с которого поставлен знак.

Во избежание навала судна на знак необходимо отпорными шестами отвести знак за корму судна.

3.13.6. Если при постановке плавучих знаков действуют ветер, волнение или течение, затрудняющие точный выход на точку, плавучий знак необходимо ставить с судна, поставленного на якорь.

3.13.7. Если грунт плохо держит якорь, знак необходимо ставить на два якоря, расположенные один за другим. Последовательность работ остается та же. Якоря должны быть размещены отдельно друг от друга. Соединяющую их цепь необходимо уложить так, чтобы при отдаче якорей она свободно могла соскользнуть за борт. Якоря необходимо сбрасывать одновременно.

3.13.8. При постановке буя (вехи) необходимо следить за тем, чтобы не были повреждены корпус, надстройка, светооптический маячный аппарат, ПРЛО или топовая фигура.

3.13.9. При подготовке к постановке деревянных вех (рейс-вех) необходимо определить длину якорного троса с таким расчетом, чтобы веха находилась на воде в вертикальном положении. Длина якорного троса (цепи) должна быть равна глубине места постановки за вычетом высоты вехи от оковки до верхней кромки шпирт-бакена (рис. 18).

Если грунт в месте постановки знака вязкий, то длину троса (цепи) определяют по формуле:

Дя = Гм - В                                                               (6)

Если грунт твердый, то длину троса (цепи) определяют по формуле

Дя = Гм - (В + n)                                                          (7)

где Дя - общая длина якорного троса (цепи) от верхней соединительной скобы до основания якоря, м;

Гм - глубина места постановки вехи, м;

В - длина части вехи от верхней кромки шпирт-бакена до нижнего края скобы оковки, м;

n - поправка на притапливание вехи при постановке ее на твердом грунте (около 30 см).

Рис. 18.

3.13.10. Подготовленный якорный трос закрепляют одним концом к скобе оковки, а вторым - к якорю. Топовую фигуру крепят к верхнему концу шеста вехи.

Остальные работы по постановке деревянных вех выполняют в той же последовательности, что и при постановке металлических плавучих знаков.

3.13.11. Категорически запрещается буксировать плавучие знаки с якорем, волочащимся по дну, во избежание потери якорного устройства, повреждения подводных кабелей и т.д.

3.13.12. Замену поврежденных плавучих знаков или летних буев (вех) ледовыми можно производить без подъема якорного устройства заменяемого буя.

Для этого судно должно подойти к знаку с подветренной стороны или против течения и стать на якорь так, чтобы знак находился против грузоподъемного устройства.

При замене морских, канального большого и ледовых светящих буев необходимо буй пришвартовать к борту судна.

На знак набрасывают сверху тросовую петлю-удавку, опускают ее вниз и захватывают якорную цепь.

Заложив гак шкентеля грузоподъемного устройства в петлю ходового конца троса, выбирают якорную цепь до выхода из воды скобы, соединяющей основную цепь с одинарной или сдвоенной концевой смычкой.

Знак и основную цепь крепят к борту судна. Отсоединяют концевую смычку от основной цепи и крепят ее за подъемный рым или надстройку буя.

Одинарную или сдвоенную концевую смычку подготовленного к постановке знака соединяют скобой с основной цепью.

Если знак находится на палубе, то его с помощью грузоподъемного устройства опускают на воду, а если он пришвартован к борту, то отдают концы, крепящие буи и цепь к судну.

Судно малым ходом отходит от знака.

При замене канальных (малых и средних) ледовых несветящих буев, канальных и морских вех их необходимо брать гаком за подъемный рым и поднимать грузоподъемным устройством до выхода из воды якорной цепи. Цепь крепят к борту судна и отсоединяют ее от якорного рыма знака. Знак укладывают на палубу или вновь опускают на воду и пришвартовывают к борту судна. Свободный конец цепи с помощью скобы крепят к якорному рыму подготовленного к постановке знака. Знак опускают на воду.

Судно малым ходом отходит от знака.

3.13.13. После установки плавучих знаков необходимо произвести контрольный осмотр, проверив правильность постановки согласно штатным местам, соответствие цвета и характеристики огней. После осмотра следует заполнить штатную ведомость.

3.13.14. Единый порядок и последовательность выполнения работ по операциям при обслуживании СНО приведен в «Сборнике технологических карт на выполнение технического обслуживания средств навигационного оборудования Гидрографического предприятия ММФ» Р2650-007-004, РЦПКБ, 1984 г. и в «Сборнике технологических карт по техническому обслуживанию средств навигационного оборудования морских путей» Р2852-007-003, РЦПКБ, 1985 г.

3.14. Эксплуатационные и навигационные требования к плавучим предостерегательным знакам

3.14.1. Плавучие предостерегательные знаки должны быть простыми и удобными в обслуживании.

3.14.2. В период эксплуатации морские, канальные и ледовые светящие буи должны удовлетворять следующим основным требованиям:

сохранять свое штатное место в течение всего периода навигации за счет правильно выбранного якорного устройства; обеспечивать хорошую видимость в дневное и ночное время с расстояния, указанного на картах и описании СНО в «Огнях и знаках», а при плохих условиях плавания (туман, дождь и т.д.) - радиолокационную видимость;

хорошо быть распознаваемыми на окружающем фоне по окраске корпуса и надстройки и по форме топовой фигуры в дневное время, по цвету и характеристике огня - в ночное время.

3.15. Обслуживание плавучих предостерегательных знаков в навигационный период

3.15.1. Основу технического обслуживания плавучих предостерегательных знаков составляет выполнение плановых профилактических работ.

3.15.2. После установки плавучего знака на штатное место в журнал учета работы необходимо внести дату постановки знака; тип и количество электрических батарей (аккумуляторов); дату постановки; количество и тип маячной лампы; режим работы источника света и характеристику огня; тип маячного аппарата; тип проблескового аппарата; расчетную дату смены или подключения запасных батарей (аккумуляторов); расчетную дату смены источников света.

В журнал также должны быть внесены сведения о повреждениях, неисправностях и выполненных ремонтных работах.

3.15.3. В период эксплуатации знаков обслуживающий персонал должен регулярно вести наблюдение за работой плавучих знаков и при обнаружении неисправности немедленно принимать меры к ее устранению.

3.15.4. Не реже трех раз в месяц, и обязательно после шторма, необходимо проверить положение знаков относительно штатного места и бровки. Если знак смещен, следует установить причину (например, недостаточная масса якоря или длина якорной цепи, снос проходящим судном), устранить неисправность и установить знак на прежнее место.

3.15.5. Необходимо произвести наружный осмотр знака, проверив состояние корпуса, надстройки, маячного аппарата и его ограждения, проблескового аппарата, ПРЛО, звукосигнального устройства (если оно установлено), шеста, топовой фигуры и окраски. Устранить незначительные повреждения и произвести подкраску знаков. При наличии больших повреждений знак необходимо снять и доставить на базу, а вместо него выставить резервный.

3.15.6. При электрическом оборудовании буя следует проверить напряжение источника питания вольтметром под нагрузкой. При понижении напряжения до минимума произвести замену батарей или подсоединить последовательно дополнительные электрические батареи, доведя напряжение до рабочего.

Необходимо проверить работу проблескового аппарата, закрыв глазок светодатчика - лампа в маячном аппарате должна загореться с заданной характеристикой огня. Если в работе светодатчика или проблескового аппарата будут замечены неисправности или перебои, такой проблесковый аппарат необходимо заменить исправным. Неисправный проблесковый аппарат следует отремонтировать в мастерской подразделения.

Проверить состояние проводки и контактов. При необходимости следует заменить проводку и зачистить контакты.

3.15.7. Данные об обнаруженных неисправностях знака и необходимом объеме ремонтных работ занести в журнал.

3.15.8. Перезарядку буев необходимо производить согласно графику, а также в случаях преждевременного разряда электрических батарей (аккумуляторов).

3.15.9. Перезарядку необходимо выполнять с борта судна или моторной шлюпки. Для этого судно должно подойти к бую, отдать якорь и пришвартовать буй к борту. Перезарядку буев БМС-85, БК-85 необходимо производить, высадив человека на буй, а остальных - непосредственно с борта судна или моторной шлюпки (буи МК-85).

3.15.10. Последовательность перезарядки буев:

открыть крышку пенала;

разъединить штепсельное соединение;

извлечь контейнер с отработанными батареями грузоподъемным устройством судна;

установить контейнер с рабочими батареями в пенал тем же грузоподъемным устройством;

соединить электропроводку;

закрыть крышку пенала;

проверить работу светооптического аппарата.

3.16. Особенности обслуживания ледовых буев

3.16.1. Светящие ледовые буи должны быть обеспечены источником питания маячного светооптического аппарата из расчета действия огня на весь период ледостава, не предусматривая, по возможности, перезарядку их в ледовых условиях.

3.16.2. Ледовые буи необходимо выставлять на штатное место, используя якорное устройство снимаемого летнего буя, если масса якоря и калибр цепи соответствуют рекомендованным для ледовых буев.

3.16.3. Массу якоря и калибр якорной цепи для ледовых буев рекомендуется подбирать в зависимости от типа буя согласно табл. 6.

Однако, в каждом конкретном случае в зависимости от грунта и ледовых условий, скорости течения, массу якоря и калибр цепи необходимо определять по опыту эксплуатации ледовых буев в предыдущие годы.

Практика показывает, что ледовые буи надежнее устанавливать на два якоря. Такая установка обеспечивает сохранность их на штатном месте при подвижках льда.

3.16.4. В период ледостава ухудшаются условия регулярного наблюдения за состоянием ледовых буев из-за отсутствия в подразделениях гидрографических и лоцмейстерских судов, способных работать в ледовых условиях (хотя бы в битом льду).

В этот период информация мореплавателей о состоянии плавучих знаков должна быть особенно тщательной и подробной.

3.16.5. Администрация порта по заявке руководства подразделения должна выделять ледокол или буксир ледокольного типа для регулярной осколки льда вокруг буев и обслуживания их при необходимости в ледовых условиях.

3.16.6. При подвижках льда возможны случаи сноса ледовых буев со штатного места. Обнаружив снос знака, работники подразделения должны принять меры к возврату его на штатное место или установке нового буя.

3.16.7. Если ледовые буи находятся в эксплуатации круглый год, то возникает необходимость производить их окраску и перезарядку.

Окраску знаков можно производить на плаву с судна при благоприятных погодных условиях. Для этого буй необходимо пришвартовать к борту судна, очистить надводную поверхность от ржавчины и произвести окраску. В этом случае восстанавливают окрашиваемую поверхность только надводной части.

3.16.8. Наиболее благоприятным вариантом содержания ледовых буев с точки зрения их надлежащего рабочего состояния является такой, когда буй, бывший в эксплуатации в зимний период заменяют резервным буем такого же типа, заранее подготовленным на берегу.

При этом окраска, цвет и характеристика огня (для светящих буев) резервного буя должны соответствовать заменяемому.

Резервный буй ставят на якорное устройство заменяемого буя.

Замену буев можно производить постепенно с использованием как резервных, так и снимаемых буев, предварительно окрашенных и перезаряженных на берегу.

3.16.9. Перезарядку буев БММЛ-88 и БМСЛ-88 на плаву при круглогодовой эксплуатации необходимо производить в следующей последовательности:

пришвартовать буй к борту судна;

отдать болты светящей головки и приподнять ее за ограждение колпака с помощью грузоподъемного устройства или откинуть ее на шарнирах (при наличии шарниров);

разъединить соединительную колодку;

уложить светящую головку на палубу судна, если она крепится к корпусу буя не на шарнирах;

отдать гайки-барашки, снять крышку пенала, отсоединить грузовой тросик, крышку передать на судно, а за верхнее кольцо тросика с помощью грузоподъемного устройства поднять контейнер с батареями до уровня фланца корпуса буя;

извлечь вилку кабеля из розетки на контейнере;

уложить кабель в верхнем отсеке буя;

контейнер полностью извлечь из пенала и перенести на судно.

Установку нового контейнера, заранее подготовленного на берегу, произвести в обратном порядке.

3.17. Ремонт действующих плавучих предостерегательных знаков в навигационный период

3.17.1. Плавучий предостерегательный знак, получивший повреждения, которые нельзя исправить на месте, должен быть заменен резервным знаком.

3.17.2. Подготовленный на берегу знак для замены неисправного должен иметь окраску корпуса и надстройки, цвет и характеристику огня, форму топовой фигуры согласно штатной ведомости заменяемого знака.

3.17.3. Технологию замены плавучих знаков осуществляют в соответствии с требованиями и рекомендациями подраздела 3.13.

3.17.4. Если при проверке технического состояния якорной цепи в период эксплуатации обнаружено, что ее детали износились больше нормы (см. раздел 5), то такую цепь необходимо заменить. Замену цепи выполняют в соответствии с требованиями и рекомендациями подраздела 3.13.

Плановую ревизию якорного устройства производят через 3 года.

3.17.5. Ремонт буев (вех), ПРЛО и других деталей, а также их окраску производят силами мастерских подразделения.

3.18. Съемка и транспортирование плавучих предостерегательных знаков на базу

3.18.1. Планом-графиком сезонной замени летних (ледовых) плавучих знаков на ледовые (летние) по УМП (службе морских путей пароходства) на период зимней (летней) навигации, согласованным с главным штурманом службы мореплавания пароходства и утвержденным начальником УМП или начальником ГП ММФ для Северного морского пути устанавливают сроки начала и окончания замены знаков. Однако, окончательную замену знаков производят в сроки, установленные с учетом фактических погодных условий в каждом отдельном районе бассейна, по согласованию со службой мореплавания и капитаном порта.

3.18.2. В районах с ледовым режимом, где судоходство зимой не предусмотрено, летние плавучие знаки необходимо снять на зиму и доставить на базу для ремонта и хранения.

3.18.3. Для съемки летних (ледовых) плавучих знаков должны быть использованы суда, оборудованные грузоподъемным устройством. Для этого судно необходимо поставить на якорь и пришвартовать буй (веху) к борту. Открыв крышки пеналов, разъединить штепсельное соединение.

Отсоединить якорную цепь от знака (см. подраздел 3.13) и с помощью грузоподъемного устройства, поочередно поднять на палубу буй (веху) и якорное устройство (цепь и якорь).

3.18.4. Если масса плавучего знака больше грузоподъемности стрелы, установленной на обслуживающем судне, то на палубу следует поднять только якорь с цепью, а буй взять на буксир.

3.18.5. Замену буев рекомендуется производить в следующей последовательности:

судно должно подойти к бую с подветренной стороны или против течения и стать на якорь, чтобы буй находился против судового грузоподъемного устройства;

завести гак на буй и поднять буй над бортом, чтобы цепь легла на борт и закрепить ее неподвижным стропом к борту;

положить буй на палубу и отсоединить якорную цепь от буя;

убрать заменяемый буй в другое место палубы, а на его место положить ледовый буй;

к ледовому бую присоединить цепь и завести гак грузоподъемного устройства за подъемный рым буя;

поднять буй над палубой, чтобы натянулась цепь и можно было отдать неподвижный стопор с цепи;

вывести буй за борт и опустить на воду, закрепить буй к борту стальным тросом через клюз на кнехты, чтобы можно было отдать один конец троса;

снять гак с рыма буя и отдать один конец стального троса, крепящего буй к судну;

выбрать якорь судна и отойти от буя.

3.18.6. На базе сразу же после подъема плавучих знаков на берег, необходимо очистить подводную часть корпуса, составить ремонтную ведомость на каждый знак. Буи и вехи, не требующие ремонта, хранить, как указано в подразделе 3.20.

3.19. Запасной и резервный комплекты плавучих предостерегательных знаков и оборудования

3.19.1. Обеспечение бесперебойной работы средств навигационного оборудования подходных каналов (фарватеров) и акваторий портов в навигационный период во многом зависит от имеющегося в подразделении запаса плавучих знаков, аппаратуры, оборудования, источников питания и другого имущества.

3.19.2. Каждое подразделение должно иметь запас плавучих предостерегательных знаков (не менее 30 % от штатного количества), которые должны храниться на оборудованных площадках. Резерв должен быть подготовлен к постановке в любое время.

3.19.3. Поврежденный плавучий знак необходимо немедленно заменить исправным из резерва и восстановить для пополнения резерва (запаса).

3.20. Хранение плавучих предостерегательных знаков и оборудования

3.20.1. Для хранения плавучих знаков и якорного устройства должно быть выделено место, оборудованное деревянным настилом, стеллажами (козлами). Подразделения должны быть снабжены подъемнотранспортными средствами (автокран, автопогрузчик и т.п.).

3.20.2. Буи и вехи должны быть уложены на деревянные подкладки (брусья) типа кильблоков для удобства их ремонта и окраски, между знаками должны быть предусмотрены проходы.

3.20.3. В период хранения необходимо следить, чтобы знаки не ржавели. Ржавые места следует очищать и окрашивать.

Отверстия для кабеля должны быть закрыты заглушками.

3.20.4. Якоря должны быть уложены так, чтобы к ним был свободный доступ.

3.20.5. Якорные цепи должны быть развешены на козлах так, чтобы каждую смычку можно было брать свободно, не нарушая положение соседней, а звенья цепи не касались грунта и легко проветривались.

3.20.6. Скобы и вертлюги следует хранить на невысоких стеллажах.

3.20.7. Маячные и проблесковые аппараты следует хранить в сухом помещении в полном комплекте.

3.21. Ремонт плавучих предостерегательных знаков, оборудования

3.21.1. Все виды ремонтных работ (текущий, средний и капитальный) должны выполнять согласно ремонтной ведомости.

Составление ремонтных ведомостей осуществляет персонал подразделения.

Ремонтные работы плавучих знаков и их оборудования выполняют, как правило, силами подразделений УМП или служб пароходства.

К выполнению наиболее сложных работ необходимо привлекать ремонтные мастерские порта.

3.21.2. Перед выполнением ремонтных работ знаки должны быть очищены от обрастаний, старой краски и ржавчины.

На буях должны быть открыты крышки пеналов для их надежного проветривания.

3.21.3. При ремонте корпуса буя (вехи), заполненного пенопластом, в районе производства сварочных работ возможно загорание пенопласта, что не опасно, т. к. после прекращения сварки горение пенопласта прекращается.

Для предотвращения загорания пенопласта рекомендуется, если это возможно, на пенопласт в районе сварки наложить асбестовый картон или шнур.

3.21.4. При ремонте надстройки, трапа или крепления надстройки к корпусу буя (на базе) необходимо снять надстройку, поврежденные детали, выправить их или заменить вновь изготовленными и установить на корпус буя.

3.21.5. При ремонте ПРЛО следует обратить особое внимание на перпендикулярность граней.

3.21.6. После ремонта буя (вехи) следует проверить крепление надстройки, хвостовика, балласта, шеста, электропроводки, произвести испытание корпуса и пеналов на непроницаемость избыточным воздушным давлением 29,4 кПа (0,3 кгс/см2). Воздух подается в корпус буя через спускное отверстие в верхнем донышке (нижнее спускное отверстие закрыто), в пеналы - через стаканы (крышка пенала закрыта, а спускные отверстия в корпусе буя открыты). Допускаемая норма падения давления сжатого воздуха в течение 1 ч. не более 5 % от первоначального, испытательного.

3.21.7. После выполнения ремонта аппаратуры плавучих СНО (маячных светооптических аппаратов проблесковых аппаратов) они должны быть проверены на работоспособность и соответствие техническим характеристикам на специальных стендах.

3.21.8. Отремонтированные знаки и аппаратура должны быть в случае необходимости окрашены (см. раздел 6).

3.21.9. Результаты всех видов ремонтных работ и проведенных испытаний должны быть оформлены актом и внесены в формуляр (паспорт) каждого знака или аппарата.

3.21.10. Если при эксплуатации плавучих СНО в течение гарантийного срока, предусмотренного конструкторской документацией, будут обнаружены неисправности, необходимо оформить и предъявить предприятию-изготовителю рекламационный акт.

4. ЭЛЕКТРИЧЕСКОЕ ОБОРУДОВАНИЕ ЗНАКОВ СНО

4.1. Общие положения

4.1.1. В настоящем разделе по техническому обслуживанию электрооборудования знаков СНО изложены требования для лиц, которые должны поддерживать в заданных пределах эксплуатационные характеристики и исправное техническое состояние электрооборудования, установленного на морских навигационных и плавучих предостерегательных знаках (в дальнейшем знаках).

4.1.2. При техническом обслуживании (ТО) электрооборудования, установленного на знаках, необходимо руководствоваться действующими «Правилами технической эксплуатации электроустановок потребителей» и «Правилами техники безопасности при эксплуатации электроустановок потребителей», утвержденными Госэнергонадзором, РД 31.21.30-83, эксплуатационной документацией на знаки, техническими описаниями и инструкциями по эксплуатации и ТО электроизделий.

4.1.3. К ТО электрооборудования знаков допускают лиц, имеющих квалификацию электромонтера и удостоверение о сдаче экзаменов по технике безопасности не ниже III группы, при напряжении на знаках до 1000 В, и не ниже IV группы - при напряжении на знаках свыше 1000 В (при обслуживании газосветных высоковольтных трансформаторов и трубок).

4.1.4. Проверку знаний лиц, допущенных к ТО электрооборудования знаков, проводят в установленном порядке.

4.2. Краткое описание электрооборудования знаков

4.2.1. В настоящее время большинство знаков электрифицированы. Подробные данные по отдельным видам электроаппаратуры указаны в документах, поставляемых комплектно с аппаратурой.

4.2.2. Электрооборудование береговых знаков получает питание, как правило, от береговой сети напряжением 220 В, 50 Гц.

При этом для обеспечения его бесперебойной работы фидер подключают к двум источникам электроэнергии с автоматическим переключением при выходе из строя одного из них.

4.2.3. В качестве основного или резервного питания на знаках могут использоваться гальванические батареи или щелочные аккумуляторы напряжением 2,5; 6 и 12 В.

Для автономного электропитания автоматической аппаратуры необслуживаемых маяков и навигационных знаков, расположенных на удаленных от баз морских побережьях и островах, используются изотопные энергетические установки (НИЭ), состоящие из радиоизотопного термоэлектрического генератора (РИТЭГ), преобразовательного блока и накопителя энергии, которые поставляются по особому заказу потребителей.

4.2.4. РИТЭГи наземного, стационарного, наружной установки с низко- или среднетемпературной термоэлектрической батареей предназначены для использования в качестве первичного источника питания электрической энергией постоянного тока СНО и различной стационарной аппаратуры. Принцип действия РИТЭГ основан на превращении тепловой энергии, выделяющейся при радиоактивном распаде радиоизотопного топлива, в электрическую энергию с помощью термоэлектрического преобразователя.

При эксплуатации и хранении РИТЭГ участок его расположения ограждается от посторонних лиц изгородью высотой не менее 1,5 м; на границе зоны ограждения уровень ионизирующего излучения не должен превышать 0,03 м бэр/ч.

4.2.5. В качестве световых ориентиров на знаках устанавливают, как правило, электрические светооптические аппараты ЭМ, ЭМС с лампами накаливания. В аппарате может быть одна или несколько ламп. В последнем случае применяют лампоменятель (типа ЛМ, ЛМИ или ЛМТ), устанавливаемый в аппарате и подключенный к схеме автоматического управления лампами, осуществляющий замену лампы при выходе из строя одной из них.

4.2.6. В дополнение к светооптическим аппаратам морские навигационные знаки оборудуют световыми дорожками с газосветными, люминесцентными трубками или рядом светильников с лампами накаливания. Питание на газосветные трубки подается от высоковольтных трансформаторов 220 В, 50 Гц/10000 В.

4.2.7. На морских навигационных знаках предусматривают наружное и внутреннее освещение (в фонарной будке, в шкафах с электрооборудованием и на переходных площадках). Напряжение сети питания - 220 В, 50 Гц.

4.2.8. Проблесковые аппараты предназначены для автоматического управления огнями навигационных знаков в соответствии с установленной характеристикой. Аппараты типа БЭПА, ФАУСП, АП управляют маломощными лампами напряжением не выше 12 В, а аппараты типа ПРОБЛЕСК-3220, ПРОБЛЕСК-3110, ФАУСП-4/НГУ-220 управляют мощными лампами напряжением до 220 В.

4.2.9. Для питания постоянным током проблесковых аппаратов от береговой сети 220 В, 50 Гц, в электросхемах применяют стабилизированные выпрямители типа ВСП. Вторичное напряжение выпрямителя - 7 В или 14 В постоянного тока, ток - 5 А.

От выпрямителя можно производить подзарядку аккумуляторов емкостью до 125 А·ч.

4.2.10. Для распределения электроэнергии к потребителям, управления и защиты на знаках устанавливают щитки с автоматическими двухполюсными выключателями, либо распределительные коробки с предохранителями судового исполнения.

4.2.11. Кабели, прокладываемые на знаках, как правило, в морском исполнении марки КНР, КНРК.

4.3. Указания мер безопасности

4.3.1. Лица, производящие техническое обслуживание (ТО) электрооборудования знаков, должны знать и выполнять действующие «Правила технической эксплуатации электроустановок потребителей» и «Правила техники безопасности при эксплуатации электроустановок потребителей», утвержденные Госэнергонадзором, РД 31.81.10-75, указания мер безопасности, изложенные в инструкциях заводов-изготовителей электрооборудования и в настоящем разделе.

4.3.2. При осмотрах электрооборудования необходимо постоянно следить за исправностью заземления металлических корпусов.

Обнаруженные неисправности немедленно устранить.

4.3.3. Запрещается производить ТО электрооборудования под напряжением.

Перед ТО электрооборудования необходимо полностью снять напряжение на знаке, снять предохранители, включенные последовательно с коммутационными аппаратами, и вывесить предупредительный плакат «Не включать - работают люди».

С помощью указателя напряжения или переносного вольтметра проверить отсутствие напряжения на знаке. Перед применением указателя напряжения или переносного вольтметра их исправность должна быть проверена на токоведущих частях, заведомо находящихся под напряжением или при помощи специального прибора.

Отсутствие напряжения допускается проверить контрольной лампой при линейном напряжении до 220 В включительно.

4.3.4. Проверку отсутствия напряжения проводят между фазами и каждой фазы по отношению к корпусу знака и к нулевому проводу.

4.3.5. Предупредительные плакаты изготавливают из токонепроводящих материалов и устанавливают на рукоятках автоматов, выключателей, а также на основаниях предохранителей.

Предупредительные плакаты снимает по окончании работ только лицо, повесившее их, или лицо, его сменившее.

4.3.6. ТО электрооборудования знаков, получающих питание от РИТЭГ, производят лица, указанные в п. 4.1.3, при условии, что их работа не связана с необходимостью пребывания на участке установки РИТЭГ и ознакомленные (под расписку) с инструкцией по эксплуатации РИТЭГ.

4.3.7. РИТЭГ представляет собой закрытый источник ионизирующего излучения с высокой степенью герметичности, механической, термической и коррозионной устойчивостью.

Сотрудники монтажных партий, прошедшие специальную подготовку по работе с радиоизотопными термоэлектрическими генераторами и имеющие удостоверение на право работ с РИТЭГ, относятся к категории «Б» - отдельные лица из населения - в соответствии с нормами радиационной безопасности (НРБ-78/87).

К эксплуатации РИТЭГ допускаются лица на условиях, указанных в инструкции по эксплуатации РИТЭГ.

Проведение регламентных работ на навигационных знаках в зоне нахождения РИТЭГ осуществляется при дозиметрическом контроле.

На ограждениях, а также на местах установки РИТЭГ должны быть знаки радиационной опасности и предупреждающие надписи «Радиоактивность». Знаки и предупреждающие надписи должны быть хорошо видимы с расстояния не менее 10 м. Пребывание лиц, не связанных с работой РИТЭГ, в огражденной зоне не допускается.

При эксплуатации НИЭ и РИТЭГ необходимо руководствоваться правилами и нормами, указанными в технических описаниях и инструкциях по эксплуатации на эти установки.

4.3.8. При техническом обслуживании аккумуляторов необходимо выполнять меры предосторожности, указанные и инструкции по уходу за щелочными никель-кадмиевыми и никель-железными аккумуляторами, в том числе:

вентиляционные отверстия в пробках аккумуляторов во избежание взрыва всегда должны быть чистыми;

запрещается проверять зарядку аккумуляторов на искру;

запрещается курение в помещении аккумуляторной, вход в него с огнем, пользование электронагревательными приборами и аппаратами, могущими дать искру;

приготовление электролита и все работы с кислотами и щелочами производятся рабочими, одетыми в костюм из ткани с кислотостойкой пропиткой, с брюками навыпуск, обутыми в резиновые сапоги, в резиновых перчатках, с надетыми кислотощелочеупорными фартуками и в защитных очках.

На аккумуляторных ящиках должна быть надпись: «АККУМУЛЯТОРЫ» и знак - «ВЗРЫВООПАСНО».

Вовнутрь ящика должна быть вложена инструкция по уходу за щелочными аккумуляторами.

4.4. Техническое обслуживание

4.4.1. ТО электрооборудования знаков, находящихся в эксплуатации, должно производиться в сроки, указанные в табл. 8, и в случаях подозрения на неисправность.

Таблица 8

Электрооборудование знаков, подлежащее ТО

Срок ТО

1. Источники электроэнергии:

 

РИТЭГ и ИЭУ

В соответствии с инструкцией по эксплуатации на эти установки

аккумуляторы щелочные

Один раз в три месяца

гальванические батареи «Буй-1М», «Знак-1М», «Лиман», «Бакен ВЦ1»

То же

2. Распределительные устройства (щитки, распределительные коробки)

Один раз в шесть месяцев

3. Проблесковые аппараты типа БЭПА, ФАУСП, АП, ПРОБЛЕСК

То же

4. Выпрямители

То же

5. Светооптические аппараты ЭМ, ЭМС

То же

6. Лампоменятели ЛМ, ЛМИ, ЛМТ

То же

7. Световые дорожки знака (газосветные трансформаторы и трубки, люминесцентные светильники, светильники с лампами накаливания)

То же

8. Освещение знаков

То же

9. Электроустановочная арматура

Один раз в год

10. Кабельные сети

То же

11. Защитное заземление и сопротивление изоляции

Один раз в шесть месяцев

4.4.2. Объем работ, выполняемых при ТО каждого вида электрооборудования знака, приведен в подпунктах 4.4.2.1 - 4.4.2.14.

4.4.2.1. ТО РИТЭГ и ИЭУ выполняют в соответствии с инструкцией по эксплуатации на эти установки.

4.4.2.2. При ТО щелочных аккумуляторов необходимо:

очистить от грязи и ржавчины;

обжать контактные соединения;

смазать зажимы и контактные соединения техническим вазелином;

проверить и восстановить необходимый уровень электролита (уровень электролита должен быть выше уровня пластин на 5 - 12 мм);

прочистить газоотводные отверстия в пробках;

измерить напряжение всей батареи в целом и отдельных ее элементов под нагрузкой (снижение напряжения на каждом элементе до 1,0 В указывает на необходимость подзарядки);

измерить плотность электролита, которая должна быть в пределах от 1,19 до 1,21, но не ниже 1,19;

если напряжение и плотность электролита ниже величин, указанных выше, аккумулятор необходимо снять со знака и провести мероприятия по его восстановлению (зарядка, возможна смена электролита, контрольно-тренировочные циклы и др.);

каждый аккумулятор следует залить поверх электролита слоем вазелинового масла или керосина для предохранения от поглощения углекислоты из воздуха.

В остальном ТО аккумуляторов проводят в соответствии с инструкциями по уходу за щелочными никель-кадмиевыми и никель-железными аккумуляторами и РД 31.21.30-83.

В справочном приложении 4 приведены технические данные щелочных аккумуляторов.

4.4.2.3. Во время ТО батарей «Буй-1М», «Знак-1М», «Бакен ВЦ1», «Лиман» и др. необходимо:

проверить плотность контактных соединений батарей; измерить под нагрузкой напряжение на каждой батарее. Если напряжение на одной из них снижено до величины: 0,9 В ( «Знак-1M»), 0,9 В («Буй-1М»), 2,0 («Бакен ВЦ1»), 0,95 В («Лиман»), ее необходимо заменить;

запрещено замыкать накоротко выводы батареи для проверки ее исправности на искру.

В остальном ТО проводят в соответствии с инструкцией завода-изготовителя батарей.

В справочном приложении 5 приведены технические данные батарей.

4.4.2.4. При проведении ТО щитков и распределительных коробок необходимо:

очистить от пыли и протереть;

проверить и затянуть контактные соединения;

проверить плавность хода и четкость фиксации автоматов, пакетных выключателей. В случае обнаружения неисправности автомата и невозможности ее устранения без нарушения регулировки его следует заменить новым;

проверить соответствие плавких вставок предохранителей штатным и заменить перегоревшие. Пробочные предохранители должны быть плотно ввернуты. Запрещено подкладывать под предохранительные пробки какие-либо металлические прокладки или проволоку;

проверить состояние уплотнений и корпусов распредустройств;

проверить заделку жил кабелей, подключенных к распредустройствам.

4.4.2.5. Во время ТО проблесковых аппаратов (БЭПА, ФАУСП, АП, ПРОБЛЕСК) необходимо:

проверить состояние всех контактных соединений (покрытие, плотность соединения) в том числе ламелей печатных схем, а также контактные соединения аппаратуры, установленной в светооптических аппаратах, и произвести их зачистку и поджатие;

затянуть крепежные соединения;

протереть колпак или световое отверстие светодатчика; заменить перегоревшие предохранители и лампы новыми, проверить характеристики огня на соответствие заданной, проверить работу светодатчика (путем затемнения) и лампоменятеля;

в случае выхода из строя аппарата, блоки должны быть заменены резервными, а аппарат, вышедший из строя, отремонтировать в мастерских подразделений.

В рекомендуемом приложении 6 приведены технические данные аппаратов и рекомендации о порядке проверки работы.

4.4.2.6. При ТО выпрямителей необходимо:

проверить надежность всех контактных соединений; убедиться в плотности прилегания радиатора к основаниям диодов выпрямителя.

4.4.2.7. Во время ТО светооптических аппаратов ЭМ, ЭМС необходимо:

очистить аппарат снаружи и изнутри и протереть оптику; проверить состояние уплотнительной резины и в случае ее высыхания - заменить;

спустить конденсатную воду через спускную пробку в нижней части аппарата;

проверить надежность контактных соединений внутри аппарата;

проверить качество сальникового уплотнения питающего кабеля (поджать сальник).

В аппаратах должны быть установлены штатные лампы накаливания. Лампы, у которых на внутренней поверхности появился темный налет, необходимо заменить новыми. Запрещено применять лампы с напаянными цоколями. Лампы заменять в соответствии со сроками их службы.

4.4.2.8. При ТО лампоменятелей ЛМ, ЛМИ, ЛМТ необходимо проверить и обеспечить:

надежность контактных и крепежных соединений; срабатывание лампоменятеля при имитации перегорания лампы;

точность фиксации ламповых патронов в рабочем положении; замену перегоревших ламп новыми; смазку храпового механизма соответствующим маслом.

4.4.2.9. При ТО газосветных высоковольтных трансформаторов, трубок и люминесцентных светильников необходимо:

очистить от пыли и грязи; промыть газосветные трубки; заменить вышедшие из строя газосветные трубки; проверить состояние предохранителей в высоковольтном трансформаторе;

проверить плотность контактных и крепежных соединений; промыть плафоны люминесцентных светильников и проверить состояние уплотнений; заменить пришедшие в негодность люминесцентные лампы.

4.4.2.10. Во время ТО светильников для освещения знака и для световой дорожки необходимо:

очистить корпуса и промыть колпаки; заменить пришедшие в негодность лампы; проверить плотность контактных соединений; поджать сальники и затянуть крепежные соединения.

4.4.2.11. При ТО электроустановочной арматуры необходимо:

проверить плотность контактных и крепежных соединений; заменить, при необходимости, уплотнения; обеспечить отсутствие заеданий валиков выключателей и переключателей и их четкую фиксацию в каждом положении;

поджать сальники.

4.4.2.12. При ТО кабельной сети знака необходимо проверить:

качество крепления кабелей;

целостность защитных оболочек кабелей и проводов;

качество опрессовки и припайки кабельных наконечников и оклетневки концов кабелей;

поврежденные кабели следует заменить новыми или отремонтировать.

4.4.2.13. Во время ТО электрооборудования знаков необходимо измерить сопротивление изоляции.

Сопротивление изоляции отдельных элементов электрооборудования и кабелей, измеренное относительно корпуса (при обесточенной сети), должно быть не менее величин, указанных в обязательном приложении 7 или в инструкциях по эксплуатации.

Элементы электрооборудования или кабельные линии с сопротивлением изоляции ниже нормы должны быть выведены из действия и приняты меры к повышению сопротивления их изоляции.

Наличие, целостность, надежность защитных заземлений проверяют во время ТО электрооборудования знака. Обнаруженные неисправности немедленно устраняют.

4.4.2.14. Во всех случаях, не оговоренных в настоящем разделе инструкции, необходимо руководствоваться правилами, указанными в пп. 4.1.2, 4.3.1.

5. ЯКОРНОЕ УСТРОЙСТВО ПЛАВУЧИХ ПРЕДОСТЕРЕГАТЕЛЬНЫХ ЗНАКОВ

5.1. Выбор якорного устройства

5.1.1. Состав якорного устройства определяют в зависимости от типа плавучего предостерегательного знака, места его установки, гидрологических, грунтовых, метеорологических и других условий.

В состав якорного устройства входит:

основная цепь;

концевая смычка (для морских, большого канального и ледовых светящих буев);

соединительные детали;

якорь.

Схемы якорных устройств показаны на рис. 19, а комплектация узлов цепи - на рис. 20, 21, 22.

Рис. 19. Схемы якорных устройств

1 - якорь; 2 - основная цепь; 3 - одинарная концевая смычка; 4 - сдвоенная концевая смычка.

Рис. 20. Комплектация основных цепей

1 - скоба концевая; 2 - коренная смычка; 3 - звено соединительное; 4 - звенья общие; 5 - якорная смычка.

Рис. 21. Комплектация одинарной концевой смычки

1 - коренная смычка; 2 - звено соединительное; 3 - звенья общие; 4 - ;

Рис. 22. Комплектация сдвоенной концевой смычки

1 - планка треугольная; 2 - скоба концевая; 3 - одинарная концевая смычка.

5.1.2. В зависимости от местных условий постановку плавучих знаков осуществляют следующими способами:

на один якорь - наиболее распространенный способ в районах, где грунты хорошо держат якорь (ил, песчаный ил, глинистый ил, илистый песок, песок, глина);

на два якоря, располагаемые один за другим - наиболее распространенный способ в районах с сильным течением и грунтами, которые плохо держат якорь (валуны, галька, гравий, камень, каменистая плита).

5.1.3. Расчет якорного устройства при постановке на два якоря, т.е. определение массы основного якоря, калибра и наименьшей длины цепи (от буя до основного якоря) производят так же, как при постановке плавучих знаков на один якорь. Массу дополнительного якоря принимают равной половине массы основного. Длина дополнительной цепи (между якорями) должна быть от 10 до 25 м.

Если грузоподъемное устройство обслуживающего судна не обеспечивает одновременной выборки двух якорей и якорной цепи, то длина дополнительной цепи должна превышать глубину постановки буя или вехи.

5.1.4. Концевую смычку применяют для соединения плавучего предостерегательного знака с основной якорной цепью, которая обеспечивает быструю постановку, съемку или замену знака.

При постановке плавучего предостерегательного знака (морские, большой канальный и ледовые светящие буи) в местах со значительным течением якорное устройство следует комплектовать со сдвоенной.

Длину одинарной или сдвоенной концевой смычек следует подбирать так, чтобы при разъединении их с основной цепью нижний конец смычки или треугольную планку возможно было закрепить за подъемный рым плавучего предостерегательного знака.

Треугольную планку применяют для соединения сдвоенной концевой смычки с основной цепью.

5.1.5. Для плавучих предостерегательных знаков калибр якорной цепи и массу якоря выбирают из табл. 7, 8 и 9.

5.1.6. Наименьшую длину якорной цепи при постановке плавучих предостерегательных знаков в глубоководных районах допускается рассчитывать по упрощенной формуле

Lmin = (2,0 ÷ 2,5) H                                                   (13)

где Lmin - наименьшая длина якорной цепи, когда при самом неблагоприятном действии на буй внешних сил (ветра и течения) якорь должен испытывать только одну, горизонтальную составляющую натяжения, м;

Н - глубина места постановки плавучего знака с учетом наибольшей высоты волны и высоты прилива в сизигию, м.

При глубине постановки до 20 м следует применять коэффициент 2,5, а при больших глубинах - 2,0.

5.1.7. При определении длины якорной цепи следует учитывать, что недостаточная ее длина является причиной появления вертикальной составляющей натяжения и приводит к обрыву цепи или подрыву якоря, а излишек - увеличивает радиус циркуляции буя.

5.1.8. На мелководных и узких каналах допускается уменьшение длины цепи до величины, равной полуторной глубине, но при этом необходимо увеличить калибр цепи на размер для уменьшения рывков при волнении.

5.1.9. Для удержания плавучего предостерегательного знака на штатном месте применяют чугунные и бетонные якоря.

Наибольшее распространение получили два основных типа чугунных якорей:

круглый со сферической выемкой в основании;

круглый со сферической выемкой в основании с утопленным рымом.

Преимущества этих якорей перед другими типами следующие:

большая держащая сила;

минимальная высота якоря, что обеспечивает безопасность мореплавания в районе постановки плавучего предостерегательного знака;

многократность применения при смене плавучих предостерегательных знаков.

Бетонные якоря прямоугольной формы в плане с наклонными боковыми стенками и выемкой в основании изготавливаются с целью экономии средств, как правило, организациями, эксплуатирующими плавучие знаки.

5.2. Обслуживание якорного устройства

5.2.1. При определении технического состояния якорного устройства следует обратить внимание на уменьшение среднего диаметра в наиболее изношенной части звеньев, а также на наличие в смычке звеньев с выпавшими или ослабленными распорками, трещинами или разрывами.

Каждое звено цепи с распорками обстукивают ручником с целью выявления слабины распорок. При ремонте таких звеньев допускается укрепление ослабевших стальных распорок электросваркой с одного конца распорки или обжатием звена.

5.2.2. Сомнительные места в цепи зачищают до металлического блеска и внимательно осматривают. В местах, где есть трещины, металл вырубают и, если после удаления трещин диаметр звена в месте вырубки не будет меньше допустимого, то цепь считают пригодной к эксплуатации.

Проверяют целостность и определяют степень износа рымов буя и якоря, вертлюга общих и соединительных звеньев, концевых скоб. Непригодные для эксплуатации детали якорного устройства необходимо заменить новыми.

Износ якорного рыма допускается устранять наплавкой электросваркой до номинального диаметра с последующей зачисткой.

5.2.3. Все грузовые операции с ППЗ, выполняемые судовыми или береговыми грузоподъемными устройствами должны производиться в соответствии РД 31.81.10-75 «Правила техники безопасности на судах морского флота», РД 31.82.03-87 «Правила безопасности труда в морских портах» и РД 31.84.05-89 «Правила безопасности труда при эксплуатации средств навигационного оборудования и проведении гидрографических работ».

6. ОКРАСКА МОРСКИХ НАВИГАЦИОННЫХ И ПЛАВУЧИХ ПРЕДОСТЕРЕГАТЕЛЬНЫХ ЗНАКОВ

6.1. Организация окрасочных работ

6.1.1. Окрасочные работы производят для защиты знаков от коррозии, обрастания, гниения и придания им штатной окраски.

6.1.2. При производстве окрасочных работ следует пользоваться следующими нормативными документами:

«Инструкция по окраске морских плавучих предостерегательных знаков», адмиралтейский № 9401, изд. Главного Управления навигации и океанографии, 1988 г.;

«Инструкция по технической эксплуатации и текущему ремонту маячных сооружений и зданий», изд. Гидрографического управления МО СССР, 1969 г.;

РД 31.58.02-90 «Правила окрашивания судов Минморфлота»;

РД 5.9258-86 «ЕСЗКС Покрытия лакокрасочные. Системы окрашивания судов»;

ОСТ 5.9566-83 «Покрытия лакокрасочные. Типовые технологические процессы окрашивания судов»;

ООП 5.9022-82 Единая система защиты от коррозии и старения «Материалы лакокрасочные. Марки».

6.1.3. В период эксплуатации окраску плавучих предостерегательных знаков следует производить:

при подготовке к сезонной постановке плавучего ограждения;

при съемке буев (ледовые светящие) на перезарядку;

при съемке буев и вех для ремонта.

Кроме того, в отдельных случаях следует производить частичную (восстановительную) подкраску надводной части буев и вех.

6.1.4. Периодичность окраски буев и вех должна быть следующей:

подводной части, якорной цепи, якоря - один раз в год перед постановкой;

надводной части, в зависимости от условий места постановки - каждые 3 - 4 месяца периода эксплуатации.

Указанная периодичность является исходной при определении потребного количества лакокрасочных и других материалов для окраски ППЗ.

6.1.5. Окраска ППЗ должна соответствовать системе плавучего охлаждения в водах СССР (система МАМС, Регион А).

6.1.6. Периодичность окраски морских навигационных знаков рекомендуется следующая:

башня и ее оборудование снаружи через 2 - 3 года;

внутренние поверхности башен - колонн, шкафов для оборудования - через 4 - 5 лет;

створный щит и отражающая поверхность газосветных коробок - через 1 - 2 года.

6.2. Общие требования к подготовке поверхностей плавучих предостерегательных и морских навигационных знаков под окраску

6.2.1. Подготовка к окраске и окраска буев и вех в береговых условиях выполняются в специально оборудованных для этой цели помещениях, которые должны иметь надежную вентиляцию. При благоприятных условиях погоды окраска может производиться на открытых площадках или под навесом.

6.2.2. К окрасочным работам на открытых площадках следует приступать не позднее, чем через 6 ч после подготовки поверхности, а в закрытых помещениях - не позднее чем через 24 ч.

6.2.3. При несоблюдении этих сроков поверхности должны быть вторично осмотрены. В случае отсутствия на них ржавчины и загрязнений поверхности необходимо протереть сухой ветошью, а при появлении ржавчины и загрязнений они должны быть перед грунтовкой дополнительно очищены и протерты.

6.2.4. После протирки поверхности ветошью, смоченной уайт-спиритом, грунтовку производят не ранее чем через 30 - 50 мин по окончании протирки.

6.2.5. В зависимости от сохранности на окрашиваемых поверхностях старой окраски возобновление ее следует производить как по старому прочно держащемуся покрытию, так и с полным или частичным его удалением.

Старое покрытие толщиной более 1 мм во избежание излишнего наслоения красок следует удалять полностью.

Особенно тщательно должны быть очищены и окрашены дополнительным слоем краски места болтовых соединений, сварные швы, раковины и труднодоступные места.

6.2.6. Стальные поверхности, зачищенные до металла, перед грунтовкой должны быть обезжирены протиркой кистью или ветошью, смоченными уайт-спиритом или скипидаром.

Запрещается применять для обезжиривания керосин, бензол, толуол, дихлорэтан, сольвент и ацетон.

6.2.7. Очистку подводной поверхности от обрастаний и старой необрастающей краски следует производить сразу же после подъема буя (вехи) на берег.

Для предотвращения высыхания очищаемой поверхности необходимо ее обильно смачивать водой.

Сразу после очистки нанести один слой краски ЭКЖС-40 или грунтовки ВЛ-02 (ВЛ-033) для предохранения от коррозии.

Необрастающие краски должны быть удалены полностью.

Полную очистку антикоррозионных красок с подводной части следует производить в случае, указанном в п. 6.2.5, при сохранении краски менее чем на 50 % поверхности и при переходе на новые схемы окраски с применением красок на новой основе.

6.2.8. От старой краски, содержащей соединения свинца, или от каменноугольного лака поверхность знака очищают, смачивая ее водой.

6.2.9. При очистке корпусов, окрашенных этинолевыми (ЭКЖС-40) и эпоксидными (ЭП-755) красками, участки с прочно держащей краской следует обработать механическими (ручными) стальными щетками для улучшения адгезии с ними вновь наносимых красок того же типа.

6.2.10. Для удаления со стальных поверхностей обрастаний, непрочно держащейся краски и коррозии применяют механические и ручные стальные проволочные щетки, скребки, стамески, шпатели. Перечень инвентаря и инструмента приведен в рекомендуемом приложении 8.

6.2.11. Очистку деревянных поверхностей следует производить шпателями с последующей протиркой чистой ветошью и в случае необходимости прошкуриванием наждачной или стеклянной шкуркой зернистостью 32, 16 или 6. После прошкуривания поверхность следует обмести сухой волосяной щеткой.

6.2.12. При окраске по старой краске поверхности должны быть хорошо отмыты от пыли и грязи трехпроцентным водным раствором кальцинированной соды или мыла с последующей промывкой чистой пресной водой и очищены от непрочно держащейся старой краски и ржавчины.

Несмываемые загрязнения (минеральные масла и т.п.) должны быть очищены скребком и обезжирены уайт-спиритом, а затем протерты чистой сухой ветошью.

6.3. Лакокрасочные материалы, подготовка их к нанесению

6.3.1. К лакокрасочным материалам относятся лаки, краски, эмали, грунтовки и шпатлевки, марки и характеристики которых приведены в отраслевом ограничительном перечне ООП 5.9022-82 и в справочном приложении № 9.

6.3.2. Лакокрасочные материалы, применяемые для окраски, должны отвечать требованиям документации, утвержденной в установленном порядке.

Качество лакокрасочных материалов должно быть подтверждено сертификатами.

Применять лакокрасочные материалы, срок хранения которых истек, запрещается.

6.3.3. Краски перед употреблением следует тщательно размещать до получения однородной консистенции и исчезновения осадка на дне тары. При наличии на поверхности краски пленки перед размешиванием ее следует осторожно подрезать по краям и удалить. Для окраски необходимо применять только свеженалитую краску, профильтрованную через сетку или через сложенную в два слоя марлю.

6.3.4. Рекомендации по применению грунтовок, эмалей, красок и лаков отражены в «Инструкции по окраске морских плавучих предостерегательных знаков» № 9401 с учетом подготовки их к нанесению на поверхность.

Рецептура лакокрасочных материалов, изготовляемых на месте применения, приведена в справочном приложении 10.

6.3.5. Добавление сиккативов в готовые к употреблению краски не допускается, если это не оговорено в нормативах на их применение.

6.4. Особенности окраски различных поверхностей плавучих предостерегательных знаков

6.4.1. Основные рекомендации (согласно нормативным документам) по схеме окраски поверхностей плавучих предостерегательных знаков заключаются в следующем:

подводную часть ППЗ следует покрывать грунтом ЭКЖС-40 в четыре слоя или каменноугольным лаком в два слоя или грунтом ВЛ-02 (ВЛ-023) в один слой с последующим покрытием противообрастающими эмалями ХВ-5153, ХС-413, ХС-720 в два слоя;

надводную часть следует покрывать грунтом ВЛ-02 в один слой или ЭФ-065 (допускается ФЛ-03К) в два слоя с последующим нанесением эмалей соответствующих цветов ХС-720, ХС-510, ХС-527, ПФ-115, ПФ-167, ХВ-113, ХВ-110, ХВ-1100, МС-17, ХВ-124 в два слоя.

Район переменной ватерлинии по высоте 200 - 300 мм следует окрашивать еще одним слоем.

Якорную цепь и металлический якорь следует покрывать в два слоя каменноугольным лаком.

6.4.2. Внутренние поверхности корпусов и пеналов буев необходимо покрывать в два слоя смесью свинцово-суричных грунтовок № 81, № 83 или грунтовкой ФЛ-03К, а также рекомендуется наносить грунт ЭКЖС-40 в четыре слоя.

6.4.3. Необрастающие краски следует наносить за 1 - 3 дня до спуска буя (вехи) на воду.

6.4.4. При окраске буев и вех по старому прочно держащему покрытию допускается уменьшать количество слоев противокоррозийных красок и эмалей на 1 - 2 слоя. Кроме того, участки поверхности с прочно держащимся старым покрытием допускается не грунтовать.

6.4.5. В соответствии с принятой системой плавучего ограждения надводная наружная поверхность буев и вех должна окрашиваться в следующие цвета: белый, черный, красный, зеленый и желтый.

6.4.6. Цвет (колер) покрывных эмалей, используемых для окраски надводной части буев и вех должен быть ярким, насыщенным и достаточно стойким на весь период эксплуатации.

Цветовой тон эмалей должен находиться в пределах следующих номеров цветовых эталонов:

красный колер - 29, 55;

зеленый колер - 325, 385;

желтый колер - 285, 286.

Допускается применять краски, имеющие следующие номера эталонов цветов по номенклатурному каталогу НИМБ 360 043.003:

красный - 9, 11 (ПФ-115); 6, 7(ХВ-110, ХВ-113):

зеленый - 323, 322 (ХВ-110, ХВ-113); 343, 344 (ПФ-115);

желтый - 230, 231 (ПФ-115);

с дополнительной колеровкой.

6.4.7. Если цветовой тон эмали не полностью соответствует образцу колера, то при подготовке к нанесению эмаль колеруется добавлением в данную эмаль эмали белого цвета, но обязательно той же марки, если цветовой тон темнее принятого образца. При этом следует учитывать, что излишнее осветление значительно уменьшает насыщенность цвета покрывной эмали и делает его блеклым.

При окраске буев и вех в зеленый цвет, если нет эмали нужного цветового тона, как исключение, допускается приготовление ее путем добавления синего пигмента (ультрамарина) в эмаль желтого цвета.

Полученный зеленый цвет визуально сравнивается с образцом данного колера.

Цветовой тон черного и белого колеров при окраске не нормируется и принимается в пределах допусков технических требований на конкретный вид лакокрасочного материала.

6.4.8. Наиболее предпочтительными для окраски надводной части плавучих предостерегательных знаков являются дневные флуоресцентные эмали (ДФЭ) соответствующего цвета.

Для более полного использования отражающего эффекта ДФЭ наносятся на специальный подстилающий слой из белой эмали, а для повышения светостойкости поверхности покрываются специальным бесцветным лаком.

Ввиду недостаточной стойкости цвета рекомендуют к применению только ДФЭ красного и оранжево-красного цветов для окраски всех знаков красного цвета.

Основные технические характеристики ДФЭ, технология нанесения приведены в справочном приложении 11.

6.5. Рекомендации по окраске морских навигационных знаков

6.5.1. Лакокрасочные покрытия знаков выполняют не только защитные функции, но и служат одним из основных факторов, определяющих навигационные параметры знака: дневную дальность видимости и распознаваемость его на окружающем фоне.

6.5.2. Наилучшая окраска знаков - одноцветная. При резких сезонных изменениях фона можно допустить окраску двумя цветами. Двухцветную окраску следует рекомендовать также в тех случаях, когда весь знак проецируется на различные фоны, например: верхняя часть - на фон неба, нижняя часть - на фон леса.

Башню створного знака, трапы, переходные площадки, ограждения, фонарную будку (снаружи) следует окрашивать в черный, коричневый и шаровый цвет. Башню портового знака типа «колонна» (снаружи) следует окрашивать в белый, черный, красный и зеленый цвет.

6.5.3. Щит знака с лицевой стороны грунтуют и окрашивают в цвет, обеспечивающий лучшую видимость на окружающем фоне.

Обратную сторону щита только грунтуют для защиты от гниения (деревянные щиты) или коррозии (металлические щиты).

Деревянный створный щит следует покрывать грунтом ФЛ-03К или ЭФ-065 с лицевой стороны - в два слоя, с внутренней - в три слоя. Лицевую сторону щита окрашивают эмалями ПФ-115, ПФ-167, МС-17 в три слоя необходимых цветов.

6.5.4. Хорошей видимости морского навигационного знака достигают яркой окраской лицевой стороны щита и фонарной будки.

Наибольший эффект дают дневные флуоресцентные эмали (ДФЭ).

Ввиду недостаточной стойкости цвета рекомендуют к применению ДФЭ только красного и оранжево-красного цветов для окраски лицевой стороны щитов и фонарных будок.

Окрашенные ДФЭ лицевая сторона щита и фонарная будка хорошо видны на любом окружающем фоне.

Характеристики ДФЭ и технология их нанесения приведены в приложении № 11.

6.5.5. Для защиты стальных и алюминиевых конструкций береговых знаков от коррозии необходимо применять лакокрасочные материалы III и IV группы покрытия по СНиП 2.03.11-85. Поверхности следует покрывать грунтом ФЛ-03К (для алюминиевых сплавов - ФЛ-03Ж) или ВЛ-02 в два слоя с последующим нанесением в три слоя покрывных эмалей (полиуретановых, эпоксидных, полистирольных, перхлорвиниловых).

6.5.6. Фонарную будку (снаружи) рекомендуется окрашивать в цвета, соответствующие окраске лицевой стороне створного щита (белый, красный, черный), а внутри фонарную будку необходимо окрашивать в белый цвет.

6.5.7. Отражающую поверхность газосветной коробки следует покрывать грунтом ФЛ-03К или ЭФ-065 с нанесением эмали белого цвета ПФ-115 или ПФ-167.

6.5.8. При окраске по старому прочно держащему покрытию допускается уменьшать количество слоев противокоррозийных красок и эмалей на 1 - 2 слоя. Участки поверхности с прочно держащимся старым покрытием допускается не грунтовать.

6.5.9. Окраску башен знаков решетчатой конструкции и наружных поверхностей щитов следует производить, как правило, с подвесных люлек или беседок.

Для окраски знаков, если позволяют местные условия, могут быть рекомендованы гидравлические подъемники и шарнирные вышки.

Внутренние окрасочные работы (окраска колонн портового знака, шкафа для оборудования, фонарной будки, трапов, переходных площадок и т.п.) следует выполнять с помоста или лестниц-стремянок.

Окраску, как правило, следует вести сверху вниз, вначале красят щит знака, затем все остальное, кроме электрокабеля.

6.5.10. Для предотвращения загнивания деревянные навигационные знаки и деревянные щиты необходимо периодически осматривать. Все обнаруженные очаги загнивания должны быть стесаны, а обнаженная свежая древесина антисептирована и окрашена.

6.5.11. При окраске конструкции на высоте более 1,5 м рабочие должны иметь предохранительные пояса.

Внутренние малярные работы с применением составов, выделяющих вредные для здоровья людей летучие пары, надлежит выполнять при открытых дверях и обязательно в респираторах или противогазах.

6.6. Нанесение лакокрасочных материалов

6.6.1. Нанесение лакокрасочных материалов при окраске осуществляется как малярными кистями или малярными валиками, так и различными краскораспылителями.

Основные типы малярных кистей и краскораспылителей приведены в приложении № 8.

6.6.2. Грунтование поверхности рекомендуется производить мягкими малярными кистями.

Грунт при этом наносится без пропусков и потеков сплошным ровным и тонким слоем без длительной растушевки.

При работе кисть должна быть наклонена под углом 45 - 50° к окрашиваемой поверхности.

6.6.3. Последующие слои красок и эмалей должны наноситься только на полностью высохшую загрунтованную поверхность.

Быстро высыхающие краски следует наносить широкими мазками, проводя два раза по одному месту, во избежание повреждения первоначального слоя краски.

6.6.4. Валиковые кисти следует применять при окраске больших гладких поверхностей без набора.

При наличии на окрашиваемых поверхностях значительных коррозионных повреждений (глубиной более 0,5 мм) валики применять не следует.

6.6.5. Краскораспылителями следует окрашивать наружные большие сплошные поверхности: корпуса буев и вех, щиты створных знаков, переходные площадки, фонарные будки, шкафы для оборудования.

Категорически запрещается наносить краскораспылителями краски, содержащие соединения сурьмы, свинца мышьяка, ртути и меди (свинцово-суричный грунт, необрастающие краски).

6.6.6. При работе с краскораспылителем расстояние между его соплом и окрашиваемой поверхностью должно быть 250 - 400 мм. Струю краски следует направлять перпендикулярно окрашиваемой поверхности, плавно передвигая краскораспылитель.

Чтобы получить ровное сплошное покрытие, следует перекрывать край ранее нанесенной полосы на 10 - 15 мм.

6.6.7. При перерывах в работе до 6 ч во избежание засыхания краски краскораспылитель следует опустить головкой книзу в бачок с растворителем, специально для этого приготовленный. При этом необходимо следить, чтобы растворитель не попадал на сальники краскораспылителя.

6.6.8. При засорении краскораспылителя необходимо снять головку, прочистить отверстия и промыть ее в соответствующем растворителе. Отвернув сопло, промыть его в том же растворителе и прочистить «ершиком».

При разборке, сборке и чистке краскораспылителя ударять им или его деталями о твердые предметы категорически запрещается.

6.6.9. Окрасочные работы следует производить при температуре воздуха не ниже плюс 5 °С и относительной влажности не выше 80 %.

Окраску при температуре ниже плюс 5 °С можно производить только красками, допускающими их нанесение при низких температурах.

6.7. Нанесение номерных знаков на плавучие предостерегательные знаки

6.7.1. Нумерации подлежат латеральные и осевые буи (вехи). Порядковая нумерация на каналах, фарватерах и рекомендованных курсах ведется, как правило, со стороны моря.

В отдельных случаях нумерация может осуществляться так, как это удобно по местным условиям.

6.7.2. Латеральные буи (вехи) левой стороны и «основной фарватер (канал) справа» обозначаются четными номерами, буи (вехи) правой стороны и «основной фарватер (канал) слева» - нечетными.

Осевые буи (вехи) нумеруются в соответствии с их порядковыми номерами на фарватере.

Присвоенные номера буев (вех) показываются на морских картах и в описаниях «Огни и знаки».

6.7.3. На канальных (средних и малых) и ледовых буях номера наносят краской непосредственно на корпус буя в его верхней одноцветной части с двух или трех сторон. Номера на буях размещают так, чтобы нижняя кромка цифры располагалась на высоте двух третей общей высоты надводной части буя.

На канальных вехах номера наносят краской в средней части верхнего конуса.

Допускается наносить номера на номерных щитах.

На морских вехах номера помещают на номерных щитах. На всех морских и большом канальном буях номера наносят краской на номерные щиты, установленные, как правило, в верхней половине надстройки, в ее одноцветной части, на каждой из сторон.

Форма и размеры цифр для нанесения нумерации плавучих предостерегательных знаков приведены в рекомендуемом приложении № 12.

6.7.4. Цвет номерного щита должен соответствовать цвету надстройки (для буев) или шеста (для вех).

6.7.5. В зависимости от цвета щита (корпуса, буя, вехи) цифры, наносимые на щит (корпус), должны быть:

черного цвета на щитах (корпусах) белого, красного и желтого цветов;

белого цвета на щитах (корпусах) черного или зеленого цветов.

6.7.6. Нанесение номеров на номерной щит и корпус буя следует производить по шаблонам, шаблоны изготовляют двух видов: эталонные и рабочие.

Рабочие шаблоны применяют для непосредственного нанесения цифр на номерные щиты или корпуса буев, а эталонные применяют для изготовления необходимого количества комплектов рабочих шаблонов.

6.7.7. Для изготовления эталонных шаблонов соответствующая цифра должна быть выполнена на плотной бумаге в натуральную величину по размерам согласно рекомендуемому приложению № 12

Цифру из бумаги наклеивают на металлический или пластмассовый лист толщиной не более 2 мм, размерами 460×250 мм для шрифта 360 и 300×170 мм для шрифта 250. Затем цифры вырезают по контуру. Кромки контура тщательно зачищают.

6.7.8. Рабочий шаблон изготовляют аналогично. Контуры цифр наносят по эталонному шаблону на лист из любого материала толщиной не более 2 мм, обеспечивающего их многократное применение.

6.7.9. На каждом шаблоне эталонного и рабочего комплектов наносят надпись, указывающую размер шрифта, например: «шрифт 360» или «шрифт 250». Надпись наносят на свободном поле шаблона.

6.7.10. Для нанесения на щит однозначного номера буя следует приложить шаблон заподлицо с нижней кромкой и симметрично относительно боковых кромок щита.

6.7.11. Для нанесения на щит двухзначного номера буя (вехи) следует приложить два шаблона с промежутком между цифрами 1,0 - 1,5 толщины линии цифры заподлицо с нижней кромкой щита и симметрично относительно боковых кромок щита.

6.7.12. После тщательного прокрашивания цифр и снятия шаблонов полоски от перемычек шаблона следует аккуратно закрасить.

6.8. Окраска якорных цепей

6.8.1. Окраску якорных цепей производят методом окунания в ванну с жидким каменноугольным лаком либо щетинными кистями.

6.8.2. При окраске окунанием (рис. 23) во избежание появления на поверхности цепи пузырьков воздуха цепь не рекомендуют быстро погружать и вынимать из ванны.

Окрашенную часть цепи некоторое время держат над ванной, чтобы стекли избытки лака.

Окрашенные цепи развешивают на деревянных, металлических или бетонных козлах для просушки.

Рис. 23. Окраска якорных цепей окунанием.

6.8.3. При окраске кистями цепи должны быть разнесены на деревянном помосте или на площадках с твердым покрытием.

После просушки цепи должны быть развешены на козлах или уложены в бухты в местах хранения.

6.9. Правила приемки и методы контроля производства окрасочных работ

6.9.1. При проведении окрасочных работ следует производить контроль и приемку всех операций на соответствие требований, изложенных в настоящем РД.

Окрасочные работы следует принимать пооперационно. Нанесение слоев грунтовки или эмали (краски) разрешается начинать после приемки предыдущей операции.

6.9.2. Контроль качества внешнего вида покрытия необходимо производить после высыхания каждого слоя лакокрасочного материала. На окрашиваемой поверхности не должно быть непрокрашенных мест, вздутий, шелушений и растрескивания покрытия. Для покрытий, к которым предъявляются требования по декоративной отделке, разнотонность, потеки и наплывы не допускаются. Цвет покрытия определяется визуально.

6.9.3. Полноту высыхания лакокрасочных материалов можно определить пятисекундным нажатием на пленку чистым пальцем; при этом на ее поверхности не должно оставаться отпечатка пальца.

6.9.4. Качество выполнения лакокрасочного покрытия проверяют на сплошность, сцепление с защищаемой поверхностью и толщину покрытия.

6.10. Требования безопасности при организации и проведении окрасочных работ

6.10.1. Все лакокрасочные материалы и растворители являются токсичными, огнеопасными, а их пары с воздухом могут образовывать взрывоопасные смеси. Поэтому все работы, связанные с хранением лакокрасочных материалов и их использованием, должны выполняться при строгом соблюдении требований безопасности.

6.10.2. Личный состав, производящий окрасочные работы, должен применять изолирующие средства индивидуальной защиты органов дыхания, а также средства защиты лица, глаз и кожных покровов.

6.10.3. Необходимо соблюдать рекомендованные системы окраски. Запрещается применять растворители и лакокрасочные материалы неизвестного состава.

6.10.4. При очистке и окраске личному составу запрещается применять неисправный инструмент, употреблять стеклянную тару (кроме случаев, специально оговоренных инструкцией), хранить краски и растворители в неприспособленных помещениях, принимать пищу и курить с неотмытыми от эмалей и красок руками.

6.10.5. Оставшиеся на коже остатки эмалей и красок следует удалять ветошью, смоченной скипидаром, бензином-растворителем (уайт-спиритом), ацетоном или моющим раствором, в составе которого должно быть жидкое мыло (45 %), пемза-порошок (45 %), глицерин (5 %), спирт этиловый (5 %). Мытье рук растворителями запрещается.

6.10.6. Перед проведением сварочных работ место сварки должно быть зачищено от слоев лакокрасочных покрытий до металла на расстоянии не менее 100 мм от места сварки с обеих сторон, чтобы предупредить выгорание эмалей и красок и образование токсичных паров и газов.

6.10.7. При хранении красок, эмалей и растворителей нельзя допускать прямого воздействия на них солнечных лучей. Температура нагрева их не должна превышать 40 °С.

6.10.8. При проведении окрасочных работ запрещается зажигать спички, разводить открытый огонь, производить сварочные работы, освещать изнутри бочки, бидоны, банки спичками или другими открытыми источниками огня во избежание взрыва.

6.10.9. При хранении лакокрасочных материалов и проведении окрасочных работ все противопожарные средства должны находиться в готовности к немедленному действию.

7. ОСНОВНЫЕ ПОЛОЖЕНИЯ ПО ОРГАНИЗАЦИИ ОБСЛУЖИВАНИЯ СНО

7.1. Планирование эксплуатации

7.1.1. В целях своевременного и полного проведения всех мероприятий по эксплуатации СНО во всех структурных подразделениях, обслуживающих навигационное оборудование, необходимо составлять годовые планы и графики оперативно-технической готовности, исходя из организационных указаний и задач на год, регламентов технического обеспечения и межремонтных норм эксплуатации СНО.

7.1.2. При планировании ремонта СНО необходимо учитывать сроки и объемы текущего ремонта, среднего и капитального ремонта аппаратуры, источников питания, нормы расходных материалов, поставки запасов оборудования и инструментов для обслуживания.

7.1.3. В период обслуживания светооптических маячных аппаратов необходимо периодически протирать оптику аппарата спиртом.

Нормы расхода спирта-ректификата на протирку светооптических маячных аппаратов приведены в справочном приложении № 13.

7.2. Способы обслуживания

7.2.1. Основным производственным звеном в службе эксплуатации СНО является технический участок или морской канал (дистанции пути) и подчиненные им путевые посты с экипажами обстановочных судов.

7.2.2. В зависимости от количества береговых и плавучих знаков, интенсивности и характера судоходства могут быть приняты следующие формы обслуживания СНО: укрупненно-постовая и постовая.

7.2.3. Организацию и форму работы технических участков или морских каналов устанавливает служба пути УМП или пароходства, а где нет УМП - начальник порта в соответствии с утвержденным штатным расписанием и с учетом местных особенностей.

7.2.4. В настоящее время получило широкое распространение обслуживание СНО укрупненными путевыми постами, которые созданы на базе приспособленного для этой цели самоходного судна, например мотозавозного крана.

7.2.5. Начальник укрупненного путевого поста, как правило, капитан обслуживающего судна, со своим личным составом должен обеспечивать бесперебойную работу СНО в пределах обслуживаемого участка, исправное содержание инвентаря, оборудования и служебных помещений путевого поста, а также обеспечивать безопасность выполнения работ на руководимых им производственных участках.

7.2.6. Путевой пост обслуживает СНО речной части морского канала, акватории порта и подходы к ним.

Путевой пост должен быть снабжен моторной шлюпкой и укомплектован двумя-тремя смотрителями огней.

7.2.7. На путевом посту должна быть следующая документация:

настоящая Инструкция и основные нормативные документы по береговым и плавучим знакам и их оборудованию;

ведомость штатных СНО, обслуживаемых постом;

схема расположения СНО участка путевого поста;

журнал учета работы источников питания и света на знаках;

вахтенный журнал путевого поста;

сборник технологических карт по техническому обслуживанию средств навигационного оборудования морских путей, Р2852-007-003.

7.2.8. Состав оборудования, его основные навигационные и технические характеристики, а также техническое состояние их должны отражаться в формулярах и формулярах-карточках на каждый объект навигационного оборудования.

Для облегчения ведения записей в вахтенном журнале в рекомендуемых приложениях № 14 - 17 приведены образцы эксплуатационной документации и оперативно-технического учета.

7.2.9. На трассе СМП основным производственным звеном в службе эксплуатации СНО является лоцмейстерский отряд и подчиненные ему лоцмейстерские партии.

7.2.10. Организацию и форму работы лоцмейстерского отряда устанавливает администрация гидробазы и ГП ДМТ.

7.2.11. Начальник лоцмейстерской партии со своим личным составом должен обеспечивать бесперебойную работу СНО в пределах обслуживаемого участка, исправное содержание инвентаря, оборудования и служебных помещений лоцмейстерской партии, а также безопасность выполнения работ на руководимых им производственных участках.

Приложения

ПРИЛОЖЕНИЕ 1

(справочное)

Запрещающий знак «ЯКОРЯ НЕ БРОСАТЬ» (подводный переход)


ПРИЛОЖЕНИЕ 2

(обязательное)

Характеры огней плавучих предостерегательных знаков системы МАМС регион А в водах РФ и их условное обозначение на картах

Наименование знаков

Цвет и характер огня

Условное обозначение на карте

Характеристика и период огня

Графическое изображение

Пояснение

Латеральные знаки:

левой стороны

Красный проблесковый

Пр3с

0,5св + 2,5темн

Периодически повторяющиеся одинарные проблески. Частота проблесков менее 50 в минуту. Продолжительность света меньше продолжительности темноты

правой стороны

Зеленый проблесковый

Пр3с

0,5св + 2,5темн

основной фарватер справа

Красный сложный групповой проблесковый

Пр(2 + 1)9с

0,5св + 0,5темн + 0,5св + 1,0темн + 0,5св + 6,0темн

Периодически повторяющаяся сложная группа проблесков (в скобках указано количество и последовательность проблесков в группе)

основной фарватер слева

Зеленый сложный групповой проблесковый

Пр(2 + 1)9с

0,5св + 0,5темн + 0,5св + 1,0темн + 0,5св + 6,0темн

поворот канала (фарватера)

Красный или зеленый частый (частопроблесковый)

ИзоПр1с

0,5св + 0,5темн

Непрерывно повторяющиеся частые одинарные проблески. Частота проблесков 50 или 60 в минуту

Кардинальные знаки:

северные

Белый частый (частопроблесковый)

Ч

0,5св + 0,5темн

То же

восточные

Белый групповой частый

Ч(3)10с

0,5св + 0,5темн + 0,5св + 0,5темн + 0,5св + 7,5темн

Периодически повторяющаяся группа из трех частых одинарных проблесков (в скобках указано количество проблесков в группе с периодом огня 10 с)

западные

Белый групповой частый

Ч(9)15с

0,5св + 0,5темн + 0,5св + 0,5темн + 0,5св + 0,5темн + 0,5св + 0,5темн + 0,5св + 0,5темн + 0,5св + 0,5темн + 0,5св + 0,5темн + 0,5св + 0,5темн + 0,5св + 6,5темн

Периодически повторяющаяся группа из девяти частых одинарных проблесков (в скобках указано количество проблесков в группе) с периодом огня 15 с

южные

Белый групповой частый с длительным проблеском

Ч(6)ДлПр15с

0,5св + 0,5темн + 0,5св + 0,5темн + 0,5св + 0,5темн + 0,5св + 0,5темн + 0,5св + 0,5темн + 0,5св + 0,5темн + 2,0св + 7,0темн

Периодически повторяющиеся сочетания группы из шести частых одинарных проблесков и длительного проблеска (не менее 2 с) с периодом огня 15 с

Знаки отдельных опасностей малых размеров

Белый групповой проблесковый

Пр(2)5с

0,5св + 0,5темн + 0,5св + 3,5темн

Периодически повторяющаяся группа из двух проблесков (в скобках указано количество проблесков в группе)

Осевые знаки (безопасного прохода)

Белый длительно-проблесковый

ДлПр6с

2,0св + 4,0темн

Периодически повторяющиеся одинарные длительные проблески. Продолжительность проблеска 2 с, продолжительность света менее продолжительности темноты

Знаки специального назначения

Желтый проблесковый

Пр5с

0,5св + 4,5темн

Периодически повторяющиеся одинарные проблески. Частота проблесков менее 50 в минуту. Продолжительность света меньше продолжительности темноты


ПРИЛОЖЕНИЕ 3

(справочное)

Варианты расстановки плавучих предостерегательных знаков СИСТЕМЫ МАМС, РЕГИОН А в водах РФ

1. Схемы ограждения латеральными знаками приведены на рис. 1 - 3, 10, 11.

2. Схемы ограждения латеральными и кардинальными знаками приведены на рис. 4 - 8.

3. Схема ограждения опасностей малых размеров приведена на рис. 9.

4. Схемы ограждения знаками специального назначения приведены на рис. 12, 13.

Рис. 1. Двухстороннее ограждение канала (фарватера).

Рис. 2. Правая бровка канала (фарватера) на больших глубинах отсутствует.

Рис. 3. Расположение знаков в шахматном порядке.

Рис. 4. Ограждение опасностей, примыкающих к бровкам канала (фарватера).

Рис. 5. Разделение равнозначных каналов (фарватеров) с сохранением прямого хода.

Рис. 6. Разделение равнозначных каналов (фарватеров).

Рис. 7. Соединение равнозначных каналов (фарватеров).

Рис. 8. Канал (фарватер) разделяется опасностью на два, затем снова соединяется.

Рис. 9. Ограждение опасностей малых размеров в зоне канала (фарватера).

Рис. 10. Разделение неравнозначных каналов (фарватеров). Основной канал (фарватер) справа.

Рис. 11. Разделение неравнозначных каналов (фарватеров). Основной канал (фарватер) слева.

Рис. 12. Ограждение районов свалки грунта.

Рис. 13. Обозначение места якорной стоянки.

Левой стороны

Западные

Правой стороны

Осевые

Основной канал справа

Опасности малых размеров

Основной канал слева

Специального назначения

Северные

Направление канала (фарватера) с моря

Южные

Указатель сторон канала (фарватера)

Восточные

Условные обозначения плавучих знаков.

ПРИЛОЖЕНИЕ 4

(справочное)

ЩЕЛОЧНЫЕ АККУМУЛЯТОРЫ

1. АККУМУЛЯТОРЫ И БАТАРЕИ ТИПА НК

Для питания электрооборудования знаков используют щелочные и никель-кадмиевые (НК) аккумуляторы. Чтобы получить необходимую величину напряжения (6 или 12 В), аккумуляторы соединяют между собой последовательно в аккумуляторные батареи.

В процессе эксплуатации разрядка аккумулятора допустима до напряжения 1,0 В.

Во время заряда не допускается повышение температуры электролита: составного - выше 45 °С, на основе едкого натрия - выше 40 °С и на основе едкого калия - выше 30 °С. Признаком окончания заряда является величина напряжения 1,75 - 1,8 В, не повышающаяся в течение 20 - 30 мин. Плотность электролита в аккумуляторе должна быть в пределах от 1,19 до 1,21.

Потери емкости на саморазряд за 28 дней при температуре 20 ± 5 °С и относительной влажности 90 % для НК аккумуляторов составляет не более 25 %.

Характеристики аккумуляторов приведены в табл. 1.

Таблица 1

Тип аккумулятора

Номинальная емкость, А, ч

Нормальный зарядный ток, А

Нормальный разрядный ток, А

Напряжение, В

Минимальная плотность электролита

начальное

конечное

НК-55

55

14

5,5

1,2

1,0

1,19

НК-80

80

20

8,0

1,2

1,0

1,19

НК-125

125

31

12,5

1,2

1,0

1,19

2. АККУМУЛЯТОРЫ ТИПА НКГ-30С, НКГ-110СА

Аккумуляторы типа НКГ-30С, НКГ-110СА (в обозначении буквы и цифры означают: НК - никель-кадмиевая электрохимическая система; Г - герметичный аккумулятор; 30; 110 - номинальная емкость в А·ч; С - для разряда средними токами; А - имеется автоматический индикатор конца заряда (ИКЗ)), скомплектованные в батареи, предназначены для работы в условиях умеренного климата.

Электрические характеристики приведены в табл. 2.

Таблица 2

Тип аккумулятора

Номинальное напряжение, В

Режим заряда полностью разряженного аккумулятора

Режим разряда

ток, А

длительность, ч

ток, А

конечное напряжение, В

емкость, А·ч.

НКГ-30С

1,2

3,0

15

9,0

1,0

30

НКГ-110СА

1,2

30,0 ± 1,5

до срабатывания ИКЗ, но не более 74

30,0

1,0

110

Аккумуляторы работоспособны в любом положении в пространстве.

ПРИЛОЖЕНИЕ 5

(справочное)

БАТАРЕИ «Буй-1М», «Знак-1М», «Лиман» и «Бакен ВЦ»

1. ТЕХНИЧЕСКИЕ ДАННЫЕ БАТАРЕЙ

1.1. Батареи «Буй-1М», «Знак-1М»

Электрические характеристики батареи при температуре (25 ± 10) °С при прерывистом режиме разряда с отношением времени разряда ко времени паузы, равным 1 : 3, и минимальной длительностью разряда 0,5 с в течение 24 ч через сутки указаны в табл. 1

Таблица 1

Наименование батарей

Электрические характеристики свежеизготовленных батарей

Электрические характеристики в конце срока сохраняемости

Сопротивление внешней цепи, Ом

Конечное напряжение, В

начальное напряжение, В, не менее

продолжительность разряда, ч, не менее

начальное напряжение, В, не менее

продолжительность разряда, ч, не менее

Буй-1М

1,5

2500

1,4

2000

3

0,9

Знак-1М

1,5

35000

1,4

2500

3

0,9

Примечания: 1. К свежеизготовленным относятся батареи, с даты изготовления которых прошло не более 30 суток.

2. Продолжительность разряда батареи, «Знак-1М» при минус 30 °С должна быть не менее 20 % от величин, указанных в табл. 1

1.2. Батареи «Бакен ВЦ»

Электрические параметры свежеизготовленных батарей и в конце срока сохраняемости при прерывистом и непрерывном режиме разряда по 104 в сутки при температуре окружающего воздуха (20 ± 5) °С и относительной влажности не менее 60 % указаны в табл. 2.

Таблица 2

Наименование параметра

Норма для батарей

Бакен ВЦ

Бакен ВЦ1

Бакен ВЦ3

Начальное напряжение, В, не менее

свежеизготовленные

в конце сохраняемости

свежеизготовленные

в конце сохраняемости

свежеизготовленные

в конце сохраняемости

1,3

1,2

2,6

2,4

2,6

2,4

Конечное напряжение, В

1

1

2

2

2

2

Емкость при непрерывном разряде током: 0,5А, А·ч

535

500

-

-

-

-

0,24 А, А·ч

-

-

250

250

-

-

Емкость при прерывистом (проблесковом) разряде током 0,24 А, А·ч

-

-

-

-

120

110

1.3. Батарея «Лиман»

1.3.1. Электрические параметры батареи при температуре окружающего воздуха () °С соответствуют указанным в табл. 3.

Таблица 3

Электрические параметры

Свежеизготовленная батарея

В конце гарантийного срока хранения

не менее

Начальное напряжение разряда, В

1,30

1,25

Номинальная емкость при разряде на 5 Ом, непрерывно, А·ч

450

360

Емкость при разряде на 2 Ом по 104 в сутки, А·ч

400

320

Конечное напряжение разряда, В

0,95

0,95

Примечание: 1. К свежеизготовленной относится батарея, поставленная на испытания не ранее 3 и не позднее 30 суток со дня ее изготовления

2. Емкость батареи при температуре минус 15 °С составляет не менее 30 % от указанной в табл. 3.

ПРИЛОЖЕНИЕ 6

(справочное)

ПРОБЛЕСКОВЫЕ АППАРАТЫ ТИПА БЭПА-4, АП, АП-2, ФАУСП, ПРОБЛЕСК-3

1. КРАТКИЕ ТЕХНИЧЕСКИЕ ДАННЫЕ ПРОБЛЕСКОВЫХ АППАРАТОВ

1.1. Аппараты БЭПА-4 выпускают в двух вариантах: БЭПА-406 и БЭПА-412 с выходным напряжением 6 и 12 В и допустимой мощностью ламп 6 и 23 Вт соответственно. Для аппарата БЭПА-412 допускается применение маячных ламп других типов с максимальной мощностью не более 40 Вт. Нестабильность номинального напряжения на маячной лампе - не более ± 2 %. Нестабильность периода характеристики огня - не более ± 5 %. Аппарат сохраняет работоспособность при напряжении 5,4 и 11 В.

Питание аппарата от источника постоянного тока (аккумуляторы, батареи, выпрямитель ВСП, РИТЭГ) напряжением от 7 до 15 В для БЭПА-406, а для БЭПА-412, соответственно - от 13 до 30 В.

Комплектность поставки БЭПА-4: проблескатор, лампоменятель, светодатчик.

Аппарат обеспечивает коммутацию маячных ламп накаливания следующих типов:

БЭПА-412 - ММ12-12, ММ12-18 или ММ 12-23,

БЭПА-406 - ММ6-3 или ММ6-6.

Для аппарата БЭПА-412 можно применять маячные лампы других типов с максимальной мощностью не более 40 Вт.

Включение-выключение аппарата световыключателем происходит при освещенности:

в нормальных климатических условиях - от 40 до 70 люкс, при всех дестабилизирующих факторах - от 20 до 120 люкс.

Аппарат формирует проблесковые, группопроблесковые, затмевающие и комбинированные характеристики огня с длительностью проблесков, пауз и периода, кратной 0,25 с.

Лампоменятель аппарата на шесть ламп обеспечивает автоматическую замену рабочей (верхней) лампы при ее перегорании на одну из резервных.

Аппарат БЭПА-406 может встраиваться внутрь маячных светооптических аппаратов типов ЭМ-100, ЭМ-140, ЭМ-200, ЭМС-120, ЭМС-210, а аппарат БЭПА-412 - в маячные светооптические аппараты типов ЭМ-140, ЭМ-200, ЭМ-300, ЭМ-120; ЭМС-210; ЭМС- 350.

Проблесковый аппарат может устанавливаться в светооптические аппараты с учетом наличия светофильтра или без него:

со стандартным светофильтром БЭПА-412 - ЭМ-300; ЭМС- 120; ЭМС-210; ЭМС-350;

БЭПА-406 - ЭМ-200; ЭМС-120; ЭМС-210;

с нестандартным светофильтром БЭПА-412 - ЭМ-200 со светофильтром диаметром 145 мм;

БЭПА-406 - ЭМ-140 со светофильтром диаметром 100 мм;

без светофильтра БЭПА-412 - ЭМ-140, БЭПА-406 - ЭМ-100.

Аппарат БЭПА-4 обеспечивает работу в режиме створного огня с синхронизацией по периоду характеристики огня.

Среднее время безотказной работы - не менее 20000 часов, а средний срок службы до списания не менее 10 лет.

1.2. Аппараты АП напряжением 2,5 и 6 В (АП-2,5; АП-6), которые устанавливают в светооптических фонарях ЭМ-100; ЭМ-140, состоят из проблескатора, светодатчика и лампоменятеля на две лампы.

Напряжение питания аппарата АП-2,5 - от 3 до 5 В, АП-6 - от 6,5 до 9 В. Нестабильность напряжения на лампе - не более ± 10 %. Внутри аппарата находится стабилизатор напряжения. Питание - от батарей.

1.3. Аппараты АП-2, выпускаемые в двух вариантах исполнения АП-206 и АП-212, устанавливают внутри светооптических фонарей типов ЭМ и ЭМС, а также ледовых светящих буев. Аппарат состоит из трех составных узлов, объединенных в единую (разборную) конструкцию: проблескатора, ламподержателя и светодатчика. Аппарат АП-2 рассчитан на применение двухнитевых галогенных ламп накаливания или однонитевой лампы, для чего в групповом ЗИП предусмотрен патрон для однонитевой лампы.

Питание аппарата от источника постоянного напряжения - от 7 до 15 В для АП-206, а для АП-212, соответственно - от 13,0 до 29,0 В. При пониженном напряжении питания (6,0 В для АП-206 и 11 В для АП-212) аппарат сохраняет работоспособность.

Аппарат обеспечивает коммутацию маячных ламп следующих типов:

АП-206 - МГ 6/10 + 10; МГ 6/15 + 15; МГ 6/25 + 25; АП-212 - МГ 12/20 + 20.

Аппарат АП-212 допускает коммутацию ламп мощностью до 40 Вт. Нестабильность номинального напряжения на лампе ± 0,12 В (АП-206) и ± 0,24 (АП-212). Нестабильность периода характеристики огня - не более 0,1 %.

Среднее время безотказной работы - не менее 20000 часов.

1.4. Аппарат «Проблеск-3» предназначен для автоматического управления мощными маячными лампами накаливания. В зависимости от источника питания аппарат имеет три варианта исполнения: «Проблеск-3032» для ламп с номинальным напряжением 32 В мощностью от 50 до 250 Вт совместно с лампоменятелем ЛМТ-32-4, питаемом от источника постоянного тока с напряжением (35 ± 7) В;

«Проблеск-3110» - для ламп с номинальным напряжением 110 В мощностью от 500 до 1000 Вт совместно с лампоменятелем ЛМ2-110, питаемом от источника постоянного тока с напряжением (110 ± 22) В;

«Проблеск-3220» - для ламп с номинальным напряжением 220 В мощностью от 100 до 2000 Вт совместно с лампоменятелем ЛМ2-220, питаемом от сети переменного тока с напряжением (220 ± 44) В частотой 50 Гц.

Аппарат формирует характеристики огня с кратным соотношением минимальной длительности проблеска и темноты к периоду со следующими параметрами: период от 1 до 60 с, длительность проблеска от 0,5 до 10 с и количество проблесков от 1 до 10. Нестабильность периода характеристики огня не более 1 %. Нестабильность номинального напряжения на лампе в НКУ не более 5 %.

Аппарат «Проблеск-3» обеспечивает работу в режиме створного огня с синхронизацией по периоду характеристики огня и замену с помощью лампоменятеля перегоревшей основной лампы на резервную.

1.5. Фотоавтоматы серии ФАУСП-3М и ФАУСП-4М предназначены для автоматического управления сигнальными огнями внутренних водных путей, но благодаря простоте и малым габаритам они используются для навигационного оборудования морских путей. Серии ФАУСП объединяют несколько типов фотоавтоматов, различающихся входным и выходным напряжением и создаваемыми характеристиками огня.

Аппараты серии ФАУСП обеспечивают отключение огня в светлое время суток, а также постоянный и проблесковый режимы горения источника света.

Выпускают аппараты с выходным напряжением питания ламп 2,5; 6; 12 и 220 В и допустимой мощностью нагрузки для серии ФАУСП-3М от 1,12 до 6,0 Вт;

для ФАУСП-4М тип НУ-12 - не более 25 Вт; тип НГУ-220 - не более 500 Вт.

Минимальное напряжение питания, при котором фотоавтомат сохраняет работоспособность серии ФАУСП-3М (2,5; 6) - 2,0 и 4,5 В соответственно, серия ФАУСП-4М тип НУ-12 - 7 В; тип НГУ-220 - 180 В.

Ток, потребляемый фотоавтоматом от источника питания при отключенной лампе (в дневное время):

серии ФАУСП-3М с номинальным напряжением 2,5 В - 15 мА, с номинальным напряжением 6 В - 20 мА; серии ФАУСП-4М тип НУ 12 - 30 мА; серии ФАУСП-4М тип НГУ-220 - 70 мА.

2. РЕКОМЕНДАЦИИ О ПОРЯДКЕ ПРОВЕРКИ РАБОТЫ АППАРАТА

Порядок проверки следующий:

измерить напряжение питания аппарата; затемнить окно светодатчика и измерить период характеристики с помощью ручного секундомера. Обратить внимание на правильность формирования проблесковой характеристики; измерить напряжение на лампе;

проверить работу лампоменятеля, для чего ламповый блок повернуть на небольшой угол до размыкания контактов питания лампы, при этом должна произойти смена лампы;

проверить работу светодатчика (при освещении датчика работа лампы должна прекратиться);

смена элементов, а также изменение мощности коммутируемых ламп или изменение проблесковой характеристики, вызывает необходимость подстройки выходных параметров аппарата.

ПРИЛОЖЕНИЕ 7

(обязательное)

НОРМЫ СОПРОТИВЛЕНИЯ ИЗОЛЯЦИИ

Электрооборудование

Сопротивление изоляции (в нагретом состоянии), мОм

нормальное значение

предельно допустимое значение

Электроаппаратура до 100 В

0,5 и выше

до 0,06

от 101 до 500 В

1,0 и выше

до 0,2

Кабельные сети до 100 В

0,3 и выше

до 0,06

от 101 до 220 В

0,5 и выше

до 0,2

Аккумуляторы щелочные при отключенных потребителях до 24 В

0,1 и выше

до 0,02

от 25 до 220 В

0,5 и выше

до 0,1

ПРИЛОЖЕНИЕ 8

(рекомендуемое)

ПЕРЕЧЕНЬ ИНВЕНТАРЯ, ИНСТРУМЕНТА И ЗАЩИТНЫХ ПРИСПОСОБЛЕНИЙ, РЕКОМЕНДУЕМЫХ ДЛЯ ПРИМЕНЕНИЯ ПРИ ПРОИЗВОДСТВЕ РАБОТ ПО ОЧИСТКЕ И ОКРАСКЕ СРЕДСТВ НАВИГАЦИОННОГО ОБОРУДОВАНИЯ.

Наименование

Стандарт, ТУ

Применение

Кирка для обивки ржавчины

-

Удаление ржавчины, старой краски, загрязнений из язв и углублений

Скребок двухсторонний

-

То же

Щетка проволочная

-

Удаление плохо держащейся краски, слабого налета ржавчины

Шпатели стальные малярные

ГОСТ 10778-83

Очистка от различных загрязнений, обрастаний и ржавчины

Машина ручная, пневматическая, комбинированная, зачистная МПК

ТУ 31.709-78

Очистка стальных поверхностей от ржавчины, старой краски

Пневматическая ротационная машина ПРМ-1

-

Очистка стальных поверхностей от ржавчины, старой краски

Щетка пневматическая угловая УПЩР-1

-

Очистка металлических поверхностей от ржавчины, старой краски

Пневматический молоток

 

Обивка ржавчины и старой краски

Пневматический молоток МЗС

-

Обивка ржавчины, старой краски в труднодоступных местах

Кисти-ручники КР-1 и КР-2

ГОСТ 10597-87

Грунтовка и окраска небольших поверхностей

Кисти маховые КМ

ГОСТ 10597-87

Грунтовка и окраска небольших поверхностей

Кисти флейцовые КФ

- » -

Обработка свежеокрашенных поверхностей (сглаживание следов кисти и получение гладкой глянцевой поверхности)

Кисти филеночные круглые КФК и плоские КФП

- » -

Окраска мелких деталей

Кисть валиковая

ГОСТ 10831-87

Окраска больших поверхностей

Бак красконагнетательный C-383A (СО-12)

-

Подача окрасочного состава к распылителю

Пистолет-краскораспылитель СО-6А

-

Выполнение окрасочных работ методом воздушного распыления

Пистолет-краскораспылитель СО-71

-

Окраска любых поверхностей при большом объеме работ

Противогаз

-

Одновременная защита органов дыхания и зрения от вредных веществ

Шланговый противогаз с механической подачей воздуха

-

Защита органов дыхания от любого газа, паров, дыма

Универсальный респиратор

-

Защита органов дыхания от пыли, тумана, паров, газов

Респиратор для маляров-пульверизаторщиков

-

Защита органов дыхания от вредных газов и пыли

Респиратор фильтрующий противогазовый РПГ-А

ГОСТ 12.4.004-74

Защита органов дыхания от воздействия вредных газов и паров

Перчатки резиновые

-

Защита рук при подготовительных работах, чистке кистей, тары из-под лакокрасочных материалов

Очки защитные

ГОСТ 12.4.003-80

Защита глаз спереди и с боков от твердых частиц

Щиток наголовный ЩН-7 с прозрачным экраном

-

Защита глаз и лица от осколков, ржавчины, брызг и едких жидкостей

ПРИЛОЖЕНИЕ 9

(справочное)

ТЕХНИЧЕСКИЕ ХАРАКТЕРИСТИКИ ЛАКОКРАСОЧНЫХ МАТЕРИАЛОВ

Наименование материала

Расход при нанесении, г/м2

Разбавитель, разбавление в %, не более

кистью

валиком

краскораспылителем

Грунт ВЛ-02*

70

80

80

РФГ-1, 648, Р6 - по 20; ксилол - 10

Грунт ВЛ-023*

110-130

80

130-160

РФГ-1,648, Р6 - по 30

Грунт ФЛ-03К

110-120

90-110

120-150

Ксилол, сольвент каменноугольный или смесь сольвента с уайт-спиритом 1 : 1 - по 20

Грунт № 83

120-130

-

-

Скипидар, уайт-спирит по 5

Грунт ЭФ-65

100-120

130-150

130-150

Ксилол или смесь ксилола с бутилацетатом 1 : 1 по 12

Грунтовка АК-070

120**

-

-

Р5

Грунтовка АС-71

100-130

-

130-150

Ксилол

Краска ЭКЖС-40*

100

100

100-130

Сольвент, ксилол - по 8

Краска ХС-527

160-180**

-

180-220

Р-4

Краска ХВ-5153

150-180

130-150

200-240

Толуол, ацетон, этилацетат, скипидар, сольвент - по 10

Эмаль МС-17

100-110

110-120

130

Ксилол, сольвент - по 10

Эмаль ПФ-115

110-130

90-130

110-140

Уайт-спирит, сольвент, скипидар - по 10

Эмаль ХВ-124

170-190

-

200-240**

Р-4, Р-5

Эмаль ПФ-167

100-115

130-140

110-140

Уайт-спирит - 12

Эмаль ХС-510

160-180*

160-180**

190-230

Р-4, сольвент, ксилол

ХС-413

-

-

450-500

Ксилол, толуол Р-4

ХС-720

160-180

200-230

190-220

Сольвент, Р-4

ХВ-113

130-150

150-200

150-200

Сольвент, Р-24

ХВ-110

130-150

- » -

- » -

То же

ХВ-1100

- » -

- » -

- » -

Ацетон, ксилол, Р-4

Эмаль АС-554

-

-

200-230

Ксилол

Лак АС-528

100

-

-

Ксилол

Эмаль АС-599

100-130

130-150

130-150

Р-5

Лак АО-528 кистевой

100

-

-

Сольвент

Лак каменно-угольный марки «морской»

150

150

180

Сольвент, ксилол, - по 20

* Краски, допускающие их нанесение при низких температурах:

ЭКЖС-40 - до - 25 °С

ВЛ-02, ВЛ-023 - 10°С

Лак каменно-угольный марки «морской» - 20 °С.

** Расход лакокрасочных материалов указан ориентировочно.

ПРИЛОЖЕНИЕ 10

(справочное)

РЕЦЕПТУРА ЛАКОКРАСОЧНЫХ МАТЕРИАЛОВ, ИЗГОТОВЛЯЕМЫХ НА МЕСТЕ ПОТРЕБЛЕНИЯ

Наименование грунта, краски

Наименование компонентов

Содержание по массе, %

Стандарт, ТУ

Грунт смешанный № 83

Сурик свинцовый марки М-1 или М-2

35+2,5

ГОСТ 19151-73

 

Сурик железный сухой марки АК

35+2,5

ГОСТ 8135-74

 

Олифа натуральная льняная

30±5,0

ГОСТ 7931-76

Краска этинолевая ЭКЖС-40

Лак-этиноль

60-65

ТУ 6-01-985-75

 

Сурик железный сухой марки АХ

40-35

ГОСТ 8135-74

* Смешанный грунт для грунтовки деревянных поверхностей следует разводить олифой натуральной льняной в соотношении 1 : 2.

ПРИЛОЖЕНИЕ 11

(справочное)

ИНСТРУКЦИЯ ПО ПРИМЕНЕНИЮ ДНЕВНЫХ ФЛУОРЕСЦЕНТНЫХ ЭМАЛЕЙ

Дневные флуоресцентные эмали изготавливаются и поставляются в готовом к употреблению виде. Для окраски используются следующие лакокрасочные материалы:

Наименование и марка материала

Нормативные документы

Цвет покрытия

Назначение

Дневная флуоресцентная эмаль АС-554

ТУ 6-10-772-79

Оранжево-красный

Для окраски в целях улучшения видимости

Дневная флуоресцентная эмаль АК-5173

ТУ 6-10-11-40-68-81

Оранжево-красный, светло-зеленый, лимонно-желтый

Для окраски в целях улучшения видимости

Эмаль АС-599

ТУ 6-10-849-80

Белый

В качестве подслоя под флуоресцентную эмаль

или АС-071

ТУ 6-10-1020-79

 

То же

или АС-131

ТУ 6-10-896-75

 

То же

Грунтовка АК-070

ОСТ 6-10-401-76

 

Для грунтования поверхностей

или ВЛ-02

ГОСТ 12707-77

 

 

Лак-фильтр АС-528

ТУ 6-10-774-79

Бесцветный

Для защиты эмали от выцветания

Ксилол

ГОСТ 9949-76

 

Для разбавления ДФЭ, грунта ВЛ-02 и лака AC-528

Растворитель Р-5

ГОСТ 7827-74

 

Для разбавления белых эмалей АС-599, АС-071, АС-131

Бензин Б-70

ГОСТ 1012-72

 

Для обезжиривания поверхностей перед окраской

Дневные флуоресцентные эмали перед употреблением необходимо разводить ксилолом до рабочей вязкости 18 - 20 с по вискозиметру ВЗ-4 для нанесения краскораспылителем. Применять для их разбавления какие-либо другие растворители запрещается.

Последовательность нанесения ДФЭ на поверхность предусматривает:

слой грунтовки АК-070 (ВЛ-02, ФЛ-03К) с просушкой в течение 1 - 2 ч.;

два последовательных слоя белой эмали АС-599 (АС-071, АС-131) с промежуточной просушкой 3 - 4 ч;

слегка отшлифовать поверхность наждачной шкуркой № 320 и удалить продукты зачистки волосяной щеткой;

нанести на белую эмаль последовательно три слоя дневной флуоресцентной эмали, просушив каждый слой в течение 2 ч, последний слой просушить 4 - 5 ч.

В случае загрязнения покрытия из белой эмали или дневной флуоресцентной эмали в процессе окраски допускается промывка его от загрязнения чистым бензином Б-70;

нанести последовательно на покрытие из эмали два слоя защитного лака-фильтра АС-528, просушив каждый слой в течение 2 ч.

Перед эксплуатацией буи и вехи, окрашенные дневными флуоресцентными эмалями, должны быть выдержаны в течение 5 суток при температуре воздуха 10 - 35 °С.


ПРИЛОЖЕНИЕ 12

(рекомендуемое)

ЭСКИЗЫ ЦИФР ДЛЯ ИЗГОТОВЛЕНИЯ ШАБЛОНОВ

Номер шрифта

а

b

с

d

е

e1

K

m

m1

m2

m3

m4

n

n1

n2

n3

h

R1

R2

R3

R4

R5

360*

360

50

65

100

5

10

220

150

110

120

170

165

80

125

190

180

95

50

40

90

45

95

250*

250

30

30

75

4

8

170

90

75

90

120

115

60

95

120

120

75

45

30

60

45

75

* Цифры шрифтом 360 наносят на номерные щиты морских и канального большего буев, а также на корпуса ледовых фигур.

** Цифры шрифтом 250 наносят на корпуса канального среднего и канального малого буев, а также на номерные щиты и корпуса вех.


ПРИЛОЖЕНИЕ 13

(справочное)

НОРМЫ СНАБЖЕНИЯ РАСХОДНЫМИ МАТЕРИАЛАМИ НА ГОД

1. Выписка из сборника согласно приказа ГК ВМФ 1986 г. № 267.

Расход этилового спирта для:

знака электрического - 0,3 кг;

буя - 0,5 кг.

2. Спирт выделяется на протирку действующих светооптических аппаратов, аппараты-дублеры обеспечиваются по той же норме в период их действия за счет нормы на основной аппарат.

3. Светооптические аппараты, выставленные для временного действия, обеспечиваются спиртом только в период их работы.

Протирка светооптических аппаратов производится перед их зажиганием.

ПРИЛОЖЕНИЕ 14

(рекомендуемое)

__________________________

             (наименование предприятия)

__________________________ технический участок

ФОРМУЛЯР-КАРТОЧКА
светящего/несветящего буя

Заполняется в двух экземплярах:

1-й экз. - для технического участка (дистанции пути), 2-й экз. - для предприятия.

Наименование буя ____________________ Море ______________________________

Местоположение: широта __________________ долгота ________________________

Наименование водного участка _____________________________________________

Наименование ограждаемой опасности _________________ Тип буя ______________

Кем изготовлен _______________ Год постройки ________ Окраска буя ___________

Основные размеры буя: диаметр _____________________ осадка _________________

высота надстройки от уровня воды __________________________________________

Вес буя без оборудования ________ Тип светооптического аппарата ______________

Цвет огня ________________________________________________________________

Характеристика огня: ____________________ проблесков в минуту _______________

Оптическая дальность видимости огня ________ Источник света _________________

Тип проблескового аппарата ______ № _____ Тип регулятора давления ___ № _____

Дополнительная аппаратура ________________________________________________

Источники питания _________ Количество их ____________ Период действия огня в течение года ________________________________________________________________

Период действия буя при полной зарядке _____________________________________

Глубина постановки, м ______ Грунт ___________ Тип якоря ____________________

Масса якоря ___________ Якорная цепь: калибр _____________ длина ______________

Звукосигнальное устройство __________________________________________________

Кто наблюдает за действием буя ____________________________________________

Дополнительные сведения _________________________________________________

Составлен ______________ 20 ___ г.

Заполнил ________________________________________________________________

                                                                             (должность, фамилия, подпись)

Чертеж буя с основными размерами
Масштаб 1 : 100

Фотография буя на плаву (9×12)

Схема расположения ориентиров относительно места постановки буя

Произведенные ремонтные работы (когда, что, кем)

ПРИЛОЖЕНИЕ 15

(рекомендуемое)

__________________________

             (наименование предприятия)

__________________________ технический участок

ФОРМУЛЯР-КАРТОЧКА
вехи (штатной)

Заполняется в двух экземплярах:

1-й экз. - для технического участка (дистанции пути), 2-й экз. - для предприятия.

Наименование вехи ____________________ Море _____________________________

Местоположение: широта __________________ долгота ________________________

Наименование водного участка _____________________________________________

Наименование ограждаемой опасности или прохода ___________________________

Тип вехи ________________________________________________________________

Глубина постановки, м ________________ Грунт ______________________________

Тип якоря ___________________________ Масса якоря ________________________

Якорная цепь: калибр _________________ длина ______________________________

Кто наблюдает за действием вехи ___________________________________________

Дополнительные сведения _________________________________________________

Составлен «____» ______________ 20 ___ г.

Заполнил ________________________________________________________________

                                                                             (должность, фамилия, подпись)

ПРИЛОЖЕНИЕ 16

(рекомендуемое)

АКТ

ввода в эксплуатацию СНО _________________________________________________

Море __________________ Широта _______________ Долгота ___________________

Составлен «____» _________ 20 ___ г. комиссией в составе ______________________

_________________________________________________________________________

(ф. и. о., занимаемая должность)

о нижеследующем: ________________________________________________________

_________________________________________________________________________

_________________________________________________________________________

_________________________________________________________________________

ЧАСТЬ I

1. Введен в эксплуатацию навигационный знак ________________________________

_________________________________________________________________________

(название и положение, широта, долгота, описание, высота сооружения от основания)

ЧАСТЬ II

1. Введен в эксплуатацию створный знак _____________________________________

                                                                                                                                 (название)

передний ________________________________________________________________

                                                      (широта, долгота, описание, высота сооружения от основания)

_________________________________________________________________________

задний __________________________________________________________________

                                                      (широта, долгота, описание, высота сооружения от основания)

_________________________________________________________________________

ЧАСТЬ III

Введен в эксплуатацию огонь, расположенный ________________________________

_________________________________________________________________________

(название) (остров, мыс, бухта и т.д.)

и имеющий характеристику: ________________________________________________

_________________________________________________________________________

цвет огня __________________ проблеск ________________ с, темнота ____________

_______________ с, _______________ период _______________ с ________________

Светооптический аппарат __________________________________________________

                                                                                                                         (тип)

Светооптический аппарат __________________________________________________

Аппарат проблесковый _________________________ № ________________________

                                                                                   (тип)

Аппарат проблесковый _________________________ № ________________________

Горелка ____________________________ л/ч, лампа ___________________________

Горелка ____________________________ л/ч, лампа ________________________ шт.

Светофильтр _____________________________________________________________

                                                                                          (цвет, диаметр, высота)

Светофильтр _____________________________________________________________

2. Источник питания светооптического аппарата _______________________________

3. Маячный огонь обеспечен газом или электроэнергией по _____________ 20 ____ г.

4. Пассивный радиолокационный отражатель типа _____________ шт. ____________

5. При вводе в эксплуатацию СНО произведены следующие работы по текущему ремонту: ___________________________________________________________________

Подписи:

ПРИЛОЖЕНИЕ 17

(рекомендуемое)

ФОРМУЛЯР-КАРТОЧКА
светящего/несветящего навигационного СТВОРА

Заполняется в двух экземплярах:

1-й экз. - для технического участка (дистанции пути), 2-й экз. - для предприятия.

Наименование створа ____________________ № ______________ Море ___________

Гидрографический район ____________________ Участок ______________________

Наименование водного участка _____________________________________________

Наименование ограждаемого прохода ________________________________________

ПЕРЕДНИЙ ЗНАК

Местоположение: широта ________________ долгота _______________ от Гринвича

Описание знака __________________________________________________________

Год постройки _____________________ Год включения огня ____________________

Основные размеры: высота основания знака от уровня воды _____________________

высота сооружения от основания ____________________________________________

высота центра огня над уровнем воды ________________________________________

Ширина сооружения: наибольшая _________________ наименьшая _______________

Окраска знака ___________________ Материал знака ___________________________

Тип светооптического аппарата ____________ Проблесковый аппарат __________ №

Регулятор давления _______________ № _____________ Тип горелки _____________

Цвет огня ________________________________________________________________

Характеристика _________________________________ проблесков в минуту _______

Оптическая дальность видимости огня _______________________________________

Дневная видимость сооружения _____________________________________________

Дополнительная аппаратура ________________________________________________

Источники питания ____________________________ Количество их ______________

Период действия огня при полной зарядке ____________________________________

Сектор видимости огня с моря ______________________________________________

Кто наблюдает за действием огня ____________________________________________

ЗАДНИЙ ЗНАК

Местоположение: широта ________________ долгота _______________ от Гринвича

Описание знака __________________________________________________________

Год постройки ______________________ Год освещения _______________________

Основные размеры: высота основания знака от уровня воды _____________________

высота сооружения от основания ____________________________________________

высота центра огня над уровнем воды ________________________________________

Ширина сооружения: наибольшая _________________ наименьшая _______________

Окраска знака ___________________ Материал знака ___________________________

Тип светооптического аппарата ____________ Проблесковый аппарат __________ №

Регулятор давления _______________ № _____________ Тип горелки _____________

Цвет огня ________________________________________________________________

Оптическая дальность видимости огня _______________________________________

Дневная видимость сооружения _____________________________________________

Дополнительная аппаратура ________________________________________________

Источники питания ____________________________ Количество их ______________

Период действия огня при полной зарядке ____________________________________

Сектор видимости огня с моря ______________________________________________

Расстояние между створными знаками _______________________________________

Дневная чувствительность створа в конце ходовой части ________________________

Расстояние конца ходовой части створа от переднего знака ______________________

Ширина канала ___________________________________________________________

Ночная чувствительность створа в конце ходовой части ________________________

Когда и кем произведен расчет створа ________________________________________

Кто наблюдает за действием огня ____________________________________________

Составлен _______________ 20 ____ г.

Заполнил ________________________________________________________________

(должность, фамилия, подпись)

Передний знак

Схематический чертеж сооружения с основными размерами

Фотография знака с моря (9×12)

Задний знак

Схематический чертеж сооружения с основными размерами

Фотография знака с моря (9×12)

Произведенный ремонт на створных знаках ___________________________________

_________________________________________________________________________

(дата ремонта, характер произведенного ремонта, кем произведен ремонт)

_________________________________________________________________________

_________________________________________________________________________

СОДЕРЖАНИЕ

1. Общие положения. 1

1.1. Назначение средств навигационного оборудования. 1

1.2. Требования к средствам навигационного оборудования. 2

1.3. Режим работы СНО.. 3

2. Морские навигационные створы и знаки. 4

2.1. Морские навигационные створы.. 4

2.2. Портовые навигационные знаки. 8

2.3. Морские навигационные знаки. 9

2.4. Требования к установке навигационных знаков. 10

2.5. Обслуживание морских навигационных знаков. 11

2.6. Резервный комплект оборудования знаков. 12

2.7. Ремонт знаков и оборудования. 12

3. Плавучие предостерегательные знаки. 13

3.1. Система плавучего ограждения. Система МАМС, Регион А.. 13

3.2. Латеральные знаки. 14

3.3. Кардинальные знаки. 15

3.4. Знаки отдельных опасностей малых размеров. 17

3.5. Осевые знаки (знаки, обозначающие начальные точки и ось фарватера или канала и середину прохода) 17

3.6. Знаки специального назначения. 18

3.7. Новые опасности. 19

3.8. Типы плавучих предостерегательных знаков. 19

3.9. Выбор типа и расстановка плавучих предостерегательных знаков. 26

3.10. Подготовка плавучих предостерегательных знаков к постановке. 27

3.11. Погрузка и транспортирование плавучих предостерегательных знаков. 28

3.12. Способы определения места постановки плавучих предостерегательных знаков. 28

3.13. Постановка плавучих предостерегательных знаков. 29

3.14. Эксплуатационные и навигационные требования к плавучим предостерегательным знакам.. 31

3.15. Обслуживание плавучих предостерегательных знаков в навигационный период. 31

3.16. Особенности обслуживания ледовых буев. 32

3.17. Ремонт действующих плавучих предостерегательных знаков в навигационный период. 33

3.18. Съемка и транспортирование плавучих предостерегательных знаков на базу. 33

3.19. Запасной и резервный комплекты плавучих предостерегательных знаков и оборудования. 34

3.20. Хранение плавучих предостерегательных знаков и оборудования. 34

3.21. Ремонт плавучих предостерегательных знаков, оборудования. 35

4. Электрическое оборудование знаков СНО.. 35

4.1. Общие положения. 35

4.2. Краткое описание электрооборудования знаков. 36

4.3. Указания мер безопасности. 36

4.4. Техническое обслуживание. 38

5. Якорное устройство плавучих предостерегательных знаков. 40

5.1. Выбор якорного устройства. 40

5.2. Обслуживание якорного устройства. 42

6. Окраска морских навигационных и плавучих предостерегательных знаков. 42

6.1. Организация окрасочных работ. 43

6.2. Общие требования к подготовке поверхностей плавучих предостерегательных и морских навигационных знаков под окраску. 43

6.3. Лакокрасочные материалы, подготовка их к нанесению.. 44

6.4. Особенности окраски различных поверхностей плавучих предостерегательных знаков. 44

6.5. Рекомендации по окраске морских навигационных знаков. 46

6.6. Нанесение лакокрасочных материалов. 47

6.7. Нанесение номерных знаков на плавучие предостерегательные знаки. 47

6.8. Окраска якорных цепей. 48

6.9. Правила приемки и методы контроля производства окрасочных работ. 49

6.10. Требования безопасности при организации и проведении окрасочных работ. 49

7. Основные положения по организации обслуживания СНО.. 49

7.1. Планирование эксплуатации. 49

7.2. Способы обслуживания. 50

Приложение 1 Запрещающий знак «ЯКОРЯ НЕ БРОСАТЬ» (подводный переход) 51

Приложение 2 Характеры огней плавучих предостерегательных знаков системы МАМС регион А в водах РФ и их условное обозначение на картах. 52

Приложение 3 Варианты расстановки плавучих предостерегательных знаков системы МАМС, регион А в водах РФ.. 54

Приложение 4 Щелочные аккумуляторы.. 56

Приложение 5 Батареи «Буй-1М», «Знак-1М», «Лиман» и «Бакен ВЦ». 57

Приложение 6 Проблесковые аппараты типа БЭПА-4, АП, АП-2, ФАУСП, ПРОБЛЕСК-3. 58

Приложение 7 Нормы сопротивления изоляции. 60

Приложение 8 Перечень инвентаря, инструмента и защитных приспособлений, рекомендуемых для применения при производстве работ по очистке и окраске средств навигационного оборудования. 60

Приложение 9 Технические характеристики лакокрасочных материалов. 61

Приложение 10 Рецептура лакокрасочных материалов, изготовляемых на месте потребления. 62

Приложение 11 Инструкция по применению дневных флуоресцентных эмалей. 62

Приложение 12 Эскизы цифр для изготовления шаблонов. 64

Приложение 13 Нормы снабжения расходными материалами на год. 65

Приложение 14 Формуляр-карточка светящего/несветящего буя. 65

Приложение 15 Формуляр-карточка вехи (штатной) 65

Приложение 16 Акт ввода в эксплуатацию СНО.. 66

Приложение 17 Формуляр-карточка светящего/несветящего навигационного створа. 67

 




Яндекс цитирования



   Copyright © 2007-2026,  www.tehlit.ru.

[ ѓосты, стандарты, нормативы, инструкции, правила, строительные нормы ]