//
ТехЛит.ру
- крупнейшая бесплатная электронная интернет библиотека для "технически умных" людей.
WWW.TEHLIT.RU - ТЕХНИЧЕСКАЯ ЛИТЕРАТУРА

:: Алготрейдинг::


АЛГОТРЕЙДИНГ
шаг за шагом
с нуля по урокам!

Торговые роботы на PYTHON, BackTrader,
Pandas, Pine Script для TradingView. Связка с брокерами, телеграм и легкими приложениями.


ГОССТРОЙ РОССИИ

НИИ КОММУНАЛЬНОГО ВОДОСНАБЖЕНИЯ
И ОЧИСТКИ ВОДЫ

МЕТОДИЧЕСКИЕ РЕКОМЕНДАЦИИ
ПО ОБЕСПЕЧЕНИЮ ВЫПОЛНЕНИЯ ТРЕБОВАНИЙ САНИТАРНЫХ ПРАВИЛ И НОРМ СанПиН 2.1.4.559-96 «ПИТЬЕВАЯ ВОДА. ГИГИЕНИЧЕСКИЕ ТРЕБОВАНИЯ К КАЧЕСТВУ ВОДЫ ЦЕНТРАЛИЗОВАННЫХ СИСТЕМ ПИТЬЕВОГО ВОДОСНАБЖЕНИЯ. КОНТРОЛЬ КАЧЕСТВА» НА ВОДОПРОВОДНЫХ СТАНЦИЯХ ПРИ ОЧИСТКЕ ПРИРОДНЫХ ВОД

Согласованы с Департаментом государственного
санитарно-эпидемиологического надзора Минздрава России
от 21.03.2000 г. № 111-10/07-04 и
утверждены постановлением Госстроя России
от 31 марта 2000 г. № 24

МОСКВА 2000

«Методические рекомендации» разработаны под руководством
д.т.н. В.Л. ДРАГИНСКОГО

Авторский коллектив:

НИИ КВОВ - д.т.н. В.Л. ДРАГИНСКИЙ и к.т.н. Л.П. АЛЕКСЕЕВА (разд. 1 - 5); к.т.н. В.М. КОРАБЕЛЬНИКОВ (разд. 5.1 - 5.3.1); к.т.н. Л.И. ВОЛЬФТРУБ (разд. 3.2 - 3.3); к.т.н. С.Ф. АБРАМОВИЧ, к.т.н. А.А. АСКЕРНИЯ (разд. 5.3.4); к.т.н. В.З. МЕЛЬЦЕР (разд. 3.4); к.т.н. Е.И. АПЕЛЬЦИНА (разд. 3.1); к.т.н. Я.Л. ХРОМЧЕНКО, к.м.н. Е.А. ДИДЕНКО, к.х.н А.И. МАКСИМОВ (разд. 6); к.т.н. С.Д. БЕЛЯЕВА и инж. Г.А. ОСИПОВ (разд. 4.2); к.т.н. М.А. МОРДЯСОВ (разд. 7.2);

ГНЦ РФ НИИ ВОДГЕО - д.т.н. А.Д. СМИРНОВ (разд. 4.1.2.1);

МГСУ - д.т.н. Г.И. НИКОЛАДЗЕ (разд. 5.3.1 - 5.3.2); к.т.н. В.В. КОЛЕСОВ (разд. 7.1);

МНИИГ им. Ф.Ф. Эрисмана - д.м.н. Г.М. ТРУХИНА (разд.3.6);

АКХ им. К.Д. Памфилова - к.т.н. Б.Л. РЕЙЗИН (разд. 3.7);

ГПУ «Институт МосводоканалНИИпроект» - к.т.н. И.Г. ИЩЕНКО и к.т.н. В. МИРКИС (разд. 3.3); к.т.н. О.Г. ПРИМИН, к.т.н. П.П. ПАЛЬГУНОВ и к.х.н. Л.А. ХРИСТИАНОВА (разд. 8).

«Методические рекомендации» предназначены для работников водопроводно-канализационного хозяйства и специалистов по водоснабжению различных организаций для решения проблем и задач в свете введения в действие СанПиНа и повышения требований к качеству питьевой воды.

СОДЕРЖАНИЕ

Введение. 2

1. Общие положения. 3

2. Первоочередные задачи. 4

2.1. Охрана водоисточников от загрязнения. 4

2.2. Использование подземных вод. 5

3. Повышение эффективности работы действующих водоочистных станций при использовании поверхностных водоисточников. 5

3.1. Реагентное хозяйство, коагулирование воды, смесители. 5

3.2. Камеры хлопьеобразования. 7

3.3. Отстойники и осветлители со слоем взвешенного осадка. 12

3.4. Фильтры.. 14

3.5. Контактное осветление воды.. 15

3.6. Обеззараживание воды.. 16

3.7. Стабилизационная и противокоррозионная обработка воды.. 20

4. Мероприятия по реконструкции водоочистных станций при использовании поверхностных водоисточников. 21

4.1. Очистка воды от антропогенных загрязнений. 22

4.1.1. Озонирование воды.. 22

4.1.2. Сорбционная очистка воды.. 24

4.1.3. Совместное применение озона и активного угля. 26

4.2. Обработка и утилизация осадков водоочистных станций. 27

4.2.1. Состав, свойства и количество образующихся осадков. 27

4.2.2. Способы обработки осадков. 28

4.2.3. Утилизация осадков. 30

4.2.4. Использование промывной воды.. 31

5. Рекомендации по очистке воды при использовании подземных водоисточников. 31

5.1. Общие рекомендации. 31

5.2. Обезжелезивание природных вод. 31

5.3. Специальные методы кондиционирования подземных вод. 32

5.3.1. Удаление марганца и железа. 32

5.3.2. Удаление сероводорода. 33

5.3.3. Обесфторивание воды.. 34

5.3.4. Применение метода обратного осмоса для удаления различных растворенных веществ. 34

5.3.5. Удаление органических загрязнений. 35

5.4. Использование водоочистного оборудования блочного типа для водоснабжения небольших городов и населенных пунктов, а также отдельных объектов. 35

6. Рекомендации по организации контроля качества питьевой воды в отношении химических загрязняющих веществ. 36

6.1. Введение. Структура нормативно-правовой базы.. 36

6.2. Особенности СанПиН 2.1.4.559-96. 36

6.3. Рекомендации по составлению программы проведения расширенных исследований воды.. 37

6.4. Выбор показателей для рабочей программы производственного контроля качества воды.. 43

6.5. Реализация требований СанПиН 2.1.4.559-96 для регионов, водоснабжение которых базируется на подземных источниках. 44

6.6. Оборудование лабораторий. 44

7. Потери и сохранение качества питьевой воды при ее транспортировании к потребителю.. 45

7.1. Рациональное использование питьевой воды.. 45

7.2. Системы подачи и распределения воды.. 46

8. Лицензирование и сертификация централизованных систем питьевого водоснабжения. 47

8.1. Общие положения. 47

8.2. Законодательство Российской Федерации в области лицензирования и сертификации. 47

8.3. Развитие законодательства в области лицензирования. 48

8.4. Законодательство Российской Федерации в области сертификации. 49

8.5. Требования к аттестации лабораторий. 50

Рекомендуемая литература. 51

ВВЕДЕНИЕ

В настоящее время системы централизованного водоснабжения, охватывающие 96 % городского и около 60 % сельского населения страны, далеко не везде подают доброкачественную питьевую воду.

Источниками централизованного водоснабжения служат поверхностные воды, доля которых в общем объеме водозабора составляет 68 %, и подземные воды - 32 %.

Практически все поверхностные источники водоснабжения в последние годы подверглись существенному воздействию вредных антропогенных факторов. Поэтому около половины населения России вынуждены использовать для питья воду, не отвечающую по ряду показателей гигиеническим требованиям, в связи с этим в ряде городов и регионов складывается напряженная ситуация с обеспечением населения водой питьевого качества.

Основными причинами сложившегося положения, помимо загрязнения водоисточников, являются неудовлетворительное состояние и повышенный износ систем централизованного водоснабжения - водоочистных сооружений, водопроводных сетей и оборудования на них.

Особенно актуальна проблема очистки воды в настоящее время, когда введен в действие новый нормативный документ СанПиН 2.1.4.559-96 «Питьевая вода. Гигиенические требования к качеству питьевой воды централизованных систем питьевого водоснабжения. Контроль качества», регламентирующий повышенные требования к качеству воды.

Так, наряду с основными общеизвестными показателями введены новые, которые ограничивают содержание токсичных и опасных для здоровья людей соединений, относящихся к антропогенным загрязнениям, наиболее часто присутствующим в источниках водоснабжения и в питьевой воде.

Существенное внимание уделяется органическим загрязнениям, ранее практически не контролируемым в питьевой воде. Вводится ограничение на показатель перманганатной окисляемости, характеризующий общее содержание в воде органических загрязнений (до 5 мг О2/л).

Ограничивается на весьма низком уровне содержание токсичных летучих хлорорганических соединений, которые могут как присутствовать в исходной воде, так и образовываться в процессе водоподготовки при обеззараживании воды хлором.

Установлены предельно допустимые концентрации (ПДК) на присутствие в питьевой воде токсичных и часто встречающихся пестицидов.

На более низком уровне, чем ранее нормировалось, в СанПиНе установлена ПДК на содержание в воде нефтепродуктов (0,1 мг/л). Кроме того, при необходимости осуществляется контроль за содержанием в питьевой воде ПАВ, фенолов, хлорфенолов и радиоактивных загрязнений.

Большое внимание при контроле качества воды уделяется бактериологическим показателям. Помимо известных микробиологических показателей, таких как общее микробное число (ОМЧ), нормируется целый ряд новых, характеризующих наличие в воде патогенных микроорганизмов, опасных для здоровья людей.

Контроль за качеством питьевой воды осуществляется в соответствии со специальной производственной программой, согласованной территориальными органами Госсанэпиднадзора Минздрава России и утверждаемой органами местного самоуправления, в которой устанавливается перечень контролируемых показателей качества воды, характерных для данного водоисточника. Впервые в отечественном нормативном документе реализована идея учета региональных особенностей качества питьевой воды, рекомендуемая руководством ВОЗ.

Как показывает опыт эксплуатации, действующие водопроводные станции, работающие по традиционной технологии и рассчитанные в основном на очистку воды от загрязнений природного происхождения, не всегда могут обеспечить глубокую очистку воды и удаление из нее химических загрязнений.

Утвержденные Минздравом России «Методические указания по внедрению и применению СанПиН 2.1.4.559-96...» (МУ 2.1.4.682-97, Москва, 1998 г.) предназначены для обеспечения реализации требований СанПиН в части производственного контроля за качеством воды централизованных систем питьевого водоснабжения и санитарно-эпидемиологического надзора за системами питьевого водоснабжения населения.

Настоящие «Методические рекомендации» направлены на оказание технической и технологической помощи специалистам при использовании нового нормативного документа.

В представленном материале изложен ряд технологических и конструктивных решений, направленных на интенсификацию процессов очистки воды, улучшение работы отдельных элементов очистных сооружений, повышение эффективности очистки воды на водоочистных станциях в целом. Предложены новые технологические схемы и решения по очистке природных вод, обеспечивающие получение высококачественной питьевой воды с учетом требований СанПиН 2.1.4.559-96.

1. ОБЩИЕ ПОЛОЖЕНИЯ

Подготовка водоочистных станций к работе с учетом требований СанПиН должна осуществляться в несколько этапов и по различным направлениям. Работа может выполняться организацией водопроводно-канализационного хозяйства (ВКХ) совместно со специализированными организациями, работающими в области коммунального и промышленного водоснабжения.

На первом этапе осуществляется проверка наличия следующих нормативных документов и технической документации в соответствии с МУ 2.1.4.682-97 (в случае их отсутствия эти документы подготавливаются):

- лицензии по эксплуатации систем водоснабжения, источников водоснабжения, гидротехнических сооружений, водопроводных очистных станций (постановление Российской Федерации от 2.11.1995 № 1073 «Об утверждении Положения о лицензировании деятельности по эксплуатации инженерных систем городов и населенных пунктов»);

- сертификатов гигиенических и соответствия на реагенты, материалы и пр., используемые на водоочистной станции, находящиеся в контакте с питьевой водой;

- технической документации на сооружения водоочистных станций и водоочистных сооружениях;

- свидетельства об аттестации лабораторий.

На втором этапе, выполняемом параллельно с первым, осуществляются обследование и оценка работы действующих водоочистных сооружений и их отдельных элементов. К основным работам этого этапа относятся:

- анализ и оценка качества воды водоисточника и очищенной воды на основании данных лабораторий организаций ВКХ, территориальных органов Госсанэпиднадзора Минздрава России, МПР России, Госкомэкологии России и др.;

- проведение расширенного химического анализа воды водоисточника и питьевой воды;

- разработка рабочей программы производственного контроля качества питьевой воды с выбором контролируемых для данной станции показателей;

- рекомендации по приборному оснащению производственных лабораторий на основании показателей, согласованных надзорными органами для включения в рабочую программу производственного контроля;

- отработка технологического режима очистки воды и составление технологических карт по отдельным процессам и сооружениям, в которых указываются: дозы реагентов (коагулянта, хлора, флокулянта и других, применяемых на станции); продолжительность отстаивания; фактические скорости фильтрации; интенсивность и периодичность промывок фильтрующей загрузки; периодичность удаления осадка из отстойников и пр.;

- оценка эффективности очистки воды по отношению ко всем нормируемым показателям, в том числе специфическим загрязнениям, имеющимся в воде водоисточника. В случае отсутствия данных и технологических решений по удалению специфических загрязнений они должны быть определены в процессе эксплуатации сооружений, а также предложена технология их удаления при существующей схеме очистки воды;

- анализ работы разводящей водопроводной сети города в отношении сохранения качества питьевой воды при ее транспортировании по наружным коммуникациям.

Результатом этого этапа является подготовка экспертного заключения по эффективности работы системы водоснабжения, в том числе водоочистной станции, ее техническому состоянию (включая коммуникации, трубопроводы, арматуру и оборудование станции).

В тех случаях, когда очистные сооружения работают с перегрузкой, необходимо выявить их оптимальную производительность и подготовить рекомендации по уменьшению фактической производительности за счет различных мероприятий: уменьшения непредвиденных расходов и утечек, сокращения подачи воды питьевого качества промышленным предприятиям и т.п.

При невозможности обеспечения качества воды, установленного СанПиНом, выполняются работы третьего этапа.

На третьем этапе проводятся технологические исследования (в случае необходимости) по основным технологическим процессам и методам очистки воды, принятым на станции. На основании полученных данных разрабатываются предложения по совершенствованию технологии и повышению эффективности очистки воды в отношении нормируемых показателей.

По результатам работы этого этапа подготавливается план мероприятий по переводу водоочистной станции на работу в соответствие с требованиями СанПиНа, который включает рекомендации по применению реагентов, переоборудованию или реконструкции отдельных сооружений, переоснащению лабораторий, обучению персонала всех подразделений и цехов работе в новых условиях, получению необходимых лицензий, свидетельств об аттестации и т.п.

Четвертый этап посвящен разработке, привязке и уточнению для каждой станции параметров новых технологических методов очистки воды, применение которых позволит во всех случаях обеспечить выполнение требований СанПиНа. Этот этап проводится только на тех станциях, для которых характерны повышенные концентрации органических и неорганических загрязнений природного или антропогенного происхождения, а также повышенная бактериальная загрязненность. К таким методам относятся, в частности, озонирование, сорбция и их сочетание с другими процессами очистки воды. На основании таких исследований, охватывающих все периоды года, устанавливается эффективность использования новых процессов очистки воды, разрабатывается регламент на их применение и подготавливаются рекомендации по реконструкции и техническому перевооружению станций.

Составляются план мероприятий и бизнес-план по дальнейшему использованию предлагаемых рекомендаций, включающие все последующие этапы работ (проектирование, приобретение оборудования, строительно-монтажные работы и пуск в эксплуатацию новых блоков очистных сооружений), с приведением всех необходимых финансовых затрат, а также обеспечения финансирования данного проекта.

Указанная в данном разделе этапность проведения работ является условной. Она, безусловно, должна определяться исходя из конкретных условий на каждом объекте, для которого должны быть определены виды проводимых работ, их объем и последовательность.

Для каждой станции намечается план всех необходимых мероприятий и устанавливаются сроки выполнения отдельных этапов с указанием ориентировочных финансовых затрат на их реализацию. Например, работы первого и второго этапов могут быть выполнены в течение 3 - 6 мес. в зависимости от конкретных условий, а работы третьего и четвертого этапов - в течение 6 - 10 мес.

2. ПЕРВООЧЕРЕДНЫЕ ЗАДАЧИ

При подготовке водоочистных станций к выполнению требований СанПиН следует иметь в виду два основополагающих направления, связанных с улучшением существующей ситуации и каждое из которых в той или иной степени сможет оказать влияние на эффективность работы водоочистных станций.

2.1. Охрана водоисточников от загрязнения

Комплекс экологических проблем, непосредственно влияющих на качество питьевой воды, должен решаться с выполнением следующих мероприятий:

- поэтапное прекращение сброса в водоисточник промышленных сточных вод и достижение соответствующего режима природопользования в зонах санитарной охраны (утверждение и реализация территориальных экологических программ, установление более жестких требований к качеству сбрасываемой воды, экологическое стимулирование прекращения сброса сточных вод, включая совершенствование налоговой системы и пр.). Повсеместное строительство на промышленных предприятиях локальных систем очистки и канализационных очистных сооружений и соответственно уменьшение концентрации вредных химических веществ в производственных стоках;

- внедрение на промышленных предприятиях оборотных систем водоснабжения, что позволит значительно сократить расход питьевой воды;

- исключение сброса в водоисточник неочищенных или недостаточно очищенных хозяйственно-бытовых сточных вод городов и поселков. Повсеместное повышение эффективности работы городских очистных канализационных сооружений путем глубокой очистки и доочистки сточных вод;

- исключение попадания в водоисточники, в том числе и во впадающие в них речки и ручьи, сточных вод от животноводческих ферм и комплексов, птицефабрик, многие из которых практически не имеют очистных сооружений, что существенно уменьшит загрязнение воды соединениями азота, фосфора и калия, а также бактериальными загрязнениями;

- решение проблемы поверхностного стока, в значительной мере загрязняющего воду в водоемах;

- внедрение автоматизированных систем контроля качества воды поверхностных водоемов и введение принципиально новой системы управления водными ресурсами;

- обеспечение государственного контроля и надзора за состоянием источников питьевого водоснабжения, водоохранной деятельностью промышленных предприятий, сбрасывающих сточные воды в систему коммунальной канализации.

Указанный выше комплекс мероприятий должен выполняться в рамках общей программы охраны окружающей среды данного региона с учетом требований нормативных документов по охране окружающей среды.

2.2. Использование подземных вод

Особое внимание следует уделять преимущественному использованию подземных вод для питьевого и хозяйственно-бытового централизованного водоснабжения города (переработка имеющихся схем и проектов водоснабжения, разведка и утверждение эксплуатационных запасов подземных вод).

Неоспоримым преимуществом подземных водоисточников является их защищенность от загрязнений природного и антропогенного происхождения. При этом в большинстве случаев не требуется проведения очистки воды и применения реагентов. При наличии в воде железа, наиболее характерного загрязнителя для подземных вод, его удаление достигается доступными методами, несложными в эксплуатации.

Эффективным является использование метода искусственного пополнения запасов подземных вод, широко применяемого в Западно-Сибирском регионе. При этом следует установить возможность его применения, имея в виду качество воды поверхностного водоисточника, характеристику грунтовых условий и другие факторы.

3. ПОВЫШЕНИЕ ЭФФЕКТИВНОСТИ РАБОТЫ ДЕЙСТВУЮЩИХ ВОДООЧИСТНЫХ СТАНЦИЙ ПРИ ИСПОЛЬЗОВАНИИ ПОВЕРХНОСТНЫХ ВОДОИСТОЧНИКОВ

На основании анализа отечественного и зарубежного опыта эксплуатации водоочистных станций и оценки эффективности работы существующих водоочистных сооружений, а также многолетних работ, выполненных НИИ КВОВ, ГНЦ РФ НИИ ВОДГЕО и другими организациями России, предлагается применение следующих дополнительных методов очистки или конструктивных решений, требующих соответствующей реконструкции водоочистных сооружений и их отдельных элементов и направленных на повышение эффективности очистки воды, а также улучшение качества питьевой воды.

Предложения даны в последовательности осуществления технологических процессов очистки воды на водоочистных станциях.

3.1. Реагентное хозяйство, коагулирование воды, смесители

 В настоящее время предлагаются к применению новые типы эффективных реагентов (коагулянтов и флокулянтов) отечественного и зарубежного производства, в том числе оксихлорид алюминия (ОХА), выпускаемый различными производителями; основной сульфат алюминия (ОСА), флокулянт ВПК-402, коагулянты и флокулянты производства США, Германии, Финляндии и многие другие.

В связи с расширенным ассортиментом реагентов, предложенных к использованию, целесообразно на каждом объекте на основании сравнения различных коагулянтов и флокулянтов с традиционными сульфат алюминия и ПАА осуществить выбор наиболее эффективных реагентов для данных условий.

Оптимальный подбор реагентов позволит наряду с существенным повышением эффективности процесса коагуляции улучшить также качество питьевой воды.

 Одним из важных моментов является система дозирования коагулянта. Для повышения надежности реагентной обработки воды и облегчения эксплуатации и контроля за процессом дозирования можно предложить:

- замену системы объемного или эжекционного дозирования коагулянта (что часто имеет место на практике) на автоматизированные системы дозирования с помощью насосов-дозаторов требуемой производительности;

- в случае применения порошкообразных и гранулированных реагентов использовать метод сухого дозирования. При этом следует применять специальное оборудование и соблюдать необходимые условия растворения реагентов (подогрев воды, механическое смешение и пр.).

 Эффективность процесса коагуляции в значительной степени зависит от условий смешения коагулянта с обрабатываемой водой. В связи с этим рекомендуется:

- в существующих смесителях вихревого типа предусмотреть дробное (фракционированное) введение коагулянта в нескольких точках по высоте, что позволит обеспечить более равномерное его распределение;

- для обеспечения быстрого и равномерного смешения коагулянта с водой может быть также использовано специальное распределительное устройство подачи коагулянта, устанавливаемое в нижней части смесителя или на трубопроводе, подающем воду на смеситель.

Предлагаемое распределительное устройство изготовляется из некоррозионных материалов, должно быть разъемным для осуществления периодической прочистки отверстий распределителей. Расчет распределительного устройства выполняется в соответствии с «Указаниями по применению технологии очистки воды на контактных осветлителях с использованием оптимальных режимов перемешивания коагулянтов с водой» (Москва, АКХ, 1986 г.);

- с этой же целью возможно устройство в смесителях барботирования воды воздухом;

- в ряде случаев (особенно при очистке маломутных цветных холодных вод) рекомендуется использовать механические смесители.

Эффективность применения механического смесителя подтверждается результатами экспериментальных исследований, а также опытом работы в аналогичных условиях в Скандинавских странах.

После соответствующих экспериментальных работ и проектных проработок механические смесители могут быть изготовлены в условиях организаций ВКХ или на предприятиях региона по чертежам, разработанным применительно к конструкции данного смесителя (или камеры хлопьеобразования).

 Одной из проблем в технологии очистки является появление в очищенной воде в результате ее реагентной обработки остаточного алюминия, нормируемого по санитарно-токсикологическому признаку вредности.

Наличие в воде повышенных концентраций остаточного алюминия может быть связано с высокими значениями цветности или мутности питьевой воды.

Для снижения концентрации остаточного алюминия и повышения качества очищенной воды необходимо осуществлять проведение коагуляционной обработки воды при оптимальных значениях основных параметров процесса (рН, щелочности воды, дозы реагентов, режима перемешивания и др.).

Так, если остаточный алюминий присутствует в воде в виде растворенных комплексных соединений с органическими веществами, то в этом случае необходимо стремиться к более глубокому снижению цветности и проведению процесса коагуляции при оптимальных значениях рН, что позволяет максимально перевести алюминий во взвешенное состояние, в котором он может быть легче изъят из воды в отстойниках и на фильтрах. При этом не исключено, что может потребоваться более глубокое, чем этого требует гигиенический норматив, снижение цветности, например до 10 - 15 град. Не рекомендуется допускать увеличения цветности воды после коагуляции до 35 град., хотя это и предусмотрено СанПиНом при согласовании с органами Госсанэпиднадзора. Такое увеличение цветности практически всегда связано с резким повышением концентрации растворенного остаточного алюминия.

В случае повышенной мутности очищенной воды целесообразно применение флокулянтов (полиакриламида, других анионных и катионных флокулянтов), что позволяет повысить прочность хлопьев, ускорить процесс их укрупнения и улучшить осаждение скоагулированной взвеси и осветление воды. Флокулянты рекомендуется вводить в воду после образования первичных частиц гидроксида и сорбции на них взвешенных и коллоидных частиц. Во многих случаях применение флокулянтов в дополнение к коагулянту уменьшает количество остаточного алюминия. Однако их использование не всегда дает желаемый эффект.

Поэтому в каждом конкретном случае необходимо осуществлять тщательный подбор коагулянта и флокулянта с определением требуемых их доз.

При низкой щелочности обрабатываемой воды и низких температурах целесообразна замена сульфата алюминия оксихлоридом алюминия.

При использовании в технологии подготовки воды озона доза предварительного озонирования может оказывать существенное влияние на последующий процесс коагулирования воды.

С одной стороны, глубокое окисление органических загрязнений позволяет снизить дозу коагулянта, а с другой - приводит к образованию низкомолекулярных соединений, что способствует увеличению концентрации в воде остаточного алюминия. В то же время образовавшиеся низкомолекулярные соединения при последующей коагуляции плохо сорбируются частицами гидроксида алюминия и оказывают на них стабилизирующее действие.

В связи с этим при установлении доз озона необходимо учитывать влияние озонирования на процессы коагуляции воды.

В случаях, когда на станции только планируется применение озонирования воды, следует, учитывая вышесказанное, обоснованно выбирать место введения озона - для первичного озонирования или промежуточного (после завершения процессов коагуляции).

3.2. Камеры хлопьеобразования

Процессы хлопьеобразования оказывают решающее влияние на эффективность работы всего комплекса сооружений по очистке природных вод как на стадии ее отстаивания, так и фильтрования.

В то же время применяемые в нашей стране типовые, традиционные камеры хлопьеобразования гидравлического типа, встроенные в отстойники или расположенные в нижней части осветлителей, из-за своего конструктивного несовершенства не могут обеспечить необходимых условий для эффективного хлопьеобразования. В значительной степени это относится к процессам хлопьеобразования при осветлении маломутных цветных вод в периоды низких температур. Практика показала, что при очистке таких вод в свободном объеме гидравлической камеры образуются мелкие, легкие хлопья, которые, плохо осаждаясь даже в слоях небольшой высоты, выносятся на фильтры.

Учитывая важную роль процессов хлопьеобразования для очистки воды, многие исследователи занимались разработкой новых конструкций камер хлопьеобразования или модернизацией и интенсификацией существующих типов.

Наиболее эффективными и легкореализуемыми являются совместные разработки ГНЦ РФ НИИ ВОДГЕО и НИИ КВОВ, а также СпбНИИ АКХ.

В зависимости от типа сооружений первой ступени очистки воды и конструкции камеры они могут быть реконструированы в:

· контактные (зернистые) камеры;

· тонкослойные камеры;

· тонкослойно-эжекционные камеры;

· рециркуляционные камеры.

 Контактные камеры хлопьеобразования наиболее эффективны при осветлении маломутных, цветных, слабоминерализованных вод с длительными периодами низких температур. В качестве зернистой контактной среды целесообразно использовать легкие плавающие материалы, которые обеспечивают отсутствие кольматации зернистого пространства, а также простоту их промывки обратным током воды.

Эти камеры являются самопромывающимися, так как в процессе их работы по мере накопления избыточного количества взвеси под ее тяжестью происходит расширение зернистого слоя, и накопившиеся хлопья легко вымываются потоком осветляемой воды. Потери напора в зернистом слое не превышают 3 - 5 см, что гарантирует их стабильную эксплуатацию.

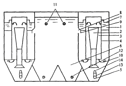
Учитывая конструктивные особенности контактных камер хлопьеобразования, их наиболее целесообразно использовать при реконструкции камер водоворотного типа, встроенных в вертикальные отстойники (рис. 1).

 Для интенсификации работы сооружений, в которых процессы хлопьеобразования осуществляются в слое взвешенного осадка, могут использоваться тонкослойные камеры хлопьеобразования.

По сравнению с традиционной флокуляцией в объеме взвешенный слой, образованный в замкнутом пространстве тонкослойных элементов, характеризуется более высокой концентрацией твердой фазы и устойчивостью к изменениям качества исходной воды и нагрузки на сооружения.

Рис. 1. Вертикальный тонкослойный отстойник с контактной камерой хлопьеобразования:

1 - камера хлопьеобразования; 2 - подача исходной воды; 3 - контактная плавающая загрузка; 4 - сборный лоток; 5 - отвод осветленной воды; 6 - сбор осадка; 7, 8 - нижняя и верхняя поддерживающие решетки, соответственно; 9 - тонкослойные сотоблоки

Тонкослойные сотоблоки устанавливают в зоне взвешенного осадка коридорных осветлителей, обеспечивают равномерное распределение осветляемой воды и увеличивают коэффициент объемного использования этих сооружений до 0,9 - 0,92 (до реконструкции 0,65 - 0,7). Соответственно, качество осветленной воды улучшается в 1,5 - 1,8 раза при одновременном увеличении в 1,3 - 1,7 раза нагрузок на сооружения (рис. 2).

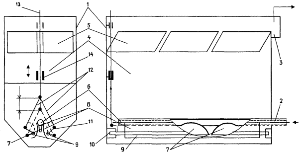
Рис. 2. Тонкослойный осветлитель, оборудованный тонкослойной камерой хлопьеобразования:

1 - подача исходной воды; 2 - сбор осветленной воды; 3 - шламоотводящие окна; 4 - тонкослойная камера хлопьеобразования; 5 - тонкослойные отстойные сотоблоки; 6 - поперечные опоры под блоки

 При показателях качества воды, требующих для эффективного хлопьеобразования введения дополнительной твердой фазы, могут применяться тонкослойно-эжекционные (рециркуляционные) камеры хлопьеобразования.

Принцип их работы заключается в следующем: исходная вода, смешанная с реагентами, подается в нижнюю часть камер по системе трубопроводов, сконструированных по принципу работы эжекторов, и затем поступает в тонкослойные блоки, расположенные над эжекторами, с помощью которых в поток обрабатываемой воды попадает наиболее крупная хлопьевидная взвесь, образованная в камере и осевшая на ее дно. Для этой цели рециркуляторы устанавливаются соплом вниз.

Для того чтобы эжектируемая взвесь активно участвовала в процессе коагуляции и укрупнения коллоидных и взвешенных веществ воды, важно избежать ее диспергирования при прохождении через эжектор. Поэтому для рассматриваемых целей могут быть использованы только низкоскоростные и низконапорные гидравлические эжекторы, рассчитанные на скорость подачи воды в диапазоне 1 - 5 м/с и развивающие полный напор до 6 м.

Отличительной и важной особенностью разработанной конструкции эжекторов является то, что степень рециркуляции можно регулировать в достаточно широком диапазоне от 0 до 50 %, а также можно использовать для устройства эжекторов существующие продольные распределительные трубы, если дооборудовать их соответствующими насадками и системой подвижных шторок (рис. 3).

Рис. 3. Схема оборудования камер хлопьеобразования (с рециркуляторами и тонкослойными хлопьеобразующими блоками):

1 - камера хлопьеобразования; 2 - подача исходной воды; 3 - отвод воды в отстойник; 4 - зона взвешенного слоя; 5 - тонкослойные хлопьеобразующие блоки; 6 - горизонтальный перфорированный трубопровод; 7 - неподвижные насадки; 8 - симметричные подвижные створки; 9 - ось вращения подвижных створок; 10 - втулки; 11 - рычаги; 12 - тяги; 13 - штанга; 14 - направляющие

Тонкослойно-эжекционные камеры хлопьеобразования с регулируемой степенью эжекции целесообразно использовать при реконструкции камер, встроенных в горизонтальные отстойники, и осветлителей со слоем взвешенного осадка длиной не более 6 м. При большой длине степень регенерации является величиной нерегулируемой и может быть рассчитана по разработанной методике с учетом характерных особенностей каждого водоисточника.

 При осветлении маломутных вод для повышения концентрации рециркулируемой взвеси и увеличения ее гидравлической крупности над рециркуляторами на высоте не менее 0,8 - 1,0 м устанавливаются тонкослойные блоки.

 Принципиально иная конструкция рециркуляторов разработана в СпбНИИ АКХ. В частности, в камерах хлопьеобразования зашламленного типа (рис. 4) для рециркуляции осадка применяются малогабаритные аппараты, характеризуемые значительно меньшей (в 4 - 5 раз) металлоемкостью по сравнению с ранее предлагаемыми ими конструкциями. Такие рециркуляторы успешно эксплуатируются на ряде водопроводных станций и позволяют существенно повысить производительность сооружений.


Рис. 4. Камера хлопьеобразования с малогабаритными аппаратами для рециркуляции осадка:

1 - отстойник; 2 - камера хлопьеобразования; 3 - канал исходной воды; 4 - патрубок с соплом; 5 - смеситель; 6 - направляющий аппарат; 7 - перегородки


 Как уже отмечалось, эффективность работы камер хлопьеобразования может быть повышена за счет использования механических мешалок. Вопросы практического применения предлагаемых конструкций и решений должны быть проработаны с точки зрения технологических и технико-экономических показателей для каждой водоочистной станции.

3.3. Отстойники и осветлители со слоем взвешенного осадка

 В современной практике очистки все более широкое применение находят тонкослойные отстойные сооружения. Использование метода тонкослойного осаждения позволяет эффективно осветлять воду при скоростях потока, достигающих 1,6 - 2,0 мм/с, что в 2 - 2,5 раза выше, чем в традиционных отстойниках и осветлителях.

Один из примеров оборудования тонкослойными элементами горизонтального отстойника со встроенной камерой хлопьеобразования представлен на рис. 5.

Рис. 5. Тонкослойный горизонтальный отстойник с тонкослойно-эжекционной камерой хлопьеобразования:

1 - подача исходной воды; 2 - сбор осветленной воды; 3 - отвод осветленной воды; 4 - тонкослойные отстойные блоки; 5 - отвод осадка; 6 - тонкослойные хлопьеобразующие блоки; 7 - продольные низконапорные рециркуляторы; 8 - сборный карман

Однако при этом необходимо учитывать, что эффективность тонкослойного осаждения определяется не только процессами, происходящими в тонкослойных элементах, но и такими факторами, как качество подготовки хлопьев, поступающих на осаждение, равномерность сбора и распределения воды, надежность системы удаления осадка. Поэтому при проведении работ по оборудованию тонкослойными блоками отстойников и осветлителей необходимо предусмотреть способы по повышению эффективности процессов хлопьеобразования, увеличению количества сборных лотков с целью повышения коэффициента объемного использования сооружений.

Кроме того, необходимо учитывать, что тонкослойными блоками могут быть оборудованы только те отстойники, в которых осуществляется эффективное и своевременное удаление осадка, так как его накопление под тонкослойными блоками приводит к резкому ухудшению качества отстоенной воды.

Таким образом, необходим комплексный подход к решению всех технологических процессов, связанных с хлопьеобразованием, осаждением, удалением осадка, а также гидравлическим режимом работы отстойных сооружений.

 В России до настоящего времени тонкослойные отстойники имели небольшое применение. Основной причиной этого являлось отсутствие серийного выпуска тонкослойных элементов и блоков из них.

В настоящее время предлагаются к использованию сотоблоки из полиэтиленовых пленок и из рулонного материала ПВХ, которые характеризуются требуемой прочностью и обладают необходимой физико-химической и бактериологической стойкостью и долговечностью.

 НИИ КВОВ разработана технология изготовления сотовой конструкции из полиэтиленовой пленки, что позволяет осуществлять выпуск сотоблоков любого размера в зависимости от параметров отстойного сооружения. При изготовлении сотоблоков полиэтиленовая пленка сваривается в такой последовательности, чтобы обеспечить его наибольшую пространственную устойчивость и возможность растягивать на рамы только в четырех крайних ячейках (рис. 6). Длина тонкослойных элементов принята до 1,5 м, а угол наклона к горизонту должен составлять 70 - 75°.

Многолетние испытания работы тонкослойных сооружений на ряде водопроводных станций подтвердили высокую эффективность метода осаждения взвеси в слоях небольшой высоты. Разработанная конструкция блоков проста при монтаже, надежна и долговечна при эксплуатации.

В настоящее время разработана технология сварки и организован промышленный выпуск сотоблоков указанной выше конструкции из полиэтиленовой пленки для различных типов сооружений.

Рис. 6. Тонкослойный сотоблок из полиэтиленовой пленки:

а - общий вид; б - в сложенном виде при транспортировке;

1 - тонкослойный блок из полиэтиленовой пленки; 2 - стержни для растяжения сотоблока

 ГУП «Институт МосводоканалНИИпроект» разработан тонкослойный модуль сотового типа с самонесущей способностью (рис. 7). Из рулонного материала ПВХ марки П-74 толщиной 0,4 - 0,5 мм изготовляются профильные листы, из которых уже непосредственно на станции производят сотоблоки с помощью контактной сварки. Для этой сварки разработан и изготовлен специальный аппарат. Полученные в результате сотоблоки обладают самонесущей способностью.

Производительность оборудования составляет 20 сотоблоков в сутки. Площадь для размещения установки равна 1,7 м2.

 Тонкослойные элементы можно также использовать для обезвоживания и уплотнения осадка. С этой целью тонкослойные модули устанавливают в шламоуплотнителях осветлителей ниже шламоприемных окон. Оборудование шламоуплотнителей тонкослойными блоками создает хорошие гидродинамические условия для гравитационного уплотнения и обезвоживания осадка, что позволяет увеличить период его накопления, уменьшить количество сбрасываемой с ним воды.

 Для интенсификации процессов очистки воды в осветлителях со взвешенным осадком может быть использован метод рециркуляции осадка, предложенный СибНИИ АКХ (рис. 8). Применение осветлителей-рециркуляторов позволяет повысить производительность сооружений на 30 - 60 %.

Рис. 7. Тонкослойные модули сотового типа из рулонного материала ПВХ

Рис. 8. Осветлитель-рециркулятор:

1 - рабочая камера; 2 - смеситель; 3 - камера хлопьеобразования; 4 - направляющий аппарат; 5 - распределительная трубка; 6 - осадкоуплотнитель; 7 - лоток; 8 - окна; 9 - защитный козырек; 10 - слой взвешенного осадка; 11 - трубы для перепускания взвешенного осадка; 12 - трубы для выпуска уплотненного осадка; 13 - патрубок; 14 - сопло

За счет рециркуляции осадка одновременно существенно повышается барьерная роль сооружений первой ступени очистки в отношении планктона, составляя (в зависимости от вида планктона) 90 ÷ 100 %.

Кроме того, рециркуляция осадка позволяет без ухудшения качества очистки утилизировать промывные воды фильтровальных сооружений путем их равномерного перекачивания из резервуара-усреднителя в головной узел водоочистной станции.

3.4. Фильтры

Для улучшения работы действующих скорых фильтров рекомендуется:

 Восстановить проектную высоту и крупность зерен фильтрующей загрузки на всех фильтрах, так как в результате многолетней эксплуатации весьма часто скорые фильтры имеют недостаточную высоту зернистого фильтрующего слоя, состоящего из зерен повышенной крупности. Эксплуатация подобных скорых фильтров вызывает не только снижение эффективности очистки воды, но и ухудшение их промывки вследствие слабого расширения фильтрующего слоя при промывках и плохого удаления отмываемых загрязнений из надфильтрового пространства, что в свою очередь приводит к накоплению слоя отложений на поверхности фильтрующей загрузки, увеличению темпа прироста потери напора и снижению продолжительности фильтроцикла.

 Повысить (по возможности) однородность зерен фильтрующей загрузки. Действующим СНиП разрешено применение для загрузки скорых фильтров зернистых фильтрующих материалов с коэффициентом неоднородности более 2. Вместе с тем для скорых фильтров желательно применение более однородных зернистых материалов. Это позволяет повысить эффективность промывки и снижает расход промывной воды. В настоящее время ряд предприятий («Волгоградский карьер», гора «Хрустальная») выпускают высококачественный однородный фильтрующий материал с коэффициентом неоднородности 1,5 - 1,6 при крупности зерен в пределах 0,63 ÷ 1,25 мм. Данный зернистый материал может эффективно использоваться в скорых фильтрах с высотой слоя, равной (0,7 - 0,8) ÷ (1,2 - 1,3) м.

 Использовать для загрузки фильтров различные фильтрующие материалы, разрешенные к применению Минздравом России, с более развитой, чем у песка, поверхностью: дробленый керамзит, шунгизит, гранодиорит, вулканические шлаки и многие другие. Это позволит интенсифицировать работу фильтровальных сооружений, уменьшить дефицит в кварцевом песке за счет использования местных материалов и значительно сократить транспортные расходы по их доставке на объект. Применение зернистых фильтрующих материалов с развитой поверхностью зерен позволяет повысить производительность фильтровальных сооружений на 30 - 50 % без проведения реконструкции фильтров.

 Представляют интерес используемые в последние годы на многих водопроводных станциях распределительные системы фильтров, изготовленные из дырчатых полиэтиленовых труб с фильтрующим слоем из полиэтилена. Осуществлен промышленный выпуск указанных фильтрующих элементов.

 Для повышения грязеемкости фильтрующей загрузки, улучшения качества очищенной воды и стабилизации работы фильтров целесообразно рассмотреть возможность осуществления контактной коагуляции на фильтрах с введением коагулянта и ПАА перед фильтрами, особенно в зимний период, когда отстойники и осветлители со взвешенным осадком работают неэффективно. При реализации этого метода целесообразно устройство двухслойной загрузки фильтров; в качестве верхнего слоя можно использовать керамзит, антрацит и другие пористые материалы крупностью 1 - 5 мм при высоте 0,4 - 0,5 м и общей высоте фильтрующего слоя до 1,8 м.

 В целях исключения смещения гравийных слоев и их перемешивания с песчаной загрузкой, что обычно приводит к нарушению стабильной эксплуатации фильтров, следует использовать различные конструкции безгравийных дренажных систем. К ним, прежде всего, относятся: колпачковый дренаж (колпачки полиэтиленовые, из нержавеющей стали и др.), щелеванные полиэтиленовые трубы, полиэтиленовые трубы с различными металлическими вставками из сетчатых или щелевых материалов и др. Одной из возможных конструкций является пористый полимербетонный дренаж: лоткового типа, дырчатый железобетонный, патрубковый и др.

 Для интенсификации работы фильтров может быть рекомендована разработанная Одесской государственной академией строительства и архитектуры чередующаяся промывка фильтров. Дренаж проектируется таким образом, чтобы по площади фильтра создавались чередующиеся зоны малой и большой интенсивности. Возникающие в результате этого стабильные циркуляционные контуры перемешивают загрузку, что практически устраняет гидравлическую сортировку и одновременно повышает эффективность промывки. Предложенный способ промывки легко реализуется с помощью полимерных дренажей. Чередующаяся промывка позволяет повысить скорость фильтрования и увеличить полезную производительность от 5 до 20 %.

 Необходимо обязательное обеспечение интенсивности промывки фильтров согласно СНиП, равной 15 - 16 л/(с·м2), даже если это потребует (в некоторых случаях) замены промывных насосов на насосы большей производительности.

 В целях повышения эффективности и условий работы скорых фильтров целесообразно осуществить их реконструкцию и переоборудование на фильтры с водовоздушной промывкой. Помимо экономии воды, это позволяет повысить надежность работы фильтровальных сооружений, увеличить высоту фильтрующей загрузки и повысить качество очищенной воды. Это было доказано опытом эксплуатации фильтров на ряде водопроводных станций Мосводоканала; для таких фильтров разработана и используется новая конструкция дренажной распределительной системы, а также системы отвода промывной воды.

 Иногда на станциях ошибочно принята схема очистки воды, которая не соответствует качеству природной воды. В связи с этим невозможно на действующих сооружениях получать воду, отвечающую требованиям стандарта в течение всего года. Так, например, при повышенной цветности воды на ряде водоочистных станций приняты медленные фильтры или для высоких значений мутности и цветности используются контактные осветлители. В таких случаях целесообразно предусмотреть вторую ступень очистки воды: станцию с медленными фильтрами следует дооборудовать прямоточными фильтрами с реагентной обработкой воды перед ними, а после контактных осветлителей - вторую ступень фильтрования на скорых фильтрах.

3.5. Контактное осветление воды

 В одноступенных схемах очистки воды применяются традиционные реагенты - сульфат алюминия и полиакриламид. Вместе с тем, за последние годы отечественная промышленность приступила к выпуску катионных флокулянтов, в частности, ВПК-402 и КФ-91, которые, в отличие от анионных, несут положительный заряд, благодаря чему могут быть использованы полностью или частично взамен коагулянта.

Работы СпбНИИ АКХ показали, что при очистке маломутных цветных вод на контактных осветлителях наиболее целесообразно использование катионных флокулянтов в сочетании с коагулянтом. При этом расход коагулянта снижается на 30 - 50 %; остаточный алюминий в очищенной воде не превышает допустимых концентраций; продолжительность фильтроцикла на контактных осветлителях увеличивается на 40 - 60 %.

 Целесообразно осуществлять во входных камерах введение реагентов с помощью специальных распределителей с регулируемым режимом перемешивания очищаемой воды с реагентами (в соответствии с разработанными НИИ КВОВ «Методическими указаниями»).

 Для интенсификации промывки фильтрующей загрузки контактных осветлителей и снижения расхода промывной воды желательно применение контактных осветлителей типа КО-3 с водовоздушной промывкой. При этом следует иметь в виду, что водовоздушная промывка может быть эффективно реализована в контактных осветлителях (как и в прямоточных скорых фильтрах) только при использовании низкого отвода промывной воды.

3.6. Обеззараживание воды

 Обеззараживание воды в системах питьевого водоснабжения имеет весьма важное значение в связи с тем, что это последний барьер на пути возможной передачи болезнетворных микроорганизмов через воду потребителю. Обеззараживание защищает питьевую воду от внешнего загрязнения и вторичного роста микроорганизмов при транспортировании воды по водопроводным сетям.

 Ранее санитарно-микробиологический контроль качества воды осуществлялся на основе определения двух показателей: 1 - общего числа бактерий (ОМЧ); 2 - колииндекса или колититра.

В СанПиН 2.1.4.559-96 уделено особое внимание эпидемиологической безопасности питьевой воды в отношении энтеровирусов и паразитарных микроорганизмов. В качестве индикатора энтеровирусного загрязнения приняты колифаги, которые являются более адекватными показателями в отношении энтеровирусов, чем санитарно-микробиологические показатели. В отношении паразитарных возбудителей заболеваний человека проводится непосредственное определение в воде цист лямблий. Кроме того, взамен прежних индикаторов энтеробактериального загрязнения воды контролируются общие и термотолерантные колиформные бактерии, уменьшен норматив по общему микробному числу.

Основной причиной повышения требований к качеству питьевой воды по микробиологическим показателям является увеличение числа заболеваний, вызванных энтеровирусами и кишечными простейшими, а также стремлением использовать санитарно-микробиологические показатели и нормативы, принятые в международной практике.

 Эффективность обеззараживания воды зависит от концентрации и вида микробиологических загрязнений, их устойчивости к используемым обеззараживающим реагентам, качества исходной воды и технологии ее обработки. При этом для удаления всех видов микробиологических загрязнений важны не только применение эффективного обеззараживающего реагента, но и глубина очистки воды от мутности, цветности, органических и других загрязнений.

Многие микробиологические загрязнения могут быть удалены на действующих водопроводных станциях при соблюдении технологического процесса очистки и обеззараживания воды.

Группа энтеровирусов включает разные по устойчивости к действию дезинфицирующих реагентов вирусы, и не существует универсальной технологии обработки воды в отношении всех вирусных и паразитарных загрязнений.

Необходимая степень очистки воды в отношении колифагов и энтеровирусов, обладающих относительно невысокой или умеренной устойчивостью к действию дезинфектантов, может быть достигнута при обеспечении глубокой очистки воды и использовании для обеззараживания хлора или озона в дозах, обеспечивающих присутствие остаточного реагента в максимальных концентрациях, допускаемых в питьевой воде согласно табл. 3 СанПиН 2.1.4.559-96.

В обычных условиях водоподготовки при доведении качества очищенной воды до требуемых нормативов концентрация вирусов в ней снижается на 80 - 93 %. Причем, чем глубже очистка воды от взвешенных веществ, тем лучше доступ дезинфицирующего реагента к бактериям и вирусам, тем эффективнее процесс ее обеззараживания.

Повышение глубины очистки воды на действующих водопроводных станциях может быть достигнуто за счет уменьшения нагрузки на очистные сооружения и интенсификации процесса коагулирования и осветления воды.

Если в водоисточнике обнаружен вирус гепатита А, цисты лямблий или энтеровирусы, которые наиболее устойчивы к действию хлора, то в этом случае необходимо применение специальных технологий по очистке и обеззараживанию воды, основные положения которых изложены в «Руководстве по применению технологий, обеспечивающих эпидемическую безопасность питьевой воды в отношении вируса гепатита и других энтеровирусов» (НИИ ОКГ им. А.Н. Сысина АМН СССР) и «Технологическом регламенте по очистке и обеззараживанию природных вод от цист патогенных кишечных простейших и яиц гельминтов» (ИМП и ТМ Е.И. Марциновского ГКСН).

 СанПиН 2.1.4.559-96 предусмотрены более высокие требования к контролю качества воды по бактериологическим показателям.

Характеризуя отдельные индикаторы биологического загрязнения воды, необходимо отметить, что термотолерантные колиформные бактерии удовлетворяют требованиям индикаторов фекального загрязнения, и их концентрация в воде в большинстве случаев прямо пропорциональна концентрации Е. coli, но поскольку они поддаются быстрому обнаружению, то играют вторичную роль как индикаторы эффективности процессов очистки воды от фекальных бактерий.

Общие колиформные бактерии также легко поддаются обнаружению и количественному определению, эта группа - гетерогенна. Представителей этой группы можно обнаружить как в сточной воде, так и в окружающей среде, а также в питьевой воде с относительно высокой концентрацией питательных веществ. Кроме того, к ней относятся виды бактерий, которые могут размножаться в природной или водопроводной воде. Поэтому данный показатель может использоваться как индикатор эффективности системы водоснабжения, а также для микробиологического контроля качества очищенной воды, подаваемой в водопроводную сеть.

Присутствие сульфитредуцирующих клостридий в питьевой воде указывает на недостаточную эффективность очистки и обеззараживания воды. Данные микроорганизмы не следует использовать как индикаторы для контроля качества питьевой воды в распределительных сетях, так как они могут обнаруживаться намного позднее и дальше от места загрязнения.

Колифаги - косвенный индикатор вирусного загрязнения воды - может служить дополнительным контролем эффективности очистки или оценки состояния грунтовых вод.

Удаление простейших лучше всего достигается при правильной эксплуатации водоочистных сооружений и систем распределения воды.

Методы микробиологического и паразитологического анализа устанавливаются в соответствии с МУК 4.2.6711-97 «Методы санитарно-микробиологического анализа питьевой воды»; МУК 4.2.668-97 «Санитарно-паразитологические исследования воды»; МУ 2.1.4.682-97 «Методические указания по внедрению и применению СанПиН 2.1.4.559-96».

 Одним из основных методов обеззараживания воды является ее хлорирование с использованием жидкого хлора и различных хлорреагентов. В настоящее время постоянно проводятся работы по совершенствованию технологии хлорирования и конструкции устройств для введения хлора в воду.

 На водоочистных станциях в основном применяются ранее выпускавшиеся хлораторы типа ЛОНИИ-100 и современные хлораторы типа АХВ-1000 производительностью по хлору 1,28 ÷ 12,8 кг/ч. Представляют интерес предлагаемые фирмами США, Франции и других стран вакуумные хлораторы производительностью до 50 кг/ч.

 Перспективным способом хлорирования является применение гипохлорита натрия, получаемого на месте путем электролиза растворов поваренной соли. Для обеззараживания воды на водопроводных сооружениях малой производительности отечественной промышленностью выпускаются электролизные установки.

Ряд зарубежных фирм производят электролизеры, которые могут быть использованы на станциях производительностью до 3000 тыс. м3/сут. Различными отечественными предприятиями предлагаются новые конструкции оборудования для получения обеззараживающих реагентов.

 Впервые в России на крупной водоочистной станции г. Кемерово внедрена технология обеззараживания с использованием технического гипохлорита натрия. Длительный опыт эксплуатации данной технологии позволил решить некоторые проблемы, возникающие при использовании гипохлорита натрия, и показал эффективность его применения, которое позволяет:

·       улучшить экологическую ситуацию населенного пункта;

·       повысить экологическую и гигиеническую безопасность производства;

·       существенно уменьшить коррозию оборудования и трубопроводов;

·       повысить экономичность производства.

Особенно целесообразно применять данный метод обеззараживания в тех городах, где химическая промышленность выпускает гипохлорит натрия.

 Как уже отмечалось ранее, большинство микробиологических загрязнений невысокой или умеренной устойчивости к действию дезинфектантов может быть удалено в процессе очистки воды традиционными методами и ее обеззараживанием хлорреагентами.

Однако нормальные условия хлорирования (содержание остаточного хлора не менее 0,5 мг/л при контакте в течение 30 мин) могут уменьшить содержание Е. coli и некоторых вирусов более чем на 99 %, но не цист и ооцист паразитирующих простейших. Для очистки воды от микробиологических загрязнений (вирус гепатита А или цисты лямблий), устойчивых к действию хлорреагентов, необходимо увеличивать время контакта воды с хлором от 0,5 до 3 ч при содержании остаточного хлора в воде 5 ÷ 0,6 мг/л.

При использовании повышенных доз хлора для обработки воды следует предусмотреть дехлорирование воды на выходе из резервуаров чистой воды или у потребителя (кипячением), который должен быть своевременно оповещен.

Хлорирование воды, проводимое в больших масштабах, по мнению ряда ученых, вызвало широкое распространение резистентных к хлору микроорганизмов.

Все это определило необходимость применения альтернативных методов при обеззараживании воды.

 В ряде случаев при обработке маломутных вод, имеющих среднюю цветность, возможно использование УФ-излучения. При этом следует иметь ввиду, что УФ-излучение не исключает заключительного этапа хлорирования.

При первичном обеззараживании воды возможна комбинация методов хлорирования и УФ-излучения. При этом доза хлора может быть уменьшена на 15 - 100 % при условии обеспечения технологической эффективности последующих этапов водоподготовки (коагуляции, отстаивания, фильтрования и т.п.). На заключительном этапе обеззараживания воды УФ-излучение необходимо применять в сочетании с другими хлорреагентами для обеспечения пролонгированного бактерицидного эффекта в разводящих водопроводных сетях.

Обеззараживание воды ультрафиолетовыми лучами на водопроводных станциях является весьма эффективным и перспективным в связи с созданием в последние годы новых экономичных установок УФ-обеззараживания с улучшенным качеством источников излучения и конструкций реакторов.

Обеззараживающее действие УФ-излучения основано на необратимых повреждениях молекул ДНК РНК микроорганизмов, находящихся в воде, разрыве или нарушении химических связей органической молекулы, за счет фотохимического воздействия лучистой энергии.

Применение метода УФ-излучения в каждом случае должно быть обосновано с технологической и технико-экономической точки зрения.

 Использование озона для обеззараживания воды имеет ряд преимуществ перед другими методами. Как сильный окислитель он одновременно обеззараживает и обесцвечивает воду, улучшает ее органолептические показатели. Механизм воздействия озона на микроорганизмы обусловлен влиянием на окислительно-восстановительную систему и на протоплазму клеток. Озон как обеззараживающий реагент действует быстрее хлора в 15 - 20 раз, и его бактерицидный эффект в меньшей степени зависит от температуры и рН воды.

Озон оказывает более активное действие на вирусы и другие микроорганизмы, устойчивые по отношению к хлору. Так, при условии, что концентрация остаточного озона после 12-минутного контакта с водой составляет 0,3 - 0,8 мг/л, достигается высокая степень инактивации энтеровирусов и цист лямблий.

 В некоторых случаях могут быть применены другие способы обеззараживания воды. Например, за рубежом находит широкое применение диоксид хлора, обладающий высокой бактерицидной способностью. Он обеспечивает необходимое пролонгированное бактерицидное действие при меньших дозах по сравнению с хлором и гипохлоритом натрия. Этот реагент производится непосредственно на водопроводных станциях, однако отечественное оборудование для его получения не выпускается промышленностью. Кроме того, для обеззараживания воды иногда могут быть использованы гипохлорит кальция, перманганат калия, йод и др. Возможно совместное использование различных методов обеззараживания воды: хлорирование, озонирование, УФ-излучение и др.

Вопросы использования тех или иных способов обеззараживания, как при новом строительстве, так и при реконструкции и модернизации водопроводных сооружений, должны решаться по результатам технологических изысканий и технико-экономического обоснования с учетом выполнения требований по безопасности применяемых методов по отношению к людям и окружающей среде, а также к качеству питьевой воды.

 В процессе водоподготовки, при обеззараживании хлорреагентами воды, содержащей органические загрязнения, образуются высокотоксичные опасные для здоровья хлорорганические соединения (ХОС), такие как хлороформ, дихлорбромметан, дибромхлорметан, бромоформ, четыреххлористый углерод, дихлорэтан, трихлорэтилен, хлорфенолы и др.

В СанПиН 2.1.4.559-96 предусмотрено ограничение содержания некоторых летучих хлорорганических соединений, наиболее часто встречающихся в питьевой воде.

Уменьшение концентрации ХОС в питьевой воде возможно за счет предотвращения их образования или удаления на заключительном этапе обработки воды. Однако наиболее эффективный метод удаления ХОС - сорбция на фильтрах с активным углем - является достаточно дорогостоящим, а сорбционная емкость активных углей по отношению к ХОС небольшая, и время защитного действия составляет всего 3 - 6 мес.

Поэтому целесообразно в первую очередь использовать методы, предотвращающие образование ХОС. При этом можно выделить несколько следующих основных направлений:

- изменение режима обеззараживания воды хлором и гипохлоритом натрия;

- замена хлора другими окислителями, не образующими ХОС (диоксидом хлора, хлораминами, озоном и др.);

- применение метода ультрафиолетового обеззараживания в сочетании с хлорированием или без него на стадии первичного обеззараживания.

 В настоящее время на действующих водоочистных станциях в России предварительное хлорирование часто осуществляется высокими дозами хлора и проводится не только для обеззараживания воды, но и в целях борьбы с планктоном, снижения цветности воды, интенсификации процессов коагуляции, поддержания необходимого санитарного состояния водоочистных сооружений и т.п.

Для уменьшения концентрации образующихся ХОС в процессе водоподготовки необходимо изменить режим предварительного хлорирования воды, при этом доза хлора не должна превышать 1,5 - 2 мг/л.

При высокой хлорпоглощаемости воды необходимо проводить дробное хлорирование, в этом случае расчетная доза хлора вводится не сразу, а небольшими порциями (частично перед сооружениями 1-й ступени очистки воды, частично перед фильтрами).

В целях сокращения времени контакта неочищенной воды с хлором предварительное обеззараживание воды следует проводить непосредственно на очистных сооружениях. Изменение режима хлорирования воды позволяет уменьшить концентрацию образующихся ХОС на 15 - 30 %.

 При высоких концентрациях органических загрязнений целесообразно полностью исключить первичную обработку воды хлором, заменив ее периодическим хлорированием воды (с целью санитарной обработки сооружений). При этом в процессе коагулирования, отстаивания и фильтрования из воды обычно удаляется около 50 % растворенных органических загрязнений, соответственно на столько же уменьшается количество образующихся при последующем хлорировании ХОС.

 В тех случаях, когда отказаться от предварительного хлорирования воды нельзя (источник водоснабжения характеризуется высоким содержанием бактериальных загрязнений, или хлор используется как окислитель для удаления органических загрязнений антропогенного происхождения), хлор необходимо заменить другими окислителями.

 Применение озона на стадии предварительной обработки воды вместо хлора или совместно с ним позволяет на 70 - 80 % уменьшить концентрацию образующихся ХОС. При совместном использовании озона и хлора озонирование должно предшествовать хлорированию. Озон подвергает деструкции органические загрязнения, уменьшает их способность к взаимодействию с хлором и тем самым предотвращает образование ХОС.

 Кроме того, для обеззараживания воды можно использовать связанный хлор в виде хлораминов, которые менее активно вступают во взаимодействие с органическими веществами, ответственными за образование ХОС. Хлорамины образуются при хлорировании воды, содержащей аммонийный азот. В случае отсутствия аммонийного азота в исходной воде необходимо проводить ее предварительную аммонизацию. Максимальный эффект достигается при определенном соотношении аммиака и хлора при условии, что весь хлор находится в воде в виде хлораминов, а свободный хлор отсутствует. В идеальных условиях соотношение аммиака и хлора должно составлять 1:4. Для природных вод данное соотношение зависит от качества исходной воды и устанавливается экспериментально в каждом конкретном случае.

Обеззараживание воды связанным хлором много лет применяется на ряде водопроводов, обеспечивая требуемые бактериологические и органолептические показатели качества питьевой воды.

Аммонизацию с целью снижения концентрации ХОС в питьевой воде можно проводить на различных этапах обработки воды, в зависимости от качества исходной воды, технологии водоподготовки и необходимой степени уменьшения концентрации ХОС.

 В ряде случаев возможно использование УФ-облучения на стадии предварительного обеззараживания воды за счет полного исключения хлорирования. Применение данного метода обеспечивает необходимое обеззараживание и исключает возможность образования побочных продуктов окисления. При этом концентрация ХОС, образующихся при последующем хлорировании воды, уменьшается минимум на 50 %.

3.7. Стабилизационная и противокоррозионная обработка воды

 Высокая коррозионная активность воды может быть обусловлена ее исходным физико-химическим составом либо являться следствием ее обработки коагулянтами (прежде всего сульфатом алюминия).

Высокая коррозионная активность воды обусловливает интенсивную внутреннюю коррозию труб, приводящую к ухудшению качества воды из-за превышения нормированного содержания железа и значительному уменьшению пропускной способности труб. Последнее приводит к значительному увеличению затрат на транспортирование воды и, соответственно, к росту ее себестоимости (затраты на электроэнергию в себестоимости воды составляют 40 - 70 %).

Для снижения интенсивности внутренней коррозии водопроводных труб рекомендуется проводить на водопроводных станциях стабилизационную или противокоррозионную обработку воды.

Эти мероприятия дают наибольший эффект, если проводятся для новых систем или при наличии небольшого (не более 1 мм) количества отложений на внутренней поверхности труб. При наличии отложений толщиной более 1 мм следует перед началом работы провести гидромеханическую прочистку трубопроводов практически до полного их удаления. При некачественной очистке требуются более высокие дозы реагентов и степень защиты оказывается ниже.

 Стабилизационная обработка воды проводится согласно СНиП 2.04.02-84 «Водоснабжение. Наружные сети и сооружения». Для защиты металлических труб от коррозии стабилизационную обработку воды следует предусматривать при индексе насыщения менее минус 0,3 в течение более 3 мес. в году. При определении необходимости стабилизационной обработки воды следует определить индекс ее насыщения после предшествующей обработки (коагулирования, умягчения и т.п.). Стабилизационная обработка воды эффективна для защиты от внутренней коррозии при суммарной концентрации хлоридов и сульфатов не более 100 мг/л.

При отрицательном индексе насыщения воды карбонатом кальция для получения стабильной воды следует предусматривать обработку воды щелочными реагентами (известью, содой или этими реагентами совместно).

Для повышения степени равномерности распределения защитной карбонатной пленки по длине трубопроводов следует предусматривать возможность одновременно с введением щелочных реагентов дозирования гексаметофосфата натрия в концентрации порядка 1 мг/л.

При формировании защитной карбонатной пленки в трубопроводах систем хозяйственно-питьевого водоснабжения значение рН обработанной щелочными реагентами воды не должно превышать величины 9,0, допустимой СанПиНом.

При стабилизационной обработке воды следует предусматривать возможность введения реагентов в смеситель, перед фильтрами и в фильтрованную воду. При введении щелочных реагентов перед фильтрами и в фильтрованную воду должна быть обеспечена высокая степень очистки этих реагентов, а также и их растворов. Введение щелочных реагентов перед смесителями и фильтрами допускается проводить в тех случаях, когда это не ухудшит качество воды.

На первоначальном этапе стабилизационной обработки воды надлежит предусматривать двойное увеличение доз реагентов по сравнению с теми, которые необходимы для получения стабильной воды. В дальнейшем целесообразно поддерживать небольшое пресыщение воды карбонатом кальция (порядка 15 %).

 Для снижения интенсивности внутренней коррозии наиболее эффективно применение фосфатных ингибиторов коррозии - гексаметофосфата и триполифосфата натрия в постоянной концентрации до 3,5 мг/л. Обработку воды фосфатами следует проводить постоянно.

При отсутствии на внутренней поверхности труб значительных коррозионных отложений на ней формируется защитная фосфатная пленка в течение 4 - 6 мес. В начальный период формирования фосфатной пленки допустимо превышение концентрации фосфатов, необходимой для постоянной обработки, на 60 - 80 %. При этом следует отметить, что в этот период концентрация фосфатов быстро снижается, расходуясь на формирование пленки на ближайших к месту обработки участках трубопроводной системы, и к потребителю поступает вода, содержащая фосфаты в допустимых количествах.

Допускается в этот период при вводе в эксплуатацию участков новых трубопроводов его заполнение раствором гексаметафосфата или триполифосфата натрия в концентрациях порядка 200 - 300 мг/л (в пересчете на РО43- на 3 - 4 сут.) с последующим сбросом этого раствора и промывкой трубопроводов водой, содержащей фосфаты в количестве, необходимом для постоянной обработки.

Качество защитной фосфатной пленки значительно улучшается при одновременном дозировании раствора соли цинка.

При этом удается обеспечить образование пленки на удаленных участках трубопроводов.

 Определение требуемых доз реагентов и контроль за коррозионной активностью воды в процессе стабилизационной и противокоррозионной обработки воды целесообразно проводить на устройстве ОКА, разработанном АКХ им. К.Д. Памфилова, в соответствии с «Инструкцией по определению коррозионной активности воды», утвержденной МЖКХ РСФСР в 1979 г.

Поскольку фосфор является биогенным элементом и способствует интенсификации микробиологической коррозии, противокоррозионную обработку воды фосфатами следует проводить при условии ее обязательного хлорирования.

Для некоторых вод (в частности, содержащих сульфат-ионы в концентрации не более 100 мг/л) весьма эффективна силикатная обработка с использованием стекла жидкого натриевого.

Возможно также применение ингибирующих композиций, содержащих фосфаты и силикаты.

Для избежания существенного повышения коррозионной активности воды целесообразно вместо сернокислого алюминия использовать оксихлорид алюминия или гидроалюминат натрия.

4. МЕРОПРИЯТИЯ ПО РЕКОНСТРУКЦИИ ВОДООЧИСТНЫХ СТАНЦИЙ ПРИ ИСПОЛЬЗОВАНИИ ПОВЕРХНОСТНЫХ ВОДОИСТОЧНИКОВ

Рассмотренные выше (в разделе 3) мероприятия приводят к улучшению процессов коагуляции и хлопьеобразования, осаждения и фильтрования, повышению качества очищенной воды по таким основным показателям, как мутность, цветность, окисляемость, остаточный алюминий и бактериологические показатели, а также частично обеспечивают удаление органических загрязнений.

Эти мероприятия могут быть выполнены в условиях действующих водоочистных станций и, как правило, не требуют значительных капитальных затрат, серьезной реконструкции и нового строительства на водоочистной станции.

Вместе с тем, в ряде случаев, при наличии в водоисточнике антропогенных загрязнений, существующие традиционные схемы очистки малоэффективны, они не обеспечивают необходимой степени очистки воды в соответствии с требованиями СанПиНа.

На основании многолетних исследований, выполненных НИИ КВОВ, ГНЦ РФ НИИ ВОДГЕО и другими организациями, разработаны и находят все более широкое применение специальные методы очистки, в том числе озонирование и сорбционная очистка на активных углях.

Кроме того, нерешенным вопросом на большинстве водопроводов является обработка и утилизация осадков. Решение этих двух проблем требует приобретения соответствующего оборудования, строительства для него зданий, значительных финансовых вложений, затрат электроэнергии и пр.

Технологические аспекты по этим направлениям изложены в данном разделе «Методических рекомендаций».

4.1. Очистка воды от антропогенных загрязнений

 Одной из наиболее эффективных технологий удаления из природных вод антропогенных загрязнений является озонирование с последующей сорбцией на активных углях. Этот метод широко применяется на водопроводах за рубежом и начинает использоваться на ряде водоочистных станций в нашей стране.

 Представляют интерес новые методы, разработанные ГНЦ РФ НИИ ВОДГЕО:

·        технология с использованием природного биоценоза и сооружений с носителями прикрепленной микрофлоры;

·        технология, основанная на биосорбции с использованием эжекции воздуха, псевдоожиженного и стационарного слоя активного угля, применяемая в биосорберах.

Данные технологические методы очистки воды от антропогенных загрязнений проходят в настоящее время производственные испытания, по окончании которых можно будет судить об их технологической эффективности и возможности применения в технологии очистки природных вод.

В связи с этим в дальнейшем более детально освещается технология озонирования и сорбции.

4.1.1. Озонирование воды

 Озон применяется для очистки воды от загрязнений природного и антропогенного происхождения:

·        для снижения содержания гуминовых веществ, обусловливающих цветность воды;

·        для удаления запахов и привкусов;

·        для удаления специфических органических загрязнений - фенолов, нефтепродуктов, пестицидов, аминов и многих других;

·        для удаления неорганических соединений: железа, марганца, сероводорода;

·        для обеззараживания воды.

 В зависимости от качественного и количественного состава загрязнений водоисточника возможны различные варианты применения озона в технологии водоподготовки.

На рис. 9 представлена традиционная схема очистки воды с отстойниками и фильтрами с использованием озона и активных углей.

Возможны следующие варианты введения озона.

Одноступенное озонирование: использование озона на стадии предварительного окисления воды или после коагуляционной ее очистки перед песчаными или угольными фильтрами.

Первичное озонирование (предозонирование) проводится в целях окисления легкоокисляемых органических и неорганических загрязнений, улучшения процесса коагулирования, а также для частичного обеззараживания воды. В этом случае исходная вода обрабатывается небольшими дозами озона.

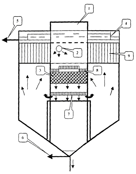
Рис. 9. Применение озона и активных углей на станциях с двухступенной схемой очистки воды:

1 - подача речной воды; 2 - первичное озонирование; 3 - первичное хлорирование (при необходимости); 4 - ввод коагулянта; 5 - смеситель; 6 - отстойник (или осветлитель со взвешенным осадком); 7 - вторичное озонирование; 8 - песчаный фильтр; 9 - угольный фильтр; 10 - третичное озонирование; 11 - вторичное хлорирование; 12 - резервуар чистой воды; 13 - подача питьевой воды потребителю

Двухступенное озонирование: предварительное озонирование и озонирование после коагуляционной обработки воды.

Вторичное озонирование воды позволяет осуществлять дальнейшее, более глубокое окисление оставшихся загрязнений. Оно повышает эффективность сорбционной очистки и продлевает срок службы активного угля до реактивации, в данном случае озон вводится перед песчаными или угольными фильтрами.

Трехступенное озонирование: предварительное озонирование после коагуляционной обработки и озонирование после полной очистки воды.

Заключительное озонирование очищенной воды (пост-озонирование) обеспечивает полное обеззараживание и улучшает органолентические показатели воды.

Способ и место введения озона в обрабатываемую воду определяется конкретно для каждого случая. Но ориентировочно можно считать, что любой из указанных выше вариантов (или сочетание их) целесообразно использовать при проектировании и новом строительстве станций. На существующих сооружениях реальным является введение озона в исходную воду, что должно быть подтверждено технологической целесообразностью метода.

 Озонирование является эффективным методом очистки воды в указанных случаях. Однако при выборе схем и режимов озонирования воды иногда допускают неверные решения, обусловленные ошибочными представлениями, основными из которых являются следующие.

 Режимы обработки воды озоном и схема озонирования выбираются обычно на основании данных физико-химического анализа природной воды. Вместе с тем известно, что качество воды в водоисточнике при ее движении претерпевает значительные изменения, поэтому для каждого случая условия как реагентной обработки, так и озонирования будут различными.

Зачастую произвольно, без всяких обоснований принимают дозу озона, по которой рассчитывают производительность озонаторного оборудования и размещают заказ на изготовление на заводе. В этом случае технологическая схема применения озона остается непроработанной. Возможные недостатки этого подхода будут выявлены только в процессе проведения пусконаладочных работ, когда исправить ошибки практически невозможно.

 Многие предприятия рассчитывают на то, что с введением озонирования можно будет полностью отказаться от хлорирования и исключить хлор из технологической схемы очистки воды. Как показывает зарубежный и отечественный опыт, применение озона не позволяет исключить использование хлора, хотя доза хлора может быть уменьшена. Это связано с тем, что озон быстро разлагается в воде и не обладает пролонгирующим бактерицидным действием. Поэтому для обеспечения надежной и безопасной в санитарно-гигиеническом отношении работы водопроводных сетей должно проводиться заключительное обеззараживание воды дозами хлора, обеспечивающими содержание в воде остаточного хлора на уровне 0,3 - 0,5 мг/л.

 Кроме того, как показали результаты исследований и практический опыт, неправильное использование озона может привести и к ухудшению процессов очистки воды.

 Так, при озонировании некоторых вод дозы озона существенно влияют на последующий процесс коагулирования, т.е. существует достаточно узкий диапазон их оптимальных значений, меньше которого озонирование неэффективно, а при больших дозах отмечается появление взвеси в фильтрованной воде и повышается концентрация остаточного алюминия.

 В ряде случаев озонирование воды способствует увеличению концентрации некоторых химических загрязнений, например фенолов, которые могут образовываться в результате неполного окисления ароматических соединений, присутствующих в воде.

Известно также, что в процессе озонирования воды возможно образование побочных продуктов, из которых наиболее представительным является формальдегид. Однако при последующей сорбционной очистке на угольных фильтрах содержание формальдегида существенно уменьшается.

 Озонирование, применяемое как самостоятельная ступень в технологии очистки воды, не всегда позволяет решить поставленную задачу повышения ее эффективности. Поэтому сорбционная ступень очистки воды в большинстве случаев является обязательной.

 Обобщая отмеченные выше недостатки и ошибки в практике применения озона при очистке воды, видно, что обеспечить наиболее рациональные решения по его использованию возможно только на основе изучения взаимодействия озона с другими технологическими приемами очистки.

Из этого следует, что в каждом конкретном случае необходимы: проведение предпроектных технологических исследований, в результате которых можно обоснованно судить о целесообразности и эффективности озонирования, необходимости использования сорбционной очистки воды; определение места ввода озона в общей технологической схеме и оценка его влияния на основные процессы очистки воды, применяемые на данной водоочистной станции, а также установление расчетно-конструктивных параметров метода.

 Для повышения технико-экономических показателей метода озонирования и его эффективности, как показывает зарубежный опыт, озон может быть использован совместно с УФ-облучением, применением пероксида водорода и пр., что также требует экспериментальной проверки и обоснования.

4.1.2. Сорбционная очистка воды

 Сорбционный метод применяется в основном для повышения глубины очистки воды от антропогенных неорганических и органических загрязнений, а также для удаления продуктов хлорирования и озонирования на заключительном этапе обработки воды.

Преимущества сорбционного метода: удаление загрязнений чрезвычайно широкой природы до любой остаточной концентрации, отсутствие вторичных загрязнений и возможность управления процессом.

Наряду с этим повышается надежность работы водоочистной станции в целом и гарантируется требуемое качество питьевой воды.

В качестве сорбционных материалов применяются активные угли отечественного и зарубежного производства.

Возможны два способа использования активных углей:

- введение порошкообразных активных углей (углевание воды);

- применение зернистых активных углей (гранулированных и дробленых) в качестве загрузки сорбционных фильтров.

4.1.2.1. Применение порошкообразных углей

 Наиболее сложные ситуации на водопроводах возникают в период паводков, когда в водоисточник попадают загрязнения, накопленные на водосборной территории. Особую опасность представляют залповые выбросы при промышленных и транспортных авариях, нарушениях производственных режимов и стихийных бедствиях. Они влекут за собой попадание в воду и почву значительных количеств химических веществ техногенного происхождения, в том числе ксенобиотиков, которые практически не обезвреживаются в ходе естественных процессов самоочищения водоемов.

Паводковые и аварийные периоды характеризуются многократным (в 10 раз и более) увеличением содержания примесей в воде, но продолжаются недолго - от 1 до 10 - 20 сут.

В практике часто встречаются ситуации с резким увеличением загрязнений в воде в 3 - 10 раз в течение нескольких дней по таким показателям, как запах, нефтепродукты, фенолы, бенз(а)пирен и т.п. Строительство полного комплекса очистных сооружений на этот уровень и период экономически нецелесообразно, а необходимо принимать срочные меры, осуществляемые в данных условиях.

Для таких случаев ГНЦ РФ НИИ ВОДГЕО и ГУП «Институт МосводоканалНИИпроект» разработана технология очистки воды с применением новых специальных марок порошкообразных активных углей.

Данная технология очистки воды реализуется наличием запаса специфического сорбента с длительно сохраняемой активностью, который используется в экстраординарной ситуации с любой необходимой интенсивностью.

 Для этой цели предлагаются более эффективные модификации известных порошкообразных активных углей: ОУ-А11, ОУ-Б12, ОУ-В15, АРА-23 и АГ-3ПМ. Все указанные сорбенты могут выпускаться в промышленном масштабе на действующих российских предприятиях.

Разработанная технология применена на нескольких водоочистных станциях, где порошкообразный уголь используется в течение 10 - 20 сут/год, в основном решая проблемы пиковой дезодорации воды, а также позволяет снизить ее окисляемость на 30 - 50 %, цветность и содержание железа - на 15 - 30 %.

4.1.2.2. Применение зернистых углей

 При использовании зернистых активных углей в качестве загрузки фильтров необходимо иметь в виду следующие моменты.

 Наиболее предпочтительны следующие марки активных углей: ДАУ, АГОВ, АГМ, СКТ-6А, АГ-З, которые могут быть выпущены российскими предприятиями, а также активные угли «Фильтрасорб-300» и «Фильтрасорб-400» фирмы «Чемвирон Карбон» (Бельгия) и других производителей.

 ГНЦ РФ НИИ ВОДГЕО разработаны новые марки активных углей для извлечения из воды различных загрязнений: СКД-515 и СПДК-27Д - для удаления из воды диоксинов и токсичных ксенобиотиков, СППЗ-5К и СППЗ-7Д - для дезодорации воды, СДН-13Д и СДН-120К - для очистки воды от нефтепродуктов.

 Применение активного угля в качестве верхнего слоя в двухслойных угольно-песчаных загрузках фильтров может быть рекомендовано только как временная мера, поскольку в таких случаях сорбционная емкость угля существенно уменьшается или полностью исчерпывается через 3 - 6 мес эксплуатации в результате кольматации пор угля гидроокисью алюминия. После этого уголь начинает работать как обычная осветляющая загрузка.

 В мировой практике нашел широкое применение уголь ТL-830. Этот уголь специально разработан и предназначен для замены песка. По данным эксплуатации за рубежом, фильтр с углем ТL-830 ориентировочно работает как механический, очищая воду после отстойников от взвешенных веществ, и как сорбционный - удаляет растворенные органические загрязнения, в т.ч. и антропогенные.

Отечественный опыт применения угля ТL-830 в России отсутствует. В связи с этим для решения вопроса о целесообразности применения этого угля необходима его проверка в опытных или производственных условиях.

 Наиболее целесообразно использовать активный угль на станции в отдельно стоящих сорбционных фильтрах, представляющих собой третью ступень очистки воды. Этот метод является надежным с санитарно-гигиенической и технологической точек зрения.

Поскольку на сорбционный фильтр поступает очищенная вода, то уголь работает только как сорбент и служит в основном для удаления из воды органических загрязнений. При этом срок службы угля в зависимости от качества воды водоисточника может достигать 3 лет, а как показывает зарубежный опыт, в случае применения предварительного озонирования срок использования угля увеличивается до 5 - 10 лет.

 Так как проектирование и строительство сооружений сорбционной очистки потребует достаточно длительного времени и значительных капитальных затрат, в качестве временного варианта можно рекомендовать переоборудование песчаных фильтров в сорбционные с полной заменой песчаной загрузки на угольную.

 В случае применения активного угля на водоочистной станции необходимо предусмотреть проектирование и строительство цеха реактивации для осуществления периодической реактивации угля.

Наиболее целесообразным по технико-экономическим показателям является термический метод реактивации, при котором уголь подвергается воздействию температуры 700 - 800 °С без доступа воздуха в течение 15 - 20 мин.

Организация реактивации угля непосредственно на площадке водоочистных сооружений может быть оправдана лишь в случае обработки значительных объемов угля на крупных станциях очистки воды. Наиболее перспективным является устройство региональных узлов реактивации угля (на область, республику и др.).

При реактивации угля для его перегрузки предусматривается система гидротранспорта (с помощью переносного гидроэлеватора). Потери угля при термической реактивации составляют 15 - 25 %. Сорбционная емкость угля восстанавливается практически полностью.

Работы по проектированию оборудования и цехов реактивации проводят ЦПКБХМ (г. Санкт-Петербург) и ПО «Сорбент» (г. Пермь).

 В случаях расположения водоочистных станций городов вблизи заводов - производителей активного угля возможна его реактивация на этих заводах путем доставки отработанного сорбента.

 Вместе с тем, одна сорбционная очистка, также как и одно озонирование, не всегда позволяет решить поставленную задачу повышения эффективности очистки воды. Поэтому в большинстве случаев предпочтительно совместное применение озона и сорбции на активных углях в дополнение к традиционным схемам очистки.

4.1.3. Совместное применение озона и активного угля

 Озонирование и сорбционную очистку воды следует применять в случаях, когда водоисточник имеет постоянный уровень загрязнения антропогенными веществами или высокое содержание органических веществ природного происхождения, характеризуемых показателями: цветность, перманганатная окисляемость и др.

 Озонирование воды и последующая сорбционная очистка на фильтрах с активным углем в сочетании с существующей традиционной технологией водоподготовки обеспечивают глубокую очистку воды от органических загрязнений и позволяют получить питьевую воду высокого качества, безопасную для здоровья населения.

 Учитывая неоднозначный характер действия озона и особенности применения порошкообразных и зернистых активных углей, в каждом случае необходимо проведение специальных технологических исследований (или изысканий), которые покажут целесообразность и эффективность использования данных технологий.

Кроме того, в ходе таких исследований будут определены расчетно-конструктивные параметры методов (оптимальные дозы озона в характерные периоды года, коэффициент использования озона, время контакта озоновоздушной смеси с обрабатываемой водой, тип сорбента, скорость фильтрования, время до реактивации угольной загрузки и режим реактивации с определением его аппаратурного оформления), а также другие технологические и технико-экономические вопросы применения озона и активных углей на водоочистных станциях.

 Впредь до проведения таких изысканий могут быть даны лишь следующие ориентировочные параметры метода озонирования и сорбции.

 Расчетные дозы озона изменяются в диапазоне от 1 - 1,5 до 20 мг/л. Меньшие дозы озона относятся к первичному озонированию и они характерны для зимнего периода. Средние значения доз озона (3 - 5 мг/л) относятся к периодам паводков и к летнему периоду. Большая доза озона относится к очистке высокоцветных вод.

 Удельный расход электроэнергии озонаторной станции при нормальном режиме не более 23 кВт/ч на 1 кг озона.

 Концентрация озона в озоновоздушной смеси изменяется от 15 до 22 мг/л в зависимости от требуемой эффективности и глубины очистки, а также уровня загрязнений водоисточника.

 Контактные камеры состоят из 3 реакционных отделений и воздухоотделителя. В камерах осуществляется смешение озоновоздушной смеси с обрабатываемой водой; смешение производится по принципу барботирования в противотоке. Для создания противоточного движения камеры разделены между собой струенаправляющими перегородками, обеспечивающими движение воды в направлении сверху-вниз.

 Для расчета контактных камер возможны следующие параметры:

- продолжительность контакта воды с озоном - 5 - 15 мин, считая суммарное время пребывания воды в 3 отделениях;

- продолжительность пребывания воды в воздухоотделителе - 2 - 30 мин в зависимости от места расположения контактной камеры;

- высота слоя воды в камере - не менее 4,5 м.

 В качестве диспергаторов озоновоздушной смеси целесообразно использовать мелкопузырчатые аэраторы.

 Для расчета угольных фильтров рекомендуется следующий диапазон величин:

- скорость фильтрации - 5 - 15 м/ч;

- высота слоя активного угля - 1 - 2,5 м;

- время контакта обрабатываемой воды с углем - 6 - 15 мин;

- интенсивность промывки - 10 л/(с·м2) (для углей АГМ и АГОВ) и 14 - 15 л/(с·м2) (для углей марок АГ-3 и ДАУ);

- промывку угольной загрузки производить не реже одного раза в 2 - 3 суток. Продолжительность промывки - 7 - 10 мин.

 Как известно из зарубежной практики и результатов исследований НИИ КВОВ, в процессе окислительно-сорбционной очистки (совместного применения озона и активных углей) имеет место сопутствующий процесс биологической очистки воды на активных углях, что приводит к повышению эффективности метода, а также существенному увеличению межреактивационного срока работы угольной загрузки.

4.2. Обработка и утилизация осадков водоочистных станций

Подготовка воды из природных источников в целях хозяйственно-питьевого водоснабжения обычно связана с применением реагентов (в основном солей алюминия) и образованием значительных количеств осадков.

Наиболее распространенными в отечественной практике приемами обработки осадков являются их естественная сушка на специальных площадках, сброс в искусственные накопители или водоисточники. Материальный и социальный ущерб, наносимый народному хозяйству России за счет отчуждения значительных площадей, создания антисанитарных условий вблизи городов, ухудшения качества исходной воды, огромен и не поддается точной оценке.

В связи с вышеизложенным необходим переход на интенсивные методы обработки осадков в целях уменьшения их объемов, предотвращения загрязнения окружающей среды, получения вторичных продуктов, пригодных для утилизации. Обработка осадков природных вод связана со значительными техническими трудностями и материальными затратами, которые обусловлены весьма низкой водоотдающей способностью, а также широким диапазоном колебаний исходных свойств осадков, что связано с качеством воды в водоисточнике и технологией ее очистки.

4.2.1. Состав, свойства и количество образующихся осадков

Осадки, образующиеся в процессе водоподготовки, разнообразны по составу и свойствам и зависят от качества воды в водоисточнике: осадки маломутных цветных вод (Ц/М - более 10 град·л/мг), осадки вод средней цветности и мутности (Ц/М 5 - 10 град·л/мг), осадки вод повышенной мутности (Ц/М < 5 град·л/мг).

 Основными компонентами осадков являются продукты гидролиза коагулянта и загрязнения, содержащиеся в исходной воде минерального и органического происхождения.

Осадки, образующиеся при очистке маломутных цветных вод, характеризуются более высокой влажностью, более высоким содержанием органики и гидроксида алюминия и низкими водоотдающими свойствами, чем осадки вод повышенной мутности.

 Водоотдающую способность (фильтруемость) осадка принято характеризовать удельным сопротивлением фильтрации, оказываемым единицей массы твердой фазы, равномерно отлагающейся на единице площади фильтра при фильтрации осадка, вязкость жидкой фазы которого равна единице, и коэффициентом сжимаемости.

Осадки цветных вод пониженной мутности имеют высокое удельное сопротивление фильтрации (r = 500 ÷ 1200)·10-10 см/г) и высокий коэффициент сжимаемости (s = 0,85 ÷ 0,96).

Для улучшения фильтрационных характеристик осадков требуется их предварительная подготовка.

4.2.2. Способы обработки осадков

Отечественная практика промышленной обработки осадков природных вод находится в стадии освоения технологических процессов, поэтому в настоящее время готовых типовых решений не существует. Выбор оптимальной технологии должен основываться на экспериментальных исследованиях с реальным осадком и с учетом существующей технологической схемы обработки воды и образования осадка, а также других факторов.

Можно выделить несколько основных способов обработки осадков:

- механическое обезвоживание осадков с реагентами на камерных и ленточных фильтрах-прессах, центрифугах и других аппаратах;

- обработка осадка природных вод совместно с осадками сточных вод на станциях очистки сточных вод;

- обработка осадка с одновременной регенерацией коагулянта;

- естественное замораживание и оттаивание осадка на площадках замораживания в соответствии с климатическими условиями и др.

Наиболее широко применяемым способом обработки осадков за рубежом и отработанным в опытно-промышленных условиях на некоторых российских станциях является их механическое обезвоживание с предварительным кондиционированием различными реагентами: известью, флокулянтами анионного, неионогенного и катионного типов; коагулянтами.

Исследования показали, что известь при введении в осадок выполняет двойную функцию: как химический реагент, частично растворяющий гелеобразный гидроксид алюминия, и как присадочный материал, снижающий величину показателя сжимаемости. Эта совокупность действий приводит к улучшению фильтрационных свойств осадка, и, кроме того, известь оказывает обеззараживающее действие.

4.2.2.1. Механическое обезвоживание осадков

Механическое обезвоживание осадков природных вод на станциях водоподготовки может осуществляться на камерных и ленточных фильтрах-прессах. Принципиальная технологическая схема обработки осадков на камерных фильтрах-прессах приводится на рис. 10 и включает в себя следующие операции:

- усреднение и уплотнение осадков;

- приготовление растворов известкового молока и флокулянта;

- дозированное введение химических реагентов в осадок;

- дозированная подача кондиционированного осадка в аппараты механического обезвоживания;

- механическое обезвоживание;

- выгрузка и траспортирование обезвоженного осадка.

В зависимости от технологических схем очистки воды усреднению и уплотнению подвергаются осадки из отстойников и осадки, образующиеся при усреднении и отстаивании промывных вод фильтров и контактных осветителей.

Уплотнение осадков является необходимым приемом, так как исходный осадок, особенно маломутных цветных вод, имеет высокую влажность (99 % и выше). В процессе гравитационного уплотнения влажность осадков снижается до 92 - 98 % в зависимости от их исходного качества. Для интенсификации уплотнения возможны медленное перемешивание и обработка флокулянтами.

Для кондиционирования осадков наиболее целесообразно использовать сочетание извести с флокулянтами, преимущественно анионного типа. Известь используется в виде 10 %-го известкового молока; флокулянт в виде (0,1 ÷ 0,2) %-го рабочего раствора, приготовление которого осуществляется в специальных установках или баках с диспергаторами и мешалками. Первоначально в осадок вводится известь (в количестве 20 - 80 % от массы сухого вещества), а затем раствор флокулянта (до 2 кт/т), который целесообразно дозировать винтовым насосом-дозатором.

 Камерные фильтры-прессы (см. рис. 10) типа ФПАКМ и некоторые конструкции зарубежных фирм являются наиболее распространенными аппаратами.

Режим их работы включает следующие операции: подачу кондиционированного осадка под давлением в фильтр-пресс; фильтрование под давлением; отжим; выгрузку кека и регенерацию ткани.

Рис. 10. Принципиальная технологическая схема обработки осадка на камерных фильтрах-прессах:

1 - уплотнитель исходного осадка; 2 - приемный резервуар осадка; 3 - насос быстрого заполнения; 4 - насос высокого давления; 5 - расходомер; 6 - узел смешения; 7 - манометр; 8 - камерный фильтр-пресс; 9 - резервуар воды для промывки фильтра-пресса; 10 - насос на промывку; 11 - шнековый транспортер; 12 - расходный бак-мешалка; 13 - шнековый транспортер; 14 - фильтр; 15 - силосная башня; 16 - вибратор; 17 - шнековый насос-дозатор; 18 - расходный бак флокулянта; 19 - узел приготовления раствора флокулянта

Влажность обезвоженного осадка после обработки составляет 60 - 75 %. Для предварительных расчетов, связанных с использованием фильтров-прессов типа ФПАКМ, для обезвоживания осадков природных вод различного качества могут быть рекомендованы исходные данные, приведенные в таблице.

Отношение Ц/М исходной воды, град·л/м

Доза извести (в пересчете на CaO от массы сухого вещества), %

Давление, МПа

Продолжительность фильтровального цикла, с

Влажность обезвоженного осадка, %

Производительность, кг/(м2·ч)

фильтрации

отжима

Более 10

60 - 80

0,45

1,08

1500

75

6,2 - 7,9

5 - 10

40 - 60

0,57

1,14

1000

65

7,9 - 10,1

Менее 5

20 - 40

0,68

1,26

900

60

10,1 - 10,9

 При обработке осадков на ленточных фильтрах-прессах не требуется использования насосов высокого давления, режим работы этих аппаратов не циклический, как на камерных, а непрерывный. Влажность обезвоженного на ленточном фильтре-прессе осадка зависит от качества самого осадка, дозы извести и может составлять 70 - 85 %.

 Вакуум-фильтры имеют ограниченную применимость для обработки гидроксидных осадков природных вод. Производительность этих аппаратов для обработки осадков, содержащих гидроксид алюминия, получается весьма низкой, а влажность кека порядка 80 %. Область же применения вакуум-фильтров на практике ограничивается осадками вод, при очистке которых используется подщелачивание известью с последующей коагуляцией железосодержащими реагентами и осадков от известкового умягчения.

 Центрифуги пока не получили широкого распространения для безреагентного обезвоживания осадков, содержащих гидроксид алюминия. Концентрация твердых веществ после обезвоживания таких осадков не превышает 12 %. Для повышения концентрации необходимо предварительное сгущение исходных осадков с добавлением извести, флокулянта, других реагентов.

Основным недостатком метода механического обезвоживания гидроксидных осадков, сдерживающим его широкое распространение, является относительно большой расход дорогой извести.

4.2.2.2. Обработка осадка природных вод совместно с осадками сточных вод на станции очистки сточных вод

Данный метод является экономически выгодным, так как не требует больших капитальных затрат на его реализацию. На водопроводной станции необходимо строительство резервуара-усреднителя осадка и насосной станции. На станции очистки сточных вод требуется лишь некоторое увеличение эксплуатационных затрат. Существенным преимуществом является и то, что персоналу станции, где имеется цех механического обезвоживания, не требуется дополнительная профессиональная подготовка.

При сбросе осадка в канализацию для предотвращения заиливания трубопроводов необходимо соблюдать уклон: при диаметрах трубопроводов 300 мм и менее угол наклона должен быть не менее 5°, при диаметрах в 400 мм и более - не менее 1,5°.

При сбросе осадков природных вод в канализацию количество осадков на станции очистки сточных вод увеличивается на 2 - 5 %, максимально - на 10 - 20 %.

4.2.2.3. Обработка осадков станций водоподготовки с одновременной регенерацией коагулянта

На станциях водоподготовки, осуществляющих обработку воды с низким значением рН, целесообразно осуществлять обработку осадка с одновременной регенерацией коагулянта в виде щелочного раствора.

Для регенерации коагулянта в усредненный осадок вводится известковое молоко до рН 10,5 ÷ 11,5. При этом происходит переход части гидроксида алюминия в раствор в виде гидроксоалюминатов кальция. Разделение реакционной массы на жидкую фракцию, представляющую раствор щелочного коагулянта с концентрацией до 400 ÷ 800 мг/л по Al2O3, и осадок осуществляется методом гравитационного отстаивания.

Оптимальные условия обработки осадка известью, обеспечивающие эффективное использование гидроксида алюминия:

- мольное отношение СаО/ Al2O3 в реакционной смеси ≈ 3;

- концентрация Al2O3 в реакционной смеси, которая устанавливается соответствующим разведением или концентрированием осадка от 1 до 3 г/л, равняется 0,46 - 0,67 г/л;

- растворимость Al2O3 равняется 25 - 46 %;

- значение рН смеси составляет 11,2 - 11,7.

Щелочной регенерированный коагулянт используется в сочетании с товарным сульфатом алюминия, доза которого может быть сокращена на 20 - 40 %. Использование регенерированного коагулянта приводит к увеличению остаточных значений рН и щелочности обработанной воды, а также к снижению ее коррозионной активности, что позволяет исключить или снизить расход реагентов, необходимых для подщелачивания и стабилизации обработанной воды.

Вторичные осадки отличаются от исходных по химическому составу и свойствам. Содержание гидроксида алюминия во вторичных осадках на 20 - 40 % ниже, чем в исходных, а содержание СаО возрастает до 30 - 45 %, влажность осадка составляет 98,5 - 96 %, рН = 11,2 - 12,0. Удельное сопротивление фильтрации вторичных осадков снижается до величин, обеспечивающих возможность их механического обезвоживания без дополнительного введения извести. Вторичные осадки могут быть обезвожены на вакуум-фильтрах и фильтрах-прессах. При обезвоживании на вакуум-фильтрах продолжительность фильтроцикла составляет 2 - 3 мин, влажность обезвоженного осадка 70 - 77 %, удельная производительность вакуум-фильтра 10 - 15 кг/(м2·ч). В результате обезвоживание на фильтре-прессе типа ФПАКМ влажность осадка снижается до 55 - 60 %, удельная производительность фильтра-пресса 3,5 - 5 кг/(м2·ч).

4.2.2.4. Обезвоживание методом замораживания - оттаивания осадка

Процесс замораживания - оттаивания осадка характеризуется изменением количественного соотношения между находящейся в структуре осадка связанной влагой и свободной в сторону увеличения последней. Однако это явление наблюдается только при определенных условиях теплообмена между осадком и охлаждающей средой. Такие условия обеспечиваются в процессе естественного замораживания осадка на открытом воздухе и в специальных резервуарах, оборудованных трубчатыми теплообменными элементами, в которых попеременно испаряется и конденсируется хладагент (аммиак). Чем выше интенсивность замораживания, которая определяется плотностью теплового потока, тем меньше количество связанной воды успевает перейти в свободное состояние. В то же время, с увеличением теплового потока возрастает количество замороженного осадка. Для каждого типа осадка существует допустимый уровень плотности теплового потока, превышение которого не приводит к существенным изменениям водоотдающей способности осадка после оттаивания, и она сохраняется такой же, как у исходного осадка.

4.2.3. Утилизация осадков

Утилизация осадков зависит от химического состава, который определяется качеством исходной воды и видами используемых реагентов в процессе водоподготовки и обработки осадков.

Осадки могут являться исходным сырьем при производстве различных строительных материалов: бетонной смеси, цементов, кирпича, керамзита и др., а также могут быть использованы для улучшения структуры плодородия почв.

4.2.4. Использование промывной воды

Промывную воду после фильтровальных сооружений на практике и в проектных решениях предусматривается сбрасывать на сооружения для осветления промывных вод и частичного возврата отстоенной воды в «голову» очистных сооружений (в смесители или входные камеры). Поскольку это может привести к нарушению процессов коагуляции и технологических режимов очистки, в каждом случае следует обоснованно принимать решение о таком использовании промывных вод.

Одним из способов повышения эффективности обработки промывных вод фильтров являются указанные выше конструкции: оборудование шламоуплотнителей тонкослойными блоками или устройство рециркуляторов (стр. 22, 24).

5. РЕКОМЕНДАЦИИ ПО ОЧИСТКЕ ВОДЫ ПРИ ИСПОЛЬЗОВАНИИ ПОДЗЕМНЫХ ВОДОИСТОЧНИКОВ

5.1. Общие рекомендации

При необходимости решения проблем глубокой очистки или улучшения качества подземных вод специалистам обычно приходится сталкиваться с наличием в водах избыточных концентраций железа, фтора, солей жесткости, высокой минерализации солей или ее отдельных компонентов, таких как: сульфаты, хлориды, стронций стабильный, бром, бор, нитраты и ряд других компонентов.

Наибольшее распространение имеют железосодержащие подземные воды, распространенные на территории Российской Федерации повсеместно и составляющие в отдельных регионах от 30 до 70 % всех пригодных к использованию водоисточников.

Засоление и загрязнение поверхностных и подземных источников вредными веществами отрицательно влияют на питьевые качества воды и в отдельных случаях делают их непригодными для питья.

В большинстве центральных и северных районов России природные подземные воды загрязнены в основном соединениями железа, фтора, стронция, солями жесткости, ионами хлоридов и соединениями тяжелых металлов в количествах, превышающих нормативные требования в несколько раз.

Для решения вопросов о выборе технологической схемы очистки воды и необходимых для этого сооружений требуется проведение комплекса проектно-изыскательских работ и технологических исследований.

Проектно-изыскательные работы предусматривают:

- сбор и систематизацию инженерно-геологических и гидрогеологических материалов по природным водам конкретного района;

- выбор объектов водоснабжения, определение состава и структуры водопотребителей. Определение объемов водопотребления выбранных объектов с учетом перспективы их развития.

Технологические исследования включают в себя проведение следующих работ:

- исследование химического состава вод, отобранных из конкретных источников, выявление степени их загрязнения;

- определение бактериологического состояния водоисточника;

- проведение технологических анализов по выявлению степени загрязненности воды взвешенными и коллоидными веществами, коррозионных свойств воды;

- определение в условиях реального объекта необходимых доз реагентов для умягчения, обеззараживания и кондиционирования воды;

- разработка технологической схемы станций приготовления питьевой воды и выбор оборудования.

На последующих этапах работы осуществляется проектирование сооружений и станций для очистки воды, а на заключительном этапе наладочные работы и пуск станций в эксплуатацию.

Обучение эксплуатационного персонала проводится на лабораторных стендах и установках, а также в процессе монтажа и пуско-наладочных работ непосредственно на объекте внедрения.

5.2. Обезжелезивание природных вод

 Подземные железосодержащие воды имеют, как правило, в 80 - 90 % случаев бикарбонатные формы железа. При этом вне зависимости от концентрации указанные типы вод содержат также железобактерии, которые в исходной форме в бескислородной среде подземного водозабора неактивны.

Однако в тех случаях, когда вода после водозабора не подвергается обработке, а сразу поступает в РЧВ или в водонапорную башню и происходит ее обогащение кислородом, происходит бурное развитие железобактерий, и они становятся активной биологически коррозионной структурой. В результате происходят коррозия и разрушение стенок труб, вынос железа в воду и ее вторичное загрязнение. При этом содержание железа может увеличиваться в несколько раз.

В связи с этим любые методы обезжелезивания воды, не предусматривающие удаление железобактерий, являются малоэффективными.

 Обезжелезивание воды от форм железа, которые принято называть бикарбонатными, осуществляется наиболее простыми методами. Такие формы характеризуются, как правило, содержанием железа до 10 - 15 мг/л, рН - до 6, перманганатной окисляемостью до 6 - 8 мг О2/л, отсутствием цветности воды и концентрацией углекислоты до 30 - 50 мг/л.

В указанных случаях основным методом является предварительная естественная аэрация (излив), иногда с дополнительным эжектированием и фильтрованием через зернистую загрузку.

 В тех случаях, когда указанные выше условия по качеству исходной воды не соблюдаются по ряду показателей (рН 6,3 - 6,5, окисляемость более 12 - 15 мг О2/л, наличие цветности - приходится встречаться с т.н. органическими формами железа обычно в зоне болот и торфянников), необходимо применение реагентных методов обезжелезивания с использованием двухступенной схемы очистки. Наиболее эффективное применение схемы «тонкослойный отстойник - скорый фильтр» с вводом щелочного реагента извести (доза 40 - 60 мг/л по СаО).

 В практике очистки подземных вод от железа при улучшении работы существующих станций приходится учитывать:

 изменение системы аэрации и окисления железа. В ряде случаев вследствие избыточного ввода кислорода воздуха путем компремирования наблюдается, с одной стороны, интенсивное окисление железа, что приводит к образованию неудовлетворительной в каталитическом отношении пленки, неспособной к глубокому извлечению железа, а с другой стороны - для напорных схем такое решение вызывает скопление избыточных газов (углекислоты, сероводорода и т.д.) в фильтрах, что также снижает эффективность их работы;

 при решении задач интенсификации работы станций обезжелезивания воды необходимо также принимать во внимание наличие и концентрации сопутствующих примесей (сероводорода, углекислоты и т.п.);

 концентрации и типы железобактерий, поскольку повышение их концентрации может вызвать вторичное развитие железобактерий в сети, биокоррозию металлических труб и вторичное загрязнение сетей железом. В то же время при минимальных концентрациях железобактерий станции обезжелезивания требуют активной аэрации (в т.ч. эжекционной или напорной с разрывом струи), без чего их эффективная работа невозможна. Таким образом, в каждом конкретном случае следует проводить углубленные физико-химические, микробиологические и технологические изыскания, которые позволят улучшить работу станций обезжелезивания;

 тип и состояние дренажа, а также виды промывки - водяная или водовоздушная. Интенсификация, реконструкция дренажных систем, модернизация и в ряде случаев изменение режима и вида промывки могут оказывать решающее влияние на работу станций обезжелезивания воды.

5.3. Специальные методы кондиционирования подземных вод

5.3.1. Удаление марганца и железа

Ряд подземных вод характеризуется одновременно наличием железа и марганца, поэтому зачастую возникает необходимость их обезжелезивания и деманганации.

Выбор технологии очистки зависит от природы соединений железа и марганца, их концентрации, щелочности, окисляемости, рН воды и других показателей.

Железо и марганец присутствуют в природных водах в форме минеральных или органических соединений гуминовых или некоторых жирных кислот. Во втором случае это воды с повышенной окисляемостью, имеющие агрессивный характер. Железо- и марганоорганические комплексы создают условия для развития маргано- и ферробактерий со всеми вытекающими негативными последствиями. С позиций технологии водоподготовки всегда имеется различие между способами улучшения качества подземных вод при наличии железа и марганца в минеральной или органической форме. При их минеральном происхождении обычно применяются безреагентные технологии, при органическом происхождении - обработка требует использования реагентов, что более сложно и трудоемко, сопряжено со значительными капитальными и эксплуатационными затратами.

Если железо и марганец присутствуют в воде в растворимой форме, то для выбора технологии важно знать бикарбонатную щелочность воды, которая влияет на процесс десорбции оксида углерода и оксидации железа (П) и марганца (П) и является главенствующим фактором при выборе технологии. Наиболее благоприятные условия для удаления железа и марганца создаются при карбонатной щелочности, равной общей и составляющей не менее 1,35 мг-экв/л.

Концентрация ионов водорода в воде и ее кислая или щелочная реакция определяют действие воды как растворителя, поэтому значение рН играет важную роль в осаждении гидроксидов.

Значение рН исходной воды влияет и на способность фильтрующего материала задерживать железо и марганец. При повышении рН эта способность возрастает, что объясняется изменением дзета-потенциала поверхности зерен загрузки.

Присутствующие в воде органические вещества оказывают негативное влияние на процессы удаления железа и марганца в тех случаях, когда их количество, определяемое перманганатной окисляемостью, свыше 6,5 мг/л. При обработке воды фильтрованием они могут образовывать желатиновые пленки на зернах фильтрующей загрузки, что затрудняет процессы адсорбции и хемосорбции.

Трансформация железа и марганца в органическую, восстановительную минеральную и окисленную минеральную форму обусловлена деятельностью маргано- и ферробактерий, а оксидация железа и марганца в кислой среде может происходить химически только при их вмешательстве. Присутствие в воде ферро- и марганобактерий указывает на восстановительное состояние системы и свидетельствует о необходимости обработки воды сильным окислителем перед ее фильтрованием.

При выборе технологии удаления железа и марганца следует также учитывать присутствие в воде аммиака, нитратов и нитритов, так как необходимое количество окислителя для оксидации железа (П) и марганца (П) возрастает при наличии в обрабатываемой воде аммиака.

Руководствуясь результатами анализа основных факторов, влияющих на процессы удаления железа и марганца, и экспериментальными данными, предлагается ряд методов удаления железа и марганца, в том числе такие:

- упрощенная аэрация с одноступенчатым фильтрованием;

- глубокая аэрация и фильтрование либо двойная аэрация и двойное фильтрование;

- глубокая аэрация, обработка сильным окислителем, фильтрование, стабилизация;

- известкование с коагулированием, напорная флотация и фильтрование либо аэрация, известкование с коагулированием, отстаивание в тонком слое и фильтрование.

Возможно также применение и других методов удаления железа и марганца.

5.3.2. Удаление сероводорода

В некоторых случаях подземные воды содержат избыточные концентрации сероводорода. Для его удаления применяют различные конструкции дегазаторов с использованием методов пенной дегазации, барботирования воздухом, вакуумной дегазации с подогревом и без подогрева воды и др.

Наибольшее распространение получил метод удаления сероводорода аэрированием. В ряде случаев для более полного удаления сероводорода аэрирование сопровождается подкислением воды до рН < 5 с последующей стабилизацией очищенной воды ее подщелачиванием.

Наиболее эффективными, получившими распространение на станциях большой производительности, являются химические методы - хлорирование, применение перманганата калия, озонирование.

Возможно применение фильтрования воды через модифицированную загрузку. При этом удаление сероводорода осуществляется при адсорбции ионов сероводородных соединений на зернах фильтрующей загрузки. Модификация песчаной загрузки состоит в том, что ее последовательно обрабатывают водными растворами железного купороса и перманганата калия или сульфата натрия и перманганата калия, в результате чего на поверхности зерен кварцевого песка при рН среды 6 - 9 образуется пленка, в составе которой имеется гидроксид железа и диоксид марганца.

Кроме химических способов окисления сероводорода, используют и биохимический метод, при котором в окислении сульфидных вод принимают участие серобактерии, встречающиеся в серных источниках и стоячих водах. Для массового развития серобактерий необходимы сероводород и кислород.

5.3.3. Обесфторивание воды

Для дефторирования воды используют ряд методов, которые можно подразделить на следующие.

 Метод сорбции фтора осадком гидроксида алюминия или магния, а также фосфата кальция - целесообразно применять при обработке поверхностных вод, когда кроме обесфторивания требуются еще осветление и обесцвечивание. Этот метод может найти применение и для обработки подземных вод при необходимости их одновременного умягчения (реагентным методом) и обесфторивания.

 Метод фильтрования воды через фторселективные материалы - основан на обменной адсорбции ионов, при которой фтор удаляется в процессе пропуска обрабатываемой воды через сорбент. Этот метод наиболее эффективен при обесфторивании подземных вод, как правило, не нуждающихся в других видах кондиционирования, или в тех случаях, когда одновременно с обесфториванием производят и опреснение.

Наибольшее распространение получило обесфторивание воды сульфатом алюминия. Технологическая схема в этом случае включает вертикальный смеситель, осветлитель со взвешенным осадком или отстойник с тонкослойными модулями и скорые осветлительные фильтры.

 В некоторых случаях эффективным является контактно-сорбционный метод обесфторивания природных вод, предложенный НИИ КВОВ. Коагулянт вводят в воду непосредственно перед контактными осветлителями. В первоначальный период (1,5 - 2,0 ч) подается повышенная доза коагулянта 100 - 150 мг/л по А2О3. При этом на зернах и в порах загрузки образуется гидроксид алюминия, который впоследствии сорбирует фтор. В этот период - период «зарядки» фильтрат, содержащий большое количество ионов фтора и алюминия, отводят в специальную емкость для последующего использования в качестве промывных вод. После «зарядки» дозу коагулянта снижают до 20 - 25 мг/л, что обеспечивает эффективное извлечение фтора за счет сохранения сорбционной способности гидроксида алюминия. Процесс дефторирования воды можно осуществлять и без «зарядки» при постоянной дозе коагулянта, величина которой определяется качеством исходной воды.

Контактно-сорбционное обесфторивание приемлемо при обработке вод, содержащих фтор - до 5 мг/л, сероводород - до 2 мг/л, щелочность - до 6 мг-экв/л. На 1 мг удаляемого фтора расходуется около 80 мг сульфата алюминия.

 Обесфторивание воды на алюмомодифицированных материалах показывает, что после обработки солями алюминия, песка, керамзита, дробленого клиноптилолита и других фильтрующих загрузок они способны эффективно извлекать из фильтруемой воды фтор-ионы. Максимальной сорбционной емкостью по фтору из рассматриваемых материалов обладает алюмомодифицированный клиноптилолит, который в естественной форме фтор из воды практически не извлекает.

Технологическая схема обесфторивания воды путем ее фильтрования через алюмомодифицированную загрузку клиноптилолита состоит из скорых фильтров, загруженных модифицированным клиноптилолитом. Регенерацию истощенной загрузки осуществляют в два приема:

- взрыхление и отмывка сорбента от фторсодержащих осадков, задержанных на поверхности и в порах загрузки;

- модификация загрузки пропусканием через нее концентрированного 4 - 6 %-го раствора солей алюминия (например сернокислого алюминия).

5.3.4. Применение метода обратного осмоса для удаления различных растворенных веществ

Физико-химический состав подземных вод может включать в себя различные известные растворенные примеси в широком диапазоне концентраций, порой значительно превышающих нормативные показатели. Помимо высокой минерализации подземные воды, как отмечалось выше, могут содержать повышенные количества солей жесткости, фтор, стабильный стронций, марганец, бром, радионуклиды и другие компоненты, удаление которых из воды традиционными методами сопряжено с большими материальными затратами и не всегда достаточно эффективно.

В то же время применение мембранной технологии, в частности метода обратного осмоса, позволяет уже в настоящее время на малогабаритном и несложном в эксплуатации оборудовании извлекать из воды до 99 % растворенных веществ. Питьевые свойства полученной после обратноосмотической обработки глубоко обессоленной воде придаются или путем ее смешения с расчетным количеством исходной воды (если позволяет исходная концентрация конкретного ингредиента), или, в отдельных случаях, в процессе кондиционирования путем добавления в обессоленную поду определенного количества необходимых веществ и микроорганизмов.

Метод обратного осмоса предназначен для обработки истинных растворов, т.е. извлечения из воды растворенных минеральных и органических веществ, поэтому при наличии в подземной воде двухвалентного железа и железобактерий установка доукомплектовывается системой обезжелезивания.

При значительном бактериальном загрязнении артезианских вод, что имеет место при загрязнении подземных вод сточными водами, в целях предотвращения бактериального загрязнения мембранных элементов воду предварительно обеззараживают. В случае обработки исходной воды реагентами, содержащими активный хлор, перед обратноосмотической установкой предусматривается узел дехлорирования.

В качестве дехлорирования используются сорбционные фильтры, загруженные активированным углем, или обработку исходной воды раствором бисульфата натрия.

В настоящее время развитие мембранной технологии позволит создавать надежные, практичные и удобные в эксплуатации установки мембранной очистки воды на основе обратного осмоса. Производительность обратноосмотических установок составляет от 1 до 100 м3/ч.

5.3.5. Удаление органических загрязнений

Для ряда подземных вод, особенно в нефтегазодобывающих регионах, таких как Ямал, Тюменская обл. и др., характерно наличие в них повышенных концентраций органических загрязнений (фенолов, нефтепродуктов и пр.).

В таких случаях наряду с традиционными или существующими методами очистки подземных вод необходимо дооснащение водоочистных станций или установок озонаторным оборудованием и применение сорбционных фильтров, что обеспечит получение воды требуемого стандартом качества.

5.4. Использование водоочистного оборудования блочного типа для водоснабжения небольших городов и населенных пунктов, а также отдельных объектов

 Имеющиеся источники с качественной водой обычно расположены на больших расстояниях от потребителей, и транспортировка ее с помощью групповых и локальных водопроводов связана со значительными капитальными затратами. В то же время очистка и опреснение этих вод на местах позволили бы доводить их качество до питьевых кондиций и с помощью локальных водопроводов снабжать население питьевой водой, при этом производительность составляет до 5 - 10 тыс. м3/сут.

Исходя из этого, учитывая сложность экологической и социальной обстановки, целесообразно обеспечить необходимые условия для внедрения технологий очистки и опреснения воды в практику водоснабжения населения в указанных регионах России с помощью автоматизированных компактных установок блочного типа.

 В зависимости от содержащихся в воде загрязнений установки могут комплектоваться необходимым набором технологических блоков, которые выпускаются серийно. Комплекс водоподготовительного оборудования может как монтироваться в приспособленных для этих целей помещениях, так и поставляться в контейнерном исполнении. Предлагаемые решения предусматривают не только высокое качество конечного продукта - питьевой воды, но и полную заводскую готовность водоподготовительного оборудования, а также техническую и санитарно-гигиеническую надежность. Станции приготовления воды питьевого качества, укомплектованные установками блочного типа производительностью 50 - 15000 м3/сут, позволяют оперативно решать проблему обеспечения питьевой водой населенные пункты с численностью до нескольких десятков тысяч человек.

 Снабжение питьевой водой городов, а также таких объектов как детские учреждения, больницы, пансионаты, гостиницы и др. возможно с помощью комплексных установок и с использованием отдельных блоков.

 Для очистки подземных вод от различных загрязнений, а также для реагентной очистки поверхностных вод для снижения нормируемых показателей до требований СанПиНа может быть использовано различное выпускаемое российской промышленностью оборудование, прошедшее апробацию в производственных условиях.

6. РЕКОМЕНДАЦИИ ПО ОРГАНИЗАЦИИ КОНТРОЛЯ КАЧЕСТВА ПИТЬЕВОЙ ВОДЫ В ОТНОШЕНИИ ХИМИЧЕСКИХ ЗАГРЯЗНЯЮЩИХ ВЕЩЕСТВ

6.1. Введение. Структура нормативно-правовой базы

К настоящему времени существует следующая структура законодательно-правовых актов в области питьевого водоснабжения.

А. Закон «О санитарно-эпидемиологическом благополучии населения» (от 19.04.91 № 1034-1) как юридическая основа деятельности надзорных органов.

Б. Подзаконные нормативные акты.

а) «Положение о государственной санитарно-эпидемиологической службе» № 625 от 05.06.94;

б) СанПиН 2.1.4.559-96. «Гигиенические требования к качеству воды централизованных систем питьевого водоснабжения. Контроль качества»;

в) СанПиН 2.1.4.027-95 «Зоны санитарной охраны источников водоснабжения и водопроводов хозяйственно-питьевого назначения».

Неотъемлемой частью указанных нормативных актов должны являться указания, в которых определены механизм реализации этих правил и порядок контроля за выполнением.

6.2. Особенности СанПиН 2.1.4.559-96

В СанПиНе реализован принцип регионального подхода к регламентации качества питьевой воды, учитывающий природные особенности состава воды и спектр антропогенных воздействий, характерных для данного конкретного региона на основе единых государственных нормативов качества воды и единой методики ее контроля.

Реализацией принципа регионального подхода является введение понятия «Рабочая программа контроля качества питьевой воды», которая составляется для каждой конкретной водопроводной станции на основании требований и нормативов с учетом условий формирования данного источника водоснабжения, санитарной обстановки в регионе и применяемой технологии водоподготовки. Составление Рабочей программы производится по единой методике, изложенной в обязательном приложении 1 к СанПиНу - «Правила установления контролируемых показателей качества питьевой воды и составления Рабочей программы производственного контроля качества питьевой воды».

Выбор контролируемых на конкретном водопроводе показателей из «федерального» перечня СанПиНом отнесен на региональный уровень, ибо производится с учетом местной санитарной и экологической ситуации.

Из перечня ПДК химических веществ в водных объектах выделены химические вещества, имеющие конкретную химическую формулу строения (ион или молекула). Из перечня исключены товарные и отраслевые названия продуктов, смеси веществ, вещества, диссоциирующие в воде, и выявлены непосредственно загрязняющие вещества, концентрации которых возможно измерить в воде источников водоснабжения и питьевой.

Перечень химических веществ составлен не по алфавиту, а в соответствии с их химической классификацией, как принято в специальной литературе. Это позволяет обнаружить искомое вещество независимо от синонима его наименования по любой используемой химической номенклатуре.

Часть показателей химического состава воды выделена в отдельные таблицы. В них указаны вещества, характерные для поверхностных и подземных вод России, наиболее распространенные реагенты для обработки воды, а также некоторые вещества, получившие повсеместное распространение в связи с промышленным или сельскохозяйственным загрязнением источников водоснабжения. Все эти группы показателей подлежат обязательному контролю при проведении расширенных исследований водоисточника и питьевой воды; в дальнейшем актуальные для данного водопровода ингредиенты подлежат систематическому контролю.

Введение дополнительных показателей, включение которых в Рабочую программу производственного контроля решается на региональном уровне, позволяет судить об эффективности очистки воды на станции, о санитарном состоянии распределительной сети.

Производственный контроль качества питьевой воды базируется на Рабочей программе, разработка которой основана на «расширенном исследовании воды», в процессе которого, по результатам санитарных обследований объектов, загрязняющих источник водоснабжения, а также данных лабораторных анализов воды в месте водозабора, изучается состав воды источника водоснабжения.

Далее для систематического контроля отбираются, в соответствии с положениями СанПиНа, показатели, характерные для состава воды источников водоснабжения данного водопровода. При таком подходе для многих водопроводов, в первую очередь с подземными источниками, это будет минимально ограниченный (но достаточный) объем анализа.

В соответствии с СанПиНом органы исполнительной власти России, в чьем ведении находится жилищно-коммунальное хозяйство, самостоятельно осуществляют утверждение Рабочей программы производственного контроля качества питьевой воды на основании расширенных данных о качественном и количественном составе воды источника водоснабжения.

В документе определен порядок санитарно-эпидемиологического надзора за соблюдением требований СанПиНа.

6.3. Рекомендации по составлению программы проведения расширенных исследований воды

Рабочая программа производственного контроля качества воды, включающая перечень химических веществ, выбранных для постоянного контроля, в соответствии с приложением 1 СанПиНа базируется на данных «расширенных исследований».

Проблема формирования перечня веществ для проведения расширенных исследований качества питьевой воды остается наименее проработанной к настоящему времени.

Базовая информация, т.е. материалы, указанные в п. 1.2.1 приложения 1 к СанПиНу, обосновываются на данных органов охраны природы, гидрометеослужбы, управления водными ресурсами, геологии и использования недр, предприятий и организаций, органов управления и организаций сельского хозяйства, центров Госсанэпиднадзора, данных собственной лаборатории и т.д.

Анализ этой информации позволяет принять обоснованное решение о включении или невключении в расширенные исследования лишь части пестицидов и ядохимикатов, а также некоторых наименований из приложения 2 к СанПиН. Для большинства веществ, регламентируемых СанПиН 2.1.4.559-96, имеющейся информации для принятия решения о включении или невключении их в расширенные исследования очевидно недостаточно.

Мониторинг водоисточников ведется чаще всего также по весьма ограниченному перечню контролируемых показателей, а данные о составе и объемах сточных вод, поступающих в водоисточник, обычно весьма неполны. Таким образом, базовая информация не заменяет расширенного анализа, а лишь служит основой для его планирования.

В случае отсутствия и невозможности своевременного получения безвозмездной (в соответствии с п. 3.3.1 МУ 2.1.4.682-97) базовой информации от организаций органов охраны природы, гидрометеослужбы, управления водными ресурсами, геологии и использования недр, предприятий и организаций органов управления и организаций сельского хозяйства и т.п., организации водоснабжения вправе учитывать в качестве таковой только данные собственной производственной лаборатории о качестве воды за предшествующие годы.

Для организации контроля качества питьевой воды в соответствии с СанПиНом рекомендуется следующая схема выбора компонентов для расширенного исследования воды водоисточника:

1. Проводит анализ базовой информации, указанной в п. 1.2.1 приложения 1 к СанПиН 2.1.4.559-96. Такой информацией чаще всего являются собственные данные организации водоснабжения или ЦСЭН по соответствующей территории о качестве воды за последние 3 года.

2. По результатам этого анализа определяют вещества, о которых имеются сведения в представленных материалах и которые включают или не включают в расширенные исследования на основании данных об их содержании в воде.

3. Если базовая информация не содержит убедительных доказательств отсутствия в водоисточнике и питьевой воде загрязняющих веществ, нормируемых СанПиНом (в том числе и приведенных в приложении 2), проводится расширенный химический анализ воды источника (однократно) с использованием современных инструментальных методов исследований для наиболее полного выявления загрязнений водоисточника.

Для этого вещества, сведения о которых отсутствовали в представленных материалах, группируют по химическим классам и группам таким образом, чтобы с минимальными затратами, путем применения селективных физико-химических методов (приемов) исследования, можно было определить наличие или отсутствие этих классов, групп или гомологических рядов в целом.

Используемый метод (прием) должен давать однозначный ответ о наличии или отсутствии искомых классов (групп) загрязняющих веществ в водоисточнике, убедительный для территориальных органов Санэпиднадзора.

4. При положительных результатах обобщенной оценки качества воды на присутствие в ней того или иного класса загрязняющих веществ, проводят более детальный химический анализ компонентного состава представителей обнаруженного класса и их количественного содержания в исследуемой воде.

5. На основании анализа базовой информации (п. 1 и 2) и проведенного однократного (как минимум) «расширенного химического анализа воды» (п. 3 и 4) составляется обоснованный перечень химических веществ для «расширенных лабораторных исследований воды» конкретного источника, проводимых в течение года, и отдельно перечень веществ для годовых «расширенных исследований» состава питьевой воды конкретной системы водоснабжения, которые согласовывают с территориальными органами Санэпиднадзора.

В соответствии с требованиями СанПиН 2.1.4.559-96 оба эти перечня должны обязательно включать, наряду с загрязняющими веществами, обнаруженными в результате расширенного химического анализа воды, все показатели из табл. 2 СанПиНа.

Для систем водоснабжения, использующих реагентные методы обработки воды, при проведении расширенных исследований перед подачей воды в распределительную сеть, дополнительно включают показатели, указанные в табл. 3 СанПиНа. Следует также включать загрязняющие вещества, содержащиеся в реагентах и фильтрующих загрузках, на основании информации, представленной в сертификатах на эту продукцию. Если реагентная обработка воды не осуществляется, то исследовать воду на указанные ингредиенты СанПиН не требует.

Указанная принципиальная схема позволяет существенно уменьшить затраты на проведение расширенных исследований воды.

Перечень показателей качества для расширенных исследований состава питьевой воды конкретной системы водоснабжения обычно включает следующие входящие в табл. 2 и прилож. 2 СанПиНа:

Обобщенные показатели

1. рН.                                                                               5. Нефтепродукты.

2. Общая минерализация.                                             6. ПАВанионактивные.

3. Жесткость общая.                                                      7. Фенольный индекс.

4. Окисляемость перманганатная.

Следует иметь в виду, что все указанные в этой рубрике нормативы не являются окончательными для оценки данной воды. Так, в частности, при нормативном содержании в воде «нефтепродуктов» на уровне 0,1 мг/л, концентрация их обязательного компонента «бензола» (норматив 0,01 мг/л) может оказаться превышенной на порядок, а возможного компонента «дифенила» (фенилбензола, ПДК 0,001 мг/л) - на два порядка. «Фенольный индекс» воды, например, может отвечать нормативу (0,25 мг/л), а содержание «пропилфенола» (норматив 0,01 мг/л) при этом окажется в данной воде превышенным в 25 раз, а «фенола» (норматив 0,001 мг/л) в 250 раз!

Приведенные здесь показатели качества дают лишь самый общий контур данной воды, пригодный в основном для регистрирования каких-то форс-мажорных ситуаций или получения самых общих сведений, таких, например, как характеристики постоянства состава или наличия сезонных изменений ее качества.

Неорганические соединения (элементный состав, катионы)

8. Алюминий (А13+).                                              25. Натрий (Nа, сум.).

9. Барий (Ва2+).                                                       26. Никель (Ni, сум.).

10. Бериллий (Ве3+).                                               27. Ниобий (Nb, сум.).

11. Бор (В, сум.).                                                    28. Ртуть (Hg, сум.).

12. Ванадий (V, сум.).                                            29. Рубидий (Rb, сум.).

13. Висмут (Вi, сум.).                                            30. Самарий (Sm, сум.).

14. Вольфрам (W, сум.).                                        31. Свинец (Pb, сум.).

15. Европий (Еu, сум.)                                           32. Селен (Sе, сум.).

16. Железо (Fе, сум.).                                            33. Серебро (Аg, сум.).

17. Кадмий (Сd, сум.).                                           34. Стронций (Sr3+)

18. Кобальт (Со, сум.)                                           35. Сурьма (Sb, сум.).

19. Кремний (Si, сум.).                                          36. Таллий (Тl, сум.).

20. Литий (Li, сум.).                                              37. Теллур (Те, сум.).

21. Марганец (Mn, сум.).                                       38. Хром (Сr+3).

22. Медь (Cu, сум.).                                                39. Хром (Сr+6).

23. Молибден (Мо, сум.).                                      40. Цинк (Zn2+).

24. Мышьяк (Аs, сум.).                                          41. Ион аммония (NН4+).

В настоящее время отсутствуют корректные интегральные показатели, характеризующие безопасность (доброкачественность) воды в отношении этих загрязняющих веществ. В этой связи представляется необходимым в ходе расширенных исследований проведение анализа воды индивидуально на каждый из элементов (№ 8 - 41).

Неорганические соединения (анодный состав)

42. Бромид-ион (Вr-).                                            46. Фторид-ион (F-).

43. Нитрат-ион (NО3-).                                          47. Хлорид-ион (Сl-).

44. Нитрит-ион (NО2-).                                          48. Цианид-ион (СN-).

45. Сульфат-ион (SО42-).                                        49. Сульфиды (Н2S + НS + S2-).

Другие неорганические соединения, указанные в прилож. 2 СанПиН 2.1.4.559-96, вводить в обязательный перечень расширенных исследований представляется нецелесообразным по следующим причинам.

Достаточно надежные аттестованные методики определения в питьевой и природной воде роданид-иона (НСN-), хлорит-иона (СlО2-), хлорат-иона (СlO3-), перхлорат-иона (СlО4-), перекиси водорода (Н2O2) и персульфат-иона (S2О82-) сегодня отсутствуют. Имеются методики определения указанных примесей для сточных вод соответствующих производств, но по своей чувствительности, погрешности и селективности они мало пригодны для оценки питьевой воды.

То же относится и к анионам комплексных соединений гексанит-рокобальтиат-иона [Со(NО3)6]4- и ферроцианид-иона [Fе(СN)6]3-, содержание в воде которых, по-видимому, целесообразно оценивать по концентрации соответствующих комплексообразующих элементов - кобальта и трехвалентного железа.

Весьма маловероятно присутствие в водоисточнике таких неустойчивых соединений, как, например, фосфор элементарный или перекись водорода, и таких сильных окислителей, как хлориты, хлораты или перхлораты.

Что касается нормируемых соединений гидросульфид-ион и сероводород, то аттестованные и временно допущенные методики анализа, а также современная аналитическая база позволяют определить их в воде лишь как суммарное содержание всех форм сульфидов. Содержание каждой формы в отдельности рассчитывают по специальным таблицам. Относительные концентрации этих форм в воде зависят прежде всего от рН этой воды, в меньшей мере - от ее температуры и общего солесодержания. Например, сульфид-ионы появляются в заметных количествах лишь при рН > 10; при рН 11 - сульфид-ионов содержится 1 % от суммы всех сульфидов; при рН 12 - 9 %, при рН 13 - 50 %, что неактуально для питьевой и природных вод.

По-видимому, в дальнейшем при переработке СапПиНа следует еще раз рассмотреть вопрос о целесообразности включений вышеуказанных веществ в перечень проведения расширенных исследований.

Органические показатели

Наиболее проблемной представляется оценка воды на содержание в ней органических примесей. Это связано как с широким спектром возможных загрязняющих веществ, так и с большими сложностями их определения и интерпретации результатов анализа.

К органическим веществам, подлежащим обязательному включению в расширенные исследования, табл. 2 СанПиНа относит

50. g-ГХЦГ (линдан).

51. ДДТ (сумма изомеров).

52. 2,4-D,

а прилож. 2 СанПиНа - весь спектр других органических загрязнений, для которых в настоящее время установлены гигиенические нормативы.

В этой связи расширенные исследования должны включать сведения о наличии или отсутствии основных классов (групп) загрязняющих веществ, указанных в прилож. 2 СанПиНа, которые приближенно можно представить следующим образом:

углеводороды, например бензол и др.;

полиароматические углеводороды, например бенз(а)пирен и др.;

галогензамещенные органические соединения, в том числе летучие, например, хлороформ, хлорбензол и др.,

спирты и простые эфиры, например метанол, диметиловый эфир и др.;

карбонильные соединения (альдегиды и кетоны), например, акролеин, диэтилкетон и др.;

органические кислоты (анионы органических кислот), например акриловая кислота, бензойная кислота и др.;

сложные эфиры органических кислот, например винилацетат и др.;

производные органических кислот, например ацетонитрил и др.;

фенолы, например фенол, крезол и др.;

карбаматы, тиокарбаматы, производные мочевины и тиомочевины;

амины, например этаноламин, анилин и др.;

нитросоединения, например нитробензол и др.;

гетероциклические соединения, например трибутилфосфат, трикрезилфосфат и др.;

серосодержащие соединения, например сероуглерод и др.;

элементоорганические соединения, например, трибутил-олово, этилмеркурхлорид и др.

При проведении расширенного анализа (и расширенных исследований) следует ориентироваться не только и не столько на анализ индивидуальных загрязнений, что весьма дорого и трудоемко, сколько на определение присутствия в исследуемой воде групп органических соединений в целом.

Так, на пример, отрицательный результат анализа воды на содержание общего органического хлора с большой степенью приближения указывает на отсутствие в испытуемой воде групп хлорорганических пестицидов, летучих галогеналканов - продуктов хлорирования воды, а также хлорзамещенных углеводородов, спиртов, фенолов и прочих, а следовательно, и на отсутствие необходимости в проведении контроля этой воды за указанными соединениями.

Таким же образом отрицательный результат анализа воды на содержание общего карбонила избавляет от необходимости ее исследования в отношении многочисленных индивидуальных загрязняющих веществ, относящихся к кетонам и альдегидам, например акролеина, формальдегида, бензальдегида, диэтил-кетона.

Современные инструментально-аналитические методы - хроматография, масс-спектрометрия, ИК-спектроскопия, спектроскопия ЯМР, а также их комбинации сориентированы на проведение групповых сканирующих исследований. Это во многом облегчает и удешевляет проведение расширенных анализов по СанПиНу.

При положительных результатах обобщенной оценки качества воды на присутствие в ней того или иного класса (группы) загрязняющих веществ следует проводить более детальный химический анализ компонентного состава представителей обнаруженного класса и их количественного содержания в исследуемой воде.

Анализы воды по наименованиям, приведенным выше, обязательны только для проведения расширенных исследований и в очень незначительном объеме реально входят в рабочую программу производственного контроля.

Можно предложить следующую конкретную схему проведения расширенных исследований в части определения органических загрязняющих веществ.

Первоначальную оценку органического состава воды проводят в отношении валового количества присутствующих в ней органических загрязняющих веществ. Наиболее предпочтительным является показатель общего органического углерода (ООУ). При этом наиболее эффективным и достоверным (в особенности для оценки исходных природных вод) следует считать метод ООУ, основанный на количественной термокаталитической деструкции органических примесей. Окисление продуктов пиролиза здесь происходит до диоксида углерода с последующей его конверсией в метан и регистрированием последнего хроматографическим детектором. Сопоставление чувствительности, точности и воспроизводимости показателя ООУ с традиционными методами определения суммарного содержания органических веществ в воде - ХПК, ВПК, ПО указывают на убедительное преимущество.

В случае обнаружения суммарного содержания органических загрязнений в пробе воды свыше 7,0 мг С/л, которое не обусловлено присутствием нефтепродуктов, ПАВ или фенольного индекса в соответствующих количествах, рекомендуется проведение первоначальной прикидочной оценки состава, составляющих эту величину соединений методом «вычитания». Использование «преколонок вычитания» позволяет определить, какую долю в валовом содержании органики составляют представители тех или иных химических классов.

Оценка ООУ в воде до и после фильтрации образца через «преколонки вычитания» часто позволяет экспрессно оценить данную воду по широкому перечню классов веществ с большой степенью приближения. Например, фильтрование образца воды через некоторые аниониты приводит к удалению из него фенолов и карбонилсодержащих веществ, фильтрование через хромосорб Р-кислых и нейтральных примесей, а применение Tenax GC приводит к избирательному удерживанию нейтральных соединений.

Использование барбатера (микробарбатера) позволяет при двух последовательных анализах проб воды на содержание ООУ - до и после отдувки воздухом или инертным газом - определить в валовом содержании органики долю летучих органических соединений (ЛОС), имеющих растворимость в воде не более 2 %, и температуру кипения не выше 150 °С, которые обычно представлены начальными членами гомологических рядов алифатических, ароматических и нафтеновых углеводородов, а также низкомолекулярными продуктами хлорирования воды - хлороформа, 1,2-дихлорэтана и др.

При последующей оценке воды на содержание в ней ЛОС, в том числе:

- алифатических углеводородов (н-гексан и др.);

- алициклических углеводородов (циклопентан и др.);

- ароматических углеводородов (бензол и др.);

- летучих галогеналканов (хлороформ и др.),

можно предложить следующие общие подходы.

Одна из целей анализа летучих компонентов - получение информации о наличии в природе одорантов, образующих запах воды. Порог чувствительности к запахам подавляющего большинства одорантов при органолептической оценке составляет менее 1 нг/л, а для некоторых - ниже 0,1 пг/л (10 - 8 %), т.е. ниже предела чувствительности современных газохроматографических детекторов. По этой причине применяют предварительное концентрирование летучих загрязняющих веществ.

При пробоподготовке для определения ЛОС, в зависимости от целей исследования и физико-химических свойств воды, возможно использование техники статического равновесного концентрирования в газовой фазе, непрерывной газовой экстракции (стриппинг) с промежуточным концентрированием на пористом полимерном сорбенте и применением криогенного ввода в хроматографическую аналитическую систему, жидкостно-жидкостной экстракции и прямого ввода пробы в капиллярную хроматографическую колонку.

Рекомендуемыми методами анализа при оценке состава воды в ходе проведения расширенных исследований для обоснованного выбора показателей для формирования Рабочей программы являются:

 капиллярная газожидкостная хроматография. В рамках этого метода, наряду с проведением традиционного качественного и количественного определения целевых компонентов, рекомендуются исследования «хроматографических профилей» (метод «отпечатков пальцев») загрязняющих примесей. При этом совокупность сведений о числе, относительном расположении, площади и форме пиков, рассматриваемых как единый классификационный признак, позволяет характеризовать природу, происхождение и особенности состава данной пробы воды. В большинстве случаев можно ограничиться отдельными участками хроматограмм, т.е. информацией о ключевых компонентах.

Для получения информации о составе целевых органических загрязняющих веществ в воде проводят раздельное определение летучих и нелетучих (полулетучих) соединений в исследуемых пробах, обычно в режиме программирования температуры на SCOT-колонках различной полярности. Данные этих исследований также учитывают природу органических загрязнений;

 хроматомасс-спектрометрия. В необходимых случаях хроматографический метод дополняют масс-спектрометрической (МС) оценкой качества воды. Целью этого исследования является идентификация индивидуальных органических примесей в воде. Для получения наиболее полной информации о наличии в воде тех или иных органических загрязняющих веществ проводят раздельное МС-определение летучих и нелетучих (полулетучих) соединений в диапазонах, где было зарегистрировано присутствие соответствующих зягрязнений в наиболее ощутимых количествах в ходе газохроматографического анализа.

МС-анализ проводят в режиме, аналогичном предварительному ГЖХ-разделению, обычно при скорости сканирования 1 спектр/с и диапазоне регистрируемых масс 30 - 450 а.е.м. Идентификацию компонентов проводят с учетом особенностей диссоциативной ионизации различных классов органических соединений по параметрам удерживания на используемых колонках, библиотечным данным и характеристическим для приоритетных загрязнителей ионам. Количественное определение содержания индивидуальных компонентов проводят, как правило, методом внутреннего стандарта.

ГХ/МС-разведочный анализ в целях выбора показателей для формирования Рабочей программы в отношении ЛОС в различных нормативных документах и научной литературе рекомендуется проводить следующим образом.

В Методических указаниях по хроматомасс-спектрометрическому определению летучих органических веществ в воде (МУК 4.1.649-96) оценка качества воды водных объектов хозяйственно-питьевого и культурно-бытового водоснабжения на содержание указанных примесей осуществляется с использованием непрерывной газовой экстракции, сорбционного концентрирования на твердом полимерном сорбенте - Tenax GC, последующей термодесорбцией и криогенным вводом пробы в хроматографическую капиллярную колонку с нанесенной на нее НЖФ SE-30. Диапазон сканируемых масс составляет 25 - 236 а.е.м.

Этот же принцип оценки ЛОС в воде положен в основу Методики выполнения измерений барботируемых органических соединений в воде методом капиллярной газожидкостной хроматографии или хроматомасс-спектрометрии Главного управления аналитического контроля и метрологического обеспечения природоохранной деятельности при Минприроды России, М., 1996.

Летучие галогенорганические соединения, обычно продукты хлорирования воды, Методические указания по газохроматографическому определению галогенсодержащих веществ в воде (МУК 4.1.646-96) рекомендуют анализировать методом равновесного концентрирования в газовой фазе при 80 °С с применением электронно-захватного детектора.

По методу ЕРА 502.2 исследования ЛОС осуществляют с применением стриппинга, последующего улавливания целевых компонентов на Tenax GC или НЖФ OV-1 и дальнейшего хроматографирования с использованием фотоионизационного детектора.

Исследование воды на присутствие указанных примесей по методу ЕРА 524.2 осуществляют с применением хроматомасс-спектрометра со струйным сепаратором при использовании техники пробоподготовки, которая приведена в методике ЕРА 502.2.

Статический парофазный анализ при 70 °С в течение 30 мин в сочетании с капиллярной ГЖХ и МС в режиме программирования температуры и сканировании 40 ÷ 300 а.е.м., а также метод прямого холодного ввода пробы в кварцевую капиллярную хроматографическую колонку для оценки воды на содержание тригалогенметанов с электронно-захватным детектированием рекомендует Практическое руководство «Анализ воды: органические микропримеси» фирмы Hewlett Packard. С.-Пб, Изд-во «Теза», 1995.

К малолетучим (среднелетучим) органическим загрязнениям воды относят галогензамещенные углеводороды (примерно, от С15), галогензамещенные эфиры, нитрозамины, сложные эфиры, полиароматические углеводороды (ПАУ), фталаты, нитроароматические соединения, бензидины, полихлорированные бифенилы (ПХБ), хлорорганические пестициды, триазины, фенолы и др. Отнесение загрязняющих веществ к этой группе весьма произвольно и базируется в основном на хроматографических данных. Вещества условно относят к малолетучим (среднелетучим) в случаях, когда их анализ методом равновесного пара и непрерывной газовой экстракции менее эффективен вследствие низкого давления их паров.

Указанные соединения в соответствии с Методическими указаниями «Определение массовой концентрации органических соединений в воде методом хроматомасс-спектрометрии» (МУК 4.1.663-97), предназначенными для проведения санитарно-химических исследований воды водных объектов хозяйственно-питьевого и культурно-бытового водопользования, выделяют и концентрируют методом жидкостно-жидкостной экстракции метилен-хлоридом (при рН > 11, а затем рН < 2) с последующим ГХ/МС-анализом.

По методам ЕРА 525 и 625 указанные соединения извлекают из воды твердофазной (С18) или непрерывной жидкостно-жидкостной (дихлорметан) экстракцией с последующим ГХ/МС-анализом.

К особой группе малолетучих органических загрязнений воды следует отнести карбонильные соединения - продукты озонирования воды, которые определяют в соответствии с Методическими указаниями по газохроматографическому определению формальдегида, бутаналя, 2-этил-гексаналя и других в воде (МУК 4.1.653-96, 4.1.654-96).

ПАУ, относящиеся к приоритетным загрязнителям, после твердофазного или жидкостно-жидкостного концентрирования, определяют в основном методами капиллярной газовой хроматографии с МС-детектированием, высокоэффективной жидкостной хроматографии (ВЖХ) с ультрафиолетовым или флуоресцентным детектором или методом флюориметрии.

Важным этапом исследований является определение представителей основных групп пестицидов: хлор-, азот-, фосфорорганических, карбоновых кислот и их производных, карбаматов, а также полихлорированных бифенилов (ПХБ).

В случае, если указанные загрязняющие вещества полностью или частично не были определены в ходе предыдущих исследований, рекомендуется применение метода ГЖХ.

В соответствии с прилож. 1 СанПиН 2.1.4.559-96 в случае, если данные органов управления и организаций сельского хозяйства об ассортименте и валовом объеме пестицидов и агрохимикатов, применяемых на территории водосбора и в пределах зоны санитарной охраны за период не менее 3 последних лет указывают на отсутствие применения тех или иных пестицидов (групп пестицидов), соответствующие исследования не проводятся.

6.4. Выбор показателей для рабочей программы производственного контроля качества воды

При составлении Рабочей программы следует учитывать, что последняя должна содержать (п. 2.3.1 - 2.3.5 СанПиН 2.1.4.559-96) Перечни контролируемых показателей качества воды и их гигиенические нормативы, установленные санитарными правилами дифференцированно для водоисточника, питьевой воды перед подачей в сеть и питьевой воды в сети. Эти перечни в обязательном порядке должны включать следующие показатели:

Для водоисточников:

- микробиологические и паразитологические (п. 4.3, табл. 1);

- радиологические (п. 4.6, табл. 5);

- обобщенные (п. 4.4.1, табл. 2);

- химические вещества, выбранные для постоянного контроля в соответствии с результатами расширенных исследований.

Для резервуара чистой воды:

- микробиологические и паразитологические (п. 4.3, табл. 1);

- органолептические (п. 4.5, табл. 4);

- радиологические (п. 4.6, табл. 5);

- обобщенные (п. 4.4.1, табл. 2);

- остаточные количества реагентов (п. 4.4.2, табл. 3 и др.);

- химические вещества, выбранные для постоянного контроля в соответствии с результатами расширенных исследований.

Для воды в сети:

- микробиологические и паразитологические (п. 4.3, табл. 1);

- органолептические (п. 4.5, табл. 4). Для водоисточников приоритетными для дополнительного включения в перечень следует считать вещества, обнаруженные в водоисточнике при проведении расширенных исследований, на уровне, равном или выше ПДК.

Для питьевой воды приоритетными для включения в перечень следует считать вещества, обнаруженные в питьевой воде при проведении расширенных исследований, на уровне, равным или выше 0,5 ПДК.

При оценке следует учитывать не только средние, но и максимально полученные величины.

Возможность комбинированного действия химических веществ при формировании перечня показателей для рабочей программы обычно не учитывают.

В соответствии с п. 1.3 обязательного прилож. 1 к СанПиН 2.1.4.559-96 потенциальная опасность влияния присутствующих в воде химических веществ на здоровье населения определяется территориальным центром Санэпиднадзора, он же утверждает предложения по перечню контролируемых показателей и согласует Рабочую программу.

Рабочая программа производственного контроля, сформированная на основании расширенных исследований при благоприятных результатах этих исследований может насчитывать существенно меньшее число показателей качества для систематического контроля, чем предписывает ГОСТ 2874-82.

6.5. Реализация требований СанПиН 2.1.4.559-96 для регионов, водоснабжение которых базируется на подземных источниках

Затраты на расширенные исследования воды для указанных регионов могут оказаться весьма значительными. Для таких регионов в целях составления программы проведения расширенных исследований воды рекомендуется организация региональной комиссии с участием представителей коммунального водного хозяйства, органов Госсанэпиднадзора по соответствующей территории, водоохранных, гидрологических и экологических организаций.

Комиссия разрабатывает специальную единую программу проведения расширенных исследований, которую утверждает администрация соответствующего региона на основании:

- анализа результатов исследования воды водоисточников и питьевой воды за три последних года, а также имеющихся сведений, указанных в п. 1.2.1 прилож. 1 к СанПиН 2.1.4.559-96;

- сравнительной оценки производительности скважин каждого водоносного горизонта для систем водоснабжения населенных пунктов;

- выработки подходов к оценке скважин, объединенных общей зоной санитарной охраны и эксплуатирующих один водоносный горизонт;

- выбора определенных населенных пунктов в качестве опорных узлов начального этапа работ;

- определения для каждой системы водоснабжения (водозаборных узлов) перечня показателей качества, которые включаются в программу расширенных исследований на различных этапах;

- формирования программы работ проведения расширенных исследований питьевой воды.

В этом случае проведенный соответствующим образом анализ большого массива исходных данных и данных, получаемых в ходе расширенных исследований, позволяет в целом по региону значительно снизить затраты на проведение этих исследований и выбор контролируемых показателей качества воды.

Такой централизованный подход к решению проблемы внедрения нового важного нормативного документа представляется наиболее целесообразным и эффективным для крупных регионов России.

6.6. Оборудование лабораторий

Для организаций коммунального водного хозяйства создание лабораторной базы, располагающей всем спектром необходимых приборов и оборудования для оценки воды по всему перечню наименований, указанному в СанПиНе, малоосуществимо и неоправданно.

Для проведения расширенных исследований воды, проводимых в соответствии с СанПиНом один раз в 5 лет, целесообразно привлекать соответствующие аккредитованные лаборатории для выявления обоснованного минимума показателей, по которым в дальнейшем будет осуществляться систематический контроль.

Выявление обоснованного минимума контролируемых показателей, т.е. перечня показателей качества, включенных в Рабочую программу производственного контроля, напрямую связано с правильным решением вопросов оснащения химико-аналитических служб отрасли необходимым парком приборов, оборудования, реактивами и т.п. Это позволит до минимума сократить затраты на оснащение аналитических лабораторий, включая отказ от приобретения целых классов приборов при обеспечении требуемой полноты, эффективности и оперативности контроля.

7. ПОТЕРИ И СОХРАНЕНИЕ КАЧЕСТВА ПИТЬЕВОЙ ВОДЫ ПРИ ЕЕ ТРАНСПОРТИРОВАНИИ К ПОТРЕБИТЕЛЮ

Получение качественной воды является основной задачей городских водоочистных станций. Эта задача тесно связана с технико-экономическими показателями конкретных станций. Так, имеющиеся утечки водопроводной воды приводят к ухудшению технико-экономических показателей и нерациональным потерям воды питьевого качества. Кроме того, при транспортировании воды по трубопроводам систем ее подачи и распределения в большинстве случаев происходит ухудшение качества воды, что снижает эффективность работы водоочистных станций. В связи с этим решение проблем неучтенных расходов воды и внутренней защиты трубопроводов играет существенную роль в решении общей проблемы обеспечения населения высококачественной питьевой водой.

7.1. Рациональное использование питьевой воды

Потери воды при эксплуатации систем водоснабжения, нерациональное использование воды всеми категориями потребителей являются неизбежными факторами.

Организация рационального использования воды и устранение ее потерь являются одной из актуальных современных задач, решение которой зависит от активности и направленности усилий всех звеньев экономики. Потери воды всех видов (утечки и ее нерациональное использование) на сегодня еще весьма велики, что приводит к бесполезной трате значительных средств, препятствует нормальному водоснабжению населения, тормозит решение задач охраны природы.

По данным ряда отечественных исследований, в частности работ НИИ КВОВ, потери питьевой воды по городам России составляют в среднем 35 - 40 % (в отличие от зарубежных показателей 10 - 20 %) и складываются за счет:

·      неэкономного использования воды;

·      непроизводственных расходов, связанных с несовершенством наружной арматуры;

·      скрытых утечек в трубопроводах;

·      утечек воды из-за недостатков эксплуатации внутридомовой сантехники;

·      хищений воды.

Серьезного сдвига в деле снижения расхода воды можно добиться путем повышения сознательного отношения к воде, проведения ряда организационно-технических мероприятий, введения нормативно-правовых актов.

Однако только путем организационных мероприятий и правовой работы сознательного отношения к воде не появится.

Крупным недостатком в ведении водного хозяйства является отсутствие необходимого экономического механизма, действенных рычагов и стимулов, позволяющих эффективно влиять на коренное улучшение водопользования, бережное отношение к водным ресурсам трудовыми коллективами предприятий и организаций всех отраслей экономики и населения.

Бережливость к водным ресурсам необходимо поставить на прочный хозрасчетный фундамент, законодательно закрепить развитие экономических отношений и социальные гарантии.

Рациональное и бережное расходование воды снижает гидравлическую нагрузку на действующие очистные сооружения, позволяет тем самым повысить качество воды, подаваемой потребителям.

Основным методом борьбы с потерями воды, ее нерациональным использованием являются своевременное выявление и установление причин повышенных расходов воды, ликвидация утечек воды, а также создание условий водопользования, при которых нерациональное использование воды будет минимальным.

Рациональное использование воды в промышленности связано в основном с созданием оборотно-повторного водоснабжения, замкнутых систем водного хозяйства, внедрения на вновь вводимых и реконструируемых производствах безводных и маловодных технологических процессов.

При эксплуатации систем подачи и распределения воды основными направлениями снижения потерь воды являются:

- внедрение современных технологий и материалов при прокладке новых сетей водоснабжения;

- диагностика состояния трубопроводов для предупреждения аварий;

- выявление и ликвидация скрытых утечек из трубопроводов;

- предупреждение, выявление и быстрая локализация аварий;

- санация действующих трубопроводов, находящихся в ветхом или аварийном состоянии.

Иначе говоря, важнейшим средством сокращения потерь воды при эксплуатации являются повышение уровня эксплуатации, оснащение водопроводных организаций современными механизмами, приборами, средствами КИПиА.

Снижение потерь воды и ее нерациональное использование населением предполагают проведение следующих мероприятий организационно-технического характера:

- первоочередные мероприятия по ремонту, регулировке и замене неисправностей водоразборной арматуры и смывных бачков, наладка имеющихся регуляторов давления, ликвидация явных нарушений режимов работы систем холодного и горячего водоснабжения;

- модернизация водоразборной арматуры и установка дросселей в водопроводную арматуру на нижних этажах многоэтажных зданий;

- наладка циркуляции в системах централизованного горячего водоснабжения;

- установка регуляторов давления на вводах отдельно стоящих зданий пониженной этажности;

- модернизация насосной подкачки с заменой агрегатов, автоматизацией, применением регулируемого электропривода;

- зонирование схем водоснабжения зданий и микрорайонов (особенно при новом строительстве и реконструкции существующего фонда);

- установка водосчетчиков на вводах в здания и у арендаторов;

- замена водоразборной арматуры и смывных бачков на новую, более надежную, обеспечивающую водосбережение;

- установка квартирных регуляторов давления и температуры горячей воды;

- использование квартирных водосчетчиков холодной и горячей воды;

- обеспечение населения новыми типами бытовой техники, обеспечивающей водосбережение (стиральные машины, посудомойки и др.).

Определенный практический интерес представляет децентрализация горячего водоснабжения с использованием электрического подогрева, в том числе с баками-аккумуляторами и льготной оплатой электроэнергии в ночные часы.

Таким образом, очевидно, что поэтапное и существенное сокращение потерь воды позволит уменьшить производительность водоочистных станций, уменьшить нагрузку на очистные сооружения и за счет этого добиться более глубокой степени очистки воды как по основным показателям, так и по концентрации загрязнений антропогенного происхождения.

7.2. Системы подачи и распределения воды

Как уже отмечалось, эффективное обеспечение населения водой обусловлено не только степенью ее подготовки на очистных сооружениях, но и состоянием систем подачи и распределения воды, в первую очередь состоянием трубопроводов. Водопроводные и канализационные сети большинства российских городов характеризуются негерметичностью, высокой изношенностью, повышенной аварийностью. Это вызывает вторичное загрязнение очищенной воды и окружающей среды, увеличивает потери питьевой воды и расход электроэнергии на ее транспортирование, снижает надежность водоснабжения населения и других категорий потребителей.

Высокий износ подземных водонесущих сетей при сравнительно небольших сроках их эксплуатации обусловлен выпуском отечественной промышленностью металлических труб без внутренней антикоррозионной защиты, с нормативным сроком их эксплуатации не более 18 - 20 лет. Существующие в коммунальном водном хозяйстве Российской Федерации объемы применения металлических труб (более 75 % от всех видов труб) и сложности с массовым выпуском промышленностью металлических труб с внутренней защитой вызывают необходимость создания при водоканалах специальных подразделений для проведения внутренней антикоррозионной защиты вновь строящихся и эксплуатируемых сетей. В связи с этим для регионов предлагаются следующие технические решения:

·   создать базу (цех) для внутренней защиты новых труб методом центробежного набрызга цементно-песчаного раствора. Это обеспечит получение соответствующей санитарной надежности строящихся водоводов из металлических труб и повышение расчетного срока их эксплуатации до 50 лет и более;

·   создать специализированный участок по бестраншейному восстановлению (реновации) сетей водоснабжения и канализации с оснащением их необходимым технологическим оборудованием, в том числе:

а) комплектом оборудования для очистки действующих металлических трубопроводов диаметром 100 - 1400 мм от продуктов коррозии (обрастаний) и нанесения внутренней цементно-песчаной защиты;

б) комплектом оборудования для диагностики (контроля) вновь строящихся и адресного прецезионного ремонта действующих сетей (передвижная установка с ТВ-роботом).

Стоимость работ по восстановлению действующих сетей составляет примерно 25 - 40 % от стоимости работ по их перекладке или укладке новых трубопроводов.

Расчетные сроки окупаемости:

- базы для нанесения внутренней цементно-песчаной защиты на новые трубы - 2 года;

- комплекта для реновации с помощью цементно-песчаной защиты - 5 лет.

8. ЛИЦЕНЗИРОВАНИЕ И СЕРТИФИКАЦИЯ ЦЕНТРАЛИЗОВАННЫХ СИСТЕМ ПИТЬЕВОГО ВОДОСНАБЖЕНИЯ

8.1. Общие положения

Эффективность функционирования централизованных систем питьевого водоснабжения обеспечивается двумя неразрывно связанными компонентами: управленческой и эксплуатационной.

Поиск решений, направленных на повышение качества питьевой воды, лежит в области новых технологических приемов, усовершенствований условий эксплуатации сооружений и т.п.

Вместе с тем значение управленческой компоненты, регулирующей, координирующей и направляющей все сферы деятельности водопровода и формирующей условия получения питьевой воды надлежащего качества, имеет решающее значение.

Сущность управленческой компоненты может быть представлена как ответственность высшего руководства за конечный результат работы системы водоснабжения.

8.2. Законодательство российской федерации в области лицензирования и сертификации

 Законодательные акты и постановления Правительства Российской Федерации, отечественные и международные стандарты последних лет направлены на всестороннее совершенствование управленческой структуры организаций.

В первую очередь к ним относятся следующие документы:

 законы Российской Федерации:

«О сертификации продукции и услуг», «О стандартизации», «Об обеспечении единства измерений», «О санитарно-эпидемиологическом благополучии населения», «О лицензировании отдельных видов деятельности»;

 постановления Правительства Российской Федерации:

«О некоторых мерах, направленных на совершенствование систем обеспечения качества продукции и услуг» от 2 февраля 1998 г. № 113;

«Об утверждении Правил пользования системами коммунального водоснабжения и канализации в Российской Федерации» от 12 февраля 1999 г. № 167;

«Об утверждении Положения об осуществлении Государственного контроля за использованием и охраной водных объектов» от 16 июня 1997 г. № 716;

«Об утверждении Правил предоставления коммунальных услуг и Правил предоставления услуг по вывозу твердых и жидких бытовых отходов» от 26 сентября 1994 г. № 1099;

санитарные правила и нормы СанПиН 2.1.4.559-96. «Питьевая вода. Гигиенические требования к качеству воды централизованных систем питьевого водоснабжения. Контроль качества».

 Международные стандарты серии ИСО 9000-94. Отечественные стандарты серии ГОСТ Р 40 000, касающиеся сертификации систем качества производств, а также нормативные документы Госстандарта РФ, устанавливающие порядок, правила и требования в области сертификации продукции и услуг.

 Таким образом, в настоящее время в Российской Федерации сформировано принципиально новое правовое и экономическое пространство, в котором должны работать организации, эксплуатирующие инженерные системы жизнеобеспечения, в том числе и организации ВКХ, включающее в первую очередь новые требования в части наличия у организации ВКХ соответствующих лицензий на право деятельности и сертификатов, подтверждающих качество продукции, как той, которая выпускается, так и той, которая поступает на предприятие.

Законы и постановления Правительства Российской Федерации направлены на упорядочение деятельности управленческих структур организаций, повышение их роли, ответственности и полномочий.

8.3. Развитие законодательства в области лицензирования

Законодательством установлено, что муниципальные организации ВКХ, осуществляющие эксплуатацию систем водоснабжения и канализации городов и населенных пунктов, а также предприятия других видов собственности, которые осуществляют различного рода деятельность в области водоснабжения и канализации, должны иметь соответствующую лицензию на право деятельности.

Система лицензирования в Российской Федерации начала формироваться с 1991 года.

Одним из первых законодательных актов по лицензированию являлось постановление Совета Министров РСФСР от 08.11.91 № 593 «О введении государственного лицензирования строительной деятельности на территории РСФСР». Постановление было направлено на защиту прав и интересов потребителей строительной продукции. Документом устанавливались организационно-правовые основы лицензионной деятельности, определялись виды подлежащей лицензированию строительной деятельности (т.е. строительно-монтажных, проектных работ, инженерных изысканий и т.д.), порядок лицензирования и выдачи лицензий, статус и функции лицензионных органов.

Переход в 1992 году к интенсивному развитию рыночных отношений, а также появление на рынке товаров и услуг все большего числа самостоятельных хозяйствующих субъектов вызвали необходимость создания новых механизмов правового регулирования и в других отраслях деятельности в целях защиты законных прав и интересов потребителей и предпринимателей.

Постановлением Правительства РФ № 1418 от 24.12.94 «О лицензировании отдельных видов деятельности» было положено начало единой государственной политики в области лицензирования отдельных видов деятельности и обеспечения жизненно важных интересов личности, общества и государства.

Согласно постановлению был утвержден Перечень, включающий 26 видов деятельности, на осуществление которых требуется лицензия, в том числе вид деятельности «Эксплуатация инженерных систем городов и населенных пунктов».

 В целях дальнейшего совершенствования обеспечения единой государственной политики при осуществлении лицензирования, регулировании и защите прав и интересов граждан, нравственности и здоровья, обеспечения обороны страны и безопасности государства, а также установления правовых основ единого рынка в июне 1998 г. был принят Федеральный закон «О лицензировании отдельных видов деятельности».

В законе дан перечень видов деятельности, на осуществление которых требуются лицензии (статья 17), в том числе:

- эксплуатация централизованных систем питьевого водоснабжения и систем водоотведения городских и других поселений.

В Перечень включены также такие виды деятельности, как:

- эксплуатация аппаратуры и систем контроля противоаварийной защиты и сигнализации;

- эксплуатация котлов и сосудов, работающих под давлением, трубопроводов пара и горячей воды;

- эксплуатация взрыво- и пожароопасных, химически опасных и вредных производств;

- эксплуатация инженерных инфраструктур городов и других населенных пунктов;

- другие виды деятельности, осуществление которых может быть необходимым при эксплуатации централизованных систем питьевого водоснабжения и систем водоотведения.

Эти виды деятельности могут осуществляться как организацией, эксплуатирующей централизованные системы питьевого водоснабжения и системы водоотведения, так и другими специализированными организациями по договорам.

В соответствии с законом лицензия выдается отдельно на каждый лицензируемый вид деятельности.

 Виды деятельности, не включенные в статью 17 Федерального закона, осуществляются без лицензий, за исключением случаев, если лицензирование видов деятельности не предусмотрено иными федеральными законами. Так, лицензирование пользования поверхностными водными объектами осуществляется в соответствии с Водным кодексом Российской Федерации и постановлением Правительства РФ № 383-1997 г.

Лицензирование осуществляется при обязательном соблюдении законодательства Российской Федерации, экологических, санитарно-эпидемиологических, гигиенических (Федеральный закон «О санитарно-эпидемиологическом благополучии населения»), противопожарных норм и правил, а также положений о лицензировании, перечней работ и услуг для конкретных видов деятельности.

 Основным требованием при лицензировании централизованных систем питьевого водоснабжения является выполнение нормативных документов по качеству воды - СанПиН 2.1.4.559-96 и «Правил технической эксплуатации систем водоснабжения и водоотведения населенных мест».

В случае невыполнения требований СанПиН 2.1.4.559-96 на действующих системах, но выполнения всех других лицензионных требований и условий, лицензия может быть выдана только при наличии согласования Санэпиднадзора отклонений от нормативов с указанием срока действия и мероприятий по их устранению. В лицензионных условиях устанавливаются срок действия лицензии и ее приостановление в случае невыполнения нормативов в указанные сроки.

Лицензирование осуществляют в соответствии с правилами и требованиями, в которых дается перечень необходимой документации, устанавливаются объем и полнота информации, указывается соответствующее согласование и др.

 Федеральный закон «О санитарно-эпидемиологическом благополучии населения» конкретно устанавливает условия санитарно-эпидемиологического благополучия населения. К их числу относят лицензирование видов деятельности, представляющих потенциальную опасность для человека (статья 2 п. 1); в статье 40 пп. 1, 2 приводятся отдельные виды деятельности (работ, услуг), представляющие потенциальную опасность для человека, среди них производство и реализация питьевой воды..., эксплуатация систем инженерной и транспортной инфраструктур, включая централизованные системы питьевого водоснабжения.

Эта статься определяет также обязательность требования лицензирования данных видов деятельности. При этом отмечается, что лицензирование возможно только при условии предоставления санитарно-эпидемиологического заключения о соответствии, в частности, питьевой воды санитарным правилам. Однако наличие лицензии дает право на определенный вид деятельности, но не может гарантировать ее качество.

8.4. Законодательство Российской Федерации в области сертификации

 Законодательством Российской Федерации предусмотрена процедура сертификации продукции, услуг, систем качества, производств и обязательной аккредитации лабораторий.

Именно наличие сертификата является гарантией обеспечения необходимой уверенности в том, что должным образом идентифицированная продукция, процесс или услуга соответствует конкретному стандарту или другому нормативному документу.

Базовым законом Российской Федерации, направленным на защиту потребителя от недобросовестности изготовителя и подтверждение соответствия показателей качества любой продукции установленным требованиям, является закон «О сертификации продукции и услуг».

Он устанавливает цели, принципы, общие правила и рекомендации по проведению сертификации в Российской Федерации.

 Главной задачей централизованных систем коммунального водоснабжения является обеспечение потребностей в питьевой воде надлежащего качества граждан и юридических лиц.

Надлежащее качество питьевой воды, направленной потребителю, подтверждается ее соответствием требованиям Санитарных правил и норм СанПиН 2.1.4.559-96. Этот нормативный документ устанавливает необходимость для каждого водопровода разработки рабочей программы контроля качества, учитывающей региональные особенности химического состава воды водоисточника.

 Согласно методическим указаниям по внедрению и применению Санитарных правил и норм СанПиН 2.1.4.559-96, рабочая программа представляется на утверждение с пояснительной запиской, содержащей план мероприятий с финансовыми затратами, по подготовке сооружений к работе в условиях внедрения нового нормативного документа.

При согласовании рабочей программы устанавливаются источники финансирования всех подготовительных работ. В этом же документе указывается, что при внедрении проверяют наличие лицензий, дающих право эксплуатации систем водоснабжения и сертификатов на всю продукцию, поступающую на водопроводную станцию и контактирующую с питьевой водой в процессе ее производства.

 Конкретная продукция, используемая в процессе приготовления питьевой воды, подлежащая обязательной сертификации, определена в документе «Номенклатура продукции и услуг (работ), в отношении которых законодательными актами Российской Федерации предусмотрена их обязательная сертификация».

К их числу относятся коагулянты, активированные угли, природные сорбирующие материалы, трубы, оборудование для подготовки и очистки питьевой воды, в том числе озонаторное, электролизеры; установки для очистки воды; оборудование для водопроводно-канализационного хозяйства; установки для обеззараживания воды; установки для очистки питьевой воды и улучшения качества питьевых вод, загрузки фильтрующих и др.

Сертификации подлежат все оборудование и товары (продукция), используемые в технологии водоподготовки. Получение лицензии должно ставиться в зависимость от наличия (отсутствия) в организации соответствующих сертификатов.

·   Для централизованных систем питьевого водоснабжения, которые были введены в действие до принятия закона «О сертификации продукции и услуг», обязательная сертификация устройств, оборудования и т.п., используемых в процессе эксплуатации, должна быть проведена при реконструкции и модернизации систем, замене устаревшего оборудования в соответствии с упомянутой «Номенклатурой...». В этом случае следует отдавать предпочтение тому виду оборудования, на которое имеются сертификаты соответствия, в том числе полученные на добровольной основе.

·   Сертификация осуществляется в соответствии с документацией Госстандарта Российской Федерации «Правила по проведению сертификации в Российской Федерации», «Порядок проведения сертификации продукции в Российской Федерации» и др. Эти документы устанавливают два вида сертификации: обязательную и добровольную. Обязательная сертификация осуществляется в случаях, предусмотренных законодательными актами Российской Федерации. Добровольная сертификация проводится по инициативе юридических лиц и граждан. Сертификацию осуществляют органы по сертификации, специально аккредитованные Госстандартом России.

8.5. Требования к аттестации лабораторий

Предприятие ВКХ обязано соблюдать нормативные требования к аттестации лабораторий и выполнению соответствующих измерений по контролю качества питьевой воды (закон РФ «Об обеспечении единства измерений»).

Все производственные лаборатории, осуществляющие контроль качества воды, испытания полученной продукции, должны быть аттестованы в обязательном порядке в соответствии с рекомендациями МИ 2427-97 «Оценка состояния измерений в испытательных и измерительных лабораториях» и аккредитованы (в добровольном порядке) в соответствии с ГОСТ Р 51000.3-96 «Общие требования к испытательным лабораториям».

Все измерения в лаборатории должны проводиться в соответствии с аттестованными в установленном порядке методиками, перечень которых дан в ГОСТ Р 51232-98.

В лаборатории должны быть установлены критерии соответствия качества питьевой воды нормативным требованиям.

Таким образом, наряду с отраслевыми и нормативными законодательными документами федерального уровня, постановлениями Правительства РФ, регламентирующими порядок функционирования систем водоснабжения городов и населенных пунктов в РФ, лицензии, гигиенические заключения, сертификаты соответствия - обязательные документы, необходимые при эксплуатации систем водоснабжения.

РЕКОМЕНДУЕМАЯ ЛИТЕРАТУРА

1.           СанПиН 2.1.4.559-96. Питьевая вода. Гигиенические требования к качеству питьевой воды централизованных систем питьевого водоснабжения. Контроль качества.

2.           ГОСТ Р 51232-98. Вода питьевая. Общие требования к организации и методам контроля качества.

3.           СанПиН 2.1.4.027-95. Зоны санитарной охраны источников водоснабжения и водопроводов хозяйственно-питьевого назначения.

4.           СанПиН 4630-88. Охрана поверхностных вод от загрязнений.

5.           ГОСТ 2761-84. Источники централизованного хозяйственно-питьевого водоснабжения.

6.           Современные технологии и оборудование для обработки воды на водоочистных станциях. М., НИИ КВОВ, 1997.

7.           Методические рекомендации по применению озонирования и сорбционных методов в технологии очистки воды от загрязнений природного и антропогенного происхождения. М., НИИ КВОВ, 1995.

8.           Руководство по технологии подготовки питьевой воды, обеспечивающей выполнение гигиенических требований в отношении хлорорганических соединений. М., ОНТИ АКХ, 1989.

9.           Указания по совершенствованию технологии коагуляционной обработки воды с целью снижения концентрации остаточного алюминия. М., ОНТИ АКХ, 1988.

10.        Усольцев В.А., Соколов В.Ф., Алексеева Л.П., Драгинский В.Л. Подготовка воды питьевого качества в г. Кемерове. М.: ВИМИ, 1996.

11.        Смирнов А.Д. Сорбционная очистка воды - Л.: Химия, 1982.

12.        Мельцер В.З. Фильтровальные сооружения в коммунальном водоснабжении. - М.: Стройиздат, 1995.

13.        Перечень материалов, реагентов и малогабаритных очистных устройств, разрешенных Госкомитетом санитарно-эпидемиологического надзора РФ для применения в практике хозяйственно-питьевого водоснабжения. Госкомсанэпиднадзор РФ.

14.        Любарский В.М. Осадки природных вод и методы их обработки. - М.: Стройиздат, 1980.

15.        Трунов П.В., Зубко А.Л., Христолюбов В.Н. Эффективные дренажные системы фильтров // Водоснабжение и санитарная техника, 1999. № 11.

16.        Методические указания по внедрению и применению СанПиН 2.1.4.559-96. МУ 2.1.4.682-97, Минздрав России, 1998.

17.        МУК 4.2.671-97. Методы санитарно-микробиологического анализа питьевой воды.

18.        МУК 4.2.668-97. Санитарно-паразитологические исследования воды.

19.        Русанова Н.А. Подготовка питьевой воды с учетом микробиологических и паразитологических показателей // Водоснабжение и санитарная техника, 1998, № 3.

20.        Руководство по применению технологий, обеспечивающих эпидемическую безопасность питьевой воды в отношении вируса гепатита и других энтеротропных вирусов. М., ОНТИ АКХ, 1990.

21.        Технологический регламент по очистке и обеззараживанию природных вод от цист патогенных кишечных простейших и яиц гельминтов.

22.        Драгинский В.Л., Корабельников В.М., Алексеева Л.П. Предложения по повышению эффективности очистки воды при подготовке водоочистных станций к выполнению требований СанПиН 2.1.4.559-96, М., 1998.

23.        Любарский В.М., Беляева С.Д. и др. Щелочная регенерация коагулянта при известковой обработке осадков // Водоснабжение и санитарная техника, 1989, № 5. - М.: Изд-во лит-ры по строительству.




Яндекс цитирования



   Copyright © 2007-2026,  www.tehlit.ru.

[ ѓосты, стандарты, нормативы, инструкции, правила, строительные нормы ]