//
ТехЛит.ру
- крупнейшая бесплатная электронная интернет библиотека для "технически умных" людей.
WWW.TEHLIT.RU - ТЕХНИЧЕСКАЯ ЛИТЕРАТУРА

:: Алготрейдинг::


АЛГОТРЕЙДИНГ
шаг за шагом
с нуля по урокам!

Торговые роботы на PYTHON, BackTrader,
Pandas, Pine Script для TradingView. Связка с брокерами, телеграм и легкими приложениями.


ООО «организатор»

ФГУП «союздорпроект»

МЕТОДИЧЕСКИЕ РЕКОМЕНДАЦИИ

ПО ПРИМЕНЕНИЮ ГАБИОННЫХ КОНСТРУКЦИЙ
В ДОРОЖНО-МОСТОВОМ СТРОИТЕЛЬСТВЕ

Москва

2001 год

Методические рекомендации разработаны ФГУП «Союздорпроект» в 2000 г. в соответствии с договором с ООО «Организатор» на создание данной научно-технической продукции.

Решением Технического совета Союздорпроекта они утверждены к практическому применению на территории России и сопредельных с ней стран СНГ.

Они рассмотрены и приняты ООО «Организатор», рассмотрены и согласованы к практическому применению Корпорацией «Трансстрой», Союздорнии, МАДИ (ТУ) и МИИТ (ТУ).

СОДЕРЖАНИЕ

1. Общие положения и требования. 4

2. Типы габионных конструкций. 8

А. Разновидности габионных конструкций. 8

Б. Габионы конструкций Мосгипротранса и их предназначение. 8

В. Габионные и сопрягаемые с ними конструкции, используемые НПО «Эколандшафт» и ЗАО ТПО «Ландшафтная архитектура». 11

Г. Нетрадиционные и сопрягаемые с ними габионные конструкции. 23

Д. Габионы из пластмассовых сеток фирмы NETLON (Великобритании) 31

3. Укрепление откосов земляного полотна и склонов. 33

А. Технические указания и основные правила проектирования. 33

Б. Откосы неподтопляемых сооружений. 37

В. Откосы подтопляемых сооружений. 42

4. Укрепление подмостовых конусов, русел, регуляционных и вдольбереговых сооружений. 53

А. Исходные положения проектирования. 53

Б. Подмостовые конуса. 55

В. Укрепляемые опоры мостов и подмостовые русла. 60

Г. Вдольбереговые укрепительные сооружения. 64

Д. Регуляционные сооружения. 71

5. Подпорно-удерживающие, защитные, усиливающие, стабилизирующие и противофильтрационные габионные конструкции и сооружения. 76

6. Габионные конструкции и сооружения для целей водоперепуска, водоотведения и очистки сточных вод. 83

А. Водопропускные, водоотводные и сопрягающие сооружения. 83

Б. Очистные сооружения. 87

7. Периодически затопляемые, селезащитные и фильтрующие водопропускные сооружения с применением габионных конструкций. 103

А. Периодически затопляемые дорожно-мостовые сооружения. 103

Б. Фильтрующие водопропускные сооружения. 106

В. Селезащитные сооружения. 108

Приложение 1 Основные параметры и размеры отечественных проволочных сеток двойного кручения для изготовления сетчатых габионных конструкций и ограждений. 114

Приложение 2 Основные параметры и размеры отечественных сетчатых конструкций для изготовления габионных структур. 116

Список литературы.. 119

Предисловие

В мировой практике габионные конструкции применяются более 100 лет. Их используют для укрепления откосов насыпей и выемок, косогоров, берегов пересекаемых водотоков, оврагов и логов, водоотводных, регуляционных и других дорожно-мостовых сооружений.

В отечественной практике эти конструкции имели ограниченное применение и предусматривались типовыми решениями прежних лет исключительно для укрепления подтопляемых откосов земляного полотна. В ныне действующих типовых решениях по укреплению откосов земляного полотна (3.503.9-78), водоотводных сооружений (503-09-7.84) и других применение габионных конструкций не было предусмотрено.

Многолетний опыт Союздорпроекта и других организаций показывает, что габионные конструкции всегда были и остаются альтернативным вариантом укрепления не только подтапливаемых, но и неподтапливаемых дорожно-мостовых откосов.

Применение габионных конструкций является одним из высокоэффективных и универсальных способов не только укрепления откосов, но и усиления, стабилизации и защиты эксплуатируемого земляного полотна, подмостовых конусов, опор мостов, регуляционных дамб, береговых и других сооружений.

Выполняя защитно-укрепительные функции, габионные конструкции способны выполнять роль обратного фильтра, а в некоторых случаях они могут быть использованы для обеспечения противофильтрационных мероприятий.

В настоящее время известны и широко применяется более 20 типов укрепления откосов: травосеяние, одерновка, посадка кустарников, лесопосадки, термозащитные и защитные слои с использованием геотекстиля, сборные железобетонные решетки, пневмонабрызг, глинистые грунты, монолитные цементногрунтовые покрытия и решетки, гибкие железобетонные плиты, сборные железобетонные гибкие решетки, сборные бетонные и железобетонные плиты, монолитные железобетонные плиты, каменная наброска и другие.

Все эти укрепления типизированы по конструктивным решениям и условиям применения, большинство из них имеют научно-методическое сопровождение в виде ведомственных строительных норм, методических указаний и рекомендаций.

В зависимости от реакции этих укреплений на внешние силовые, погодно-климатические, гидрогеологические и другие воздействия, все конструкции укреплений принято подразделять на следующие три группы:

I группа - биологические типы конструкций укреплений, предназначенные для защиты откосов от эрозии, сплывов, оплывин в районах с благоприятными грунтовыми и климатическими условиями;

II группа - несущие конструкции, предназначенные для компенсации сдвигающих усилий, возникающих в грунте поверхностных слоев откосов, а также силовых и других воздействий паводковых и поверхностных вод;

III группа - защитные и изолирующие конструкции, назначение которых - изолировать поверхностные слои откоса от температурных воздействий, впитывания атмосферных осадков и отводить грунтовые воды.

Союздорпроект провел анализ возможностей габионных конструкций, в результате которого было установлено, что они в ряде случаев являются более целесообразными и экономичными, чем традиционные.

Это обусловлено рядом особенностей и характеристик, которыми обладают габионные конструкции. К наиболее важным из них относятся:

·     высокая сопротивляемость нагрузкам, прочность каркасно-армирующих элементов и лицевых граней;

·     коррозийная устойчивость от воздействия воды и атмосферных осадков;

·     проницаемость и пористость конструкций, которые исключают возникновение гидростатических нагрузок и обеспечивают дренирование обратной засыпки без дополнительных затрат на устройство дренажа и обратного фильтра;

·     возможность создания гибких тюфячных, цилиндрических, коробчатых и комбинированных конструкций и различных компоновочных решений при практически неограниченных размерах каркасных элементов этих конструкций;

·     гибкость и устойчивость, которые позволяют габионным конструкциям без их разрушения пропускать влагу и противостоять осадкам нестабильных грунтов, сплывам и эрозии откосов, их подмыву и некоторым другим факторам, вызывающим ослабление или нарушение местной устойчивости откосов и берегов и других откосно-прибрежных сооружений;

·     возможность сочетания с традиционными типами укреплений дорожно-мостовых сооружений и повышения тем самым эффективности и экологичности применения комбинированных конструкций;

·     возможность широкого использования местных каменных материалов;

·     наиболее высокая и долговременная дренирующая способность по сравнению с традиционными строительными материалами, блоками и дренажными устройствами;

·     простота конструкций и строительства, не требующая квалификационной рабочей силы;

·     минимальные объемы работ по подготовке основания возводимых сооружений;

·     низкие эксплуатационные расходы;

·     экологичность, эстетичность восприятия, надежность функционирования, а также долговременность срока службы.

Габионные конструкции представляют собой естественные строительные блоки, они аккумулируют в себе частицы грунта, способствуют росту растительности, со временем приобретают еще большую прочность, становятся частью природного ландшафта и украшают его, безопасны для миграции животных.

Эти особенности и характеристики габионных конструкций предопределяют возможность их более широкого применения на объектах дорожно-мостового строительства.

Союздорпроектом и при его научно-консультативном содействии другим организациям габионные конструкции были применены на ряде отечественных и зарубежных объектов. Среди наиболее крупных и ответственных объектов - автомобильная дорога Симра - Джанакпур в Непале и реконструкция МКАД. Только на МКАД габионные конструкции были построены на 70 сооружениях различного предназначения (мостовые переходы, путепроводы, малые водоотводные, фильтрующие и другие).

Применение габионных конструкций на МКАД и последующих объектах в Московском регионе инициировано Правительством г. Москвы, ООО «Организатор», Корпорацией «Трансстрой» при участи ВНИИПрироды, Москомархитектуры и Союздорпроекта.

Габионные конструкции органично вошли в комплекс оригинальных прогрессивных проектно-строительных решений, отмеченных в 1998 г. Государственной Премией Российской Федерации.

К настоящему времени Союздорпроектом и некоторыми другими организациями накоплен весьма значительный опыт применения габионных конструкций не только для укрепления откосно-береговых и регуляционных сооружений, но и ряда других. Однако этот опыт был весьма разрознен и неоднозначен для повторного и более расширенного применения.

Широкое и научно обоснованное применение габионных конструкций во многом сдерживалось отсутствием в дорожно-мостовом строительстве нормативно-методических основ и документов на проектирование и устройство этих конструкций, в которых были бы отработаны, систематизированы и сформулированы технические требования, конструктивные решения, условия и область применения габионных конструкций.

Настоящие «Методические рекомендации» устраняют этот пробел. Они разработаны на основе теоретических исследований, анализа и обобщения реализованных проектно-строительных решений, а также результатов обследования эксплуатируемых сооружений на ряде дорожно-мостовых объектов.

Методические рекомендации разработаны в целях регламентации применения габионных конструкций, разработки новых, совершенствования и расширения ныне действующих типовых решений по укреплению откосов земляного полотна, водоотводных устройств и других сооружений, а также в целях улучшения качества индивидуального проектирования дорожно-мостовых сооружений с применением габионных конструкций, научно-методического и экспортного сопровождения этого проектирования.

Разработка Союздорпроектом Методических рекомендаций осуществлена в соответствии с договором № 53 от 24.05.2000 г. с ООО «Организатор».

Методические рекомендации разработаны док. техн. наук, профессором Б.Ф. Перевозниковым при участии М.Л. Мурафера, Н.В. Лагутиной, Г.Л. Пальмовой и В.А. Селиверстова (Гипротрансмост) и канд. техн. наук Н.Р. Гадаева (ЗАО «ЭЛГАД Интернешнл»).

В Методических рекомендациях учтен опыт строительства габионных сооружений, накопленный специалистами НПО «Эколандшафт», ЗАО «ЭЛГАД Итернешнл», ЗАО ТПО «Ландшафтная архитектура» и Дирекции строящихся объектов № 9, а также исходные материалы, предоставленные этими организациями для начальной проработки основных положений данной работы.

Методические рекомендации рассмотрены и согласованы к практическому применению Союздорнии (№ 1317/1-14 от 18.10.2000 г.), МАДИ (№ 2-23/20 от 19.10.2000 г.), МИИТ (№ 156/2538 от 20.10.2000 г.) и Корпорацией «Трансстрой» (№ ШВ-193 от 12.10.2000 г.).

В Методических рекомендациях учтены все замечания согласовывающих организаций. Решением Технического Совета Союздорпроекта они утверждены к практическому применению на территории России и сопредельных с ней стран СНГ (Протокол № 522 от 25.10.2000 г.)

Все замечания и пожелания по настоящим Методическим рекомендациям просьба направлять по адресу: 113035, г. Москва, Софийская наб., д. 34В, Союздорпроект.

1. Общие положения и требования

1.1. Настоящие «Методические рекомендации» предусматривают применение габионных конструкций при проектировании нового строительства, реконструкции и защите автомобильных дорог и переходов через водотоки от опасных природно-техногенных процессов гидрометеорологического и геологического происхождения.

1.2. «Методическими рекомендациями» предусматривается возможность применения габионных конструкций при разработке проектно-строительных решений по устройству и укреплению:

- откосов земляного полотна, подмостовых конусов, дамб обвалований и регуляционных сооружений;

- берегов водоемов, пересекаемых, вдольрасположенных, спрямляемых и канализируемых русел рек и малых водотоков;

- неразмываемых подмостовых русел;

- руслорегулирующих сооружений и регуляционных сооружений в бассейнах рек с неустойчивым характером русловых процессов;

- входных и выходных русел малых водопропускных сооружений;

- кюветов, водоотводных канав, водовыпусков из откосных лотков и рассеивающих трамплинов и других водоотводных и водогасящих сооружений;

- периодически затопляемых участков дорог и переходов через водотоки;

- водоотводных и водопропускных фильтрующих и очистных сооружений;

- оврагозащитных и противоэрозионных сооружений;

- сооружений для усиления и стабилизации эксплуатируемых насыпей земляного полотна;

- неотложной защиты подтопляемых насыпей, подмостовых конусов, опор мостов и регуляционных сооружений в период проявления опасных разрушающих воздействий паводков.

1.3. Для дифференцированного учета восприятия расчетных нагрузок и воздействий и повышения экономической эффективности и надежности функционирования укрепительных, защитных, поддерживающих и других сооружений (устройств) «Методическими рекомендациями» предусматривается диверсификация возможностей габионных конструкций в сочетании с другими традиционными типами укреплений и устройствами.

Такие комбинированные конструкции в большей степени отвечают инженерным и эколого-ландшафтным требованиям.

1.4. Габионные конструкции, предназначаемые для защиты земляного полотна от опасных геологических процессов (эрозии, осыпей, наводнений, селей, лавин, оползней и т.п.), относятся к поддерживающим и защитным геотехническим и гидротехническим устройствам и конструкциям.

Согласно классификации СНиП 2.05.02-85, габионные конструкции такого предназначения следует рассматривать и классифицировать как один из основных элементов земляного полотна.

1.5. В соответствии с требованиями СНиП 2.05.02-85 (пункты 6.4 и 6.66), а также в связи с отсутствием соответствующих типовых решений, габионные сооружения и сооружения, сопрягаемые с габионными конструкциями, подлежат индивидуальному проектированию с соответствующими обоснованиями условий и функционирования и проработками всех конструктивно-технологических решений.

1.6. К индивидуальному проектированию таких конструкций и сооружений следует прежде всего относить устройства и конструкции, отмеченные в пункте 1.2 настоящих «Методических рекомендаций», а также в пункте 6.4 СНиП 2.05.02-85.

1.7. При проектировании габионных конструкций должны быть соблюдены требования:

СНиП 2.05.02-85 «Автомобильные дороги»;

СНиП 3.06.03-85 «Автомобильные дороги»;

СНиП 2.05.03-84 «Мосты и трубы»;

СНиП 3.06.04-91 «Мосты и трубы»;

СНиП III-4-80* «Техника безопасности в строительстве»;

СНиП 2.01.01-82* «Строительная климатология и геофизика»;

СНиП 2.06.15-85 «Инженерная защита территории от затопления и подтопления»;

СНиП 2.01.15-90 «Инженерная защита территорий, зданий и сооружений от опасных геологических процессов. Основные положения проектирования»;

СНиП 22-01-95 «Геофизика опасных природных воздействий».

1.8. Проектирование защитных, усиливающих, подпорных и удерживающих габионных конструкций, сооружений и устройств на оползневых и оползнеопасных участках, а также в районах распространения селей, осыпей, камнепадов, лавин, карста, слабых грунтов, просадочных и набухающих грунтов и на участках влияния абразии и речной эрозии следует осуществлять на основе специальных нормативных документов.

1.9. Основные положения и требования по защите автомобильных дорог от селевых потоков и по определению расчетных нагрузок и воздействий на селезащитные сооружения, типы и конструкции этих сооружений, а также методы определения расчетных характеристик селевых потоков и их воздействий регламентированы рекомендациями «Руководства по защите автомобильных дорог и мостов от селевых потоков» (Союздорпроект, 1993 г.)

1.10. При расположении автомобильных дорог на орошаемой территории габионные конструкции, сооружения и устройства следует проектировать с учетом воздействия оросительной системы на водно-тепловой режим земляного полотна, водопропускных, водоотводных и других дорожно-мостовых сооружений.

Дорожно-мостовые сооружения, проектируемые с применением габионов, не должны ухудшать режим функционирования оросительной системы. Недопустимо использование кюветов, водоотводных и нагорных канав в качестве распределителей воды.

Расстояние между бровками водосборных и водосбросных каналов оросительной сети и водоотводных дорожных канав (кюветов) должно быть не менее 4,5 м.

Расположение и конструкции дорожных водоотводящих фильтрующих габионных сооружений должны учитывать особенности гидрографии и условия функционирования оросительной системы, состав и качество воды и согласовываться с соответствующими органами и организациями.

1.11. При разработке проектно-строительных решений по возведению земляного полотна с применением габионных конструкций, сооружений и устройств на косогорах, участках залегания и образования вечномерзлых грунтов и наледей, в районах распространения засоленных грунтов и подвижных песков, на болотах и слабых основаниях следует руководствоваться нормативными требованиями и рекомендациями СНиП 2.05.02-85 с учетом несущих, защитных, дренирующих и других особенностей и возможностей габионов и их сопряжений с земляным полотном.

1.12. Типы применяемых габионных конструкций, сооружений и устройств должны отвечать конструктивным особенностям и условиям работы сопряженных в едином комплексе с ними дорожно-мостовых сооружений; учитывать свойства грунтов и возможности использования местных каменных материалов, особенности погодно-климатических и гидрологических факторов; обеспечивать устойчивость всего комплекса возводимых сооружений, возможность механизации работ и минимум затрат на строительство и эксплуатацию.

1.13. При применении габионных конструкций и сооружений следует разрабатывать альтернативные им варианты традиционных конструкций (сооружений) с учетом инженерно-экономической необходимости, экологических требований, условий и времени производства, строительных работ по всему комплексу возводимых сооружений на конкретном объекте, а также условий и срока эксплуатации данного объекта.

1.14. Для повышения эффективности и конкурентной способности вариантов проектно-строительных решений, разрабатываемых с применением габионов, необходимо: изучение наличия, условий поставки, дальности возки, состава и свойств местных и привозных каменных материалов, пригодных для использования в габионных конструкциях, сооружениях и устройствах в тех или иных условиях их применения.

К местным каменным материалам, пригодным к использованию в этих конструкциях, сооружениях и устройствах, могут быть отнесены валунные и гравийно-галечные отложения в руслах рек и на пойменных массивах.

1.15. В габионных конструкциях, сооружениях и устройствах, располагаемых в особо опасных и неблагоприятных условиях их функционирования, в сложных и ответственных узлах сопряжения с постоянными дорожно-мостовыми сооружениями, а также на объектах (сооружениях) повышенной степени ответственности, наиболее предпочтительно использовать каменные материалы твердых пород (базальт, гранит, диабаз, диорит и т.п.), прочные во времени и под нагрузкой, морозоустойчивые, устойчивые к истиранию, выщелачиванию и воздействию других факторов.

К этим случаям применения каменных материалов твердых пород могут быть отнесены конструкции, сооружения и устройства, которые, кроме своего прямого предназначения, должны обеспечивать дренирование, гашение энергии водных потоков, восприятие нагрузок, а также цветовую гамму лицевых сторон возводимых откосных сооружений.

1.16. Сопоставление и выбор оптимальных конструкций, устройств и сооружений должны сопровождаться соответствующими технико-экономическими обоснованиями, при разработке которых следует учитывать степень природоохранной целесообразности и эффективности проектно-строительных решений применения габионов и других альтернативных материалов и конструкций.

1.17. При оценке природоохранной целесообразности и эффективности применения габионных конструкций, устройств и сооружений, а также альтернативных им вариантов, следует руководствоваться нормативными требованиями и положениями СНиП 2.05.02-85 (пункты 3.1, 3.2, 3.6, 3.10, 3.12, 3.14, 3.16, 3.17), а также «Рекомендациями по учету требований по охране окружающей среды при проектировании автомобильных дорог и мостовых переходов» (ФДД Минтранса РФ, 1995 г.).

1.18. При определении критериев вероятности превышения расчетных расходов и уровней воды на участках местности периодически затапливаемых паводками; длительности подтопления территорий; волновых, ледовых, подпорных и других воздействий; развития эрозионных, русловых и других опасных процессов; а также других условий применения габионных конструкций, сооружений и устройств, следует руководствоваться рекомендациями соответствующих разделов настоящих «Методических рекомендаций».

1.19. В качестве расчетного горизонта грунтовых вод следует принимать их наивысший многолетний уровень, а на вновь осваиваемых орошаемых или осушаемых территориях - по перспективным данным органов водного хозяйства, данным других территориальных органов или проектно-изыскательских организаций.

1.20. Проектирование габионных конструкций и сооружений должно основываться на материальных инженерных изысканий и результатах гидравлико-гидрологических расчетов, а также на использовании проектных материалов и решений по тем конструктивным элементам дорожного полотна, мостов, регуляционных, малых водопропускных, водоотводных и других дорожно-мостовых сооружений, которые подлежат укреплению, усилению, стабилизации, защите и совместному сопряжению с габионными конструкциями и устройствами.

Для проектирования габионных укреплений должны быть использованы материалы и результаты инженерных изысканий, выполненные для всего объекта проектирования. Если они недостаточны, то необходимо предусматривать проведение дополнительных изыскательских работ.

1.22. Состав необходимых изыскательских материалов индивидуален и должен определяться по каждому объекту (сооружению) конкретно с учетом рекомендаций соответствующих разделов настоящих «Методических рекомендаций».

1.23. Материалы и результаты инженерных изысканий должны отвечать требованиям следующих документов:

СНиП 11-02-96 «Инженерные изыскания для строительства. Основные положения»;

СНиП 3.01.03-84 «Геодезические работы в строительстве»;

СН 11-102-97 «Инженерно-экологические изыскания для строительства»;

СН 11-103-97 «Инженерно-гидрометеорологические изыскания для строительства»;

СН 11-104-97 «Инженерно-геодезические изыскания для строительства»;

СН 11-105-97 «Инженерно-геологические изыскания для строительства»;

ВСН 208-89 «Инженерно-геодезические изыскания железных и автомобильных дорог» (ВПТИтрансстрой, 1990 г);

ВСН 156-88 «Инженерно-геологические изыскания железных, автодорожных и городских мостовых переходов» (Минтрансстрой, 1989 г.)

1.24. При разработке проектно-строительных решений с применением габионов на мостовых переходах состав и методы проведения инженерных изысканий, а также выполнения гидравлико-гидрологических расчетов и расчетов русловых деформаций должны определяться в соответствии с требованиями и рекомендациями «Пособия к СНиП 2.05.03-84 (мосты и трубы) по изысканиям и проектированию мостовых переходов (ПМП-91)».

1.25. Гидравлико-гидрологические расчеты при использовании габионов на малых водопропускных и водоотводных сооружениях, а также на фильтрующих и переливных насыпях и лотковых сооружениях, следует выполнять в соответствии с требованиями и методами Пособия по гидравлическим расчетам малых водопропускных сооружений (ЦНИИС, ГУПиКС Минтрансстроя, 1992 г.).

1.26. Проектирование берегозащитных, подпорных, защитных, усиливающих, стабилизирующих габионных конструкций, сооружений и устройств, а также тех из них и других, которые комплексно или индивидуально входят в состав наиболее сложных объектов (включая мостовые переходы), должно осуществляться на основе технических заданий и условий Заказчика или Генпроектировщика.

1.27. В технических заданиях на проектирование мостовых переходов с применением габионных конструкций, сооружений и устройств должно быть предусмотрено требование по необходимости их сопряжения и взаимной увязке с проектно-строительными решениями очистных, водоотводных, водосбросных, коммуникационных, дорожно-мостовых и других сооружений, а также рекультивации нарушенных земель, и другими природоохранными мероприятиями.

1.28. Аналоговый перенос ранее разработанных на других объектах индивидуальных проектно-строительных решений по габионным конструкциям, сооружениям и устройствам с одного объекта на другой без выполнения поверочных расчетов, привязки и обоснования применимости этих решений к конкретным местным условиям недопустим, так как это не гарантирует качество проектирования и надежное функционирование возводимых объектов.

1.29. Определение состава и методов выполнения поверочных расчетов, привязку и обоснование применимости к конкретному объекту ранее разработанных для других объектов габионных конструкций, сооружений и устройств следует производить в соответствии с настоящими «Методическими рекомендациями».

1.30. Проектная документация по объектам с комплексом применения разнообразных типов габионных конструкций, сооружений и устройств должна содержать:

·       техническое задание;

·       пояснительную записку;

·       чертежи плана местности с расположением всех сооружений;

·       продольный и поперечный профили сооружений;

·       объемы расходов строительных материалов;

·       проект организации строительства и смета;

·       приложения.

Пояснительная записка должна отражать: соответствие принятых решений нормативным требованиям по нагрузкам, воздействиям природно-техногенных факторов, проектированию дорожно-мостовых сооружений, экологии, а также требованиям согласовывающих организаций; состав исходных материалов (топографических, инженерно-геологических, инженерно-гидрометеорологических и других), местоположение и особенности существующих и проектируемых пересекаемых и сопрягаемых с укрепительными конструкциями сооружений (очистных, водоотводных, водосбросных, коммуникационных, дорожных и других); расчетно-прогнозные характеристики проявления и развития опасных процессов в пределах границ проектирования и методы их определения. И прежде всего геологические, гидрогеологические, гидрологические, ледово-термические, эрозионные и другие, способные оказать влияние на устойчивое функционирование проектируемых конструкций, экологическое равновесие русла реки и пойменно-прибрежных массивов, а также ландшафт конструктивные решения и сопряжения с другими существующими и проектируемыми сооружениями; анализ целесообразности и эффективности применения габионных конструкций, сооружений и устройств и другие особенности принятых проектно-строительных решений.

2. Типы габионных конструкций

А. Разновидности габионных конструкций

2.1. Габионные конструкции по форме арматурных каркасов и формируемых из них единичных строительных блоков подразделяются на три типа: коробчатые, матрасно-тюфячные и цилиндрические.

При сопрягаемом объединении друг с другом единичных блоков могут создаваться однотипные конструкции, состоящие только из коробчатых, или матрасно-тюфячных, или цилиндрических габионов.

Одной из отличительных особенностей применения этих трех типов габионных строительных блоков является возможность создания из них комбинированных конструкций, состоящих из различного взаимного сочетания друг с другом коробчатых, матрасно-тюфячных и цилиндрических габионов.

2.2. В практике отечественного дорожно-мостового строительства известны и находят применение габионные строительные блоки по типу конструктивных решений Мосгипротранса (3), по типу конструкций, используемых в методологии НПО «Эколандшафт» (4, 5, 6) и ЗАО ТПО «Ландшафтная архитектура».

В зарубежной практике находят применение габионы, изготавливаемые из пластмассовых сеток фирмы NETLON (Великобритания) (7), которые представляют несомненный интерес для отечественного дорожно-мостового строительства.

Конструктивные особенности, предназначение и возможности использования этих трех типов габионных конструкций рассмотрены в последующих пунктах данного раздела настоящих «Методических рекомендаций».

Б. Габионы конструкций Мосгипротранса и их предназначение

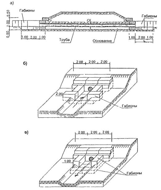
2.3. Габионы этих конструкций представлены в виде габионных ящиков (коробчатые), тюфяков и цилиндров. Их формы, размеры, расход материалов на устройство одного габиона, детали соединения, а также схемы расположения на откосы, бермы и берега отражены на Рис. 2.1, Рис. 2.2, Рис. 2.3 и в табл. 2.1 (3).

2.4. Эти габионы предназначены для защиты откосов насыпей и берегов рек от опасного воздействия речных потоков. Они рекомендованы к применению в любых климатических условиях при скоростях течения воды от 4 до 6 м/сек. Габионную кладку можно производить в любое время года при низкой воде.

2.5. Габионные ящики (коробки) предназначены для устройства защитных стенок в подводной части откоса. Размеры ящиков габионного укрепления и взаимное расположение их в габионной кладке устанавливается проектом.

2.6. Габионные тюфяки предусмотрены трех размеров: 3´1´0,5 м, 4´2´0,5 м и 2´1´0,25 м (см. табл. 2.1). Они применяются в качестве укрепления откосов, а также в качестве основания стенок из габионных ящиков. Покрытие откосов из габионных тюфяков должно иметь надежный упор из габионных ящиков или продолжаться в пологой части откоса.

2.7. Габионы цилиндрической формы применяются главным образом в тех случаях, когда высокое положение уровней воды или слишком быстрое ее течение не позволяют вести откосно-береговую укладку тюфячных и коробчатых габионов. В этих условиях, а также во время водоборьбы (защита от размывов) габионы сбрасываются (скатываются) в воду после заполнения их камнем на краю откоса или на обочине дороги.

Рис. 2.1. Типы арматурных каркасов

Рис. 2.2. Схемы укрепления откосов и берегов.

Рис. 2.3. Детали скрутки сетки (а), соединения четырех смежных габионов (б) и укладки каменных материалов у наружных граней габионов (в).

Таблица 2.1.

Типы и размеры габионов

При сетке из проволоки толщиной 8 мм и диаметрах

2,5 мм

3,0 мм

4,0 мм

поверхн. в м2

объем в м3

вес проволоки, кг

поверхн. в м2

объем в м3

вес проволоки, кг

поверхн. в м2

объем в м3

вес проволоки, кг

Ящики 3´1´1 м

14,0

3,0

18,1

14,0

3,0

24,1

14,0

3,0

36,6

Тюфяки 3´1´0,5 м

10,0

1,5

13,7

10,0

1,5

17,6

10,0

1,5

24,5

Тюфяки 4´2´0,5 м

22,0

4,0

27,4

22,0

4,0

36,1

22,0

4,0

55,0

Тюфяки 2´1´0,25 м

5,5

0,5

8,1

5,5

0,5

10,3

5,5

0,5

15,5

2.8. Материалом для изготовления армируемых каркасов габионов служит оцинкованная гибкая проволока диаметром от 2,0 до 4,2 мм для плетения сетки и прутковое железо диаметром от 6 до 8 мм для устройства каркаса. Иногда габионы устраиваются без каркаса в виде проволочного мешка.

Прочность габиона определяется прочностью проволочной сетки. Срок службы габиона (в неагрессивной среде) из оцинкованной проволоки от 8 до 12 лет, из простой - от 3 до 5 лет.

За этот период габионная кладка обычно настолько уплотняется и кальмагируется, что более не нуждается в этой сетке. Выбор между оцинкованной и простой проволокой производится в зависимости от ожидаемой интенсивности кальматажа габионной кладки и интенсивности коррозии проволоки в данной среде.

2.9. Габионные каркасы заполняются камнем твердых, преимущественно тяжелых и слабовыветривающихся водостойких пород, размерами не менее ячейки габионной сетки, но не менее 0,04 м. Лицевые камни должны быть наиболее крупными и выступать из ячеек. Внутрь габиона укладываются мелкие камни (см. рис. 2.3).

2.10. Габионы соединяются между собой вязальной отожженной проволокой диаметром 3 мм, длиной от 0,30 до 0,35 м на расстоянии 0,15-0,20 м один от другого.

Нижние габионы закрепляются в земле забитыми по углам стержням (жезлами) диаметром от 16 до 19 мм.

2.11. Под габионами укладывается щебеночная или гравийная подготовка слоем толщиной 0,20-0,40 м. Верхний слой подготовки устраивается из наиболее крупных камней.

2.12. Конструктивные особенности и изначальное предназначение габионов данного типа позволяют их использовать исключительно для укрепления подтопляемых откосов земляного полотна, регуляционных дамб, а также берегов рек, находящихся в особо сложных и опасных гидрологических условиях функционирования.

2.13. Габионные укрепления, предусмотренные решениями Мосгипротранса (3), не доведены до практического применения в качестве типовых решений, а их использование в индивидуальном проектировании сопряжено с необходимостью более детальных дополнительных проектных проработок по следующим вопросам:

·     условиям применения; типоразмерам и возможности более широкого их варьирования;

·     учету ледовых, волновых, эрозионно-размывных и других воздействий;

·     конструкциям цилиндрических габионов, способам их укладки, сочленения и размерам;

·     конструктивным решениям и вариантам упорных устройств откосно-береговых укреплений;

·     возможному сопряжению габионов разных типов в комбинированные габионные конструкции;

·     возможному использованию и сопряжению с традиционными (типовыми) откосно-береговыми укреплениями и другими сооружениями;

·     сроку службы, производству работ и условиям эксплуатации.

2.14. Для индивидуального проектирования подтопляемых откосно-береговых укреплений и других сооружений (устройств) с применением габионов данного типа, возможного их использования в сочетании с традиционными укреплениями и другими дорожно-мостовыми сооружениями, а также для совершенствования существующих и разработки новых типовых решений следует руководствоваться основными требованиями и положениями раздела 1 и других разделов настоящих «Методических рекомендаций».

В. Габионные и сопрягаемые с ними конструкции, используемые НПО «Эколандшафт» и ЗАО ТПО «Ландшафтная архитектура»

2.15. Эти конструкции основаны на применении габионных каркасов, изготовляемых из металлической сетки двойного кручения фирмы «Офичине Маккаферри», а также ОАО «Череповецкий сталепрокатный завод» (ОАО «ЧСПЗ»).

Особенности металлических сеток и изготовляемых из них арматурных габионных каркасов фирмы «Офичине Маккаферри» рассмотрены в пунктах 2.16-2.37, а аналогичных изделий ОАО «ЧСПЗ» в пунктах 2.38-2.41 настоящих Методических рекомендаций.

2.16. Габионы, изготавливаемые из металлической сетки двойного кручения фирмы «Офичине Маккаферри», представлены тремя основными формами арматурных каркасов, из которых создаются единичные габионные строительные блоки: коробчатые, матрасно-тюфячные и цилиндрические (Рис. 2.4). Наибольшее применение находят габионы: коробчатые размером 2´1´1 м, 1,5´1´1 м, 2´1´0,5 м, 3´1´0,5 м и 3´2´0,5; тюфячно-матрасные толщиной 0,17 м, 0,23 м, 0,3 м и размером 3´2 м; цилиндрические длиной до 3 м и диаметром 0,3 м.

2.17. Арматурные каркасы этих коробчатых и тюфячно-матрасных габионов представляют собой готовые сетчатые ящики. Они поставляются в виде пакетов, которые состоят из плоских, сложенных разверток сетчатых ящиков (Рис. 2.5). На месте строительства эти развертки формируются в каркасные сетчатые ящики путем перевязки проволокой по их угловым ребрам. Размеры и вес арматурных каркасов всех форма более подробно отражены в пунктах 2.27, 2.30, 2.31, 2.32, а дальнейшие работы по формированию габионных строительных блоков - в пунктах 2.23-2.28 настоящих «Методических рекомендаций».

Рис. 2.4. Типы арматурно-сетчатых каркасов:

а - коробчатые; б - матрасно-тюфячные; в - цилиндрические.

Рис. 2.5. Сетчатая развертка коробчатого габиона с диафрагмой:

а - до сборки; б - схема сборки

Рис. 2.6. Сетка двойного кручения:

1 - металлическая проволока; 2 - проволока кромки; 3 - узел двойного кручения; 4 - ось кручения

2.18. Арматурные каркасы всех форм габионов изготавливаются из стальной оцинкованной сетки двойного кручения с шестигранными ячейками размером 10´12 см, 8´10 см, 6´8 см или 5´7 см (Рис. 2.6).

Оцинкованная сетка двойного кручения с шестигранными ячейками обладает следующими свойствами:

·       изготавливается индустриально и поставляется в виде рулонов или в виде сложенных разверток металлических каркасов габионов;

·       при механическом повреждении одной, двух, трех проволочек сетка не расплетается за счет двойной скрутки в узлах;

·       эта сетка имеет плоскую фиксированную поверхность, что позволяет создавать конструкции необходимых очертаний;

·       устойчива к истиранию;

·       воспринимает большие нагрузки без повреждений, поскольку эти нагрузки через двойную скрутку равномерно распределяются по всей площади сетки;

·       обладает весьма значительной антикоррозийной устойчивостью и сроком службы.

Существуют и другие типы покрытий проволоки, такие как эмали или покраска. Некоторые из них выдерживают скручивание и эластичны. Однако покрытие цинком на сегодняшний день является самым устойчивым к коррозии и механическим повреждениям.

2.19. Диаметр проволоки сетки габионных оцинкованных каркасов составляет от 2 до 4 мм, предел прочности проволоки - 38-50 кг/мм2, удлинение не превышает 12 %. В зависимости от диаметра проволоки и размера ячеек предел прочности сетки на разрыв составляет от 3000 до 5300 кг/м. Плотность цинкового покрытия составляет 240-290 г/м2.

2.20. Основные показатели плотности цинкового покрытия проволоки сетки, а также пределы прочности этой сетки характеризуются данными табл. 2.2 и табл. 2.3.

В табл. 2.3 приведены нагрузки, выдерживаемые при растяжении сетки в направлении узла скрутки. Удлинение сетки при этом составляет 6-7 %. Выдерживаемые нагрузки в поперечном направлении узла скрутки снижается в два раза и удлинение полотна сетки составляет 20-22 %.

Таблица 2.2

№№ п/п

Диаметр проволоки, мм

Допуск на диаметр ±, мм

Количество цинка, кг/м2

1.

2,00

0,06

0,240

2.

2,20

0,06

0,240

3.

2,40

0,06

0,260

4.

2,70

0,08

0,260

5.

3,00

0,08

0,275

6.

3,40

0,10

0,275

7.

3,90

0,10

0,290

Таблица 2.3

Звено типа

Проволока диаметром, мм

2,00

2,20

2,40

2,70

3,00

Предел прочности, кг/м

5´7

35

40

45

-

-

6´8

30

35

42

47

-

8´10

-

-

34

43

53

10´12

-

-

-

35

43

Каркасы габионов, выполненные из стальной оцинкованной сетки двойного кручения, можно классифицировать как оцинкованные.

2.21. Для применения в агрессивной среде оцинкованная проволока сетки дополнительно покрывается пластиковой оболочкой толщиной от 0,4 до 0,6 мм из поливинилхлорида (ПВХ). Эта оболочка отличается повышенной прочностью и морозоустойчивостью.

Стандартная комбинация размеров ячейки сетки и диаметр проволоки сетки с покрытием из ПВХ характеризуется данными табл. 2.4.

Таблица 2.4

Размер ячейки сетки, см

Диаметр проволоки, мм

внутренний

наружный

6,0´8,0

2,2

2,7

8,0´10,0

2,7

3,7

Каркасы габионов, выполненные из стальной оцинкованной сетки двойного кручения с покрытием их ПВХ, можно классифицировать как пластифицированные.

2.22. Вместо цинкового покрытия стальной проволоки сетки может применяться покрытие из гальфана, представляющего собой сплав цинка и алюминия (содержание алюминия - 5 %). От цинкового покрытия гальфан отличается плотной тонкозернистой микроструктурой, замедляющей скорость коррозии.

Другим свойством гальфана является его прочность, а в случае изгибания или кручения проволоки гальфановое покрытие не подвергается растрескиванию. Такого типа каркасы можно классифицировать как гальфановые.

2.23. Все края коробчатых и тюфячных габионов армируются проволокой большего диаметра, чем проволока сетки. Габионы этих типов могут быть разделены на секции посредством диафрагм, располагаемых через 1 м. Это упрочняет конструкцию габионов облегчает работы по их установке и удобству эксплуатационных работ. При возможных механических повреждениях нарушается только одна или несколько ячеек. Основная часть сооружения работает дальше без уменьшения прочности.

Эти диафрагмы имеют такие же характеристики, что и сетка, из которой состоит габион, а крепятся они непосредственно к раме основания габионов во время их изготовления.

Диаметр проволок сетки, ее кромок и перевязки характеризуется данными табл. 2.5.

Таблица 2.5

№№ п/п

Диаметр, мм

проволоки сетки

проволоки кромки

проволоки перевязки

1.

2,00

2,40

2,00

2.

2,20

2,70

2,00

3.

2,40

3,00

2,00

4.

2,70

3,40

2,20

5.

3,00

3,90

2,40

2.24. Заполнение арматурно-сетчатых каркасов производится различным каменным материалом (щебень, галька, валуны, рваный камень карьерных разработок и другие). Размер камней должен превышать размер ячейки сетки в 1,5-2 раза.

Каменный материал должен обладать высокой плотностью, прочностью, морозостойкостью, в особенности при использовании в ответственных габионных сооружениях, подверженных динамическому воздействию воды. Наиболее предпочтительны магматические горные породы.

При заполнении каркасов коробчатых габионов более крупные камни должны находиться у края сетки, а более мелкие - в середине корзины (Рис. 2.7). Заполнение матрасно-тюфячных каркасов производится одномерным камнем.

Каменный материал, пригодный к заполнению, характеризуется данными табл. 2.6.

Таблица 2.6

Тип камня

Плотность, кг/м3

Базальт

2900

Гранит

2600

Плотный известняк

2600

Трахиты

2500

Песчаник

2300

Мягкий известняк

2200

Туфор

1700

Плотность материала камня должна быть ³ 1700 кг/м3. Марка по морозостойкости должна быть выше МРЗ 50.

2.25. Каркасы коробчатых и матрасно-тюфячных габионов собираются на месте строительства из сетчатых разверток (см. рис. 2.6).

Собираемые каркасы увязываются друг с другом проволокой и заполняются камнем.

По окончании заполнения каркасов каменным материалом габионы закрываются крышкой, которая привязывается к каркасу проволокой. Эта проволока имеет те же качества, что и сетка каркаса, но меньшего диаметра.

Рис. 2.7. Заполнение коробчатых каркасов камнем.

Рис. 2.8. Схема матрасно-тюфячного арматурного каркаса и его элементов в сборке.

Рис. 2.9. Схемы вариантов укладки сеток крышек матрасно-тюфячных габионов

2.26. Крышка матрасно-тюфячных габионов (Рис. 2.8) может быть выполнена из сетки, имеющей те же размеры, что и сетка основная (Рис. 2.9, а), либо из сетки в рулонах (Рис. 2.9, б).

2.27. Цилиндрические каркасы выполняются из единого рулона сетки, открытого с одной стороны или вдоль одного бока (см. рис. 2.4).

Размеры и вес арматурных каркасов цилиндрических габионов характеризуются данными табл. 2.7.

Таблица 2.7

Тип сетки 8´10

Размеры

Объем, м3

Вес, кг

Длина, м

Диаметр, м

Оцинков.

Æ 3,0 мм

Оцинков. + покрыт. ПВХ, внутр. Æ 2,7 мм, внешн. Æ 3,7 мм

2

0,65

0,65

10,3

9,6

3

0,65

1,00

13,8

12,8

2

0,95

1,40

16,2

14,9

3

0,95

2,15

21,3

19,6

2.28. Увязку габионов можно осуществлять как вручную, так и с помощью специальных автоматов типа «степлер».

2.29. В качестве рулонных сеток двойного кручения могут применяться сетки, размеры и вес которых отражены в табл. 2.8.

2.30. Размеры и вес арматурных каркасов матрасно-тюфячных габионов Рено (см. рис. 2.4 и рис. 2.8) характеризуются данными табл. 2.9.

Таблица 2.8

Оцинкованная

Оцинкованная + покрытие ПВХ

Тип сетки

Проволока, Æ мм

Вес, кг/м2

Высота, м

Тип сетки

Проволока, Æ мм внутр.

Вес, кг/м2

Высота рулона сетки, м

10´12

2,7

1,230

2-3

8´10

2,7/3,7

1,680

2-3

3,0

1,510

2-3

6´8

2,2/3,2

1,490

2-3

8´10

2,7

1,430

2-3

Сетка поставляется в рулонах от 29 до 100 м длиной

3,0

1,780

2-3

6´8

2,2

1,200

2-3

2,7

1,840

2-3

5´7

2,0

1,240

2-3

Таблица 2.9

Тип сетки

6´8

5´7

Размеры

Вес

Размеры

Вес

длина, м

ширина, м

высота, м

Оцинков.

Оцинкованная + покрытие ПВХ

длина, м

ширина, м

высота, м

Оцинков.

Проволока Æ 2,2 мм

внут. Æ 1,22 мм

внешн. Æ 3,2 мм

Проволока Æ 2,0 мм

кг

кг/м3

кг

кг/м3

кг

кг/м3

3

2

0,17

19,3

3,22

24,7

4,10

3

2

0,15

20,0

3,30

4

2

0,17

25,0

3,13

31,5

3,94

4

2

0,15

26,0

3,25

5

2

0,17

30,6

3,06

37,6

3,76

5

2

0,15

32,0

3,20

6

2

0,17

36,4

3,04

44,5

3,71

6

2

0,15

38,0

3,16

3

2

0,23

21,0

3,50

26,2

4,36

3

2

0,20

21,4

3,56

4

2

0,23

27,2

3,40

33,8

4,22

4

2

0,20

27,8

3,47

5

2

0,23

33,6

3,36

41,0

4,10

5

2

0,20

34,2

3,42

6

2

0,23

39,5

3,29

48,7

4,06

6

2

0,20

40,8

3,40

3

2

0,30

22,8

3,80

28,6

4,76

3

2

0,25

22,7

3,78

4

2

0,30

29,4

3,68

36,6

4,57

4

2

0,25

29,5

3,69

5

2

0,30

36,3

3,63

44,7

4,47

5

2

0,25

36,4

3,64

6

2

0,30

43,0

3,58

53,0

4,42

6

2

0,25

43,4

3,61

2.31. Размеры и вес арматурных каркасов плоско-коробчатых габионов (габионов «Джамбо») характеризуются данными табл. 2.10 (см. рис. 2.4).

Таблица 2.10

Тип сетки

10×12

8×10

Размеры

Вес, кг

длина, м

ширина, м

высота, м

диафрагма

оцинков.

оцинков.

оцинков. + покрытие ПВХ

внутр. Ø 2,7 мм

внешн. Ø 3,7 мм

Ø 2,7 мм

Ø 3,0 мм

Ø 2,7 мм

Ø 3,0 мм

3

2

0,50

2

27,5

33,8

33,8

40,2

38,0

4

2

0,50

3

34,8

42,7

41,6

51,3

49,7

5

2

0,50

4

43,1

53,0

50,0

62,3

58,8

6

2

0,50

5

51,4

63,3

59,0

73,2

68,8

3

2

1

2

37,8

46,5

41,2

51,2

47,7

4

2

1

3

47,6

58,5

51,1

65,3

61,0

2.32. Размеры и вес арматурных каркасов высотно-коробчатых габионов (см. рис. 2.4) характеризуются данными табл. 2.11.

2.33. Расход проволоки для завязки арматурных каркасов коробчатых, матрасно-тюфячных и цилиндрических габионов составляет 3-5 % от общего веса этих каркасов и должен учитываться дополнительно к данным табл. 2.9, 2.10 и 2.11.

2.34. Данные табл. 2.9, 2.10 и 2.11 отражают стандартные размеры и вес арматурных каркасов коробчатых, матрасно-тюфячных и цилиндрических габионов.

Размеры и вес этих каркасов могут быть изменены на месте строительства путем весьма несложных технологических операций в зависимости от конкретных условий применения этих габионов.

2.35. Минимальная партия продукции «Маккаферри» составляет один полный контейнер, вес которого равен:

Таблица 2.11

Типы и размеры сеток

Размеры

10×12

8×10

6×8

Вес, кг

длина, м

ширина, м

высота, м

диафрагма, м

Оцинков.

Оцинков.

Оцинков. + покрыт. ПВХ

внутр. Ø 2,7 мм

внешн. Ø 3,7 мм

Оцинков.

Проволока

Ø 2,7 мм

Проволока

Ø 3,0 мм

Проволока

Ø 2,7 мм

Проволока

Ø 3,0 мм

Проволока

Ø 2,7 мм

с диафрагмой

без диафрагмы

с диафрагмой

без диафрагмы

с диафрагмой

без диафрагмы

с диафрагмой

без диафрагмы

с диафрагмой

с диафрагмой

без диафрагмы

2

1

0,50

1

10,8

9,6

13,1

12,0

12,4

11,5

15,6

14,6

14,5

14,8

13,3

3

1

0,50

2

15,3

13,5

18,7

16,5

17,5

16,2

21,9

20,2

20,2

21,4

18,7

4

1

0,50

3

19,3

17,1

23,6

20,7

23,2

20,5

28,0

26,0

25,9

-

-

1,5

1

1

-

-

11,4

-

14,0

-

12,8

-

16,5

14,9

-

15,5

2

1

1

1

15,3

13,4

18,6

16,7

17,5

15,5

21,7

19,5

20,0

21,0

18,6

3

1

1

2

21,6

18,0

26,4

22,7

24,2

21,3

30,4

26,8

28,0

30,4

26,0

4

1

1

3

27,2

23,4

34,0

28,4

31,5

27,2

39,0

33,6

36,0

-

-

·       12-16 тонн для оцинкованных сетчато-арматурных каркасов коробчатых и матрасно-тюфячных габионов;

·       11-15 тонн для аналогичных габионов с каркасами цинкового покрытия с ПВХ;

·       8 тонн для оцинкованной сетки двойного кручения;

·       7,5 тонн для сетки двойного кручения оцинкованной с покрытием ПВХ.

2.36. Период приобретения наибольшей прочности построенных габионных сооружений составляет 1-5 лет в зависимости от интенсивности и объема аккумуляции частиц грунта в тело габионов, консолидации грунта в основании этих сооружений и бортах их соприкосновения с укрепляемой поверхностью откосов (берегов) и других факторов.

2.37. Срок службы цинкового покрытия проволоки, из которой изготавливаются сетки каркасов габионов, определяется антикоррозионной устойчивостью этого покрытия.

При плотном оцинковании (260 г/м2) фактический срок службы цинкового покрытия, определенный по ряду ранее построенных габионных сооружений, может быть установлен по данным Рис. 2.10 (8, 9).

Лабораторно-экспериментальные испытания показывают, что при плотном оцинковании (260 г/м2) срок службы цинкового покрытия составляет 17-55 лет (Рис. 2.11).

Для условий морской (агрессивной) среды этот показатель составляет 6-25 лет (Рис. 2.12). При плотности цинка 50 г/м2 продолжительность жизни цинкового покрытия в обычных условиях составляет 4 года, а в морских - 1-2 года. Для проволоки плотного оцинкования уменьшение цинка от воздействия коррозии составляет 10 г/м2/год для обычных условий; 25 г/м2/год - для морских.

Рис. 2.10. Зависимость срока службы цинкового покрытия от плотности его оцинкования на 13 эксплуатируемых зарубежных объектах.

Рис. 2.11. Экспериментальные значения срока службы цинкового покрытия в обычных условиях.

Рис. 2.12. Экспериментальные значения срока службы цинкового покрытия в морских условиях.

Рис. 2.13. Фактические значения срока службы ПВХ покрытия оцинкованных каркасов габионов на 7 эксплуатируемых зарубежных объектах.

Срок службы ПВХ покрытия характеризуется данными Рис. 2.13, из которых следует, что покрытие цинка под ПВХ не разрушается вплоть до 120 лет (8, 9).

2.38. В настоящее время ОАО «Череповецкий сталепрокатный завод» (ОАО «ЧСПЗ») освоило выпуск отечественных металлических проволочных сеток двойного кручения с шестиугольными ячейками и сетчатых металлических конструкций для изготовления коробчатых арматурных каркасов.

Металлические сетки и сетчатые конструкции ОАО «ЧСПЗ» получили достаточную апробацию, применяются в строительстве габионных сооружений и рекомендуются для их использования в дорожно-мостовом строительстве.

2.39. Металлическая сетка изготавливается из проволоки оцинкованной 3-ей группы покрытия - 03 (260-275 г/м3) с размером ячеек 80×100 мм, диаметром 2,2-2,7 мм и шириной 2000-3000 м.

Изготовление этих сеток производится в соответствии с техническими условиями (ТУ 14-178-351-98), разработанными впервые ОАО «ЧСПЗ» 08.12.1998 г. и согласованными с Мэрией г. Череповца.

Особенности этих Технических условий и предусматриваемых ими металлических сетчатых изделий отражены в Приложении 1 настоящих Методических рекомендаций.

2.40. Ассортимент и конструктивные особенности сетчатых конструкций ОАО «ЧСПЗ» обусловлены Техническими условиями (ТУ 14-178-350-98) разработанными впервые этим предприятием 09.12.1998 г. и согласованными с Мэрией г. Череповца.

Особенности этих Технических условий и предусматриваемых ими сетчатых конструкций отражены в Приложении 2 настоящих Методических рекомендаций.

2.41. Металлические сетки и сетчатые конструкции, изготовляемые из них ОАО «ЧСПЗ», являются альтернативными зарубежным аналогам, а устраиваемые из них габионные конструкции и дорожно-мостовые сооружения обладают такими же преимуществами габионных структур, которые рассматривались в предыдущих разделах настоящих Методических рекомендаций и рассматриваются в последующих их разделах.

2.42. Условиями применения габионных структур рассматриваемых типов предусмотрено в основании габионных сооружений взамен подстилающего слоя из традиционных гравийно-песчаных, щебеночных и других материалов использовать геотекстиль Террам. Могут быть применены геотекстильные конструктивные материалы (дорнит), регламентированные ТУ 186788-90 ОП-2.

Принятие решения о замене подстилающего слоя из традиционных материалов на геотекстильные или об их совместном использовании в условиях значительных волновых воздействий должно быть обосновано индивидуальными расчетами с учетом конструктивных особенностей габионного сооружения и его устойчивости от этих воздействий.

Для устранения вымывания из габионов мелкого или измельченного (разрушенного) в процессе эксплуатации каменного материала геотекстильный материал укладывается в днище каркасов габионов.

2.43. Габионные конструкции данного могут быть использованы в качестве противофильтрационных устройств как при проектировании нового строительства, так и при защите существующих дорожно-мостовых объектов (сооружений).

При использовании этих габионных конструкций для предотвращения фильтрации воды через сооружение (в теле, откосах и по подошве земляного полотна и плотин, а также в днищах и откосах карьеров и других искусственных водоемов) необходимо обеспечить водонепроницаемость этого сооружения.

Обеспечение водонепроницаемости габионных структур, применяемых в качестве противофильтрационного мероприятия в проектируемых или эксплуатируемых сооружениях, следует производить с помощью укладки под габионы водонепроницаемой полимерной пленки (защищенной с обеих сторон слоями геотекстиля) либо с помощью пропитки габионов горячей песчано-битумной мастикой (Рис. 2.14).

Рис. 2.14. Противофильтрационные и водонепроницаемые габионные строительные блоки:

а - с применением мембран; б - с применением битумной мастики; 1 - геотекстиль; 2 - водонепроницаемая мембрана; 3 - битумная мастика.

В качестве альтернативы этой мастике может быть использована битумная или синтетическая оболочка, укладываемая под габионом. Она должна быть защищена от возможного повреждения при наложении двойного слоя геотекстиля.

Мастика наносится в горячем виде. Среднее количество мастики характеризуется данными табл. 2.12.

Таблица 2.12

Тип габионов

Толщина, мм

Дозировка битумной мастики

частичное проникновение, кг/м2

полное проникновение, кг/м2

Матрацы

150

60-90

120-140

 

170

80-100

130-150

 

230

90-120

190-220

 

250

100-130

200-240

 

300

120-150

240-280

коробчатые

500

150-200

400-450

Состав мастики характеризуется следующими данными:

 

вне воды

под водой

песок

66-73 %

65-75 %

наполнитель

12-16 %

10-15 %

битум

15-18 %

15-20 %

Типы битума, используемые в различных условиях:

·       для заливки вне воды: тип 40/50/60/70/80/100;

·       для заливки под водой: макс. глубина 2 м: 80/100 или 180/200; глубина свыше 2 м: 180/200.

Мастика должна подходить для применения ее в горячем виде гравитационным методом, она должна быть достаточно жидкой для заливки пустот конструкции при следующих температурах:

·       заливка вне воды: 150-180 °С;

·       заливка под водой: глубина до 2 м: 120-150 °С; глубина свыше 2 м: 100-130 °С.

2.44. Многолетний опыт зарубежного и отечественного применения габионных конструкций рассматриваемых типов предопределил возможные направления их использования:

·       берегоукрепления;

·       регулирование рек;

·       противопаводковая защита;

·       защита от подтоплений;

·       противоселевая и противооползневая защита;

·       строительство и облицовка каналов;

·       водозаборы и водовыпуски;

·       дамбы, плотины и их облицовка;

·       перепады;

·       трубчатые переезды;

·       понуры, рисбермы, гасящие сооружения;

·       укрепления мостовых опор и береговых устоев;

·       подпорные стенки;

·       укрепление насыпей, автомобильных и железных дорог;

·       укрепление склонов оврагов;

·       укрепление оснований сооружений;

·       защита от камнепадов;

·       портовые сооружения;

·       морская защита;

·       городские набережные, парковые зоны, декоративная облицовка рек;

·       армирование почв;

·       рекультивация земель, захоронение отходов;

·       локализация иловых отложений в водоемах.

2.45. Коробчатые габионы принято использовать для возведения массивных сооружений: подпорных стен, дамб, берегоукреплений, водосливных плотин и т.д.

Лицевая грань таких сооружений (вертикальная или наклонная) может быть как гладкой, так и ступенчатой.

Высота конструкций, сооружаемых из коробчатых габионов, не должна превышать 7-8 м. В случае, если необходимо построить более высокие сооружения, используют системы армирования грунта, комбинированные с габионными конструкциями (прежде всего систему Террамеш).

2.46. Матрасно-тюфячные габионы, а в ряде случаев и коробчатые габионы (типа Джамбо), применяются для площадочных покрытий, предназначенных чаще всего для защиты от различных видов эрозии и склоновых процессов.

Матрасно-тюфячные габионы используют в качестве основания для сооружений из коробчатых габионов. В этом случае они выполняют функции защитного фартука, предохраняющего основание конструкции от размыва.

2.47. Цилиндрические габионы используются обычно при создании подводных фундаментов сооружений из коробчатых габионов, а также для выполнения работ, требующих незамедлительного вмешательства при ликвидации аварий сооружений, расположенных на реках.

2.48. Простые панели сетки двойного кручения часто применяются для защиты автомобильных дорог от камнепадов, а также используются для восстановления или инициирования зарастания растительностью крутых скалистых склонов.

2.49. Габионные конструкции рассматриваемых типов обладают не только весьма широкими возможностями их применения, качеством габионной продукции и централизованностью поставок индустриального производства, но и рядом других особенностей:

·       антикоррозийной устойчивостью и длительным сроком службы;

·       гибкостью структуры, способной воспринимать возможные осадки грунта и размывы дна русел, реагируя на это прогнозируемыми прогибами;

·       возможностью комбинирования разных типов конструкций при создании сооружений различного предназначения;

·       возможностью сопряжения с традиционными и нетрадиционными конструкциями и сооружениями;

·       прочностью и устойчивостью по завершению процессов консолидации с грунтами оснований сооружений и грунтами их внутренних поверхностей;

·       проницаемостью за счет пористой структуры, что обеспечивает ее высокие дренажные качества и отказ от дополнительных затрат на устройство дренажных устройств;

·       возможностью создания непроницаемых структур, используемых в качестве экранов, и других противофильтрационных устройств;

·       простотой конструкций, не требующих квалифицированной рабочей силы;

·       минимальными объемами работ по подготовке основания сооружения;

·       независимостью применения от климатических или сезонных условий; габионы могут быть установлены как в сухом месте, так и в воде;

·       не нужна специальная техника, достаточно обычных средств строительной площадки;

·       экономичностью в строительстве и эксплуатации по сравнению с жесткими и полужесткими традиционными конструкциями; при применении габионов экономия средств может составить от 10 до 50 %;

·       повышенными экологическими свойствами для восстановления и оздоровления ландшафтов, создания благоприятных условий по увеличению численности рыбы, а также развития флоры и биоты, которые необходимы для жизнедеятельности рыб;

·       правами любой организации (фирмы) на собственную методологию проектирования и технологию строительства, изначально обусловленную изготовителем и поставщиком габионной продукции.

2.50. Раскрытия и реализация всех возможностей габионных конструкций, указанных в пункте 2.49, может быть осуществлено лишь на основе вариантных проработок и сопоставлении с другими альтернативными вариантами применения традиционных или нетрадиционных конструкций на конкретных объектах проектирования.

2.51. Некоторые из направлений возможного использования габионных конструкций данного типа и отдельные их типы освоены опытно-экспериментальным строительством на дорожно-мостовых объектах России.

Это освоение было основано на использовании сопровождающих правил, условий возможного использования конструкций данного типа, а также на общих схемах инженерных решений, разработанных изготовителем и поставщиком габионной продукции, а также рядом организаций для отдельных разновидностей дорожно-мостовых сооружений (10, 11, 12, 13, 14, 15, 16, 17).

Эти сопровождающие материалы и документы отражают разновидности конструкций, предшествующий опыт и основную концепцию применения габионов данного типа. В этом заключается их основная направленность и предназначение. Они предопределяют возможность их апробации в опытно-экспериментальном строительстве и дальнейшую адаптацию в отечественную практику и процесс проектирования.

Изготовителем и поставщиком габионной продукции, а также зарубежными и отечественными разработчиками проектов признано, что главным фактором обеспечения эффективности ее применения в строительстве является разработка правильного проектного решения, что составляет 50 % условий достижения долговечного и надежного функционирования габионного сооружения.

Более широкое освоение габионных конструкций данного типа в отечественной практике дорожно-мостового строительства и обеспечение разработки наиболее оптимальных проектно-строительных решений сопряжено с необходимостью дальнейшего совершенствования и научно-методического развития изначальных сопровождающих материалов и документов, что и является одной из основных задач и предназначения настоящих «Методических рекомендаций».

2.52. Анализ этих материалов и документов, результатов опытно-экспериментального строительства, а также общеметодических основ сопровождения других типов альтернативных и традиционных конструкций позволил установить, что применение габионных конструкций данного типа предопределено необходимостью организации и проведения проектных работ на основе целостной и последовательно выполняемой на каждом объекте методологии проектирования, предусматривающей для данного типа габионных конструкций детальных проработок по следующим вопросам:

·     объектам и условиям применения;

·     учету ледовых, волновых, эрозионно-размывных и других нормируемых воздействий и нагрузок;

·     расчету устойчивости сооружений в заданных условиях их транспортно-гидротехнического функционирования;

·     возможности более широкого варьирования типоразмеров;

·     конструктивным решениям и альтернативным вариантам откосно-береговых, подмостовых, водоотводных, регуляционных, периодически затопляемых, усиливающих, стабилизирующих, дренажных, противофильтрационных и других сооружений;

·     возможному сопряжению габионов разных типов в комбинированные конструкции;

·     использованию в защитно-восстановительных противопаводочных мероприятиях;

·     возможному использованию и сопряжению с традиционными и нетрадиционными конструкциями и сооружениями.

2.53. Для проектирования дорожно-мостовых объектов с применением габионов рассматриваемых типов, возможного их использования в сочетании с традиционными и нетрадиционными сооружениями, а также для совершенствования существующих и разработки новых типовых решений (конструктивных схем) следует руководствоваться основными требованиями и положениями раздела 1 и последующих разделов настоящих «Методических рекомендаций».

Г. Нетрадиционные и сопрягаемые с ними габионные конструкции

2.54. К этим конструкциям относятся: система Террамеш, система зеленый Террамеш, матрасы Геомак, маты Сармак, система Флексмак, геокомпозитная сетка Макмат, сетка Родмеш, биоматы, биотекстили. Все они являются запатентованной продукцией фирмы «Офичине Маккаферри» и относятся к современным конструкциям и технологии ландшафтной архитектуры (10, 11, 12, 13, 14, 15).

2.55. Система Террамеш представляет сооружения удерживающего типа. Она состоит из коробчатых габионных конструкций, сопряженных с армирующими панелями, выполненными из сетки двойного кручения с шестигранными ячейками (Рис. 2.15). Сетки плотного оцинкования с ПВХ покрытием или гальфановым покрытием.

Коробчатые габионы, заполненные камнем, составляют лицевую сторону системы Террамеш. К нижним граням габионов присоединяются горизонтально располагаемые сетчатые армирующие панели.

Края панелей укрепляются проволокой диаметром 3,4 - 4,4 мм, оцинкованной и покрытой ПВХ или гальфаном. Между панелями насыпаются и утрамбовываются слои насыпного грунта, армируемые сеткой.

Лицевая сторона системы Террамеш может быть выполнена в виде вертикальной или наклонной стены гладкого или ступенчатого очертания (Рис. 2.16). Лицевую сторону системы Террамеш составляют коробчатые габионы, которые заполняются камнем полностью или с частичным заполнением растительным грунтом в левой верхней части габионов.

Рис. 2.15. Конструктивные элементы системы Террамеш:

L - длина; B - ширина; H - высота габиона; 1 - проволока армирования каркаса габиона; 2 - диафрагма; 3 - сетчатая армирующая панель.

Рис. 2.16. Конструкции системы Террамеш в виде вертикальной и наклонной стен:

1 - сетчатая армирующая панель; 2 - геотекстиль; 3 - грунт обратной засыпки.

Заполнение габионов камнем или с частичным заполнением грунтом может улучшить внешний вид откосов путем посадки саженцев кустарника, вьющихся растений и другого растительного материала (Рис. 2.17, 2.18).

Система Террамеш сочетает в себе свойства и предназначение габионных конструкций и систем армирования грунта металлическими сетками.

2.56. Система зеленый Террамеш отличается от системы Террамеш тем, что ее лицевая сторона выполнена не из габионов, а из панелей оцинкованной сетки двойного кручения (Рис. 2.19).

Эта система может иметь наклонную и вертикальную лицевую сторону. К панелям сетки лицевой грани прикрепляется биополотно, инициирующее рост травяного покрова (для сухих откосов), или полипропиленовое полотно для структур, подвергающихся воздействию воды. Лицевая сторона зеленого Террамеша чаще всего возводится под углом 60-70°. Использование растительного грунта, обогащенного различными видами трав, а также обработка лицевой поверхности системы гидропосевом (с использованием метода экстремального озеленения) позволяют в сжатые сроки осуществить полное озеленение поверхности откосов (Рис. 2.20).

2.57. В зависимости от типа лицевой стороны системы Террамеш и системы зеленого Террамеш (с использованием коробчатых габионов, или без них) возможны два способа их сборки, основные фазы строительства которых характеризуются данными Рис. 2.21.

2.58. Вес и типоразмеры элементов этих двух систем Террамеш характеризуются данными табл. 2.13 и табл. 2.14. Вес проволоки для завязки элементов между собой в эти таблицы не включен. Расход этой проволоки составляет от 3 до 5 % от общего веса, предусмотренного в табл. 2.13 и табл. 2.14.

Рис. 2.17. Конструктивные элементы вертикальной стены, возводимой по системе Террамеш:

1 - заполнение габионов камнем; 2 - геотекстиль; 3 - черенок саженца; 4 - армирующая панель; 5 - обратная засыпка.

Рис. 2.18. Наклонное расположение системы Террамеш:

1 - панель сочленения габионов; 2 - геотекстиль; 3 - удобренный почво-растительный грунт; 4 - растительные посадки.

Рис. 2.19. Конструктивные элементы системы зеленый Террамеш:

L - длина; B - ширина; H - высота габиона; 1 - проволока армирования; 2 - биополотно (или геотекстиль); 3 - сетчатая армирующая панель; 4 - фиксирующие кольца плотного оцинкования; 5 - лицевая панель; 6 - арматура треугольной формы.

Рис. 2.20. Конструкция системы зеленый Террамеш:

1 - грунт обратной засыпки; 2 - сетчатая армирующая панель; 3 - гидропосев; 4 - биополотно; 5 - геотекстиль.

Рис. 2.21. Схемы сборки систем Террамеш (а) и зеленый Террамеш (б):

А - армирующая панель; В - линии складок; С - диафрагмы; D - геотекстиль; Е - грунт обратной засыпки.

Таблица 2.13

СИСТЕМА ТЕРРАМЕШ

Тип сетки 8 × 10; цинковое ПВХ покрытие; внутр. Ø 2,70 мм, внешн. Ø 3,70 мм

Размеры

Длина, м

Ширина, м

Высота, м

Вес, кг

4,00

2,00

0,50-1,00

24,20-29,70

5,00

2,00

0,50-1,00

27,20-32,70

6,00

2,00

0,50-1,00

30,20-35,70

Таблица 2.14

СИСТЕМА ЗЕЛЕНЫЙ ТЕРРАМЕШ

Тип сетки 8 × 10; цинковое ПВХ покрытие; внутр. Ø 2,70 мм, внешн. Ø 3,70 мм

Размеры

Длина, м

Ширина, м

Высота, м

Вес, кг

3,00

2,00

0,45

13,5

4,00

2,00

0,45

17,0

5,00

2,00

0,45

20,5

3,00

2,00

0,60

14,0

4,00

2,00

0,60

17,5

5,00

2,00

0,60

21,0

Минимальная партия поставок арматурно-сетчатых элементов системы Террамеш составляет один контейнер весом 11 - 14 тонн.

2.59. Требования к материалам засыпки в системе Террамеш и системе зеленый Террамеш определяются нижеследующими рекомендациями.

Для обеспечения необходимого сцепления в армогрунтовом сооружении и гарантии надежной работы армогрунтовой системы с использованием металлических сеток, независимо от содержания влаги, в качестве материала обратной засыпки, укладываемого позади лицевой грани конструкции, рекомендуется применять зернистый, свободнодренирующий материал, который должен отвечать следующим требованиям:

·       не более, чем 15 % от общей массы материала должно быть мельче 0,075 мм;

·       не менее, чем 90 % от общей массы материала должно быть мельче, чем 100 мм;

·       максимальный размер частиц грунта засыпки не должен быть больше, чем 150 мм.

При соблюдении вышеприведенных рекомендаций угол внутреннего трения обратной засыпки будет равен 36°. Нижний предел зернового состава засыпки может быть увеличен до 20 % от общей массы с размером частиц мельче 0,075 мм. При этом обеспечивается необходимая величина угла внутреннего трения.

Поведение материалов обратной засыпки, не отвечающих адекватно этим требованиям, менее предсказуемо, главным образом из-за содержания влаги в засыпке и ее изменения в течение срока службы сооружения. В качестве обратной засыпки возможно использование смешанных материалов (смесь песка и гравия, и т.п.), в том числе полученных с помощью химических методов стабилизации. При этом необходимо обеспечить, чтобы величина угла внутреннего трения грунта обратной засыпки была не меньше 28-30°.

Во избежание повреждения металлической сетки армогрунта грунтоуплотняющими машинами отсортированный материал засыпки укладывается и уплотняется слоями не более 0,5 м. При использовании габионной лицевой грани грунтоуплотняющие машины не должны подходить ближе 1,0 м к тыльной стороне коробчатого габиона. Уплотнение засыпки у габионов завершают с помощью ручных вибраторов. Рекомендуется обеспечить уплотнение засыпки до плотности материала 1,800 т/м3.

2.60. Системы Террамеш и зеленый Террамеш предназначены для защиты берегов, склонов и откосов от размыва, эрозии и оползания. Рекомендации по использованию этих систем для данных целей рассматриваются в разделе 3 настоящих «Методических рекомендаций».

2.61. Матрасы Геомак представляют собой габионную структуру, заполненную грунтом, защищенным геотекстилем от вымывания (Рис. 2.22).

В качестве основы этой структуры используется арматурно-сетчатый каркас матрасно-тюфячного габиона (см. рис. 2.4, б). Основные конструктивные особенности этих каркасов, материал изготовления и другие их характеристики более подробно рассмотрены в разделе настоящих «Методических рекомендаций».

Каркас устилается внутри полотном геотекстиля, заполняется грунтом и закрывается крышкой из обычного полотна сетки двойного кручения с биотекстилем или из сетки Макмат.

Матрасы Геомак предназначаются для противоэрозионной защиты сухих склонов и откосов насыпей, а также для рекультивации территорий. Они способствуют росту травяного покрова и восстановлению плодородного слоя на свалках и местах, загрязненных синтетическими пленками.

2.62. Маты Сармак разработаны для обеспечения закрепления и защиты подводных трубопроводов и кабелей от повреждения (Рис. 2.23). Арматурные каркасы этих матов относятся к матрасно-тюфячному типу, основные характеристики которых характеризуются данными табл. 2.15.

Рис. 2.22. Конструкция матрасов Геомак:

1 - арматурно-сетчатый каркас; 2 - геотекстиль; 3 - сетчатая крышка.

Рис. 2.23. Схема защиты трубопроводов матами Сармак:

1 - трубопровод; 2 - маты Сармак.

Рис. 2.24. Геокомпозитная сетка Макмат.

Таблица 2.15

Тип

Размеры

Вес, кг/м2

Поднимающая петля, кг

длина, м

ширина, м

толщина, м

область покрытия

объем, м3

в воздухе

в воде

Основной и простой

4

2

0,20

8

1,60

3,8

2,2

6

5

2

0,20

10

2,00

4,8

2,8

7

6

2

0,20

12

2,40

5,7

3,3

9

4

2

0,25

8

2,00

4,8

2,8

6

5

2

0,25

10

2,50

6,0

3,5

7

6

2

0,25

12

3,00

7,2

4,2

9

4

2

0,30

8

2,40

5,7

3,3

6

5

2

0,30

10

3,00

7,2

4,2

7

6

2

0,30

12

3,60

8,6

5,0

9

Легкий

4

2

0,12

8

0,96

2,3

1,3

6

5

2

0,12

10

1,20

2,8

1,6

6

6

2

0,12

12

1,44

3,4

2,0

6

Маты Сармак в заполненном виде представляют собой многослойные структуры из камня, геотекстиля, металлических сеток и битума. Они укладываются как сверху трубопровода для пригрузки, так и под ним.

Маты такого типа способны уменьшать горизонтальное и вертикальное движение трубопроводов. Их высокая степень гибкости защищает грунт под трубой от эрозии и саму трубу от оседаний, которые могут происходить под действием волн и течений.

2.63. Флексмак - многоячеистая структура, изготовленная из сетки двойного кручения, укрепленная вертикальными стальными стержнями и внутри проложенная геотекстилем.

Она дает возможность в чрезвычайных ситуациях быстро возводить на месте водозащитные структуры и структуры для защиты территорий, зданий, оборудования.

Благодаря возможности складываться и раскладываться Флексмак может быть установлена за несколько минут и использована в качестве временной защиты с последующим демонтажем.

Прокладка из геотекстиля позволяет заполнять Флексмак любым грунтом, имеющимся на месте, который может быть помещен внутрь структуры, используя механические средства или вручную.

2.64. Геокомпозитная сетка Макмат - это трехмерная панель из волокон ПВХ, армированная сеткой двойного кручения (Рис. 2.24). Сетка двойного кручения находится внутри панели из ПВХ. Лицевая сторона панели представляет собой ворсистый коврик из ПВХ-нитей диаметром 1-2 мм.

Основные элементы сетки характеризуются данными табл. 2.16.

Таблица 2.16

Тип

Тип сетки

Диаметр проволоки, мм

Толщина, мм

Длина, мм

Высота, мм

IМ/А

6´8

2,2

10

25

2

Сетка Макмат применяется для восстановления плодородного слоя откосов и защиты их от эрозионных процессов. Она также используется для защиты склонов и берегов водотоков с низкой эрозионной активностью.

Благодаря ворсистой лицевой поверхности сетка Макмат способна аккумулировать в себе частички грунта и препятствовать эрозии поверхностного слоя почвы.

Сетки Макмат могут использоваться как самостоятельный тип укрепления склонов и откосов, так и в комбинации с другими конструкциями Офичине Маккаферри (габионами, матрасами Рено, матрасами Геомак).

2.65. Сетки Родмеш отличаются от обычных сеток двойного кручения дополнительными поперечными армирующими проволочками. При этом увеличиваются воспринимаемые растягивающие усилия до 13000 кг/м. Эти сетки применяются в дорожном строительстве для укрепления основания асфальтобетонного и чернощебеночного покрытия или армирования самого асфальтобетонного покрытия.

2.66. Биоматы представляют собой многослойное полотно, состоящее из разных видов естественных биоразлагающихся волокон, наложенных на тонкий слой целлюлозы и укрепленных двумя слоями полипропиленовой светочувствительной сетки или двумя слоями джутовой сетки. Это полотно прошито с обеих сторон полипропиленовой или джутовой нитью.

Биоматы могут при необходимости предварительно засеиваться семенами трав, что позволяет дополнительно и более быстро инициировать произрастание (восстановление) травяного покрова.

Выбор смеси семян и сортов трав должен осуществляться в зависимости от географических и климатических условий, а также от характеристик грунта откосов (склонов).

Биоматы являются хорошим средством первоначальной защиты грунтовых откосов (склонов) от дождей и ветра. Они способны:

·       создать оптимальные условия для быстрого прорастания семян, которые попадают естественным путем или искусственно засеиваются в полотно;

·       предохранить семена от солнечного воздействия, колебаний температуры воздуха, расклевывания птицами, смыва и выдувания;

·       удобрить грунт при разложении волокон, поглощать и сохранять влагу, а также закрепить корни растений.

По составу биоразлагающих волокон биоматы подразделяются на три основных типа: биоматы из соломы, биоматы из кокосовых волокон, биоматы смешанного типа из соломы и кокосовых волокон.

По составу биоразлагающих волокон, строению, предназначению, массе и сроку службы биоматы имеют 5 модификаций, характеризующихся данными табл. 2.17.

Таблица 2.17

Тип

Состав, строение и срок службы

Масса, г/м2

Назначение

S-100-P

100 % соломы; срок службы 1 - 2 года

350

Создание плодородного слоя; защита от эрозии пологих склонов

SC-50

50 % соломы, 50 % кокосового волокна; срок службы 2 - 3 года

350

Создание плодородного слоя; защита от эрозии откосов крутизной до 1:3

SС-70

70 % кокосового полотна, 30 % соломы; срок службы 2 - 3 года

350

Долговременная защита от эрозии откосов крутизной до 1:2; создание плодородного слоя

С-100-Р

100 % кокосового полотна; срок службы 3 - 4 года

350

Долговременная защита от эрозии откосов крутизной до 1:1,5; при высокой обводненности склона и сильной эрозии

С-100-J

100 % кокосового волокна; срок службы 3 - 4 года

450

Долговременная защита от эрозии откосов крутизной до 1:1,5; наиболее экологичны

В типах S-100-Р, SС-50, SС-70 и С-100-Р обе стороны биоматов укреплены полипропиленовой сеткой и прошиты полипропиленовой нитью. В типе С-100-J обе стороны биомата укреплены джутовой сеткой и прошиты джутовой нитью.

Тип S-100-Р имеет наибольшие фильтрационные свойства для поверхностного слоя грунта, наиболее быстро разлагается и наиболее применим при слабо выраженной эрозии откосов (склонов).

Типы С-100-Р и С-100-J ориентированы на условия с наибольшей эрозией и большим поверхностным стоком. Биоматы этих двух типов разлагаются очень медленно, создавая тем самым долговременную защиту откосов (склонов от дождей, ветра и колебаний температуры воздуха).

Типы SС-50 и SС-70 ориентированы для применения в промежуточных условиях между типом S-100-Р и типами С-100-Р и С-100-J.

Меньшее количество волокон, чем то, которое предусмотрено во всех типах биоматов (см. табл. 2.17), не сможет обеспечить их функциональное предназначение. Биоматы всех типов поставляются в виде 50-метровых рулонов шириной 2,4 м.

2.67. Конструктивные особенности биоматов предопределяют нижеследующие рекомендации по технологии их укладки на укрепляемый откос или склон.

Верхняя часть биомата фиксируется на поверхности склона с помощью скоб или кольев. Возможна пригрузка верхнего края полотна грунтом. После этого рулон разматывается таким образом, чтобы слой целлюлозы касался поверхности откоса (склона).

В случае наличия камней или строительных отходов перед укладкой биополотна необходимо очистить поверхность грунта от них. В противном случае биоматы будут плохо выполнять свою функцию.

Полотно укладывается свободно, без натяжки, так, чтобы корни растений при их росте сразу нашли грунт. В связи с этим очень важно, чтобы полотно хорошо прилегало к грунту и чтобы оно было хорошо укреплено на поверхности грунта. После укладки полотна, если оно не засеяно, надо произвести посев трав и удобрить поверхность, особенно при наличии неплодородного грунта.

Если биоматы применяются с семенами, то необходимо произвести повторный их посев через 3-4 недели после их установки на откос (склон). При сухой погоде биоматы должны быть политы водой.

Для достижения хорошего результата при укладке биоматов необходимо наложить края полотен один на другой минимум на 0,1 м.

Биоматы крепятся на откосе (склоне) скобами или деревянными кольями по схеме, указанной на Рис. 2.25. Количество и расположение фиксирующих элементов зависит от уклона откоса и от характеристик грунта.

Рис. 2.25. Схема расположения крепежных скоб или деревянных кольев при креплении биоматов на откосах (склонах).

2.68. Биотекстили представляют собой сплетенные из натурального волокна (чаще всего кокосового) сетки различных типов с размерами ячеек от 0,5-1,0 см до 5-6 см. Сетки не препятствуют прорастанию травы, при этом они гасят энергию стекающей по склону воды, одновременно повышая влагоемкость почвы.

Как и биоматы, биотекстили способствуют быстрому укоренению растительности. За 5-8 лет, необходимых для полного разложения кокосового волокна, растительность, как правило, успевает развиться настолько, чтобы полностью взять на себя осуществление защитных функций. Характеристики наиболее часто применяемых типов биотекстилей отражены в табл. 2.18.

Таблица 2.18

Тип

Состав, строение и срок службы

Масса, г/м2

Назначение

КGW 400

Сетка из кокосового волокна с размером ячеек 25 мм; срок службы 5 - 6 лет

400

Долговременная защита от эрозии откосов крутизной до 1:1,5

КGW 700

Сетка из кокосового волокна с размером ячеек 10 мм; срок службы 6 - 7 лет

700

Долговременная защита от эрозии откосов крутизной до 1:1

КGW 900

Сетка из кокосового волокна с размером ячеек 5 мм; срок службы 8 лет

900

Долговременная защита от эрозии откосов крутизной до 1:0,75; при высокой обводненности склона и сильной эрозии; может быть использована для создания малых армогрунтовых структур

КGW 1200

Трехмерная сетка из кокосового волокна толщиной около 20 мм; производится на основе сетки КGW 900, для усиления защитных функций плетение сетки выполняется в виде объемных петель; срок службы 8 лет

1200

Долговременная защита от эрозии откосов крутизной до 1:0,75; при высокой обводненности склона и сильной эрозии

2.69. Установка биотекстилей осуществляется после проведения гидропосева (в ряде случаев - после укладки растительного грунта) путем раскатывания рулонов вниз по склону и закрепления их с помощью деревянных кольев (длиной 0,5 м и диаметром 0,04-0,06 м). Для плотных или каменистых грунтов используют металлические скобы или стержни. Количество и взаимное расположение фиксирующих элементов зависит от крутизны откоса и характеристик грунта. Обычно количество колышков или скоб составляет 1-4 шт./м2 (см. рис. 2.25).

При установке биотекстилей необходимо следить за тем, чтобы покрытие хорошо прилегало к поверхности грунта и края полотен накладывались друг на друга не менее, чем на 0,1 м. Верхняя часть полотен закапывается в грунт на горизонтальной поверхности приблизительно в полуметре от бровки склона. При этом заглубленная часть биотекстилей пригружается щебнем. Благодаря этому достигается на только надежное крепление биополотна, но и обеспечивается дренаж верхней части откоса.

В условиях высокой эрозионной опасности для обеспечения стабильного развития почвенно-растительного покрова на следующий год рекомендуется проведение повторного гидропосева и укладка дополнительного биотекстиля.

Д. Габионы из пластмассовых сеток фирмы NETLON (Великобритании)

2.70. Габионы фирмы Netlon (7) изготовлены из высокоплотной полиэтиленовой сетки черного цвета с ячейками номинального размера 60´60 мм. В них используются полиэтиленовые стержни эллипсоидного сечения 7´4 или 5´3 мм.

Предел текучести ширины сетчатого материала в поперечном направлении составляет 533 кг/м, а в продольном - 482 кг/м. Модуль пластичности составляет 11,2´103 кг/м3. Масса этого материала 550 г/м2.

Сетчатые каркасы этих конструкций габионов представлены 6 типами их форм и поперечных сечений: коробчатые стандартные и нестандартные (Рис. 2.26); матрасные в виде матов; кругло-цилиндрические, квадратного и прямоугольного сечения (Рис. 2.27).

Стандартные коробчатые каркасы габионов (см. рис. 2.25) имеют три размера: 2´1´0,5, 3´1´0,5 и 4´1´0,5 м (длина, ширина и высота). Они выполняются с одной, двумя и тремя перегородками (диафрагмами).

Нестандартные коробчатые габионы (см. рис. 2.26) имеют размеры 2´1´1, 3´1´1 и 4´1´1 м (длина, ширина и высота) с большим количеством секций по высоте.

Панели боковых и торцевых сторон каркасных блоков коробчатых габионов соединены с панелью дна спиральными петлями из поливинилхлорида.

Двойные стержни усиливают боковые и торцевые панели, дно и крышку каркаса. Расстояние между этими стержнями в стандартных каркасах 250 мм; в нестандартных - 330 мм (см. рис. 2.26).

Рис. 2.26. Коробчатые каркасы габионов:

а - стандартный, готовый к сборке; б - стандартный, в собранном виде; в - нестандартный, готовый к сборке; г - нестандартный, в собранном виде; 1 - боковая панель; 2 - спиральная петля; 3 - крышка; 4 - торцевая панель; 5 - панель основания; 6 - перегородка; 7 - двойные стержни усиления; 8 - поливинилхлоридные спиральные петли.

Рис. 2.27. Каркасы габионов:

а - мат, готовый к сборке; б - мат в собранном состоянии; в - круглого, квадратного и прямоугольного сечения; 1 - вертикальные швы.

Поливинилхлоридные спиральные петли устанавливаются до заполнения габиона камнем.

Каркасы матрасных габионов, выполняемые в виде матов, имеют размеры 6´1´170, 6´1´250 и 6´1´330 мм (длина, ширина и высота) и пять промежуточных диафрагм. Вертикальные швы этих каркасов образованы полиэтиленовыми стержнями или полихлорвиниловыми спиралями (см. рис. 2.27).

Каркасы габионов кругло-цилиндрической формы, а также каркасы габионов с квадратным и прямоугольным поперечным сечением имеют длину от 5 до 7 м. Размеры их поперечных сечений характеризуются данными рис. 2.27.

2.71. Применение габионных конструкций данного типа в отечественной практике дорожно-мостового строительства ограничено из-за недостаточной изученности их конструктивных особенностей, технологии возведения, поведения в инженерных сооружениях, условий применения и поставок, экологичности и ряда других вопросов.

Возможность применения этих конструкций и разработка практических рекомендаций по их устройству могут быть осуществлены только после проведения соответствующих научно-методических работ, опытно-экспериментального строительства и обобщения их результатов.

3. Укрепление откосов земляного полотна и склонов

А. Технические указания и основные правила проектирования

3.1. Укрепление откосов земляного полотна и склонов производится с целью их предохранения от разрушающего воздействия поверхностных и речных вод, грунтовых вод, ветра, волн, ледохода и других факторов.

3.2. К факторам разрушающих воздействий следует относить факторы как природного, так и природно-техногенного происхождения, способные проявиться в период эксплуатации укрепляемого объекта или отдельного сооружения.

3.3. Выявление этих факторов и определение расчетных характеристик их пространственно-временного проявления на конкретных дорожно-мостовых объектах является одной из основных задач и исходным положением для проектирования габионных укреплений.

3.4. Определение расчетных характеристик паводочных, ледово-термических и других природно-техногенных воздействий должно производиться в соответствии с нормативными вероятностями превышения и методами, регламентируемыми СНиП 2.05.02-85 «Автомобильные дороги», СНиП 2.05.03-84* «Мосты и трубы», СНиП 2.05.11-83 (25), СНиП 2.05.07-91* (26), СНиП 2.07.01-89 (27), СНиП 2.06.14-85 (28), Пособием ПМП-91 (1) и Пособием (2).

3.5. При проектировании откосных габионных конструкций должны быть учтены факторы дополнительных воздействий, обусловленных:

·       положением автомобильной дороги на местности;

·       разобщением и расчленением дорогой территорий и нарушением водообмена;

·       стеснением водоемов, водотоков и других водных объектов;

·       влиянием близкорасположенных дорожно-мостовых объектов (сооружений) и объектов (сооружений) других видов хозяйственной деятельности.

Эти факторы способны вызвать подтопление откосов, движение поверхностных и речных вод вдоль дороги, эрозионные процессы вдоль земляного полотна и другие процессы.

Они могут предопределить необходимость сопряжения габионных укреплений откосов (склонов) с водоотводными, регуляционными, берегоукрепительными, противофильтрационными, противоэрозионными и другими сооружениями, а также с коммуникациями и другими объектами (сооружениями).

3.6. При расположении автомобильных дорог вблизи населенных пунктов, водоохранных зон, коммуникаций, систем мелиорации, зон отдыха, заповедников и других объектов или при их пересечении откосные габионные конструкции следует проектировать с учетом нормативных требований на проектирование этих народнохозяйственных объектов и сооружений, а также с учетом ненарушения условий их функционирования.

3.7. Классификацию, разработку и оценку состояния типов укрепления дорог и их отдельных конструктивов следует выполнять применительно к следующим трем условиям их функционирования (22): неподтопляемые, подтопляемые и затопляемые.

При анализе применимости, типизации и назначении укреплений для защиты, восстановления, строительства (реконструкции) дорог, а также при оценке их устойчивости к воздействию гидрометеорологических факторов следует руководствоваться следующей классификацией зон гидрометеорологических воздействий на дорожное полотно и его конструктивы применительно к этим трем условиям их функционирования (Рис. 3.1).

I - зона ударного воздействия атмосферных осадков, стекания поверхностных вод, эрозии, дефляции и других факторов, действующих на поверхность дороги в условиях ее неподтопления;

II - зона концентрации и движения вдоль подошвы дорожного полота поверхностных вод, стекающих с дороги и прилегающей к ней местности;

III - зона паводкового волнообразования и нагона воды;

IV - зона паводкового или постоянного подтопления;

V - зона подтопления от меженных вод;

VI - зона возможного углубления от развития размыва при сборе паводковых вод вдоль дороги (пойменных насыпей), попятно-эрозионном понижении и течении речного потока в подмостовом русле;

VII - зона возможного динамического фильтрационного воздействия водного потока, ледохода, карчехода и углубления от развития местного размыва в условиях затопления или перелива воды;

VIII - зона воздействий на поверхность дороги скоростей течения водного потока, ледохода, твердого стока и карчехода;

IX - зона воздействия на низовой откос при сливе паводочного стока;

Х - зона возможного углубления от развития размывов при воздействии паводковых вод, сливающихся по низовому откосу дорожного полотна, а также от попятно-эрозионного понижения.

3.8. Все типы укреплений неподтопляемых, подтопляемых и затопляемых откосов земляного полотна, подмостовых конусов, регуляционных, водоотводных и других дорожно-мостовых сооружений следует подразделять на три основные группы: капитальные, временные и аварийно-защитные.

3.9. Габионные конструкции, рассматриваемые в разделах и настоящих «Методических рекомендаций» обладают весьма широким спектром возможностей для их применения в откосно-склонных укреплениях.

Некоторые из них могут составить альтернативу друг другу. Поэтому для установления наибольшей целесообразности их применения в откосно-склонных укреплениях следует производить разработку вариантов применения конкурентоспособных типов габионных конструкций с целью выбора из них наиболее оптимального варианта для конкретного объема или сооружения.

3.10. Разработка конкурентоспособных вариантов габионных откосно-склонных укреплений и выбор оптимальной габионной конструкции должны производиться на основе материалов инженерных изысканий с учетом:

·       вида укрепляемого сооружения (насыпь, выемка, склон);

·       требуемого срока защитного действия укрепления;

·       рода грунта, из которого сложено укрепляемое сооружение, его свойства и состояния;

·       рода грунта основания сооружения, его свойств и состояния, возможности просадок насыпи на слабом основании (на основе биологических разрезов основания укрепляемого земляного сооружения или склона);

·       высоты и крутизны укрепляемого откоса;

·       местных климатических условий и природной обстановки (интенсивности и продолжительности ливней, количества выпадающих осадков и распределения их по месяцам, абсолютного значения летних и зимних температур, годового количества переходов температуры воздуха через нуль, сезонной глубины промерзания грунта, толщины снегового покрова и его устойчивости во времени, продолжительности весеннего и осеннего периодов, длительности безморозного периода года, а также скорости и направления ветров по различным сезонам года и т.п.);

·       местных топографических условий, абсолютных отметок участка строительных работ над уровнем моря, экспозиции склонов, по которым проложена автомобильная дорога, экспозиции склонов и откосов укрепляемого земляного полотна и т.п.;

·       местных гидрологических условий (глубины и длительности периода подтопления откосом при наивысшем расчетном и наинизшем горизонтах воды, амплитуды колебания горизонтов воды, скорости течения, высоты ветровой и судовой волн, крутизны ветровой волны, высоты набега волны на откос данной крутизны, ледового режима, наличия ледохода, карчехода и т.п.;

·       степени агрессивности среды для применяемых укрепительных материалов;

·       вида и количества имеющихся местных материалов для укрепительных работ, возможных условий их разработки, транспортировки, дальности возки, стоимости и т.п.;

·       возможностей и стоимости поставок арматурно-сетчатых каркасов, геотекстиля и других материалов, используемых в габионных конструкциях;

·       наличия местной рабочей силы и ее квалификации;

·       возможности механизации трудоемких процессов укрепительных работ;

·       заданных сроков и периодов года для выполнения строительных работ и начала обеспечения устойчивого функционирования укрепляемого откоса или склона.

3.11. В качестве альтернативных вариантов должны дополнительно к габионным укреплениям прорабатываться варианты традиционных укреплений и варианты габионных конструкций, сопрягаемых с традиционными укреплениями.

3.12. Требования пункта 3.10 настоящих «Методических рекомендаций» должны быть обязательными как для разработок вариантов с традиционными конструкциями укреплений, применяемых в дорожно-мостовом строительстве, так и вариантов габионных конструкций, сопрягаемых с традиционными.

3.13. В основу разработки вариантов откосных габионных конструкций и альтернативных им вариантов должны быть положены: проектные поперечные профили земляного полотна, обусловленные типовыми решениями 503-0-48.87 (29), или индивидуальными проектами, а также нормативные требования СНиП 2.05.02-85 (табл. 3.1).

Таблица 3.1

Грунты насыпи

Наибольшая крутизна откосов при высоте откоса насыпи, м

до 6

до 12

в нижней части

(0 - 6)

в верхней части

(6 - 12)

Глыбы слабовыветривающихся пород

1:1 - 1:1,3

1:1,3 - 1:1,5

1:1,3 - 1:1,5

Крупнообломочные и песчаные (за исключением мелких и пылеватых песков)

1:1,5

1:1,5

1:1,5

Песчаные мелкие и пылеватые, глинистые и лессовые

1:1,5

1:1,75

1:1,5

Пылеватые разновидности грунтов во II и III дорожно-климатических зонах и одноразмерные мелкие пески

1:1,75

1:2

1:1,75

Мелкие барханные пески в районах с засушливым климатом

1:2

1:2

1:2

В табл. 3.1 крутизна откосов регламентирована для насыпей на прочном основании, высота откоса насыпи определена разностью отметок верхней и нижней бровок откоса. При наличии косогорности высота откоса насыпи определяется разностью отметок верхней и нижней бровок низового откоса.

3.14. Регламентированные в табл. 3.1 и в других нормативных требованиях СНиП 2.05.02-85 критерии крутизны откосов предполагают их укрепление методом травосеяния или одерновки.

При применении других, более капитальных методов укрепления, включая и габионных, крутизна может быть увеличена при соответствующем технико-экономическом обосновании.

На ценных землях допускается увеличение крутизны откосов до предельных значений, приведенных в табл. 3.1, с разработкой мероприятий по обеспечению безопасности движения автотранспорта.

3.15. Разработка вариантов с традиционными конструкциями откосно-склоновых укреплений, а также сопрягаемых с ними габионных конструкций, должна производиться в соответствии с типовыми решениями укрепления откосов серии 3.503.9-78 (30).

3.16. Проектируемые габионные конструкции укреплений, как и вариантно сопоставляемые с ними традиционные типы укреплений, должны в комплексе с другими мероприятиями обеспечивать местную устойчивость откосов в процессе всего срока службы автомобильной дороги или другого дорожно-мостового объекта (сооружения).

3.17. Традиционные (типовые) конструкции земляного полотна (29) и укреплений откосов (30) ограничены: высотой откосов до 12 м, крутизной косогора не круче 1:3, длительностью подтопления не более 20 суток и рядом других условий и факторов воздействий, включая подпорные, размывные, приливно-отливные.

Во всех этих случаях, а также в других случаях, обусловленных пунктами 6.4, 6.38 и 6.39 СНиП 2.05.02-85, необходимы индивидуальные решения по очертаниям поперечного профиля земляного полотна и конструкциям укрепления его откосов, основанные на расчетах по оценке общей и местной устойчивости откосов.

3.18. Расчет по оценке местной устойчивости откосов и выбору способов их укрепления в различных природно-климатических условиях следует производить с учетом «Методических рекомендаций» ЦНИИС (31), а также с учетом нормативных требований ВСН 181-74.

3.19. При вариантных проработках габионных укреплений и их сопряжений с традиционными укреплениями для защиты откосов от деформаций, связанных с нарушениями местной устойчивости, необходимо учитывать в каждом конкретном случае наиболее рациональное сочетание конструктивных параметров габионного укрепления, к которым относятся: тип и собственный вес конструкции, размер ячеек сетчатого каркаса и материал их заполнения, расположение (сплошное или прерывистое) на поверхности откоса, целесообразность устройства того или другого типа.

3.20. Откосные укрепления и границы этих укреплений должны быть увязаны с системой водоотвода с проезжей части дорожно-мостового полотна, количеством, конструкцией и положением откосных водосборных лотков и водогасящими устройствами в концевых участках этих лотков, примыкающих к поверхности земли (у подошвы насыпей) или к водоотводным (очистным) сооружениям.

3.21. При укреплении конусов путепроводов, высоких откосов насыпей и т.д. необходимо учитывать эстетические требования и назначать габионные конструкции с заполнением их цветными материалами (щебнем, биосинтетическими материалами, посевом специально подобранных трав и т.д.).

3.22. При разработке проектно-строительных решений необходимо учитывать, что укрепление откосов следует производить сразу после завершения отсыпки, уплотнения и планировки насыпи или разработки выемки, а при высоких насыпях и глубоких выемках - немедленно после окончания сооружения их отдельных частей (ярусов).

При укреплении откосов насыпей, возводимых на слабых основаниях или из грунтов повышенной влажности, необходимо выбирать тип конструкции укрепления и назначать сроки укрепительных работ в зависимости от хода и интенсивности осадки грунта на стадии индивидуального проектирования.

3.23. К основным критериям сопоставления вариантов габионных укреплений с вариантами традиционных и сопрягаемых с ними габионных конструкций и выбора наиболее оптимального варианта следует относить:

·     затраты на строительство и эксплуатацию;

·     прочность и устойчивость в период эксплуатации;

·     возможность обеспечения начала устойчивого функционирования в наиболее короткий срок;

·     экологичность и способность восстановления (улучшения) естественного ландшафта;

·     эстетика восприятия.

3.24. Прочностные характеристики материалов габионных конструкций, а также проектирование и осуществление укрепительных работ с применением габионов должны соответствовать требованиям Строительных норм и правил, ГОСТов, Технических условий, технологических правил и Указаний по технологии производства работ, а также общим требованиям, изложенным в разделе 2 настоящих «Методических рекомендаций».

3.25. При разработках предпроектной документации площадь укрепляемой поверхности откосов (F) в зависимости от рельефа местности, среднеквадратического отклонения высотных отметок местности (ΔН) на 1 км длины трассы дороги, дорожно-климатических зон и категории автомобильных дорог, может быть ориентировочно определена по данным табл. 3.2.

Таблица 3.2

Характер рельефа

ΔН

Категории дорог

I

II-III

F, тыс. м2

Плоский

2

540/360

360/180

Слабопересеченный

2-6

670/370

400/210

Пересеченный

6-12

1200/850

670/370

Сильнопересеченный

12

3200/2200

1600/1150

В табл. 3.2 над чертой обозначены данные для II-III дорожно-климатических зон, под чертой - для IV зоны, определяемые в соответствии со СНиП 2.05.02-85.

Рис. 3.1. Зоны гидрометеорологических воздействий на дорожное полотно применительно к условиям его функционирования:

а - неподтопляемого; б - подтопляемого с одной стороны; в - то же с двух сторон; г - подтопляемого с одной стороны с продольным течением; д - затопляемого; I-X - зоны воздействий; I - направление возможного возникновения фильтрационных вод.

Б. Откосы неподтопляемых сооружений

3.26. Неподтопляемые откосы дорожно-мостовых сооружений составляют наибольший объем укрепительных работ на автомобильных дорогах.

В районах с относительно малой опасностью проявления паводочных и других процессов при плоском и слабопересеченном рельефе местности укрепления непотопляемых откосов составляют 90 % от общей площади укрепительных работ, а при пересеченном и сильнопересеченном рельефе - от 60 до 70 %.

В районах с особой опасностью проявления паводочных и других процессов при плоском и слабопересеченном рельефе местности укрепления неподтопляемых откосов составляют 70 % от общей площади укрепительных работ, а при пересеченном и сильнопересеченном рельефе - от 40 до 60 %.

3.27. Основными факторами воздействий на неподтопляемые откосы являются дождевые осадки, стекание талых и дождевых вод по поверхности откосов (склонов), грунтово-фильтрационные воды и температурные колебания воздуха, которые обуславливают: увлажнение земляного полотна, его промерзание, оттаивание, набухание и высушивание; водно-ветровую эрозию, проявление и движение воды вдоль дороги и различные формы нарушения местной устойчивости откосов и склонов.

Эти факторы в ряде случаев являются определяющими и в нарушении общей устойчивости неподтопляемых откосов и склонов.

Не менее важную роль в возможности нарушения как местной, так и общей устойчивости откосов и склонов могут сыграть высота и крутизна откосов (склонов), косогорность, а также характер и плотность грунтов земляного полотна (склонов) и их оснований.

3.28. Для защиты откосов неподтопляемых насыпей и склонов от возможности всех форм нарушения их местной устойчивости необходимо использовать в определенных условиях конструкции укреплений всех трех групп: биологические, несущие и защитно-изолирующие.

3.29. Биологические типы конструкций (посев трав, одерновка, посадка кустарника, плетневые и другие) применяют преимущественно для защиты откосов неподтопляемых насыпей, относительно сухих (нескальных) выемок и склонов в благоприятных погодно-климатических и грунтовых условиях.

Традиционные типы этих укреплений в определенных условиях неэффективны. В ряде районов их применение затруднено или невозможно из-за неблагоприятных погодно-климатических, грунтовых и других условий, а также из-за отсутствия растительного грунта и материала.

Большинство из них не могут быть применены в условиях, когда начало их устойчивого функционирования определено: короткими сроками, периодами наибольшего проявления дождевых атмосферных осадков или повышенной эстетикой ландшафтного восприятия.

3.30. Наиболее сложные условия функционирования неподтопляемых откосов и склонов, выбора и назначения защитных конструкций возникают при необходимости укрепления:

·       конусов и откосов, сложенных легкоразмываемыми песчаными и глинистыми грунтами, склонными к особо опасным эрозионным деформациям;

·       откосов, сложенных глинистыми грунтами преимущественно тяжелыми суглинками или жирными глинами четвертичного и более, раннего периода), склонными к развитию локальных деформаций скольжения или пластического течения (табл. 3.3, б, в) с последующим образованием сплывов и оплывки, в случаях: 1) разуплотняющихся при снятии бытовой нагрузки глинистых грунтов (в выемках); 2) набухающих и усадочных грунтов при a > 10, m < 0,4 (см. приложение 1); 3) грунтов, опасных по химическому выветриванию;

Таблица 3.3

Формы нарушения местной устойчивости неподтопляемых откосов

Название и форма нарушения

Воздействующие факторы

а) Начальные эрозионные деформации

Ударные воздействия дождей

б) Эрозионные деформации

Движение воды по поверхности откосов

в) Локальные деформации скольжения

Промерзание-оттаивание, набухание-высушивание

г) Деформация пластического течения

Промерзание-оттаивание, набухание-высушивание

д) Оплывины и сплывы

Промерзание-оттаивание, набухание-высушивание, влажность

е) Выносы грунта из насыпей и выемок

Силовое воздействие грунтовых и фильтрационных вод

·      откосов в случаях, когда имеется опасность быстрого перехода грунтов поверхностных слоев в текучее состояние с образованием сплывов и оплывин, а именно: 1) при разработке выемок в пылеватых грунтах и сооружении насыпей на них; 2) при разработке выемок в переувлажненных грунтах (коэффициент консистенции В > 0,5); 3) при наличии водонеустойчивых грунтов, переходящих при незначительном увеличении влажности в текучее состояние (грунты с числом пластичности меньше 12);

·      откосов и выемок из глинистых грунтов при наличии мест с локализованными выходами горизонтов грунтовых вод в случаях, когда имеется опасность возникновения выносов, сплывов и оплывин (взамен присыпных откосных дренажей);

·      откосов, сложенных глинистыми грунтами в стесненных условиях, когда необходимо увеличить их крутизну до величины большей, чем что определено расчетом на местную устойчивость (см. приложение 1), но не более крутизны, назначаемой из условия обеспечении общей устойчивости;

·      во всех случаях, когда необходимо срочно укреплять откосы в связи с вероятностью развития деформаций, в результате внезапных ливней, таяния мощных снегов, наличия дочетвертичных отложений грунтов и других опасных условий.

3.31. Для укрепления неподтопляемых откосов и склонов, указанных в пункте 3.30, и в других сложных условиях принято применять конструкции всех трех групп, комбинируя их между собой в зависимости от погодно-климатических и инженерно-геологических условий строительства.

3.32. Наибольшими возможностями в условиях преимущественного применения традиционных биологических укреплений (см. пункты 3.29 и 3.30) обладают следующие конструкции и технологии:

·      биоинженерные конструкции и технологии в виде системы экстремального озеленения (5, 6, 17), биотекстилей и биоматов (Рис. 3.2, Рис. 3.3);

·      система зеленый Террамеш, система Террамеш и комбинированные с биоматами конструкции (Рис. 3.4);

·      сетка Макмат в сочетании с упорными конструкциями в виде цилиндрических или матрасно-тюфячных габионов (Рис. 3.5);

·      матрасы Геомак, а также их сочетания с сеткой Макмат, матрасно-тюфячными и другими конструкциями габионов (см. рис. 2.22, рис. 3.5).

Особенности конструкций, технологии строительства, а также потребности в материалах этих типов укреплений отражены в разделе настоящих «Методических рекомендаций».

Все эти конструкции следует применять взамен биологических типов укреплений, рассмотренных в пунктах 3.29 и 3.30.

3.33. Применение традиционных защитно-изолирующих конструкций в виде сборных (по типу РК-1 и РК-2) и монолитных с заполнением ячеек растительным грунтом с посевом трав, морозостойким неусадочным грунтом, гравийно-песчаными смесями; слоев из природных материалов и с использованием геотекстиля и пленок; пневмонабрызгных облегченных; биологических с использованием геотекстиля и полимерных пленок; защитных слоев из щебенисто-дресвяного или гравийно-песчаного грунта, ограничено в качестве самостоятельных типов укреплений для применения в условиях, обозначенных в пункте 3.30.

Рис. 3.2. Схемы защиты откосов с помощью биоматов:

а - по произрастающему грунту, поверхность которого обработана гидропосевом; б - с укладкой растительного грунта; в - с укладкой двух слоев биоматов между слоями растительного грунта; 1 - биоматы; 2 - колышки; 3 - верховое крепление с дреной; 4 - грунт откоса; 5 - растительный грунт; 6 - биоматы соломенные; 7 - кокосовые биоматы; 8 - металлические (деревянные) колышки; 9 - грунт откоса, обработанного гидропосевом; 10 - подсыпка откоса (склона).

Рис. 3.3. Схема крепления откосов с использованием биоматов и коробчатых габионов:

1 - открытая крышка габиона; 2 - сетка двойного кручения, привязываемая к габиону; 3 - щебень или гравий; 4 - соломенные биоматы; 5 - геотекстиль.

Рис. 3.4. Схемы укрепления откосов и склонов системами зеленый Террамеш (а), зеленый Террамеш с биоматами (б) и комбинированной из них конструкцией (в):

1 - лицевая грань системы зеленый Террамеш, выполненная из стальной сетки двойного кручения с гальфановым покрытием; 2 - кокосовые биоматы; 3 - армирующая панель; 4 - грунт засыпки, уплотненный до 1,6-1,7 т/м. куб.; 5 - колышки; 6 - растительный грунт; 7 - система Террамеш; 8 - система зеленый Террамеш; 9 - защита откосов с помощью биоматов.

Рис. 3.5.

3.34. Ограниченные возможности традиционных защитно-изолирующих конструкций для укрепления неподтопляемых откосов и склонов вызваны тем, что они не обладают универсальностью применения и необходимыми свойствами:

·       для обеспечения дренирования и противофильтрационных мероприятий;

·       для обеспечения выклинивания уровней грунтовых вод периодического действия с дебитом более 0,1 л/сек водоносного горизонта;

·       для обеспечения водоотвода вдоль подошвы земляного полотна и в кюветах выемок;

·       для применения в стесненных условиях расположения автомобильных дорог;

·       для возможности уменьшения или увеличения крутизны откосов;

·       для применения в случаях, не предусмотренных в типовых решениях (серии 3.503.9-78 и 503-0-48.87) по высотам и крутизне откосов, зонам дорожно-климатического районирования и другим вопросам.

3.35. Применение традиционных несущих конструкций в виде: присыпных берм из связного грунта с пологими откосами; сборных решетчатых с заполнением ячеек щебнем 40-70 мм, камнем 50-100 мм, грунтоцементом; усиленных и мощных пневмонабрызгных; сборных и монолитных бетонных и железобетонных плит; гибких железобетонных плит; гибких железобетонных решеток, каменных набросок для укрепления неподтопляемых откосов и склонов неэффективно из-за их высокой стоимости и значительной трудоемкости работ по их изготовлению и монтажу.

3.36. Эти конструкции, за исключением сборных решетчатых и пневмонабрызгных (усиленных и мощных), не предназначены типовыми решениями серии 3.503.9-78 (30) для применения по укреплению неподтопляемых откосов и склонов.

Поэтому их применение для этих целей должно сопровождаться соответствующими технико-экономическими обоснованиями и расчетами. При этом следует учитывать, что эти конструкции также имеют ограниченные возможности для применения в укреплении неподтопляемых откосов, многие из которых отражены в пункте 3.33 настоящих «Методических рекомендаций».

3.37. К числу дополнительных ограничений по возможности использования традиционных несущих конструкций следует отнести и их ограниченное применение для стабилизации и усиления откосов насыпей и выемок, склонов и берегов, а также для дренирования и осушения грунтов нижней части земляного полотна.

3.38. В сложных условия проектирования (см. пункт 3.30) наибольшими возможностями и универсальностью применения по сравнению с традиционными защитно-изолирующими и несущими конструкциями, а также конструкциями сочетаний этих типов друг с другом обладают габионные конструкции.

3.39. Наиболее целесообразными типами габионных конструкций для использования в сложных условиях проектирования (см. пункт 3.30), а также в условиях ограниченных возможностей традиционных защитно-изолирующих, несущих и сопрягаемых друг с другом этих конструкций (см. пункты 3.33, 3.35 и 3.36) являются:

·       система Террамеш и система зеленый Террамеш с использованием дренирующего грунта обратных засыпок и озеленением (см. рис. 3.4);

·       матрасно-тюфячные с минимальными стандартными размерами высот, равными 15, 17, 23 см с заполнением каменными материалами (Рис. 3.6) и с коробчатыми конструкциями упоров (Рис. 3.6);

·       матрасно-тюфячные и коробчатые противофильтрационные с заполнением битумной мастикой или водонепроницаемой мембраной (см. пункт 2.43).

3.40. Габионные конструкции целесообразны к использованию и находят применение при усилении, стабилизации неподтопляемых насыпей и подпорно-удерживающих сооружений. Конструктивные особенности этих конструкций и сооружений, а также рекомендации по их применению рассматриваются в разделе 5 настоящих «Методических рекомендаций».

Рис. 3.6. Схемы укрепления неподтопляемых откосов габионными конструкциями:

а - подмостовых конусов; б - насыпей при необходимости устройства водоотвода.

В. Откосы подтопляемых сооружений

3.41. Откосные подтопляемые конструкции предназначены для противодействия ударно-сдвигающим усилиям, возникающим в поверхностных слоях грунта откосов земляного полотна, подмостовых конусов, регуляционных сооружений, на входе и выходе из малых водопропускных сооружений от различных видов силовых и размывающих воздействий паводковых и меженных вод, ледохода, лесосплава, карчехода, водных объектов временного и постоянного функционирования, стекания поверхностных и инфильтрационных вод, ветровых и судовых волн.

3.42. Область применения традиционных типов укреплений, используемых для защиты подтопляемых откосов, обусловлена предельно допустимыми критериями шести факторов гидрометеорологических воздействий (30): длительностью подтопления, высотой волны, толщиной льда, ледоходом (его характеристикой по интенсивности и размерами льдин), лесосплавом и карчеходом (применительно к отдельным деревьям, их длине и диаметру).

Однако учет и регламентация только этих факторов и их предельно допустимых критериев воздействий не гарантирует устойчивое функционирование подтопляемых откосов.

3.43. Дополнительному учету как при разработке вариантов традиционных типов укреплений, так и при назначении габионных и сопряженных с ними традиционных конструкций должны подлежать прежде всего следующие факторы воздействий на подтопляемые откосы:

·       скорости течения воды вдоль откосов и в подмостовом пространстве;

·       одностороннее или двустороннее подтопление укрепляемого сооружения;

·       условия слива пойменных вод в подмостовое пространство и обусловленная этим возможность образования линейной эрозии;

·       частота и суммарная длительность внутригодового подтопления откосов;

·       наличие или отсутствие меженных вод;

·       амплитуда внутригодовых колебаний уровней воды с верховой и низовой сторон укрепляемого сооружения;

·       амплитуда внутригодовых колебаний уровней воды между верховой и низовой сторонами укрепляемого сооружения;

·       периодичность внутригодового и многолетнего повторения расчетных или близких к ним уровней паводочного подтопления;

·       особенности условий прохождения паводков и половодий (заторные, зажорные, техногенные, по поверхности ледяного покрова и другие);

·       интенсивность подъема и спада паводочных уровней воды;

·       длительность внутригодового воздействия ветровых и судовых волн;

·       динамическое воздействие речного потока на откосы при скоростях течения более 2 м/сек в местах пересыпки проток, у водопропускных труб и в других случаях;

·       подпорные явления от укрепляемого сооружения или от других близкорасположенных объектов (сооружений);

·       местные искривления водной поверхности на излучинах рек, при сгонно-нагонных и других явлениях, а также при различном плановом положении автомобильных дорог на поименно-русловых массивах речных долин;

·       слив паводочных вод из одной зоны их аккумуляции в зону аккумуляции смежного водопропускного сооружения;

·       эрозионное понижение дна русла и берегов из-за систематических и нерегулируемых заборов грунта в руслах рек;

·       размывы подмостовых русел и пойменных массивов от их стеснения и развития природных русловых процессов.

3.44. Воздействие факторов опасного проявления и развития гидрометеорологических процессов и явлений природно-техногенного происхождения способно вызвать нарушение как местной (табл. 3.4), так и общей устойчивости подтопляемых откосов и сооружений.

Поэтому выбор типа укреплений подтопляемых откосов должен быть обусловлен необходимостью инженерной оценки возможностей того или иного типа конструкций по обеспечению им местной и общей устойчивости этих откосов и защищаемых сооружений против воздействий комплекса факторов, способных проявиться и вызвать деформации в различных зонах укрепляемого земляного полотна (см. рис. 3.1).

3.45. Основными требованиями как при разработке вариантов традиционных типов укреплений, так и габионных конструкций и сопряженных с ними традиционных укреплений являются:

соответствие конкретным гидрологическим условиям функционирования (с учетом факторов, отмеченных в пунктах 3.42 и 3.43), нагрузкам, воздействиям и степени ответственности укрепляемых сооружений (объектов);

способность противодействия проявлению и развитию опасных природно-техногенных процессов и явлений и сохранения местной и общей устойчивости укрепляемых сооружений.

3.46. Разработка вариантов и проектирование укреплений подтопляемых откосов должны основываться на результатах определения расчетно-прогнозного положения планово-высотных границ укрепляемого откоса.

Таблица 3.4

Формы нарушения местной устойчивости подтопляемых откосов

Название и форма нарушения

Воздействующие факторы

а) Потери устойчивости откосов, сплывы

Силовое воздействие ветровых и судовых волн

б) Размывы подошвы откосов насыпей

Движение речных вод вдоль насыпи

в) Размывы берегов

Движение речных вод вдоль берегов

г) Деформации откосов (частичные или сплошные)

Ледоход и карчеход

д) Потери устойчивости откосов, сплывы и оплывины

Длительное подтопление с периодическим колебанием уровня

с) Выносы и сплывы в нижней части насыпи

Силовое воздействие фильтрационных вод

3.47. При установлении границ укреплений необходимо учитывать, что расчетно-прогнозные гидрологические условия проектирования и функционирования подтопляемых откосов, а также особенности их регионального проявления во многом предопределены положением дорожно-мостового объекта (сооружения) на пойменно-русловых массивах и относительно других объектов (сооружений), их конструктивными особенностями и техногенным влиянием на изменение исходного гидравлико-гидрологического режима водных объектов.

3.48. Откосное укрепление подтопляемых сооружений, как правило, должно состоять из трех основных частей (Рис. 3.7): I - верхней - неподтопляемой; II - средней - испытывающей воздействия паводочных вод и обусловленных ими воздействий других гидрологических факторов; III - нижней - подтопляемой и расположенной ниже горизонта меженных вод (ГМВ) и ниже подошвы укрепляемых сооружений.

Рис. 3.7. Схема основных частей откосов подтопляемых сооружений для вариантных разработок конструкций укреплений.

3.49. Верхняя - неподтопляемая часть откосного укрепления предопределена требованиями пункта 6.10 СНиП 2.05.02-85 и конкретными условиями проектирования продольного профиля на участках непосредственного сопряжения с мостами, водопропускными и другими сооружениями.

Высотное положение границ этой части откосного укрепления должно определяться нормативными критериями наименьшего возвышения поверхности покрытия над расчетным уровнем верховодки, длительно (более 30 суток) стоящих поверхностных вод, а также над поверхностью земли на участках с необеспеченным поверхностным стоком или над уровнем кратковременно (менее 30 суток) стоящих поверхностных вод.

3.50. Минимально допустимую отметку верхней границы средней части откосного укрепления, испытывающей непосредственные воздействия паводочных процессов и одновременно с ними возникающих явлений природно-техногенного происхождения, следует определять по формуле:

                                      (3.1)

где РУВВ - отметка расчетного уровня высоких вод, нормированной вероятности превышения; Dhп - подпор, м; Dhв - высота расчетной волны с ее набегом на откос, м; Dhм - высота подъема РУВВ от местных искривлений водной поверхности, м; Dhз - нормативный запас.

3.51. Длину, конструкцию, необходимость и глубину заглубления откосного укрепления, располагаемого в нижней части укрепляемого сооружения, следует определять в зависимости от расчетно-прогнозных глубин размыва у подошвы откоса с учетом запаса, равного не менее 0,5 м.

3.52. Планово-высотные границы укреплений вдоль защищаемых дорожно-мостовых объектов с учетом рекомендаций пунктов 3.50 и 3.51 следует устанавливать, руководствуясь особенностями расположения этих объектов, их конструктивных размеров, а также их влиянием на изменение исходного гидравлико-гидрологического режима водных объектов.

3.53. Для установления планово-высотных границ укреплений вдоль защищаемых дорожно-мостовых объектов с учетом их расположения на пойменно-русловых массивах и влияния на исходный гидравлико-гидрологический режим водных объектов следует использовать наиболее типичные и нормативно обусловленные расчетные схемы возможных искривлений уровенной поверхности воды в стесненных и нестесненных условиях функционирования мостовых переходов, а также схемы возможных деформаций подмостовых русел, характеризуемые данными Рис. 3.8, 3.9, 3.10, 3.11, 3.12.

3.54. Данными рис. 3.8, 3.9, 3.10, 3.11, 3.12 не исчерпываются все возможные случаи и условия стеснения водных объектов, поэтому в каждом конкретном случае проектирования необходимы индивидуальные расчетно-прогнозные проработки по установлению планово-высотных границ укреплений вдоль того или иного вида дорожно-мостового объекта.

3.55. К специфическим условиям и случаям стеснения водных объектов, которые подлежат индивидуальным расчетно-прогнозным проработкам и проектированию, следует прежде всего относить расположение автомобильных дорог вдоль пойменно-русловых массивов, на конусах выноса, на предгорных участках рек с блуждающими руслами, на реках с селевыми и приливно-отливными явлениями, а также дополнительные подтопления, обусловленные оползнями, обвалами и другими природно-техногенными процессами, способными перегораживать русла рек.

Рис. 3.8. Схемы к расчету водной поверхности, стесняемой мостовыми переходами:

а - поперечное сечение; б - продольный профиль реки; в - план струйного течения при двухсторонних поймах; 1 - РУВВ; 2 - водная поверхность с верховой стороны насыпи; 3 - то же, с низовой стороны; 4 - створ выклинивания подпора; 5 - створ моста.

Рис. 3.9. Схемы возможных направлений течения (а) и деформаций подмостового русла через мансардирующую реку (б):

в - косое пересечение; 1 - варианты расположения трассы мостового перехода; 2 - смещение русла к устою моста; 3 - прижим русла к насыпи; 4 - прижим русла к струенаправляющей дамбе; 5 - уширение русла; б - искривление и углубление русла.

Рис. 3.10. Схемы уровенных поверхностей воды:

а - при устройстве двух параллельных мостовых переходов; б, в - при устройстве мостовых переходов в зоне расположения плотин; 1 - РУВВ; 2 - очертание стесненной поверхности воды; 3 - створы мостовых переходов; 4 - зона возможных ледовых заторов; 5 - наинизший уровень сработки водохранилища; 6 - ширина зеркала водохранилища при расчетом подпорном горизонте воды (РПГ); 7 - плотина.

Рис. 3.11. Схемы возможных положений дорог:

а - вдоль речной долины; б - вдоль реки; в - при необходимости регулирования молодых русел предгорных рек; 1 - трасса дороги; 2 - РУПВ; 3 - река; 4 - зона подпора; 5 - начало развития молодых русел; 6 - основное русло; 7 - протока.

Рис. 3.12. Схемы развития попятного размыва и изменения уровенных поверхностей:

а - понижение дна русла при карьерных разработках; б - то же при смыве пойменных вод вдоль подходов к мосту; в - схема изменений уровней воды при сгонно-нагонных явлениях; г - то же при сейше; 1 - карьер; 2, 3, 4, 5, 6 - положения очертания глубин дна при продвижении попятного размыва вдоль подходов к мосту; 7 - русло до размыва; 8 - то же после размыва; 9 - изменения поверхности поймы у подходов в процессе развития попятного размыва; 10 - русла проток; 11 - поверхность поймы после размыва; 12 - водораздел; 13 - превышение уровня воды при нагоне; 14 - направление ветра; 15 - понижение уровня воды при сгоне; 16 - РУВВ при равномерном давлении; 17 - возможные положения поверхности воды.

3.56. Расчетные параметры формулы 3.1, критерии размывных явлений и прогнозные характеристики других факторов воздействий следует определять в соответствии с рекомендациями Пособия ПМП-91 (1).

3.57. Подпорные, сгонно-нагонные и приливно-отливные явления, а также скорости течения вдоль защищаемых насыпей дорог или берегов должны быть установлены на всем их защищаемом протяжении и представлены в виде эпюр или графиков изменений расчетных величин этих факторов. Особое внимание при устройстве укреплений следует обращать на возможность возникновения размывов и развития эрозионных врезов у подошвы насыпей (см. рис. 3.1).

3.58. Параметры волнового воздействия рекомендуется определять по характерным участкам пойменных и вдольбереговых насыпей. Такими участками могут быть излучины и повороты русла, берега, насыпи, а также участки поймы с разной степенью и густотой залесенности и другие ландшафтно-природные образования на поймах, способные оказать влияние на изменение волнового воздействия. По расчетным величинам высот волн, полученным для каждого такого участка, рекомендуется предусматривать построение эпюры изменений высот волны вдоль всего защищаемого участка дороги или берега.

3.59. Зона гидрометеорологических воздействий от бровки подтопляемого земляного полотна до начала защитно-несущего укрепления, работающего в условиях подтопления, требует особого внимания. Она должна рассматриваться как переходная.

От ее расстояния и типа укрепления на ней во многом зависит устойчивость защитно-несущих конструкций к подмыву стекающими поверхностными водами и вымыву подстилающих слоев. Поэтому целесообразно предусматривать конструкцию сопряжения укрепления на переходной зоне, обеспечивающую сток поверхностных вод по поверхности защитно-несущего укрепления, а не под ним.

Попадание стекающих по откосам поверхностных вод под защитно-несущие укрепления является одной из малоизвестных и скрытых причин деформации укрепления; неучет этого явления приводит к потере заданных планово-высотных очертаний укреплений.

3.60. Границы укрепления откосов по длине подтопляемого участка дороги рекомендуется устанавливать с запасом по 15 м в каждую сторону при их сопряжении с незащищаемыми участками, а при сопряжении с более слабыми типами укрепления - с запасом, равным 5 м. Однако расчетную отметку обводнения откосов в этих местах следует предусматривать с учетом волновых воздействий и возможных переливов паводковых вод из одной поймы (зоны затопления) в другую.

3.61. Упорные конструкции в нижней части откосного укрепления для обеспечения их устойчивости должны учитывать возможность возникновения деформаций от подмыва.

3.62. Упорные конструкции и их положение относительно подошвы укрепляемых сооружений должны обосновываться расчетами скоростей течения вдоль откосов насыпей и сопоставлением с неразмывающими способностями грунтов в зонах II, VI (см. рис. 3.1), а также с планово-высотным положением водоотводных канав и других прилегающих сооружений. Упорные конструкции должны быть устойчивыми к воздействию стекающих по откосам поверхностных вод и эрозионных процессов, возникающих в прилегающей местности, а также к другим факторам, в том числе факторам, вызванным хозяйственной деятельностью человека как в период строительства, так и эксплуатации.

3.63. Проработка вариантов традиционных, нетрадиционных и габионных конструкций, а также сопрягаемых друг с другом этих конструкций для использования в укреплении откосов подтопляемых сооружений может быть признана обоснованной только в том случае, если варианты этих конструкций будут разрабатываться на единой методологической основе, учитывающей основные положения и рекомендации пунктов 3.41-3.62.

3.64. Область применения, расчетные критерии гидрометеорологических воздействий и конструктивные решения вариантов традиционных типов укрепления откосов подтопляемых сооружений следует назначать в соответствии с типовыми решениями серии 3.503.9-78 (30).

3.65. Область применения, расчетные критерии гидрометеорологических воздействий и конструктивные решения вариантов габионных и нетрадиционных конструкций, а также габионных конструкций, сопрягаемых с традиционными и нетрадиционными, следует назначать в соответствии с нижеследующими рекомендациями пунктов 3.66-3.80.

3.66. Наибольшими возможностями для применения взамен традиционных укреплений в верхней неподтапливаемой части подтопляемого сооружения (см. рис. 3.7), а также на неподтопляемых низовых откосах в зоне 1 (см рис. 3.1, б, г) обладают:

·       биоинженерные конструкции и технологии в виде системы экстремального озеленения, биотекстилей и биоматов (см. рис. 3.2 и рис. 3.3);

·       системы зеленый Террамеш и ее комбинации с биоматами (см. рис. 3.4 а, б);

·       сетка Макмат в сочетании с упорными конструкциями в виде цилиндрических или матрасно-тюфячных габионов (см. рис. 3.5);

·       матрасы Геомак, а также их сочетания с сеткой Макмат, матрасно-тюфячными и другими конструкциями габионов (см. рис. 2.2 и рис. 3.5);

·       матрасно-тюфячные габионы толщиной 0,17 м и размером 3´2 м (см. рис. 2.4, б) с упорами в виде коробчатых габионов размерами 1,5´1´1 м, устраиваемые по типу конструкции, представленной на Рис. 3.14, а.

Особенности конструкции, технологии строительства, а также потребности в материалах этих типов укреплений отражены в разделе и настоящих «Методических рекомендаций».

Все эти конструкции следует применять взамен биологических типов укреплений, рассмотренных в пунктах 3.29 и 3.30.

3.67. Наибольшими возможностями для применения взамен традиционных несущих биологических укреплений (одерновка сплошная и в клетку, сплошная посадка кустарника, лесопосадка), а также присыпных берм из глинистых грунтов, растительного грунта с полимерной сеткой или геотекстилем и посадкой ивовых черенков, цементогрунтовых решеток с различными видами материалов заполнения ячеек, сплошного цементогрунтового и усиленного пневмонабрызгного укреплений в средней части подтопляемых сооружений (см. рис. 3.7) в зонах III и IV (см. рис. 3.1, б, в, г), при отсутствии размывов у подошвы укрепляемого сооружения и при малоопасных проявлениях гидрометеорологических процессов и явлений (табл. 3.5), обладают следующие конструкции:

·               система зеленый Террамеш с наклонно-откосной лицевой гранью на основании из матрасно-тюфячных габионов (Рис. 3.13, а);

·               система Террамеш со ступенчатой лицевой гранью на естественном основании и на матрасных габионах (Рис. 3.13, б, в);

Таблица 3.5

Область применения габионных и нетрадиционных конструкций, а также габионных конструкций, сопрягаемых с нетрадиционными и традиционными конструкциями и материалами в средней части подтопляемых сооружений (см. рис. 3.7 и пункт 3.67)

Тип укрепления

(пункт 3.67)

Предельно допустимые критерии факторов гидрометеорологических воздействий

длительность подтопления, сут

скорость течения, м/с

высота волны, м

толщина льда, м

Характер

ледохода

лесосплава, карчехода

Система зеленый Террамеш

менее 20

0,4

0,1

-

отсутствует

отсутствует

Система Террамеш

менее 20

до 0,8

до 0,3

-

отсутствует

отсутствует

Матрасно-тюфячные габионы толщиной 0,23 м

менее 20

до 1,5

до 0,7

до 0,3

слабый, в виде отдельных льдин размером до 10 м2

отдельные деревья длиной до 3 м и Ø до 0,2 м

Комбинации матрасно-тюфячных габионов, располагаемых в шахматном порядке с заполнением ячеек камнем, посадкой кустарника, сплошной одерновкой или матрасами Геомак

менее 20

до 1,4

до 0,6

до 0,3

то же, до 5 м2

то же, с Ø деревьев до 0,1 м

Рис. 3.13. Схемы укрепления средней части подтопляемых сооружений (см. рис. 3.7) при отсутствии меженных вод и размывов у их подошвы:

а - система зеленый Террамеш; б - система Террамеш; в - то же на основании из габионов; 1 - матрасно-тюфячные габионы; 2 - геотекстиль; 3 - элемент армирования.

·       матрасно-тюфячные габионы размером 3´2´0,23 м (см. рис. 2.4, б) и 2´1´0,25 м (см. рис. 2.2), устраиваемые по типу конструкции, представленной на Рис. 3.14;

·       комбинации матрасно-тюфячных габионов, располагаемых в шахматном порядке с заполнением ячеек камнем, посадкой кустарника, сплошной одерновкой или матрасами Геомак (Рис. 3.14, б, в).

3.68. В целях обеспечения единой технологии производства строительных работ, единообразия ландшафтного восприятия откосного укрепления, а также в стесненных условиях эксплуатации этого укрепления на подмостовых конусах рекомендуется использовать габионные конструкции и их шахматные комбинации с другими материалами (рассматриваемые в пункте 3.67) на всем протяжении и высоте верхней и нижней частей подтопляемого сооружения.

3.69. Особенности конструкций, технологии строительства, а также потребности в материалах при использовании укреплений, предусматриваемых в пункте 3.67, отражены в разделах и настоящих «Методических рекомендаций».

Объем материала заполнения ячеек в комбинированных габионных конструкциях следует определять индивидуально с учетом требований к этим материалам, рассматриваемых в пункте 2.28 настоящих «Методических рекомендаций» и в типовых решениях (30).

3.70. При наиболее опасных проявлениях паводочных процессов и явлений (табл. 3.6), отсутствии меженных вод и размывов у подошвы подтопляемых сооружений наибольшими возможностями для применения в средней части этих сооружений (см. рис. 3.7) в зонах III и IV (см. рис. 3.1, б, в, г) могут обладать следующие габионные конструкции:

·      матрасно-тюфячные размером 3´2´0,3 м (см. рис. 2.4,4, б), 3´1´0,5 м и 4´2´0,5 м (см. рис. 2.2) с упорами в виде коробчатых габионов размерами 1,5´1´1 м (см. рис. 2.4, а), 3´1´1 м (см. рис. 2.1), устраиваемые по типу конструкции, представленной на рис. 3.14, а;

Рис. 3.14. Схемы укрепления средней части подтопляемых сооружений (см. рис. 3.7.) матрасно-тюфячными габионами при отсутствии меженных вод и размывов у их подошвы:

а - сплошное; б - комбинированное в шахматном расположении; в - то же (фасад); 1 - положение габиона в верхней части откоса; 2 - ячейки, заполняемые другим материалом; 3 - габионы; 4 - бровка земляного полотна; 5 - два нижних ряда сплошного укрепления габионами; 6 - упорные коробчатые габионы.

Таблица 3.6

Область применения габионных конструкций в средней части подтопляемых сооружений (см. рис. 3.7 и пункт 3.70) при наиболее опасных проявлениях паводочных процессов

Тип укрепления

(пункт 3.70)

Предельно допустимые критерии факторов гидрометеорологических воздействий

длительность подтопления, сут

скорость течения, м/с

высота волны, м

толщина льда, м

Характер

ледохода

лесосплава, карчехода

Матрасно-тюфячные и коробчатые откосные толщиной 0,3-0,5 м

менее 20

1,7-3,5

0,8-1,3

до 0,4

от слабого до среднего с размерами льдин от 10 до 15 м2

отдельные деревья длиной до 4 м, Ø до 0,3 м

Коробчатые откосные толщиной 1,0 м

менее 20

4-6

1,9-2,5

до 0,5

от среднего до интенсивного с размерами льдин от 15 до 40 м2

отдельные деревья длиной до 5 м, Ø до 0,4-0,5 м

·     коробчатые размерами 3×2×0,5 м, 3×1×0,5 м, 2×1×1 м, 3×2×1 м (см рис. 2.4, а) с упорами из одиночных или двух спаренных коробчатых габионов (см. рис. 2.2) размерами 2×1×0,5 м, 2×1×1 м, 1,5×1×1 м (см. рис. 2.4, а), устраиваемые по типу конструкции, представленной на рис. 3.14, а.

3.71. Особенности конструкций, технологии строительства, а также потребности в материалах при устройстве габионных конструкций, предусматриваемых в пункте 3.70, отражены в разделе настоящих «Методических рекомендаций».

3.72. В условиях периодического, постоянного и меженного подтопления нижней части откосов (см. рис. 3.7), возможного возникновения размывов у подошвы подтопляемого сооружения (зоны V и VI, рис. 3.1) рекомендуется применять различные габионные конструкции и их сочетания друг с другом, а также сочетания габионных конструкций с традиционными.

Схемы возможных конструктивных решений, рекомендуемых к детальным проработкам, отражены на Рис. 3.15, 3.16 и 3.17.

3.73. Схемы конструктивных решений, представленные на рис. 3.15 и на рис. 3.16, а, предназначены для использования при отсутствии меженных вод и подтопления откосов в период строительства для защиты нижней части подтопляемого сооружения от подмыва.

3.74. Схемы конструктивных решений, представленные на рис. 3.16, б, в и на рис. 3.17, предназначены для использования при наличии меженных вод и подтопления откосов в период строительства для защиты нижней части подтопляемого сооружения от подмыва.

Рис. 3.15. Схемы габионных укреплений для защиты нижней части подтопляемых откосов от подмыва при отсутствии меженных вод и постоянного подтопления:

1 - габионные матрасы; 2 - упор из коробчатых габионов; 3 - обратная засыпка грунтом или каменным материалом.

Рис. 3.16. Схемы габионных укреплений для защиты нижней части подтопляемых откосов от подмыва:

а - при отсутствии меженных вод; б, в - при наличии меженных вод; 1 - габионные матрасы; 2 - упор из коробчатых габионов; 3 - каменная наброска.

Рис. 3.17. Схемы габионных укреплений для защиты нижней части подтопляемых откосов от подмыва при наличии меженных вод с применением матрасных, коробчатых и цилиндрических габионов.

3.75. Каменная наброска в конструктивных решениях, представленных на рис. 3.16, может быть выполнена из несортированной горной массы, отдельных камней заданной крупности или глыбового навала.

Необходимые размеры камня и объемы каменной наброски должны определяться в зависимости от скоростей течения и требуемого веса каменной пригрузки для обеспечения устойчивости габионного укрепления в период проявления наибольших глубин размыва.

3.76. Конструктивные решения, представленные на рис. 3.15, 3.16 и 3.17, должны прорабатываться индивидуально с учетом наиболее рациональных типов, размеров и областей применения габионных конструкций (см. табл. 3.5 и 3.6), неразмывающих скоростей течения, расчетно-прогнозных глубин размывов, необходимых запасов заглубления (см. пункт 3.51), технологичности и других условий производства строительных работ.

3.77. При проектировании габионных и сопрягаемых с ними конструкций в средней и нижней частях подтопляемого сооружения следует учитывать возможное воздействие примерзающего ледяного покрова к откосным сооружениям.

Воздействие от примерзшего к откосным конструкциям укреплений ледяного покрова при изменении уровня воды предопределяет необходимость выполнения специальных расчетов.

3.78. При недостаточности изученности факторов гидрометеорологических воздействий в отдаленных и необжитых районах и отсутствии должной уверенности в надежности вычисленных расчетных гидрометеорологических критериев следует предусматривать более капитальные укрепления, в том числе индивидуальные, или те, которые обладают большими возможностями при относительно одинаковых затратах на их устройство.

3.79. Анализ стоимостных показателей по ряду построенных в России объектов позволил установить, что применение габионных конструкций позволяет снизить строительные затраты на 10 - 40 % по сравнению с традиционными укреплениями из бетона.

Ориентировочная сопоставимая стоимость габионных конструкций и бетонных укреплений может быть оценена по данным табл. 3.7.

Таблица 3.7

3.80. Постоянному, периодическому и меженному подтоплению способны подвергаться подмостовые конуса, регуляционные сооружения, береговые линии русел, а также автомобильные дороги, расположенные вдоль пойменных массивов и русел.

Условия функционирования этих сооружений, как и конструктивные решения по их укреплению, отличаются специфическими особенностями по сравнению с укреплениями откосов подтопляемого земляного полотна.

Особенности конструктивных решений по укреплению этих объектов и сооружений более подробно рассматриваются в разделе 4 настоящих «Методических рекомендаций».

4. Укрепление подмостовых конусов, русел, регуляционных и вдольбереговых сооружений

А. Исходные положения проектирования

4.1. Исходные положения проектирования конструкций укрепления подтопляемых подмостовых конусов, русел, регуляционных и вдольбереговых сооружений предопределены требованиями пунктов 3.41-3.63.

Требования пунктов 3.41-3.63 развивают общие положения и требования раздела 1 настоящих «Методических рекомендаций». Они являются основополагающими и для проектирования всех этих разновидностей укрепительных сооружений.

4.2. Подмостовые конуса и укрепляемые русла, регуляционные и вдольбереговые сооружения следует рассматривать как наиболее ответственные сооружения, предназначенные для восприятия нагрузок и воздействий паводочных и сопряженных с ними процессов и явлений.

От их устойчивости во многом зависит сохранность основных конструктивов мостов и дорожного полотна, а также их надежное функционирование в период эксплуатации.

4.3. Капитальность этих сооружений и их укреплений должна соответствовать капитальности возводимых и реконструируемых дорожно-мостовых объектов.

4.4. Капитальность вдольбереговых и регуляционных сооружений, от устойчивости которых зависит надежное функционирование других объектов, а также экологическое равновесие природно-техногенной среды, следует определять индивидуально с учетом уровня (степени) ответственности возводимых (реконструируемых) объектов и сопряженных с ними других объектов.

4.5. Критерии вероятности превышения максимальных расходов и уровней воды, а также запасы возвышения верха укреплений подтопляемых частей укрепляемых откосов должны приниматься такими же, как и для защищаемых автомобильных дорог и мостовых переходов.

4.6. Отметка верха укреплений подтопляемой части откосов этих сооружений должна определяться по формуле (3.1).

4.7. Длины матрасов, используемых в нижней части габионных укреплений для защиты подмостовых конусов, укрепляемых русел, вдольбереговых и регуляционных сооружений от подмыва, следует устанавливать по формуле (4.1), а глубину заглублений габионных стенок, устраиваемых без матрасов, по формуле (4.2):

                                                     (4.1)

                                                        (4.2)

где ∆Z - расчетно-прогнозная глубина воронки размыва, определяемая для характерных участков месторасположения этих и других подтопляемых сооружений с учетом степени стеснения русловых потоков этими сооружениями.

4.8. Все рассматриваемые в настоящем разделе укрепительные сооружения могут сопрягаться в едином комплексе сооружений мостового перехода или в комплексе сооружений вдольберегового расположения автомобильных дорог и должны рассматриваться как неотъемлемые составляющие данных разновидностей дорожно-мостовых объектов.

4.9. Исходные положения проектирования и выбора наиболее оптимального типа того или другого конструктивного решения во многом предопределяются расположением, конструктивными особенностями, задаваемыми или фактическими условиями функционирования мостовых переходов или вдольбереговых дорог.

Для оценки исходных положений проектирования и выбора оптимальной конструкции укрепления необходимо работы по проектированию укрепляемых сооружений выполнять параллельно с проектированием и вариантными проработками всего комплекса того или иного дорожно-мостового объекта.

4.10. При проектировании подмостовых конусов, укрепляемых русел, регуляционных и вдольбереговых сооружений нужно различать следующие наиболее характерные случаи их предназначения и использования:

·     подчиненное расположению, схеме компоновки, конструктивным элементам и размерам комплекса сооружений конкретных объектов и их разновидностей;

·     определяющее расположение, схему компоновки, конструктивные элементы и размеры комплекса сооружений конкретных объектов и их разновидностей.

4.11. Подчиненное значение подмостовых конусов, укрепляемых русел, регуляционных и вдольбереговых сооружений может иметь место в случаях:

·     при вынужденном расположении мостовых переходов и вдольбереговых дорог в стесненных условиях;

·     при проложении дорог и расположенных на них мостовых переходов, когда предпочтение отдается кратчайшему их направлению, близкому к воздушной линии;

·     при реконструкции дорог и мостовых переходов, когда их расположение и конструктивные решения не подлежат улучшению по восприятию нагрузок и воздействий паводочных и сопряженных с ними процессов и явлений или когда условия реконструкции диктуют необходимость принятия вынужденных решений по изменению гидравлико-гидрологического режима и условий пересечения водных объектов;

·     при защите дорожно-мостовых объектов и сооружений от опасного проявления паводочных и сопряженных с ними процессов и явлений и ликвидации аварийных ситуаций;

·     при недостаточной проработке проектно-строительных решений и защитно-восстановительных мероприятий.

4.12. Определяющее значение подмостовых конусов, укрепляемых русел, регуляционных и вдольбереговых сооружений может иметь место в случаях:

·     при расположении дорог нового направления в предгорной местности с развитой сетью рек и водотоков с блуждающими руслами и нечетко выраженными водоразделами;

·     при расположении дорог нового направления, или подлежащих коренной реконструкции, в районах особой водоопасности и частоты проявления опасных паводочных и сопряженных с ними процессов и явлений, включая селевые, приливно-отливные, сгонно-нагонные и другие;

·     при проработке вариантов расположения дорог и мостовых переходов вдоль узких речных долин;

·     при всех вышеназванных случаях и других, когда вариантные проектно-строительные решения и защитно-восстановительные мероприятия, параллельно выполняемые в комплексе всего объекта, предопределяют весьма значительную стоимость строительства и эксплуатации подмостовых конусов, укрепляемых русел, регуляционных и вдольбереговых сооружений.

4.13. Выполняя подчиненное значение и использование, все эти укрепительные сооружения вынуждены функционировать в наиболее невыгодных и неблагоприятных условиях воздействий опасных паводочных и сопряженных с ними процессов и явлений.

Для оптимального функционирования в этих условиях следует отдавать предпочтение тем конструкциям, которые позволяли бы обеспечить как сохранность защищаемых объектов (сооружений), так и экологическое равновесие в районе расположения этих объектов (сооружений).

4.14. Одними из основных исходных положений проектирования конструкций подмостовых конусов, укрепляемых русел, регуляционных и вдольбереговых сооружений являются:

·     определение условий подтопления этих сооружений к началу строительства и на период функционирования (постоянное, периодическое, меженное) и возможности возникновения подмыва их оснований;

·     определение расчетно-прогнозных величин размывов и построение планово-высотных положений линий (очертаний) этих размывов в поперечном сечении подмостового русла и вдоль укрепляемых сооружений.

Б. Подмостовые конуса

4.15. При проектировании и выборе конструкций укреплений подмостовых конусов следует учитывать следующие наиболее характерные случаи их функционирования:

·     в условиях их расположения вне зоны постоянного, периодического и меженного подтопления и отсутствия возможности возникновения подмыва подошвы конусов;

·     в условиях их постоянного, периодического и меженного подтопления и отсутствия возможности возникновения подмыва подошвы конусов;

·     в условиях периодического и меженного подтопления и возможности возникновения подмыва подошвы конусов и размывов подмостовых русел в результате пропуска паводков через отверстие моста;

·     в условиях периодического подтопления, отсутствия меженных вод и возможности возникновения подмыва подошвы конусов и размывов подмостовых русел в результате пропуска паводков через отверстие моста;

·     в условиях периодического и меженного подтопления и возможности возникновения подмыва подошвы конусов при сливе паводочных вод с пойменных массивов в подмостовое пространство;

·     в условиях периодического и меженного подтопления и возможности возникновения подмыва подошвы конусов и размывов подмостовых русел в результате проявления и развития попятного размыва или других деформаций подмостового русла, обусловленных иными техногенными факторами.

4.16. Для укрепления подмостовых конусов, расположенных вне зоны постоянного, периодического и меженного подтопления, а также при отсутствии условий возникновения их подмыва, наибольшими возможностями из разновидностей габионных конструкций обладают матрасно-тюфячные габионы с упорами из коробчатых габионов.

Рекомендуемые положения проектирования и схемы этих конструктивных решений отражены в пункте 3.30 и на рис. 3.6.

4.17. При отсутствии меженных вод или периодического подтопления в период строительства, а также при возможности возникновения размывов под мостами рекомендуемые схемы возможных конструктивных решений по укреплению подмостовых конусов отражены на Рис. 4.1.

4.18. При наличии меженных вод или периодического подтопления в период строительства, а также при возможности возникновения размывов под мостами рекомендуется использовать схемы конструктивных решений по аналогии с теми, которые отражены на Рис. 4.2.

Рис. 4.1. Схемы конструктивных решений по укреплению габионами подмостовых конусов при отсутствии меженных вод и подтопления в период строительства:

1 - матрасы; 2 - коробчатый габион; 3 - вариант защиты упора матрасами; 4 - опора мелкого заложения; 5 - упорно-защитная конструкция из коробчатых габионов; 6 - линия размыва.

Эти схемы возможных конструктивных решений целесообразны и оправданы при реконструкции мостов с неизменяемыми высотами подмостовых конусов, длинами пролетов и при необходимости увеличения подмостового пространства за счет сокращения длины укрепляемых откосов.

4.19. К числу рекомендуемых схем укрепления подмостовых конусов в условиях возможного размыва под мостами относятся схемы, представленные на Рис. 4.3 и 4.4.

Эти схемы целесообразны при больших пролетах мостов со свободно размещаемыми в них подмостовыми конусами, не стесняющими подмостовое пространство. Подмостовые конуса не совмещены с регуляционными сооружениями и могут устраиваться плавного (см. рис. 4.3) или ступенчатого (см. рис. 4.4) в плане очертания.

4.20. При небольших пролетах мостов, в которых подмостовые конуса и их укрепления трудно размещаемы, целесообразны конструктивные решения, представленные на Рис. 4.5 и 4.6.

В этих решениях подмостовые конуса не совмещены с регуляционными сооружениями. Они позволяют увеличить подмостовое пространство, отодвинуться от воронки местного размыва, возникающей у промежуточной опоры моста, и обеспечить защиту подмостового конуса при достаточности низа укрепления.

Подмостовые конуса в этих решениях могут быть в виде плавного (см. рис. 4.5) или ступенчатого (см. рис. 4.6) в плане очертания.

Рис. 4.2. Схемы конструктивных решений по укреплению габионами реконструируемых подмостовых конусов при наличии меженных вод и подтопления в период строительства:

1 - цилиндрические габионы; 2 - линия размыва; 3 - габионы Джамбо размером 2×1×0,5 м.

Рис. 4.3. Схема габионного укрепления подмостовых конусов, свободно размещаемых в пролетах мостов с размываемыми руслами:

1 - РУВВ; 2 - матрасы; 3 - линия размыва.

Рис. 4.4. Схема габионного укрепления подмостовых конусов, свободно размещаемых в пролетах мостов с размываемыми руслами:

1 - РУВВ; 2 - матрасы; 3 - линия размыва.

Рис. 4.5. Схема габионного укрепления подмостовых конусов, стесняемых пролеты мостов с размываемыми руслами:

1 - РУВВ; 2 - матрасы; 3 - коробчатые габионы; 4 - линия размыва.

Рис. 4.6. Схема габионного укрепления подмостовых конусов, стесняемых пролеты мостов с размываемыми руслами:

1 - матрасы; 2 - коробчатые габионы; 3 - линия размыва.

4.21. Схемы конструктивных решений, представленные на рис. 4.3-4.6, могут быть использованы при небольших глубинах размыва подмостовых русел, при отсутствии меженных вод и периодического подтопления в период строительства.

При больших размывах этих русел, наличия меженных вод или периодического подтопления в период строительства эти конструктивные решения должны подлежать корректировке в нижней части укрепления подмостовых конусов.

При корректировке этих решений могут быть использованы конструктивные решения, представленные на рис. 4.1, б, 4.2, а, или другие индивидуальные решения.

4.22. Конструктивные решения, представленные на рекомендуемых схемах укрепления подмостовых конусов (см. рис. 4.1-4.6), апробированы практикой строительства и эксплуатацией построенных сооружений.

Они могут иметь повторное применение, но не исчерпывают всех возможных и весьма многообразных случаев проектирования и подлежат детальным проработкам на конкретных объектах с учетом расчетно-прогнозных глубин размывов подмостовых русел и условий подтопления в период производства строительных работ укрепляемых сооружений.

В. Укрепляемые опоры мостов и подмостовые русла

4.23. Необходимость укрепления опор мостов и подмостовых русел является весьма распространенным и специфическим случаем проектирования, строительства и эксплуатации мостовых переходов.

Такая необходимость, как правило, может быть предопределена следующими тремя случаями:

·     условиями проектирования по выбору наиболее оптимального проектно-строительного решения на конкретных объектах строительства;

·     условиями строительства при невозможности осуществления глубокого заложения опор мостов, предусмотренного проектными решениями;

·     условиями возникновения размывов у опор мостов, угрожающих потери их устойчивости.

4.24. Укрепление одиночных опор моста от возможного возникновения их подмыва и при отсутствии меженных вод, а также подтопления в период производства укрепительных работ может быть выполнено применительно к конструктивному решению, представленному на Рис. 4.7.

Оно предполагает применение матрасно-тюфячных габионов совместно с коробчатыми, соединенными с бетонным ростверком или основанием опоры моста.

4.25. В случае возможности подмыва нескольких опор моста возникает необходимость укрепления каждой из них (Рис. 4.8, а). Наиболее целесообразным является укрепление этих опор применительно к конструктивному решению, представленному на рис. 4.7.

4.26. В конструктивных решениях, представленных на рис. 4.7 и 4.8, а, длины матрасно-тюфячных укреплений выше и ниже укрепляемых опор моста по направлению течения, а также вдоль моста должны определяться индивидуально в зависимости от расчетно-прогнозного планово-высотного очертания воронки размыва и ее глубины.

Величиной, очертанием воронки размыва и ее глубиной должны определяться высотное положение (заглубление) матрасно-тюфячного укрепления и конструкция его концевых частей относительно поверхности дна русла (или поймы) у защищаемых опор мостов.

Рис. 4.7. Схема габионного укрепления одиночных опор мостов от возможного возникновения их подмыва и при отсутствии подтопления в период производства укрепительных работ.

Рис. 4.8. Схемы габионных укреплений опор мостов при возможности возникновения их подмыва:

а - нескольких опор; б - при наличии меженных вод и берегоукреплении; 1 - матрасы или коробчатые габионы; г - каменная наброска; 3 - линия размыва.

4.27. Для защиты промежуточных опор мостов при наличии меженных вод и подмыве береговых линий в подмостовом русле (выше и ниже его) может быть целесообразно габионное конструктивное решение, представленное на Рис. 4.8, б.

Это решение позволяет обеспечить одновременную защиту опор неглубокого заложения и сохранность береговых линий русла от размывов.

4.28. В условиях возможного возникновения размывов по всему подмостовому сечению и угрозы подмыва всех опор мостов одним из наиболее оптимальных решений может быть устройство сплошного укрепления подмостового русла.

Одним из таких решений может быть габионное укрепление по типу конструкции, представленной на Рис. 4.9. Оно позволяет совместить укрепление подмостовых конусов с укреплением всех промежуточных опор и тем самым создать условия пропуска паводков по неразмываемому подмостовому пространству.

4.29. При двух близкорасположенных друг от друга мостах в условиях возможного возникновения размывов между ними, а также при неглубоком заложении их опор, одним из оптимальных решений по их защите может быть одновременное устройство укрепляемых подмостовых пространств обоих этих мостов и участка реки между ними.

В основу такого решения может быть положена конструктивная схема габионного укрепления подмостового пространства, отраженная на рис. 4.9, а также индивидуальные проработки конструкции габионного укрепления между двумя мостами с укрепляемыми руслами.

Рис. 4.9. Схема габионного укрепления подмостового пространства и устройство подмостовых конусов ступенчатого очертания.

4.30. Объективные предпосылки для укрепления подмостовых русел возникают при необходимости устройства мостовых сооружений с небольшими высотами, размерами пролетов и отверстий (Рис. 4.10).

·     мостов-лотков с многосекционными прямоугольными коробчатыми отверстиями (Рис. 4.10, а);

·     однопролетных мостов с массивными береговыми опорами (устоями) и бетонными открылками (Рис. 4.10, б);

·     двух- или трехпролетных мостов с опорами неглубокого заложения на устойчивом гравийно-галечниковом (или другом) основании (Рис. 4.10, в);

·     однопролетных мостов с близко-сходящимися подмостовыми конусами (Рис. 4.10, г).

4.31. Одними из наиболее оптимальных укреплений подмостовых русел мостовых сооружений, особенности конструкций и область применения которых рассматриваются в пункте 4.30 (см. рис. 4.10), являются габионные укрепления.

Конструктивные решения этих габионных укреплений должны прорабатываться индивидуально для каждого типа мостовых сооружений.

Для конструктивных решений применительно к мостовым сооружениям (см. рис. 4.10, г) могут быть использованы схемы габионных укреплений, отраженные на рис. 4.9.

Для конструктивных решений применительно к мостовым сооружениям (см. рис. 4.10, а, б, в) может быть использована принципиальная схема габионного укрепления, приведенная на Рис. 4.11.

4.32. При проектировании укреплений опор мостов и подмостовых русел следует учитывать, что наиболее ответственными конструктивами этих укреплений являются упорно-защитные, располагаемые в их концевых частях (см. рис. 4.11).

Рис. 4.10. Схемы мостовых сооружений с предпочтительными условиями устройства укрепляемых русел.

Рис. 4.11. План расположения габионного укрепления русла у многосекционного моста-лотка, возводимого из коробчатых элементов прямоугольного сечения:

1 - контур упорно-защитных устройств; 2, 3 - укрепления на входе и выходе.

Рис. 4.12. Схемы возможных упорно-защитных габионных устройств в концевых частях входных и выходных русел:

1 - матрасы; 2 - коробчатые габионы; 3 - каменная наброска.

Конструкции этих упорно-защитных конструктивов рекомендуется прорабатывать индивидуально с учетом схем, представленных на Рис. 4.12.

4.33. При назначении высотного положения (заглубления) матрасно-тюфячного укрепления и его концевых упорно-защитных конструктивов следует учитывать величину перемываемых слоев аллювиальных отложений и необходимость их минимального стеснения.

4.34. Для индивидуального проектирования и моторного применения может быть рекомендована конструктивная схема моста с укрепленным подмостовым руслом, представленная на Рис. 4.13.

Эта схема обусловлена весьма специфическими и вынужденными исходными предпосылками проектирования и строительства.

Мост возведен с опорами неглубокого заложения на 2,5-метровом слое галечнико-гравийных аллювиальных отложений, подстилаемых на глубину более 8 метров мягкопластичными суглинками. Безаварийно эксплуатируется 29 лет (1971 - 1999 гг.).

Опыт эксплуатации этого моста позволяет рекомендовать использование конструктивного решения в габионном исполнении его укрепляемого русла и упорно-защитного конструктива в концевых частях этого русла.

Для укрепления подмостового русла на входе и на выходе из него целесообразно применение матрасно-тюфячных габионов, а для упорно-защитных конструктивов - коробчатых габионов.

Г. Вдольбереговые укрепительные сооружения

4.35. Вдольбереговые и регуляционные сооружения по своему расположению относительно русел и речных долин вынуждены на большей части своего протяжения испытывать параллельно и косоструйно направленные воздействия скоростей течения, волн, ледохода, русловых процессов и других факторов в условиях различного искусственного стеснения пойменно-русловых массивов.

Рис. 4.13. Конструктивная схема моста с укрепленным руслом не предгорной реке:

1 - каменная наброска; 2 - габионный матрас; 3 - упорный брус из коробчатых габионов; 4 - укрепленное русло из бетона или габионного матраса.

Исходными для проектирования этих сооружений должны быть расчетно-прогнозные характеристики всех факторов природно-техногенных воздействий, способных к проявлению вдоль всего продольного положения этих сооружений в пределах зон постоянного, периодического и меженного подтопления.

4.36. При определении расчетно-прогнозных характеристик паводочных и сопряженных с ними воздействий природно-техногенного характера, а также при выборе и назначении конструкций укреплений вдольбереговых и регуляционных сооружений следует руководствоваться схемами возможных расположений и компоновки этих сооружений относительно речных долин относительно друг друга, а также нормативно обусловленными схемами уровенной поверхности стесняемых водных потоков (см. рис. 3.8-3.12).

4.37. В классификации вдольбереговых укреплений следует различать два основных их типа:

·     конструкции, предназначаемые для защиты речных откосов автомобильных дорог, располагаемых вдоль речных долин;

·     конструкции, предназначаемые для защиты береговых линий русел рек.

Конструкции укреплений этих двух типов имеют специфические особенности по условиям расположения и областям применения.

При проектировании этих конструкций следует руководствоваться рекомендациями пунктов 4.38-4.54.

4.38. Конструкции укреплений, предназначаемые для защиты речных откосов автомобильных дорог, располагаемых вдоль речных долин, имеют подчиненный характер и определяются планово-высотными и другими особенностями положения этих дорог относительно речных долин.

Пролегая вдоль речных долин, эти дороги могут быть параллельны их основным направлениям, а на отдельных участках - переходить с одного берега на другой, сопрягаясь мостовыми переходами.

На участках такого сопряжения вдольбереговые сооружения и их укрепления должны иметь конструкции и компоновочные решения, взаимоувязанные с укреплениями и конструкциями подходов к мостам и регуляционных сооружений.

4.39. Разнообразие условий расположения автомобильных дорог вдоль речных долин, их конструкций, а также условий подтопления (постоянного, периодического и меженного) и других факторов гидрологических воздействий предопределяет весьма большое разнообразие конструктивных решений по укреплению речных откосов вдольберегового расположения дорог.

Для габионного укрепления этих откосов рекомендуется использовать схемы возможных конструктивных решений, отраженных на Рис. 4.14 - Рис. 4.16.

4.40. При относительно небольшой крутизне нижней части берегового откоса и небольшом стеснении пойменно-русловых массивов могут быть применены конструкции откосно-матрасного габионного укрепления (см. рис. 4.14, а) или комбинированные конструкции, состоящие из габионных матрасов и коробчатых габионов, сопрягаемых в откосно-ступенчатую конструкцию (см. рис. 4.14, б, в).

4.41. К числу откосно-ступенчатых конструкций относятся конструкции матрасных габионов (см. рис. 4.15, а) или цилиндрических габионов (см. рис. 4.15, б), ступенчато укладываемые на пологий береговой откос.

Рис. 4.14. Схемы габионных укреплений вдольбереговых сооружений:

а - с применением матрасов; б, в - комбинированные откосно-ступенчатые; 1 - линия размыва.

Рис. 4.15. Схемы откосно-ступенчатых габионов укреплений вдольбереговых сооружений:

1 - матрасы; 2 - коробчатые габионы; 3 - цилиндрические габионы.

Рис. 4.16. Подпорно-защитные габионные укрепления вдольбереговых сооружений:

1 - линия размыва.

Рис. 4.17. Схема участка расположения вдольберегового укрепления:

1 - линия размыва; 2 - проектное положение укрепляемого берега; 3 - концевые участки укрепления.

Эти конструкции имеют область применения, аналогичную с конструкциями, рассматриваемыми в пункте 4.40.

4.42. Конструкции габионных укреплений (см. рис. 4.14, б, в и рис. 4.15, а, б) по сравнению с откосно-матрасным укреплением (см. рис. 4.14, а) способны выдерживать большие скорости течения воды и волновых воздействий.

4.43. Наиболее значительные гидрологические воздействия способны выдержать ступенчато располагаемые на береговом откосе конструкции, состоящие из коробчатых габионов больших размеров (см. рис. 4.15, в).

Эти конструкции могут применяться в любых климатических условиях при скоростях течения воды 4-6 м/сек. Габионную кладку рекомендуется делать в речном потоке, несущем достаточное количество наносов, при плотных грунтах основания и при низкой воде.

4.44. При относительно большой крутизне нижней части берегового откоса и вынужденной необходимости стеснения поименно-русловых массивов могут быть применены габионные конструкции в виде подпорно-защитных стен ступенчатой формы, устраиваемых из коробчатых габионов (см. рис. 4.16).

В случае значительных глубин размывов наиболее предпочтительны конструкции, в нижней части которых предусматривается матрасно-тюфячный габион (см. рис. 4.16, б).

4.45. Подпорно-защитные габионные конструкции (см. рис. 4.16) должны быть рассчитаны на устойчивость против их опрокидывания. Расчеты устойчивости должны производиться на момент развития наибольшей глубины размыва.

4.46. Рекомендуемые конструктивные решения вдольбереговых габионных укреплений (см. рис. 4.14 - 4.16) предусматриваются для непосредственной защиты речных откосов применительно к схеме их расположения, отраженной на Рис. 4.17.

В практике дорожно-мостового строительства нередки случаи необходимой защиты речных откосов и берегов на прижимных участках рек с помощью траверс, размещаемых у этих откосов и на этих участках рек и предназначенных для выправления речного потока.

Сооружения в виде траверс относятся к продольно-поперечным защитно-регулируемым сооружениям.

Наряду с применением в качестве вдольбереговых защитных сооружений они применяются и для регулирования стесняемых водных потоков в составе комплекса регуляционных сооружений мостовых сооружений.

При разработке конструктивных решений по устройству траверс следует руководствоваться рекомендациями пунктов 4.62 и 4.63 настоящих «Методических рекомендаций».

4.47. Современные экологические требования и практика дорожно-мостового строительства предопределили необходимость предусматривать при проектировании мостовых переходов защиту береговых линий русел рек от подмыва и эрозии пойменно-прибрежных массивов, а также создание экологически устойчивого техногенно-рекультивируемого рельефа местности, прилегающей к подходам моста с четырех их боковых пойменных сторон (двух верховых и двух низовых).

По своему функциональному предназначению береговые укрепления являются природно-техногенными фиксирующими границами между руслом и пойменными массивами. Они должны органично вписываться в ландшафт и экологическую среду местности и устойчиво функционировать в период эксплуатации.

4.48. Конструктивные решения по защите береговых линий не подлежали ранее типизации. Индивидуальные решения по ним не прорабатывались, а метрические основы их проектирования отсутствовали.

Накопленный Союздорпроектом опыт внедрения защитных береговых укреплений позволил установить, что габионные конструкции обладают наиболее преимущественными свойствами по сравнению с традиционными, что позволяет рекомендовать эти конструкции к более широкому применению.

4.49. Многообразие исходных условий проектирования и возможных случаев сопряжения защитно-береговых укреплений с поверхностью пойменно-прибрежных массивов, а также с дном русел водотоков предопределяет необходимость многовариантных проработок конструкций этих укреплений.

4.50. Для проектирования защитных береговых укреплений, устраиваемых из габионов, рекомендуются схемы возможных конструктивных решений, представленные на Рис. 4.18 - 4.21.

Они отражают различные случаи возможных очертаний и высотного положения берегов, условий подтопления и других исходных условий, обусловленных необходимостью обеспечения плавного очертания укрепляемых береговых линий и вписывания в рельеф пойменно-прибрежных массивов.

4.51. При пологих поверхностях прибрежных пойменных массивов, относительно высоких берегах и значительных глубинах меженных вод могут быть целесообразны габионные конструктивные решения береговых укреплений, представленные на рис. 4.18, 4.19 и на 4.20, в.

Рис. 4.18. Схемы габионных укреплений берегов при пологих поверхностях поймы и значительных высотах берегов.

Рис. 4.19. Схемы габионных укреплений берегов при пологих поверхностях поймы и берегов.

Рис. 4.20. Схемы габионных укреплений при значительной крутизне пойменно-береговых склонов.

Рис. 4.21. Схемы габионных укреплений при значительной пологости береговых склонов и высотах берегов.

4.52. При протяженности и пологости берегов и крутизне прибрежно-пойменных массивов габионные конструктивные решения могут быть устроены по одной из схем этих решений, представленных на рис. 4.20 и на рис. 4.21.

4.53. Габионные укрепления берегов (см. рис. 4.18 - рис. 4.21) предусматривают компоновочные конструкции, состоящие из матрасов, коробчатых и цилиндрических габионов.

Отметки верха габионных стенок, состоящих из коробчатых габионов, должны определяться проектным профилем укрепления по каждому берегу в пределах границ укрепления.

Количество рядов цилиндрических габионов должно определяться индивидуально в зависимости от глубины меженных вод.

Низовое укрепление у дна русла должно проектироваться с учетом возможности его размывов.

4.54. При устройстве защитно-береговых габионных конструкций необходимо руководствоваться следующими основными требованиями и правилами проектирования:

·     в составе проектной документации должны быть проработаны и представлены: план расположения защитно-укрепительных сооружений; продольный профиль по верху габионной стенки (см. рис. 4.18 - 4.21) вдоль каждого из берегов в пределах границ их укреплений; конструктивные решения береговых укреплений по характерным поперечным сечениям русла реки; места расположения коммуникаций, водоотводных и очистных сооружений и конструктивные решения по их сопряжению с берегоукрепительными сооружениями;

·     протяжение и границы концевых участков берегоукрепления должны определяться на каждом мостовом переходе с учетом планового положения русла выше и ниже створа моста и типа руслового процесса на участке пересечения водотока. Ориентировочное протяжение участка берегоукрепления на продольно-прямолинейном участке пересекаемой реки должно быть не менее трех длин моста выше по течению от него и не менее двух длин ниже него;

·     очертание укрепляемых берегов должно быть плавным и лишь с частичным изменением ломаной существующей береговой линии, а также с учетом наименьшего стеснения русла. Не допускается искривление русла в подмостовом пространстве, не предусмотренное в проекте моста;

·     водовыпуски через берегоукрепительные габионные конструкции, сопрягаемые в едином комплексе технического решения, должны быть устроены на основе детальных гидравлических расчетов с учетом режима протекания воды в стесняемых и подтопляемых условиях;

·     отметки уровенной поверхности меженных вод по конкретным поперечным сечениям русла, а также под мостом, в местах водовыпусков через берегоукрепления должны определяться по продольному профилю водной поверхности реки, построенному в пределах верховой и низовой границ укрепляемого участка.

Д. Регуляционные сооружения

4.55. В практике дорожно-мостового строительства регуляционные сооружения используются как при проектировании вдольбереговых автомобильных дорог, так и при проектировании мостовых переходов. Выбор и назначение оптимальных типов габионных укреплений регуляционных сооружений должен определяться в соответствии со схемами регулирования речных потоков, разновидностями и конструктивными особенностями этих сооружений, а также в соответствии со схемами их компоновки на конкретных объектах мостовых переходов или вдольберегового расположения автомобильных дорог.

4.56. Конструктивные решения по применению габионных укреплений следует прорабатывать с учетом следующих наиболее распространенных схем регулирования речных потоков и компоновки регуляционных сооружений:

·     при устройстве только подмостовых конусов на мостовых переходах с достаточным отверстием моста для пропуска паводков и располагаемых на прямолинейном участке пересекаемого русла реки (Рис. 4.22, а);

·     при устройстве двухсторонних или односторонних регуляционных дамб криволинейного или прямолинейного очертаний с траверсами или без них, возводимых на мостовых переходах при стеснении значительных пойменных потоков, при пересечении искривленно-деформирующихся русел рек, а также при косом пересечении речных долин (см. рис. 3.8, 3.9 и 4.22, б);

·     при регулировании мостовыми переходами и дорогами водных потоков предгорных рек, рек с блуждающими руслами, а также рек в местах развития молодых русел и конусов выноса (см. рис. 3.11 и 4.22, в, г);

·     при защите береговых линий и регулировании речных потоков с помощью шпор и траверс (затопляемых и незатопляемых), выравнивающих кривизну и направляющих эти потоки в подмостовые русла и вдоль автомобильных дорог (Рис. 4.23);

·     при защите береговых линий и регулировании речных потоков с помощью полузапруд (Рис. 4.24, а), а также при защите речных откосов подходов к мостам с помощью берм (см. рис. 4.24, б);

·     при регулировании водных потоков дамбами обвалований и водораздельными дамбами, располагаемыми на водосборных бассейнах и непосредственно у дорожного полотна в местах устройства водопропускных труб и переливных лотковых сооружений;

·     при регулировании селевых потоков.

Рис. 4.22. Схемы регулирования речных потоков и компоновки регуляционных сооружений:

1 - криволинейные дамбы; 2 - то же замкнутого контура; 3 - короткие дамбы перегораживания проток; 4 - границы зон блуждания русел; 5 - шпоры (траверсы); 6 - трасса дороги

Рис. 4.23. Схемы регулирования речных потоков для защиты берегов и подходов к мостам с помощью шпор и траверс.

Рис. 4.24. Конструкция габионного укрепления с применением шпор небольшой длины.

4.57. При проектировании габионных укреплений подмостовых конусов, регуляционных и водораздельных дамб, а также защитных берм следует руководствоваться схемами конструктивных решений, рекомендаций, по применению которых отражены в разделах и настоящих «Методических рекомендаций».

4.58. При проектировании дамб обвалований, водораздельных дамб, а также селезащитных сооружений и их габионных укреплений следует руководствоваться рекомендациями разделов 6 и 7 настоящих «Методических рекомендаций».

4.59. Габионные укрепления речных откосов и голов регуляционных дамб должны быть сопряжены с габионными конструкциями укреплений подмостовых конусов в виде плавного их совместного очертания.

4.60. Конструкции габионных укреплений речных откосов и голов регуляционных дамб должны быть решены применительно к конструкциям укреплений подмостовых конусов и предусматривать возможность применения: 1) сплошного укрепления откосов матрасами; 2) комбинированных - с применением матрасов и коробчатых габионов; 3) коробчатых - на дамбах небольших радиусов с замкнутым очертанием (грушевидных); 4) комбинированных - с применением матрасов и цилиндрических габионов или сочетаний цилиндрических габионов с другими габионами.

При разработке конкретных конструкций этих габионных укреплений следует руководствоваться схемами возможных конструктивных решений и рекомендациями разделов и настоящих «Методических рекомендаций».

4.61. Конструкции габионных укреплений откосов внутренних сторон регуляционных сооружений следует назначать в зависимости от условий их подтопления и обтекания речным потоком, а также от других факторов гидрологических воздействий.

4.62. При разработке конструкций и габионных укреплений шпор (траверс) могут быть применены матрасы, коробчатые габионы, а также их сочетания друг с другом.

Рекомендуемые схемы возможных габионных конструкций и укреплений шпор и траверс отражены на рис. 4.24 и 4.25.

4.63. Габионные конструкции и укрепления могут быть применены при устройстве полузапруд и при использовании укрепляемых берм на подходах к мостам.

При разработке схем регулирования речных потоков с помощью полузапруд и укрепляемых берм могут быть использованы схемы возможных конструктивных решений, представленные на Рис. 4.26.

В конструктивном решении (см. рис. 4.26, а) взамен каменной наброски могут быть применены габионные матрасы.

4.64. Для увеличения водопропускной способности мостов и одновременной защиты их береговых опор от подмыва одним из наиболее рациональных решений является изменение традиционной конструкции подмостовых конусов, совмещенных в небольших пролетах мостов с регуляционными дамбами (Рис. 4.27, а).

К числу рекомендуемых решений по применению традиционных конструкций подмостовых конусов, совмещенных в небольших пролетах мостов с регуляционными сооружениями, могут быть отнесены схемы габионных укреплений, представленные на рис. 4.27, б, в.

4.65. При сливе пойменных вод в подмостовое пространство вдоль регуляционных дамб замкнутого по контуру очертания (грушевидного типа) или вдоль подходов к мосту, у которого роль регуляционных дамб выполняют подмостовые конуса, возникает размыв берегового вала (или берега), попятное развитие которого может вызвать подмыв речного откоса дамб и примыкающих к ним подходов.

Рис. 4.25. Схемы конструкций и габионных укреплений шпор:

а - значительной длины; б - коротких прямолинейных; в - углового расположения.

Рис. 4.26. Схемы возможного регулирования речных потоков:

а - с помощью полузапруд; б - с помощью берм; 1 - матрасы из габионов; 2 - каменная наброска; 3 - линия размыва.

Рис. 4.27. Схемы конструктивных решений по увеличению водопропускной способности мостов и одновременной защиты береговых опор:

а - традиционное совмещение подмостовых конусов и регуляционных дамб; б - частичное изменение конструкции и укрепления дамбы; в - коренное изменение конструкции подмостового конуса и дамбы; 1 - подмостовой откос; 2 - регуляционная дамба в подмостовом пространстве; 3 - коробчаты габионы; 4 - контур речного откоса дамбы после изменения ее конструкции; 5 - матрасно-тюфячные габионы.

Нередко это явление носит угрожающий характер не только возводимым сооружениям, но и пойменным массивам, на которых начинает наблюдаться оврагообразование.

Для своевременного учета или устранения последствий этого явления целесообразно устройство противоэрозионного водослива в наиболее низком месте береговой линии.

Необходимость такого водослива может быть предопределена возникновением прорывов пойменными водами регуляционных дамб криволинейного очертания и возможности их повторов. Такие водосливы целесообразны в теле регуляционных дамб.

Рекомендуемые схемы возможных габионных конструкций противоэрозионных водосливов, устраиваемых в теле регуляционных дамб и через укрепляемые габионами береговые линии, отражены на Рис. 4.28.

Рис. 4.28. Противоэрозионные габионные водосливы:

а - в теле регуляционных дамб; б - в берегоуловительных сооружениях; 1 - положение водослива; 2 - верх дамбы; 3 - коробчатые габионы; 4 - матрасы; 5 - цилиндрические габионы.

5. Подпорно-удерживающие, защитные, усиливающие, стабилизирующие и противофильтрационные габионные конструкции и сооружения

5.1. Использование габионных конструкций позволяет значительно расширить возможности и диапазон инженерных и природоохранных решений по устройству подпорно-защитных, подпорно-удерживающих, усиливающих, стабилизирующих и противофильтрационных сооружений и конструкций.

Внедрение габионных конструкций в современную практику дорожно-мостового строительства предопределило ряд новых и рациональных проектно-строительных решений по использованию подпорно-удерживающих и подпорно-защитных сооружений.

Подпорно-удерживающие и подпорно-защитные габионные конструкции и сооружения могут находить применение в следующих наиболее характерных случаях:

·     при укреплении откосов земляного полотна;

·     при устройстве и укреплении подмостовых конусов, регуляционных и вдольбереговых сооружений;

·     при укреплении склонов;

·     при устройстве земляного полотна, съездов транспортных развязок движения и других дорожных сооружений в стесненных условиях и близкорасположенных подземных коммуникаций;

·     при усилении и стабилизации эксплуатируемых деформирующихся насыпей, а также укреплении крутых и высоких склонов (откосов);

·     при устройстве водоотводных, водопропускных, водобойных и очистных сооружений, а также подводящих, отводящих и канализируемых русел.

5.2. Для устройства подпорно-удерживающих и подпорно-защитных сооружений могут быть использованы следующие габионные конструкции:

·     система зеленый Террамеш;

·     система Террамеш;

·     коробчатые габионы;

·     комбинированные системы, выполняемые с использованием сопрягаемых друг с другом коробчатых, цилиндрических и матрасно-тюфячных габионов.

5.3. При проектировании подпорно-удерживающих и подпорно-защитных габионных конструкций, используемых для устройств и укрепления откосов земляного полотна и склонов, подмостовых конусов, регуляционных и вдольбереговых сооружений следует руководствоваться рекомендациями разделов , , , 3 и 4 настоящих «Методических рекомендаций», в которых отражены возможности, конструктивные особенности и область применения этих габионных конструкций, а также принципиальные схемы конструктивных решений.

5.4. К числу рекомендуемых конструктивных решений, предназначенных для устройства и укрепления откосов земляного полотна и склонов, подмостовых конусов, регуляционных и вдольбереговых сооружений, следует прежде всего относить те конструктивные решения, схемы которых отражены на рисунках 2.16, 2.17, 2.18, 2.20, 3.4, 3.13, 3.17, 4.1, 4.2, 4.5, 4.6, 4.8, 4.9, 4.13, 4.14, 4.16, 4.18, 4.19, 4.20, 4.21, 4.24, 4.27.

Следует учитывать, что этими схемами не исчерпываются возможности использования габионных конструкций в подпорно-удерживающих и подпорно-защитных сооружениях.

5.5. При расположении автомобильных дорог вдоль склонов могут быть целесообразны схемы конструктивных решений, представленные на Рис. 5.1. Эти схемы предусматривают возможность применения габионных конструкций по типу систем зеленого Террамеша и Террамеша. В этих случаях могут быть использованы конструкции, состоящие из коробчатых габионов.

5.6. Защита фундаментов дорожных галерей, располагаемых на крутых и высоких склонах местности, может быть осуществлена применительно к конструктивному решению, представленному на Рис. 5.2.

5.7. В стесненных условиях расположения автомобильных дорог откосные части земляного полотна могут быть заменены на подпорно-удерживающие габионные конструкции, располагаемые с одной или двух сторон дороги. Конструктивные решения таких сооружений могут быть приняты применительно к одной из схем, представленных на Рис. 5.3.

5.8. При реконструкции автомобильных дорог и их расположении вблизи подземных коммуникаций откосная часть земляного полотна может быть устроена в виде габионной подпорно-удерживающей стенки применительно к одной из конструктивных схем, представленных на Рис. 5.4.

5.9. Необходимость размещения съездов транспортных развязок движения, а также дорог в подмостовых пространствах мостовых сооружений с небольшими пролетами предопределяет в качестве возможных решений применение разновысотных габионных подпорно-удерживающих сооружений.

В качестве одного из таких решений может быть использована конструктивная схема, представленная на Рис. 5.5.

5.10. Для обеспечения дренирования и осушения грунтов нижней части земляного полотна находят применение традиционные конструкции (32) в виде: подошвенных слоев из дренирующего грунта под откосами насыпей, дренажных шпор в откосе, горизонтальных дрен из трубофильтров и обсыпки откосов дренирующим грунтом.

Однако эти традиционные конструкции не всегда эффективны и долговечны. Их недостатки способны устранить габионные конструкции с применением коробчатых, цилиндрических и матрасно-тюфячных габионов. Такие конструкции более устойчивы по времени функционирования.

Схемы возможных конструктивных решений по применению габионных конструкций для обеспечения дренирования и осушения грунтов нижней части земляного полотна представлены на Рис. 5.6 - Рис. 5.9.

5.11. Взамен традиционной конструкции, состоящей из подошвенных дрен (с применением перфорированных дренажных трубок), откосной обсыпки дренирующим грунтом (слоем 50 см) и защитой бермы с откосной засыпкой дренирующего грунта растительным грунтом (слоем 10 см) с засевом трав, целесообразно использовать сплошное покрытие откоса нижней части земляного полотна матрасно-тюфячными габионами.

5.12. Для усиления и стабилизации эксплуатируемых насыпей автомобильных дорог, а также для устройства земляного полотна с высотой откоса более 8-12 м рекомендуется использование габионных конструкций в виде подпорно-удерживающих и подпорно-защитных стен.

5.13. Применение габионных подпорно-удерживающих и подпорно-защитных стен для усиления и стабилизации эксплуатируемых насыпей является в ряде случаев более надежным мероприятием, чем традиционная отсыпка контрбанкетов из дренирующего грунта.

Устройство таких габионных стен не требует больших объемов дефицитных дренирующих грунтов, отвода дополнительных площадей культурных земель под основания контрбанкетов, сноса строений и переноса существующих коммуникаций.

5.14. Применение габионных подпорно-удерживающих и подпорно-защитных стен при реконструкции и новом строительстве участков автомобильных дорог с высотой более 8-12 м является в ряде случаев более экономичным мероприятием, чем устройство бетонных и железобетонных подпорных стен.

Являясь альтернативным вариантом по устройству подпорно-удерживающих и подпорно-защитных сооружений, габионные конструкции позволяют расширить диапазон индивидуальных решений, а также восполнить пробел в соответствующих типовых решениях по конструкциям земляного полотна и укреплению его откосов.

5.15. К рекомендуемым типам габионных стен, используемым в качестве подпорно-удерживающих и подпорно-защитных сооружений, следует прежде всего относить следующие их разновидности (Рис. 5.10):

·     массивно-объемные (гравитационные);

·     полумассивные (полугравитационные);

·     тонкостенные.

Габионные стены этих разновидностей принято подразделять на низкие (при Н/вф < 1,5) и высокие (при Н/вф > 1,5), где Н - видимая высота стены (м), вф - эффективная ширина стены (м).

Лицевые грани габионных стен могут быть ступенчатыми (вертикальными или наклонными) и гладкими (вертикальными или наклонными).

5.16. При устройстве габионных подпорных стен могут быть использованы некоторые наиболее характерные и специфические схемы возможных конструктивных решений, представленных на Рис. 5.11.

5.17. Расчеты устойчивости и проектирование габионных стен всех разновидностей следует выполнять в соответствии с «Временными техническими указаниями» МПС (21), Техническими указаниями МПС (37) и работой (13), учитывая схемы возможных разрушений этих стен (Рис. 5.12).

5.18. Для предотвращения фильтрации паводковых вод через тело земляного полотна одним из наиболее эффективных мероприятий является защита верховых откосов пойменных насыпей с помощью матрасно-тюфячных габионов, пропитываемых битумной мастикой или подстилаемых водонепроницаемыми материалами и просыпаемыми суглинками или глинами.

При разработке таких мероприятий следует руководствоваться рекомендациями пункта 2.43, в котором отражены конструктивные особенности, состав, объемы и свойства материалов, используемых в противофильтрационных целях.

5.19. Конструктивные особенности и рекомендации по применению подпорно-удерживающих и подпорно-защитных габионных стен при устройстве водоотводных, водопропускных, водобойных и очистных сооружений, а также подводящих, отводящих и канализируемых русел отражены в разделе 6 настоящих «Методических рекомендаций».

Рис. 5.1. Схемы подпорно-удерживающих габионных сооружений:

а - с применением системы зеленый Террамеш; б, в, - с - применением системы Террамеш; 1 - элемент армирования; 2 - сетчатая панель; 3 - засыпка грунтом с уплотнителем; 4 - геотекстиль.

Рис. 5.2. Схема габионной конструкции для защиты фундаментов галлерей.

Рис. 5.3. Схемы конструктивных решений по замене откосных частей земляного полотна габионными подпорно-удерживающими сооружениями.

Рис. 5.4. Схемы устройства габионных конструкций в местах близкого расположения подземных коммуникаций:

1 - засыпка грунтом; 2 - армирующие элементы; 3 - грунт земляного полотна; 4 - геотекстиль.

Рис. 5.5. Схема устройства габионных конструкций при расположении съездов и дорог в стесненных пространствах мостовых сооружений:

1 - коробчатые габионы; 2 - бордюр; 3 - геотекстиль.

Рис. 5.6. Подошвенные слои:

а - традиционные из дренирующего грунта под откосами насыпей; б - из коробчатых габионов; в - из матрасно-тюфячных габионов.

Рис. 5.7. Дренажные шпоры в откосе:

а - традиционные; б - из коробчатых и матрасно-тюфячных габионов.

Рис. 5.8. Дренирование откоса:

а - дренирующим грунтом; б - габионными конструкциями.

Рис. 5.9. Осушение откосов:

а - традиционными горизонтальными дренами из трубофильтров; б - цилиндрическими габионами.

Рис. 5.10. Схемы основных разновидностей габионных стен:

а - массивно-объемные; б - полумассивные; в - тонкостенные.

Рис. 5.11. Возможные схемы разрушения габионных стен:

а - гравитационных; б - системы Террамеш; 1 - полное разрушение; 2 - поверхность смещения; 3 - нарушение несущей способности основания; 4 - сдвиг; 5 - опрокидывание; 6 - внутреннее разрушение; 7 - нарушение местной устойчивости сооружения.

Рис. 5.12. Схемы возможных конструктивных решений по устройству габионных подпорных стен.

6. Габионные конструкции и сооружения для целей водоперепуска, водоотведения и очистки сточных вод

А. Водопропускные, водоотводные и сопрягающие сооружения

6.1. Возможности и свойства габионных структур предопределяют целесообразность их использования в весьма широком диапазоне конструктивных решений, необходимых для обеспечения водоперепуска, водоотведения и очистки сточных вод.

Габионные конструкции и сооружения целесообразны к применению при проектировании, строительстве и эксплуатации следующих сооружений и конструктивов, предназначенных для целей водоперепуска и водоотведения:

·     при устройстве подходных и выходных участков водопропускных труб;

·     при устройстве дамб обвалования и ограждающих дамб;

·     многоочковые и многоярусные водопропускные трубы;

·     при устройстве косогорных водопропускных и водоотводных сооружений;

·     при укреплении водоотводных каналов и канав;

·     при устройстве комплекса овражно-противоэрозионных сооружений;

·     при устройстве выпусков воды через береговые укрепления.

6.2. Варианты габионных конструкций и укреплений подходных и выходных участков водопропускных труб должны прорабатываться на основе учета:

·     конструктивных особенностей и типоразмеров водопропускных труб, а также их планово-высотного положения на местности и относительно дороги;

·     особенностей режима регулирования максимальных расходов воды с допущением: частичной аккумуляции паводочного стока перед дорогой, групповой работы труб по пропуску паводков, сброса части паводочных вод в смежные сооружения и других условий подтопления (одностороннего или двустороннего);

·     типа входных и выходных оголовков и режима протекания воды в трубах;

·     гидравлических характеристик водных потоков на входе и выходе их водопропускных труб и сопротивляемости грунтов размывающей способности этих потоков.

6.3. Конструктивные решения по устройству и укреплению подходных и выходных участков водопропускных труб носят подчиненный характер. В то же время они являются составной и неотъемлемой частью комплекса водопропускного сооружения.

От их устойчивости во многом зависит не только надежное функционирование водопропускных труб, но и экологическое равновесие на прилегающей местности, способной испытывать природно-техногенную нагрузку от стесняемых водных потоков.

6.4. Гидравлические характеристики стесняемых водных потоков на участках входа и выхода из водопропускных труб должны определяться в соответствии с заданными (расчетными) или фактическими условиями подтопления нижнего и верхнего бьефов, а также в соответствии с режимом протекания воды в этих трубах.

6.5. Условия подтопления верхнего бьефа и обусловленные им планово-высотные границы габионного укрепления верховых откосов земляного полотна у водопропускных труб, а также режим протекания воды в них должны определяться расчетным уровнем подпертых вод, набегом воды от динамического воздействия водного потока и запасом возвышения укрепления откоса.

6.6. Условия подтопления нижнего бьефа и обусловленные им планово-высотные границы габионного укрепления низовых откосов земляного полотна у водопропускных труб должны определяться положением уровенной поверхности воды, зависящей от режима ее протекания в этих трубах, а также от возможного дополнительного влияния подпорных природно-техногенных явлений (близкорасположенные дороги, плотины, сгонно-нагонные, приливно-отливные и другие явления).

6.7. При устройстве габионных укреплений подходных и выходных участков водопропускных труб, расположенных в равнинной местности, режимы протекания в них водных потоков, а также обусловленные этими режимами кривые свободной уровенной поверхности воды, скорости течения, глубины воды и типы оголовков дорожных водопропускных труб следует устанавливать применительно к схемам, отраженным на Рис. 6.1 и 6.2.

6.8. Разнообразие и индивидуальные особенности режимов регулирования максимальных расходов воды, режимов ее протекания в трубах, типоразмеров труб и их оголовков, а также других исходных условий проектирования предопределяют необходимость многовариантных проработок габионных конструктивных решений как по укреплению подходных и выходных участков труб, расположенных в равнинной местности, так и откосов земляного полотна в границах подтопления верхнего и нижнего бьефов водопропускных труб.

6.9. При вариантных проработках конструктивных решений укрепления подходных и выходных участков труб, расположенных в равнинной местности, а также откосов земляного полотна в границах подтопления верхнего и нижнего бьефов водопропускных труб целесообразно использовать матрасные и коробчатые габионы, их сочетания друг с другом, а также в сочетании с традиционными материалами и конструкциями.

Рекомендуемые к использованию схемы возможных габионных укреплений представлены на Рис. 6.3 - 6.10.

6.10. Длины, размеры и конструктивные решения укреплений, а также необходимое заглубление их концевых частей на подходных и выходных участках водопропускных труб должны устанавливаться на основе гидравлических расчетов, выполняемых в соответствии с рекомендациями Пособия (2).

6.11. При расположении автомобильных дорог в непосредственной близости друг от друга или при раздельном устройстве земляного полотна для одностороннего движения автотранспорта возникает заполнение паводочными водами искусственно создаваемых в этих условиях пазух с последующим сливом этих вод в нижеследующую водопропускную трубу.

Слив этих вод в ряде случаев способен вызвать образование линейной эрозии и ее развитие в овражную систему, угрожающую устойчивости дорожным откосам, примыкающим к этим пазухам.

Для устранения такой угрозы, а также образования воронки размыва в нижнем бьефе вышележащей трубы целесообразно устройство противоэрозионного габионного сопряжения на участке между вышележащей и нижележащей трубами (см. рис. 6.10).

Такое сопряжение должно учитывать дополнительное укрепление в пониженной части обеих пазух, которое сможет предотвратить начало развития линейной эрозии.

6.12. К числу косогорных водопропускных и водоотводных сооружений, при устройстве которых могут быть применены габионные конструкции, относятся:

·     быстротоки;

·     перепады;

·     консольные водосбросы;

·     шахтные водосбросы;

·     дюкеры;

·     рассеивающие трамплины;

·     водопропускные трубы.

Низовые участки укреплений на выходе из этих сооружений в своих концевых частях могут иметь упорные, водогасящие или противоразмывные устройства.

При разработке конструктивных решений по применению габионных конструкций в этих сооружениях следует руководствоваться рекомендациями пунктов 6.13-6.29.

6.13. В условиях горной и холмистой местности конструкции водопропускных труб, подходных и выходных участков у этих сооружений имеют весьма специфические особенности по сравнению с конструкциями водопропускных труб, расположенных в равнинной местности.

Условия расположения водопропускных труб в горной и холмистой местности предопределяют необходимость учета специфических особенностей режима протекания водных потоков в косогорно располагаемых трубах (Рис. 6.11).

6.14. Несмотря на то, что в косогорных трубах возможны те же режимы протекания, что и в равнинных, их следует рассматривать особо из-за многообразия условий, влияющих на их возникновение.

Режимы протекания воды в трубе зависят от условий сопряжения подходных устройств с трубой:

·     наличия быстротока, соотношения его ширины и отверстия трубы (Рис. 6.12);

·     наличия сужений, водоприемных колодцев, а также уклонов и шероховатости трубы, быстротока и сужения.

При ширине подходного быстротока, равной отверстию трубы, в круглой трубе должны быть устроены специальные направляющие (примазки). Поток входит в трубу и протекает в ней в бурном состоянии. При этом глубина воды на всем протяжении водопропускного тракта меньше высоты трубы.

При ширине подходного бысротока большей, чем отверстие трубы и наличия сужения на входе в нее поток может поступать в трубу как в бурном состоянии - в этом случае перед трубой возникает всплеск (рис. 6.11, а), так и в спокойном - в случае возникновения перед трубой гидравлического прыжка (рис. 6.11, б).

В последнем случае втекание воды в трубу происходит, как в равнинных трубах. Такой характер втекания воды в трубу возможен также при:

·     малых уклонах подходного лога;

·     при неявно выраженном логе и отсутствии подходных быстротоков;

·     наличии водоприемных колодцев.

Некоторые модификации кривой свободной поверхности возникают при вводе бурного потока в трубу, но при наличии перелома на входе в нее (разные уклоны быстротока и трубы) или, что эквивалентно указанному случаю, при повышенной шероховатости в трубе (рис. 6.11, в). При этом за всплеском происходит снижение глубин, а далее возникает кривая подпора, а на выходе - кривая слива.

Похожая картина имеет место при наличии перелома в трубе (рис. 6.11, г).

Во всех рассмотренных выше случаях (см. рис. 6.11, а - г) глубина на входе в трубу hвх и нормальная глубина в трубе были меньше высоты трубы, что обеспечивает безнапорный режим протекания. В случае затопления входа в трубу, что возможно при hвх > hт (для бурного потока средняя глубина его на входе с учетом всплесков должна быть больше высоты трубы) и нормальной глубине, меньшей высоты трубы, в трубе возникает полунапорный режим протекания (рис. 6.11, д). Он полностью аналогичен подобному режиму в равнинных трубах.

В случае затопленного входа и нормальной глубины больше высоты трубы (h0 > hт) сразу за сжатым сечением возникает кривая подпора. При этом при сравнительно «короткой» трубе свободная поверхность не достигает верха трубы и в конце завершается кривой слива (рис. 6.11, е). В трубе возникает полунапорный режим.

При значительных уклонах трубы сжатая глубина не образуется, и на всей длине трубы устанавливается кривая спада (рис. 6.11, ж).

При значительной длине трубы кривая подпора достигает шелыги трубы, и в трубе возникает напорный режим (рис. 6.11, з). Случаи, аналогичные изображенным на рис. 6.11, д - з), могут возникнуть и при переломе профиля трубы.

6.15. К косогорным принято относить трубы, имеющие средний уклон водопропускного тракта (лотка) 0,02 и более. Дно таких труб может быть ступенчатым или горизонтальным. Непосредственно перед входом в трубу предусматриваются приемные устройства в виде водоотводных канав или водоприемных (водобойных) колодцев.

Наиболее типичны для косогорных труб подводящие искусственные русла (сооружения) в виде быстротоков. В ряде случаев быстротоки применяют и в качестве отводящего русла.

Отводящее русло может быть устроено в виде наклонно или ступенчато располагаемого (откосного) габионного сооружения или в виде консольного водосбора, за которым должно быть габионное укрепление для гашения скорости течения воды.

Конструкции таких габионных укреплений подводящих русел должны прорабатываться индивидуально с учетом расчетного расхода воды и гидравлических характеристик водного потока, пропускаемого косогорной трубой в том или ином режиме (см. рис. 6.11).

Гидравлические расчеты этих сопряжений должны выполняться в соответствии с рекомендациями Пособия (2).

6.16. К числу возможных конструктивных решений, основанных на результатах гидравлических расчетов, могут быть отнесены схемы габионных сопряжений и укреплений входных и выходных участков косогорных труб с быстротоками и водобойными устройствами, представленные на Рис. 6.13 - 6.16.

6.17. Быстротоки, выполненные из габионов, могут применяться не только в качестве подводящих и отводящих русел, но и в качестве самостоятельного косогорного водосбросного сооружения для отвода воды из кюветов, нагорных канав и других сооружений и сброса ее в русла водотоков и в другие пониженные места рельефа.

Размеры, формы поперечного сечения и конструкции габионных быстротоков должны определяться на основе гидравлических расчетов с учетом особенностей рельефа местности и форм кривых свободной поверхности водного потока (Рис. 6.17).

Если в устраиваемом за быстротоком отводящем русле (канаве, канале) возникает гидравлический прыжок, то для сокращения участков крепления в конце быстротока (или отводящего русла) целесообразно устраивать габионные водобойные стенки, колодцы или комбинированные из них устройства. При их устройстве необходимо учитывать особенности изменений гидравлических условий при гашении водных потоков (Рис. 6.18).

Высота стенок быстротока должна приниматься с запасом не менее 0,3 м над расчетным положением кривой свободной поверхности водного потока. В противном случае вода будет вытекать из быстротока и перемещаться вдоль него, что неминуемо приведет к его разрушению.

6.18. Простейшим косогорным сопрягающим сооружением принято считать одноступенчатый перепад. Высоту этих перепадов обычно принимают не более 2-3 м, так как при большей высоте трудно погасить энергию водного потока после падения.

Габионный перепад должен предусматривать три участка: входной, стенка падения (вертикальная, наклонная или криволинейная) и участок нижнего бьефа (водобой).

6.19. При высоте участка сопряжения более 3 м принято применять многоступенчатые перепады. Они в габионном исполнении могут быть колодезного и полунапорного типа или в виде многоступенчатого очертания.

Для гашения энергии водного потока на габионных перепадах колодезного или полунапорного типов целесообразно использовать затопленный гидравлический прыжок.

Многоступенчатые габионные перепады колодезного типа можно вписывать в косогоры с уклоном до 0,25-0,35, а с укороченной ступенью - с уклоном до 0,55.

Полунапорные габионные перепады позволяют осуществлять сброс воды на косогорах с уклонами от 0,4 до 0,7.

6.20. Устройство габионных одноступенчатых и многоступенчатых перепадов должно основываться на результатах детальных гидравлических расчетов с учетом форм кривых свободной поверхности водных потоков (Рис. 6.19).

6.21. Конструктивные решения многоступенчатых перепадов во многом определяются типами габионов, их размерами и возможными сочетаниями друг с другом. Эти решения индивидуальны.

Некоторые из возможных схем конструктивных решений по устройству габионных многоступенчатых перепадов отражены на Рис. 6.20.

6.22. Дно водоотводных канав, резервов и кюветов, укрепленных габионами, должно иметь продольный уклон не менее 0,005 и в исключительных случаях - не менее 0,003.

6.23. Вероятность превышения расчетных паводков при проектировании водоотводных канав и кюветов следует принимать для дорог I и II категорий 0,02, III категории - 0,03, IV и V категорий - 0,04, а при проектировании водоотводных сооружений с поверхности мостов и дорог следует принимать для дорог I и II категорий - 0,01, III категории - 0,02, IV и V категорий - 0,03.

6.24. На местности с поперечным уклоном 0,02 при высоте насыпи менее 1,5 м, на участках с переменной сторонностью поперечного уклона, а также на болотах водоотводные канавы следует проектировать с двух сторон земляного полотна.

6.25. Формы и размеры поперечных сечений водоотводных канав и резервов, а также конструкции их укрепления габионами индивидуальны и во многом определяются требуемой или фактической водопропускной способностью этих канав.

Схемы возможных конструктивных решений по устройству и укреплению водоотводных канав и резервов представлены на Рис. 6.21.

6.26. Определение расчетных дождевых расходов воды при устройстве водоотводных канав следует выполнять по методике Союздорпроекта, предусмотренной Пособиями (1, 2), а также типовыми решениями 503-09-7.84 (17).

6.27. В местах искривления движения водных потоков, протекающих в водоотводных канавах, резервах и кюветах (Рис. 6.22), планово-высотные границы габионного укрепления должны назначаться с учетом набега воды на их откосы (см. рис. 6.22, г).

6.28. Верх габионных укреплений водоотводных канав и резервов должен возвышаться не менее чем на 0,2 м над расчетным уровнем высокой воды с учетом набега воды на их откосы и с учетом возможности возникновения подпора от нижележащих сооружений или от водотока, в который производится сброс поверхностных вод.

6.29. При устройстве комплекса овражно-противоэрозионных сооружений габионные укрепления целесообразны для укрепления откосов оврагов, водозадерживающих валов-террас, водоотводных канав с водосливами, распылителей поверхностного стока, головных овражных водопропускных и других донных сооружений (запруды, донные перепады, пороги и плотины).

Конструкции габионных укреплений всех этих сооружений разнообразны и индивидуальны. При их устройстве следует использовать конструкции габионов и конструктивные решения, рассматриваемые в данном и других разделах настоящих «Методических рекомендаций».

Б. Очистные сооружения

6.30. Необходимость устройства и обеспечения надежного природоохранного функционирования очистных сооружений на дорожно-мостовых объектах и разработки методических основ их проектирования, включая и разработку конструкций очистных сооружений с применением габионных структур и конструкций, обусловлена:

·     нормативными требованиями СНиП 2.05.02-85 (п. 3.6.);

·     приказом Генерального директора Федерального дорожного агентства (ФДА) Российской Федерации В.Г. Артюхова «Об усилении контроля за соблюдением требований по охране окружающей среды при проектировании, строительстве и эксплуатации инженерных объектов, предназначенных для сбора и очистки поверхностного стока с мостов и путепроводов на Федеральной дорожной сети». (1999 г.);

·     планом научного сопровождения проектирования, строительства и эксплуатации инженерных объектов, предназначенных для сбора и очистки поверхностного стока с дорог и мостовых переходов на федеральной дорожной сети на 2000-2001 годы (ФДА);

·     современными требованиями государственных и региональных природоохранных органов и рядом территориальных Дирекций строящихся дорожно-мостовых объектов.

6.31. Практикой современного дорожно-мостового строительства апробировано использование габионных структур и ряд габионных конструктивных решений для очистки поверхностных вод, стекающих с проезжей части автомобильных дорог и мостовых сооружений. Однако этот опыт неоднозначен по эффективности очистки сточных вод и предопределяет необходимость более обоснованного подхода к выбору оптимального типа очистного сооружения и оценки его очистительной способности.

6.32. Концептуальную основу возможного применения габионных конструкций для очистки сточных вод предопределяют следующие возможности габионных структур:

·     высокая проницаемость воды и воздуха;

·     большая внутренняя поглощаемость мелких частиц твердого стока и нефтепродуктов;

·     долговечность и химическая нейтральность;

·     пригодность для прорастания растений, способных усваивать некоторые загрязняющие компоненты сточных вод.

6.33. С учетом этих возможностей габионных структур к числу сооружений, используемых для целей совместного и комплексного водоотведения и очистки сточных поверхностных вод и возводимых с использованием биоинженерных элементов, сорбентов и габионных конструкций, принято относить:

·     водоотводные и водоподводящие канавы и лотки;

·     сопрягающие сооружения;

·     фильтрующие запруды и дамбы;

·     водоемы-отстойники;

·     фильтрующие накопители;

·     мелководные биоплато и площадки;

·     глубоководные ванны;

·     ступенчатые фильтрационные бассейны с высокоэффективными природными сорбентами.

6.34. Конструктивные особенности некоторых типов этих сооружений, рекомендации по их эксплуатации и мониторингу отражены в общих чертах в СП 22-101-98 (4) и в работах (38, 39). При практическом применении этих и других сооружений и обосновании проектно-строительных решений по их устройству на автомобильных дорогах и мостовых переходах следует руководствоваться основными положениями и требованиями данного раздела настоящих Методических рекомендаций.

6.35. Выбор оптимального типа и конструкции очистного сооружения или сооружения, обладающего большими очистными способностями, чем традиционные сооружения (конструкции), должен производиться в тесной взаимосвязке с общей схемой организации водоотвода для каждого конкретного дорожно-мостового объекта.

Это позволяет объединить в одну систему сброс поверхностных вод из откосных лотков, кюветов и водоотводных канав, сконцентрировать поступление этих вод в локальные придорожные очистные сооружения и обеспечить единый комплекс водоотведения и очистки сточных вод с единообразными конструктивными решениями по отдельным элементам сооружений этого комплекса.

6.36. При выборе того или другого типа очистных сооружений, возводимых с использованием биоинженерных элементов, сорбентов и габионных конструкций, следует учитывать: фоновые, фактические и прогнозные показатели загрязненности поверхностного стока; очистные способности этих сооружений; конструктивные схемы организации водоотвода на конкретном объекте, водопропускную способность проектируемых сооружений, эксплуатационные преимущества, а также требования природоохранных органов.

6.37. Требования пункта 6.36. во многом должны соотноситься к выбору и обоснованию габионных сооружений (конструкций), обладающих большими очистными способностями, чем традиционные сооружения (конструкции).

К таким сооружениям (конструкциям) следует прежде всего относить укрепленные и устраиваемые из габионов кюветы, водоотводные канавы, откосы насыпей и выемок, откосные лотки, укрепления за водосбойными колодцами, откосы притрассовых резервов и карьеров-водоемов, многоступенчатые перепады и другие аналогичные им сооружения.

Эти сооружения (конструкции), устраиваемые с применением габионных структур, следует считать наиболее эффективными по возможности водоочищения, чем традиционные (типовые), сооружаемые с применением бетона, асфальтобетона, пневмонабрызга, сборных решеток с бетонным или асфальтобетонным заполнением ячеек и из других материалов (изделий).

6.38. К очистным сооружениям или сооружениям, обладающим очистительными возможностями, недопустимо относить засыпку каменным материалом водобойных типовых бетонных колодцев, устраиваемых в концевых частях откосных телескопических лотков и выдаваемых за локальные сооружения водоочистительного предназначения.

6.39. Схемы размещения придорожных очистных сооружений и их конструктивные особенности весьма разнообразны и индивидуальны. Они должны прорабатываться применительно к конкретным условиям расположения дорожно-мостовых объектов, а также применительно к конструктивным особенностям системы поверхностного водоотвода с проезжей части дорого и мостовых сооружений.

6.40. При достаточном обосновании очистных возможностей к числу возможных схем размещения придорожно и береговых очистных сооружений и их конструкций могут быть отнесены конструктивные решения, представленные на Рис. 6.23 и 6.24. В концевых частях этих сооружений (см. рис. 6.24) могут устраиваться переливающиеся запруды, низкие плотины и другие типы габионных водосливов с соответствующим укреплением их нижних бьефов.

Для повышения эффективности очистки сточных вод в ряде случаев может быть целесообразным каскадное, следующее друг за другом расположение габионных очистных сооружений.

Эти сооружения, подпружая и временно задерживая сточные воды, позволяют отстаивать и разбавлять загрязненные воды, осаждать и накапливать частицы твердого стока, тяжелых металлов и мусора, а также обеспечивать проникновение загрязненной воды в габионные строительные блоки этих сооружений и тем самым в некоторой степени аккумулировать в них загрязняющие вещества.

Обязательным условием применения рассматриваемых сооружений (см. рис. 23, рис. 24, рис. 25) является необходимость тщательного обоснования их водоочистительной способности, долговечности водоочистительного функционирования, регламента и технологии содержания в период эксплуатации, а также проведения мониторинга. Эти обоснования должны на каждом объекте сопровождаться индивидуальным научно-методическим сопровождением, так как кроме общих рекомендаций СП 22-101-98 (4) отсутствуют какие-либо другие детальные и обстоятельные научно-методические проработки.

6.41. В ряде случаев традиционные бетонные откосные телескопические лотки и водогасящие сооружения за ними целесообразно заменять на лотки и укрепления, устраиваемые из габионов по типу тех, которые представлены на рис. 6.25.

6.42. Для организации водоотведения и очистки сточных вод с проезжей части мостовых переходов, путепроводов и эстакад одним из наиболее эффективных и рациональных локальных очистных сооружений, апробированных на ряде объектов Союздорпроекта и других организаций, следует считать сооружение в виде габионного ступенчатого фильтрационного бассейна с использованием природных высоко поглощающих сорбентов в виде шунгита или цеолита (Рис. 6.26 и 6.27).

Конструкция этого фильтрационного бассейна разработана ЗАО ТПО «Ландшафтная архитектура» (38, 39) применительно к малогабаритному его размещению на подмостовых и предмостовых конусах, на откосах и у подошвы насыпей подходов в полосе постоянного отвода земель под строительство дорожно-мостовых объектов.

Практическое применение этого очистного сооружения основано на использовании патента «ТПО Ландшафтная архитектура» (№ 98110466/20/012 080 от 08.06.1998 г.). Сооружение позволяет осуществить глубокую очистку сточных вод, имеет положительное заключение государственной экологической экспертизы Госкомэкологии России (№ 99-412 от 08.12.1999 г.), утвержденное приказом Мособлкомприроды (№ 893 от 08.12.1999 г.); Московской государственной экологической академии (№ 01-19-19/871 от 25.11.1999 г.), а также экспертное заключение института геоэкологии Российской академии наук (1999 г.), рекомендующее это очистное сооружение для широкого использования при решении природоохранных задач и дорожно-мостовом строительстве.

Работы по устройству и очистке этого фильтрационного сооружения предусматривается выполнять по техническим условиям, разработанным «ТПО Ландшафтная архитектура».

Способ очистки поверхностного стока с применением фильтрационного сооружения (см. рис. 6.26 и 6.27) основан на движении загрязненной воды через природный заполнитель - сорбент в фильтрационном бассейне. Процесс очистки сточной воды при фильтрации в природном сорбенте (измельченные горные породы, песок) аналогичен процессу фильтрации воды в подземных водоносных горизонтах, т.е. в предлагаемом бассейне создаются условия, моделирующие процесс самоочистки воды в природе.

Движение воды в фильтрационном бассейне происходит за счет потенциальной энергии воды, переходящей в кинетическую из-за разности высотных отметок входа и выхода сооружения. Стенки бассейна и его основание выполняются с применением коробчатых и матрасных габионов, с учетом этого сам бассейн не выглядит как традиционное очистное сооружение, а становится элементом ландшафта.

Конструкция фильтрационного бассейна обладает следующими преимуществами:

·     не требует специального землеоотвода;

·     не требуется возведение фундаментов, железобетонных стен, строительства и монтажа технологических цепочек;

·     не требуется подведения электроэнергии, телефонизации и подачи химреагентов;

·     не требуется высококвалифицированный обслуживающий персонал;

·     при невысокой стоимости строительства и эксплуатации достигается высокая степень очистки сточной воды;

·     попутно решает проблему поверхностной эрозии путем погашения энергии потоков из водосборных лотков.

6.43. Схема работы фильтрационного бассейна (см. рис. 6.26 и рис. 6.27) выглядит следующим образом: дождевая вода, собираемая с дорожного полотна и вытекающая из водосборного лотка самотеком, поступает в отстойник для первичной гравитационной очистки, где осаждаются наиболее крупные песчаные фракции и собирается пленка из нерастворенных нефтепродуктов.

Затем осветленная вода переливом направляется в фильтрационную часть бассейна. Проходя через слои природного сорбента, она очищается от взвешенных частиц, нефтепродуктов и металлов. Далее через дренажную систему очищенная вода сбрасывается в речную сеть.

6.44. Эксплуатация отстойника фильтрационного сооружения (см. рис. 6.26 и рис. 6.27) проводится традиционным способом: механическое удаление осадка, плавающего мусора и нефтяной пленки. Обслуживание фильтрационной части бассейна заключается в периодической замене сорбента и контроле качества воды на выходе из сооружения.

Замену сорбента в первой от отстойника камере следует проводить по мере его кольматации (возможно одновременно с очисткой отстойника). Остальные камеры, согласно вышеприведенным расчетам, - не чаще 1 раза в 3 года.

Очистка фильтрационного бассейна проводится экскавацией с отвозом вынутого осадка и сорбента автосамосвалами в места отведенных свалок. В дренажном слое фильтрационного бассейна предусмотрено заложение водосливных труб. При открытии этих труб вода самотеком уходит из сооружения, что позволяет производить очистку отстойника и замену сорбента.

Улавливание и сбор всплывших в отстойнике эмульгированных нефтепродуктов производится машинами-насосами, которые отвозят их в места утилизации.

Очистку емкостей отстойника следует производить непосредственно перед наступлением отрицательных среднесуточных температур с помощью илососа или грязевой мотопомпы. Для этого откачивается из отстойника верхняя (осветленная) вода в фильтрационную часть, а нижний (илосодержащий) слой - в специальные емкости и отвозится на утилизацию. В это время заменяют отработанную фильтрующую засыпку и фильтр из дорнита.

Выемка всей массы сорбента и погрузка его в самосвалы производится вручную с засыпкой в мешки не чаще, чем один раз в десять-двадцать лет работы сооружения. Отработанный сорбент и осадок из отстойника транспортируется либо в места отведенных свалок, либо на регенерацию. Регенерация шунгита производится путем термообработки (патент № 2073354). Технология утилизации шунгита и илового осадка также отработана (патент № 2081372).

6.45. Мониторинг осуществляется путем обследования сооружения и его элементов, отбора проб воды на выходе из сооружения. Пробы отбираются в литровые емкости и в тот же день направляются на химический анализ. Химический состав воды должен удовлетворять требованиям, изложенным в «Обобщенном перечне предельно допустимых концентраций (ПДК) и ориентировочно-безопасных уровней воздействия (ОБУВ) вредных веществ для воды рыбохозяйственных водоемов», разработанных Минрыбхозом СССР в 1990 г.

6.46. Для устройства фильтрационного сооружения, конструктивная схема которого рассматривается на рис. 6.26 и рис. 6.27, необходимо предусматривать следующие материалы, виды и объемы строительных работ: земляные работы - 105 м3; геотекстиль - 136 м2; гидроизоляция - 520 м2; матрасы - 32,4 м2; коробчатые габионы - 66 м3; щебень - 0,7 м3; песок - 24 м3; фильтрующая засыпка - 25,6 м3; растительный грунт - 36 м3.

6.47. Достаточно высокая эффективность, экономичность строительства и эксплуатации фильтрационного сооружения (см. рис. 6.26 и рис. 6.27) предопределяет возможность его более широкого применения.

Применение этого фильтрационного сооружения на конкретных объектах должно производиться с учетом объема притока в него загрязненных поверхностных вод, пропускной способности сооружения по очистке этих вод, а также необходимого количества таких сооружений и их размещения на откосно-пойменных массивах.

Рис. 6.1. Схемы уровенной поверхности воды в водопропускных трубах при режимах протекания:

а - безнапорном; б - полунапорном; в - напорном при hк > hт; г - напорном при hк < hт; д - при подтоплении нижнего бьефа с незатопленным сжатым сечением.

Рис. 6.2. Формы и типы оголовков водопропускных труб:

а - раструбный; б - коридорный; в - воротниковый; г - портальный; д - с коническим звеном и раструбным оголовком; е - безоголовочный; ж - входные раструбные ныряющие; з - смешанный.

Рис. 6.3. Схемы возможных габионных укреплений верхнего и нижнего бьефов круглых водопропускных труб.

Рис. 6.4. Схемы возможных габионных укреплений верхнего и нижнего бьефов круглых водопропускных труб.

Рис. 6.5. Схемы возможных габионных укреплений верхнего и нижнего бьефов прямоугольных водопропускных труб:

а - укрепление матрасно-тюфячными габионами на входном участке; б - то же коробчатыми габионами; в - укрепления на входе и выходе из трубы; 1 - входной оголовок; 2 - габионные матрасы; 3 - коробчатые габионы; 4 - дно трубы.

Рис. 6.6. Схемы возможных габионных укреплений верхнего и нижнего бьефов прямоугольных водопропускных труб.

Рис. 6.7. Схемы возможных разновидностей габионного укрепления выходных оголовков прямоугольных труб:

1 - матрасные или коробчатые габионы; 2 - упорные габионы; 3 - подпорная стена.

Рис. 6.8. Схемы габионного укрепления верхнего (а) и нижнего (б) бьефов водопропускных труб наклонной подпорной стенкой.

Рис. 6.9. Схема габионного укрепления верхнего и нижнего бьефов водопропускных труб вертикальной подпорной стенкой:

1 - упорные коробчатые габионы; 2 - матрасные габионы.

Рис. 6.10. Схема противоэрозионного сопряжения пространства между водопропускными трубами, расположенными на близлежащих дорогах или на раздельном дорожном полотне:

1 - матрасы; 2 - упорные габионы.

Рис. 6.11. Схемы протекания воды в косогорных трубах.

Рис. 6.12. Типы сопряжений быстротоков с водопропускными трубами.

Рис. 6.13. Схемы возможных габионных укреплений входных и выходных участков водопропускных труб с водобойными устройствами.

Рис. 6.14. Схема возможного габионного укрепления у водопропускных труб, расположенных на пологих косогорах:

1 - коробчатые габионы; 2 - бетонный оголовок; 3 - регуляционные сооружения; 4 - каменная наброска.

Рис. 6.15. Схемы возможных габионных устройств у водопропускных труб, расположенных на косогорах значительной крутизны.

Рис. 6.16. Схема подводящего габионного быстротока:

1 - матрасы; 2 - монолитный бетон; 3 - подготовка из щебня (гравия).

Рис. 6.17. Формы кривых свободной поверхности водных потоков в быстротоках (г).

Рис. 6.18. Формы кривых свободной поверхности водных потоков в водобойных устройствах (г):

а - водобойные стенки; б - водобойный колодец; в - комбинированное устройство.

Рис. 6.19. Формы кривых свободной поверхности в перепадах:

а - одноступенчатом; б - многоступенчатом; в - то же с образованием прыжка; г - колодезного типа.

Рис. 6.20. Схемы возможных устройств многоступенчатых перепадов с применением габионов:

1 - матрасных; 2 - коробчатых; 3 - геотекстиль.

Рис. 6.21. Схемы габионных укреплений водоотводных канав, резервов и кюветов.

Рис. 6.22. Схемы к определению планово-высотных границ габионных укреплений водоотводных канав при искривлении движения водных потоков:

1 - укрепление откоса с учетом набега воды (∆hн); 2 - бровка откоса; 3 - РУВВ; 4 - водная поверхность на участках набега воды на откос.

Рис. 6.23. Принципиальная схема конструкции прибрежного очистного сооружения на выходе из водопропускной трубы:

1 - матрасный габион; 2 - то же цилиндрический.

Рис. 6.24. Схема размещения и конструктивные особенности придорожного очистного сооружения.

Рис. 6.25. Габионные откосные лотки (а) и укрепления на выходных участках традиционных телескопических лотков (б):

1 - литой асфальтобетон 1 типа слоем 6 см; 2 - матрасные габионы; 3 - бордюр.


Рис. 6.26. Габионное очистное сооружение.


Рис. 6.27. Элементы габионного очистного сооружения (рис. 6.26.).

7. Периодически затопляемые, селезащитные и фильтрующие водопропускные сооружения с применением габионных конструкций

А. Периодически затопляемые дорожно-мостовые сооружения

7.1. Периодически затопляемые сооружения являются одной из разновидностей дорожно-мостовых водопропускных сооружений.

Они весьма распространены не только в отечественной, но и зарубежной практике дорожно-мостового строительства.

Применяются на автомобильных дорогах пионерного и временного предназначения, а также на дорогах с относительно небольшой интенсивностью движения автотранспорта.

Типы, конструкции, условия применения и функционирования периодически затопляемых дорожно-мостовых сооружений предопределены «Методическим пособием» Союздорпроекта (32), которым надлежит руководствоваться при обосновании транспортно-эксплуатационной и технико-экономической целесообразности использования этих сооружений на конкретных объектах.

7.2. Периодически затопляемые сооружения подразделяются на три основных группы: затопляемые участки автомобильных дорог, низководные мосты и переливные лотковые сооружения.

Затопляемые участки автомобильных дорог характеризуются невысокой насыпью, располагаемой на широких поймах, малых логах, на подходах к паромным переправам, наплавным и низководным мостам.

Для затопляемых участков дорог нового строительства в местах пересечения водотоков наиболее целесообразны лотковые сооружения в виде переливных лотков с отверстиями для пропуска меженного и части поводочного стока и переливных лотков без отверстий.

7.3. Конструктивные решения по применению габионных строительных блоков должны определяться особенностями каждого из трех групп периодически затопляемых сооружений, положением их на местности и относительно речных долин, условиями подтопления (меженного, паводочного, подпорного), а также условиями их транспортно-эксплуатационного и гидротехнического функционирования (заданного или фактического), пропуску паводка и автотранспорта и по восприятию паводочных воздействий.

7.4. Влияние и виды паводочных воздействий и их возможных последствий на периодически затопляемые сооружения в значительной степени определяются их высотой, глубиной затопления, скоростью переливаемого водного потока, размывающей способностью грунтов основания и рядом других местных факторов.

Учет влияния различных видов паводочных воздействий, режимов протекания водных потоков и их расчетных гидравлических характеристик должен производиться для различных типов периодически затопляемых сооружений в соответствии с рекомендациями «Методического пособия» ().

7.5. Область применения габионных конструкций при строительстве периодически затопляемых дорожно-мостовых сооружений определяется необходимостью устройства и укрепления:

·     верховых и низовых подтопляемых (затопляемых) откосов;

·     подходных и выходных участков русел;

·     сопрягающих и отводящих сооружений;

·     регуляционных сооружений и дамб обвалований;

·     подмостовых русел низководных мостов и их пригрузке в период затопления.

7.6. Габионные конструкции, применяемые для укрепления и устройства основных конструктивных элементов периодически затопляемых дорожно-мостовых сооружений, относятся к капитальным типам по восприятию паводочных воздействий.

7.7. Применение габионных укреплений и устройств рекомендуется преимущественно в тех условиях, кода капитальность возводимого сооружения и его долговременное функционирование являются главными факторами.

7.8. Экономичность строительства и эксплуатации, а также экологичность габионных конструкций расширяют их возможности по применению и в тех условиях, когда используются традиционные некапитальные конструкции и материалы.

7.9. Конструкции габионных устройств и укреплений откосов периодически затопляемых насыпей автомобильных дорог и переливных сооружений следует назначать и прорабатывать применительно к VII-X зонам гидрометеорологических воздействий (см. рис. 3.1) и условиям перелива паводочных вод, определяемых расчетными кривыми свободной поверхности переливающего водного потока.

7.10. При проложении автомобильных дорог в нулевых отметках в относительно равнинной местности конструктивные решения по устройству периодически затопляемых их участков рекомендуется прорабатывать применительно к одной из конструктивных схем, представленных на Рис. 7.1.

Для уменьшения возможного истирания твердым стоком крышки матрасных габионов следует усилить дополнительными крышками из металлических сеток двойного кручения.

7.11. При устройстве переливных насыпей в относительно равнинной местности укрепление верховых и низовых откосов рекомендуется производить матрасными габионами.

Для защиты концевых частей этих габионных откосов с верховой и низовой сторон целесообразно их заглубление или устройство упорно-защитных устройств из коробчатых габионов в сочетании с матрасными габионами или каменной наброски.

7.12. При устройстве периодически затопляемых участков автомобильных дорог на косогорах низовой откос может быть устроен с помощью подпорных водосливных стен, защищаемых от подмыва габионными конструкциями с применением коробчатых и матрасных габионов.

В ряде случаев низовой откос может быть устроен по типу многоступенчатого перепада с применением коробчатых габионов и укреплением низовой водобойной части матрасными габионами.

Схемы возможных конструктивных решений по устройству габионных многоступенчатых перепадов приведены на Рис. 7.2.

7.13. При устройстве периодически затопляемых участков дорог и переливных лотковых сооружений с отверстиями и без них взамен их откосных частей могут быть применены вертикальные или ступенчатые габионные стены.

Среди таких конструктивных решений может быть целесообразно применение конструкции периодически затопляемого сооружения с многоочковыми одноярусно расположенными водопропускными трубами, схема которого отражена на Рис. 7.3.

7.14. Габионные конструкции концевых участков укреплений верхнего и нижнего бьефов периодически затопляемых участков автомобильных дорог и переливных лотковых сооружений, а также водобойных устройств нижнего бьефа должны быть проработаны с учетом их устойчивости против размывов.

7.15. К числу периодически затопляемых сооружений относятся сооружения плотинно-пороговой габионной конструкции, которые рекомендуются для защиты опор мостов неглубокого заложения, а также опор мостов, находящихся под угрозой разрушения из-за развития и продвижения попятного размыва в подмостовое пространство с низовой стороны русла реки.

К числу одного из возможных решений по защите опор мостов от размыва подмостовых русел от развития попятного размыва рекомендуется к применению конструкция габионного плотинного порога, располагаемого в русле реки ниже защищаемого моста (Рис. 7.4).

Применение этой конструкции обусловлено необходимостью сопровождающих гидравлических расчетов с учетом прогнозной глубины попятного размыва и расчетного расхода воды на конкретном мостовом переходе.

7.16. При вдольбереговом расположении автомобильных дорог и отсечении части пойменных массивов возникают специфические условия функционирования периодически затапливаемых водопропускных сооружений, которые предопределяют необходимость их учета при разработке конструктивных решений по устройству и укреплению нижнего и верхнего бьефов этих сооружений.

7.17. Условия функционирования вдольбереговых периодически затапливаемых сооружений характеризуются следующими режимами их затопления (Рис. 7.5):

·     подтопление и затопление с переливом воды через дорогу от паводочного стока, формирующегося на склонах отсеченного пойменно-прибрежного массива и водотоках, впадающих в основную реку при его несовпадении во времени с паводком этой реки (см. рис. 7.5, а);

·     то же, от паводочного стока основной реки не совпадающего во времени с паводочным склоновым стоком и стоком притоков этой реки (см. рис. 7.5, б);

·     подтопление и затопление отсеченного пойменного массива и дороги с переливом воды через нее от совместного во времени проявления паводочного стока основной реки, склонового стока и паводочного стока притоков этой реки (см. рис. 7.5, в).

7.18. Конструктивные решения по устройству и укреплению с помощью габионных конструкций нижнего и верхнего бьефа вдольбереговых периодически затапливаемых сооружений должны разрабатываться индивидуально с учетом возможности возникновения опасных размывов с обеих сторон этих сооружений.

7.19. К периодически затапливаемым и переливным дорожно-мостовым сооружениям относятся комбинированные сооружения с частичной фильтрацией поверхностных вод сквозь тела их дорожного полотна, а также селепропускные лотковые сооружения.

Конструктивные особенности этих разновидностей периодически затапливаемых и переливных сооружений, условия их применения и функционирования рассматриваются в разделах и настоящих «Методических рекомендаций».

Б. Фильтрующие водопропускные сооружения

7.20. Фильтрующие водопропускные сооружения относятся к издавна известным и применяемым дорожно-мостовым сооружениям не только в зарубежной, но и отечественной практике дорожного строительства.

Они могут применяться как для пропуска паводочных и меженных вод, так и для осушения местности, прилегающей к автомобильным дорогам с длительным (более 30 суток) внутригодовым подтоплением поверхностными и грунтовыми водами.

7.21. При разработке конструктивных решений по применению фильтрующих водопропускных сооружений следует учитывать, что по исходным условиям проектирования эти сооружения могут быть устроены по следующим типам:

·     в виде высоководных фильтрующих незатопляемых насыпей;

·     в виде фильтрующих прослоек в теле незатопляемого земляного полотна;

·     в виде комбинированного незатопляемого сооружения с устройством водопропускных труб в теле фильтрующих незатопляемых насыпей;

·     в виде низководных фильтрующих периодически затопляемых и переливных насыпей;

·     в виде комбинированного низководного сооружения с устройством водопропускных труб в теле периодически затопляемых и переливных насыпей.

7.22. Фильтрующие водопропускные сооружения при устройстве высоководных незатопляемых насыпей принято (2) применять на автомобильных дорогах III категорий и ниже.

7.23. Фильтрующие водопропускные сооружения при устройстве низководных периодически затопляемых насыпей находят наибольшее применение на автомобильных дорогах пионерного и временного предназначения, а также на дорогах с относительно небольшой интенсивностью движения автотранспорта.

7.24. Выбор наиболее целесообразного типа фильтрующего водопропускного сооружения и его сопоставление с традиционными типами водопропускных сооружений в виде труб, малых мостов и переливных лотковых сооружений, а также обоснование возможности применения фильтрующих сооружений на автомобильных дорогах различных категорий и предназначений следует производить на основе технико-экономических расчетов с учетом как наиболее благоприятных исходных условий их применения, так и ограничений.

7.25. Наиболее благоприятные исходные условия применения фильтрующих водопропускных сооружений возникают:

·     при грунтах, требующих устройства дорогостоящих опор мостов и оснований под водопропускные трубы;

·     при относительно небольших расчетных расходах воды;

·     при ненарушении и улучшении гидро-экологического равновесия прилегающей местности и одновременном улучшении водно-теплового режима земляного полотна;

·     при достаточном уклоне местности, позволяющем наиболее быстро обеспечивать отток воды с верховой стороны дороги и ее пропуск через фильтрующее сооружение;

·     при наличии местного камня крепких кристаллических, водостойких и морозоустойчивых горных пород и небольшой дальности его возки;

·     при производстве строительных работ в зимнее время, когда возведение мостов и труб из бетона и железобетона затруднительно и дорогостояще;

·     при незначительном количестве в водном потоке влекомых и взвешенных частиц твердого стока;

·     в сейсмических районах.

7.26. Аккумуляция части паводочного стока при устройстве фильтрующих водопропускных сооружений не допускается, так как она способна увеличить площадь подтопления местности перед дорогой и время опорожнения аккумулирующей емкости.

7.27. При длительном или постоянном двустороннем подтоплении земляного полотна автомобильных дорог применение фильтрующих водопропускных сооружений, как правило, нецелесообразно.

7.28. Водопропускную способность фильтрующих водопропускных сооружений при устройстве высоководных незатопляемых насыпей следует определять с учетом необходимой площади поперечного сечения фильтрующей части насыпи или фильтрующей прослойки в ней, а также с учетом уклона местности и скорости движения фильтрационных вод.

7.29. Необходимую площадь поперечного сечения фильтрующих частей или прослоек высоководных незатопляемых насыпей, предназначенную для пропуска расчетного расхода воды, следует определять гидравлическим расчетом в соответствии с режимом протекания водных потоков.

7.30. По режиму гидравлической работы фильтрующие высоководные незатопляемые насыпи можно разделить на безнапорные и напорные.

При напорном режиме все сечения этих насыпей заполняются водой, а при безнапорном режиме водный поток ограничивается сверху свободной поверхностью.

7.31. Применение напорного режима способно вызвать неблагоприятные условия как для устойчивости насыпей, так и для гидро-экологического функционирования прилегающей местности. Целесообразность принятия такого режима должна быть обоснована технико-экономическими расчетами.

7.32. Гидравлические расчеты фильтрующих частей или прослоек высоководных незатопляемых насыпей при напорном или безнапорном режиме их работы следует производить в соответствии с Пособием (2).

7.33. В поперечном сечении фильтрующую прослойку в напорных насыпях следует устраивать постоянной высоты, а в безнапорных - укладывают ступенями. Высоту каждой ступени нужно назначать на 15-20 % больше глубины фильтрационного потока.

7.34. В направлении, перпендикулярном оси насыпи, форма поперечного сечения фильтрующей прослойки может быть прямоугольной, трапецеидальной, параболической или треугольной.

Прямоугольную и трапецеидальную формы следует применять в широких логах, причем в очень распластанных логах нижнее основание трапеции больше верхнего, а в узких - наоборот.

7.35. Высоту фильтрующей части насыпи при безнапорном режиме следует назначать не менее чем на 0,5 м выше горизонта воды в верхнем бьефе. Верховой откос фильтрующих насыпей нужно укреплять на высоту не менее 0,5 м над уровнем самых высоких вод.

7.36. При невысоких насыпях фильтрующая часть может располагаться в траншее. В таком случае фильтрующая насыпь будет работать как дюкер. Для отвода воды из траншей с низовой стороны насыпи целесообразно устраивать дренаж.

7.37. При устройстве высоководных незатопляемых фильтрующих насыпей их фильтрующая часть или фильтрующая прослойка должны выступать за пределы земляного полотна не менее чем на 0,5 м.

7.38. Для предохранения незатопляемых фильтрующих насыпей от засорения мусором, остатками растительности, ветками, влекомыми насосами, целесообразно предусматривать с верховых сторон заграждения в виде плетней, габионов или металлических сеток двойного кручения.

7.39. Применение традиционных водопропускных труб в теле фильтрующих высоководных незатопляемых и низководных затопляемых насыпей, а также устройство фильтрующих переливных сооружений позволяет обеспечить повышение водопропускной способности этих типов сооружений и тем самым расширить возможности их использования на автомобильных дорогах различных категорий, капитальности и предназначения.

7.40. На периодически действующих водотоках, склоны которых сложены лессовидными, суглинистыми или пылеватыми грунтами, после первого же паводка может происходить заиление пустот в фильтрующих частях водопропускных сооружений, после чего водный поток начинает переливаться через дорогу, разрушая ее.

7.41. В высокогорных районах с резкими суточными колебаниями температур воздуха имеется опасность образования в теле фильтрующих сооружений ледяных линз, заполняющих пустоты, что нередко приводит к прекращению работы водопропускного сооружения как фильтрующего.

7.42. При весьма значительном количестве твердого стока в водных потоках, а также в условиях возможного проявления селевых процессов фильтрующие водопропускные сооружения применять не рекомендуется.

В этих условиях следует предусматривать другие разновидности дорожно-мостовых водопропускных сооружений.

7.43. Основные положения, требования и рекомендации по устройству фильтрующих водопропускных сооружений, рассмотренные в пунктах 7.20-7.42, являются обязательными не только для строительства этих сооружений с применением традиционных материалов в виде каменной наброски, но и с применением габионных строительных блоков.

7.44. Применение габионных конструкций позволяет в значительной степени расширить возможности использования фильтрующих водопропускных сооружений в дорожном строительстве.

Возможности и свойства габионных структур и изготовляемых из них габионных строительных блоков целесообразно использовать в следующих конструктивных решениях:

·     при устройстве фильтрующих частей и прослоек в теле земляного полотна высоководных незатопляемых насыпей с помощью коробчатых габионов (Рис. 7.6);

·     при устройстве комбинированных незатопляемых сооружений, состоящих из фильтрующей насыпи и водопропускных труб (или мостов) с применением коробчатых и матрасных габионов в фильтрующей части этих насыпей;

·     при устройстве фильтрующих прослоек в нижней части низководных периодически затапливаемых насыпей и переливных водопропускных сооружений с применением матрасных или коробчатых габионов (Рис. 7.7);

·     в качестве выравнивающих и изоляционных слоев, устраиваемых между фильтрующими и нефильтрующими частями земляного полотна с применением матрасных габионов, сваренных вгорячую с песчано-битумной мастикой (Рис. 7.8);

·     для устройства узких щелевых отверстий между коробчатыми или матрасными габионами, используемыми в фильтрующих частях и прослойках высоководных незатопляемых и низководных затопляемых насыпей (Рис. 7.9);

·     для укрепления основания насыпей и обеспечения возможности дренирования или пропуска фильтрационных вод с пониженных участков водонасыщенной местности с применением матрасных или коробчатых габионов;

·     при устройстве заградительных валов и откосных ограждений, предназначаемых для предохранения от заиливания и замусоривания входных участков фильтрующих насыпей, прослоек и сооружений с применением коробчатых и матрасных габионов (Рис. 7.10).

В. Селезащитные сооружения

7.45. Область целесообразного применения габионных конструкций при разработке противоселевых защитных мероприятий распространяется на следующие сооружения:

·     террасы и террасы-канавы (траншейные и ступенчатые) на горных склонах селеобразующих водосборных бассейнов;

·     нагорные и водосборные канавы;

·     селепропускные сооружения, включая селепереливные лотки, канализированные и отводные русла;

·     селенаправляющие и ограждающие сооружения в виде различных типов регуляционных и берегоукрепительных сооружений;

·     селезадерживающие сооружения руслового расположения в виде запруд, барражей, плотин и котлованов накопителей.

7.46. При устройстве противоселевых защитных сооружений с применением габионных конструкций следует учитывать их целевое предназначение, условия функционирования, а также расчетные гидравлико-гидрологические характеристики формирования и проявления водных и селевых потоков.

7.47. Террасы, террасы-канавы, нагорные и водосбросные канавы, располагаемые на горных склонах селеобразующих водосборных бассейнов, предназначены для сбора, отвода и рассредоточения поверхностных вод, способных активизировать проявление и развитие склоновых эрозионно-селевых процессов.

В комплексе противоселевых мероприятий эти сооружения следует рассматривать как первоочередные и профилактические, предназначаемые для снижения вероятности возникновения селевых потоков.

7.48. Особенности расположения террас, террас-канав, нагорных и водосбросных канав, их отдаленность и труднодоступность для ведения строительных работ предопределяют основные преимущества и целесообразность использования габионных конструкций и устройств при строительстве этих сооружений.

Расчетные гидравлико-гидрологические характеристики для определения притока поверхностных вод и их отвода, а также наиболее целесообразные габионные конструкции укрепления и устройств этих сооружений следует устанавливать, руководствуясь рекомендациями раздела настоящих «Методических рекомендаций».

7.49. Русловые селезащитные, селепропускные, селенаправляющие и ограждающие сооружения предназначаются для снижения и частичного задержания объемов селевой массы, способной перемещаться в виде селевых потоков, а также для безаварийного пропуска этих потоков через отверстия дорожно-мостовых сооружений или в их обход.

Эти сооружения вынуждены воспринимать воздействия селевых потоков и должны обеспечивать наиболее оптимальные условия транспортно-гидротехнического функционирования дорожно-мостовых объектов, располагаемых на селеносных и селеопасных склонах и руслах водосборных бассейнов.

Для определения целесообразных конструкций и условий расположения этих сооружений, условий формирования и расчетных характеристик селевых потоков, а также наиболее оптимальных решений по применению габионных укреплений и сооружений следует руководствоваться соответствующим Руководством Союздорпроекта (33).

7.50. При устройстве селепропускных сооружений габионные конструкции наиболее целесообразны в следующих конструктивных элементах этих сооружений:

·     при укреплении подмостовых русел и откосов;

·     при укреплении откосов регуляционных сооружений;

·     при защите опор мостов от подмыва;

·     при укреплении концевых участков выходных русел; селепереливных лотков.

7.51. Наиболее целесообразными типами габионов для защитно-укрепительных конструкций селепропускных сооружений являются матрасные и коробчатые габионы и их сопряжения друг с другом, а также с каменными набросками.

7.52. Применение габионных защитно-укрепительных конструкций селепропускных сооружений должно основываться на учете типов селевых потоков, а также на их ударно-динамических, размывных и истирающих воздействиях.

В каждом конкретном случае проектирования этих конструкций должны быть выполнены тщательные и детальные расчеты этих воздействий с учетом рекомендаций Руководства (33).

7.53. Для повышения устойчивости габионных поверхностей от возможности их истирания и повреждений каменными составляющими селевых потоков следует предусматривать защиту этих поверхностей дополнительными крышками или металлическими сетками двойного кручения.

7.54. Канализированные селепропускные русла (каналы) находят применение для спрямления отдельных криволинейных участков входных и отводных подмостовых и мостовых русел, а также для пропуска водных и селевых потоков через населенные пункты, промышленные предприятия и другие народнохозяйственные объекты или в их обход. В отдельных случаях эти русла могут устраиваться в качестве подмостовых.

В условиях пропуска селевых потоков с относительно небольшим расходом водно-селевой массы, а также ударно-динамических, размывных и истирающих воздействий канализированные селепропускные русла могут быть устроены с габионным укреплением всего очертания их расчетного поперечного сечения.

7.55. Береговые части канализированных селепропускных русел могут быть устроены в виде коробчатых габионных подпорных стен с вертикальной, наклонной или ступенчатой лицевой гранью.

Укрепление дна этих русел может быть выполнено с применением матрасных или коробчатых габионов.

Защита лицевых поверхностей габионного укрепления дна канализированного селепропускного русла и его береговых частей должна быть осуществлена с учетом рекомендаций пункта 7.53 настоящих «Методических рекомендаций».

7.56. Селенаправляющие и ограждающие сооружения находят применение при устройстве регуляционных и берегоукрепительных сооружений.

Они могут быть различного очертания, места расположения, предназначения, конструкции и более подробно рассматриваются в Руководстве (33).

Конструктивные решения по устройству селенаправляющих и ограждающих сооружений с применением габионов индивидуальны и должны прорабатываться с учетом рекомендаций пунктов 7.49, 7.52 и 7.53 настоящих «Методических рекомендаций».

7.57. Селезащитные сооружения предназначены для защиты ответственных дорожно-мостовых объектов от селевых потоков, обладающих значительными выносами и воздействиями селевой массы.

Они устраиваются для задержания части твердого стока и его накопления в верхнем бьефе, а также для частичного или полного гашения энергии селевых потоков единичными или каскадно-расположенными селезадерживающими сооружениями.

Конструктивные решения по устройству селезадерживающих сооружений с применением габионов индивидуальны и должны прорабатываться с учетом рекомендаций пунктов 7.49, 7.52 и 7.53 настоящих «Методических рекомендаций».

7.58. В числе возможных конструктивных решений по устройству габионных селезадерживающих сооружений, рекомендуемых для индивидуальных и вариантных проработок, следует предусматривать решения, представленные на Рис. 7.11.

Рис. 7.1. Схемы возможных конструктивных решений по устройству переливных сооружений с применением габионов:

1 - матрасы; 2 - проезжая часть; 3 - коробчатые габионы; 4 - дополнительная металлическая сетка двойного кручения; 5 - геотекстиль.

Рис. 7.2 Схема устройства многоступенчатых габионных перепадов в нижнем бьефе переливаемых насыпей и сооружений.

Рис. 7.3. Схема устройства габионного переливного сооружения с круглыми водопропускными трубами.

Рис. 7.4. Схема габионного плотинного порога-водослива для защиты опор мостов от попятного размыва.

Рис. 7.5. Схемы режимов подтопления вдольбереговых переливных сооружений:

1 - направление стока со склонов и притоков; 2 - предельно возможный уровень подтопления отсеченной дорогой части пойменного массива; 3 - направление перелива воды через дорогу; 4 - направление течения воды в водопропускных сооружениях; 5 - направление паводочного подтопления и затопления от основной реки.

Рис. 7.6. Фильтрующие незатопляемые насыпи из коробчатых габионов:

а - напорная; б - безнапорная; в - на косогоре; 1 - изоляция; 2 - коробчатые габионы.

Рис. 7.7. Переливное лотковое сооружение с фильтрующей прослойкой из коробчатых или матрасных габионов:

1 - дорожная одежда лотка; 2 - изоляция; 3 - габионы.

Рис. 7.8. Водонепроницаемые матрасные габионы.

Рис. 7.9. Фильтрующая насыпь из коробчатых габионов (1), с изоляцией (2) и сквозными щелями (3).

Рис. 7.10. Фильтрующая насыпь с ограждающим габионным валом в верхнем бьефе.

Рис. 7.11. Схемы габионных селезадерживающих сооружений.

Приложение 1

Основные параметры и размеры отечественных проволочных сеток двойного кручения для изготовления сетчатых габионных конструкций и ограждений

промышленное производство отечественных проволочных сеток двойного кручения с шестиугольными ячейками освоено ОАО «череповецкий сталепрокатный завод» (ОАО «ЧСПЗ»).

Изготовление этих сеток, их основные параметры и размеры, технические требования, привила приемки, методы испытаний, маркировка, упаковка, транспортирование и хранение обусловлены Техническими условиями ТУ 14-178-351-98 (впервые): «Сетки проволочные двойного кручения с шестиугольными ячейками».

Технические условия разработаны ОАО «ЧСПЗ», утверждены 08.12.1998 г., согласованы с Управлением торговли Мэрии г. Череповца, введены в действие с 09.12.1998 г., держатель подлинника - ОАО «ЧСПЗ», предоставлены Союздорпроекту для использования 16.10.2000 г. (№ 11-003/6-944 ф).

Регламентированные этими Техническими условиями сетки подразделяются по виду поверхности:

·     без покрытия;

·     из проволоки оцинкованной 1 группы покрытия - 01;

·     из проволоки оцинкованной 2 группы покрытия - 02;

·     из проволоки оцинкованной 3 группы покрытия - 03;

·     из проволоки оцинкованной с полимерным покрытием - 01П, 02П, 03П.

Основные параметры и размеры должны соответствовать табл. 1 и рис. 1.

Рисунок 1

Примеры условного обозначения:

Сетка с размером ячейки 80×100 мм из проволоки без покрытия, диаметром 2,2 мм, шириной 3000 мм по ТУ 17-178-351-98.

Сетка 8×10-2,12-3000 ТУ 14-178-351-98

Сетка с размером ячейки 80×100 мм из оцинкованной проволоки 1 группы покрытия, диаметром 2,2 мм, шириной 3000 мм по ТУ 17-178-351-98

Сетка 8×10-2,2-01-3000 ТУ 14-178-351-98

Сетка с размером ячейки 80×100 мм из оцинкованной проволоки 1 группы покрытия, диаметром 2,2 мм с полимерным покрытием, шириной 3000 мм по ТУ 17-178-351-98

Сетка 8×10-2,2/3,2-01П-3000 ТУ 14-178-351-98

При изготовлении сетки из проволоки с полимерным покрытием внешний диаметр проволоки увеличивается на 1 мм. По согласованию с потребителем допускается изготавливать сетку из проволоки другого диаметра. Размер диагонали S2 не контролируется, а обеспечивается технологическим инструментом. При изготовлении сетки из проволоки с полимерным покрытием масса 1 м2 сетки увеличивается на 0,35 кг. В настоящее время сетка изготавливается только из проволоки с плотностью цинкового покрытия группы 03 (260-275 г/м2).

Сетки должны изготовляться в соответствии с требованиями ТУ 14-178-351-98 по техническому регламенту, утвержденному в установленном порядке из термически обработанной проволоки без покрытия; с цинковым покрытием трех групп и из термически обработанной оцинкованной проволоки с полимерным покрытием. Вид покрытия оговаривается в заказе или контракте.

На поверхности сетки не должно быть растрескивания и отслаивания защитного покрытия проволоки. Наличие пылевидного шелушения цинкового покрытия в местах скрутки не является браковочным признаком. Механические свойства проволоки плотность цинкового покрытия и толщина полимерного покрытия должны соответствовать данным Табл. 2.

В сетке не допускается наличие не скрученных участков смежных проволок. Сетки в процессе изготовления свертываются в рулоны. Длина сетки в рулоне должна быть от 25 до 100 м. По согласованию с потребителем допускается изготавливать сетки меньшей длины, а также сетки в картах. Масса одного рулона сетки не должна превышать 1000 кг.

Согласно правилам приемки сетки предъявляются к приемке партиями. Партия должна состоять из сетки одного типа, одной ширины и оформлена одним документом о качестве, содержащим:

·     товарный знак или наименование и товарный знак предприятия-изготовителя;

·     условное обозначение сетки;

·     ширина и длина сетки, мм;

·     общее количество сетки, м2;

·     количество рулонов (пакетов, карт), шт.

Для проверки качества сетки от партии отбирают один рулон или три карты из одного или разных пакетов в зависимости от сменной выработки. В каждом отобранном рулоне (карте) проверяют: диаметр основной проволоки, диаметр проволоки кромки, ширину сетки, среднее арифметическое значение ширины ячейки, качество скрутки. При получении неудовлетворительных результатов проверки хотя бы по одному из показателей, по нему проводят повторную проверку на удвоенном количестве рулонов.

Согласно методам испытаний, предусматриваемых ТУ 14-178-351-98, качество поверхности сетки и наличие нескрученных участков проверяют визуально при перемотке каждой сетки. Диаметр проволок измеряют микрометром, ГОСТ 6507-90. Ширину сетки контролируют рулеткой металлической, ГОСТ 7502-89. Испытание проволоки на растяжение проводят в соответствии с ГОСТ 10146-80.

Испытание проволоки на навивку проводят в соответствии с ГОСТ 10447-80. Ширину ячейки S1 определяют штангенциркулем ШЦ-1 с ц. д. 0,1 мм, ГОСТ 166-89. Средняя арифметическая ширина ячеек определяется как частное от деления ширины сетки В на количество полных ячеек в ряду. Качество цинкового покрытия определяют визуально, массу цинкового покрытия определяют весовым методом в соответствии с ГОСТ 3282-74. Средства измерения должны быть поверены или калиброваны.

Согласно требованиям ТУ 14-178-351-98 к маркировке, упаковке, транспортированию и хранению отрезанный край полотна каждого рулона должен быть закреплен по ширине через 300 мм мягкой проволокой. Рулоны сетки могут разрезаться на карты. Размеры карт согласовываются с потребителем. Сетки формируются в пакеты из рулонов или карт по ГОСТ 24597-81. Сетки в картах должны транспортироваться связанными в пакеты. Пакет должен состоять из сеток одного типа.

Количество сеток в пакете и масса пакета устанавливается предприятием-изготовителем или оговаривается в заказе (контракте). Масса пакета не должна превышать 1000 кг. Пакет, сформированный из трех рулонов сеток, увязывается вязками из мягкой проволоки в торцевых частях пакета на расстоянии 50-100 мм от края. На ярлыке, прикрепленному к каждому пакету или рулону сетки, указывают:

·     товарный знак или наименование и товарный знак предприятия-изготовителя;

·     условное обозначение сетки;

·     ширина и длина сетки, мм;

·     общее количество сетки, м2.

Сетки транспортируют любым видом транспорта. Они должны храниться в закрытых помещениях в штабелях высотой не более 2 метров. Рулоны сеток должны складироваться не более, чем в три яруса.

Таблица 1

Тип сетки

Диаметр проволоки, d, мм1)

Диаметр проволоки кромки, d, мм1)

Ширина ячейки (расстояние между скрутками), S1, мм

S2, мм2)

Ширина полотна сетки, В, мм

Масса3) 1 м2, кг/м2

Номинал

Предел. отклон.

Номинал

Предел. отклон.

Номинал

Предел. отклон.

Номинал

Предел. отклон.

8×10-2.0

2.0

± 0,06

2,4

± 0,06

80

+10 %

100

1000-4000

± 50

1,020

8×10-2.0

2,5

8×10-2.2

2.2

2,7

± 0,08

1,23

8×10-2.2

2,8

8×10-2.4

2.4

3,0

1,450

8×10-2.5

2.5

3,0

1,60

8×10-2.7

2.7

± 0,08

3,4

± 0,10

1,65

8×10-2.8

2.8

3,9

1,75

8×10-3.0

3.0

3,9

1,90

Таблица 2

Номин. диам. готов. провол., мм

Пред. отклон. по диаметру, мм

Врем. сопрот. Н/мм2

Относитльн. удлин. % не менее

Плотность цинкового покрытия, г/м2, не менее

Спиральная навивка

01

02

03

Диам. стержня (число витков)

2,0

± 0,06

350-500

12

50

90

240

5d (6)

2,2

60

100

2,4

260

2,5

2,7

± 0,08

70

110

2,8

3,0

275

3,4

± 0,10

3,9

80

120

290

Приложение 2

Основные параметры и размеры отечественных сетчатых конструкций для изготовления габионных структур

Промышленное производство отечественных металлических сетчатых конструкций для изготовления габионных структур освоено ОАО «Череповецкий сталепрокатный завод» (ОАО «ЧСПЗ»).

Изготовление этих конструкций, их основные параметры и размеры, технические требования, правила приемки, методы контроля, упаковка, маркировка и транспортировка обусловлено Техническими условиями ТУ 14-178-350-98 (впервые): «Сетчатые конструкции».

Технические условия разработаны ОАО «ЧСПЗ», утверждены 08.12.1998 г., согласованы с Управлением торговли Мэрии г. Череповца, введены в действие с 09.12.1998 г. (без ограничения срока), держатель подлинника - ОАО «ЧСПЗ», предоставлены Союздорпроекту для использования 16.10.2000 г. (№ 11-003/6-944ф).

Регламентированные этими Техническими условиями подразделяются по форме и количеству ячеек:

·     коробчатые конструкции (К);

·     коробчатые конструкции с диафрагмами (КД);

·     многоячеистые конструкции с диафрагмами (МД);

·     коробчатые конструкции с диафрагмами и с армирующей панелью (АД).

Основные параметры и размеры приведены в табл. 1, 2, 3, 4 и на прилагаемых к ним рисунках.

Техническими условиями обусловлены следующие условные обозначения:

·     коробчатые конструкции с размерами - длина 2 м, ширина 1 м, высота 0,5 м из проволоки оцинкованной диаметром 2,7 мм, 1 группы покрытия:

Конструкция К-2×1×0,5-2,7-01 ТУ 14-178-350-98;

·     коробчатые конструкции с размерами - длина 2 м, ширина 1 м, высота 0,5 м из проволоки оцинкованной 1 группы покрытия, диаметром 2,7 мм, покрытой полимером:

Конструкция К-2×1×0,5 - 2,7/3,7 - 01П ТУ 14-178-350-98;

·     коробчатые конструкции с двумя диафрагмами с размерами - длина 3 м, ширина 1 м, высота 0,5 м из проволоки оцинкованной 1 группы покрытия, диаметром 2,7 мм, покрытой полимером:

Конструкция КД2 - 3×1×0,5 - 2,7/3,7 - 01П ТУ 14-178-350-98;

·     многоячеистые конструкции с размерами - длина 5 м, ширина 2 м, высота 1 м с 4 диафрагмами из оцинкованной проволоки диаметром 3,0 мм, 3 группы покрытия:

Конструкция МД4 - 5×2×1 - 3,0 - 03 ТУ 14-178-350-98;

·     коробчатые конструкции с армирующей панелью и одной диафрагмой с размерами - длина 2 м, ширина 1 м, высота 1 м, длина армирующей панели - 6 м из оцинкованной проволоки 2 группы покрытия диаметром 3,0 мм, покрытой полимером.

Конструкция АД1 - 6×2×1×1 - 3,0/4,0 - 02П ТУ 14-178-350-98.

Согласно технических требований ТУ 14-178-350-98, сетчатые конструкции должны изготовляться в соответствии с требованиями настоящих технических условий по технологическому регламенту, утвержденному в установленном порядке, из сетки металлической с шестиугольными ячейками типа 8×10 по ТУ 14-178-351-98. Вид покрытия оговаривается в заказе.

Формирование конструкции должно осуществляться путем загибки сетки и пришивки к ней торцевых стенок и диафрагм увязочной проволокой. Края полотна сетки, не закрепленные проволокой кромки в элементах конструкции должны быть закреплены стержнем диаметром равным диаметру проволоки кромки.

Развертка конструкции должна быть уложена. При укладке развертки пришитые к основанию торцевые стенки и диафрагмы укладываются на дно конструкции, боковые стенки и крышка сгибаются на 180° до необходимого размера. Уложенные развертки формируются в пакет массой до 1500 кг. Допустимые отклонения на линейные размеры конструкций составляют ± 5 %.

Согласно правилам приемки конструкции принимаются партиями. Партия должна состоять из конструкций одного размера, одного типа, одного материала и оформлена одним документом о качестве. Документ о качестве должен содержать:

·     товарный знак или наименование и товарный знак предприятия-изготовителя;

·     условное обозначение конструкции;

·     количество конструкций в партии;

Для проверки комплектности конструкции (количество диафрагм, наличие крышек в многоячеистых конструкциях), соответствия размеров, качества крепления диафрагм и торцевых стенок, качества покрытия проволоки отбирают 3 конструкции от партии. При наличии неудовлетворительных результатов проводят повторную проверку на удвоенном количестве конструкций. Результаты повторной проверки распространяются на всю партию и в случае неудовлетворительных результатов проводят 100 % разбраковку партии.

Согласно регламентированных ТУ 14-178-350-98 методов контроля качество покрытия, качество крепления диафрагм и торцевых стенок должно определяться визуально.

Требованиями к упаковке и маркировке установлено, что каждый пакет конструкции должен увязываться в трех местах увязочной проволокой и в двух местах проволокой для строповки в соответствии с НТД. К каждому пакету должен быть прикреплен ярлык, на котором указывают:

·     товарный знак или наименование и товарный знак предприятия-изготовителя;

·     условное обозначение конструкции;

·     длина и ширина пакета, м.;

·     количество конструкций в пакете, шт.;

·     масса пакета, кг.

Сетчатые конструкции возможно транспортировать всеми видами транспорта в соответствии с ГОСТ 5336-80.

Таблица 1

Основные размеры коробчатых конструкций формы К (Рис. 1)

Размеры, м

Масса одной конструкции* из проволоки, кг

Длина, L

Ширина, B

Высота, H

оцинкованной

с полимерным покрытием

(диаметр проволоки сетки)/диаметр увязочной проволоки, мм

(2,7)/2,2

(2,8)/2,2

(3,0)/2,5

(3,0)/2,5

(2,7/3,7)/2,4

(2,7/3,7)/2,5

1

1

0,5

6,9

7,3

8,0

8,8

8,4

9,2

1,5

1

0,5

9,6

10,2

11,0

12,1

11,6

12,8

1

1

1

10,4

11,0

12,0

13,2

12,6

13,9

2

1

0,5

13,5

14,3

16,0

17,6

16,5

18,1

3

1

0,5

18,5

19,6

21,7

23,9

22,6

24,9

1,5

1

1

15,1

16,0

17,3

19,0

18,4

20,2

2

1

1

18,5

19,6

21,4

23,5

22,6

24,9

4

1

0,5

23,8

25,2

27,5

30,2

29,2

32,1

3

1

1

25,1

26,6

29,0

31,9

30,9

34,0

4

1

1

31,8

33,7

36,2

39,8

39,2

43,1

Таблица 2

Основные размеры коробчатых конструкций формы КД (Рис. 2)

Размеры, м

Количество диафрагм, шт.

Масса одной конструкции* из проволоки, кг

Длина, L

Ширина, B

Высота, H

оцинкованной

с полимерным покрытием

(диаметр проволоки сетки)/диаметр увязочной проволоки, мм

(2,7)/2,2

(2,8)/2,2

(3,0)/2,5

(3,0)/2,5

(2,7/3,7)/2,4

(2,7/3,7)/2,5

2

1

0,5

1

14,5

15,4

17,1

18,8

17,1

18,8

3

1

0,5

2

20,4

21,6

23,8

26,2

24,7

27,2

2

1

1

1

20,4

21,6

23,2

25,5

23,6

26,0

4

1

0,5

3

26,5

28,1

30,4

33,4

30,6

33,7

3

1

1

2

28,6

30,3

33,1

36,4

33,6

37,0

4

1

1

3

35,3

37,3

40,2

44,2

41,8

46,0

Таблица 3

Основные размеры коробчатых конструкций формы МД (Рис. 3)

Размеры, м

Количество диафрагм, шт.

Масса одной конструкции* из проволоки, кг

Длина, L

Ширина, B

Высота, H

оцинкованной

с полимерным покрытием

(диаметр проволоки сетки)/диаметр увязочной проволоки, мм

(2,7)/2,2

(2,8)/2,2

(3,0)/2,5

(3,0)/2,5

(2,7/3,7)/2,4

(2,7/3,7)/2,5

2

1

0,17

1

9,0

9,5

10,4

11,4

10,9

12,0

3

2

0,5

2

35,9

38,0

43,6

48,0

42,4

46,6

4

2

0,5

3

47,1

49,9

56,4

62,0

55,3

60,8

2

2

1

2

48,9

51,8

54,7

60,2

56,0

61,6

5

2

0,5

4

57,7

61,2

68,1

74,9

68,3

75,1

4

2

1

3

64,2

68,0

72,6

79,9

73,6

81,0

5

2

1

4

78,9

83,6

89,4

98,3

89,5

98,4

Таблица 4

Основные размеры коробчатой конструкции формы АД (Рис. 4)

Размеры, м

Количество диафрагм, шт.

Масса одной конструкции* из проволоки с полимерным покрытием, кг

Коробчатой конструкции

Армирующей панели

(диаметр проволоки сетки)/диаметр увязочной проволоки, мм

Длина, L

Ширина, B

Высота, H

Длина, L

Ширина, B

(3,0/4,0)/2,8

2

1

1

6

2

1

54,4

А - армирующая панель из металлической сетки двойного кручения

Б - диафрагма из сетки двойного кручения

Рис. 1.

Рис. 2.

Рис. 3.

Рис. 4.

Список литературы

1. Пособие к СНиП 2.05.03-84* (Мосты и трубы) по изысканиям и проектированию железнодорожных и автодорожных мостовых переходов через водотоки (ПМП-91) / Корпорация «Трансстрой», ПКТИтрансстрой. - М.: ЦНИИС, 1992. - 411 с.

2. Пособие по гидравлическим расчетам малых водопропускных сооружений / ЦНИИС, ГУПиКС Минтрансстроя СССР. - М.: Транспорт, 1992. - 408 с.

3. Альбом конструкций крепления откосового земляного полотна железных и автомобильных дорог общей сети Союза ССР. Инв. № 750, Мосгипротранс. - Введ. в действие Мосгипротрансом приказом № 134 17.09.1970. - М., 1970. - 197 с.

4. Защита дорожных откосов от эрозии и склоновых процессов и организация водоотведения методом «Эколандшафт»: СП 22-101-98: одобрен Госстроем России (письмо от 19.06.98 г. № 12-207). - Введ. 01.07.98 НПО «Эколандшафт» (№ 108а от 29.06.98 г.). Изд. офиц. - М.: НПО «Эколандшафт», 1998. - 58 с.

5. Метод «Эколандшафт» // Строительный эксперт. - 1998. - № 16 (35). - С. 25-30.

6. Метод «Эколандшафт» / НПО «Эколандшафт»: буклетное издание. - М., 1998 - 23 с.

7. Габионы из пластмассовых сеток фирмы «Netlon» (Великобритания) // Транспортное строительство за рубежом: Экспресс-информ / ВПТИтрансстрой. - 1990. - № 21. - С. 8 - 10.

8. Шевченко К. И. Технико-экономическое обоснование применения габионных структур для целей инженерной защиты территорий / Московское представительство итальянской фирмы «Офичине Маккаферри». - М., 1996. - 64 с.

9. Шевченко К. И. Габионы - надежная защита грунтов от эрозии // Гидротехническое строительство. - 1996. - № 11. - С. 33-37.

10. Officine Maccaferri S.p.A., R. Agostini, F. Ferrario, A. Papetti. Flexible gabion and Reno mattress structures in river and stream training work. Section two. Labanti e Nanni, Bologna 1989.

11. Officine Maccaferri S.p.A., R. Agostini, A. Conte, A. Conte, G. Malaguti, A. Papetti. Flexible lining in Reno mattresse and gabions for canals and canalized water courses. Labanti e Nanni, Bologna 1985.

12. Габионы Маккаферри: [Проспект фирмы] / Офичине Маккаферри С.п.А. - [Б.м.], [Б.г.]. - 1990. - 15 с.

13. Officine Maccaferri S.p.A., A. Papetti. Flexible gabion structures in earth retaining works. Bologna/Italy, 1987.

14. Officine Maccaferri S.p.A., R. Agostini, A. Bizzarri, M. Mazetti, A. Papetti. Flexible gabion and Reno mattress structures in river and stream training. Part two. Bologna/Italy, 1987.

15. Технические решения габионных конструкций: сборник типовых решений / ЗАО «Габионы Маккаферри СНГ». - М., 1996. - 32 с.

16. Крепление оголовков водопропускных сооружений: сборник типовых решений / ЗАО «Габионы Маккаферри СНГ». - М., 1996. - 15 с.

17. Водоотводные сооружения на автомобильных дорогах общей сети Союза ССР: 5-09-7.84. Типовые материалы для проектирования / Союздорпроект: Утверждены и введены Минтрансстроем СССР 28.03.84 (распоряжение № АВ-80). - М.: ЦИТП Госстроя СССР, 1985. - 74 с.

18. Чарла М., Шевченко К. И. Габионные сооружения в морской берегозащите. Сборник рефератов. Международная конференция «Каспий-95». - М., 1995. - 118 с.

19. Отчет НИР. Применение металлических сеток и геотекстильных материалов в практике строительства объектов водохозяйственного комплекса. - М.: ВодНИИинформпроект, 1993. - 109 с.

20. Officine Maccaferri S.p.A. Gabions Terramesh system. Labanti & Nanni, Bologna/Italy, 1997.

21. Временные технические указания по применению габионов для усиления насыпей на скоростной линии Санкт-Петербург-Москва. - МПС, 1997.

22. Перевозников Б. Ф. Откосно-прибрежные укрепления автомобильных дорог. - М., 1993. - 78 с. (ОИ/Информавтодор, вып. 5. Автомобильные дороги).

23. Перевозников Б. Ф. Защита опор мостов от размывов. - М., 1998. - 72 с. (Автомобильные дороги: Обзорная информация / Информавтодор, вып. 6).

24. Летопись строительства и реконструкции Московской кольцевой автомобильной дороги (1936-1998 гг.). - М.: Союздорпроект, 1998. - 184 с.

25. Внутрихозяйственные автомобильные дороги в колхозах, совхозах и других сельскохозяйственных предприятиях и организациях: СНиП 2.05.11-83: Утв. Госстроем СССР 30.12.83 г. (№ 344). - Введ. 01.01.85 г. - Изд. офиц. - М.: Стройиздат, 1984. - 23 с.

26. Промышленный транспорт: СНиП 2.05.07-91*: Утв. Госстроем СССР 28.11.91 (№ 18). - Введ. 01.07.92. - Изд. офиц. - М.: Минстрой России, ГП ЦПП, 1996. - 112 с.

27. Градостроительство. Планировка и застройка городских и сельских поселений: СНиП 2.07.01-89: Утв. Госстроем СССР 16.05.1989 (№ 78). - Введ. 01.01.90 - Изд. офиц. - М.: ЦИТП Госстроя СССР, 1989. - 56 с.

28. Защита горных выработок от подземных и поверхностных вод: СНиП 2.06.14-85: Утв. Госстроем СССР 23.04.85 (№ 53). - Введ. 01.01.86. - Изд. офиц. - М.: ЦИТП Госстроя СССР, 1985. - 40 с.

29. Земляное полотно автомобильных дорог общего пользования: 503-0-48.87. Типовые материалы для проектирования / Союздорпроект: Утв. Минтрансстроем СССР 30.03.87 (протокол № 7). - М.: ЦИТП Госстроя СССР, 1987. - 55 с.

30. Конструкции укрепления откосов земляного полотна автомобильных дорог общего пользования: Сер. 3.503.9-78. Вып. О. Материалы для проектирования. Вып. 1. Изделия бетонные и железобетонные / Союздорпроект: Утв. Минтрансстроем СССР 06.05.88 (протокол № АВ-299). Введ. 07.05.88 (приказ № 144 пр). - М.: ЦИТП Госстроя СССР, 1988. - 110 с.

31. Методические указания по оценке местной устойчивости откосов и выбору способов их укрепления в различных природных условиях. - М.: ЦНИИС, 1970. - 60 с.

32. Методическое пособие по изысканиям, проектированию и расчетам периодически затопляемых участков автомобильных дорог и искусственных сооружений в соответствии с особенностями их строительства, эксплуатации, содержания и воздействия на окружающую среду. - М.: Союздорпроект, 1998. - 289 с.

33. Руководство по защите дорожно-мостовых сооружений от селевых потоков. - М.: Союздорпроект, 1993. - 394 с.

34. Феррайолло Ф. Экономическое сравнение применения габионных структур в удерживающих сооружениях по сравнению с бетонными аналогами. - Officine Maccaferri, Bologna, 1994.

35. Алтунин С. Т. Методические рекомендации по применению габионов. - М., 1953.

36. Алтунин С. Т. Регулирование русел. - М.: Сельхозиздат, 1962.

37. Технические указания по применению габионов для усиления земляного полотна /МПС, МИИТ (ТУ)-М.: ПТКБ ЦП МПС, 1998 - 140 с.

38. Комплекс сооружений для инженерной защиты склонов и очистки поверхностных вод /ТПО «Ландшафтная архитектура» - М.: 1999 - 9 с.

39. Научный отчет по теме: «Новый способ очистки поверхностных вод - фильтрационный бассейн» /ЗАО ТПО «Ландшафтная архитектура» - М.: 1999 - 85 с.

40. Экспертное заключение по комплексу сооружений, предназначенных для инженерной защиты склонов и очистки поверхностных вод от загрязнения, разработанных ЗАО ТПО «Ландшафтная архитектура»/ РАН Институт Геоэкологии: М.: 1999 - 17 с.

41. Автомобильные дороги: СНиП 2.05.02-85: Утв. 17.12.1985 (№ 233). - введ. 01.01.1987. - Изд. офиц. - М.: ЦИТП Госстроя СССР, 1986. - 56 с.

42. Перевозников Б. Ф. Новые прогрессивные решения по применению габионных конструкций в дорожно-мостовом строительстве. // Автомоб. дороги: Информ. сб./Информавтодор. - 1999. - Вып. 6. - С. 22-31




Яндекс цитирования



   Copyright © 2007-2026,  www.tehlit.ru.

[ ѓосты, стандарты, нормативы, инструкции, правила, строительные нормы ]