//
ТехЛит.ру
- крупнейшая бесплатная электронная интернет библиотека для "технически умных" людей.
WWW.TEHLIT.RU - ТЕХНИЧЕСКАЯ ЛИТЕРАТУРА

:: Алготрейдинг::


АЛГОТРЕЙДИНГ
шаг за шагом
с нуля по урокам!

Торговые роботы на PYTHON, BackTrader,
Pandas, Pine Script для TradingView. Связка с брокерами, телеграм и легкими приложениями.


ГОСТ Р 50571.27-2003

(МЭК 60364-7-740-2000)

ГОСУДАРСТВЕННЫЙ СТАНДАРТ РОССИЙСКОЙ ФЕДЕРАЦИИ

ЭЛЕКТРОУСТАНОВКИ ЗДАНИЙ

ЧАСТЬ 7-740

ТРЕБОВАНИЯ К СПЕЦИАЛЬНЫМ
УСТАНОВКАМ ИЛИ МЕСТАМ
ИХ РАСПОЛОЖЕНИЯ

ВРЕМЕННЫЕ ЭЛЕКТРИЧЕСКИЕ УСТАНОВКИ
ДЛЯ СООРУЖЕНИЙ, УСТРОЙСТВ ДЛЯ РАЗВЛЕЧЕНИЙ
И ПАВИЛЬОНОВ НА ЯРМАРКАХ
, В ПАРКАХ РАЗВЛЕЧЕНИЙ
И ЦИРКАХ

ГОССТАНДАРТ РОССИИ

Москва

Предисловие

1 РАЗРАБОТАН Всероссийским научно-исследовательским и проектноонструкторским институтом Тяжпромэлектропроект (ВНИПИ ТПЭП) и Всероссийским научно-исследовательским институтом стандартизации и сертификации в машиностроении (ВНИИНМАШ) при участии специалистов ЗАО «Парк-трейд»

ВНЕСЕН Техническим комитетом по стандартизации ТК 337 «Электроустановки зданий»

2 ПРИНЯТ И ВВЕДЕН В ДЕЙСТВИЕ Постановлением Госстандарта России от 2 апреля 2003 г. № 105-ст

3 Настоящий стандарт представляет собой аутентичный текст международного стандарта МЭК 60364-7-740:2000, издание 1.0 «Электроустановки зданий. Часть 7-740. Требования к специальным установкам или местам их расположения. Временные электрические установки для сооружений, устройств для развлечений и павильонов на ярмарках, в парках развлечений и цирках» с дополнительными требованиями, учитывающими потребности экономики страны

4 ВВЕДЕН ВПЕРВЫЕ

СОДЕРЖАНИЕ

Введение

Настоящий стандарт разработан в дополнение к комплексу государственных стандартов на электроустановки зданий, разрабатываемых Техническим комитетом по стандартизации ТК 337 «Электроустановки зданий» на основе стандартов Международной электротехнической комиссии МЭК 364 «Электроустановки зданий».

Нумерация разделов, пунктов и подпунктов в настоящем стандарте, начиная с пункта 740.2.1, соответствует нумерации, принятой также в МЭК 60364-7-740-2000. Нумерация пунктов, приведенная в скобках, соответствует нумерации пунктов МЭК 60364-7-740-2000.

Требования настоящего стандарта дополняют, изменяют или заменяют требования других частных стандартов комплекса государственных стандартов на электроустановки зданий.

Отсутствие в настоящем стандарте ссылок на главу, раздел или пункт стандартов комплекса ГОСТ Р 50571 означает, что соответствующие требования комплекса стандартов также распространяются на объект стандартизации.

Необходимость разработки стандарта обусловлена тем, что в настоящее время в нормативных документах разного уровня не установлены требования, учитывающие специфику устройства электроустановок временных сооружений в местах массовой торговли, отдыха и развлечений. Необходимость нормирования требований безопасности таких электроустановок актуальна ввиду того, что владельцами временных сооружений в местах массового скопления людей в ряде случаев являются предприятия малого и среднего бизнеса и частные предприниматели, практически не имеющие специальной подготовки в области электробезопасности.

Установленные в настоящем стандарте в общем виде требования обеспечивают защиту людей и животных от поражения электрическим током, однако не в полной мере пригодны в качестве руководства для проектирования подобных электроустановок и их эксплуатации. Конкретные рекомендации по соблюдению требований настоящего стандарта в зависимости от многообразия решений по источникам питания, системам заземления, состава электрооборудования временных сооружений и условий внешних воздействующих факторов должны быть установлены в «Правилах устройства электроустановок» и руководящих документах проектных и эксплуатирующих предприятий и организаций, а также надзорных органов.

ГОСУДАРСТВЕННЫЙ СТАНДАРТ РОССИЙСКОЙ ФЕДЕРАЦИИ

Электроустановки зданий

Часть 7-740

ТРЕБОВАНИЯ К СПЕЦИАЛЬНЫМ УСТАНОВКАМ ИЛИ МЕСТАМ ИХ РАСПОЛОЖЕНИЯ

Временные электрические установки для сооружений, устройств для развлечений и павильонов на ярмарках, в парках развлечений и цирках

Electrical installations of buildings. Part 7-740. Requirements for special installations or locations. Temporary electrical installations for structures, amusement devices and booths at fairgrounds, amusement parks and circuses

Дата введения 2004-01-01

1 (740.1) Область применения, назначение и основные принципы

Настоящий стандарт в дополнение к требованиям комплекса ГОСТ Р 50571 на электроустановки зданий устанавливает специальные требования к электроустановкам мобильных, временно или постоянно устанавливаемых сооружений и механизмов со встраиваемым электрооборудованием. Сооружения и механизмы предполагают их повторное использование без снижения характеристик безопасности, временно или постоянно, на ярмарках, в парках развлечений, цирках или любых других местах.

Стандарт устанавливает требования к электроустановкам указанных сооружений и механизмов, которые являются либо составной частью аттракциона, либо представляют собой аттракцион в целом.

Требования настоящего стандарта в части, касающейся электроустановок площадок для аттракционов, относятся к области установления требований по защите от поражения электрическим током, обеспечиваемой электрооборудованием аттракционов и электроустановкой в их взаимосвязи. Требования безопасности электрооборудования аттракционов установлены в ГОСТ Р МЭК 60204.1.

Требования, дополняющие МЭК 60364-7-740-2000 и учитывающие потребности экономики страны, выделены в тексте курсивом.

2 (740.1.2) Нормативные ссылки

В настоящем стандарте использованы ссылки на следующие стандарты:

ГОСТ 30030-93 (МЭК 742-83) Трансформаторы разделительные и безопасные разделительные трансформаторы. Технические требования

ГОСТ 30331.2-95 (МЭК 364-3-93)/ГОСТ Р 50571.2-94 (МЭК 364-3-93) Электроустановки зданий. Часть 3. Основные характеристики

ГОСТ 30331.3-95 (МЭК 364-4-41-92)/ГОСТ Р 50571.3-94 (МЭК 364-4-41-92) Электроустановки зданий. Часть 4. Требования по обеспечению безопасности. Защита от поражения электрическим током

ГОСТ Р МЭК 332-1-96 Испытания кабелей на нераспространение горения. Испытания одиночного вертикально расположенного изолированного провода или кабеля

ГОСТ Р МЭК 332-3-96 Испытания кабелей на нераспространение горения. Испытание проводов или кабелей, проложенных в пучках

ГОСТ Р МЭК 598-2-20-97 Гирлянды световые. Общие технические условия

ГОСТ Р 50030.2-99 (МЭК 60947-2-98) Аппаратура распределения и управления низковольтная. Часть 2. Автоматические выключатели

ГОСТ Р 50043.4-2000 (МЭК 60998-2-3-91) Соединительные устройства для низковольтных цепей бытового и аналогичного назначения. Часть 2-3. Частные требования для соединительных устройств с контактными зажимами, прокалывающими изоляцию медных проводников для их соединения

ГОСТ Р 50571.10-96 (МЭК 364-5-54-80) Электроустановки зданий. Часть 5. Выбор и монтаж электрооборудования. Глава 54. Заземляющие устройства и защитные проводники

ГОСТ Р 51322.1-99 (МЭК 60884-1-94) Соединители электрические штепсельные бытового и аналогичного назначения. Часть 1. Общие требования и методы испытаний

ГОСТ Р 51322.2.5-99 (МЭК 60884-2-5-95) Соединители электрические штепсельные бытового и аналогичного назначения. Часть 2. Дополнительные требования к переходникам (адаптерам) и методы испытаний

ГОСТ Р 51326.1-99 (МЭК 61008-1-96) Выключатели автоматические, управляемые дифференциальным током, бытового и аналогичного назначения без встроенной защиты от сверхтоков. Часть 1. Общие требования и методы испытаний

ГОСТ Р 51327.1-99 (МЭК 61009-1-96) Выключатели автоматические, управляемые дифференциальным током, бытового и аналогичного назначения со встроенной защитой от сверхтоков. Часть 1. Общие требования и методы испытаний

ГОСТ Р МЭК 60204.1-99 Безопасность машин. Электрооборудование машин и механизмов. Часть 1. Общие требования

ГОСТ Р 61293-2000 Оборудование электротехническое. Маркировка с указанием характеристик источника питания. Требования безопасности

3 (740.2) Определения

В настоящем стандарте применяют следующие термины с соответствующими определениями.

740.2.1 ярмарочная площадка: Площадка с одним или несколькими стендами, аттракционами или павильонами, служащими для развлечений.

740.2.2 павильон или вагончик: Объект, обычно транспортируемый и предназначенный для установки оборудования, как правило, для развлекательных или демонстрационных целей.

740.2.3 стенд: Площадка или временное сооружение, используемые для показа, маркетинга, продаж, развлечений и т.п.

740.2.4 устройство для развлечений: Аттракцион, подиум, шатровое (балаганного типа) сооружение, боковые (вдоль проходов посетителей) прилавки или витрины, тенты, кабины и т.п., предназначенные для развлечения публики.

740.2.5 временное сооружение: Отдельный объект или его часть, включая передвижные (переносные) элементы, находящиеся внутри или снаружи помещения, с конструкцией, предназначенной для монтажа и демонтажа.

740.2.6 временная электроустановка: Электрическая установка для монтажа и демонтажа одновременно с сооружением, к которому она относится.

740.3 Общие требования

740.31 Назначение, источники питания и конструкция

740.313 Источники питания

740.313.1.3 Напряжение

Номинальное напряжение питания временных электрических установок в павильонах, стендах и аттракционах не должно превышать 380/220 В переменного тока.

740.313.3 Питание от сети общего назначения

Независимо от количества источников питания объединение фазных проводников и рабочих нулевых проводников различных источников не допускается.

Примечание - Примеры выполнения схем электроснабжения установок приведены в приложении А.

740.4 Требования по обеспечению безопасности

740.41 Защита от поражения электрическим током

740.412 Защита от поражения электрическим током в нормальных условиях эксплуатации (защита от прямого прикосновения или основная защита)

740.412.5 Дополнительная защита посредством автоматических выключателей дифференциального тока

За исключением аварийного освещения все цепи к светильникам, розеткам на номинальный ток до 32 А включительно и к переносному оборудованию, подключаемому посредством гибкого кабеля или шнура с нагрузочной способностью по току 32 А или менее, должны быть дополнительно защищены посредством автоматических выключателей дифференциального тока с номинальным током срабатывания, не превышающим 30 мА.

Это требование не распространяется на розетки, питаемые от цепи с одной или несколькими мерами защиты, перечисленными ниже:

- система БСНН (система безопасного сверхнизкого напряжения);

- защита электрическим разделением цепей;

- защита автоматическим отключением питания и понижением напряжения.

740.413 Защита от косвенного прикосновения

740.413.1 Защита автоматическим отключением питания

Примечание - При питании электродвигателей переменного тока большой мощности рекомендуется применять автоматические выключатели дифференциального тока с выдержкой времени.

740.413.1.3 Система TN

Для электрических сетей с системой заземления TN внутри установки должна быть применена система TN-S.

740.413.1.5 Система IT

При наличии выбора вариантов систем заземления система IT применяться не должна. В случаях применения системы заземления IT следует предусмотреть постоянный контроль изоляции в соответствии с МЭК 62020 [1].

740.413.1.6 Дополнительный контур уравнивания потенциалов

740.413.1.6.1 В местах, используемых для содержания животных, дополнительный контур уравнивания потенциалов должен соединять все открытые проводящие части и сторонние проводящие части, к которым возможно одновременное прикосновение, с защитным проводником электроустановки.

740.462 Отключение

740.462.1 Каждая отдельная временная электроустановка устройства для развлечений и каждая распределительная сеть, питающая наружные установки, должны оснащаться легкодоступными средствами отключения с соответствующей маркировкой.

740.47 Применение защитных мер от поражения электрическим током

740.471 Меры защиты от поражения электрическим током

740.471.1 Защита от поражения электрическим током при нормальной эксплуатации

Меры защиты от прямого прикосновения посредством барьеров (см. ГОСТ 30331.3, пункт 412.3) и размещения вне пределов досягаемости (см. ГОСТ 30331.3, пункт 412.4) не допускаются.

740.471.2 Защита от поражения электрическим током при коротком замыкании

Меры защиты от косвенного прикосновения посредством расположения в непроводящей среде (см. ГОСТ 30331.3, пункт 413.3) и посредством контура уравнивания потенциалов, не имеющего соединения с землей (см. ГОСТ 30331.3, пункт 413.4), не допускаются.

740.48 Выбор мер защиты в зависимости от внешних воздействий

740.481 Выбор мер защиты от поражения электрическим током в зависимости от внешних воздействий

740.481.1.4 В случае применения мер защиты от косвенного прикосновения посредством автоматического отключения питания в местах возможного содержания животных, где безопасным принято напряжение UL = 25 В переменного тока или 60 В постоянного тока, время отключения должно соответствовать указанному в МЭК 60364-4-481, таблица 48А (0,1 с при U = 220 В) [2].

Эти условия также распространяются на места, соединяемые посредством проводящих частей с местами в помещениях, где могут содержаться животные.

740.481.3 Выбор мер защиты при косвенном прикосновении

740.481.3.1.3 Автоматическое отключение питания от временных сооружений должно предусматриваться на вводе с помощью автоматических выключателей дифференциального тока, номинальный дифференциальный отключающий ток которых не превышает 300 мА.

Эти выключатели должны иметь встроенную выдержку времени по условиям ГОСТ Р 50030.2 или соответствовать типу S по ГОСТ Р 51326.1 или ГОСТ Р 51327.1 для селективности срабатывания с автоматическими выключателями, защищающими конечную цепь к потребителю.

Примечание - Рекомендации по дополнительной защите связаны с увеличением риска повреждения кабелей в местах временной прокладки. Общие правила и нормы применения автоматических выключателей дифференциального тока приведены в Правилах устройства электроустановок зданий, главы 1.7 и 7.1.

740.481.3.1.4 Чтобы не допустить отключения питания и возникновения опасной ситуации (учитывая в том числе возможность наличия неэлектрической опасности, вызванной внезапным остановом движущихся механизмов или потерей освещения), рекомендуется предусмотреть двойное питание.

740.482 Меры защиты от пожара

740.482.2.8 Электродвигатели, работающие в автоматическом или дистанционном режиме при отсутствии постоянного дежурного персонала, должны иметь устройства тепловой защиты с ручным возвратом.

740.5 Выбор и монтаж электрооборудования

740.51 Общие требования

Аппараты защиты и управления должны размещаться в закрытых шкафах, которые могут быть открыты только специальным ключом или инструментом, за исключением тех частей установки, которые спроектированы и предназначены для пользования любым, необязательно квалифицированным или проинструктированным персоналом (код ВА1 по ГОСТ 30331.2, пункт 322.1).

740.52 Электропроводки

740.521 Типы систем проводок

740.521.6 Кабели

Кабели, где возможно, должны иметь гибкую конструкцию.

Бронированные кабели или кабели с защитой от механических повреждений должны использоваться в случаях, где существует опасность механических повреждений.

Все временные силовые распределительные кабели должны быть многожильными, за исключением цепей на ток свыше 125 А, где допускается применение одножильных кабелей.

Все кабели должны соответствовать требованиям ГОСТ Р МЭК 332-1 и ГОСТ Р МЭК 332-3.

Примечание - При необходимости прокладки кабелей, не распространяющих горение и с низким дымо- и газовыделением, они должны соответствовать МЭК 61034-2 [3].

Кабели должны иметь минимальное напряжение 450/750 В за исключением аттракционов, внутри которых допускается использовать кабели и шнуры с минимальным напряжением 300/500 В.

Для трасс кабелей, прокладываемых в земле, должна выполняться маркировка с соответствующими, интервалами. Кабели, прокладываемые в земле, должны иметь защиту от механических повреждений.

740.526 Электрические соединения

Сращивание кабелей и шнуров не допускается за исключением случаев присоединений их к сети. Сращивание кабелей должно быть выполнено в соединительной коробке со степенью защиты не менее IP4X или IPXXD.

Если механические усилия могут передаваться на зажимы, в местах соединений должно выполняться жесткое крепление кабелей.

740.53 Распределительные устройства и устройства управления

740.537 Устройства отключения

Устройства отключения должны отключать все фазы, полюса и нулевой рабочий проводник.

740.537.1 Общие положения

Любая электроустановка павильона, стенда или аттракциона должна иметь в своем составе легкодоступные устройства максимальной токовой защиты и средства отключения.

740.55 Прочее электрооборудование

740.55.01 Осветительные установки

740.55.01.01 Светильники

Все светильники и декоративные гирлянды должны надежно и безопасно крепиться к конструкции или специально предназначенному подвесу. Нагрузка от светильников не должна передаваться на питающие кабели, если кабели не выбирались и не монтировались с учетом этой нагрузки.

Светильники и декоративные гирлянды, устанавливаемые на высоте менее 2,5 м (на расстоянии вытянутой руки) от уровня пола или любым другим способом, доступным для случайного контакта, должны быть прочно закреплены и расположены или защищены механически таким образом, чтобы не допустить опасности травматизма людей или возгорания материалов. Доступ к стационарно установленным светильникам должен быть возможен только после снятия ограждения или защитной сетки посредством использования специального инструмента.

Световые гирлянды, применяемые в электроустановках, должны соответствовать ГОСТ Р МЭК 598-2-20.

740.55.01.02 Патроны для ламп

Патроны с контактными зажимами, прокалывающими изоляцию для соединения, по ГОСТ Р 50043.4 могут использоваться, если кабели и патроны совместимы и при условии, что патрон с кабелем после его установки на кабель имеет фиксированное соединение.

740.55.01.03 Светильники в тирах

Светильники, устанавливаемые в тирах и других подобных местах, должны быть надежно защищены от случайных повреждений.

740.55.01.04 Прожекторы

Переносные прожекторы, если они используются, должны устанавливаться так, чтобы быть недоступными. Питающие кабели должны быть гибкими и иметь соответствующую защиту от механического повреждения.

740.55.01.05 Пожарная безопасность светильников и прожекторов

Светильники и прожекторы должны устанавливаться и быть защищены таким образом, чтобы сфокусированное или сконцентрированное тепло не могло вызывать возгорания любого материала.

740.55.03 Установки с электрическими разрядными лампами

Установки с указателями со светящимися трубками или лампами в качестве светового оформления павильона, стенда или аттракциона с номинальным рабочим напряжением свыше 220 В переменного тока должны соответствовать следующим условиям.

740.55.03.01 Расположение

Рекламный указатель или лампа должны устанавливаться вне пределов досягаемости (более расстояния вытянутой руки) и должны быть защищены соответствующим образом, чтобы снизить риск травматизма людей.

740.55.03.02 Установка (монтаж)

Материал панели или стенда, являющийся основой крепления светящихся трубок, указателей или ламп, должен быть категории Г1 (негорючий).

Аппараты управления с выходным напряжением свыше 220 В переменного тока должны устанавливаться на негорючем основании.

740.55.03.03 Устройства аварийного отключения

Для питания указателей или ламп должна использоваться отдельная цепь с аварийным выключателем. Этот выключатель должен быть хорошо виден, доступен для оперирования и иметь маркировку в соответствии с требованиями органов Госэнергонадзора.

740.55.05 Разделительные трансформаторы и электронные (полупроводниковые) преобразователи в местах повышенной опасности

Разделительные трансформаторы должны соответствовать ГОСТ 30030 и МЭК 61558-2-6 [4] или обеспечивать эквивалентную степень безопасности.

Устройства защиты с ручным возвратом должны предохранять вторичную цепь каждого трансформатора или электронного преобразователя по ГОСТ Р МЭК 60204.1.

Разделительные трансформаторы должны устанавливаться вне зоны досягаемости и иметь соответствующую вентиляцию. Доступ к ним для испытаний и ремонта должен быть разрешен только квалифицированному персоналу.

Электронные преобразователи должны соответствовать МЭК 61046 [5].

Корпус выпрямителей и трансформаторов должен иметь соответствующую вентиляцию. Вентиляционные отверстия при работе вентиляторов не должны загораживаться.

740.55.07 Штепсельные разъемы (розетки и вилки)

В электроустановке должно быть предусмотрено достаточное количество розеток по ГОСТ 51322.1 для подключения различных приемников электрической энергии.

К розетке должно присоединяться не более одного гибкого кабеля или шнура. Не допускается использование многогнездовых адаптеров по ГОСТ Р 51322.2.5.

740.55.08 Электропитание

Место присоединения питания должно быть легкодоступно и иметь маркировку параметров и характеристик источника питания по ГОСТ Р МЭК 61293.

740.551 Генераторные установки низкого напряжения

740.551.8 Генераторы

Все генераторы должны размещаться таким образом или иметь такую защиту, чтобы исключалась опасность травматизма людей вследствие случайного контакта с горячими поверхностями и опасными частями. К понятиям «травматизм» и «опасность» согласно настоящему параграфу также относятся травматизм и опасность неэлектрического происхождения.

Электрооборудование, относящееся к генератору, должно быть надежно установлено, в том числе, в случае необходимости, на вибростойком основании.

Не допускается наличие значительных скачков частоты и/или напряжения на генераторе.

В случаях, когда генератор питает временную установку с системами заземления TN, ТТ или IT, необходимо проверить соответствие взаимодействия систем заземления условиям ГОСТ Р 50571.10, пункт 542.1, а там, где используются заземлители (заземляющие электроды), - а также ГОСТ Р 50571.10, пункт 542.2.

В системах TN все открытые токопроводящие части должны присоединяться к генератору защитным заземляющим проводником сечением в соответствии с ГОСТ Р 50571.10, раздел 543.

Нулевая точка обмоток генератора должна быть присоединена к открытым проводящим частям генератора (требование не распространяется на системы IT).

740.6 Приемосдаточные испытания

Электроустановка в целом должна быть испытана после каждой сборки на монтажной площадке.

ПРИЛОЖЕНИЕ А

правочное)

Примеры выполнения схем электроснабжения объектов

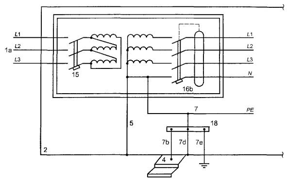
1с - присоединение генератора; 2 - корпус класса 2 или его эквивалент до первого устройства защиты, обеспечивающего автоматическое отключение питания; 4 - лестница (если имеется) из проводящего материала; 5 - присоединение нейтрали к проводящей конструкции установки; 6 - розетки для использования внутри установки; 7 - основной проводник системы уравнивания потенциалов; 7b - подсоединение к проводящим наружным лестничным ступеням; 7d - подсоединение к проводящему корпусу установки; 7е - подсоединение к заземляющему устройству; 10 - розетки для подсоединения электроприемников, используемых снаружи установки; 13 - электроприемники, используемые внутри установки; 15 - устройство защиты от токов перегрузки (например, автоматический выключатель или предохранитель); 16а - автоматический выключатель дифференциального тока на 30 мА для защиты оборудования, используемого снаружи установки; 16b - автоматический выключатель дифференциального тока для защиты оборудования, используемого внутри установки; 18 - главный зажим (шина) заземления

Рисунок А.1 - Пример подсоединения павильона к низковольтному генератору класса 2 или к сети с системой заземления TN-S

- подключение установки к питанию через трансформатор с простым отсоединением; 2 - корпус класса 1 или его эквивалент до первого устройства защиты, обеспечивающего автоматическое отключение питания; 4 - лестница (если имеется) из проводящего материала; 5 - присоединение нейтрали к проводящей конструкции установки; 7 - основной проводник системы уравнивания потенциалов; 7b - подсоединение к проводящим наружным лестничным ступеням; 7d - подсоединение к проводящему корпусу установки; 7е - подсоединение к заземляющему устройству; 15 - устройство защиты от токов перегрузки (например, автоматический выключатель или предохранитель); 16b - автоматический выключатель дифференциального тока для защиты оборудования, используемого внутри установки; 18 - главный зажим (шина) заземления;

Рисунок А.2 - Пример присоединения установки с простым отсоединением и системой заземления TN

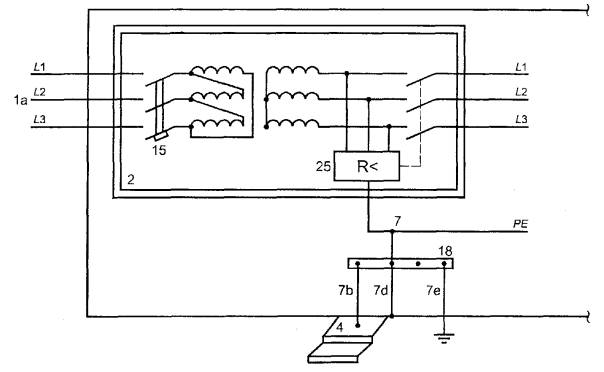
1a - подключение установки к питанию через трансформатор с простым отсоединением; 2 - корпус класса 2 или его эквивалент до первого устройства защиты, обеспечивающего автоматическое отключение питания; 4 - лестница (если имеется) из проводящего материала; 7 - основной проводник системы уравнивания потенциалов; 7b - подсоединение к проводящим наружным лестничным ступеням; 7d - подсоединение к проводящему корпусу установки; 7е - подсоединение к заземляющему устройству; 15 - устройство защиты от токов перегрузки (например, автоматический выключатель или предохранитель); 18 - главный зажим (шина) заземления; 25 - устройство контроля (мониторинга) изоляции

Рисунок А.3 - Пример присоединения установки с простым отсоединением и системой IT с устройством контроля (мониторинга) изоляции и отключения после первого КЗ

10 - розетки для подсоединения электроприемников, используемых снаружи установки; 15 - устройство защиты от токов перегрузки (например, автоматический выключатель или предохранитель); 16а - автоматический выключатель дифференциального тока на 30 мА для защиты оборудования, используемого снаружи установки; 16b - автоматический выключатель дифференциального тока для защиты оборудования, используемого внутри установки; 26 - устройство управления аттракционом; 27 - устройство управления специальным освещением (например, бегущие огни); 28 - вторичные цепи; 29 - безопасный разделительный трансформатор по ГОСТ 30030; 30 - понижающий трансформатор

Рисунок А.4 - Пример подключения аттракциона к стационарной сети с системой заземления TN-S

ПРИЛОЖЕНИЕ В

(справочное)

Библиография

[1] МЭК 62020 : 1998 Оборудование (приборы, дисплеи) для контроля и регистрации дифференциальных токов в электроустановках зданий

[2] МЭК 60364-4-481 : 1993 Электрические установки зданий. Часть 4. Требования обеспечения безопасности. Глава 48. Выбор мер защиты в зависимости от воздействия внешних факторов. Раздел 481. Выбор мер защиты от поражения электрическим током в зависимости от воздействия внешних факторов

[3] МЭК 61034-2 : 1997 Кабели электрические. Измерение плотности дыма при горении в заданных условиях

[4] МЭК 61558-2-6 : 1997 Трансформаторы силовые, блоки питания и аналогичные изделия. Часть 2. Частные требования к изолирующим трансформаторам безопасности

[5] МЭК 61046 : 1993 Электронные (полупроводниковые) понижающие преобразователи с питанием на постоянном или переменном токе для ламп накаливания. Общие требования и требования безопасности

Ключевые слова: электроустановки зданий; временные сооружения; площадки для развлечений; аттракционы; защита от поражения электрическим током




Яндекс цитирования



   Copyright © 2007-2026,  www.tehlit.ru.

[ ѓосты, стандарты, нормативы, инструкции, правила, строительные нормы ]