|
| |
ТИПОВЫЕ ТЕХНОЛОГИЧЕСКИЕ КАРТЫ
НА ПРОИЗВОДСТВО ОТДЕЛЬНЫХ ВИДОВ РАБОТ
РАЗДЕЛ 01
ТИПОВАЯ ТЕХНОЛОГИЧЕСКАЯ КАРТА
НА ЗЕМЛЯНЫЕ И БУРОВЗРЫВНЫЕ РАБОТЫ
1.01.01.67
КОМПЛЕКСНО-МЕХАНИЗИРОВАННЫЙ ПРОЦЕСС
ВЕРТИКАЛЬНОЙ ПЛАНИРОВКИ СТРОИТЕЛЬНОЙ ПЛОЩАДКИ
В ГРУНТАХ III
ГРУППЫ СО СКАЛЬНЫМИ ВКЛЮЧЕНИЯМИ
МОСКВА - 1989
|
РАЗРАБОТАНА
ВНИПИИСТРОМСЫРЬЕ
Главный инженер института Р.А. Родин
Главный инженер проекта В.Н. Буман
|
ОДОБРЕНА
Отделом
организации и технологии строительного производства Госстроя СССР
Письмо
от 14.09.1988 г. № 23-532
Введена в действие с
01.01.1989 г.
|
1.1. Типовая
технологическая карта рекомендуется для выполнения работ при вертикальной
планировке строительной площадки, объемом до 10000 м3 в грунтах со скальными
включениями при сооружении объектов промышленного, жилищно-гражданского и
мелиоративного строительства.
1.2. Типовая
технологическая карта может быть использована для грунтов I-III групп со скальными включениями (до 20 % от общего объема).
1.3. В данной
технологической карте приведен пример вертикальной планировки строительной
площадки с параметрами:
длина - 220 м, ширина - 70 м;
максимальная глубина выемки - 2,5 м;
максимальная высота насыпи - 1,2 м.
Объем насыпи - 4796 м3. Объем выемки - 8215 м3.
1.4. Строительство
осуществляется в средней зоне СССР при положительных температурах воздуха.
1.5. При привязке
технологической карты к конкретному объекту и условиям строительства необходимо
скорректировать объемы работ, группы грунтов, график производства работ и
калькуляцию затрат труда, средства механизации с учетом наличия парка
землеройных механизмов.
2.1. Настоящий
комплексно-механизированный технологический процесс состоит из
подготовительных, основных и отделочных операций.
2.2. К подготовительным
операциям относятся: геодезическая разбивка контуров планировки и нулевой линии
с установкой разбивочных знаков и реперов;
осуществление мероприятий по ограждению планируемой
территории от поступления поверхностных вод;
устройство освещения площадки;
устройство временных подъездных землевозных дорог.
2.3. К основным операциям
относятся:
устройство временных землевозных дорог в пределах участка
планировки;
разработка грунта планировочной выемки с перемещением в
планировочную насыпь (рыхление скальных включений в процессе разработки);
отсыпка грунта планировочной насыпи с разравниванием грунта,
увлажнением или подсушиванием при избыточной влажности и уплотнение грунта.
2.4. К отделочным
операциям относятся:
планировка площадки и откосов выемки, откосов и верха
насыпи.
2.5. Состав вариантов
комплексов машин, применяемых для выполнения основных и отделочных операций
Таблица 1
|
Технологическая операция
|
Варианты
комплексов
|
|
1
|
2
|
3
|
4 (аналог)
|
|
Устройство землевозных автодорог
|
Бульдозер ДЗ-110А
Каток ДУ-47Б
|
Бульдозер ДЗ-42
Каток ДУ-47Б
|
Бульдозер ДЗ-35Б Каток ДУ-47Б
|
Бульдозер ДЗ-27А
Каток ДУ-47Б
|
|
Разработка грунта планировочной выемки
|
Бульдозер ДЗ-110А
Рыхлитель ДП-9С
Экскаватор ЭО-4121Б обратная лопата
Автомобиль-самосвал КамАЗ-5511
Автогрейдер ДЗ-31-1
|
Бульдозер ДЗ-42
Рыхлитель ДП-9С
Экскаватор ЭО-4121Б обратная лопата
Автомобиль-самосвал КамАЗ-5511
Автогрейдер ДЗ-31-1
|
Бульдозер ДЗ-35Б
Рыхлитель ДП-9С
Экскаватор ЭО-4121Б обратная лопата
Автомобиль-самосвал КамАЗ-5511
Автогрейдер ДЗ-31-1
|
Бульдозер ДЗ-27А
Рыхлитель ДП-9С
Экскаватор ЭО-4111Б обратная лопата
Автомобиль-самосвал КамАЗ-5511
Автогрейдер ДЗ-31-1
|
|
Отсыпка грунта планировочной насыпи
|
Бульдозер ДЗ-110А
Каток ДУ-16В
Поливочная машина ПМ-130Б
|
Бульдозер ДЗ-42
Каток ДУ-16В
Поливочная машина ПМ-130Б
|
Бульдозер ДЗ-35Б
Каток ДУ-16В
Поливочная машина ПМ-130Б
|
Бульдозер ДЗ-27А
Каток ДУ-16В
Поливочная машина ПМ-130Б
|
|
Планировочные работы
|
Автогрейдер ДЗ-31-1
|
Автогрейдер ДЗ-31-1
|
Автогрейдер ДЗ-31-1
|
Автогрейдер ДЗ-31-1
|
Ведущими машинами в
комплексе являются:
в варианте 1 - бульдозер ДЗ-110А;
в варианте 2 - бульдозер ДЗ-42;
в варианте 3 - бульдозер ДЗ-35Б;
в варианте 4 - бульдозер ДЗ-27А.
2.6. Технология
производства работ для варианта 1.
При выполнении работ по вертикальной планировке грунт
планировочной выемки частично перемещается в планировочную насыпь, а оставшийся
грунт транспортируется в отвал на 2 км.
Разработка мягкого грунта и разрыхленных скальных включений
планировочной выемки производится бульдозером ДЗ-110А по ярусно-траншейной
схеме с промежуточным накоплением грунта. Вся выемка разделяется по глубине на
несколько ярусов, каждый из которых, в свою очередь, подразделяется на 3 слоя
по 0,10 - 0,15 м. Грунт в каждом ярусе разрабатывается траншеями шириной по 3,2
м, а разделительные стенки (перемычки) грунта между траншеями снимаются
бульдозером после выемки грунта по всей глубине яруса. Разработку грунта выемки
каждого слоя следует производить под уклон, начиная с участка от нулевой линии
работ (границы между выемкой и насыпью).
При первой проходке, двигаясь в сторону насыпи, бульдозер
наполняет грунт в промежуточный валик, при второй и третьей проходках
бульдозера производится накопление промежуточного валика. Затем образовавшийся
большой вал грунта за один раз сталкивается под уклон в отсыпаемую насыпь.
Аналогично выполняются работы по разработке грунта всех трех слоев в траншее
каждого яруса. Разработку грунта стенок (перемычек), оставленных между
траншеями, производят после разработки грунта в смежных траншеях. Перемещаемый
в насыпь грунт укладывают и разравнивают слоями толщиной 0,35 м.
Скальный грунт до начала работы бульдозера, производящего разработку
грунта выемки, рыхлят навесным рыхлителем ДП-9С (на бульдозере ДЗ-118).
Рыхление производится перекрестным способом в двух взаимно-перпендикулярных
направлениях. Сначала выполняются продольные резы на глубину 0,30 м с шагом
рыхления 0,50 м, а затем перпендикулярно к продольным резам наносятся
поперечные резы глубиной 0,30 м с шагом рыхления 0,60 м. При этом эффективная
глубина рыхления равна 0,20 м. Глубина, шаг рыхления уточняются на месте
опытным путем.
Планировочная насыпь разбивается по площади на две карты,
где в технологической последовательности чередуются следующие операции:
отсыпка и разравнивание грунта бульдозером;
увлажнение грунта поливочной машиной ПМ-130Б;
выстаивание и уплотнение грунта полуприцепным катком ДУ-16В.
Перемещаемый в насыпь бульдозером грунт разравнивается тем
же бульдозером круговыми проходками при движении от краев насыпи к ее середине.
Проходы бульдозера выполняются с перекрытием предыдущей проходки на 0,30 м.
Грунт разравнивается слоем 0,35 м. Перед укаткой каждого слоя грунта
производится увлажнение его (при необходимости) поливочной машиной ПМ-130Б.
Полив выполняется в зависимости от требующегося увлажнения в несколько приемов.
Каждая последующая проходка поливочной машины производится после впитывания
грунтом воды от полива предыдущей проходки.
Уплотнение грунта должно выполняться при оптимальном
содержании влаги в грунте. Укатка грунта осуществляется от краев карты к ее
середине полуприцепным пневмокатком ДУ-16В. Движение катка производится с
перекрытием следа предыдущего прохода на 0,30 м. Первая проходка катка
выполняется на расстоянии 3,00 м от бровки насыпи, а затем прикатывается край
насыпи. После прикатки края насыпи укатку продолжают круговыми проходами катка
в направлении от краев насыпи к ее середине.
Величина оптимальной влажности грунта, требующееся
количество воды для доувлажнения, необходимое количество проходов катка по
одному следу и толщина укладываемого слоя уточняются на месте работ пробной
укаткой.
В процессе производства работ по каждому слою грунта
производится контроль его уплотнения взятием проб полевой грунтовой
лабораторией.
Излишний грунт выемки, который не укладывается в насыпь,
транспортируется в отвал. Разработка мягкого грунта и разрыхленных рыхлителем
ДП-9С скальных грунтов производится экскаватором ЭО-4121Б, оснащенным обратной
лопатой. Грунт грузится на автомобили-самосвалы КамАЗ-5511 и транспортируется в
отвал.
Разрыхленные скальные грунты в процессе рыхления
перемещаются бульдозером ДЗ-110А к месту работы экскаватора.
Для движения автомобилей-самосвалов предусматривается
устройство землевозных автодорог из шлака толщиной 0,30 м. Подвезенный
автомобилями-самосвалами шлак разравнивается бульдозером ДЗ-110А и уплотняется
моторным катком ДУ-47Б. Планировка выемки и насыпи выполняется автогрейдером
ДЗ-31-1.
Землевозные дороги, по которым транспортируется грунт
автомобилями-самосвалами, должны постоянно поддерживаться в исправном состоянии
автогрейдером ДЗ-31-1.
2.7. Разработка грунта
выемки и отсыпка насыпи выполняется (при работе в одну смену) для варианта 1
следующим составом:
машинист бульдозера 6 разряда - 1;
машинист бульдозера-рыхлителя 6 разряда - 1;
машинист экскаватора 6 разряда - 1;
машинист катка 6 разряда -
1;
машинист катка 5 разряда -
1;
машинист автогрейдера 6 разряда - 1;
машинист поливочных машин 4 разряда - 1;
водители автомобилей-самосвалов III класса -
1.
2.8. Контроль качества
выполняемых работ
Таблица 2
|
Наименование операций, подлежащих контролю
|
Контроль качества выполнения операций
|
|
производителем работ
|
мастером
|
Состав
|
Способы
|
Время
|
Привлекаемые службы
|
|
Разбивка осей
и контуров площадки нулевой линии
|
Устройство
временных землевозных автодорог
|
Точность
выноса
|
Теодолитом,
стальной рулеткой
|
До начала разработки
и отсыпки грунта
|
Геодезическая
|
|
|
Разработка
планировочной выемки
|
Геометрические
размеры в плане, высотные отметки, крутизна откосов
|
Нивелиром,
стальной рулеткой, уклономером, откосником
|
В процессе
разработки выемки
|
Геодезическая
|
|
-
|
Отсыпка
планировочной насыпи
|
Толщина слоя
отсыпки, геотехнические свойства грунта, геометрические размеры в плане,
высотные отметки, крутизна откосов
|
Нивелиром,
стальной рулеткой, уклономером, откосником, плотномером, влагомером
|
В процессе отсыпки
насыпи
|
Геодезическая,
грунтовая лаборатория
|
|
|
Планировочные
работы
|
Соблюдение
проектных отметок, геометрические размеры в плане, крутизна откосов
|
Нивелиром,
стальной рулеткой, уклономером, откосником
|
После отсыпки
насыпи и разработки планировочной выемки
|
Геодезическая
|
В соответствии с принятыми вариантами комплексов машин
(табл. 1)
и на основании калькуляции затрат труда в табл. 3 приведены сравнительные
технико-экономические показатели эффективности вариантов.
Таблица 3
|
Наименование показателей
|
Варианты
комплексов механизации работ
|
|
1
|
2
|
3
|
4 (аналог)
|
|
Объем работ, м3
|
8215
|
8215
|
8215
|
8215
|
|
Общая трудоемкость, чел.-дн.
|
98,38
|
129,76
|
93,94
|
112,45
|
|
То же, на 1000 м3 грунта, чел.-ч
|
98,20
|
129,52
|
93,77
|
112,24
|
|
Затраты машинного времени на весь объем работ,
маш.-смен.
|
98,38
|
129,76
|
93,94
|
112,45
|
|
Продолжительность процесса при двухсменной
работе, день
|
21,00
|
24,40
|
18,40
|
22,10
|
|
Выработка на 1 маш.-ч., м3
|
10,1
|
7,72
|
10,66
|
8,91
|
|
Стоимость затрат труда на весь объем работ,
руб.-коп.
|
770-67
|
983-75
|
726-97
|
894-39
|
|
То же, на 1000 м3 грунта, руб.-коп.
|
93-81
|
119-75
|
88-49
|
108-87
|
|
Приведенные затраты на весь объем работ, руб.
|
4921
|
4978
|
5200
|
5504
|
|
То же, на 1000 м3 грунта, руб.
|
599
|
606
|
633
|
670
|
|
Эффективность в сравнении с аналогом на 1000 м3
грунта, руб.
|
+71
|
+64
|
+37
|
-
|
|
Прямые затраты на 1000 м3 грунта, руб.
|
480
|
515
|
507
|
540
|
4.1. Потребность в
машинах, оборудовании, инструментах, инвентаре и приспособлениях приведена в
табл. 4.
Таблица 4
|
Наименование машин, оборудования,
инструментов, приспособлений
|
Тип
|
Марка ГОСТ
|
Количество
машин для вариантов механизации, шт.
|
Техническая
характеристика
|
|
1
|
2
|
3
|
4
|
|
Бульдозер с
неповоротным отвалом, управление гидравлическое
|
На тракторе
класса 10 т
|
ДЗ-110А
|
1
|
-
|
-
|
-
|
На тракторе Т-136.1.Г-1,
длина отвала 3220 мм
|
|
Бульдозер с
неповоротным отвалом, управление гидравлическое
|
На тракторе
класса 1,4 - 4 т
|
ДЗ-42
|
-
|
2
|
-
|
-
|
На тракторе
ДТ-75, длина отвала 2520 мм
|
|
Бульдозер
с неповоротным отвалом, управление гидравлическое
|
На
тракторе класса 15 - 25 т
|
ДЗ-35Б
|
-
|
-
|
1
|
-
|
Трактор
Т-180КС, длина отвала 3640 мм
|
|
Бульдозер
с неповоротным отвалом, управление гидравлическое
|
На
тракторе класса 10 т
|
ДЗ-27А
|
-
|
-
|
-
|
1
|
Трактор
Т-130.1.Г-1, длина отвала 3200 мм
|
|
Экскаватор
универсальный
|
Одноковшовый
с гидравлическим приводом, на гусеничном ходу
|
ЭО-4121Б
22894-77
|
1
|
1
|
1
|
-
|
Оборудован
обратной лопатой. Ковш 1,0 м3
|
|
Экскаватор
универсальный
|
Одноковшовый
с пневматическим управлением на гусеничном ходу
|
ЭО-4111В
17343-83
|
-
|
-
|
-
|
1
|
Оборудован
обратной лопатой. Ковш 0,65 м3
|
|
Бульдозер-рыхлитель
ДЗ-126А
|
На
тракторе класса 15 - 25 т
|
ДП-9С
|
1
|
1
|
1
|
1
|
Трактор
Т-250М, глубина рыхления 0,45м
|
|
Автогрейдер
|
Среднего
типа, самоходный
|
ДЗ-31-1
9420-79
|
1
|
1
|
1
|
1
|
Мощность
двигателя 96 кВт, длина отвала 3700 мм
|
|
Каток
|
Пневмоколесный
полуприцепной
|
ДУ-16В
|
1
|
1
|
J
|
1
|
Тягач
МоАЗ-546А, масса 25,9 т, ширина уплотняемой полосы 2620 мм
|
|
Каток
|
Вибрационный
самоходный двухвальцовый, с гладкими вальцами
|
ДУ-47Б
|
1
|
1
|
1
|
1
|
Мощность
двигателя 37 кВт, масса 6 - 8 т, ширина уплотняемой полосы 1200 мм
|
|
Поливочная
машина на шасси ЗИЛ-130
|
|
ПМ-130Б
|
1
|
1
|
1
|
1
|
Вместимость
цистерны 6000 л
|
|
Автомобиль-самосвал
|
|
КамАЗ-5511
|
2
|
2
|
2
|
2
|
Грузоподъемность
10 т
|
|
Теодолит
|
|
Т-15
10529-86
|
1
|
1
|
1
|
1
|
|
|
Нивелир
|
|
Н-10
10528-76
|
1
|
1
|
1
|
1
|
|
|
Рейка
нивелирная
|
|
РН-10
11158-83
|
2
|
2
|
2
|
2
|
|
|
Вешка
геодезическая
|
Стандартная
|
|
3
|
3
|
3
|
3
|
|
|
Рулетка
измерительная металлическая
|
Стандартная
|
РС-20
7502-80
|
1
|
1
|
1
|
1
|
|
|
Рейка
трехметровая
|
|
|
1
|
1
|
1
|
1
|
|
|
Плотномер
|
|
ПТМ-1
|
1
|
1
|
1
|
1
|
|
|
Влагомер
|
|
НВУ-1
26375-84
|
|
|
|
|
|
4.2. Потребность в эксплуатационных материалах приведена в табл.
5.
Таблица 5
|
Наименование эксплуатационных
материалов
|
Норма на час
работы машины, кг
|
Количество
на принятый объем работ по вариантам, кг
|
|
1
|
2
|
3
|
4
|
|
Бульдозер ДЗ-110А
|
|
|
|
|
|
|
Дизельное топливо
|
7,70
|
2212,44
|
-
|
-
|
-
|
|
Бензин
|
0,23
|
66,08
|
-
|
-
|
-
|
|
Моторное масло
|
0,37
|
106,31
|
-
|
-
|
-
|
|
Трансмиссионное масло
|
0,10
|
28,73
|
-
|
-
|
-
|
|
Консистентная смазка
|
0,08
|
22,99
|
-
|
-
|
-
|
|
Бульдозер ДЗ-42
|
|
|
|
|
|
|
Дизельное топливо
|
3,30
|
-
|
1797,31
|
-
|
-
|
|
Бензин
|
0,10
|
-
|
54,46
|
-
|
-
|
|
Моторное масло
|
0,16
|
-
|
87,14
|
-
|
-
|
|
Трансмиссионное масло
|
0,04
|
-
|
21,78
|
-
|
-
|
|
Консистентная смазка
|
0,03
|
-
|
16,34
|
-
|
-
|
|
Бульдозер ДЗ-35Б
|
|
|
|
|
|
|
Дизельное топливо
|
6,90
|
-
|
-
|
1663,45
|
-
|
|
Бензин
|
0,21
|
-
|
-
|
50,63
|
-
|
|
Моторное масло
|
0,33
|
-
|
-
|
79,56
|
-
|
|
Трансмиссионное масло
|
0,09
|
-
|
-
|
21,70
|
-
|
|
Консистентная смазка
|
0,08
|
-
|
-
|
19,29
|
-
|
|
Бульдозер ДЗ-27А
|
|
|
|
|
|
|
Дизельное топливо
|
7,70
|
-
|
-
|
-
|
4265,72
|
|
Бензин
|
0,23
|
-
|
-
|
-
|
127,42
|
|
Моторное масло
|
0,37
|
-
|
-
|
-
|
204,98
|
|
Трансмиссионное масло
|
0,10
|
-
|
-
|
-
|
55,40
|
|
Консистентная смазка
|
0,08
|
-
|
-
|
-
|
44,32
|
|
Экскаватор ЭО-4121Б
|
|
|
|
|
|
|
Дизельное топливо
|
5,5
|
718,44
|
607,91
|
607,91
|
-
|
|
Бензин
|
0,16
|
17,68
|
17,68
|
17,68
|
-
|
|
Моторное масло
|
0,27
|
29,84
|
29,84
|
29,84
|
-
|
|
Трансмиссионное масло
|
0,03
|
3,31
|
3,31
|
3,31
|
-
|
|
Консистентная смазка
|
0,16
|
17,68
|
17,68
|
17,68
|
-
|
|
Экскаватор ЭО-4111В
|
|
|
|
|
|
|
Дизельное топливо
|
5,7
|
-
|
-
|
-
|
823,54
|
|
Бензин
|
0,17
|
-
|
-
|
-
|
24,56
|
|
Моторное масло
|
0,28
|
-
|
-
|
-
|
40,45
|
|
Трансмиссионное масло
|
0,03
|
-
|
-
|
-
|
4,33
|
|
Консистентная смазка
|
0,17
|
-
|
-
|
-
|
24,56
|
|
Рыхлитель ДП-9С
|
|
|
|
|
|
|
Дизельное топливо
|
16,7
|
657,31
|
657,31
|
657,31
|
657,31
|
|
Бензин
|
0,50
|
19,68
|
19,68
|
19,68
|
19,68
|
|
Моторное масло
|
0,80
|
31,49
|
31,49
|
31,49
|
31,49
|
|
Трансмиссионное масло
|
0,22
|
8,66
|
8,66
|
8,66
|
8,66
|
|
Консистентная смазка
|
0,18
|
7,08
|
7,08
|
7,08
|
7,08
|
|
Автогрейдер ДЗ-31-1
|
|
|
|
|
|
|
Дизельное топливо
|
5,20
|
593,11
|
593,11
|
610,17
|
669,86
|
|
Бензин
|
0,16
|
18,25
|
18,25
|
18,77
|
20,61
|
|
Моторное масло
|
0,25
|
28,51
|
28,51
|
29,33
|
32,20
|
|
Трансмиссионное масло
|
0,07
|
7,98
|
7,98
|
8,21
|
9,02
|
|
Консистентная смазка
|
0,06
|
6,84
|
6,84
|
7,04
|
7,73
|
|
Каток ДУ-16В
|
|
|
|
|
|
|
Дизельное топливо
|
10,10
|
207,86
|
207,86
|
207,86
|
207,86
|
|
Бензин
|
0,30
|
6,17
|
6,17
|
6,17
|
6,17
|
|
Моторное масло
|
0,48
|
9,88
|
9,88
|
9,88
|
9,88
|
|
Трансмиссионное масло
|
0,13
|
2,67
|
2,67
|
2,67
|
2,67
|
|
Консистентная смазка
|
0,11
|
2,26
|
2,26
|
2,26
|
2,26
|
|
Каток ДУ-47Б
|
|
|
|
|
|
|
Дизельное топливо
|
3,20
|
4,45
|
4,45
|
4,45
|
4,45
|
|
Бензин
|
0,10
|
0,14
|
0,14
|
0,14
|
0,14
|
|
Моторное масло
|
0,18
|
0,25
|
0,25
|
0,25
|
0,25
|
|
Трансмиссионное масло
|
0,05
|
0,07
|
0,07
|
0,07
|
0,07
|
|
Консистентная смазка
|
0,04
|
0,06
|
0,06
|
0,06
|
0,06
|
|
Автомобиль-самосвал КамАЗ-5511
|
|
|
|
|
|
|
Дизельное топливо
|
5,4
|
1086,21
|
1086,21
|
1086,21
|
1086,21
|
|
Дизельное масло
|
0,25
|
50,29
|
50,29
|
50,29
|
50,29
|
|
Трансмиссионное масло
|
0,04
|
8,05
|
8,05
|
8,05
|
8,05
|
|
Консистентная смазка
|
0,02
|
4,02
|
4,02
|
4,02
|
4,04
|
|
Поливочная машина ПМ-130Б
|
|
|
|
|
|
|
Бензин
|
4,9
|
51,01
|
51,01
|
51,01
|
51,01
|
|
Автомобильное масло
|
0,11
|
1,14
|
1,14
|
1,14
|
1,14
|
При выполнении работ по вертикальной планировке строительной
площадки необходимо руководствоваться требованиями СНиП-III-4-80 «Техника
безопасности в строительстве» п.п. 9.1 - 9,28;
ГОСТ
12.3.002-75 «Процессы производственные»; ГОСТ 12.2.012-75 «Приспособления
по обеспечению безопасного производства работ»; ГОСТ 12.1.004-85 «Пожарная
безопасность»; ГОСТ
12.1.013-78 «Строительство. Электробезопасность» и ГОСТ
23407-78 «Ограждения инвентарные строительных площадок и участков
производства строительно-монтажных работ».

Примечание.
Отметки указаны в м.

Примечание.
Условные обозначения и разрезы см. на стр. 12.

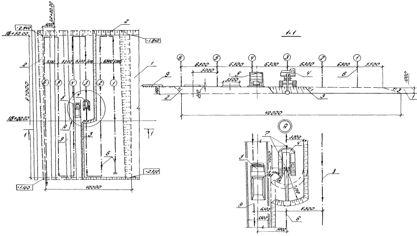
1 -
нулевая линия работ; 11
- ось продольного реза рыхлителя;
2 - бульдозер
на разработке грунта выемки; 12
- ось поперечного реза рыхлителя;
3 -
бульдозер на разравнивании грунта выемки; 13
- слои рыхления 0,20 м;
4 -
каток; 14 - ось рабочего хода бульдозера при разравнивании грунта;
5 -
поливочная машина; 15
- граница карт отсыпки;
6 -
ось рабочего хода бульдозера при разработке грунта; 16 - ось проходки катка;
7 -
ось холостого хода бульдозера при разравнивании грунта; 17 - слои отсыпки и разравнивания
грунта;
8 -
разделительная стенка (перемычка); 18
- ось движения поливочной машины
9 -
ярусы разработки 0,30 - 0,45 м; - рабочая отметка
10 -
скальные включения; - очередность проходок

1 - ранее выполненный участок выемки; 6
- ось проходки экскаватора;
2 - проектный откос; 7
- места стоянок экскаватора;
3 - рабочий откос; 8
- ось предыдущей проходки экскаватора;
4 - экскаватор ЭО-4121А, оборудованный
обратной лопатой; 9
- ось землевозной автодороги из шлака
5 - автомобили-самосвалы;
очередность проходки экскаватора

Примечание. Здесь и далее пунктирная линия
указывает на неполное использование механизмов в течение смены.
ГРАФИК
ПРОИЗВОДСТВА РАБОТ. ВАРИАНТ 1 (продолжение)

ГРАФИК ПРОИЗВОДСТВА РАБОТ. ВАРИАНТ 1
(продолжение )

|
Наименование работ
|
Обоснование (ЕНиР и др.)
|
Единица измерения
|
Объем работ
|
Норма времени на единицу измерения,
чел.-ч
маш.-ч
|
Затраты труда на весь объем работ,
чел.-день
маш.-смена
|
Время пребывания машины на объекте, маш.-смена
|
Расценка на единицу измерения, руб.-коп.
|
Стоимость затрат на весь объем работ,
руб.-коп.
|
Стоимость затрат с учетом пребывания машины
на объекте, руб.-коп.
|
|
Разработка
бульдозером грунта II группы с перемещением
на расстояние до 100 м из выемки в насыпь
|
ЕНиР §2-1-22,
т-2, № 5б, д
|
100 м3
|
38,35
|
3,38
3,38
|
15,81
15,81
|
15,81
|
3-58,5
|
137-48
|
137-48
|
|
Рыхление
скального грунта IV группы
рыхлителем ДП-9С на бульдозере ДЗ-118
|
ВНиР §8-56-8,
т-2, № 1в
|
100 м3
|
16,40
|
2,40
2,40
|
4,80
4,80
|
4,80
|
2-54,4
|
41-72
|
41-72
|
|
Разработка
разрыхленного скального грунта IV группы
бульдозером ДЗ-110А с перемещением на расстояние 100 м из выемки в насыпь
|
ЕНиР
§Е2-1-24, № 2а, б
|
100 м3
|
9,60
|
8,45
8,45
|
9,89
9,89
|
9,89
|
8-95,5
|
85-97
|
85-97
|
|
Разравнивание
бульдозером ДЗ-110А грунта III группы
(шлак) толщиной слоя 0,30 м при устройстве покрытия землевозных дорог
|
ЕНиР
§Е2-1-28, № 3в
|
100 м3
|
4,60
|
0,77
0,77
|
0,43
0,43
|
0,43
|
0-81,6
|
3-75
|
3-75
|
|
Уплотнение
грунта III группы самоходным виброкатком ДУ-47Б
при 5 проходах по одному следу
|
ЕНиР
§Е17-7-27
|
100 м3
|
4,60
|
0,31
0,31
|
0,17
0,17
|
0,17
|
0-28,2
|
1-30
|
1-30
|
|
Разработка
бульдозером ДЗ-110А разрыхленного скального грунта IV группы
с перемещением на расстояние 30 м и окучиванием
|
ЕНиР
§Е2-1-24, № 2а, б
|
100 м3
|
6,80
|
3,20
3,20
|
2,65
2,65
|
2,65
|
2-59,5
|
17-65
|
17-65
|
|
Разработка
грунта II группы экскаватором ЭС-4121Б, оборудованным
обратной лопатой, с погрузкой на автомобили-самосвалы
|
ЕНиР
§Е2-1-11, т-7, № 5б
|
100 м3
|
27,40
|
2,20
2,20
|
7,35
7,35
|
7,35
|
2-33
|
63-84
|
63-84
|
|
То же, грунта
III группы (шлак) при разборке покрытия
землевозной автодороги
|
ЕНиР §Е2-1-11,
т-7, № 5в
|
100 м3
|
4,60
|
2,80
2,80
|
1,57
1,57
|
1,57
|
2-97
|
13-66
|
13-66
|
|
Разработка
разрыхленного скального грунта IV группы
экскаватором ЭО-4121Б, оборудованным обратной лопатой, с погрузкой на
автомобили-самосвалы
|
ЕНиР §Е2-1-11,
т-7, № 5е
|
100 м3
|
6,80
|
5,50
5,50
|
4,56
4,56
|
4,56
|
5-83
|
39-64
|
39-64
|
|
Транспортирование
грунта автомобилями-самосвалами КамАЗ-5511 на расстояние 2 км
|
ЕНВ*
|
100 т
|
73,69
|
2,73
2,73
|
24,53
24,53
|
27,20
|
1-94
|
142-96
|
160-26
|
|
Разравнивание
бульдозером ДЗ-110А грунта II группы в
насыпи слоем 0,60 м
|
ЕНиР
§Е2-1-28, № 3д
|
100 м3
|
38,35
|
0,32
0,32
|
1,49
1,49
|
1,49
|
0-33,9
|
13-00
|
13-00
|
|
То же,
разрыхленного скального грунта IV группы
|
ЕНиР
§Е2-1-24, № 2а
|
100 м3
|
9,60
|
1,70
1,70
|
1,99
1,99
|
1-99
|
1-80
|
17-28
|
17-28
|
|
Уплотнение
грунта насыпи полуприцепным пневмокатком ДУ-16В слоем 0,35 м при 8 проходах
по одному следу
|
ЕНиР
§Е2-1-29, т-4, № 2б, 4б
|
100 м3
|
47,95
|
0,43
0,43
|
2,51
2,51
|
2,51
|
0-45,4
|
21-77
|
21-77
|
|
Увлажнение
грунта поливочной машиной ПМ-130Б
|
ЕНиР §Е17-2,
ЕНВ*
|
100 м3
|
4,79
|
2,17
2,17
|
1,27
1,27
|
1,27
|
1-64
|
7-85
|
7-85
|
|
Работа
бульдозера ДЗ-110А на отвале в грунте II
группы с перемещением на расстояние 10 м
|
ЕНиР §Е2-1-22,
№ 5б
|
100 м3
|
27,40
|
0,41
0,41
|
1,37
1,37
|
1,37
|
0-43,5
|
11-92
|
11-92
|
|
То же,
разрыхленного скального грунта IV группы
|
ЕНиР
§Е2-1-22, № 2а
|
100 м3
|
6,80
|
1,70
1,70
|
1,41
1,41
|
1,41
|
1-80
|
12-24
|
12-24
|
|
Ремонт и содержание
дорог автогрейдером ДЗ-31-1
|
ЕНиР
§Е17-20-15
|
1 км
|
101,38
|
1,10
1,10
|
13,60
13,60
|
13,60
|
1-17
|
118-61
|
118-61
|
|
Планировка
насыпи и выемки автогрейдером ДЗ-31-1
|
ЕНиР
§Е2-1-87, т-2, № 1д
|
1000 м2
|
11,725
|
0,22
0,22
|
0,31
0,31
|
0,31
|
0-23,3
|
2-73
|
2-73
|
|
ИТОГО:
|
|
|
|
|
95,71
95,71
|
98,38
|
|
753-37
|
770-67
|
Здесь и
далее «Единые нормы времени на перевозку грузов автомобильным транспортом и сдельные
расценки для оплаты труда водителей».

ГРАФИК ПРОИЗВОДСТВА РАБОТ. ВАРИАНТ 2
(продолжение)

ГРАФИК ПРОИЗВОДСТВА РАБОТ. ВАРИАНТ 2
(продолжение)

|
Наименование
работ
|
Обоснование
(ЕНиР и др.)
|
Единица
измерения
|
Объем
работ
|
Норма
времени на единицу измерения,
чел.-ч
маш.-ч
|
Затраты
труда на весь объем работ,
чел.-день
маш.-смена
|
Время
пребывания машины на объекте, маш.-смена
|
Расценка
на единицу измерения, руб.-коп.
|
Стоимость
затрат на весь объем работ, руб.-коп.
|
Стоимость
затрат с учетом пребывания машины на объекте, руб.-коп.
|
|
Разработка бульдозером ДЗ-42 грунта II группы с перемещением на расстояние до
100 м из выемки в насыпь
|
ЕНиР §Е2-1-22, № 1б, д
|
100
м3
|
38,35
|
9,56
9,56
|
44,70
44,70
|
44,70
|
8-69,5
|
333-45
|
333-45
|
|
Рыхление скального грунта VI группы рыхлителем ДП-9С к бульдозеру
ДЗ-118
|
ЕНиР §В56-8, т. 2, № 18
|
100
м3
|
16,40
|
2,40
2,40
|
4,80
4,80
|
4,80
|
2-54,4
|
41-72
|
41-72
|
|
Разработка бульдозером ДЗ-42
разрыхленного скального грунта VI группы с перемещением на расстояние 100 м из выемки в
насыпь
|
ЕНиР §Е2-1-24, № 2а, б
|
100
м3
|
9,60
|
8,45
8,45
|
9,89
9,89
|
9,89
|
8-95,5
|
85-97
|
85-97
|
|
Разравнивание грунта III группы (шлак) бульдозером ДЗ-42
толщиной слоя 0,30 м при устройстве покрытия землевозных дорог
|
ЕНиР §Е2-1-28, № 1в
|
100
м3
|
4,60
|
1,10
1,10
|
0,62
0,62
|
0,62
|
1-17
|
5-38
|
5-38
|
|
Уплотнение грунта III группы самоходным виброкатком ДУ-47Б
при 5 проходах по одному следу слоем 0,30 м
|
ЕНиР §Е17-7-27
|
100
м3
|
4,60
|
0,31
0,31
|
0,17
0,17
|
0,17
|
0-28,2
|
1-30
|
1-30
|
|
Разработка
бульдозером ДЗ-42 разрыхленного скального грунта IV группы с перемещением на расстояние 30 м и окучиванием
|
ЕНиР §Е2-1-24, № 2а, б
|
100
м3
|
6,80
|
3,20
3,20
|
2,65
2,65
|
2,65
|
2-59,5
|
17-65
|
17-65
|
|
Разработка грунта II группы экскаватором ЭО-4121Б, оборудованным
обратной лопатой, с погрузкой на автомобили-самосвалы
|
ЕНиР §Е2-1-11, т. 7, № 5б
|
100
м3
|
27,40
|
2,20
2,20
|
7,35
7,35
|
7,35
|
2-33
|
63-84
|
63-84
|
|
То же, грунта III группы (шлак) при разборке покрытия
землевозной автодороги
|
ЕНиР §Е2-1-11,
т. 7, № 5в
|
100
м3
|
4,60
|
2,80
2,80
|
1,57
1,57
|
1,57
|
2-97
|
13-66
|
13-66
|
|
То же, разрыхленного скального грунта IV группы
|
ЕНиР §Е2-1-11,
т. 7, № 5г
|
100
м3
|
6,80
|
5,50
5,50
|
4,56
4,56
|
4,56
|
5-83
|
39-64
|
39-64
|
|
Транспортирование
грунта автомобилями-самосвалами МАЗ-5511 на расстояние 2 км
|
ЕНВ*
|
100 т
|
73,69
|
2,73
2,73
|
24,53
24,53
|
27,20
|
1-94
|
142-96
|
160-26
|
|
Разравнивание
бульдозером ДЗ-42 грунта II группы в
насыпи слоем до 0,60 м
|
ЕНиР §Е2-1-28, № 3д
|
100
м3
|
38,35
|
0,32
0,32
|
1,49
1,49
|
1,49
|
0-33,9
|
13-00
|
13-00
|
|
То же,
разрыхленного скального грунта IV группы
|
ЕНиР §Е2-1-24, № 2а
|
100
м3
|
9,60
|
1,70
1,70
|
1,99
1,99
|
1,99
|
1-80
|
17-28
|
17-28
|
|
Уплотнение грунта
насыпи слоем 0,35 м полуприцепным пневмокатком ДУ-16В при 8 проходах по
одному следу
|
ЕНиР §Е2-1-29, т. 4, № 2б, № 4б
|
100
м3
|
47,95
|
0,43
0,43
|
2,51
2,51
|
2,51
|
0-45,4
|
21-77
|
21-77
|
|
Увлажнение
грунта поливочной машиной ПМ-130Б
|
ЕНВ* §Е17-2
|
100
м3
|
4,79
|
2,17
2,17
|
1,27
1,27
|
1,27
|
1-64
|
7-85
|
7-85
|
|
Работа
бульдозера ДЗ-42 на отвале в грунте II группы с
перемещением на расстояние 10 м
|
ЕНиР §Е2-1-22, №1б
|
100
м3
|
27,40
|
1,10
1,10
|
3,67
3,67
|
3,67
|
1-00
|
27-40
|
27-40
|
|
То же,
разрыхленного скального грунта IV группы
|
ЕНиР §Е2-1-24, № 2а
|
100
м3
|
6,80
|
1,70
1,70
|
1,41
1,41
|
1,41
|
1-80
|
12-24
|
12-24
|
|
Ремонт и
содержание дорог автогрейдером ДЗ-31-1
|
ЕНиР §Е17-20-15
|
1 км
|
101,38
|
1,10
1,10
|
13,60
13,60
|
13,60
|
1-17
|
118-61
|
118-61
|
|
Планировка
насыпи и выемки автогрейдером ДЗ-31-1
|
ЕНиР §Е2-1-37, т. 2, № 1д
|
1000 м2
|
11,725
|
0,22
0,22
|
0,31
0,31
|
0,31
|
0-23,3
|
2-73
|
2-73
|
|
ИТОГО:
|
|
|
|
|
127,09
127,09
|
129,76
|
|
966-45
|
983-75
|

ГРАФИК ПРОИЗВОДСТВА РАБОТ. ВАРИАНТ 3
(продолжение)

ГРАФИК ПРОИЗВОДСТВА РАБОТ. ВАРИАНТ 3
(продолжение)

|
Наименование
работ
|
Обоснование
(ЕНиР и др.)
|
Единица
измерения
|
Объем
работ
|
Норма
времени на единицу измерения,
чел.-ч
маш.-ч
|
Затраты
труда на весь объем работ,
чел.-день
маш.-смена
|
Время
пребывания машины на объекте, маш.-смена
|
Расценка
на единицу измерения, руб.-коп.
|
Стоимость
затрат на весь объем работ, руб.-коп.
|
Стоимость
затрат с учетом пребывания машины на объекте, руб.-коп.
|
|
Разработка бульдозером ДЗ-35Б грунта II группы с перемещением на расстояние до
100 м из выемки в насыпь
|
ЕНиР §Е2-1-22, № 6б, д
|
100
м3
|
38,35
|
3,08
3,08
|
14,40
14,40
|
14,40
|
3-26,5
|
125-21
|
125-21
|
|
Рыхление скального грунта IV группы рыхлителем ДП-9С к бульдозеру
ДЗ-118
|
ЕНиР §В-56-8, т. 2, № 1в
|
100
м3
|
16,40
|
2,40
2,40
|
4,80
4,80
|
4,80
|
2-54,4
|
41-72
|
41-72
|
|
Разработка бульдозером ДЗ-35Б
разрыхленного скального грунта IV группы с перемещением на расстояние 100 м из выемки в
насыпь
|
ЕНиР §Е2-1-24, № 3а, б
|
100
м3
|
9,60
|
6,60
6,60
|
7,73
7,73
|
7,73
|
6-99,4
|
67-14
|
67-14
|
|
Разравнивание бульдозером ДЗ-35Б грунта
III группы (шлак)
толщиной слоя 0,30 м при устройстве покрытия землевозных дорог
|
ЕНИР §Е2-1-28, № 6в
|
100
м3
|
4,60
|
0,64
0,64
|
0,36
0,36
|
0,36
|
0-67,8
|
3-12
|
3-12
|
|
Уплотнение грунта III группы самоходным виброкатком ДУ-47Б
при 5 проходах по одному следу слоем 0,30 м
|
ЕНиР §Е17-7-27
|
100
м2
|
4,60
|
0,31
0,31
|
0,17
0,17
|
0,17
|
0-28,2
|
1-30
|
1-30
|
|
Разработка бульдозером ДЗ-35Б
разрыхленного скального грунта IV группы
с перемещением на расстояние 30 м и окучиванием
|
ЕНиР §Е2-1-24, № 3а, б
|
100
м3
|
6,80
|
2,40
2,40
|
1,99
1,99
|
1,99
|
2-54,2
|
17-28
|
17-28
|
|
Разработка грунта II группы экскаватором ЭО-4121Б, оборудованным
обратной лопатой, с погрузкой на автомобили-самосвалы
|
ЕНиР §Е2-1-11, т. 7, № 5б
|
100
м3
|
27,40
|
2,20
2,20
|
7,35
7,35
|
7,35
|
2-33
|
63-84
|
63-84
|
|
То же, грунта III группы (шлак) при разборке покрытия
землевозной автодороги
|
ЕНиР §Е2-1-11, т. 7, № 5в
|
100
м3
|
4,60
|
2,80
2,80
|
1,57
1,57
|
1,57
|
2-97
|
13-66
|
13-66
|
|
То же, разрыхленного скального грунта IV группы
|
ЕНиР §Е2-1-11, т. 7, № 5г
|
100
м3
|
6,80
|
5,50
5,50
|
4,56
4,56
|
4,56
|
5-83
|
39-64
|
39-64
|
|
Транспортирование
грунта автомобилями-самосвалами КамАЗ-5511 на расстояние 2 км
|
ЕНВ*
|
100 т
|
73,69
|
2,73
2,73
|
24,53
24,53
|
27,20
|
1-94
|
142-96
|
160-26
|
|
Разравнивание
бульдозером ДЗ-35Б грунта II группы в насыпи слоем до 0,60 м
|
ЕНиР §Е2-1-28,
№ 6д
|
100
м3
|
38,25
|
0,27
0,27
|
1,26
1,26
|
1,26
|
0-28,6
|
10-97
|
10-97
|
|
То же,
разрыхленного скального грунта IV группы
|
ЕНиР
§Е2-1-24, № 3а
|
100
м3
|
9,60
|
1,20
1,20
|
1,40
1,40
|
1,40
|
1-27
|
12-19
|
12-19
|
|
Уплотнение грунта
насыпи полуприцепным пневмокатком ДУ-16В слоем 0,35 м при 8 проходах по
одному следу
|
ЕНиР
§Е2-1-29, т. 4, № 2б, № 4б
|
100
м3
|
47,95
|
0,43
0,43
|
2,51
2,51
|
2,51
|
0-45,4
|
21-77
|
21-77
|
|
Увлажнение
грунта поливочной машиной ПМ-130Б
|
ЕНВ*
§Е17-2
|
100
м3
|
4,79
|
2,17
2,17
|
1,27
1,27
|
1,27
|
1-64
|
7-85
|
7-85
|
|
Работа
бульдозера ДЗ-35Б на отвале в грунте II группы с
перемещением на расстояние 10 м
|
ЕНиР
§Е2-1-22, № 6б
|
100
м3
|
27,40
|
0,38
0,38
|
1,27
1,27
|
1,27
|
0-40,3
|
11-04
|
11-04
|
|
То же, в
разрыхленном скальном грунте IV группы
|
ЕНиР
§Е2-1-24, № 3а
|
100
м3
|
6,80
|
1,20
1,20
|
0,99
0,99
|
0,99
|
1-27
|
8-64
|
8-64
|
|
Ремонт и
содержание дорог автогрейдером ДЗ-31-1
|
ЕНиР
§Е17-20-15
|
1 км
|
101,38
|
1,10
1,10
|
13,60
13,60
|
13,60
|
1-17
|
118-61
|
118-61
|
|
Планировка
насыпи и выемки автогрейдером ДЗ-31-1
|
ЕНиР
§Е2-1-37, т. 2, № 1д
|
1000 м2
|
11,725
|
0,22
0,22
|
0,31
0,31
|
0,31
|
0-23,3
|
2-73
|
2-73
|
|
ИТОГО:
|
|
|
|
|
90,07
90,07
|
92,74
|
|
709-67
|
726-97
|

ГРАФИК ПРОИЗВОДСТВА РАБОТ. ВАРИАНТ 4
(продолжение)

ГРАФИК ПРОИЗВОДСТВА РАБОТ. ВАРИАНТ 4
(продолжение)

|
Наименование
работ
|
Обоснование
(ЕНиР и др.)
|
Единица
измерения
|
Объем
работ
|
Норма
времени на единицу измерения,
чел.-ч
маш.-ч
|
Затраты
труда на весь объем работ,
чел.-день
маш.-смена
|
Время
пребывания машины на объекте, маш.-смена
|
Расценка
на единицу измерения, руб.-коп.
|
Стоимость
затрат на весь объем работ, руб.-коп.
|
Стоимость
затрат с учетом пребывания машины на объекте, руб.-коп.
|
|
Разработка
бульдозером ДЗ-27А грунта II группы с
перемещением на расстояние до 100 м из выемки в насыпь
|
ЕНиР §Е2-22,
№ 5б, д
|
100 м3
|
38,35
|
3,38
3,38
|
15,81
15,81
|
15,81
|
3-58,5
|
137-48
|
137-48
|
|
Рыхление
скального грунта IV группы
рыхлителем ДП-9С к бульдозеру ДЗ-118
|
ЕНиР §В-56-8,
т. 2, № 1в
|
100 м3
|
16,40
|
2,40
2,40
|
4,80
4,80
|
4,80
|
2-54,4
|
41-72
|
41-72
|
|
Разработка
бульдозером ДЗ-27А разрыхленного скального грунта IV группы с перемещением на расстояние 100 м из выемки в
насыпь
|
ЕНиР
§Е2-1-24, № 2а, б
|
100 м3
|
9,60
|
8,45
8,45
|
9,89
9,89
|
9,89
|
8-95,5
|
85-97
|
85-97
|
|
Разравнивание
бульдозером ДЗ-27А грунта III группы (шлак)
толщиной слоя 0,30 м при устройстве покрытия землевозных дорог
|
ЕНиР
§Е2-1-28, № 2в
|
100 м3
|
4,60
|
0,99
0,99
|
0,55
0,55
|
0,55
|
1-05
|
4-83
|
4-83
|
|
Уплотнение
грунта III группы слоем 0,30 м самоходным виброкатком
ДУ-47Б при 4 проходах по одному следу
|
ЕНиР
§Е17-7-27
|
100 м2
|
4,60
|
0,31
0,31
|
0,17
0,17
|
0,17
|
0-28,2
|
1-30
|
1-30
|
|
Разработка
бульдозером ДЗ-27А разрыхленного скального грунта IV группы с перемещением на расстояние 30 м и окучиванием
|
ЕНиР
§Е2-1-24, № 2а, б
|
100 м3
|
6,80
|
3,20
3,20
|
2,65
2,65
|
2,65
|
2-59,5
|
17-65
|
17-65
|
|
Разработка
грунта II группы экскаватором ЭО-4111В, оборудованным
обратной лопатой, с погрузкой на автомобили-самосвалы
|
ЕНиР
§Е2-1-11, т. 3, № 5б
|
100 м3
|
27,40
|
2,90
2,90
|
9,69
9,69
|
9,69
|
3-07
|
84-12
|
84-12
|
|
То же, грунта III группы (шлак) при разборке покрытия
землевозной автодороги
|
ЕНиР §Е2-1-11,
т. 3, № 5в
|
100 м3
|
4,60
|
3,50
3,50
|
1,96
1,96
|
1,96
|
3-71
|
17-07
|
17-07
|
|
То же,
разрыхленного скального грунта IV группы
|
ЕНиР
§Е2-1-11, т. 3, № 5е
|
100 м3
|
6,80
|
7,20
7,20
|
5,97
5,97
|
5,97
|
7-63
|
51-88
|
51-88
|
|
Транспортирование
грунта автомобилями-самосвалами КамАЗ-5511 на расстояние 2 км
|
ЕНВ*
|
100 т
|
73,69
|
2,73
2,73
|
24,53
24,53
|
35,20
|
1-94
|
142-96
|
212-08
|
|
Разравнивание
бульдозером ДЗ-27А грунта II группы в
насыпи слоем до 0,06 м
|
ЕНиР §Е2-1-28,
№ 3д
|
100 м3
|
38,35
|
0,32
0,32
|
1,50
1,50
|
1,50
|
0-33,9
|
13-00
|
13-00
|
|
То же,
разрыхленного скального грунта IV группы
|
ЕНиР
§Е2-1-24, № 2а
|
100 м3
|
9,60
|
1,70
1,70
|
1,99
1,99
|
1,99
|
1-80
|
17-28
|
17-28
|
|
Уплотнение
грунта насыпи полуприцепным пневмокатком ДУ-16В слоем 0,35 м при 8 проходах
по одному следу
|
ЕНиР
§Е2-1-29, т. 4, № 2б, № 4б
|
100 м3
|
47,95
|
0,43
0,43
|
2,51
2,51
|
2,51
|
0-45,4
|
21-77
|
21-77
|
|
Увлажнение
грунта поливочной машиной ПМ-130Б
|
ЕНВ* §Е17-2
|
100 м3
|
4,79
|
2,17
2,17
|
1,27
1,27
|
1,27
|
1-64
|
7-85
|
7-85
|
|
Работа
бульдозера ДЗ-27А на отвале в грунте II
группы с перемещением на расстояние 10 м
|
ЕНиР
§Е2-1-22, № 5б
|
100 м3
|
27,40
|
0,41
0,41
|
1,37
1,37
|
1,37
|
0-43,5
|
11-92
|
11-92
|
|
То же, в
разрыхленном скальном грунте IV группы
|
ЕНиР
§Е2-1-24, № 2а
|
100 м3
|
6,80
|
1,70
1,70
|
1,41
1,41
|
1,41
|
1-80
|
12-24
|
12-24
|
|
Ремонт и
содержание дорог автогрейдером ДЗ-31-1
|
ЕНиР
§Е17-20-15
|
1 км
|
131,20
|
1,10
1,10
|
17,60
17,60
|
17,60
|
1-17
|
153-50
|
153-50
|
|
Планировка
насыпи и выемки автогрейдером ДЗ-31-1
|
ЕНиР
§Е2-1-37, т. 2, № 1д
|
1000 м2
|
11,725
|
0,22
0,22
|
0,31
0,31
|
0,31
|
0-23,3
|
2-73
|
2-73
|
|
ИТОГО:
|
|
|
|
|
103,98
103,98
|
114,65
|
|
825-27
|
894-39
|
| |
|