//
ТехЛит.ру
- крупнейшая бесплатная электронная интернет библиотека для "технически умных" людей.
WWW.TEHLIT.RU - ТЕХНИЧЕСКАЯ ЛИТЕРАТУРА

:: Алготрейдинг::


АЛГОТРЕЙДИНГ
шаг за шагом
с нуля по урокам!

Торговые роботы на PYTHON, BackTrader,
Pandas, Pine Script для TradingView. Связка с брокерами, телеграм и легкими приложениями.


ТИПОВЫЕ ТЕХНОЛОГИЧЕСКИЕ КАРТЫ
НА ПРОИЗВОДСТВО ОТДЕЛЬНЫХ ВИДОВ РАБОТ

РАЗДЕЛ 04

ТИПОВАЯ ТЕХНОЛОГИЧЕСКАЯ КАРТА
НА БЕТОННЫЕ И ЖЕЛЕЗОБЕТОННЫЕ РАБОТЫ
(МОНОЛИТНЫЙ БЕТОН)

4.01.01.64

УСТРОЙСТВО МОНОЛИТНЫХ ЖЕЛЕЗОБЕТОННЫХ СТЕН
ПОДВАЛОВ ВЫСОТОЙ ДО 6 м И ТОЛЩИНОЙ ДО 500 мм
ЗДАНИЙ И СООРУЖЕНИЙ ОБЩЕГО НАЗНАЧЕНИЯ

МОСКВА – 1989

РАЗРАБОТАНА

Институтом «Промстройпроект Госстроя» СССР

Главный инженер института    В.И. Королев

Начальник отдела                      Б.М. Тиунов

Главный инженер проекта        Ю.С. Езерский

СОГЛАСОВАНО

Отделом механизации и технологии строительства Госстроя СССР

Письмо от 14.12.1988 г. № 23-712

Введена в действие с 1 февраля 1989 г

1. ОБЛАСТЬ ПРИМЕНЕНИЯ

Типовая технологическая карта разработана на устройство монолитных железобетонных стен подвалов высотой до 6 м и толщиной до 500 мм зданий и сооружений общего назначения.

Параметры монолитной железобетонной стены технологического подвала (размеры, армирование, расход материалов) приняты применительно к одному из реальных проектов института «Промстройпроект».

Армирование конструкций стены - пространственными каркасами и плоскими сетками; стыки арматурных сеток и каркасов выполняются внахлестку, без сварки, с расположением их вразбежку.

Калькуляция затрат труда, график выполнения работ, потребность в материально-технических ресурсах, технико-экономические показатели выполнены для стены, расположенной в пределах температурного блока размером 36 ´ 42 м толщиной 500 мм (базовый вариант).

Данная карта позволяет также с помощью фасетов произвести расчет вышеперечисленных показателей для стен толщиной 250 мм и высотой до 3,6 м и 6 м.

Технологической картой предусматривается устройство монолитной железобетонной стены с применением унифицированной разборно-переставной опалубки «Монолпт-77», укрупненной в опалубочные панели.

В технологической карте приняты 3 варианта подачи и укладки бетонной смеси: автобетононасосом СБ-126А (базовый вариант) и стреловыми самоходными кранами МКГ-16М (вариант 2) и КС-4362 (вариант 3).

Погрузо-разгрузочные работы, арматурные и опалубочные работы выполняются автомобильным краном грузоподъемностью 6,3 т.

При привязке технологической карты к конкретному объекту и условиям строительства уточняются объемы работ, калькуляция затрат труда, средства механизации с учетом использования наличного парка машин, оборудования и приспособлений.

2. ОРГАНИЗАЦИЯ И ТЕХНОЛОГИЯ ВЫПОЛНЕНИЯ РАБОТ

До начала устройства монолитной железобетонной стены должны быть выполнены следующие работы:

устроены подъездные пути и автодороги;

обозначены пути движения механизмов, места складирования, укрупнения элементов опалубки, подготовлена монтажная оснастка и приспособления;

завезены арматурные сетки, каркасы и комплекты опалубки в количестве, обеспечивающем бесперебойную работу не менее, чем в течение двух смен;

составлены акты приемки в соответствии с требованиями нормативных документов;

предусмотрены мероприятия по обеспечению сохранения арматурных выпусков из фундаментных плит от коррозии и деформации;

произведена геодезическая разбивка осей и разметка положения стен в соответствии с проектом; на поверхность фундаментной плиты краской нанесены риски, фиксирующие положение рабочей плоскости щитов опалубки.

Работы выполняются в 2 смены.

В состав работ, рассматриваемых картой, входят:

вспомогательные (разгрузка, складирование, сортировка арматурных изделий и комплектов опалубки);

арматурные;

опалубочные;

бетонные.

Разгрузку, сортировку, раскладку арматурных сеток, армокаркасов, элементов опалубки, монтаж армокаркасов, сеток и укрупненных панелей опалубки, навеску площадок, а также демонтаж опалубки выполняют с помощью автокранов КС-2561Д. Количество кранов принимается согласно ППР.

Арматурные сетки и армокаркасы поступают на стройплощадку в собранном виде.

Опалубочные панели собирают из отдельных щитов на специальных стендах. Последовательность сборки приведена ниже:

щиты укладывают рабочей поверхностью вниз, в местах установки монтажных и рабочих креплений кладут деревянные рейки;

выверяют габаритные размеры панелей, по контуру панелей прибивают деревянные бруски-ограничители;

щиты соединяют между собой пружинными скобами или крюками;

в местах расположения деревянных реек щиты соединяют болтами;

в деревянных рейках в местах пропуска стяжек просверливают отверстия диаметром 18 - 20 мм;

поверх щитов раскладывают схватки;

схватки со щитами соединяют натяжными крюками с клиновым или винтовым запором;

поверх схваток перпендикулярно им укладывают связи жесткости, для чего используют те же схватки;

схватки со связями соединяют болтами;

на верхнем ярусе схваток укрепляют монтажные петли;

к нижним ярусам схваток или связям жесткости прикрепляют подкосы, обеспечивающие устойчивость панелей в вертикальном положении.

В данной технологической карте даны схемы укрупненных панелей опалубки высотой 2,1 м и 1,8 м (на высоту яруса бетонирования) и длиной 4,55 мм.

Работы по возведению монолитной стены подвала выполняются в определенной последовательности.

Укладывают по всему периметру стены маячные рейки, которые крепят гвоздями к деревянным пробкам, заложенным в фундаментной плите; внутренняя грань рейки должна совпадать с наружной гранью бетонируемой стены.

Устанавливают наружные опалубочные панели первого яруса.

Укладывают арматурные сетки и каркасы на всю высоту с раскреплением их расчалками; на арматурных сетках и каркасах располагают фиксаторы с шагом 1 м для создания защитного слоя бетона; работы ведутся с передвижных площадок; для временного крепления арматурных каркасов к опалубке используются струбцины.

Устанавливают наружные опалубочные панели стены второго яруса и внутренние опалубочные панели первого яруса. Опалубочные панели устанавливают таким образом, чтобы нижнее внутреннее ребро панели совпало с нанесенными рисками. Между панелями кладут прокладки-компенсаторы из деревянных реек или оргалита для ликвидации всех отклонений в проектных размерах панели. Смежные панели соединяют пружинными крюками или болтами. Установку панелей опалубки производят с передвижных площадок. На монтируемых опалубочных панелях первого яруса должны быть закреплены подкосы. Стропы подъемного механизма могут быть освобождены лишь после того, как установленная и выверенная относительно горизонтальной оси панель раскреплена расчалками. После расстроповки ставят монтажные крепления между противоположными панелями. Для этого в отверстия деревянных реек пропускают проволочные стяжки и на их концах укрепляют клиновые замки. Затем с помощью регулировочных винтов подкосов выверяют панели относительно вертикальной оси. После соединения противоположных панелей и установки временных распорок инвентарные подкосы снимают и используют при монтаже других панелей. Расчалки оставляют до укладки в опалубку бетонной смеси.

Бетонируют 1 ярус стены по высоте. Бетонную смесь укладывают слоями 30 - 40 см. Бетонная смесь должна иметь осадку конуса 4 - 12 см. Подбор и назначение состава бетонной смеси осуществляется строительной лабораторией. Бетонирование стены производится автобетононасосом (базовый вариант) в сочетании с необходимым количеством автобетоносмесителей. Бетонирование стены следует производить без перерыва участками по 20 м с устройством заглушек из стальной сетки. При бетонировании стреловыми самоходными кранами (варианты 2, 3) подача бетонной смеси производится в поворотных бункерах вместимостью 1 м3. Строповку бункера производят двухветвевым стропом грузоподъемностью 5 т.

Устанавливают наружные опалубочные панели третьего яруса и внутренние опалубочные панели второго яруса. На щитах нижележащей панели закрепляют прокладки из деревянных реек. Вертикальные связи нижележащих панелей соединяют с вертикальными связями вышележащих панелей. Внутренние панели второго яруса крепятся расчалками к наружным панелям третьего яруса. На внутренние панели навешивают рабочие площадки для бетонирования. Производят выверку панелей и устанавливают рабочие крепления (проволочные) стяжки.

Бетонируют II ярус стены. Устанавливают внутреннюю опалубку третьего (верхнего) яруса. После выверки панелей на уровне верхнего яруса устанавливают 2 - 3 временные деревянные распорки, которые привязывают проволокой к стяжкам.

Бетонируют III ярус стены.

Мероприятия по уходу за бетоном в период набора прочности, порядок и сроки их проведения, контроль за выполнением этих мероприятий необходимо осуществлять в соответствии с требованиями СНиП 3.03.01-87. Открытые поверхности бетона необходимо защитить от потерь влаги путем поливки водой или укрытия их влажными материалами (брезентом). Сроки выдерживания и периодичность поливки назначает строительная лаборатория.

При производстве работ в зимних условиях принимают меры по обеспечению нормального твердения бетона при ожидаемой среднесуточной температуре наружного воздуха ниже 5 °С и минимальной суточной температуре ниже 0 °С в соответствии со СНиП 3.03.01-87.

Демонтаж боковых элементов опалубки следует производить после достижения бетоном прочности, обеспечивающей сохранность поверхности и кромок углов от повреждений.

Демонтаж опалубки производят с передвижных площадок в следующем порядке:

снимают замки на стяжках;

убирают навесные площадки;

снимают крепления, соединяющие смежные опалубочные панели;

убирают расчалки и подкосы;

стропят демонтируемую опалубочную панель, производят ее отрыв от забетонированной конструкции с помощью ломика или ручного домкрата;

переставляют панель на площадку складирования.

Варианты рекомендуемых машин и оборудования для возведения монолитной железобетонной стены приводятся в табл. 1.

Таблица 1

Наименование комплекта машин и оборудования

Вариант (фасет-код)

Техническая характеристика

Марка

Количество, шт.

Кран монтажный

1, 2, 3

(28-1)

Кран автомобильный грузоподъемностью 6,3 т

КС-2561Д

2

Машины для бетонирования

1

(28-2)

Автобетононасос производительностью 17 м3

СБ-126А

1

2

(28-3)

Кран гусеничный грузоподъемностью до 16 т

МКГ-16М

1

3

(28-4)

Кран пневмоколесный грузоподъемностью до 16 т

КС-4362

1

3. ТРЕБОВАНИЯ К КАЧЕСТВУ И ПРИЕМКЕ РАБОТ

При приемке материалов, изделий и инвентаря на объекте проверяют их размеры, предельные отклонения положения элементов опалубки, арматурных изделий относительно разбивочных осей или ориентирных рисок.

Отклонения не должны превышать величин, указанных в СНиП 3.03.01-87.

При приемке работ предъявляют журналы сварочных работ, документы лабораторных анализов и испытаний строительных лабораторий, акты освидетельствования скрытых работ.

Средства контроля операций и процессов приводятся в табл. 2.

Таблица 2

Наименование процессов, подлежащих контролю

Предмет контроля

Инструмент и способ контроля

Периодичность контроля

Ответственный за контроль

Технические критерии оценки качества

Приемка арматуры

Соответствие арматурных сеток и каркасов проекту

Визуально

До начала установки сеток и каркасов

Производитель работ

В соответствии с требованиями ГОСТа или ТУ (рабочие чертежи)

Складирование арматурных сеток и каркасов

Правильность складирования, хранения

То же

То же

Мастер

В соответствии с требованиями СНиП III-4-80

Установка сеток и каркасов

Соответствие проекту

«

В процессе установки

То же

В соответствии с проектом

Приемка опалубки и сортировка

Наличие комплектов элементов опалубки. Маркировка элементов

«

В процессе разгрузки

Производитель работ

В соответствии с ППР

Установка опалубки

Соответствие установки элементов опалубки проекту. Допускаемые отклонения положения установленной опалубки по отношению к осям и отметкам. Правильность положения вертикальных плоскостей

Теодолит, нивелир, рулетка, отвес

После установки опалубки

Мастер, геодезическая служба

В соответствии с требованиями СНиП 3.03.01-87 и проектом

Укладка бетонной смеси

Качество бетонной смеси

Конус СтройЦНИЛпресс (ПСУ-500), лабораторный контроль

До бетонирования

Мастер, лаборант

То же

Правильность технологии укладки бетонной смеси

Визуально

В процессе укладки

Мастер

«

Шаг перестановки и глубина погружения вибраторов, правильность установки вибраторов, толщина бетонного слоя при уплотнении

То же, стальная линейка

В процессе уплотнения

То же

«

Уход за бетоном при твердении

Соблюдение влажностного и температурного режимов

Термометр, влагомер. Лабораторный контроль

В процессе твердения

Мастер, лаборант

«

Разборка опалубки

Технологическая последовательность разборки элементов опалубки

Визуально, лабораторный контроль

После набора прочности бетоном

То же

«

Подготовка опалубки

Очистка элементов опалубки от бетонных наплывов

Визуально

После разборки опалубки

Мастер

«

СХЕМА ВОЗВЕДЕНИЯ МОНОЛИТНОЙ ЖЕЛЕЗОБЕТОННОЙ СТЕНЫ ПРИ УКЛАДКЕ БЕТОННОЙ СМЕСИ АВТОБЕТОНОНАСОСОМ (1 вариант)

СХЕМА ВОЗВЕДЕНИЯ МОНОЛИТНОЙ ЖЕЛЕЗОБЕТОННОЙ СТЕНЫ ПРИ УКЛАДКЕ БЕТОННОЙ СМЕСИ С ПОМОЩЬЮ СТРЕЛОВОГО КРАНА

(2, 3 варианты)

Состав работ

I - установка наружной опалубки 1-го яруса

II - установка арматурных сеток и каркасов

III - установка внутренней опалубки 1-го яруса и наружной опалубки 2-го яруса

IV - бетонирование 1-го яруса

V - установка внутренней опалубки 2-го яруса и наружной опалубки 3-го яруса

VI - бетонирование 2-го яруса

VII - установка внутренней опалубки 3-го яруса

VIII - бетонирование 3-го яруса

IX - разборка опалубки

1 - автобетононасос

2 - автобетоносмеситель

3 - автомобильный кран

4 - передвижные подмостки

5 - наружная опалубка

6 - внутренняя опалубка

7 - арматурные каркасы

8 - заглушки

9 - бункеры поворотные

10 - стреловой кран

  - складские площадки

   - площадки укрупнительной сборки панелей опалубки

     - направление движения автобетононасоса при возведении стены


ОСНОВНЫЕ ЭТАПЫ ВОЗВЕДЕНИЯ МОНОЛИТНОЙ ЖЕЛЕЗОБЕТОННОЙ СТЕНЫ

а - установка арматурных каркасов; б - установка панелей опалубки; в - укладка бетонной смеси автобетононасосом (вариант 1), г - укладка бетонной смеси с помощью стрелового крана (варианты 2, 3)

1 - панель опалубки; 2 - подкос; 3 - арматурный каркас; 4 - фиксаторы для создания защитного слоя; 5 - арматурные выпуски; 6 - струбцины; 7 - строп; 8 - расчалки; 9 - якорь; 10 - передвижные подмости; 11 - навecная площадка; 12 - лоток; 13 - бункер поворотный; 14 - стреловой кран; 15 - стяжки монтажные; 16 - распорки; 17 - автобетононасос.


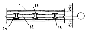
СХЕМА РАСКЛАДКИ ПАНЕЛЕЙ ОПАЛУБКИ СТЕН ПОДВАЛА

СХЕМА АРМИРОВАНИЯ СТЕНЫ ПОДВАЛА

1 - укрупненные панели опалубки (УП-1, УП-2)

2 - добор из отдельных щитов

3 - торцевая опалубка

4 - прокладки-компенсаторы между панелями

5 - подкосы

6 - стяжка

7 - стяжка монтажная

8 - распорка

9 - маячная рейка

10 - фундаментальная сварка

11 - клиновой замок

12 - арматурные каркасы

13 - арматурные сетки

14 - монтажная сварка

УКРУПНЕННАЯ ПАНЕЛЬ ОПАЛУБКИ УП-1

УКРУПНЕННАЯ ПАНЕЛЬ ОПАЛУБКИ УП-2

1 - металлические щиты опалубки                                                     6 – чека

2 - схватки составные                                                                          7 - клин

3 - вертикальные связи жесткости                                                     8 - скоба прижимная

4 - деревянные рейки                                                                           9 - крюк натяжной

5 - монтажные петли


4. КАЛЬКУЛЯЦИЯ ЗАТРАТ ТРУДА, МАШИННОГО ВРЕМЕНИ, ЗАРАБОТНОЙ ПЛАТЫ НА 1 ЗАХВАТКУ

Таблица 3

Наименование процессов

Номер фасет для пересчета показателей

Единица измерения

Объем работ

Обоснование (ЕНиР и др. нормы)

Норма времени

Расценка, р.-к.

Затраты труда

Заработная плата, р.-к.

Время пребывания машины на объекте, маш.-ч

Заработная плата машиниста с учетом пребывания машины на объекте, р.-к.

 

рабочих, чел.-ч

машиниста, чел.-ч (маш.-ч)

рабочих

машиниста

рабочих, чел.-ч

машиниста, чел.-ч (маш.-ч)

рабочих

машиниста

 

1. Разгрузка с транспортных средств элементов опалубки, арматурных изделий, инвентаря и приспособлений

01, 02

100 т

2,035

ЕНиР, §Е1-5, табл. 2, п. 2, ПР-3

12

6,1

7-68

5-56

24,42

12,41

15-63

11-31

12,41

11-31

 

2. Сортировка элементов опалубки, арматурных изделий и подача к месту работ

03

1 т

200,5

ЕНиР, §Е5-1-1, пп. 1, 2

0,65

0,32

0-48,4

0-33,9

130,32

64,16

97-04

67-97

64,16

67-97

 

3. Укрупнительная сборка панелей опалубки стен

04

м2

1390

ЕНиР, §Е4-1-40, п. 1

0,38

-

0-28,3

-

528,20

-

393-37

-

-

-

 

4. Монтаж крупнощитовой металлической опалубки стен

04, 05

м2

1390

ЕНиР, §E4-1-37, табл. 4, п. 2а

0,24

0,08

0-17,5

0-07,3

333,60

111,2

243-25

101-47

111,2

101-47

 

5. Установка прокладок-компенсаторов между панелями опалубки

06

100 м заделки

3

ЕНиР, §Е4-1-43, п. 16

6,6

-

4,62

-

19,80

-

13-86

 

 

 

 

6. Установка доборов из отдельных щитов

07

м2

80

ЕНиР, §Е4-1-37, табл. 2, п. 1

0,39

-

0-29,1

-

31,20

-

23-28

 

 

 

 

7. Монтаж навесных площадок

08

шт.

180

ЕНиР, §Е5-1-2, п. 4

0,27

0,14

0-20,1

0-14,8

48,60

25,20

36-18

26-64

25,2

26-64

 

8. Кладка арматурных сеток

09

шт.

122

ЕНиР, §Е4-1-44, табл. 1, п. 2а

0,79

0,395

0-53,5

0-35,9

96,38

48,19

65-27

43-80

48,19

43-80

 

9. Кладка арматурных каркасов

10, 11

т

64

ВниР, §В14-1-10, табл. 2, п. 4г, ПР-3

2,97

0,594

2-43,7

0-54,1

190,1

38,02

155-97

34-62

38,02

34-62

 

10. Кладка арматуры из отдельных стержней

I2, 13

т

8,5

ЕНиР, §Е4-1-46, п. 10г

15

-

11-63

-

127,5

-

98-85

-

-

-

 

11. Монтажная сварка

14, 15

100 соединений

39

ВНиР, §В14-1-13г, табл. 4, п. 2в, ПР-8

1,3

-

1-18,3

-

50,7

-

46-14

-

-

-

 

12. Прием бетонной смеси

16, 29

100 м3

3.70

ЕНиР, §Е4-1-54, п. 20

0

-

0

-

0

-

0

-

-

-

 

13. Подача бетонной смеси

17, 18

т

925

ЕНиР, 1973г., § 24-13

0

0

0

0

0

0

0

0

-

-

 

14. Укладка бетонной смеси

19, 20

м3

370

Расчет № 1

0,18

0,125

0-11,4

0-11,9

66,3

46,25

42-18

44-03

23,12

44-03

 

15. Поливка бетонных поверхностей водой

21

100 м2

176,4

ЕНиР, §Е4-1-54, п. 9

0,14

-

0-09

-

24,70

-

15-88

-

-

-

 

16. Демонтаж навесных площадок

08

шт.

180

ЕНиР, §Е5-1-2. п. 4, ПР-2

0,216

0,112

0-16,1

0-11,8

38,88

20,16

28-98

21-24

20,16

21-24

 

17. Демонтаж крупнощитовой опалубки

04, 22

м2

1390

ЕНиР, §E4-1-37, п. 2б

0,14

0,047

0-09,2

0-04,3

194,60

65,33

127-88

59-77

65,33

59-77

 

18. Разборка доборов

07

м2

80

ЕНиР, §Е4-1-37. т. 2. п. 2

0,21

-

0-14,1

-

16,80

-

11-28

-

 

 

 

19. Погрузка элементов опалубки, инвентаря и приспособлений

02, 23

100 т

1,184

ЕНиР, §Е1-5, табл. 2, п. 2, ПР-3

12

6,1

7-68

5-56

14,21

7,22

9-09

6-58

7,22

6-58

 

Итого:

 

 

 

 

 

 

 

 

1936,6

438,14

1424-13

417-43

415,01

417-43

 

Калькуляция затрат труда, машинного времени и заработной платы составлена для варианта возведения монолитной железобетонной стены высотой 6 м, толщиной 0,5 м при бетонировании с помощью автобетононасоса.

5. ГРАФИК ПРОИЗВОДСТВА РАБОТ

График производства работ составлен для варианта возведения монолитной железобетонной стены высотой 6 м, толщиной 0,5 м при бетонировании с помощью автобетононасоса.


6. МАТЕРИАЛЬНО-ТЕХНИЧЕСКИЕ РЕСУРСЫ

Потребность в инструменте, инвентаре и приспособлениях приведена в табл. 5.

Таблица 5

Наименование

Марка, техническая характеристика, ГОСТ, № чертежа

Количество по вариантам

Назначение

1

2

3

Бункер

Проект 389-2.00.000

-

1

1

Подача бетонной смеси

Вибратор глубинный

ИВ-47А

ТУ-22-4666-80

1

1

1

Вибрирование уложенной бетонной смеси

Строп двухветвевой

2СК-5,0;500

ГОСТ 25573-82*

1

1

1

Подъем элементов

Строп четырехветвевой

4СК 1-0,8

ГОСТ 25573-82

1

1

1

То же

Домкрат ручной

ГОСТ 18042-72

1

1

1

Распалубка

Навесные площадки

ЦНИИОМТП

Р.Ч. «Монолит-77»

2493.00.000

20

20

20

Бетонирование стен

Лоток

 

-

1

1

Для спуска бетонной смеси в опалубку

Передвижные подмости

ЦНИИОМТП

2

2

2

Установка армокаркасов и панелей опалубки

Уровень строительный

Тип УС 2

ГОСТ 9416-83

1

1

1

Проверка установки элементов опалубки и армокаркасов

Отвес строительный

ОТ-400

ГОСТ 7948-80

1

1

1

То же

Ключ гаечный разводной

ГОСТ 7275-75

2

2

2

Установка опалубки

Метр складной

РСТ 149-76

2

2

2

Обмер конструктивных элементов

Рулетка металлическая

РС-20

ГОСТ 7502-80*

1

1

1

То же

Термометр стеклянный технический

ГОСТ 2823-73*Е

(СТ СЭВ 2944-81)

1

1

1

Проверка температурного режима при твердении бетона

Влагомер

ГОСТ 15528-70*

1

1

1

Проверка влажностного режима при твердении бетона

Дрель универсальная

ТУ 1-370-72

1

1

1

Установка опалубки

Плоскогубцы комбинированные

ГОСТ 17439-72

2

2

2

Опалубочные и арматурные работы

Зубило слесарное

ГОСТ 7211-86Е

1

1

1

«

Кусачки

ГОСТ 7282-75*

2

2

2

«

Клещи 250

ГОСТ 14184-83

1

1

1

«

Отвертка

ГОСТ 17199-71**Е

1

1

1

«

Ножницы

ГОСТ 7210-75

1

1

1

«

Молоток слесарный

ГОСТ 2310-77

1

1

1

«

Щетка стальная

ТУ 36-2460-82

10

10

10

Очистка опалубки

Кисть маховая

КМ-65

ГОСТ 10597-80*

2

2

2

Смазка поверхности опалубки эмульсией

Лом стальной

ЛО-24

ГОСТ 1405-83

1

1

1

Опалубочные работы

Лопата растворная

ГОСТ 3620-76

2

2

2

Укладка бетонной смеси

Поливочный рукав

длина 40 м

1

1

1

Поливка бетонных поверхностей

Потребность в материалах и полуфабрикатах для выполнения работ по возведению монолитных железобетонных стен приведена в табл. 6.

Таблица 6

Наименование материала, полуфабриката, конструкций (марка, ГОСТ)

Номер фасет

Исходные данные

Потребность в материалах

Единица измерения

Объем работ в нормативных единицах

Принятая норма расхода материалов

Унифицированная разборно-переставная опалубка ЦНИИОМТП «Монолит-77»

24, 25

м2

1470

0,0785 т

115,4

Арматурные изделия

19, 26

м3 стены

370

0,23 т

85,1 т

Бетонная смесь В10, В15

19

м3

370

1,015 м3

376 м3

Эмульсия ЭКС

24

м2 опалубки

1470

0,36 кг

529 кг

Электроды

14, 27

100 сварных соединений

39

37 кг

1443 кг

7. ТЕХНИКА БЕЗОПАСНОСТИ

Устройство монолитных железобетонных стен необходимо выполнять в соответствии со СНиП III-4-80, «Правилами пожарной безопасности при производстве строительно-монтажных работ» ГУПО 1978 г. и «Правилами устройства и безопасной эксплуатации грузоподъемных кранов» Госгортехнадзора СССР. Применяемое оборудование должно отвечать требованиям безопасности в соответствии с ГОСТ 12.1.013-78.

8. ТЕХНИКО-ЭКОНОМИЧЕСКИЕ ПОКАЗАТЕЛИ

1. Нормативные затраты труда рабочих, чел.-ч:

на весь объем - 1936,6

на 100 м3 - 523,4.

2. Нормативные затраты машинного времени, маш.-ч:

на весь объем - 438,14

на 100 м3 - 118,49.

3. Заработная плата рабочих-монтажников, р.-к.:

на весь объем - 1424-13.

4. Заработная плата механизаторов, р.-к.:

на весь объем - 417,43.

5. Продолжительность выполнения работ, смена - 37,3.

6. Выработка на одного рабочего в смену, м3 - 1,57;

с учетом механизаторов - 1,28.

7. Условные затраты на механизацию для базового варианта, р.-к. - 1894-00.

8. Сумма изменяемых затрат, р.-к. - 3318-13.

9. ФАСЕТНЫЙ КЛАССИФИКАТОР ФАКТОРОВ

Привязка типовой технологической карты к конкретным условиям производится с помощью фасетного классификатора факторов, влияющих на расход материально-технических ресурсов, затрат труда, зарплату.

В фасетах содержится информация по всем вариантам производства работ, предусмотренных в ТТК.

При выборе одного из этих вариантов необходимо произвести пересчет базовой калькуляции затрат труда, машинного времени и зарплаты, входящих в ПК.

Для автоматизации расчетов калькуляции при привязке ТТК ЦНИИОМТП Госстроя СССР разработана программа для ЭВМ. Она позволяет использовать библиотеки ТТК и фасет на машинных носителях, производить в диалоговом режиме расчеты калькуляций. Привязка калькуляции заключается в коррекции базовой калькуляции в соответствии с выбранными из фасет вариантами.

Фасет 01

Масса грузов при разгрузке, 100 т

Наименование фактора

Обоснование

Код

Значение фактора

Стена размерами, м:

 

 

 

высотой 6; толщиной 0,5

По проекту

1

2,035

то же, толщиной 0,25

«

2

1,406

высотой 3,6; толщиной 0,5

«

3

1,232

то же, толщиной 0,25

«

4

0,854

Фасет 02

Нормы времени и расценки на погрузку и выгрузку материалов (грузов)

Наименование фактора

Обоснование

Код

Значение фактора

Общая масса поднимаемого груза, т, до:

 

 

 

0,5

ЕНиР, §Е1-5, табл. 2, п. 1, ПР-3

1

Н. вр. для рабочих - 22;

для машиниста - 11.

Расц. для рабочих -14-09;

для машиниста - 10-03.

1

То же, п. 2

2

По калькуляции

1,5

То же, п. 3

3

Н. вр. для рабочих - 8,8;

для машиниста - 4,4.

Расц. для рабочих - 5-63;

для машиниста - 4-01.

2

То же, п. 4

4

Н. вр. для рабочих - 7,2;

для машиниста - 3,6.

Расц. для рабочих - 4-61;

для машиниста - 3-29.

3

То же, р. 5

5

Н. вр. для рабочих - 5,4;

для машиниста - 2,7.

Расц. для рабочих - 3-46;

для машиниста - 2-46.

Фасет 03

Масса грузов при сортировке, т

Наименование фактора

Обоснование

Код

Значение фактора

Стена размерами, м:

 

 

 

высотой 6; толщ. 0,5

По проекту

1

200,5

то же, толщ. 0,25

«

2

137,6

высотой 3,6; толщ. 0,5

«

3

120,2

то же, толщ. 0,25

«

4

82,4

Фасет 04

Площадь крупнощитовой опалубки стен, м2

Наименование фактора

Обоснование

Код

Значение фактора

Стена высотой, м:

 

 

 

6

По проекту

1

1390

3,6

«

2

840

Фасет 05

Нормы времени и расценки на установку опалубки стен

Наименование фактора

Обоснование

Код

Значение фактора

Площадь щитов, м2, до:

 

 

 

10

ЕНиР, §Е4-1-37, табл. 4, п. 1а

1

Н. вр. и расц. умножить на 1,166

20

То же, п. 2а

2

По калькуляции

Фасет 06

Количество прокладок-компенсаторов, 100 м

Наименование фактора

Обоснование

Код

Значение фактора

Высота стены, м:

 

 

 

6

По проекту

1

300

3,6

«

2

180

Фасет 07

Площадь доборной опалубки, м2

Наименование фактора

Обоснование

Код

Значение фактора

Стена высотой, м:

 

 

 

6

По проекту

1

80

3,6

«

2

50

Фасет 08

Количество навесных площадок, шт.

Наименование фактора

Обоснование

Код

Значение фактора

Высота стены, м:

 

 

 

6

По ППР

1

180

3,6

«

2

120

Фасет 09

Количество арматурных сеток, шт.

Наименование фактора

Обоснование

Код

Значение фактора

Толщина стены, м:

 

 

 

0,5

По проекту

1

122

0,25

«

2

0

Фасет 10

Масса арматурных каркасов, т

Наименование фактора

Обоснование

Код

Значение фактора

Стена размерами, м:

 

 

 

высотой 6 м; толщ. 0,5

По проекту

1

64

то же, толщ. 0,25

«

2

20

высотой 3,6м; толщ. 0,5

«

3

39

то же, толщ. 0,25

«

4

12

Фасет 11

Норма времени и расценка на установку армокаркасов

Наименование фактора

Обоснование

Код

Значение фактора

Масса армокаркасов, т, до:

 

 

 

0,2

ВНиР, §В14-1-10, табл. 2, п. 4а, ПР-3

1

Н. вр. для рабочих - 6,05;

для машиниста - 1,21.

Расц. для рабочих - 4-96;

для машиниста - 1-10.

0,4

То же, п. 4б

2

Н. вр. для рабочих - 4,675;

для машиниста - 0,935.

Расц.для рабочих - 3-83;

для машиниста - 0-85,1.

0,6

То же, п. 4в

3

Н. вр. для рабочих - 3,41;

для машиниста - 0,682.

Расц. для рабочих - 2-79,4;

для машиниста - 0-62,1.

1

То же, п. 4г

4

По калькуляции

2

То же, п. 4д

5

Н. вр. для рабочих - 2,255;

для машиниста - 0,451.

Расц. для рабочих - 1-84,8;

для машиниста - 0-41.

3

То же, п. 4е

6

Н. вр. для рабочих - 1,705;

для машиниста - 0,341.

Расц. для рабочих - 1-39,7;

для машиниста - 0-31.

Фасет 12

Масса отдельных арматурных стержней, т

Наименование фактора

Обоснование

Код

Значение фактора

Стена размерами, м:

 

 

 

высотой 6; толщ. 0,5

По проекту

1

8,5

то же, толщ. 0,25

«

2

2,2

высотой 3,6; толщ. 0,5

«

3

5,1

то же, толщ. 0,25

«

4

1,3

Фасет 13

Нормы времени и расценки на установку арматуры отдельными стержнями

Наименование фактора

Обоснование

Код

Значение фактора

Диаметр арматуры, мм, до:

 

 

 

6

ЕНиР, §Е4-1-46, п. 10а

1

Н. вр. и расц. умножить на 2,37

8

То же, п. 10б

2

Н. вр. и расц. умножить на 2,10

12

То же, п. 10в

3

Н. вр. и расц. умножить на 1,33

18

То же, п. 10г

4

По калькуляции

Фасет 14

Количество сварных соединений, 100 соединений

Наименование фактора

Обоснование

Код

Значение фактора

Стена высотой 6 м

По проекту

1

39

То же, высотой 3,6 м

То же

2

27

Фасет 15

Норма времени и расценка на 100 сварных соединений

Наименование фактора

Обоснование

Код

Значение фактора

Наименьший диаметр арматуры до 12 мм и наибольший диаметр, мм, до

 

 

 

40

ВНиР, §В14-1-13Г, табл. 4, п. 2в, ПР-8

1

По калькуляции

20

То же, п. 2б

2

Н. вр. для рабочих - 0,78;

Расц. - 0-70,9.

Фасет 16

Количество принимаемой бетонной смеси, 100 м3

Наименование фактора

Обоснование

Код

Значение фактора

Стена размерами, м:

 

 

 

высотой 6; толщ. 0,5

Объем стены

1

3,7

то же, толщ. 0,25

«

2

1,85

высотой 3,6; толщ. 0,5

«

3

2,22

то же, толщ. 0,25

«

4

1,11

Фасет 17

Количество подаваемой бетонной смеси, т

Наименование фактора

Обоснование

Код

Значение фактора

Стена размерами, м:

 

 

 

высотой 6; толщ. 0,5

Масса бетонной смеси для стен

1

925

то же, толщ. 0,25

«

2

462,5

высотой 3,6; толщ. 0,5

«

3

555

то же, толщ. 0,25

«

4

277,5

Фасет 18

Норма времени и расценка на подачу бетонной смеси

Наименование фактора

Обоснование

Код

Значение фактора

При работе:

 

 

 

автобетононасоса

-

1

По калькуляции

стрелового крана

ЕНиР, 1973г. ,§24-13, табл. 2, п. 9;

ЕНиР 1987г., Общая часть

2

Н. вр. для рабочих - 0,17;

для машиниста - 0,085.

Расц. для рабочих - 0-11,4;

для машиниста - 0-07,7.

Фасет 19

Количество укладываемой бетонной смеси, м3

Наименование фактора

Обоснование

Код

Значение фактора

Стена размерами, м:

 

 

 

высотой 6; толщ. 0,5

Объем стены на захватке

1

370

то же, толщ. 0,25

«

2

185

высотой 3,6; толщ. 0,5

«

3

222

то же, толщ. 0,25

«

4

111

Фасет 20

Норма времени и расценка на укладку бетонной смеси

Наименование фактора

Обоснование

Код

Значение фактора

При подаче автобетононасосом

Расчет № 1

1

По калькуляции

При подаче стреловым краном

 

 

 

100

ЕНиР, §Е4-1-49, табл. 3, п. 1а, ПР-9

2

Н. вр. для рабочих - 4,38;

Расц.для рабочих - 3-12,5.

150

То же, п. 1б, ПР-9

3

Н. вр. для рабочих - 2,88;

Расц. для рабочих - 2-05.

200

То же, п. 1в, ПР-10

4

Н. вр. для рабочих - 1,84;

Расц. для рабочих - 1-31.

300

То же, п. 1г, ПР-10

5

Н. вр. для рабочих - 1,38;

Расц. для рабочих - 0-98,7.

более 300

То же, п. 1д, ПР-10

6

Н. вр. для рабочих - 0,91;

Расц. для рабочих - 0-65.

Фасет 21

Площадь поливаемых бетонных поверхностей, м2

Наименование фактора

Обоснование

Код

Значение фактора

Высота стены, м:

 

 

 

6

Площадь опалубки стен

1

176,40

3,6

«

2

106,80

Фасет 22

Нормы времени и расценки на демонтаж крупнощитовой опалубки

Наименование фактора

Обоснование

Код

Значение фактора

Площадь щитов, м2, до:

 

 

 

10

ЕНиР, §E4-1-37, табл. 4, п. 1б

1

Н. вр. и расценки умножить на 0,79

20

То же, п. 2б

2

По калькуляции

Фасет 23

Масса грузов при погрузке после разборки опалубки, 100 т

Наименование фактора

Обоснование

Код

Значение фактора

Высота стены, м:

 

 

 

6

По проекту

1

1,184

3,6

То же

2

0,721

Фасет 24

Общая площадь опалубки, м2

Наименование фактора

Обоснование

Код

Значение фактора

Стена высотой, м:

 

 

 

6

По проекту

1

1470

3,6

То же

2

890

Фасет 25

Норма расхода материалов на 1 м2 опалубки, т

Наименование фактора

Обоснование

Код

Значение фактора

Стена высотой, м:

 

 

 

6

По проекту

1

0,0785

3,6

«

2

0,0776

Фасет 26

Норма расхода арматуры на 1 м3 стены, т

Наименование фактора

Обоснование

Код

Значение фактора

Стена толщиной, м:

 

 

 

0,5

По проекту

1

0,23

0,25

«

2

0,12

Фасет 27

Норма расхода электродов на 100 сварных соединений, кг

Наименование фактора

Обоснование

Код

Значение фактора

Наибольший диаметр арматуры, мм:

 

 

 

14

Подсчет по формуле: (0,058d2 - 8,5)

1

2,9

16

«

2

6,4

18

«

3

10,3

20

«

4

14,7

22

«

5

19,6

24

«

6

24,9

26

«

7

30,7

28

«

8

37

30

«

9

43,7

Фасет 28

Стоимость 1 маш.-ч работы механизмов, руб.

Наименование фактора

Обоснование

Код

Значение фактора

Кран автомобильный грузоподъемностью до 6,3 т

СНиП IV-3-82. Приложение, табл. 10, код 0470

1

4,01

Автобетононасос

Расчет экономической эффективности автобетононасоса, ЦНИИОМТП, 1981 г.

2

13,95

Кран гусеничный грузоподъемностью до 16 т

СНиП IV-3-82. Приложение, табл. 10, код 0488

3

5,64

Кран пневмоколесный грузоподъемностью до 10 т

То же, код 0520

4

6,65

Фасет 29

Норма времени и расценка на прием бетонной смеси

Наименование фактора

Обоснование

Код

Значение фактора

При работе:

 

 

 

стрелового крана

ЕНиР, § Е4-1-54, п. 20

1

Н. вр. для рабочих - 5,7;

Расц. для рабочих - 3-65.

автобетононасоса

-

2

По калькуляции

Расчет № 1

Норма времени и расценка на прием, подачу и укладку бетонной смеси автобетононасосом с очисткой бетоновода

А. Норма времени и расценка на прием, подачу и укладку бетонной смеси автобетононасосом.

Эксплуатационная среднечасовая производительность составляет:

Пэ = Пт ´ Кт ´ Кпр м3/ч,

где: Пт = 60 м3/ч - техническая производительность автобетононасоса (паспортная);

Кт = 0,4 - коэффициент перехода от технической производительности к эксплуатационной;

Кпр = 0,7 - коэффициент, учитывающий простои.

Коэффициенты Кт и Кпр взяты из «Инструкции по определению экономической эффективности новых строительных, дорожных, мелиоративных машин; противопожарного оборудования; лифтов; изобретений и рационализаторских предложений. Часть II, 1978 г.».

Эксплуатационная среднечасовая производительность составит:

Пэ = 60 ´ 0,4 ´ 0,7 = 17 м3/ч.

Измеритель - 1 м3 бетонной смеси.

Время бетонирования 1 м3 составит: 1 : 17 = 0,06 ч.

Состав звена: машинист 5 разр. - 1 чел., оператор 5 разр. - 1 чел., бетонщики 3 разр. - 1 чел., 2 разр. - 2 чел.

Норма времени на измеритель составит:

для машиниста - 0,06 чел.-ч;

для оператора - 0,06 чел.-ч;

для остального звена - 0,06 ´ 3 = 0,18 чел.-ч.

Б. Норма времени на очистку бетоновода.

Согласно ЕНиР §Е4-1-48, табл. 6 (К = 0,3 на очистку 100 м бетоновода сжатым воздухом) норма времени составляет 1,89 чел.-ч. Для принятой длины бетоновода (20 м) норма времени составит:

1,89 ´ 0,2 = 0,378 чел.-ч.

Очистка бетоновода проводится один раз в смену. За это время будет уложено:

17 ´ 8,2 = 139,4 м3 бетонной смеси.

Приведенная норма времени на очистку бетоновода на измеритель (1 м3) составит:

0,378 : 139,4 = 0,0027 чел.-ч.

В. Общая норма времени на прием, подачу, укладку бетонной смеси и очистку бетоновода составит:

для рабочих - 0,18 чел.-ч;

для машиниста и оператора - (0,06 + 0,0027) ´ 2 = 0,125 чел.-ч.

Расценка составит:

для рабочих - (18/3)·(0-70 + 0-64 + 0-64) = 0-11,9 руб.

для машиниста и оператора - 0-91 ´ 0,125 = 0-11,4 руб.

СОДЕРЖАНИЕ

 




Яндекс цитирования



   Copyright © 2007-2026,  www.tehlit.ru.

[ ѓосты, стандарты, нормативы, инструкции, правила, строительные нормы ]