|
| |
|
МЕЖГОСУДАРСТВЕННЫЙ СТАНДАРТ
|
|
ВИНТЫ С НАКАТАННОЙ
ГОЛОВКОЙ
НЕВЫПАДАЮЩИЕ КЛАССА ТОЧНОСТИ В
Конструкция и размеры
Knurled-he ad
non-falling-out screws, product grade В.
Design and dimensions
|
ГОСТ
10344-80
Взамен
ГОСТ 10344-63
|
Постановлением Государственного комитета СССР по
стандартам от 7 июля 1980 г.
№ 3429 дата введения установлена
01.01.82
Ограничение срока действия снято по протоколу № 7-95
Межгосударственного совета по стандартизации, метрологии и сертификации (ИУС
11-95)
Издание с Изменением № 1, утвержденным в декабре 1986
г. (ИУС 2-87) и Поправкой (ИУС 4-90).
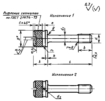
Настоящий стандарт распространяется на
винты с накатанной головкой невыпадающие класса точности В с номинальным
диаметром резьбы от 2,5 до 12
мм.
(Введено
дополнительно, Изм. № 1).
1. Размеры винтов должны соответствовать
указанным на чертеже и в табл. 1 и 2.

* D - размер до накатки.
Таблица 1
|
Номинальный диаметр резьбы d
|
2,5
|
3
|
4
|
5
|
6
|
8
|
10
|
12
|
|
Диаметр стержня d1 (пред. откл. h13)
|
1,6
|
2,0
|
2,8
|
3,5
|
4,0
|
5,5
|
7,0
|
9,0
|
|
Длина резьбы b
|
3
|
4
|
5
|
6
|
8
|
10
|
12
|
16
|
|
Диаметр головки D (пред. откл. h14)
|
5
|
6
|
8
|
9
|
11
|
14
|
18
|
20
|
|
Высота головки k (пред. откл. h14)
|
4,0
|
4,8
|
6,5
|
7,5
|
9,0
|
11,00
|
14,0
|
16,0
|
|
Высота подголовка h
|
0,8
|
1,0
|
1,6
|
2,0
|
2,
|
5
|
3,0
|
|
Ширина канавки n
|
0,8
|
1,0
|
1,6
|
2,0
|
2,5
|
3,0
|
4,0
|
|
Радиус канавки rl
|
0,4
|
0,5
|
0,8
|
1,0
|
1,25
|
1,5
|
2,0
|
|
Фаска С, не более
|
0,5
|
0,7
|
0,8
|
1,0
|
1,2
|
1,5
|
1,8
|
|
Радиус под головкой R, не более
|
0,2
|
0,4
|
0,5
|
0,6
|
|
Диаметр отверстия в головке d2
|
-
|
1,5
|
2,5
|
Таблица 2
|
Длина
винта l,
мм
|
Диаметр
резьбы d, мм
|
|
2,5
|
3
|
4
|
5
|
6
|
8
|
10
|
12
|
|
6
|
|
|
-
|
-
|
-
|
-
|
-
|
-
|
|
8
|
|
|
|
-
|
-
|
-
|
-
|
-
|
|
10
|
|
|
|
|
-
|
-
|
-
|
-
|
|
12
|
|
|
|
|
|
-
|
-
|
-
|
|
(14)
|
|
|
|
|
|
-
|
-
|
-
|
|
16
|
|
|
|
|
|
-
|
-
|
-
|
|
(18)
|
|
|
|
|
|
-
|
-
|
-
|
|
20
|
-
|
|
|
|
|
-
|
-
|
-
|
|
(22)
|
-
|
|
|
Стандартные
длины
|
|
-
|
|
25
|
-
|
|
|
|
-
|
|
(28)
|
-
|
|
|
|
|
|
32
|
-
|
|
|
|
|
|
|
|
|
(36)
|
-
|
|
|
|
|
|
|
|
|
40
|
-
|
|
|
|
|
|
|
|
|
(45)
|
-
|
|
|
|
|
|
|
|
|
50
|
-
|
|
|
|
|
|
|
|
|
(55)
|
-
|
|
|
|
|
|
|
|
|
60
|
-
|
|
|
|
|
|
|
|
|
(70)
|
-
|
-
|
-
|
|
|
|
|
|
|
80
|
-
|
-
|
-
|
|
|
|
|
|
Примечание. Длины винтов, заключенные в
скобки, применять не рекомендуется.
Пример условного
обозначения винта исполнения 1, диаметром
резьбы d = 8 мм, с полем допуска 6g, длиной l = 25
мм, класса прочности 5.8, без покрытия:
Винт M8-6g×25.58 ГОСТ 10344-80
То же, исполнения 2, класса прочности
8.8, из стали марки 35Х, с цинковым покрытием толщиной 9 мкм, хроматированным:
Винт 2M8-6g×25.88.35X.019 ГОСТ 10344-80
2. Резьба - по ГОСТ
24705-2004, шаг резьбы - крупный. Сбег резьбы - по ГОСТ 10549-80.
1, 2. (Измененная редакция, Изм. № 1).
2а. Допуски и методы контроля размеров и
отклонений формы и расположения поверхностей - по ГОСТ
1759.1-82.
2б. Дефекты поверхности и методы контроля
- по ГОСТ
1759.2-82.
2в. Шлицы прямые - по ГОСТ 24669-81.
2а-2в. (Введены дополнительно, Изм.
№ 1).
3. Технические требования - по ГОСТ
1759.0-87.
4. Теоретическая масса винтов указана в
приложении 1.
5. (Исключен,
Изм. № 1).
ПРИЛОЖЕНИЕ 1
Справочное
|
Длина
винта l,
мм
|
Теоретическая
масса 1000 шт. стальных винтов, кг,
при номинальном диаметре резьбы d, мм
|
|
2,5
|
3
|
4
|
5
|
6
|
8
|
10
|
12
|
|
6
|
0,685
|
1,164
|
-
|
-
|
-
|
-
|
-
|
-
|
|
8
|
0,717
|
1,214
|
2,745
|
-
|
-
|
-
|
-
|
-
|
|
10
|
0,749
|
1,263
|
2,841
|
4,304
|
-
|
-
|
-
|
-
|
|
12
|
0,781
|
1,312
|
2,938
|
4,455
|
7,600
|
-
|
-
|
-
|
|
(14)
|
0,813
|
1,361
|
3,035
|
5,611
|
7,797
|
-
|
-
|
-
|
|
16
|
0,845
|
1,410
|
3,131
|
4,757
|
7,994
|
-
|
-
|
-
|
|
(18)
|
0,877
|
1,459
|
3,228
|
4,908
|
8,192
|
-
|
-
|
-
|
|
20
|
-
|
1,508
|
3,324
|
5,059
|
8,389
|
-
|
-
|
-
|
|
(22)
|
-
|
1,557
|
3,421
|
5,210
|
8,589
|
16,87
|
33,55
|
-
|
|
25
|
-
|
1,634
|
3,566
|
5,436
|
8,833
|
17,45
|
34,45
|
-
|
|
(28)
|
-
|
1,708
|
3,711
|
5,663
|
9,179
|
17,99
|
35,36
|
50,64
|
|
32
|
-
|
1,807
|
3,904
|
5,965
|
9,574
|
18,74
|
36,57
|
52,64
|
|
(36)
|
-
|
1,905
|
4,097
|
6,267
|
10,070
|
19,49
|
37,78
|
54,64
|
|
40
|
-
|
2,004
|
4,290
|
6,569
|
10,360
|
20,24
|
38,98
|
56,64
|
|
(45)
|
-
|
2,128
|
4,552
|
6,946
|
10,860
|
21,17
|
40,49
|
59,13
|
|
50
|
-
|
2,251
|
4,773
|
7,324
|
11,350
|
22,11
|
42,00
|
61,63
|
|
(55)
|
-
|
2,375
|
5,015
|
7,701
|
11,840
|
23,04
|
43,51
|
64,13
|
|
60
|
-
|
2,498
|
5,256
|
8,079
|
12,840
|
23,98
|
45,02
|
66,63
|
|
(70)
|
-
|
-
|
-
|
8,834
|
13,320
|
25,84
|
48,04
|
71,63
|
|
80
|
-
|
-
|
-
|
9,589
|
14,310
|
27,72
|
51,06
|
76,63
|
Примечание. Для определения массы винтов из
латуни массы, указанные в таблице, следует умножить на коэффициент 1,08.
ПРИЛОЖЕНИЕ 2. (Исключено,
Изм. № 1).
| |
|