//
ТехЛит.ру
- крупнейшая бесплатная электронная интернет библиотека для "технически умных" людей.
WWW.TEHLIT.RU - ТЕХНИЧЕСКАЯ ЛИТЕРАТУРА

:: Алготрейдинг::


АЛГОТРЕЙДИНГ
шаг за шагом
с нуля по урокам!

Торговые роботы на PYTHON, BackTrader,
Pandas, Pine Script для TradingView. Связка с брокерами, телеграм и легкими приложениями.


ГОСУДАРСТВЕННЫЙ СТАНДАРТ СОЮЗА ССР

ГАЗЫ УГЛЕВОДОРОДНЫЕ
СЖИЖЕННЫЕ

МЕТОД ОПРЕДЕЛЕНИЯ УГЛЕВОДОРОДНОГО СОСТАВА

ГОСТ 10679-76

ИЗДАТЕЛЬСТВО СТАНДАРТОВ

Москва

ГОСУДАРСТВЕННЫЙ СТАНДАРТ СОЮЗА ССР

ГАЗЫ УГЛЕВОДОРОДНЫЕ СЖИЖЕННЫЕ

Метод определения углеводородного состава

Liquefied hydrocarbon gases. Method for determination of the hydrocarbon compound

ГОСТ
10679-76*

Взамен
ГОСТ 10679-63

* Переиздание (март 1995 г.) с Изменениями № 1, 2. утвержденными в июле 1981 г. и декабре 1985 г. (И УС 10-81, 4-86).

Постановлением Государственного комитета стандартов Совета Министров СССР от 11 мая 1976 г. № 1156 срок введения установлен

с 01.01.77

Снято ограничение срока действия по Протоколу № 3-93 Межгосударственного Совета по стандартизации, метрологии и сертификации

Настоящий стандарт распространяется на сжиженные углеводородные газы и устанавливает метод определения их углеводородного состава (фракции С3 и С4 и их смеси), находящихся под избыточным давлением собственных паров, массовая доля которых 0,01 % и выше.

Сущность метода заключается в хроматографическом разделении углеводородов, входящих в состав сжиженного газа.

1. АППАРАТУРА, РЕАКТИВЫ И МАТЕРИАЛЫ

1.1. Для определения углеводородного состава применяют:

хроматограф ЛХМ-80 или аналогичного типа с детектором по теплопроводности или пламенно-ионизационным детектором;

лупу измерительную по ГОСТ 25706-83 или аналогичную с ценой деления 0,1 мм;

линейку измерительную по НТД;

секундомер по ТУ 25-1819.00 21-90, ТУ 25-1894.003-90;

колбу круглодонную типа КГП-3 по ГОСТ 25336-82;

чашку фарфоровую по ГОСТ 9147-80;

эксикатор по ГОСТ 25336-82;

набор сит «Физприбор»;

печь муфельную электрическую, обеспечивающую нагрев до 750 - 800 °С;

баню водяную или песочную;

шкаф сушильный, обеспечивающий нагрев до 150 °С;

алюминия окись активную по ГОСТ 8136-85;

трепел зикеевского карьера-сорбент (фракция 0,25 - 0,50 мм);

масло вазелиновое медицинское по ГОСТ 3164-78;

дибутилфталат;

гелий в баллоне;

водород технический сжатый по ГОСТ 3022-80;

азот в баллоне по ГОСТ 9293-74;

воздух в баллоне по ГОСТ 17433-80;

спирт этиловый синтетический по НТД, спирт этиловый технический по ГОСТ 17299-78 или спирт этиловый ректификованный технический по ГОСТ 18300-87;

натрий углекислый безводный по ГОСТ 83-79, 2 %-ный раствор;

кальций хлористый;

эфир петролейный;

эфир этиловый;

воду дистиллированную по ГОСТ 6709-72;

шприц типа «Рекорд» с инъекционными иглами;

пробоотборник типа ПУ по ГОСТ 14921-78.

(Измененная редакция, Изм. № 1, 2).

2. ПОДГОТОВКА К АНАЛИЗУ

2.1. Для разделения углеводородов применяют модифицированную окись алюминия или модифицированный трепел зикеевского карьера.

Модифицированную окись алюминия применяют для анализа сжиженных газов, содержащих метан и дивинил.

2.2. Приготовление сорбентов

2.2.1. Активную окись алюминия массой 100 г с размером зерен 0,25 - 0,50 мм насыпают в фарфоровую чашку и прокаливают в муфельной печи при 700 °С в течение 7 ч, затем охлаждают в эксикаторе и отсеивают от пыли.

В каждой партии окиси алюминия определяют удельный удерживаемый объем пропана и вычисляют массовую долю вазелинового масла, необходимую для модифицирования поверхности. Для этого часть подготовленной окиси алюминия загружают в хроматографическую колонку длиной 1 м, диаметром 3 мм. Массу загруженной окиси алюминия определяют по разности масс склянки с окисью алюминия до и после загрузки ее в колонку. Колонку устанавливают в хроматограф и, не подсоединяя к детектору, активируют окись алюминия при 250 °С в течение 2 ч в токе газа-носителя. Затем колонку охлаждают до комнатной температуры, подсоединяют к детектору и устанавливают заданный режим:

температура термостата, °С ........................................................................................ 50

температура испарителя, °С ....................................................................................... 50

так детектора, МА ........................................................................................................ 100

расход газа-носителя (гелия), см3............................................................................ 0,5

В хроматограф шприцем вводят смесь пропана с воздухом в соотношении 1:2 и по секундомеру определяют время удерживания компонентов. Удельный удерживаемый объем пропана (V) вычисляют по ГОСТ 17567-81.

                                   

 - приведенный удерживаемый объем пропана, см3;

tr - время удерживания пропана, с;

t0 - время удерживания воздуха, с;

Va - скорость газа-носителя, см3/с;

m - масса окиси алюминия, г.

Массовую долю вазелинового масла (X) в процентах вычисляют по формуле

Массу вазелинового масла (m2) в граммах вычисляют по формуле

где т - общая масса подготовленной окиси алюминия, г.

Массу вазелинового масла растворяют в круглодонной колбе в этиловом эфире в соотношении 1:25, затем сюда же насыпают подготовленную окись алюминия и перемешивают. Растворитель испаряют на песчаной бане при 60 - 70 °С при непрерывном перемешивании смеси до исчезновения запаха эфира.

(Измененная редакция, Изм. № 2).

2.2.2. Для приготовления модифицированного трепела зикеевского карьера отсеивают 500 г фракции размером 0,25 - 0,50 мм, смачивают раствором углекислого натрия, затем выдерживают в сушильном шкафу при 150 °С в течение 4 ч при периодическом перемешивании трепела стеклянной палочкой. После этого фарфоровую чашечку с трепелом прокаливают в муфельной печи при 800 °С в течение 3 ч, охлаждают в эксикаторе, в котором он хранится и используется при необходимости. Хранение трепела допускается также в склянке, плотно закрытой крышкой.

Для трепела определяют его относительную адсорбционную активность (А) хроматографическим методом.

Среднюю пробу подготовленного трепела массой 40 г загружают в колонку хроматографа и снимают хроматограмму искусственной смеси газов, состоящей из 15 % пропана, 25 % воздуха и 60 % водорода.

Условия определения:

Хроматограф с детектором по теплопроводности.

Длина колонки, м ......................................................................................................... 2

Температура термостата, °С ........................................................................................ 40

Объем пробы, см3 ........................................................................................................ 2

Расход газа-носителя (азот), см/мин .......................................................................... 30

Ток детектора, мА ........................................................................................................ 80

Величину А вычисляют как отношение расстояний l1 и l0 измеренных по хроматограмме (черт. 1), в миллиметрах

Хроматограмма искусственной смеси газов

l0 - расстояние от начала опыта до начала выхода отрицательного пика, мм; l1 - расстояние от начала выхода отрицательного пика до максимума пика пропана, мм

Черт. 1

После определения величины А по полученной хроматограмме трепел высыпают из колонки хроматографа и помещают в эксикатор или склянку.

Массовую долю вазелинового масла и дибутилфталата (X), необходимую для модифицирования трепела, в процентах вычисляют по формуле

X = 3,2A + 2,8,

где А - относительная адсорбционная активность трепела.

Для модифицирования поверхности трепела берут из эксикатора или склянки две порции массой 60 и 40 г и обрабатывают первую порцию - раствором вазелинового масла в петролейном эфире, вторую порцию - раствором дибутилфталата в петролейном эфире.

Массу вазелинового масла (М1) в граммах вычисляют по формуле

Массу дибутилфталата (М2) в граммах вычисляют по формуле

где X - массовая доля вазелинового масла или дибутилфталата, %.

Модифицирование поверхности трепела проводят следующим образом: дибутилфталат или вазелиновое масло растворяют в эфире в соотношении 1:25, помещают в круглодонную колбу, затем в нее насыпают трепел. Колбу помещают в водяную баню при 90 °С и непрерывно перемешивают смесь до исчезновения запаха эфира.

2.3. 3аполнение колонки хроматографа

Подготовку колонок и их набивку сорбентами выполняют в соответствии с требованиями к монтажу и эксплуатации хроматографа.

После установки в хроматограф колонки, заполненной активной окисью алюминия, его дополнительно активируют в токе газа-носителя при 70 ° С в течение 5 - 6 ч.

При заполнении колонки хроматографа модифицированным трепелом его дополнительно активируют при 90 °С в течение 4 ч. Колонка состоит из двух секций. Первая секция (по ходу газа) длиной 4 м заполнена трепелом, модифицированным вазелиновым маслом, вторая секция длиной 2 м - трепелом, модифицированным дибутилфталатом.

(Измененная редакция, Изм. № 2).

2.4. Монтаж, наладка и подготовка хроматографа для анализа

При монтаже и наладке хроматографа выполняют следующие изменения в схеме: на испаритель вместо накидной гайки навинчивают приставку (черт. 2), состоящую из корпуса, в котором просверлены канавки диаметром примерно 2 - 3 мм, и крышки приставки (размеры приставки указаны в миллиметрах).

При вводе пробы непосредственно из пробоотборника (черт. 3) к корпусу приставки приваривается трубка сброса анализируемого газа. С одной стороны трубка закупоривается заглушкой. Между испарителем и корпусом приставки, а также корпусом приставки и крышкой вставляют резиновые мембраны, как указано на черт. 3.

При вводе пробы в хроматограф шприцем (черт. 4) к корпусу приставки привариваются две трубки для входа и сброса анализируемого газа.

1 - крышка приставки; 2 - корпус приставки

Черт. 2

Схема ввода пробы из пробоотборника иглой

1 - пробоотборник; 2 - накидная гайка с иглой; 3 - верхняя мембрана; 4 - крышка приставки; 5 - корпус приставки; 6 - головка испарителя; 7 - нижняя мембрана; 8 - трубка сброса газа; 9 - барботер.

Черт. 3

Схема ввода пробы в хроматограф шприцем

1 - корпус приставки; 2 - крышка приставки; 3 - верхняя мембрана; 4 - шприц; 5 - пробоотборник; 6 - накидная гайка; 7 - резиновая уплотнительная прокладка; 8 - отвод; 9 - нижняя мембрана; 10 - головка испарителя; 11 - барботер

Черт. 4

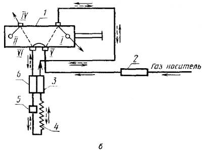
Для сокращения времени анализа содержание углеводородов С5+выше можно определять методом обратной продувки колонки хроматографа с регистрацией суммарного пика углеводородов по схемам а и б (черт. 5). На схемах пунктирной линией указан ход газа-носителя при обратной продувке.

Подключение хроматографа к сети, проверка на герметичность и вывод на режим выполняются в соответствии с требованиями к монтажу и эксплуатации хроматографа.

(Измененная редакция, Изм. № 1).

3. ПРОВЕДЕНИЕ АНАЛИЗА

3.1. Пробу сжиженных газов в хроматограф с детектором по теплопроводности вводят с низа вертикально расположенного пробоотборника инъекционной иглой или медицинским шприцем, в хроматограф с пламенно-ионизационным детектором - медицинским шприцем.

При вводе пробы непосредственно из пробоотборника (см. черт. 3) к запирающей втулке пробоотборника присоединяют накидную гайку с инъекционной иглой. Иглой прокалывают верхнюю резиновую мембрану приставки, открывают пробоотборник (фиксируется барботером), затем, прокалывая нижнюю резиновую мембрану приставки, вводят пробу в хроматограф. Быстро вынимают иглу из нижней мембраны и закрывают пробоотборник. Ввод проб осуществляется по времени в зависимости от давления в пробоотборнике и от чувствительности хроматографа и не должен превышать 2 с.

Пробу медицинским шприцем (см. черт. 4) вводят следующим образом: открывают пробоотборник (что фиксируется барботером), прокалывают иглой шприца резиновую мембрану приставки, промывают шприц 2 - 3 раза анализируемым продуктом, отбирают необходимую дозу газа (подбирается экспериментально в зависимости от чувствительности хроматографа), затем прокалывают нижнюю мембрану приставки и вводят пробу в испаритель хроматографа, закрывают пробоотборник. Ввод проб проводится в объемных долях.

Допускается вводить пробу жидкостным краном-дозатором для сжиженных газов.

1 - кран-дозатор; 2 - испаритель; 3 - колонка хроматографа; 4 - детектор

1 - кран-дозатор; 2 - ротаметр; 3 - рабочая камера детектора; 4 - колонка; 5 - испаритель; 6 - сравнительная камера детектора

Черт. 5

3.2. Анализ сжиженного газа, содержащего метан и дивинил, следует проводить на колонке с окисью алюминия, модифицированной вазелиновым маслом. При содержании в анализируемой смеси малых концентраций изобутилена анализ следует проводить на колонке с трепелом, модифицированным вазелиновым маслом и дибутилфталатом (хроматограммы приведены на черт. 6 - 7). На черт. а приведена типовая хроматограмма бутановой фракции на окиси алюминия, модифицированной вазелиновым маслом. При содержании в анализируемой смеси малых концентраций изобутилена анализ следует проводить на колонке с трепелом, модифицированным вазелиновым маслом и дибутилфталатом (хроматограммы приведены на черт. 6 - 7). На черт. а приведена типовая хроматограмма бутановой фракции на окиси алюминия, модифицированной вазелиновым маслом.

1 - воздух; 2 - метан; 3 - этан+этен; 4 - пропан; 5 - пропен; 6 - изобутан; 7 - н-бутан; 8 - бутен-1; 9 - изобутен; 10 - транс бутен-2; 11 - цис-бутен-2; 12 - бутадиен-1,3; 13 - изопентан; 14 - 3-метилбутен-1; 15 - н-пентан; 16 - пентен-1; 17 - 2-метилбутен-1+транс-пентен-2; 18 - цис-пентен-2.

Черт. 6

3.3. Анализ на колонке с окисью алюминия, модифицированной вазелиновым маслом, проводят при рабочих условиях, указанных ниже.

Длина колонки, м ........................................................ 6

Диаметр колонки, мм .................................................. 3 - 4

Температура термостата, °С ....................................... 60

Температура испарителя, °С ....................................... 100

Чувствительность регистратора ................................. подбирается экспериментально

Газ-носитель ................................................................ гелий (для детектора по

                                                                 теплопроводности), гелий или

                                                                                              азот (для пламенно- ионизационного детектора)

Расход газа-носителя, дм/ч ......................................... 2,4

Объем пробы (в газовой фазе), см3 ............................ 1 (для детектора по

                                                                                         теплопроводности) и 0,1 - 0,2

                                                                                         (для пламенно-ионизационного    детектора)

Продолжительность анализа, мин ............................. 30 - 35

Хроматограмма н-бутана на окиси алюминия, модифицированной вазелиновым маслом

1 - воздух; 2 - изобутан; 3 - н-бутан; 4 - бутен-1; 5 - изобутен; 6 - трансбутен-2+2,2-диметил пропан; 7 - цисбутен-2; 8 - изопентан

Черт. 7а

1 - воздух+метан; 2 - этан+этен; 3 - пропан; 4 - пропен; 5 - изобутан; 6 - н-бутан; 7 - бутен-1; 8 - изобутен; 9 - транс-бутен-2; 10 - бутадиен-1,3; 11 - цис-бутен-2; 12 - изопентан; 13 - 3-метилбутен-1; 14 - н-пентан; 15 - пентен-1; 16 - 2-метилбутен-1; 17 - транс-пентен-2; 18 - цис-пентен-2; 19 - 2-метилбутен-2

Черт. 7

3.1 - 3.3. (Измененная редакция, Изм. № 2).

3.4. Анализ на колонке с модифицированным трепелом проводят при рабочих условиях, указанных ниже.

Общая длина составной колонки, м ....................................................... 6

Диаметр колонки, мм................................................................................ 3 - 4

Секция с трепелом зекеевского карьера, модифицированным

вазелиновым маслом, м ........................................................................... 4

Секция с трепелом, модифицированным

дибутилфталатом, м ................................................................................. 2

Температура термостата, °С .................................................................... 50

Температура испарителя, °С ................................................................... 100

Чувствительность регистратора ........................................................... подбирается

                                                           экспериментально

Газ-носитель ............................................................................................. по п. 3.3

Расход газа-носителя, дм3..................................................................... 3 - 3,5

Объем пробы, см3 ..................................................................................... по п. 3.3

Продолжительность анализа, мин .......................................................... 20 - 25

4. ОБРАБОТКА РЕЗУЛЬТАТОВ

4.1. Определение углеводородного состава сжиженного газа

Углеводородный состав устанавливают по относительным удерживаемым объемам углеводородов, проведенным в табл. 1 - 2.

Относительный объем удерживания (Vg) вычисляют по формуле

где lп - расстояние от первого пика до максимума пика данного углеводорода, мм;

lн-бутан - расстояние от первого пика до максимума пика н-бутана, мм.

4.2. Массовую долю индивидуального углеводорода в анализируемом газе (Х1) в процентах вычисляют по формуле

где Si - приведенная площадь пика данного углеводорода, мм2;

 - сумма приведенных площадей пиков всех углеводородов, мм2.

Приведенную площадь пика углеводородов (Si), мм2, вычисляют по формуле

где h - высота пика, мм;

а - ширина пика, измеренная на середине его высоты, мм;

b - масштаб регистратора;

k - массовый коэффициент чувствительности.

При проведении анализа с обратной продувкой колонки суммарная площадь углеводородов С5+выше может фиксироваться на хроматограмме в виде неполностью разделенных пиков. В этом случае общая площадь, соответствующая содержанию углеводородов С5+выше, разбивается на ряд правильных геометрических фигур, площадь которых вычисляется раздельно, а затем суммируется (черт. 8, 9).

Таблица 1

Относительные объемы удерживания и порядок выхода углеводородов на колонке с А12О3, модифицированной вазелиновым маслом

Углеводороды

Объем относительного удерживания

Метан

0,002

Этан+этен

0,092

Пропан

0,320

Пропен

0,400

Изобутан

0,730

н-Бутан

1,000

Бутен-1

1,260

Изобутен

1,350

транс-Бутен-2

1,450

цис-Бутен-2

1,730

Бутадиен-1,3

2,140

Изопентан

2,490

3-Метилбутен-1

2,520

н-Пентан

3,010

Пентен-1

5,750

2-Метилбутен-1 + транс-Пентен-2

4,100

цис-Пентен-2

4,830

Таблица 2

Относительные объемы удержания и порядок выхода углеводородов на колонке с трепелом, модифицированным вазелиновым маслом и дибутилфталатом

Углеводороды

Объем относительного удерживания

Метан + воздух

 

Этан+этен

0,09

Пропан

0,32

Пропен

0,44

Изобутан

0,76

н-Бутан

1,00

Бутен-1

1,29

Изобутен

1,44

транс-Бутен-2

1,59

Бутадиен-1,3

1,71

цис-Буген-2

1,82

Изопентан

2,32

3-Метилбутен-1

2,65

н-Пентан

2,94

Пентен-1

3,56

2-Метилбутен

4,41

транс-Пентен-2

4,76

цис-Пентен-2

5,06

2-Метилбутен-2

5,38

Разбивка суммарной площади пика углеводородов на ряд правильных геометрических фигур

1, 2 - треугольники; 3 - трапеция

Черт. 8

1, 2, 4 - треугольники; 3 - трапеция

Черт. 9

Поправочные коэффициенты чувствительности при использовании в качестве газа-носителя гелия или водорода приведены в табл. 3, 4.

Таблица 3

Поправочные коэффициенты чувствительности для детектора по теплопроводности (газ-носитель гелий)

Углеводороды

Массовые коэффициенты чувствительности

Метан

0,66

Этан+этен

0,87

Пропан

1,00

Пропен

0,96

Изобутан

1,04

н-Бутан

1,00

Бутен-1

1,02

Изобутен

1,00

транс-Бутен-2

0,97

цис-Бутен-2

0,95

Бутадиен-1,3

0,99

Изопентан

1,04

3-Метилбутен-1

1,04

н-Пентан

1,01

Пентен-1

1,04

2-Метилбутен-1

1,04

транс-Пентен-2

0,99

цис-Пентен-2

1,04

2-Метилбутен-2

1,04

С5+B предельного состава

1,08

С5+B непредельного состава

1,10

(Измененная редакция, Изм. № 1).

Таблица 4

Поправочные коэффициенты чувствительности для пламенно-ионизационного детектора

Углеводороды

Массовые коэффициенты чувствительности

Метан

1,11

Этан

1,04

Этен

0,97

Пропан

1,02

Пропен

0,97

Изобутан

1,00

н-Бутан

1,00

Бутен-1

0,97

Изобутен

0,97

транс-Бутен-2

0,97

цис-Бутен-2

0,97

Бутадиен-1,3

0,94

Изопентан

1,00

3-Метилбутен-1

0,97

н-Пентан

1,00

Пентен-1

0,97

2-Метилбутен-1

0,97

транс-Пентен-2

0,97

цис-Пентен-2

0,97

2-Метилбутен-2

0,97

За результат анализа принимают среднее арифметическое значение двух параллельных определений для всех углеводородов анализируемого сжиженного газа. Результаты вычисляют до второго десятичного знака.

Допускаемые расхождения между параллельными определениями не должны быть более величин, указанных в табл. 5.

Таблица 5

Массовая доля компонентов, %

Допускаемые расхождения, %

Св. 0,1 до 0,3

0,025

» 0,3 » 1,0

0,07

» 1,0 » 3,0

0,15

» 3,0 » 10,0

0,3

» 10,0 » 30,0

0,5

» 30,0

0,7

Нормы допускаемых расхождений соответствуют уровню доверительной вероятности 95 %.

(Измененная редакция, Изм. № 2).

СОДЕРЖАНИЕ

 




Яндекс цитирования



   Copyright © 2007-2026,  www.tehlit.ru.

[ ѓосты, стандарты, нормативы, инструкции, правила, строительные нормы ]