//
ТехЛит.ру
- крупнейшая бесплатная электронная интернет библиотека для "технически умных" людей.
WWW.TEHLIT.RU - ТЕХНИЧЕСКАЯ ЛИТЕРАТУРА

:: Алготрейдинг::


АЛГОТРЕЙДИНГ
шаг за шагом
с нуля по урокам!

Торговые роботы на PYTHON, BackTrader,
Pandas, Pine Script для TradingView. Связка с брокерами, телеграм и легкими приложениями.


МЕЖГОСУДАРСТВЕННЫЙ СТАНДАРТ

ШЛИЦЫ КРЕСТООБРАЗНЫЕ ДЛЯ ВИНТОВ И ШУРУПОВ

ГОСТ
10753-86

Размеры и методы контроля

Cross recesses for screws and wood screws. Dimensions and control methods

Дата введения 01.01.88

Настоящий стандарт распространяется на крестообразные шлицы типов H и Z для головок винтов и шурупов и устанавливает размеры шлицев, метод измерения глубины вхождения калибра в шлиц и размеры калибра для контроля шлицев.

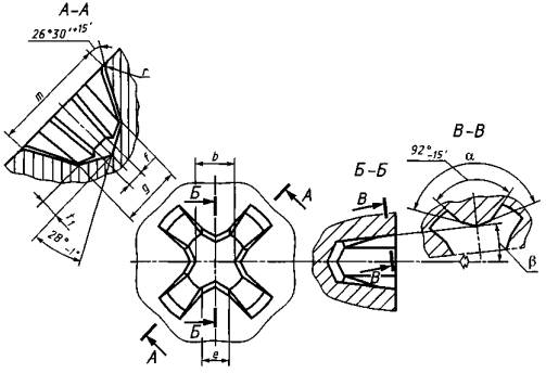
1. РАЗМЕРЫ

1.1. Размеры крестообразных шлицев типа H должны соответствовать указанным на черт. 1 и в табл. 1.

Значения m устанавливают в стандартах на изделия конкретного типа

Черт. 1

Таблица 1

мм

Номер шлица

b-0,03

e

g+0,05

f

r (номин)

t1 (справ)

α-15'

β+15'

не более

не менее

не более

не менее

0

0,61

0,36

0,26

0,81

0,36

0,31

0,3

0,22

-

1

0,97

0,46

0,41

1,27

0,56

0,51

0,5

0,34

138°

2

1,47

0,84

0,79

2,29

0,74

0,66

0,6

0,61

140°

5°45'

3

2,41

2,03

1,98

3,81

0,86

0,79

0,8

1,01

146°

5°45'

4

3,48

2,44

2,39

5,08

1,27

1,19

1

1,35

153°

Примечание. Для шлица с номером 0 вместо угла α должно быть скругление радиусом не менее 0,25 и не более 0,36 мм.

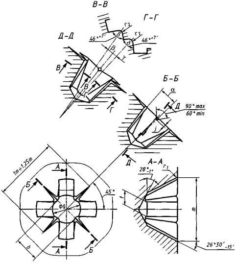
1.2. Размеры крестообразных шлицев типа Z должны соответствовать указанным на черт. 2 и в табл. 2.

Значения m устанавливают в стандартах на изделия конкретного типа

Черт. 2

Таблица 2

мм

Номер шлица

b-0,05

f-0,025

g-0,05

r1, не более

r2, не более

j, не более

α+15'

β-15'

γ-15'

δ-7'

0

0,76

0,48

0,86

0,30

0,10

0,13

7°45'

4°23'

46°

1

1,27

0,74

1,32

0,30

0,13

0,15

7°45'

4°23'

46°

2

1,83

1,03

2,34

0,38

0,15

0,15

5°45'

6°20'

46°

3

2,72

1,42

3,86

0,51

0,25

0,20

5°45'

6°20'

56°15'

4

3,96

2,16

5,08

0,64

0,38

0,20

7°45'

4°23'

56°15'

2. МЕТОДЫ КОНТРОЛЯ

2.1. Размеры шлицев контролируют комплексным калибром путем измерения глубины вхождения калибра в шлиц.

Глубину вхождения калибра в шлиц указывают в стандартах на крепежные изделия конкретного типа.

Глубину вхождения калибра в шлиц измеряют при помощи глубиномера (черт. 3). Конец калибра идентичен концу соответствующей отвертки. Втулка служит для направления калибра и для фиксации соответствующей контрольной плоскости. Контрольная плоскость проходит через точки пересечения выступов шлица с верхней поверхностью головки. Опорную плоскость фиксируют при помощи опорных выступов втулки.

1 - калибр; 2 - контрольная плоскость; 3 - глубина вхождения калибра в шлиц

Черт. 3

Глубину вхождения калибра в шлиц измеряют от контрольной плоскости при помощи измерительного прибора с круговой шкалой. Нулевая позиция глубиномера может быть установлена на плоской поверхности.

2.2. Размеры конца калибра для контроля крестообразного шлица типа H должны соответствовать указанным на черт. 4 и в табл. 3.

1 - минимальная длина правильной формы

Черт. 4

Таблица 3

мм

Номер калибра

b-0,025

g+0,025

d+0,13

e-0,025

f-0,06

l1, не менее

α+15'

β-15'

0

0,64

0,813

0,25

0,315

0,31

3,17

-

1

1,001

1,27

0,38

0,513

0,51

3,17

138°

2

1,539

2,286

0,38

1,102

0,64

4,78

140°

5°45'

3

2,497

3,81

0,38

2,098

0,79

7,14

146°

5°45'

4

3,574

5,08

0,38

2,738

1Д2

8,74

153°

Примечание. Для калибра с номером 0 вместо угла а должно быть скругление радиусом r = (0,25 ± 0,025) мм.

2.3. Размеры конца калибра для контроля крестообразного шлица типа Z должны соответствовать указанным на черт. 5 и в табл. 4.

l - минимальная длина правильной формы

Черт. 5

Таблица 4

Номер калибра

b

f

g

l1 не менее

p

r

α-6'

β+6'

γ+6'

δ+7'

не более

не менее

не более

не менее

не более

не менее

не более

не менее

не более

не менее

0

0,711

0,673

0,445

0,420

0,915

0,890

3,17

0,077

0,064

0,1

0,08

7°45'

4°23'

46°

1

1,112

1,074

0,698

0,673

1,397

1,372

3,17

0,166

0,153

0,13

0,1

7°45'

4°23'

46°

2

1,702

1,664

0,990

0,965

2,438

2,413

4,78

0,331

0,318

0,2

0,15

5°45'

6°20'

46°

3

2,591

2,553

1,372

1,346

3,962

3,937

7,14

0,585

0,572

0,31

0,2

5°45'

6°20'

56°15'

4

3,861

3,823

2,083

2,057

5,182

5,157

8,74

0,788

0,772

0,51

0,36

7°45'

4°23'

56°15'

ИНФОРМАЦИОННЫЕ ДАННЫЕ

1. РАЗРАБОТАН И ВНЕСЕН Всесоюзным Научно-исследовательским институтом по нормализации в машиностроении (ВНИИНМАШ)

2. УТВЕРЖДЕН И ВВЕДЕН В ДЕЙСТВИЕ Постановлением Государственного комитета СССР по стандартам от 19.12.86 № 4115

3. Стандарт полностью соответствует СТ СЭВ 1017-86

4. Стандарт полностью соответствует международному стандарту ИСО 4757-83

5. ВЗАМЕН ГОСТ 10753-80

6. ПЕРЕИЗДАНИЕ




Яндекс цитирования



   Copyright © 2007-2026,  www.tehlit.ru.

[ ѓосты, стандарты, нормативы, инструкции, правила, строительные нормы ]