//
|
|
ГОСТ 11022-95 (ИСО 1171-97) (Измененная редакция. Изм. № 1) ТОПЛИВО ТВЕРДОЕ МИНЕРАЛЬНОЕМЕТОДЫ ОПРЕДЕЛЕНИЯ ЗОЛЬНОСТИ МЕЖГОСУДАРСТВЕННЫЙ
СОВЕТ
| |||||||||||||||||||||||||||||||||||||||||||||||||||||||||||||||||
|
Наименование государства |
Наименование национального органа по стандартизации |
|
Азербайджанская Республика |
Азгосстапдарт |
|
Республика Армения |
Армгосстандарт |
|
Республика Беларусь |
Госстандарт Республики Беларусь |
Республика Казахстан |
Госстандарт Республики Казахстан |
|
Кыргызская Республика |
Кыргызстандарт |
|
Республика Молдова |
Молдовастандарт |
|
Российская Федерация |
Госстандарт России |
|
Республика Таджикистан |
Таджикстандарт |
|
Туркменистан |
Главгосслужба «Туркменстандартлары» |
|
Республика Узбекистан |
Узгосстандарт |
|
Украина |
Госстандарт Украины |
(Измененная редакция. Изм. № 1)
3 Раздел 3 настоящего стандарта представляет собой полный аутентичный текст ИСО 1171-81 "Твердое минеральное топливо. Определение содержания золы" и содержит дополнительные требования, отражающие потребности экономики страны
4 Постановлением Комитета Российской Федерации по стандартизации, метрологии и сертификации от 12.03.96 № 160 межгосударственный стандарт ГОСТ 11022-95 (ИСО 1171-81) введен в действие непосредственно в качестве государственного стандарта Российской Федерации с 1 января 1997 г.
5 ВЗАМЕН ГОСТ 11022-90
ГОСТ 11022-95
(ИСО 1171-97)
(Измененная редакция. Изм. № 1)
ТОПЛИВО ТВЕРДОЕ МИНЕРАЛЬНОЕ
Методы определения зольности
Solid mineral fuels.
Methods for determination of ash
Настоящий стандарт распространяется на бурые и каменные угли, антрациты, горючие сланцы, продукты их обогащения, породные прослойки, сопровождающие пласты угля и горючих сланцев, каменноугольный, пековый кокс и термоантрацит, а также брикеты из бурого и каменного угля и устанавливает методы определения зольности при медленном и ускоренном озолении.
При разногласиях в оценке зольности топлива, а также при определении зольности породных прослоек определения проводят методом медленного озоления.
В настоящем стандарте использованы ссылки на следующие стандарты:
ГОСТ 3044-84* Преобразователи термоэлектрические. Номинальные статистические характеристики преобразования
ГОСТ 5583-78 Кислород газообразный технический и медицинский. Технические условия
ГОСТ 9147-80 Посуда и оборудование лабораторные фарфоровые. Технические условия
ГОСТ 10742-71 Угли бурые, каменные, антрацит, горючие сланцы и угольные брикеты. Методы отбора и обработки проб для лабораторных испытаний
ГОСТ 19908-90 Тигли, чаши, стаканы, колбы, воронки, пробирки и наконечники из прозрачного кварцевого стекла. Общие технические условия
ГОСТ 23083-78 Кокс каменноугольный, пековый и термоантрацит. Методы отбора и подготовки проб для испытаний
ГОСТ 27313-95 (ИСО 1170-77) Топливо твердое минеральное. Обозначение показателей качества и формулы пересчета результатов анализа для различных состояний топлива
ГОСТ 25336-82 Посуда и оборудование лабораторные стеклянные. Общие технические требования
______________
* На территории Российской Федерации действует ГОСТ Р 8.585-2001 ГСИ. Термопары. Номинальные статические характеристики преобразования.
(Измененная редакция. Изм. № 1)
Зола, оставшаяся после сжигания угля или кокса на воздухе, образуется из неорганических соединений, входящих в состав угольного вещества, и из присутствующих минеральных веществ. Количество оставшейся в золе серы частично зависит от условий озоления и для получения сопоставимых результатов определения зольности необходимо строго придерживаться этих условий.
Дополнения и изменения, отражающие потребности народного хозяйства, выделены курсивом.
3.1 Сущность метода
Пробу топлива сжигают в муфельной печи, нагреваемой с определенной скоростью до температуры (815±10)°С, и выдерживают при этой температуре до постоянной массы. Свойства каменного угля и кокса в отличие от бурого угля и лигнитов допускают более высокие скорости нагрева.
Зольность в процентах рассчитывают по массе остатка после прокаливания.
(Измененная редакция. Изм. № 1)
3.2.1 Весы с погрешностью взвешивания не более 0,1 мг.
Допускается применять весы с погрешностью взвешивания не более 0,2 мг.
3.2.2 Муфельная печь любого типа с максимальной температурой нагрева 900-1000 °С, обеспечивающая постоянные температуру и скорость нагрева в соответствии с требованиями настоящего стандарта.
Вентиляция муфельной печи должна обеспечивать смену воздуха около пяти раз в минуту.
Допускается применять муфельную печь с естественной вентиляцией.
Альтернативно используют две муфельные печи любого типа. Одна должна обеспечить постоянную температуру и скорость нагрева до 500 °С, вторая - постоянную температуру (815±10) °С
Примечание - Кратность обмена воздуха в минуту (при принудительной вентиляции) можно оценить измерением потока воздуха в дымовом канале муфельной печи с помощью статической трубки Пито и чувствительного манометра.
(Измененная редакция. Изм. № 1)
3.2.3 Тигли, лодочки для сжигания из кварца, фарфора или платины, глубиной от 8 до 15 мм № 1, 2, 3 по ГОСТ 9147 и ГОСТ 19908.
Размер тигля или лодочки должен быть таким, чтобы на 1 см2 поверхности масса пробы топлива не превышала 0,15 г/см2 для угля или 0,10 г/см2 для кокса.
Применяемые тигли и лодочки должны быть пронумерованы, прокалены до постоянной массы и храниться в эксикаторе с осушающим веществом.
(Измененная редакция. Изм. № 1)
3.2.4 Изоляционная пластина из кварца толщиной 6 мм или аналогичное приспособление, размер которого позволяет легко вводить его в муфельную печь.
Допускается использовать керамические пластины или из огнеупорного материала толщиной не более 5 мм.
3.2.5 Термопреобразователь для измерения температуры до 1000 °С по ГОСТ 3044 с измерительным устройством.
3.2.6 Щипцы тигельные
3.2.7 Эксикатор по ГОСТ 25336
Отбор и подготовка проб - по ГОСТ 10742 и ГОСТ 23083.
Для определения зольности угля или кокса используют аналитическую пробу, измельченную до размера частиц, проходящих через сито с размером ячеек 200 мкм (0,2 мм). При необходимости пробу доводят до воздушно-сухого состояния, разложив тонким слоем на минимальное время, необходимое для достижения приблизительного равновесия массовой доли влаги с атмосферой лаборатории.
Перед началом определения аналитическую пробу тщательно перемешивают в течение 1 мин, предпочтительно механическим способом.
3.4 Проведение испытания
Тигель или лодочку взвешивают (3.2.1), равномерно распределяют 1-2 г пробы (3.3) и снова взвешивают.
Примечание - Кварцевые или фарфоровые тигли и лодочки перед первым взвешиванием нагревают до (815±10) °С, выдерживают при этой температуре в течение 15 мин и охлаждают так же, как при проведении испытания.
Для бурых углей лигнитов, и горючих сланцев
Тигель или лодочку с навеской помещают в муфельную печь (3.2.2) при комнатной температуре. В печение 60 мин повышают температуру печи до 500 °С и поддерживают эту температуру в течение 60 мин. Продолжают нагрев до (815 ± 10) °С в той же печи либо, при использовании двух печей, переносят тигель или лодочку во вторую печь, предварительно нагретую до (815 ± 10) °С (см. примечание 2 к 3.2.2), и выдерживают при этой температуре не менее 60 мин.
Тигель пли лодочку с навеской помещают в муфельную печь при комнатной температуре. В течение 60 мин повышают температуру печи до 500 °С и поддерживают эту температуру в течение 30 мин. Далее продолжают нагрев до (815±10) °С в той же печи либо, при использовании двух печей, переносят тигель или лодочку во вторую печь, предварительно нагретую до (815 ± 10) °С, и выдерживают при этой температуре не менее 60 мин.
Тигель пли лодочку с навеской помещают на пластину (3.2.4), которую сразу помешают в печь, нагретую до (815±10) °С. Выдерживают при этой температуре не менее 60 мин.
После прокаливания тигель или лодочку вынимают из печи и охлаждают на толстой металлической плите в течение 10 мин, а затем помешают в эксикатор без осушителя.
Примечание - Сосуд, в котором происходит охлаждение, можно заполнить сухим газом, чтобы уменьшить возможность поглощения влаги золой во время охлаждения. В этом случае лодочку или тигель накрывают крышкой.
После охлаждения тигель или лодочку с зольным остатком взвешивают. Проводят контрольные прокаливания при (815±10) °С в течение нескольких 15-минутных периодов до тех пор, пока последующее изменение массы станет не более 1 мг.
Примечание - Если результаты испытания необходимо пересчитать на другие состояния топлива, отличные от воздушно-сухого, определяют массовую долю влаги в пробе
(Измененная редакция. Изм. № 1)
3.5 Обработка результатов
Зольность аналитической пробы А, % по массе вычисляют по формуле
![]()
где m1 - масса тигля, г;
m2 - масса тигля с пробой, г;
m3 - масса тигля с золой, г.
Результаты (предпочтительно среднее значение двух параллельных определений - см. 3.6) рассчитывают до второго и округляют до первого десятичного знака.
(Измененная редакция. Изм. № 1)
3.6.1 Допускаемые расхождения между результатами двух определений не должны превышать значений, указанных в таблице.
|
Зольность |
Максимально допустимые расхождения между результатами (рассчитаны на одинаковую массовую долю влаги топлива) |
|
|
Сходимость |
Воспроизводимость |
|
|
До 10 % |
0,2 % абс. |
0,3 % абс. |
|
10 % и более |
2,0 % среднего результата |
3,0 % среднего результата |
(Измененная редакция. Изм. № 1)
3.6.2 Если расхождение между результатами двух параллельных определений превышает приведенное в таблице значение, из той же пробы (3.3) производят третье определение и за результат принимают среднее арифметическое результатов двух наиболее близких определений в пределах допускаемых расхождений.
Если результат третьего определения находится в пределах допускаемых расхождений по отношению к результатам каждого из двух предыдущих определений, за результат принимают среднее арифметическое результатов трех определений.
3.6.3 Повторяемость
Результаты двух параллельных определений, проведенных в разное время в одной и той же лаборатории одним и тем же исполнителем с использованием одного и того же оборудования на двух навесках, взятых от одной и той же аналитической пробы угля, не должны превышать значений, указанных в таблице.
3.6.4 Воспроизводимость
Средние результаты двух параллельных определений, выполненных в двух различных лабораториях с навесками, взятыми из одной и той же аналитической пробы угля после последней стадии подготовки пробы, не должны превышать значений, указанных в таблице.
3.6.5 Пересчет результатов определения на другие состояния топлива - по ГОСТ 27313.
Отчет об испытании включает следующее:
- обозначение испытуемого продукта;
- ссылку на используемый метод;
- результаты и метод их выражения;
- любые отклонения, отмеченные во время определения;
- любые операции, не включенные в настоящий стандарт или рассматриваемые как необязательные;
- дату испытания.
(Измененная редакция. Изм. № 1)
4.1 Настоящий метод распространяется на каменные и бурые угли, антрацит и горючие сланцы и предусматривает ускоренное озоление в муфельных печах с естественной вентиляцией и с подачей кислорода.
4.2 Метод ускоренного озоления с естественной вентиляцией
4.2.1 Аппаратура (по 3.2).
Для проведения озоления с естественной вентиляцией муфельная печь должна иметь вытяжную трубу с наружным диаметром 20 - 22 мм и толщиной 1,5-2 мм, расположенную в задней стенке ниже отверстия для термопары и выступающую над корпусом муфельной печи на 30 мм.
4.2.2 Подготовка пробы - по 3.3.
4.2.3 Проведение испытания
Нагревают муфельную печь (3.2.2 и 4.2.1) до температуры озоления, которая равна, °С:
815 ± 10 - для каменных и бурых углей, лигнитов, антрацитов;
865 ± 10 - для горючих сланцев.
Открывают дверцу муфельной печи и устанавливают пластину с тиглями или лодочками у дверцы печи в зоне пониженной температуры и в таком положении выдерживают 3 мин при озолении углей и 5 мин при озолении сланцев. Затем пластину с тиглями или лодочками продвигают в муфельную печь в зону постоянной температуры со скоростью 2 см/мин и закрывают дверцу печи.
Продолжительность озоления (после достижения в муфельной печи температуры озоления) должна быть:
25 - 35 мин - для каменных углей и антрацита;
20 - 25 мин - для бурых углей и горючих сланцев.
(Измененная редакция. Изм. № 1)
4.2.4 По окончании озоления пластину с пробами вынимают из муфельной печи, охлаждают на воздухе до комнатной температуры и тигли или лодочки с зольным остатком взвешивают.
Обработка результатов анализа - по 3.5 - 3.6.
4.2.5 Отчет об испытании - по 3.7.
4.3 Метод ускоренного озоления с подачей в муфельную печь кислорода
4.3.1 Аппаратура (по 3.2)
Для проведения ускоренного озоления с подачей в муфельную печь кислорода муфельная печь должна иметь в задней стенке ниже отверстия для термопары отверстие для металлической трубки из жароупорной стали (для подачи кислорода) длиной 350 мм, наружным диаметром 10-12 мм и толщиной стенок 1,5-2,0 мм. Поверхность трубки должна быть перфорирована, диаметр отверстий 1,5 мм.
Кроме аппаратуры, приведенной в 3.2, применяют:
кислород газообразный по ГОСТ 5583;
редуктор кислородный;
реометр-индикатор с поворотными диафрагмами или другой расходомер, обеспечивающий необходимую точность измерения количества подаваемого кислорода.
4.3.2 Подготовка пробы (по 3.3)
4.3.3 Проведение испытания
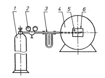
Для проведения испытания собирают установку по схеме, изображенной на рисунке.

1 - баллон с кислородом; 2 - манометр; 3 - реометр; 4 - муфельная печь; 5 - отверстия для термопары; 6 - отверстие для трубки
Рисунок - Схема установки для ускоренного озоления с подачей в муфельную печь кислорода
Нагревают муфельную печь до (865 ± 10)ºС. Открывают дверцу муфельной печи и устанавливают пластину с тиглями или лодочками у дверцы печи в зоне пониженной температуры и выдерживают в течение 3 мин при озолении бурых, каменных углей и антрацита и в течение 5 мин при озолении сланцев. Затем пластину с тиглями или лодочками продвигают в зону постоянной температуры со скоростью 2 см/мин, закрывают дверцу и подают кислород со скоростью 3 дм3/мин.
Продолжительность озоления (после достижения в муфельной печи температуры озоления) должна быть:
10 - 15 мин - для бурых углей;
20 - 25 мин - для каменных углей и антрацита;
15 - 20 мин - для горючих сланцев.
(Измененная редакция. Изм. № 1)
4.3.4 По окончании озоления подачу кислорода прекращают, пластину с пробами вынимают из муфельной печи, охлаждают на воздухе до комнатной температуры и тигли или лодочки с зольным остатком взвешивают.
Обработка результатов анализа - по 3.5-3.6.
4.3.5 Отчет об испытании - по 3.7.
Ключевые слова: топливо твердое минеральное, каменный уголь, бурый уголь, лигниты, антрацит, горючие сланцы, кокс, термоантрацит, метод определения, зольность
|
|
|
|