//
ТехЛит.ру
- крупнейшая бесплатная электронная интернет библиотека для "технически умных" людей.
WWW.TEHLIT.RU - ТЕХНИЧЕСКАЯ ЛИТЕРАТУРА

:: Алготрейдинг::


АЛГОТРЕЙДИНГ
шаг за шагом
с нуля по урокам!

Торговые роботы на PYTHON, BackTrader,
Pandas, Pine Script для TradingView. Связка с брокерами, телеграм и легкими приложениями.


МЕЖГОСУДАРСТВЕННЫЙ СТАНДАРТ

Система стандартов безопасности труда

ГОСТ МАШИНЫ РУЧНЫЕ ЭЛЕКТРИЧЕСКИЕ

Частные требования безопасности и методы испытаний сверлильных машин

Occupational safety standards system. Electric hand-held tools. Particular safety requirements and methods of testing drills machines

ГОСТ

12.2.013.1-91

(МЭК

754-2-1-90)

Дата введения 01.01.93

Настоящий стандарт устанавливает требования безопасности и методы испытаний электрических ручных сверлильных машин вращательного и ударно-вращательного действия, которые дополняют, изменяют или заменяют разделы ГОСТ 12.2.013.0.

По тексту стандарта: методы испытаний выделены курсивом, требования, учитывающие национальные особенности СССР, выделены вертикальной линией на полях, или, при необходимости, горизонтальной линией.

Пункты, подпункты, примечания и чертежи, дополняющие ГОСТ 12.2.013.0, имеют нумерацию, начиная со 101.

Требования настоящего стандарта являются обязательными.

Содержание

1. ОБЛАСТЬ РАСПРОСТРАНЕНИЯ

2. ТЕРМИНЫ И ОПРЕДЕЛЕНИЯ

3. ОБЩИЕ ТРЕБОВАНИЯ

4. ИСПЫТАНИЯ. ОБЩИЕ ПОЛОЖЕНИЯ

5. НОМИНАЛЬНОЕ НАПРЯЖЕНИЕ

6. КЛАССИФИКАЦИЯ

7. МАРКИРОВКА

8. ЗАЩИТА ОТ ПОРАЖЕНИЯ ЭЛЕКТРИЧЕСКИМ ТОКОМ

9. ПУСК

10. ПОТРЕБЛЯЕМАЯ МОЩНОСТЬ И ТОК

11. НАГРЕВ

12. ТОК УТЕЧКИ

13. ПОДАВЛЕНИЕ РАДИО - И ТЕЛЕПОМЕХ

14. ВЛАГОСТОЙКОСТЬ

15. СОПРОТИВЛЕНИЕ ИЗОЛЯЦИИ И ЭЛЕКТРИЧЕСКАЯ ПРОЧНОСТЬ

16. НАДЕЖНОСТЬ

17. НЕНОРМАЛЬНЫЙ РЕЖИМ РАБОТЫ

18. МЕХАНИЧЕСКАЯ БЕЗОПАСНОСТЬ

19. МЕХАНИЧЕСКАЯ ПРОЧНОСТЬ

20. КОНСТРУКЦИЯ

21. ВНУТРЕННЯЯ ПРОВОДКА

22. КОМПЛЕКТУЮЩИЕ ИЗДЕЛИЯ

23. ПОДКЛЮЧЕНИЕ К СЕТИ И ВНЕШНИЕ ГИБКИЕ КАБЕЛИ И ШНУРЫ

24. ЗАЖИМЫ ДЛЯ ВНЕШНИХ ПРОВОДОВ

25. ЗАЗЕМЛЕНИЕ

26. ВИНТЫ И СОЕДИНЕНИЯ

27. ПУТИ УТЕЧКИ, ВОЗДУШНЫЕ ЗАЗОРЫ И ТОЛЩИНА ИЗОЛЯЦИИ

28. ТЕПЛОСТОЙКОСТЬ, ОГНЕСТОЙКОСТЬ И СТОЙКОСТЬ К ОБРАЗОВАНИЮ ТОКОПРОВОДЯЩИХ МОСТИКОВ

29. КОРРОЗИОННАЯ СТОЙКОСТЬ

ПРИЛОЖЕНИЕ А ТЕРМОВЫКЛЮЧАТЕЛИ И УСТРОЙСТВА ЗАЩИТЫ ОТ ПЕРЕГРУЗОК

ПРИЛОЖЕНИЕ B ЭЛЕКТРОННЫЕ СХЕМЫ

ПРИЛОЖЕНИЕ C КОНСТРУКЦИЯ БЕЗОПАСНЫХ ИЗОЛИРУЮЩИХ ТРАНСФОРМАТОРОВ

ПРИЛОЖЕНИЕ D ИЗМЕРЕНИЯ ПУТЕЙ УТЕЧКИ И ВОЗДУШНЫХ ЗАЗОРОВ

ПРИЛОЖЕНИЕ 1 ПРАВИЛА БЕЗОПАСНОСТИ ПРИ ЭКСПЛУАТАЦИИ МАШИН В УСЛОВИЯХ ПРОИЗВОДСТВА

ПРИЛОЖЕНИЕ 2 ПРАВИЛА БЕЗОПАСНОСТИ ПРИ ЭКСПЛУАТАЦИИ МАШИН В БЫТОВЫХ УСЛОВИЯХ

ПРИЛОЖЕНИЕ 3 ПРИЕМКА

1. ОБЛАСТЬ РАСПРОСТРАНЕНИЯ

ГОСТ 12.2.013.0 со следующим изменением:

1.1. Замена:

Настоящий стандарт распространяется на электрические ручные сверлильные машины вращательного и ударно-вращательного действия (далее - машины), а также на машины, закрепляемые на опоре без каких-либо изменений в самой машине, и устанавливает требования безопасности и методы испытаний.

Стандарт не распространяется на машины, предназначенные для работы с алмазными сверлами и для горных выработок, а также на машины с аккумуляторным источником питания.

2. ТЕРМИНЫ И ОПРЕДЕЛЕНИЯ

По ГОСТ 12.2.013.0 со следующим изменением:

2.2.23. Замена:

Нормальная нагрузка - нагрузка, которая создается при непрерывной работе путем приложения к горизонтально расположенному шпинделю машины тормозного момента, при котором мощность в ваттах на шпинделе при номинальном напряжении или при верхнем пределе диапазона номинальных напряжений равна:

10 D - для машин, у которых максимальный диаметр сверла до 6,5 мм включительно:

13 D - для машин, у которых максимальный диаметр сверла свыше 6,5 до 10 мм включительно:

15 D - для машин, у которых максимальный диаметр сверла свыше 10 мм,

где D - максимальный диаметр сверла для сверления по стали в миллиметрах, указанный в маркировке машины, или патрона, поставляемого с машиной, в зависимости от того, какая из величин больше.

2.2. Дополнение подпунктами:

2.2.101. Сверлильная машина вращательного действия - сверлильная машина, предназначенная для выполнения отверстий в металле, пластических материалах, дереве и т. д.

Машина нормального исполнения осуществляет вращательное движение по часовой стрелке (со стороны подачи) с постоянной или изменяющейся частотой вращения.

2.2.102. Сверлильная машина ударно-вращательного действия - сверлильная машина, предназначенная для выполнения отверстий в бетоне, камне и других аналогичных материалах, на рабочий орган которой при его вращении одновременно воздействуют удары в осевом направлении.

Машина может иметь устройство для отключения действия ударного механизма, т.е. возможность использования ее как сверлильную машину вращательного действия.

Ударный режим работы зависит от усилия, прикладываемого оператором.

Машина нормального исполнения осуществляет вращательное движение по часовой стрелке (со стороны подачи) с постоянной или изменяющейся частотой вращения.

3. ОБЩИЕ ТРЕБОВАНИЯ

По ГОСТ 12.2.013.0.

4. ИСПЫТАНИЯ. ОБЩИЕ ПОЛОЖЕНИЯ

По ГОСТ 12.2.013.0 со следующим изменением:

4.9. Замена:

Машины, снабженные как механическим устройством для переключения разных диапазонов частоты вращения, так и электронным устройством для регулирования частоты вращения в данном диапазоне, переключают на самый тихоходный диапазон, а электронное устройство настраивают на самую высокую уставку в пределах данного диапазона.

5. НОМИНАЛЬНОЕ НАПРЯЖЕНИЕ

По ГОСТ 12.2.013.0.

6. КЛАССИФИКАЦИЯ

По ГОСТ 12.2.013.0.

7. МАРКИРОВКА

По ГОСТ 12.2.013.0 со следующим изменением:

7.1. Дополнение:

Кроме того, в маркировке машин должны быть следующие данные: номинальная частота вращения на холостом ходу в оборотах в минуту после условного обозначения «п0», если она превышает 10000 об/мин;

максимальный диаметр сверла в миллиметрах для сверления по стали с временным сопротивлением разрыву 390 МПа, если нет других указаний.

7.1. Примечания. Дополнение пунктами:

101. Если в маркировке машины указано значение номинальной частоты вращения при нормальной нагрузке, то его следует помещать после условного обозначения «п».

102. Маркировка номинальных частот вращения на холостом ходу и при нормальной нагрузке может быть указана следующим образом:

п0 12000 об/мин или п0 12000 об/мин, или п0 12000 об/мин

п 9000 об/мин, п 2000/4500/9000 об/мин.

8. ЗАЩИТА ОТ ПОРАЖЕНИЯ ЭЛЕКТРИЧЕСКИМ ТОКОМ

По ГОСТ 12.2.013.0.

9. ПУСК

По ГОСТ 12.2.013.0.

10. ПОТРЕБЛЯЕМАЯ МОЩНОСТЬ И ТОК

По ГОСТ 12.2.013.0 со следующим изменением:

10.2. Дополнение:

Измерение тока проводят после того, как машина проработала 10 мин под нормальной нагрузкой.

11. НАГРЕВ

По ГОСТ 12.2.013.00 со следующим изменением:

11.2. Замена:

Машина работает в помещении, свободном от посторонних источников движущихся потоков воздуха, при незадействованном ударном механизме, если он имеется, при непрерывной работе, номинальном напряжении или верхнем пределе диапазона номинальных напряжений, а к горизонтально расположенному шпинделю приложен тормозной момент, при котором потребляемая мощность равна:

а) 4/5 потребляемой мощности при нормальной нагрузке, если потребляемая мощность превышает номинальную мощность, или

в) 4/5 номинальной мощности, если номинальная мощность равна потребляемой мощности при нормальной нагрузке или превышает ее.

12. ТОК УТЕЧКИ

По ГОСТ 12.2.013.0.

13. ПОДАВЛЕНИЕ РАДИО - И ТЕЛЕПОМЕХ

По ГОСТ 12.2.013.0.

14. ВЛАГОСТОЙКОСТЬ

По ГОСТ 12.2.013.0.

15. СОПРОТИВЛЕНИЕ ИЗОЛЯЦИИ И ЭЛЕКТРИЧЕСКАЯ ПРОЧНОСТЬ

По ГОСТ 12.2.013.0.

16. НАДЕЖНОСТЬ

По ГОСТ 12.2.013.0 со следующим изменением:

16.2. Дополнение:

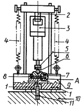
Сверлильная машина ударно-вращательного действия должна проработать на холостом ходу при незадействованном ударном механизме в течение 12 ч при напряжении, равном 1,1 номинального напряжения, а затем в течение 12 ч при напряжении, равном 0,9 номинального напряжения. Частоту вращения устанавливают на самое высокое значение самого быстроходного диапазона.

После этого машину монтируют в испытательный прибор, приведенный на черт. 101. Она должна проработать при номинальном напряжении или при среднем значении диапазона номинальных напряжений и при задействованном ударном механизме в течение четырех периодов по 6 ч каждый с перерывами между периодами не менее 30 мин.

В процессе испытания машина должна работать в повторно-кратковременном режиме работы: с рабочим периодом длительностью 30с, с периодом отдыха - 90с, в течение которого машина выключена.

Во время испытания в испытательном приборе к машине прикладывают через упругий элемент осевое усилие, достаточное для обеспечения устойчивой работы ударного механизма.

17. НЕНОРМАЛЬНЫЙ РЕЖИМ РАБОТЫ

По ГОСТ 12.2.013.0.

18. МЕХАНИЧЕСКАЯ БЕЗОПАСНОСТЬ

По ГОСТ 12.2.013.0 со следующим изменением:

18.1. Дополнение:

Ключи патронов должны быть сконструированы таким образом, чтобы они легко выпадали из своего гнезда, они не должны быть закреплены на машинах с помощью шнуров, цепочек и других подобных средств.

Проверку проводят осмотром и ручным опробованием.

Примечание. Это требование не исключает применения скоб для крепления ключа, когда он не находится в употреблении; применение металлических скоб, укрепленных на несъемном кабеле или шнуре, не допускается.

18.101.1. Конструкция сверлильных машин вращательного и ударно-вращательного действия должна препятствовать возникновению опасных реактивных моментов, вызываемых внезапным заклиниванием рабочего инструмента, что может привести к травмам или стать причиной несчастного случая в результате опрокидывания оператора или вырывания машины из рук оператора.

18.102.2. Определения и рекомендации

18.101.2.1. На практике усилия, прикладываемые оператором, превышают нормативные.

В исключительных случаях усилие в центре рукоятки может достигать 400 Н. Допустимый максимальный реактивный момент должен быть рассчитан с учетом этого усилия и длины рычага плеча для каждого положения рукоятки.

18.101.3. Максимальные значения реактивного момента

Реактивный момент Mp должен быть ограничен с одной стороны моментом заклинивания, а с другой стороны моментом расцепления. Максимальные значения реактивного момента зависят от исполнения машины, от характерного положения рукоятки и от того, каким образом необходимо удерживать машину (одной или двумя руками).

Реактивный момент у машин с двумя рукоятками гасится главным образом на уровне дополнительной рукоятки (рука на рукоятке с выключателем служит главным образом для управления машиной).

18.101.3.1. Машины, удерживаемые одной рукой

Mрmax = 8 Н×м

Mрmax = 10 Н×м

Mрmax = (400×а)Н×м

Mрmax = (400×а) Н×м

Mрmax = (400×а) Н×м

Размеры в метрах

18.101.3.2. Машины, удерживаемые двумя руками

Mрmax = (400×а2) Н×м

Mрmax = (400×а2) Н×м

Mрmax = (400×а) H×м

Размеры в метрах

18.101.4. Испытание - Измерение статического момента заклинивания или момента скольжения при включении машины с застопоренным шпинделем.

Машина питается от номинального напряжения и включается своим выключателем. Механический переключатель частоты вращения устанавливается на минимальную частоту вращения. Электронный регулятор частоты вращения устанавливается на максимальную частоту вращения. Измеренный момент не должен превышать допустимого максимального значения.

18.101.1, 18,101.2, 18.101.2.1, 18.101.3, 18.101.3.1, 18.101.3.2, 18.101.4. (Введены дополнительно, Изм. 1).

19. МЕХАНИЧЕСКАЯ ПРОЧНОСТЬ

По ГОСТ 12.2.013.0.

20. КОНСТРУКЦИЯ

По ГОСТ 12.2.013.0 со следующим изменением:

Дополнение пунктом:

20.101. Машины, предназначенные для применения со сверлом с максимальным диаметром более 16 мм, должны иметь две рукоятки, размещенные с обеих сторон машины, или предусматривать возможность установки боковой рукоятки дополнительно к основной.

Проверку проводят осмотром.

21. ВНУТРЕННЯЯ ПРОВОДКА

По ГОСТ 12.2.013.0.

22. КОМПЛЕКТУЮЩИЕ ИЗДЕЛИЯ

По ГОСТ 12.2.013.0.

23. ПОДКЛЮЧЕНИЕ К СЕТИ И ВНЕШНИЕ ГИБКИЕ КАБЕЛИ И ШНУРЫ

По ГОСТ 12.2.013.0

24. ЗАЖИМЫ ДЛЯ ВНЕШНИХ ПРОВОДОВ

По ГОСТ 12.2.013.0.

25. ЗАЗЕМЛЕНИЕ

По ГОСТ 12.2.013.0.

26. ВИНТЫ И СОЕДИНЕНИЯ

По ГОСТ 12.2.013.0.

27. ПУТИ УТЕЧКИ, ВОЗДУШНЫЕ ЗАЗОРЫ И ТОЛЩИНА ИЗОЛЯЦИИ

По ГОСТ 12.2.013.0.

28. ТЕПЛОСТОЙКОСТЬ, ОГНЕСТОЙКОСТЬ И СТОЙКОСТЬ К ОБРАЗОВАНИЮ ТОКОПРОВОДЯЩИХ МОСТИКОВ

По ГОСТ 12.2.013.0.

29. КОРРОЗИОННАЯ СТОЙКОСТЬ

По ГОСТ 12.2.013.0.

Испытательный прибор

1 - диски из синтетической резины или из материала с подобными свойствами с твердостью по Шору А от 70 до 80, толщиной 10 мм и диаметром 75 мм; 2 - облицованная полиамидом скоба, пригнанная к рукоятке машины; 3 - машина; 4 - механический пружинный или пневматический механизм, создающий осевое усилие; 5 - пуансон; 6 - шар из закаленной стали диаметром 38 мм; 7 - промежуточная плита из закаленной стали массой М2 и диаметром D снабженная с нижней стороны пазами в соответствии с чертежом; 8 - диск из синтетической резины или материала с подобными свойствами с твердостью по Шору А от 70 до 80, толщиной от 6 до 7 мм, плотно пригнанной к стенкам; 9 - стальной фундамент массой М1 с цилиндрической выемкой, у которой диаметр на 1 мм больше диаметра промежуточной плиты, дно выемки снабжено пазами в соответствии с чертежом; 10 - бетонный блок, установленный на устойчивой поверхности; 11 - стальной стержень, препятствующий горизонтальному смещению; 12 - шлифованные поверхности и кромки

Допускается представление машины на испытание с пуансоном и пуансонодержателем, общая масса которых M3 не более указанных в таблице.

Номинальная потребляемая мощность машины, Вт

Диаметр промежуточной плиты D, мм

Расстояние между центрами пазов а, мм

Масса стального фундамента M1, кг

Масса промежуточной плиты М2, кг

Общая масса пуансона и пуансоно-держателя M3, кг

До 700

100

6,5

90

1,0

0,7

Св. 700 » 1200

140

5,75

180

2,25

1,4

Св. 1200 » 1800

180

5,0

270

3,8

2,3

Св. 1800 » 2500

220

4,5

360

6,0

3,4

Черт. 101

ПРИЛОЖЕНИЕ А
ТЕРМОВЫКЛЮЧАТЕЛИ И УСТРОЙСТВА ЗАЩИТЫ ОТ ПЕРЕГРУЗОК

По ГОСТ 12.2.013.0.

ПРИЛОЖЕНИЕ B
ЭЛЕКТРОННЫЕ СХЕМЫ

По ГОСТ 12.2.013.0.

ПРИЛОЖЕНИЕ C
КОНСТРУКЦИЯ БЕЗОПАСНЫХ ИЗОЛИРУЮЩИХ ТРАНСФОРМАТОРОВ

По ГОСТ 12.2.013.0.

ПРИЛОЖЕНИЕ D
ИЗМЕРЕНИЯ ПУТЕЙ УТЕЧКИ И ВОЗДУШНЫХ ЗАЗОРОВ

По ГОСТ 12.2.013.0.

ПРИЛОЖЕНИЕ 1
ПРАВИЛА БЕЗОПАСНОСТИ ПРИ ЭКСПЛУАТАЦИИ МАШИН В УСЛОВИЯХ ПРОИЗВОДСТВА

По ГОСТ 12.2.013.0.

ПРИЛОЖЕНИЕ 2
ПРАВИЛА БЕЗОПАСНОСТИ ПРИ ЭКСПЛУАТАЦИИ МАШИН В БЫТОВЫХ УСЛОВИЯХ

По ГОСТ 12.2.013.0.

ПРИЛОЖЕНИЕ 3
ПРИЕМКА

По ГОСТ 12.2.013.0.

ИНФОРМАЦИОННЫЕ ДАННЫЕ

1. РАЗРАБОТАН И ВНЕСЕН ТК 262 ИНСТРУМЕНТ МЕХАНИЗИРОВАННЫЙ И РУЧНОЙ»

2. УТВЕРЖДЕН И ВВЕДЕН В ДЕЙСТВИЕ Постановлением Комитета стандартизации и метрологии СССР от 27.11.91 № 1817

Настоящий стандарт разработан методом прямого применения международного стандарта МЭК 745-2-1-90 «Безопасность ручных электрических машин. Часть 2. Частные требования безопасности и методы испытаний сверлильных машин» с дополнительными требованиями, отражающими потребности народного хозяйства

Изменение № 1 принято Межгосударственным советом по стандартизации, метрологии и сертификации (протокол № 12 от 21.11.97)

За принятие изменения проголосовали:

Наименование государства

Наименование национального органа по стандартизации

Азербайджанская Республика

Азгосстандарт

Республика Армения

Армгосстандарт

Республика Беларусь

Госстандарт Беларуси

Республика Казахстан

Госстандарт Республики Казахстан

Киргизская Республика

Киргизстандарт

Республика Молдова

Молдовастандарт

Российская Федерация

Госстандарт России

Республика Таджикистан

Таджикгосстандарт

Туркменистан

Главная государственная инспекция Туркменистана

Республика Узбекистан

Узгосстандарт

Украина

Госстандарт Украины

3. ВВЕДЕН ВПЕРВЫЕ

4. ССЫЛОЧНЫЕ НОРМАТИВНО-ТЕХНИЧЕСКИЕ ДОКУМЕНТЫ

Обозначение НТД, на который дана ссылка

Номер раздела, приложения

ГОСТ 12.2.013.0-91

Вводная часть, разд. 1-29

Приложения A, B, С, D, 1-3

5. ИЗДАНИЕ с Изменением № 1, принятым в июне 1998 г. (ИУС 10-98)




Яндекс цитирования