//
ТехЛит.ру
- крупнейшая бесплатная электронная интернет библиотека для "технически умных" людей.
WWW.TEHLIT.RU - ТЕХНИЧЕСКАЯ ЛИТЕРАТУРА

:: Алготрейдинг::


АЛГОТРЕЙДИНГ
шаг за шагом
с нуля по урокам!

Торговые роботы на PYTHON, BackTrader,
Pandas, Pine Script для TradingView. Связка с брокерами, телеграм и легкими приложениями.


ГОСТ 12466-67

МЕЖГОСУДАРСТВЕННЫЙ СТАНДАРТ

СЕРЬГИ С РЕЗЬБОВЫМИ ОТВЕРСТИЯМИ

КОНСТРУКЦИЯ

ИПК ИЗДАТЕЛЬСТВО СТАНДАРТОВ

Москва

МЕЖГОСУДАРСТВЕННЫЙ СТАНДАРТ

СЕРЬГИ С РЕЗЬБОВЫМИ ОТВЕРСТИЯМИ
Конструкция

Shackles with thread holes. Design and sizes

ГОСТ
12466-67*

Взамен
MH 5427-64

Утвержден Комитетом стандартов, мер и измерительных приборов при Совете Министров СССР 3 января 1967г. Срок введения установлен

Постановлением Госстандарта СССР от 17.03.88 № 567 снято ограничение срока действия

с 01.07 1967г.

1. Конструкция и размеры серег с резьбовыми отверстиями должны соответствовать чертежу и таблице.

* Размеры для справок.

Размеры в мм

Обозначения серег

Применяемость

d

d1

А (пред. откл. ± 0,5)

L

В

Я

г

Масса, кг

7009-0671

 

М10

М16

25

52

32

12

11

0,112

7009-0672

 

М12

М20

28

58

36

16

12

0,150

7009-0673

 

М16

М24

32

68

40

20

16

0,255

Пример условного обозначения серьги с резьбовым отверстием размером d = M10:

Серьга 7009-0671 ГОСТ 12466-67

(Измененная редакция, Изм. № 1, 2).

2. Материал - сталь марки 45 по ГОСТ 1050-88. Допускается замена на стали других марок с механическими свойствами не ниже, чем у стали марки 45.

3. Твердость - 35,0 ... 39,5 HRCэ.

4. Неуказанные предельные отклонения размеров:

3, 4. (Измененная редакция, Изм. № 2).

5. Резьба метрическая - по ГОСТ 24705-81 Поле допуска резьбы - 6Н по ГОСТ 16093-81.

(Измененная редакция, Изм. 1, 2).

6. Размеры фасок для резьбы - по ГОСТ 10549-80.

(Измененная редакция, Изм. 1).

7. (Исключен, Изм. 1).

8. Покрытие - Хим. Окс. прм (обозначение покрытия - по ГОСТ 9.306-85).

9. Маркировать партию деталей одного типоразмера на таре или упаковке с указанием условного обозначения.

8, 9. (Измененная редакция, Изм. 2).

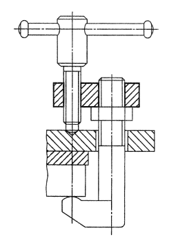
10. Пример применения серег указан в приложении.

(Введен дополнительно, Изм. № 2).

ПРИЛОЖЕНИЕ
Справочное
ПРИМЕР ПРИМЕНЕНИЯ СЕРЕГ




Яндекс цитирования



   Copyright © 2007-2026,  www.tehlit.ru.

[ ѓосты, стандарты, нормативы, инструкции, правила, строительные нормы ]