//
ТехЛит.ру
- крупнейшая бесплатная электронная интернет библиотека для "технически умных" людей.
WWW.TEHLIT.RU - ТЕХНИЧЕСКАЯ ЛИТЕРАТУРА

:: Алготрейдинг::


АЛГОТРЕЙДИНГ
шаг за шагом
с нуля по урокам!

Торговые роботы на PYTHON, BackTrader,
Pandas, Pine Script для TradingView. Связка с брокерами, телеграм и легкими приложениями.


МЕЖГОСУДАРСТВЕННЫЕ СТАНДАРТЫ

БУМАГА И КАРТОН

МЕТОДЫ ИСПЫТАНИЙ

ГОСТ 13525.18-70

МОСКВА - 1999

МЕЖГОСУДАРСТВЕННЫЙ СТАНДАРТ

БУМАГА

Метод определения промокаемости

Paper. Method for determination of water permeability

ГОСТ
13525.18-70

Взамен
ГОСТ 13525.1-68

Дата введения 01.01.71

Настоящий стандарт распространяется на бумагу и устанавливает метод определения промокаемости.

Сущность метода заключается в определении времени, прошедшего с момента соприкосновения одной стороны образца бумаги с электролитом до проникновения его на другую сторону. Конец испытания фиксируется по достижении заранее установленной силы тока в электрической цепи, замкнутой двумя электродами через систему бумага - электролит.

Применение метода предусматривается в стандартах и технических условиях, устанавливающих технические требования на бумагу.

1. ОТБОР ПРОБ

1.1. Отбор проб - по ГОСТ 8047. Из листов пробы произвольно отбирают пять листов для испытания.

(Измененная редакция, Изм. № 1).

2. АППАРАТУРА, МАТЕРИАЛЫ и РЕАКТИВЫ

2.1. Для проведения испытания должны применяться следующие аппаратура, материалы и реактивы:

прибор типа ПРМ, состоящий из электролитической ячейки и регистрирующей системы.

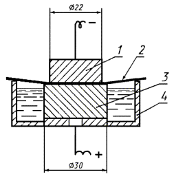
Электролитическая ячейка (см. чертеж) состоит из двух медных электродов с плоскими параллельными друг другу поверхностями. К электродам прикладывается постоянное напряжение в 1,2 В.

Верхний электрод 1 должен быть сплошным с диаметром нижней поверхности (22,0±0,1) мм и обеспечивать прижим испытуемого образца 2 к нижнему электроду 3 с усилием (2,2±0,2) Н;

Нижний электрод, помещенный в ванночку 4 с электролитом (раствор сернокислой меди в серной кислоте), должен быть цилиндрическим, диаметром (30,0±0,5) мм, и пористым для равномерной подачи электролита к испытуемому образцу бумаги. Высота ванночки должна быть больше высоты нижнего электрода на 3 - 4 мм.

Регистрирующая система должна иметь контактный микроамперметр постоянного тока, механизм отсчета времени, который автоматически включается в момент замыкания электролитической ячейки через систему бумага - электролит и выключается при достижении установленной величины силы тока, соответствующей одной и той же степени промокания бумаги.

Максимальный предел шкалы цифрового указателя механизма отсчета времени должен быть не менее 104 с, точность отсчета 0,1 с.

Прибор должен иметь три предела измерения:

I - при (400±10) мкА для неклееных и слабоклееных видов бумаги;

II - при (200±5) мкА для бумаги средней проклейки;

III - при (40±1) мкА для сильноклееных видов бумаги.

Предел измерения прибора, которым следует пользоваться, должен быть указан в стандартах на соответствующие виды бумаги;

кислота серная по ГОСТ 4204, раствор с молярной концентрацией 0,01 моль/дм3;

медь сернокислая по ГОСТ 4165, раствор с молярной концентрацией 0,025 моль/дм3 в серной кислоте с молярной концентрацией 0,01 моль/дм3 (раствор должен храниться в сосуде с притертой пробкой);

вода дистиллированная по ГОСТ 6709;

бумага фильтровальная лабораторная по ГОСТ 12026 или промокательная по нормативно-технической документации.

(Измененная редакция, Изм. № 1, 2).

3. ПОДГОТОВКА К ИСПЫТАНИЮ

3.1. Из каждого пробного листа вырезают по два образца размером (70±5) ´ (70±5) мм. На каждом образце отмечают верхнюю и сеточную стороны.

(Измененная редакция, Изм. № 1).

3.2. Кондиционирование образцов проводят в соответствии с ГОСТ 13523 по режиму, установленному в стандартах на соответствующие виды бумаги.

3.3. Прибор настраивают на предел измерения, указанный в стандартах на соответствующие виды бумаги.

3.4. Ванночку заполняют электролитом так, чтобы поверхность электрода выступала на 1 - 2 мм над поверхностью электролита.

3.5. С помощью фильтровальной или промокательной бумаги осушают поверхность верхнего электрода.

(Измененная редакция, Изм. № 2).

4. ПРОВЕДЕНИЕ ИСПЫТАНИЯ

4.1. Испытывают пять образцов с верхней и пять с сеточной стороны или пять с одной из них в соответствии с указаниями нормативно-технической документации на продукцию.

(Измененная редакция, Изм. № 1).

4.2. Испытуемый образец кладут на нижний электрод. При закреплении испытуемого образца необходимо следить, чтобы электролит не попал на поверхность образца до прижима его верхним электродом к нижнему. Верхним электродом образец прижимают к нижнему и в этот момент автоматически включается электрический секундомер.

4.3. Испытание считают законченным в момент достижения установленной силы тока в электрической цепи.

4.4. В процессе испытания в ванночку доливают электролит и поддерживают его уровень в соответствии с п. 3.4. Температура электролита должна соответствовать температуре, установленной для кондиционирования образцов. После 2 ч работы электролит в ванночке необходимо сменить.

(Измененная редакция, Изм. № 2).

5. ОБРАБОТКА РЕЗУЛЬТАТОВ

5.1. Промокаемость бумаги выражают в секундах как среднее арифметическое результатов определений для обеих сторон или каждой стороны в зависимости от указаний в стандартах на соответствующие виды бумаги.

Результат определения округляют: при промокаемости до 10 с - до 0,1 с, при промокаемости св. 10 до 200 с - до 1 с, при промокаемости св. 200 с - до 10 с. (Измененная редакция, Изм. № 1).

5.2. Относительная погрешность определения промокаемости не превышает 5 % при доверительной вероятности 0,95.

(Измененная редакция, Изм. № 1).

ИНФОРМАЦИОННЫЕ ДАННЫЕ

1. РАЗРАБОТАН И ВНЕСЕН Министерством лесной, целлюлозно-бумажной и деревообрабатывающей промышленности СССР

РАЗРАБОТЧИКИ

Е.Н. Бабич, В.И. Сказус

2. УТВЕРЖДЕН И ВВЕДЕН В ДЕЙСТВИЕ Постановлением Комитета стандартов, мер и измерительных приборов при Совете Министров СССР от 02.03.70 № 266

3. ВЗАМЕН ГОСТ 7583-55 в части разд. II

4. ССЫЛОЧНЫЕ НОРМАТИВНО-ТЕХНИЧЕСКИЕ ДОКУМЕНТЫ

Обозначение НТД, на который дана ссылка

Номер пункта

ГОСТ 4165-78

2.1

ГОСТ 4204-77

2.1

ГОСТ 6709-72

2.1

ГОСТ 8047-93

1.1

ГОСТ 12026-76

2.1

ГОСТ 13523-78

3.2

5. Ограничение срока действия снято по протоколу № 7-95 Межгосударственного Совета по стандартизации, метрологии и сертификации (ИУС 11-95)

6. ПЕРЕИЗДАНИЕ (октябрь 1998 г.) с Изменениями № 1, 2, утвержденными в апреле 1983 г., мае 1988 г. (ИУС 8-83, 8-88)

СОДЕРЖАНИЕ

 




Яндекс цитирования



   Copyright © 2007-2026,  www.tehlit.ru.

[ ѓосты, стандарты, нормативы, инструкции, правила, строительные нормы ]