//
ТехЛит.ру
- крупнейшая бесплатная электронная интернет библиотека для "технически умных" людей.
WWW.TEHLIT.RU - ТЕХНИЧЕСКАЯ ЛИТЕРАТУРА

:: Алготрейдинг::


АЛГОТРЕЙДИНГ
шаг за шагом
с нуля по урокам!

Торговые роботы на PYTHON, BackTrader,
Pandas, Pine Script для TradingView. Связка с брокерами, телеграм и легкими приложениями.


МЕЖГОСУДАРСТВЕННЫЕ СТАНДАРТЫ

БУМАГА И КАРТОН

МЕТОДЫ ИСПЫТАНИЙ

ГОСТ 13525.7-68

МОСКВА - 1999

МЕЖГОСУДАРСТВЕННЫЙ СТАНДАРТ

БУМАГА И КАРТОН

Методы определения влагопрочности

Paper and board. Methods for determination of wet strength

ГОСТ
13525.7-68

Дата введения 01.01.70

Настоящий стандарт распространяется на бумагу и картон и устанавливает методы определения влагопрочности при кратковременном и длительном намокании. Сущность методов заключается в определении механической прочности бумаги или картона во влажном состоянии после выдерживания в воде в течение определенного времени.

Применение методов предусматривается в стандартах и технических условиях, устанавливающих технические требования на бумагу и картон.

1. ОТБОР ПРОБ

1.1. Отбор проб для испытания должен проводиться по ГОСТ 8047.

1.2. (Исключен, Изм. № 2).

2. ОПРЕДЕЛЕНИЕ ВЛАГОПРОЧНОСТИ ПРИ КРАТКОВРЕМЕННОМ НАМОКАНИИ

2.1. Аппаратура и растворы.

2.1.1. Для проведения испытания должны применяться следующие аппаратура и растворы: разрывная машина, отвечающая требованиям ГОСТ 13525.1;

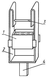
приспособление для намокания полосок бумаги (см. чертеж), состоящее из ванночки 1, которая может вертикально перемещаться по направляющим 2 и фиксироваться в верхнем положении, горизонтального стержня 3 диаметром (5,0±0,1) мм и длиной (25±1) мм и хвостовика 4 для закрепления приспособления в нижнем зажиме разрывной машины. При верхнем положении ванночки стержень должен опускаться в ванночку не менее чем на 25 мм, при установке на разрывной машине отклонение образующей стержня от параллельности относительно плоскости нижней кромки верхнего зажима не должно превышать 0,1 мм;

секундомер;

термометр по ГОСТ 28498 с ценой деления не более 1 °С;

вода дистиллированная по ГОСТ 6709.

(Измененная редакция, Изм. № 2).

2.2. Подготовка к испытанию.

2.2.1. От листов пробы произвольно отбирают десять листов для испытания и из каждого вырезают по два образца в машинном и поперечном направлениях или в одном из них в зависимости от указаний в стандартах на продукцию. Ширина полосок должна составлять (15,0±0,1) мм, длина - не менее 250 мм.

(Измененная редакция, Изм. № 2).

2.2.2. Образцы подвергают кондиционированию по ГОСТ 13523 при относительной влажности, температуре воздуха и в течение времени, указанных в стандартах на продукцию.

(Введен дополнительно, Изм. № 2).

2.3. Проведение испытания.

2.3.1. Половину общего числа образцов испытывают по ГОСТ 13525.1 и определяют разрушающее усилие, другую половину образцов испытывают следующим образом:

приспособление для намокания закрепляют в нижнем зажиме разрывной машины так, чтобы расстояние от горизонтального стержня до верхнего зажима составляло (90±10) мм. Ванночка должна быть наполнена водой до отметки и находиться в нижнем положении.

Испытуемый образец подводят под стержень так, чтобы образовалась петля, оба конца которой закрепляют в верхнем зажиме машины. Образец погружают в воду на глубину 20 мм путем поднятия ванночки в верхнее положение. С этого момента начинают отсчет времени. По истечении (30±2) с ванночку опускают и нагружают образец до его разрыва. Взятый по шкале машины результат отсчета должен быть разделен на два.

Температура воды в ванночке во время испытания должна соответствовать температуре, установленной для кондиционирования образцов.

(Измененная редакция, Изм. № 2).

2.3.2. Для каждого направления бумаги производят десять определений.

(Измененная редакция, Изм. № 1).

2.4. Подсчет результатов испытания.

2.4.1. В зависимости от указаний в соответствующих стандартах на бумагу или картон влагопрочность при кратковременном намокании (В) выражают средним арифметическим результатов определений разрушающего усилия влажных образцов в Н (кгс) или вычисляют в процентах по формуле

где Рв - среднее арифметическое десяти измерений разрушающего усилия влажных образцов, Н (кгс);

Pс - среднее арифметическое десяти измерений разрушающего усилия воздушно-сухих образцов, Н (кгс).

Результат округляют до первого десятичного знака.

Относительная погрешность результата определения разрушающего усилия влажных образцов не должна превышать ±7 % при доверительной вероятности 0,95; относительная погрешность результата определения влагопрочности не должна превышать ±9 % при доверительной вероятности 0,95.

(Измененная редакция, Изм. № 2).

3. ОПРЕДЕЛЕНИЕ ВЛАГОПРОЧНОСТИ ПРИ ДЛИТЕЛЬНОМ НАМОКАНИИ

3.1. Аппаратура, материалы и растворы.

3.1.1. Для проведения испытания должны применяться следующие аппаратура, материалы и растворы:

приборы для определения показателей механической прочности (сопротивления разрыву или раздиранию, или продавливанию), отвечающие требованиям соответствующих стандартов на методы испытаний;

ванночка размером не менее 250´250´25 мм;

отжимной металлический валик массой (1,0±0,2) кг. Длина валика должна быть больше ширины испытуемого образца на 20 - 30 мм;

термометр по ГОСТ 28498 с ценой деления не более 1 °С;

бумага промокательная по ТУ 13-7308001-758;

вода дистиллированная по ГОСТ 6709.

(Измененная редакция, Изм. № 1, 2).

3.2. Подготовка к испытанию.

3.2.1. Из каждого листа пробы вырезают образцы так, как это предусмотрено соответствующими стандартами на методы испытаний.

3.2.2. Для определения относительной влагопрочности вырезают удвоенное количество образцов по сравнению с указанным в соответствующих стандартах на методы испытаний.

3.2.3. Образцы подвергают кондиционированию по ГОСТ 13523 при относительной влажности, температуре воздуха и в течение времени, указанных в стандартах на продукцию.

3.2.4. При времени выдерживания образцов в воде 60 мин и более образцы перед погружением их в воду не кондиционируют.

3.2.5. Образцы бумаги и картона со специальной обработкой для придания прочности во влажном состоянии испытывают по истечении определенного времени с момента изготовления продукции, указанного в стандартах на отдельные виды бумаги и картона.

3.2.3 - 3.2.5. (Введены дополнительно, Изм. № 2).

3.3. Проведение испытания.

3.3.1. Образцы по одному погружают в воду. Температура воды в ванночке во время испытания должна соответствовать температуре, установленной для кондиционирования образцов. По истечении времени, предусмотренного стандартами на продукцию, образцы извлекают из воды по одному, соблюдая такую же очередность, как и при погружении образцов в воду. Каждый образец в отдельности кладут на два листа промокательной бумаги, лежащей на жесткой гладкой поверхности, покрывают сверху двумя листами промокательной бумаги и отжимают избыточную воду, прокатывая валиком по одному разу в ту и другую сторону. Затем определяют требуемый показатель механической прочности влажных образцов по соответствующим стандартам на методы испытаний.

3.3.2. При определении относительной влагопрочности для половины образцов, подвергшихся кондиционированию, определяют требуемый показатель механической прочности в сухом состоянии по соответствующим стандартам на методы испытаний, остальные испытывают по п. 3.3.1.

3.3.3. Время выдерживания образцов в воде должно составлять (120±5) мин, если в стандартах на отдельные виды бумаги или картона нет соответствующих указаний.

3.3.1 - 3.3.3. (Измененная редакция, Изм. № 2).

3.3.4. (Исключен, Изм. № 1).

3.4. Подсчет результатов испытания.

3.4.1. В зависимости от указаний в соответствующих стандартах на бумагу или картон влагопрочность Bo выражают средним арифметическим результатов определений требуемого показателя механической прочности влажных образцов в единицах, принятых для определяемого показателя, или определяют по формуле

где Во - относительная влагопрочность в %;

Пв - среднее арифметическое определений требуемого показателя механической прочности влажных образцов;

Пс - среднее арифметическое определений требуемого показателя механической прочности воздушно-сухих образцов.

Результат округляют до разряда, принятого для определяемого показателя в соответствующих стандартах на методы испытаний, или до первого десятичного знака.

Относительная погрешность результата определения механической прочности влажных образцов не должна превышать ±7 % при доверительной вероятности 0,95; относительная погрешность результата определения влагопрочности не должна превышать ±9 % при доверительной вероятности 0,95.

(Измененная редакция, Изм. № 1, 2).

ИНФОРМАЦИОННЫЕ ДАННЫЕ

1. РАЗРАБОТАН И ВНЕСЕН Министерством лесной, целлюлозно-бумажной и деревообрабатывающей промышленности СССР

РАЗРАБОТЧИКИ

А.И. Парфенова (руководитель темы), Г.Ф. Максимова

2. УТВЕРЖДЕН Комитетом стандартов, мер и измерительных приборов при Совете Министров Союза ССР от 07.05.68

3. Периодичность проверки - 5 лет

4 Стандарт полностью соответствует международному стандарту ИСО 3781-83

5. ССЫЛОЧНЫЕ НОРМАТИВНО-ТЕХНИЧЕСКИЕ ДОКУМЕНТЫ

Обозначение НТД, на который дана ссылка

Номер пункта

ГОСТ 6709-72

2.1.1, 3.1.1

ГОСТ 8047-93

1.1

ГОСТ 13523-78

2.1.1, 2.2.2, 3.2.3

ГОСТ 13525.1-79

2.1.1, 2.3.1

ГОСТ 28498-90

2.1.1, 3.1.1

ТУ 13-7308001-758-88

3.1.1

6. Ограничение срока действия снято по протоколу № 2-92 Межгосударственного Совета по стандартизации, метрологии и сертификации (ИУС 2-93)

7. ПЕРЕИЗДАНИЕ (октябрь 1998 г.) с Изменениями 1, 2, утвержденными в декабре 1981 г., марте 1988 г. (ИУС 3-82, 6-87)

СОДЕРЖАНИЕ

 




Яндекс цитирования



   Copyright © 2007-2026,  www.tehlit.ru.

[ ѓосты, стандарты, нормативы, инструкции, правила, строительные нормы ]