//
ТехЛит.ру
- крупнейшая бесплатная электронная интернет библиотека для "технически умных" людей.
WWW.TEHLIT.RU - ТЕХНИЧЕСКАЯ ЛИТЕРАТУРА

:: Алготрейдинг::


АЛГОТРЕЙДИНГ
шаг за шагом
с нуля по урокам!

Торговые роботы на PYTHON, BackTrader,
Pandas, Pine Script для TradingView. Связка с брокерами, телеграм и легкими приложениями.


ГОСУДАРСТВЕННЫЙ КОМИТЕТ СОВЕТА МИНИСТРОВ СССР ПО ДЕЛАМ СТРОИТЕЛЬСТВА (ГОССТРОЙ СССР)

ВРЕМЕННАЯ ИНСТРУКЦИЯ

ПО ПРОЕКТИРОВАНИЮ, МОНТАЖУ И ЭКСПЛУАТАЦИИ ВОЗДУХООПОРНЫХ ПНЕВМАТИЧЕСКИХ СООРУЖЕНИЙ

СН 497-77

Утверждена

постановлением

Государственного комитета

Совета Министров СССР

по делам строительства

от 29 июля 1977 г. № 108

Временная инструкция по проектированию, монтажу и эксплуатации воздухоопорных пневматических сооружений (СН 497-77) разработана ЦНиСК им. Кучеренко Госстроя ССР Московского архитектурного института Минвуза РСФСР, ВНИИМонтажспецстроя Минмонтажспецстроя СССР и Загорского филиала НИИРП Миннефтехимпрома СССР.

Реакторы - инженеры Г. Н. Демьянков и А. М. Кошкин (Госстрой СССР), канд. техн. наук С. Б. Вознесенский и инж. Е. Г. Андриенко (ЦНИИСК им. Кучеренко).

СОДЕРЖАНИЕ

 

Государственный

комитет Совета Министров СССР по делам строительства (Госстрой СССР)

Строительные нормы

СН 497-77

Временная инструкция по проектированию, монтажу и эксплуатации воздухоопорных пневматических сооружений

-

1. ОБЩИЕ ПОЛОЖЕНИЯ

1.1. Требования настоящей Временной инструкции должны выполняться при проектировании, монтаже и эксплуатации воздухоопорных пневматических сооружений (ВПС) с оболочками пролетами до 30 м включительно, которые изготавливаются из воздухонепроницаемых материалов на основе тканей из синтетических волокон с резиновым или поливинилхлоридным покрытием.

1.2. Оболочки ВПС следует относить к V степени огнестойкости.

1.3. ВПС следует применять для временных:

а) складов:

зерна, семян, овощей;

сырья и готовой продукции пищевой промышленности;

минеральных удобрений (невзрывоопасных и непожароопасных);

строительных материалов (несгораемых и трудносгораемых): цемента, извести, песка, стекла, а также теплоизоляционных, облицовочных и футеровочных материалов;

оборудования, станков и механизмов;

сырья, заготовок и продукции металлургической промышленности;

б) укрытий:

стоянок автотранспорта;

ремонтно-механических мастерских;

строительно-монтажных работ;

работ в горнодобывающей промышленности;

полигонов изготовления железобетонных конструкций;

участков сварочных и изоляционных работ на магистральных трубопроводах;

трубосварочных баз;

площадок буровых работ;

мастерских по изготовлению металлических конструкций, в том числе сварных;

в) цехов:

холодной обработки металлов;

сборочных механических;

консервирования овощей и фруктов;

г) укрытий скота в полевых условиях;

д) спортивных сооружений для тренировочных занятий без трибун:

бассейнов, катков, теннисных кортов, площадок ручных игр и легкой атлетики, при отсутствии на площадках сгораемых материалов, за исключением спортивного инвентаря.

Внесена

ЦНИИСК им. Кучеренко Госстроя СССР

Утверждена

постановлением Государственного комитета Совета Министров СССР по делам строительства от 29 июля 1977 г. № 108

Срок введения в действие 1 июля 1978 г.

1.4. Площадь воздухо-опорных оболочек ВПС должна быть: для стоянок автотранспорта и ремонтно-механических мастерских - не более 800 м2, для остальных помещений, указанных в п. 1.3 настоящей Инструкции - не более 1500 м2.

2. МАТЕРИАЛЫ

2.1. Материалы для оболочек ВПС и их основные характеристики приведены в приложении 1.

2.2. Расчетные сопротивления R материалов оболочки приведены в табл. 1. Нормативные сопротивления Rн материалов оболочки приведены в приложении 2.

Таблица 1

Шифр

материала

Расчетное сопротивление R, кгс/м

Шифр

материала

Расчетное сопротивление R, кгс/м

по основе Rос с

по утку Rут

по основе Rос с

по утку Rут

51-019

2350

1050

23-М

2350

1050

У-92

2350

1050

А-01

2250

2250

У-93

1280

830

Тентовый материал

1690

1250

3. ПРОЕКТИРОВАНИЕ

РАСЧЕТ ОБОЛОЧЕК

3.1. Оболочки ВПС проектируются сферическими и цилиндрическими. Цилиндрические оболочки могут быть со сферическими или цилиндрическими торцами (рис. 1).

Рис. 1. Схемы оболочек ВПС

а - сферическая; б - цилиндрическая; 1 - план оболочки со сферическими торцами; 2 - то же, с цилиндрическими торцами

3.2. Прочность оболочек проверяется по формулам:

 или ,                                                                            (1)

где Т1, Т2 - усилия растяжения в оболочке (рис. 2), кгс/м;

,  - расчетные сопротивления материала оболочки по основе или утку, кгс/м.

Деформации оболочек не проверяются.

3.3. Усилия Т1,2 определяются от давления воздуха внутри оболочки и внешних нагрузок от снега и ветра. Собственный вес оболочки не учитывается.

3.4. Усилия  и  (рис. 2,а) в сферических оболочках определяются по формулам:

                                                                                    (2)

                                                                     (3)

Усилия Т1ц и Т2ц (рис. 2 б) в цилиндрических оболочках определяются по формулам:

;                                                                                  (4)

                                                                    (5)

где  - величина давления воздуха внутри оболочки, определяемая по формуле P = 0,8 q0 но не менее 40 кгс/м2;

 - скоростной напор ветра, определяемый по главе СНиП по нагрузкам и воздействиям, кгс/м2;

r1 - радиус сферической оболочки, м;

r2 - радиус цилиндрической оболочки, м;

п - коэффициент перегрузки 1,3;

k - коэффициент, учитывающий изменение скоростного напора в зависимости от высоты и типа местности, принимаемый по главе СНиП по нагрузкам и воздействиям;

Рс - расчетная величина снеговой нагрузки, определяемая по табл. 2.

Таблица 2

Районы СССР (принимаемые по главе СНиП по нагрузкам и воздействиям)

Расчетная величина снеговой нагрузки Рс, кгс/м2

I

7

II

11

III

14

IV

22

V

25

VI

28

Рис. 2. Схемы действия усилий в оболочке

а - сферической; б - цилиндрической

ПРОЕКТИРОВАНИЕ ВПС

3.5. ВПС следует применять, как правило, в соответствии с типовыми проектами.

3.6. Расстояния между ВПС и от них до производственных, складских, вспомогательных, жилых и общественных зданий и сооружений должны быть не менее 18 м.

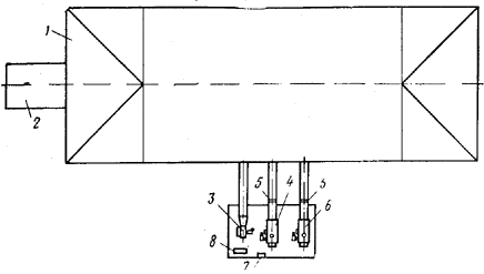
3.7. ВПС состоит из оболочки с опорным контуром для крепления ее к фундаменту, каркасов шлюзов с тентами и здания машинного отделения с вентиляторами, воздухонагревателями и дизель генератором (рис. 3).

Рис. 3. Воздухоопорное пневматическое сооружение

1 - оболочка; 2 - шлюз; 3 - вентилятор, работающий в летний период; 4 -воздухонагреватель; 5 - огнезадерживающий клапан; 6 - резервный воздухонагреватель; 7 - пульт управления; 8 - дизель-генератор

3.8. Оболочки ВПС могут быть целиком изготовленными на заводе или состоящими из монтажных элементов. Монтажные швы оболочек следует выполнять петельно-тросового типа с герметизирующими фартуками (рис. 4).

Рис. 4. Монтажный шов петельно-тросового типа (наружный и внутренний фартуки не показаны)

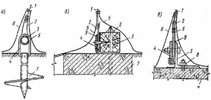
3.9. Опорный контур оболочки ВПС состоит из анкерных устройств, обеспечивающих крепление оболочки к фундаментам, внутреннего и наружного фартуков для обеспечения герметичности и защиты от атмосферных воздействий (рис. 5).

Рис. 5. Крепление опорного контура оболочки

а - к винтовым сваям; б - к деревянному брусу; в - к металлическому уголку; 1 - оболочка; 2 - кромка оболочки; 3 - распределительный элемент; 4 - прижимная планка (серьга); 5 - внутренний фартук; 6 - наружный фартук; 7 - фундамент (винтовая свая); 8 - анкерный болт; 9 - резиновая прокладка

3.10. Фундаменты оболочки ВПС проектируются монолитными или сборными железобетонными, расположенными по контуру оболочки, а также в виде забивных, набивных и винтовых свай и якорей.

3.11. Шлюзы ВПС проектируются из разборных металлических или деревянных каркасов и ограждающего тента. Тенты шлюзов проектируются из того же материала, что и оболочка.

3.12. Объемно-планировочные и конструктивные решения зданий машинных отделений необходимо предусматривать в соответствии с главой СНиП по проектированию производственных зданий промышленных предприятий. Несущие и ограждающие конструкции зданий машинных отделений должны быть из несгораемых и трудносгораемых материалов.

3.13. Количество эвакуационных выходов в оболочке, должно быть не менее двух; при этом эти выходы, должны располагаться рассредоточенно. Общая ширина эвакуационных выходов принимается из расчета не менее 1 м на 25 человек, но не менее 1 м. Двери, предназначенные для эвакуации, должны быть распашными и не иметь порогов. Выходы, оборудованные турникетами, эвакуационными не являются. Расстояние от наиболее удаленной точки пола до эвакуационных дверей принимается не более 30 м.

3.14. Для складов оборудования, станков и механизмов, стоянок автотранспорта, ремонтно-механических мастерских необходимо предусматривать устройство внутреннего и наружного противопожарного водопровода при наличии сетей водоснабжения на территории строительства, а при их отсутствии - устройство водоема емкостью не менее 25 м при сроке эксплуатации ВПС более одного года.

Внутренний и наружный водопровод следует проектировать в соответствии с главой СНиП по проектированию внутреннего водопровода и канализации зданий и главой СНиП по проектированию наружных сетей и сооружений водоснабжения.

3.15. Электроснабжение ВПС должно проектироваться в соответствии с Правилами устройства электроустановок (ПУЭ), а также Инструкцией по прокладке кабелей напряжением до 110 кВ и Инструкцией по устройству сетей заземления и зануления в электроустановках, утвержденными Госстроем СССР.

3.16. Электропроводка должна выполняться в несгораемых трубах или с применением кабеля (за исключением кабеля с полиэтиленовой изоляцией или оболочкой). Все соединения или ответвления кабелей, должны выполняться сварными или паяными, и располагаться в ответвительных коробках с надежной изоляцией. Светильники должны быть в защищенном исполнении. Для обесточивания электросети должны предусматриваться рубильники, устанавливаемые снаружи оболочки.

3.17. Освещенность ВПС устанавливается в соответствии с главами СНиП по проектированию искусственного и естественного освещения.

3.18. Допустимые уровни звукового давления и уровни звука в ВПС следует принимать в соответствии с ГОСТ 12.1.003-76

3.19. Для оболочек ВПС, предназначенных для спортивных сооружений, должны применяться воздухонепроницаемые материалы по стандартам и техническим условиям, согласованным Минздравом СССР.

ВОЗДУХОСНАБЖЕНИЕ

3.20. Система подачи воздуха должна обеспечивать устойчивость оболочек ВПС при применении их в различных климатических условиях, а также необходимые по санитарно-гигиеническим и технологическим требованиям метеорологические условия в помещениях при расчетных параметрах наружного воздуха.

Подачу воздуха в оболочку, для обеспечения ее устойчивости и вентиляции отапливаемых помещений, следует предусматривать системами, совмещенными с воздушным отоплением.

3.21. Отопление и вентиляцию, а также рециркуляцию воздуха следует предусматривать в соответствии с главой СНиП по проектированию отопления, вентиляции и кондиционирования воздуха и настоящего раздела Инструкции.

3.22. Метеорологические условия (температуру, относительную влажность, скорость движения воздуха) и чистоту воздуха в рабочей зоне помещений ВПС следует принимать по санитарным нормам проектирования промышленных предприятий и указаниям соответствующих глав СНиП в зависимости от назначения ВПС и категории выполняемой работы.

Метеорологические условия в помещениях, необходимые по технологическим требованиям, следует принимать в соответствии с нормами технологического проектирования.

3.23. При проектировании системы подачи воздуха ВПС для отопления и вентиляции расчетные параметры наружного воздуха следует принимать в соответствии с главой СНиП по строительной климатологии и геофизике:

а) для холодного периода года - среднюю температуру наиболее холодных суток, среднюю относительную влажность наиболее холодного месяца года и среднюю скорость ветра за январь;

б) для теплого периода года - среднюю температуру и среднюю относительную влажность наиболее жаркого месяца года и среднюю скорость ветра за июль.

Производительность системы подачи воздуха для отопления и вентиляции ВПС следует определять, учитывая имеющиеся потери и поступления тепла (солнечная радиация, теплопотери через ограждающие конструкции, тепловыделения от технологических процессов и др.), влаговыделения и выделения вредных веществ.

3.24. Для обеспечения устойчивости сооружений при расчете систем подачи воздуха минимальное давление воздуха внутри оболочки следует принимать равным 15 кгс/м2, максимальное давление - в соответствии с п. 3,4 настоящей Инструкции.

3.25. Количество воздуха Lуд, м3/ч, удаляемого из оболочки, следует определять по формуле

                                                 (6)

где  - длина периметра опорного контура оболочки, м;

 - длина монтажных швов и неплотностей по периметру дверей, закрытых проемов клапанов, м;

Fк - общая площадь открытых проемов клапанов, м2;

m - коэффициент расхода, равный 0,6;

g - ускорение силы тяжести, м/с2;

g - удельный вес воздуха внутри оболочки, принимаемый равным 1,2 кг/м3;

Р - давление воздуха в оболочке, кгс/м2.

3.26. Минимальное количество воздуха Lмин, м3/ч, которое необходимо подавать в оболочку для обеспечения устойчивости, следует определять по формуле

.                                                                                                     (7)

При этом Fк = 0, а Р = 15 кгс/м2.

3.27. Воздухообмен L, м3/ч, в оболочке для обеспечения метеорологических условий в помещении, отвечающих санитарно-гигиеническим требованиям, следует определять в соответствии с главой СНиП по проектированию отопления, вентиляции и кондиционирования воздуха.

Если определяемый по расчету воздухообмен L окажется больше Lмин, то излишнее количество воздуха удаляется из оболочки через проемы клапанов.

Необходимую площадь Fк, м2, открытых проемов клапанов при Р = 15 кгс/м2 и Lуд = L для удаления излишнего количества воздуха следует определять по формуле (6), а принимать не более полученной из выражения

при этом должна производиться корректировка требуемого воздухообмена L в помещении ВПС за счет изменения количества выделяющихся в воздух помещения вредных веществ, тепла и влаги, а также должны предусматриваться мероприятия по защите помещения от перегрева за счет солнечной радиации.

3.28. Проемы клапанов в оболочке следует располагать равномерно на расстоянии не менее 3 м от основания. Площадь проема клапана следует принимать не более 0,12 м2.

3.29. Для обеспечения расчетного давления в оболочке при закрытых проемах клапанов должна предусматриваться автоматическая подача требуемого количества воздуха резервной системой.

Эта система должна обеспечивать также поддержание метеорологических условий и чистоты воздуха в помещении, предусмотренных заданием на проектирование ВПС.

Производительность резервной системы подачи воздуха в оболочку должна быть не меньше величины L, м3/ч.

3.30. Количество основных и резервных систем для подачи воздуха в оболочку, а также их аэродинамический характеристики и систему воздухораспределения в помещении следует определять расчетом, учитывая необходимые изменения количества и давления воздуха, подаваемого в оболочку.

3.31. Теплоснабжение ВПС должно обеспечиваться от централизованных источников тепла (ТЭЦ, котельных), а при их отсутствии следует предусматривать устройство местных, расположенных непосредственно у ВПС, источников тепла (местных котельных, установок с подогревателями на жидком или газообразном топливе).

Для подогрева воздуха, подаваемого в ВПС, допускается использовать электрическую энергию. Возможность и целесообразность использования электроэнергии для целей подогрева воздуха надлежит согласовывать с электроснабжающими организациями в установленном порядке.

3.32. Для ВПС, сооружаемых на период эксплуатации более трех лет, допускается предусматривать при соответствующем обосновании устройство систем центрального отопления с местными нагревательными приборами. Эти системы должны предусматриваться сборно-разборными для возможности использования их на нескольких ВПС.

3.33. Сопротивление теплопередаче ограждающей конструкции ВПС Ro, м2×ч×°С/ккал, следует определять по формуле

                                                                                             (8)

где R1 - термическое сопротивление ограждающей конструкции ВПС, м2×ч×°С/ккал, ввиду небольшой величины R1 материала оболочки его допускается не учитывать в расчете;

aн - коэффициент теплоотдачи наружной поверхности ограждающей конструкции ВПС, ккал/(м2×ч×°С), определяемый в соответствии с главой СНиП по строительной теплотехнике;

aв - коэффициент теплоотдачи внутренней поверхности ВПС, ккал/(м2×ч×°С), определяемый в соответствии с главой СНиП по строительной теплотехнике.

3.34. Для предотвращения образования конденсата и наледи на внутренней поверхности ограждения в холодный период года в зависимости от конкретных условий строительства следует предусматривать (по расчету):

а) относительную влажность воздуха в холодный период года не выше 40% за счет снижения влаговыделений в помещении технологическим оборудованием и полом помещения (если это допустимо по технологическим требованиям);

б) увеличение термического сопротивления ограждения до требуемого за счет нанесения теплоизоляции на их внутреннюю поверхность, иногда только в местах, наиболее подвергнутых переохлаждению;

в) систему воздухораспределения с обдувом внутренней поверхности оболочки теплым воздухом.

Для предотвращения перегрева воздуха в ВПС в теплый период года в районах с температурой наружного воздуха 25°С и выше (расчетные параметры А) следует предусматривать (по расчету):

а) применение для оболочек материалов светлых тонов с коэффициентом отражения 0,4 и выше;

б) адиабатическое увлажнение приточного воздуха;

в) орошение наружной поверхности оболочки водой.

Для этих целей может применяться вода не питьевого качества.

3.35. По надежности электроснабжения от сетей энергосистем электроприемники систем подачи воздуха в оболочку следует относить ко второй категории. Для аварийного электроснабжения систем подачи воздуха следует предусматривать дизель-генераторы и другие подобные установки.

3.36. Оборудование систем подачи воздуха в оболочку (вентиляторы, электродвигатели, калориферы, фильтры и др.) следует устанавливать в зданиях машинных отделений.

При подогреве воздуха в электрических, паровых или водяных воздухонагревателях оборудование систем подачи воздуха допускается размещать внутри оболочки.

Здания машинных отделений с воздухонагревателями, работающими на жидком и газообразном топливе, должны располагаться на расстоянии 5 м от оболочки.

В этих зданиях допускается установка резервного расходного бака жидкого топлива емкостью не более 0,1 м3.

Расстояние от расходного склада жидкого топлива до оболочки при открытом наземном хранении его должно быть не менее 20 м и подземном хранении - не менее 10 м.

3.37. При подогреве воздуха в воздухонагревателях, работающих на жидком или газообразном топливе, на воздуховодах, подающих воздух в оболочку, в местах выхода из зданий машинного отделения следует предусматривать в проектах установку автоматических огнезадерживающих клапанов.

Воздухонагреватели, работающие на газообразном топливе, должны быть оборудованы средствами автоматического регулирования и безопасности.

3.38. Для подогрева воздуха, подаваемого в спортивные сооружения, должны применяться электрические, паровые или водяные воздухонагреватели.

3.39. При проектировании следует предусматривать необходимые средства автоматизации (контроля, автоматического регулирования, защиты оборудования, блокировки, управления и диспетчеризаций) систем подачи воздуха в оболочку, руководствуясь главой СНиП по проектированию отопления, вентиляции и кондиционирования воздуха.

В проекте должно быть предусмотрено автоматическое включение резервных установок подачи воздуха, а также переключение систем подачи воздуха на аварийное электроснабжение при отключении основного источника электроснабжения.

4. МОНТАЖ

4.1. Монтаж конструкций ВПС следует производить по утвержденному проекту производства работ, используя заводскую эксплуатационную документацию.

4.2. Руководство монтажными работами должно осуществляться лицами, имеющими право на производство этих работ.

4.3. Монтаж конструкций ВПС разрешается вести при температуре не ниже минус 25°С и скорости ветра на уровне земли не более 5 м/с.

4.4. Необходимые работы по подготовке конструкций для монтажа (устройство водоотвода, подъездных путей, подводка энергетических сетей, подготовка и планировка монтажной площадки) должны выполняться в соответствии с требованиями главы СНиП по организации строительства до начала монтажа.

4.5. К производству монтажных работ следует приступать после готовности фундаментов и их приемки.

4.6. Разбивочные оси и реперы должны располагаться в соответствии с требованиями главы СНиП по геодезическим работам в строительстве.

4.7. Отклонения фактических размеров оснований и фундаментов ВПС, анкерных болтов от проектных не должны превышать величин, приведенных в табл. 3.

Таблица 3

Наименование

Допускаемое отклонение

Отклонение отметки поверхности фундамента или винтовой сваи

 

по высоте

±5 мм

по уклону

1/1000

Смещение анкерных болтов в плане

5 мм

Отклонение отметки верхнего торца анкерного болта от проектной

+20; -0 мм

Отклонение длины нарезки анкерного болта

+30; -0 мм

Отклонение расстояний между осями основания оболочки

+50; -30 мм

Отклонение размеров диагоналей основания оболочки

+80; -50 мм

Отклонение между осями оснований шлюза

±5 мм

Отклонение размеров диагоналей основания шлюза

±8 мм

4.8. Оболочка ВПС, тент шлюза, воздуховоды должны храниться в таре завода-изготовителя в складских помещениях или под навесом на подкладках на высоте от уровня земли не менее 0,2 м.

4.9. Оборудование машинного отделения должно храниться в соответствии с требованиями паспортов на указанное оборудование.

4.10. Оболочку ВПС, тент шлюза и воздуховоды при хранении необходимо защищать от воздействия прямых солнечных лучей, химически активных веществ - угля, кислоты, щелочей и их растворов - и складировать на расстоянии не менее 1 м от отопительных приборов.

4.11. Перемещение тканевой части оболочки подъемно-транспортными механизмами следует осуществлять с помощью мягких стропов, изготовленных и проверенных на заводе - изготовителе оболочки ВПС.

4.12. Монтаж ВПС необходимо выполнять в следующей последовательности:

а) устройство и монтаж элементов опорного контура;

б) монтаж шлюзов и дверей;

в) монтаж машинного отделения;

г) монтаж систем энергообеспечения;

д) монтаж оболочки;

е) монтаж воздуховодов;

ж) подъем оболочки.

Операции, указанные в пунктах «в» - «е», допускается вести параллельно.

4.13. На всех стадиях монтажа металлоконструкций ВПС необходимо обеспечивать устойчивость и неизменяемость смонтированных конструкций.

4.14. Устойчивость конструкций в процессе монтажа должна обеспечиваться путем соблюдения определенной проектом последовательности монтажа элементов конструкций, установкой постоянных или временных связей, предусмотренных проектом производства работ.

4.15. Инструментальная проверка правильности установки конструкций, а также их окончательная выверка и закрепление должны производиться в процессе монтажа.

4.16. При передаче узлов и агрегатов машинного отделения в монтаж производится их расконсервация, внешний осмотр и проверка в соответствии с главой СНиП по производству и приемке работ по монтажу технологического оборудования.

4.17. Оборудование машинного отделения монтируется в соответствии с требованиями технических паспортов.

4.18. Машинное отделение блочно-контейнерного типа собирается из отдельных блоков полной заводской готовности в соответствии с эксплуатационной документацией завода-изготовителя.

4.19. Монтаж систем энергоснабжения должен выполняться в соответствии с Правилами устройства электроустановок.

4.20. Монтаж оболочки ВПС выполняется в следующей последовательности:

раскладывают тканевые части оболочки по монтажной площадке;

соединяют тканевые части между собой монтажными швами и с тентом шлюза;

крепят оболочку к опорному контуру.

4.21. Раскладка тканевых частей оболочки на монтажной площадке должна выполняться в соответствии с заводской эксплуатационной документацией.

4.22. На территории площадки, на которой производится раскладка тканевых частей оболочки, не должно быть острых и режущих предметов.

4.23. Испытания ВПС необходимо проводить в соответствии с проектом производства работ.

4.24. Подъем оболочки и испытание ВПС осуществляется в два этапа. Первый этап - проверка работоспособности оборудования машинного отделения (проверяется правильность подключения оборудования, правильность вращения вентиляторов, наличие питания на пультах и т.д.). Второй этап - подъем оболочки и испытание ее на максимальное давление воздуха, предусмотренное проектом.

При проведении испытаний подъем и снижение давления должны производиться ступенями по 15 кгс/м2 с выдержкой на каждой ступени не менее 15 мин. В процессе изменения давления производится осмотр мест крепления оболочки к фундаменту и узлов крепления воздуховодов и проверяются величины утечки воздуха.

4.25. При монтаже ВПС следует соблюдать правила техники безопасности, предусмотренные главой СНиП по технике безопасности в строительстве, а также «Правилами пожарной безопасности при производстве строительных и монтажных работ», утвержденными ГУПО МВД СССР 26 марта 1968 г.

5. ЭКСПЛУАТАЦИЯ

5.1. При эксплуатации ВПС должно поддерживаться давление воздуха в оболочке в соответствии с проектом в зависимости от климатических условий и метеорологических условий в помещении.

5.2. При достижении высоты снегового покрова на поверхности оболочки более 10 см снег необходимо удалять.

5.3. Размещение оборудования или складирование материалов на расстоянии ближе 1 м от внутренней поверхности оболочки не допускается.

5.4. В месте примыкания воздуховодов к оболочке материалы и оборудование допускается располагать на расстоянии 3 м от них и на расстоянии 2 м от поверхности оболочки.

5.5. При эксплуатации ВПС необходимо проводить периодические осмотры: монтажных швов; ворот, дверей шлюзов; состояния снегового покрова на оболочке, шлюзе, по контуру оболочки и машинного отделения. Кроме того, необходимо проводить осмотр и проверку работы дизель-генератора, основных и резервных систем подачи воздуха и автоматики.

5.6. Проверка и ремонт оборудования машинного отделения производятся в соответствии с эксплуатационной документацией на установленные агрегаты.

5.7. При наличии проколов, порезов, срывов резинового слоя оболочки должен производиться ремонт путем наклейки и прошивки на эти участки кусков ткани.

ПРИЛОЖЕНИЕ 1

МАТЕРИАЛЫ ДЛЯ ОБОЛОЧЕК ВПС И ИХ ОСНОВНЫЕ ХАРАКТЕРИСТИКИ

Таблица 4

Шифр материала

  технических условий

Артикул ткани

Вид покрытия

Цвет покрытия

Минимальная

температура эксплуатации ВПС, °С (средняя температура наружного воздуха наиболее холодных суток

Толщина, мм

Масса 1 м2, кг

 

наружного

внутреннего

 

51-019

ТУ 38-5-3-86-9

Капрон параллельно дублированный 56026

Натрий-бутадиеновый каучук с полиизобутиленом

Темно-серый

Светло-серый

-50

0,7

0,65

 

У-92

ТУ 105659-74

Капрон параллельно дублированный 56026

Натрий-бутадиеновый каучук с полиизобутиленом

Светло-серый

Светло-серый

-50

0,7

0,70

 

У-93

ТУ 105659-74

Капрон 56026

Натрий-бутадиеновый каучук с полиизобутиленом

Светло-серый

Светло-серый

-50

0,5

0,43

 

23-М

МРТУ 38-5-60-42-65

Капрон параллельно дублированный 56026

Наирит

Темно-серый

Светло-коричневый

-40

0,7

0,55

A-01

ТР 51-50080

Капрон ТК-80-РО

Наирит

Светло-серый

Светло-коричневый

-35

1,0

0,80

Тентовый материал

ТУ 17-21-86-76

Лавсан ЧЛ-10-90

Поливинилхлорид

Синий

Синий

-40

0,7

0,70

ПРИЛОЖЕНИЕ 2

НОРМАТИВНЫЕ СОПРОТИВЛЕНИЯ МАТЕРИАЛОВ ОБОЛОЧЕК

Нормативные сопротивления материалов оболочек Rн в табл. 5 определены по средним величинам прочности при одноосном растяжении полоски материала шириной 5 см.

Таблица 5

Шифр материала

Нормативное сопротивление Rн, кгс/м

по основе

по утку

51-019

8400

4200

У-92

8400

4200

У-93

4600

3300

23-М

8400

4200

A-01

8000

9000

Тентовый материал

6000

5000

Величины расчетных сопротивлений материала в данной Инструкции определены по формуле

где  - коэффициент однородности, равный: 0,8 по основе материала и 0,7 - по утку;

 - коэффициент длительной прочности, равный 0,7;

 - коэффициент старения, равный 0,5.




Яндекс цитирования



   Copyright © 2007-2026,  www.tehlit.ru.

[ ѓосты, стандарты, нормативы, инструкции, правила, строительные нормы ]