//
ТехЛит.ру
- крупнейшая бесплатная электронная интернет библиотека для "технически умных" людей.
WWW.TEHLIT.RU - ТЕХНИЧЕСКАЯ ЛИТЕРАТУРА

:: Алготрейдинг::


АЛГОТРЕЙДИНГ
шаг за шагом
с нуля по урокам!

Торговые роботы на PYTHON, BackTrader,
Pandas, Pine Script для TradingView. Связка с брокерами, телеграм и легкими приложениями.


Всесоюзный ордена Трудового Красного Знамени
комплексный научно-исследовательский и конструкторско-технологический институт
водоснабжения, канализации, гидротехнических сооружений и инженерной гидрогеологии
(ВНИИ ВОДГЕО) Госстроя СССР

СПРАВОЧНОЕ ПОСОБИЕ к СНиП

Серия основана в 1989 году

ПРОГНОЗЫ
ПОДТОПЛЕНИЯ И РАСЧЕТ ДРЕНАЖНЫХ СИСТЕМ
НА ЗАСТРАИВАЕМЫХ
И ЗАСТРОЕННЫХ ТЕРРИТОРИЯХ

Москва
Стройиздат
1991

Рекомендовано к изданию решением секции инженерной геологии Научно-технического совета ВНИИ ВОДГЕО Госстроя СССР.

Разработано к СНиП 2.06.15-85 «Инженерная защита территорий от затопления и подтопления». Рассмотрены способы предупреждения подтопления застраиваемых территорий и мероприятия по борьбе с ними. Освещены методы фильтрационных и гидравлических расчетов горизонтальных и вертикальных гравитационных, вакуумных и вентиляционных дренажей, а также пневмонагнетательных способов осушения грунтов.

Для инженерно-технических работников изыскательских, проектно-изыскательских и научно-исследовательских организаций.

ПРЕДИСЛОВИЕ

Настоящее Пособие разработано к СНиП 2.06.15-85 «Инженерная защита территорий от затопления и подтопления».

В Пособии излагаются основные положения и методы расчета прогноза подтопления грунтовыми водами застраиваемых и застроенных территорий, необходимого для проектирования предупредительных и защитных мероприятий. Дается методика определения величины дополнительного инфильтрационного питания. Приводится состав мероприятий по предупреждению подтопления территорий и борьбе с ним на подтопленных участках, характеризуются их конструктивные особенности. Специально рассматриваются вопросы гидрогеологических (фильтрационных) и гидравлических расчетов применяемых в настоящее время типов дренажных сооружений, позволяющие выбрать наиболее рациональный тип дренажа.

Все зависимости, рекомендуемые для расчетов, представлены в виде, удобном для практического использования, специальные функции, входящие в формулы, табулированы и даны в виде таблиц или графиков.

Для облегчения пользования приведенными в Пособии методами и расчетными зависимостями в каждом разделе даны соответствующие примеры расчетов.

При проведении расчетов прогноза подтопления территорий и эффективности защитных мероприятий на конечные результаты оказывают большое влияние достоверность исходных фильтрационных параметров и величина дополнительного питания грунтовых вод. Эти параметры должны быть определены по результатам специальных полевых гидрогеологических работ. Подтопление развивается, главным образом, в слабопроницаемых грунтах, для определения свойств которых традиционные методы проведения опытно-фильтрационных работ мало пригодны. Поэтому следует отдавать предпочтение нетрадиционным методам, к числу которых относятся экспресс-методы. Экспресс-методы (экспресс-откачки, наливы и нагнетание воздуха в пласт через скважины) позволяют сократить сроки проведения опытно-фильтрационных работ и повысить точность определения параметров, поэтому они должны найти широкое применение в практике инженерных изысканий. С этой целью в ближайшее время должны быть разработаны специальные пособия и рекомендации, посвященные экспресс-методам определения фильтрационных параметров.

Данное Пособие рассчитано на специалистов, занимающихся вопросами проектирования мероприятий по предотвращению и борьбе с подтоплением территорий.

Настоящее Пособие разработано ВНИИ ВОДГЕО Госстроя СССР: д-р техн. наук А. Ж. Муфтахов - разд. 1 - 6, инженеры И. В. Коринченко - разд. 3, 4, 6, Н. М. Григорьева - разд. 6, В. И. Сологаев - разд. 2 - 5, канд. техн. наук А. П. Шевчик - разд. 3 - 6, прил. 1 - 17.

1. ПРИЧИНЫ И ФАКТОРЫ ПОДТОПЛЕНИЯ ТЕРРИТОРИЙ

ОБЩИЕ ПОЛОЖЕНИЯ

1.1. Строительное освоение территорий и эксплуатация зданий, сооружений и других объектов, расположенных на слабопроницаемых грунтах, практически повсеместно сопровождаются накоплением влаги в толще грунтов и подъемом уровня грунтовых вод даже в тех случаях, когда до начала освоения территории грунтовые воды вообще отсутствовали. Такой процесс называется подтоплением (или техногенным подтоплением). Он возникает и развивается вследствие нарушения сложившегося природного динамического равновесия в водном балансе территории. Эти нарушения возникают в результате практической деятельности человека и на застраиваемых территориях обычно развиваются в две стадии - при строительстве и эксплуатации [37, 43].

Подтопление развивается также вследствие подпора грунтовых вод при создании водохранилищ и сельскохозяйственном освоении территории с организацией поливного земледелия.

Подтопление застроенных территорий вследствие подпора при регулировании рек и орошения прилегающих земель к настоящему времени изучено достаточно хорошо, разработаны методы его прогнозирования, предупреждения и предотвращения, по этим вопросам опубликовано большое количество специальной литературы нормативного и методического характера [2, 9, 22, 23].

В то же время техногенное подтопление получило широкое развитие лишь в последние годы, изучение его и разработка мероприятий по предотвращению далеко не завершены, весьма ограничена специальная литература, посвященная этому вопросу. Поэтому в данной работе основное внимание уделено прогнозу и предотвращению техногенного подтопления застраиваемых и застроенных территорий.

В дальнейшем с учетом укоренившейся в практике проектирования, строительства и эксплуатации терминологии процесс техногенного подтопления территорий авторами называется просто подтоплением.

Следует оговорить, что техногенное подтопление - следствие нормальной хозяйственной деятельности человека. В то же время оно чаще всего интенсифицируется там, где имеются недостатки в проектировании, строительстве и эксплуатации сооружений. Поэтому своевременный прогноз подтопления осваиваемой территории и сооружение специальной системы борьбы с ним, т.е. предупредительных и защитных мероприятий, являются необходимым условием нормальной хозяйственной деятельности. Наиболее актуальными вопросы прогноза и защиты от подтопления становятся на тех участках, где природные условия благоприятствуют развитию подтопления. Такими являются участки, сложенные слабопроницаемыми и набухающими при увлажнении грунтами, слабо развитой эрозионной сетью, неглубоким залеганием водоупорных слоев с неровной кровлей, затрудненным поверхностным и особенно подземным стоком. Поэтому вопросам изучения природных (геоморфологических, геолого-гидрогеологических, инженерно-геологических) условий подлежащих освоению территорий в процессе инженерных изысканий должно уделяться большое внимание.

ПРИЧИНЫ ПОДТОПЛЕНИЯ ТЕРРИТОРИЙ

1.2. Основными причинами подтопления на стадии строительного освоения застраиваемых территорий являются изменение условий поверхностного стока при осуществлении вертикальной планировки (в том числе засыпки естественных дрен - оврагов и водотоков, срезка растительного покрова и др.), а также значительный разрыв во времени между земляными и строительными работами нулевого цикла, приводящий к накоплению поверхностных вод в строительных котлованах, траншеях и выемках.

Основными причинами подтопления на стадии эксплуатации застроенных территорий (промышленных предприятий, городов, поселков и других объектов) являются: инфильтрация утечек технологических вод, промышленных и хозяйственно-бытовых стоков, а также поливы зеленых насаждений, изменение тепло-влажностного режима под зданиями, сооружениями и покрытиями, влияние барражного эффекта (задержка поверхностных и подземных вод зданиями и сооружениями).

Интенсивность развития процесса подтопления и особенности его проявления зависят от природных условий, характера технологического процесса предприятия, плотности застройки территории, параметров систем водонесущих коммуникаций (расход, протяженность, плотность коммуникаций и водосодержащих емкостей и др.).

ИСТОЧНИКИ И ФАКТОРЫ ПОДТОПЛЕНИЯ

1.3. Источники подтопления территорий промышленных предприятий, городов и населенных пунктов разделяются на естественные и искусственные [42, 43].

К естественным источникам относятся атмосферные осадки (дождевые и талые воды), грунтовые воды, сток поверхностных вод с окружающих территорий, вода в парообразной форме в грунтах зоны аэрации.

К искусственным источникам относятся воды, накапливающиеся в различных искусственных понижениях рельефа, котлованах, траншеях, грунтах обратной засыпки, различные резервуары, отстойники, накопители жидких стоков и шламонакопители, гидрозолоотвалы, очистные сооружения, объекты с мокрым технологическим процессом (цехи мокрых производств, ТЭЦ и др.), водонесущие коммуникации всех видов и др.

Процесс подтопления развивается в результате воздействия различных факторов или их комбинаций. Факторы подтопления подразделяются на активные и пассивные.

Активные факторы непосредственно вызывают обводнение грунтов и в свою очередь подразделяются на естественные и искусственные.

К естественным активным факторам относят процессы конденсации и концентрации влаги под сооружениями и покрытиями, а также в грунтах обратных засыпок, инфильтрация талых и ливневых вод.

Искусственные активные факторы включают инфильтрацию поверхностных вод из искусственных выработок, а также обвалованных или перегороженных насыпями территорий, инфильтрацию из водонесущих коммуникаций, водопотребляющих цехов предприятий, накопителей, отстойников, водовмещающих емкостей, а также подпор грунтовых вод вследствие устройства водохранилищ, прудов, отстойников, гидротехнических сооружений, инфильтрацию поливных вод.

Пассивные факторы подразделяются на естественные и искусственные.

Естественные факторы объединяют природные, климатические, геоморфологические, геолого-литологические, гидрографические и гидрогеологические условия территории.

К искусственным факторам относят нарушение поверхностного стока из-за отсутствия вертикальной планировки или изменения естественного рельефа.

2. ПРОГНОЗЫ ПОДТОПЛЕНИЯ ЗАСТРАИВАЕМЫХ ТЕРРИТОРИЙ

ИСХОДНЫЕ ПРЕДПОСЫЛКИ

2.1. Повышение уровня грунтовых вод на застроенных и застраиваемых территориях происходит под влиянием совокупности различных причин и факторов, совместный учет которых при разработке методов прогноза подтопления практически невозможен. В то же время детальный анализ динамики техногенного подтопления показывает, что суммарное воздействие совокупности факторов может быть учтено, если считать, что на осваиваемых территориях или на их отдельных участках грунтовые воды получают сверху дополнительное питание определенной интенсивности. Это дополнительное питание обуславливается нарушением естественных условий стока и испарения атмосферных осадков, инфильтрацией в грунты всевозможных водопотерь - из водонесущих и водоотводящих коммуникаций, различных накопителей, технологической воды и т.д. Подтопление территорий происходит также за счет растекания куполов грунтовых вод, сформировавшихся вследствие кратковременных весьма интенсивных утечек и проливов воды аварийного характера.

Интенсивность, плановая конфигурация очагов подтопления (источников дополнительной инфильтрации), продолжительность и характер поступления дополнительного питания весьма различны. При этом в силу чрезвычайно большого разнообразия природных условий и литологического строения территории в одних случаях происходит изменение уровенного режима грунтовых вод, в других - формирование техногенной верховодки или техногенного водоносного горизонта. При этом наряду с изменением уровенного режима грунтовых вод происходят изменение химического состава подземных вод, влажности и поглощенного комплекса пород зоны аэрации, а также снижение несущей способности грунтов.

2.2. В соответствии с изложенным прогноз техногенного подтопления территорий включает в себя количественную оценку следующих гидродинамических процессов:

образования техногенной верховодки на водонепроницаемых линзах в пределах зоны аэрации. Область распространения этой верховодки в плане ограничена и полностью определяется размерами водонепроницаемых линз;

формирования техногенного водоносного горизонта со свободной поверхностью на региональном водоупоре в первоначально сухих водопроницаемых грунтах;

изменения уровенного режима существующего в естественных (ненарушенных) условиях горизонта грунтовых вод вследствие дополнительной площадной инфильтрации, сосредоточенных утечек из водонесущих коммуникаций или растекания сформировавшихся к моменту прогноза куполов грунтовых вод;

изменения химического состава подземных вод и грунтов под влиянием инфильтрующихся вод;

изменения влажностного режима горных пород зоны аэрации вследствие нарушения ее температурного режима;

изменения физико-механических свойств грунтов при их увлажнении и обводнении.

Исследование перечисленных процессов может быть осуществлено тремя методами - методом аналогии, аналитическим и моделированием на аналоговых или цифровых вычислительных машинах, а также экспериментально.

2.3. Метод аналогий основан на накоплении и анализе фактического гидрогеологического материала по подтоплению конкретных застроенных территорий и последующем переносе этих данных на прогнозируемые объекты. Для возможности такого переноса геолого-гидрогеологические условия и характер техногенного воздействия на грунтовые воды на обеих территориях должны быть одинаковы или близки друг к другу. Данный метод обычно применяется в тех случаях, когда полностью исключена возможность составления прогнозов подтопления территорий на основе более точных методов. Однако в некоторых случаях точные прогнозы и не требуются, достаточна лишь приближенная оценка возможности подтопления территории с целью постановки специальных гидрогеологических исследований. В этих условиях метод аналогий оказывается вполне удовлетворительным.

2.4. Метод моделирования основан на решении дифференциальных уравнений фильтрации на застраиваемых и застроенных территориях с использованием АВМ и ЭВМ. Этому методу в принципе под силу решение сложнейших гидрогеологических задач на крупных объектах исследований, например при многослойных пластах и сложном очертании границ пласта [10, 18, 39].

Из недостатков этого метода в первую очередь следует отметить его неуниверсальность, когда полученное решение может подходить только для конкретного объекта, а для решения повой задачи требуется построение иной модели. Кроме того при моделировании на точность получаемых результатов влияют побочные эффекты модели, такие как шаг сетки, на которую разбивается область фильтрации при моделировании на сеточных моделях, а при моделировании на сплошных моделях - дополнительные погрешности вносит неоднородность электропроводной бумаги и др. Эти обстоятельства повышают требования к исходной информации о фильтрационных и емкостных свойствах водоносных пластов, условиях их питания, дренирования и т.д. Однако в подавляющем большинстве случаев исходная гидрогеологическая информация, полученная в процессе инженерных изысканий, совершенно недостаточна, и поэтому наложение неточностей информации изысканий на погрешности от побочных эффектов модели зачастую обесценивает применение метода моделирования. Необходимо отметить также, что быстрому получению результатов решения задачи при моделировании предшествует довольно длительный этап сборки модели, отладки программы на ЭВМ и т.п.

2.5. Аналитические методы прогноза подтопления не уступают, а сейчас зачастую и превосходят в точности метод моделирования. Точность аналитических методов зависит уже только от достоверности исходной гидрогеологической информации и точности решения дифференциальных уравнений фильтрации. Другим преимуществом аналитических методов является их универсальность, когда, располагая набором решений для типовых гидрогеологических схем, можно решать широкий круг задач.

Отмеченные обстоятельства позволяют сделать следующий вывод - построением простейшей модели области фильтрации и последующей ее реализации на АВМ и ЭВМ более достоверные результаты другим (аналитическим) методом получить нельзя. Поэтому основным методом прогноза подтопления застроенных и застраиваемых территорий следует считать аналитический, хотя для получения более дифференциальных по площади данных по прогнозу уровней может оказаться необходимым применение метода моделирования. Следует также отметить, что по методам прогноза подтопления территорий на АВМ и ЭВМ опубликовано значительное число работ [10, 18, 34, 39], особенно в последние годы, это освобождает авторов от необходимости детального их рассмотрения.

Вопросы изменения химического состава подземных вод и влажностного режима пород зоны аэрации при подтоплении в настоящее время практически не изучены, поэтому в данной работе они не рассматриваются. Не затрагиваются также вопросы изменения физико-механических свойств грунтов при подтоплении, поскольку они выходят за рамки данной работы.

СХЕМАТИЗАЦИЯ ПРИРОДНЫХ УСЛОВИЙ

2.6. Процессы подтопления развиваются в различных природных условиях, поэтому их схематизация для целей прогноза является необходимой. Методы прогноза подтопления застроенных или застраиваемых территорий основаны на том, что в их пределах подземные воды получают сверху дополнительное инфильтрационное питание, которое может быть распределено по территории равномерно или неравномерно. В соответствии с этим схематизации подлежат: геометрия пласта или отдельных его слоев в плане и разрезе, фильтрационные свойства грунтов, дополнительное инфильтрационное питание, характеристики потоков (направление, мощность, уклоны и т.д.), а также граничные и начальные условия (37, 38, 43, 53).

Основой для схематизации природных условий являются данные инженерно-геологических и гидрогеологических изысканий, а также опыт строительства и эксплуатации, если таковые имеются.

Границы области фильтрации подразделяются на внешние и внутренние. Внешние границы ограничивают область фильтрации в плане, сюда относятся реки, озера, водохранилища, овраги, непроницаемые плоскости, обусловленные сбросами, разломами, надвигами, примыканиями аллювиальных отложений к коренному берегу и т.д. Внутренние границы разделяют зоны с различными фильтрационными свойствами в плане и разрезе.

2.7. С точки зрения расположения внешних границ и их влияния на формирование фильтрационных потоков под влиянием дополнительного инфильтрационного питания выделяются пласты неограниченные, полуограниченные и ограниченные в плане.

Неограниченными в плане считаются пласты, когда положение их границ не оказывает влияния на динамику уровней при поступлении дополнительной инфильтрации. Практически неограниченными следует считать пласты в том случае, когда изменение уровней на его границах к концу расчетного периода прогноза не превышает 0,05Dhм, где Dhм - максимальный подъем под влиянием дополнительной инфильтрации за этот же период.

Если влиянием одной из границ пласта при прогнозных расчетах пренебрегать нельзя, то пласты считаются полуограниченными. В большинстве случаев на границе пласта выполняются условия первого рода, т.е. известен напор подземных вод, но нередко встречаются и условия второго рода, когда граница водонепроницаема или на ней известен расход потока. Очень часто встречаются водоносные пласты полосообразной в плане формы. На границах пласта могут быть условия первого или второго рода. Наиболее характерны полосообразные пласты в долинах рек и междуречных массивах. Иногда встречаются пласты-квадраты и пласты с близким к круговому контуром (непроницаемым или постоянного напора).

К внешним границам пласта относятся также свободная поверхность грунтовых вод, на которую поступает дополнительное инфильтрационное питание, и подошва водоносного пласта, которая может быть непроницаемой или через нее происходит водообмен с нижележащими пластами.

2.8. С точки зрения внутренних границ пласта выделяются фильтрационно-однородные и фильтрационно-неоднородные пласты, причем, как те, так и другие могут обладать анизотропией фильтрационных свойств. При строгом подходе все водоносные породы с точки зрения их проницаемости являются неоднородными, причем эта неоднородность носит вероятностный характер. По мнению многих специалистов, в расчетных схемах за однослойный принимается пласт, в котором проницаемости отдельных участков (или пропластков) отличаются друг от друга не более чем в 10 раз.

Однако подобное ограничение является очень сильным и не имеет теоретического обоснования. Сопоставительные расчеты по зависимостям для однослойных и двухслойных пластов, выполненные в [27] показали, что с погрешностью в конечных результатах не более 5 % (по уровням) неоднородные пласты можно приводить к однослойным при соотношении проницаемости отдельных слоев не более 25. С учетом этого соотношения величина расчетного коэффициента фильтрации определяется по формулам:

в неоднородных в плане пластах [50]

;

в слоистых пластах при фильтрации подземных вод параллельно слоям

;

в слоистых пластах при фильтрации подземных вод нормально к слоям

.

Здесь k1, k2, …, kn - коэффициенты фильтрации отдельных участков или слоев, m1, m2, …, mn - мощности слоев, F1, F2, …, Fn - площади отдельных участков.

Многочисленный натурный материал показывает, что для застроенных и застраиваемых территорий наряду с однослойным характерно двухслойное строение водоносного пласта, когда менее проницаемый слой подстилается более проницаемым.

Иногда встречаются слоистые пласты, разделенные слабопроницаемыми прослоями, через которые осуществляется водообмен верхних горизонтов с нижними. Однако, как правило, интенсивность этого водообмена невелика и его влиянием на динамику уровней при прогнозе подтопления территорий можно пренебречь. Таким образом, при прогнозах подтопления застроенных и застраиваемых территорий в качестве расчетных принимаются:

однородный пласт неограниченной мощности;

двухслойный    »     при неограниченной мощности нижнего слоя;

однослойный   »     конечной мощности;

двухслойный    »            »                 »      .

Границы раздела между отдельными слоями или литологическими разностями пород при схематизации заменяются горизонтальными плоскостями, проходящими через средние для каждой границы отметки. Замена наклонных поверхностей раздела или водоупоров горизонтальными плоскостями допустима при их уклонах на рассматриваемой территории не более 0,01.

2.9. Дополнительное инфильтрационное питание грунтовых вод, возникающее на застроенных и застраиваемых территориях под влиянием указанных выше причин, характеризуется его модулем w, м/сут, представляющим собой расход, поступающий на единицу площади свободной поверхности. Величина w может быть постоянной или переменной во времени, она является дополнительным над естественным и вызывает соответственно дополнительный подъем уровня грунтовых вод, методы определения ее приведены в п. 2.4.

Дополнительное питание поступает на различных по конфигурации площадках, однако для расчетов выделяются площадки полосообразной, круглой и прямоугольной в плане форм, комбинируя которые можно получить область любой плановой конфигурации.

Очень часто оно обусловлено утечками из коммуникаций, среди которых следует различать линейные и кольцевые (контурные) очаги его поступления. Для количественной оценки питания в этих случаях используется расход, теряемый из коммуникаций на единицу их длины q, м2/сут.

Расчетные зависимости для прямоугольных в плане очагов подтопления очень сложны, поэтому при аналитических методах прогноза подтопления территорий широкое распространение получил метод приведения прямоугольных и более сложных в плане очагов подтопления и контуров утечек к эквивалентным круглым или полосообразным.

Если длина прямоугольного очага подтопления 2l превышает ее ширину 2L более чем в 5 раз, то прямоугольный очаг рассматривается как полосообразный с шириной 2L. Если l/L < 5, то прямоугольник приводится к круглому с приведенным радиусом rпр - по выражению [1, 4, 16]:

rпр = b (l + L) /2.                                                           (1)

Значения коэффициента b в зависимости от отношения L/l приведены ниже:

L/l

0,2

0,4

0,6

0,8

1

b

1,12

1,16

1,18

1,18

1,18

РАСЧЕТЫ ПРОГНОЗА ПОДТОПЛЕНИЯ ТЕРРИТОРИЙ

2.10. Прогнозы подтопления территорий включают в себя расчеты образования верховодки на непроницаемых линзах в пределах зоны аэрации, формирования новых техногенных водоносных горизонтов и повышения уровней грунтовых вод в существующих. Ниже эти вопросы рассматриваются в указанной последовательности. Отметим, что в настоящей работе лишь в весьма схематической форме затрагиваются вопросы прогноза подтопления территорий вследствие подпора грунтовых вод при строительстве гидротехнических сооружений и орошения сельхозугодий.

Образование верховодки на водонепроницаемых линзах в зоне аэрации

2.11. В пределах зоны аэрации, как правило, весьма часто встречаются линзы водоупорных пород, на которых происходит скопление инфильтрующейся воды (рис. 1), с образованием верховодки. При периодическом поступлении инфильтрационного питания формирующаяся на таких линзах верховодка носит временный характер, а при постоянной инфильтрации образуется техногенная линза грунтовых вод (техногенная верховодка). Плановые размеры техногенной верховодки определяются контурами линзы водоупорных пород, максимальная высота слоя воды зависит от проницаемости пород и интенсивности инфильтрации.

2.12. В случае вытянутых в плане водоупорных линз (когда их длина более чем в 5 раз превышает ширину) фильтрацию воды в плане можно считать плоской. Процесс формирования верховодки (рис. 1, а) описывается формулой

                                            (2)

где

 = x/L; f0 = at/L2;    hc = ;

mn - корни уравнения mn tg mn = Bi.

Ряд в формуле (2) сходится очень быстро и при расчетах можно ограничиться двумя-тремя членами.

Предельное (стационарное) положение уровня воды техногенной верховодки находится по зависимости

                                                  (3)

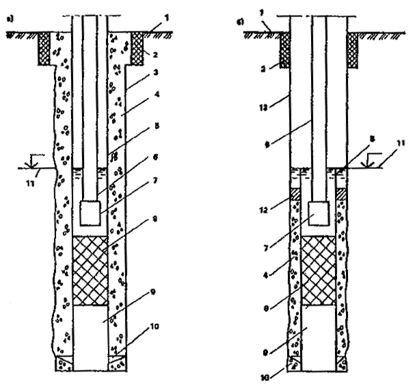
Рис. 1. Схемы к формированию техногенной верховодки в зоне аэрации на непроницаемых линзах удлиненной (а) и округлой (б) в плане формы.

Для облегчения расчетов по формуле (2) в прил. 1 и 2 приведены значения An и mn заимствованные из [20].

2.13. Прямоугольные или округлые в плане водоупорные линзы при расчетах необходимо заменить круглыми с приведенным радиусом R (рис. 1, б), метод определения которого указан выше. Для расчета процесса формирования верховодки на круглых в плане водоупорных линзах используется формула

                                         (4)

Здесь  J0 (x), J1 (x) - функции Бесселя первого рода; nn - корни уравнения

nn J1 (nn) = Bi J0 (nn).

Первые шесть корней этого уравнения приведены в прил. 3. Ряд в формуле (4) сходится очень быстро и при расчетах можно ограничиться двумя-тремя членами.

Предельное (стационарное) положение техногенной верховодки рассчитывается по формуле

                                                  (5)

Формулы (2) и (6) показывают, что процесс формирования верховодки очень быстро стабилизируется. Можно считать, что продолжительность нестационарной фазы формирования верховодки не превышает величины t* £ 4nL2/m21khc для удлиненной линзы и t* £ 4nR2/n21khc для круглой в плане линзы. В этих соотношениях m1 и n1 - первые корни соответствующих характеристических уравнений. Это дает основание для того, чтобы не проводить исследование нестационарной фазы.

Формирование техногенного водоносного горизонта в первоначально сухих грунтах

2.14. Техногенные водоносные горизонты формируются на первом от поверхности земли региональном водоупоре (рис. 2) под влиянием дополнительного инфильтрационного питания. При этом на водоупоре происходит постепенное накопление воды с образованием увеличивающегося во времени купола грунтовых вод в зоне действия дополнительной инфильтрации. Растекание этого купола происходит по водоупору и замедляет процесс повышения уровней. Процесс формирования техногенного водоносного горизонта зависит от интенсивности, формы и плановых размеров источника дополнительной инфильтрации, в пластах неограниченных в плане размеров он всегда является нестационарным.

2.15. При поступлении дополнительной инфильтрации в пределах полосы шириной 2L (см. рис. 2, а) процесс формирования техногенного водоносного горизонта описывается формулами:

в зоне I ( | x | £ L)

                                                    (6)

в зоне II ( | x | > L)

                                             (7)

В этих формулах l (t) - подвижная граница растекания купола, она находится по формуле

Наибольший подъем уровня воды имеет место на оси полосы инфильтрации, он равен:

2.16. При поступлении дополнительной инфильтрации в пределах круглой площадки радиусом r0 (см. рис. 2, б) расчет положения уровней грунтовых вод ведется по зависимостям:

при r £ r0

                     (8)

Рис. 2. Схемы к формированию техногенного водоносного горизонта на региональном водоупоре в первоначально сухих грунтах при поступлении инфильтрации из источника полосообразной (а) и круглой (б) в плане формы

при r > r0

                              (9)

Определение подвижной границы растекания купола R (t) производится подбором из уравнения

Прогноз уровенного режима грунтовых вод при полосообразной дополнительной инфильтрации

2.17. При поступлении дополнительной полосообразной инфильтрации постоянной интенсивности в однородных и двухслойных пластах неограниченной и конечной мощности расчет подъема уровней грунтовых вод производится по формулам, приведенным в табл. 1. Для безграничных в плане водоносных пластов справедливы формулы (10) - (16), для полосообразных в плане водоносных пластов с постоянными напорами на границах - формулы (17) - (19), для пластов с разнородными границами, т.е. h = const при x = L и дh/дх = 0 при x = 0 - формулы (20) - (22) [37, 43].

Необходимо отметить следующее обстоятельство. В двухслойных пластах неограниченной мощности при k2 >> k1 нижний слой двухслойного пласта играет роль контура дренажа, поэтому в этом случае с большой степенью точности формулу можно записать в виде

Dh = whc/k1 при | x | £ L и Dh = 0 при | x | > L.

Эта формула справедлива при любой плановой конфигурации очага дополнительной инфильтрации, в том числе круговой.


Таблица 1

Строение пласта в разрезе

Расчетная формула

№ формулы

I. Водоносный пласт в плане - неограниченный

(10)

k2 >> k1

(11)

(12)

(13)

kz ¹ kx

(14)

s < 25

(15)

s > 25

(16)

II. Водоносный горизонт в плане - полосообразный с постоянными напорами на границах

(17)

(18)

-

(19)

III. Водоносный горизонт в плане - полосообразный с разнородными границами

(20)

 

 

(21)

s > 25

(22)

s > 25

-


Примечания: 1. F0 (a, b, c) =

2. Графики функций erf x, i2 erfc x, F1 - F4 приведены на рис. 3 - 7.

3. Значения функций F5 - F12 приведены в табл. 2 - 7.

4. Программа для расчета функции F0 на микрокалькуляторах «Электроника» типа Б-34, МК-54, МК-56 приведена в прил. 4.

Условные обозначения:

 = hc /L;  = M/L;  = x/L; ξ1,2 = 1 ± ; ξ3 =  - 1;

η1,2 = (x ± L1) /L; η3,4 = (x ± L2) /L; t = kt/ (nL); t1 = k1t/ (n1L);

tz = knp t/ (nL); tb = k1t/ [n1 (hc - M)]; f0 = at/L2; f0z = anpt/L2;

f0b = abt/L2; λi = ξi (2)

Рис. 3. График функций erfc x (1) и i2 erfc x (2)

Рис. 4. График функции

bn = (2n - 1) p/2

Рис. 5. График функции

Рис. 6. График функции

Рис. 7. График функции

Таблица 2

t

Значения функции F6 (h, t) =  exp (- npt) при h

0,1

0,2

0,3

0,4

0,5

0,6

0,7

0,8

0,9

0

0,069

0,094

0,102

0,101

0,093

0,08

0,063

0,043

0,022

0,05

0,05

0,076

0,086

0,086

0,081

0,07

0,055

0,038

0,019

0,1

0,038

0,062

0,072

0,074

0,07

0,061

0,049

0,034

0,017

0,25

0,019

0,033

0,042

0,046

0,041

0,04

0,033

0,023

0,012

0,5

0,007

0,014

0,018

0,021

0,021

0,019

0,016

0,011

0,006

0,75

0,003

0,006

0,007

0,009

0,01

0,009

0,008

0,005

0,003

1

0,001

0,003

0,004

0,004

0,004

0,004

0,004

0,003

0,001

2

0

0

0

0

0

0

0

0

0

Примечания: 1. F6 (h, 0) = F5 (h); F6 (- h, t) = - F6 (h, t).

2. При h > 1, F6 (h, t) = F (2 - h, t)

Таблица 3

f0

Значения функции

0,005

0,01

0,02

0,05

0,075

0,1

0,1

1

23,91

11,96

5,993

2,43

1,653

0,5

23,78

11,89

5,959

2,416

1,643

0,1

16,86

8,436

4,226

1,713

1,164

0,01

3,885

1,943

0,973

0,393

0,265

0,25

1

50,24

25,13

12,68

5,086

3,443

0,5

49,93

24,97

12,5

5,054

3,42

0,1

34,15

17,08

8,552

3,450

2,329

0,01

6,701

3,351

1,676

0,673

0,451

0,5

1

60,55

30,28

15,16

6,104

4,111

0,5

60,12

30,06

15,05

6,059

4,079

0,1

37,98

18,99

9,5

3,811

2,551

0,01

5,690

2,845

1,423

0,569

0,38

0,75

1

37,36

18,68

9,347

3,757

2,522

0,5

37,05

18,53

9,27

3,724

2,499

0,1

21,52

10,76

5,379

2,149

1,431

0,01

2,501

1,25

0,625

0,251

0,167

0,9

1

15,75

7,878

3,942

1,583

1,061

0,5

15,62

7,811

3,908

1,569

1,052

0,1

8,854

4,426

2,12

0,883

0,586

0,01

0,952

0,476

0,238

0,095

0,063

0,25

0,1

1

13,91

6,958

3,821

1,402

0,944

0,5

13,91

6,907

3,457

1,392

0,937

0,1

8,726

4,364

2,183

0,876

0,586

0,01

1,307

0,654

0,327

0,131

0,087

0,25

1

31,83

15,92

7,968

3,209

2,161

0,5

31,6

15,81

7,911

3,185

2,144

0,1

19,97

9,985

4,995

2,003

1,341

0,01

2,991

1,496

0,748

0,299

0,2

0,5

1

45,02

22,51

11,27

4,538

3,056

0,5

44,69

22,35

11,19

4,505

3,023

0,1

28,24

14,12

7,063

2,833

1,897

0,01

4,231

2,115

1,058

0,423

0,282

0,75

1

31,83

15,92

7,968

3,209

2,161

0,5

31,6

15,81

7,911

3,185

2,144

0,1

19,97

9,985

4,995

2,003

1,341

0,01

2,992

1,496

0,748

0,299

0,2

0,9

1

13,91

6,958

3,821

1,402

0,944

0,5

19,81

6,907

0,457

1,392

0,937

0,1

8,726

4,364

2,183

0,876

0,586

0,01

1,307

0,654

0,427

1,131

0,087

0,5

0,1

1

- 4,679

- 2,342

- 1,176

- 0,483

- 0,335

0,5

- 4,379

- 2,342

- 1,176

- 0,483

- 0,335

0,1

- 4,589

- 2,296

- 1,152

- 0,472

- 0,326

0,01

- 1,526

- 0,763

- 0,382

- 0,153

- 0,102

0,25

1

- 7,96

- 3,984

- 2

- 0,822

- 0,569

0,5

- 7,96

- 3,984

- 2

- 0,822

- 0,569

0,1

- 7,807

- 3,907

- 1,961

- 0,804

- 0,555

0,01

- 2,596

- 1,298

- 0,65

- 0,261

- 0,175

0,5

1

0

0

0

0

0

0,1

0

0

0

0

0

Примечание: F6 (h, 0) = F5 (h); F6 (- h, t) = - F6 (h, t)

Таблица 4

f0

Значения функции F8 (h, f0) = exp (- n2p2f0) при h

0,1

0,2

0,3

0,4

0,5

0,6

0,7

0,8

0,9

0

0,01425

0,024

0,02985

0,032

0,03125

0,028

0,02275

0,016

0,00825

0,001

0,01331

0,02375

0,02941

0,0316

0,03084

0,02786

0,0226

0,01587

0,0082

0,004

0,01268

0,02245

0,02835

0,03076

0,03017

0,02722

0,02215

0,01559

0,00805

0,006

0,0121

0,02167

0,02765

0,03018

0,0297

0,02681

0,02185

0,01539

0,00795

0,01

0,01116

0,0203

0,0263

0,02902

0,02876

0,026

0,02125

0,015

0,00776

0,012

0,01075

0,01966

0,02563

0,02841

0,02824

0,0256

0,02095

0,0148

0,00765

0,15

0,01021

0,0188

0,02472

0,02767

0,02751

0,0249

0,0205

0,0145

0,0075

0,02

0,00944

0,01751

0,02321

0,02612

0,02647

0,024

0,01975

0,014

0,00725

0,025

0,06878

0,01637

0,02186

0,02485

0,0252

0,02292

0,019

0,0135

0,007

0,03

0,00821

0,01536

0,02061

0,0235

0,02392

0,02206

0,01826

0,013

0,00675

0,035

0,0077

0,01444

0,01945

0,02231

0,02283

0,02099

0,01752

0,0125

0,0065

0,04

0,00724

0,0136

0,01838

0,02114

0,0217

0,02016

0,0168

0,01202

0,00626

0,045

0,00681

0,01283

0,01739

0,02007

0,02069

0,01917

0,01612

0,01154

0,006

0,5

0,00644

0,01212

0,01648

0,01906

0,01968

0,0184

0,0154

0,01106

0,00577

0,6

0,00574

0,01085

0,01479

0,01719

0,01784

0,01674

0,01408

0,01013

0,0053

0,07

0,00515

0,00974

0,01332

0,01552

0,01616

0,01522

0,01284

0,00926

0,00485

0,08

0,00463

0,00877

0,01201

0,01403

0,01464

0,01323

0,01168

0,06844

0,00442

0,09

0,00417

0,00791

0,01084

0,01269

0,01327

0,01255

0,01862

0,00769

0,00403

0,1

0,00376

0,00714

0,0098

0,01148

0,01202

0,01139

0,00965

0,00699

0,00367

Примечание. При f0 > 0,1 F8 (h, f0) =  sin ph exp (p2 f0).

Таблица 5

t

Значения функции F10 (ht) =  при h

0,1

0,2

0,3

0,4

0,5

0,6

0,7

0,8

0,9

1

0

0,1257

0,183

0,232

0,271

0,3055

0,332

0,351

0,364

0,371

0,3725

0,05

0,092

0,1581

0,2099

0,2493

0,281

0,3056

0,3242

0,3368

0,3446

0,3467

0,1

0,0769

0,1391

0,1884

0,2275

0,2586

0,2829

0,3011

0,3144

0,3213

0,3238

0,25

0,0514

0,0985

0,1393

0,1735

0,1927

0,2194

0,2405

0,2523

0,2594

0,2617

0,5

0,0311

0,0609

0,0883

0,1127

0,1334

0,1505

0,1638

0,1733

0,179

0,1847

0,75

0,0202

0,0397

0,058

0,0746

0,0891

0,1013

0,1109

0,1179

0,1221

0,1235

1

0,0134

0,0264

0,0387

0,0499

0,0599

0,0683

0,075

0,0799

0,0829

0,0839

2

0,0027

0,0054

0,008

0,0103

0,0124

0,0142

0,056

0,0167

0,0173

0,0175

3

0,0006

0,0011

0,0017

0,0021

0,0026

0,0029

0,0032

0,0035

0,0036

0,0036

Примечания: 1. F10 (h, 0) = F9 (h).

2. При значениях h > 1 справедливо соотношение F10 (- h, t) = - F10 (h, t).

Таблица 6

f0

Значения функции   при

0,005

0,01

0,02

0,05

0,075

0,1

0,1

10

22,241

11,122

5,564

2,236

1,5

2

22,099

11,051

5,529

2,221

1,49

1

20,572

10,288

5,147

2,068

1,387

0,5

16,512

8,257

4,131

1,66

1,116

0,1

6,688

3,345

1,675

0,676

0,456

0,01

1,156

0,578

0,288

0,114

0,075

0,25

10

18,48

9,24

4,619

1,842

1,226

2

18,348

9,174

4,586

1,828

1,217

1

16,92

8,459

4,229

1,685

1,12

0,5

13,085

6,542

3,369

1,304

0,865

0,1

3,977

1,988

0,992

0,394

0,258

0,01

1,542

0,077

0,038

0,014

0,009

0,5

10

12,417

6,209

3,088

1,235

0,824

2

12,316

6,158

3,062

1,225

0,817

1

11,156

5,578

2,789

1,115

0,743

0,5

8,248

4,124

2,061

0,818

0,543

0,1

1,501

0,75

0,375

0,149

0,097

0,01

0,01

0,005

0,003

0,001

0

0,75

10

6,157

3,078

1,539

0,617

0,411

2

6,102

3,051

1,525

0,611

0,407

1

5,51

2,755

1,377

0,552

0,367

0,5

3,947

1,973

0,986

0,394

0,262

0,1

0,426

0,213

0,106

0,042

0,028

0,01

0

0

0

0

0

0,9

10

2,463

1,231

0,616

0,247

0,164

2

2,44

1,22

0,61

0,244

0,163

1

2,198

1,099

0,549

0,22

0,147

0,5

1,561

0,78

0,39

0,156

0,103

0,1

0,138

0,069

0,034

0,014

0,009

0,01

0

0

0

0

0

0,25

0,1

10

52,739

26,372

13,193

5,295

3,547

2

52,393

29,199

13,106

5,26

3,524

1

48,657

24,331

12,171

4,884

3,271

0,5

38,724

19,364

9,686

3,887

2,603

0,1

14,713

7,358

3,682

1,48

0,994

0,01

2,288

1,144

0,572

0,23

0,154

0,25

10

46,324

23,164

11,585

4,643

3,104

2

46

23,002

11,504

4,61

3,082

1

42,506

21,254

10,629

4,258

2,845

0,5

33,083

16,542

8,272

3,311

2,21

0,1

10,9

5,45

2,725

1,09

0,727

0,01

1,232

0,616

0,308

0,124

0,082

0,5

10

30,808

15,404

7,702

3,08

2,052

2

30,56

15,28

7,64

3,055

2,035

1

27,886

13,942

6,97

2,786

1,854

0,5

20,774

10,386

5,191

2,072

1,377

0,1

4,276

2,138

1,068

0,422

0,278

0,01

0,274

0,014

0,007

0,003

0,002

0,75

10

15,436

7,718

3,859

1,544

1,03

2

15,302

7,651

3,826

1,53

1,02

1

13,855

6,927

3,463

1,385

0,922

0,5

10,006

5,003

2,501

0,998

0,664

0,1

1,29

0,645

0,322

0,128

0,084

0,01

0,001

0

0

0

0

0,5

0,1

10

91,387

45,697

22,855

9,160

6,124

2

90,747

45,377

22,694

9,095

6,08

1

83,845

41,925

20,967

8,4

5,613

0,5

65,49

32,746

16,376

6,558

4,38

0,1

21,465

10,736

5,366

2,147

1,431

0,01

2,458

1,229

0,614

0,245

0,163

0,25

10

84,732

42,369

21,191

8,494

5,68

2

84,134

42,07

21,041

8,433

5,639

1

77,678

38,841

19,425

7,783

5,202

0,5

60,508

30,256

15,131

6,06

4,048

0,1

19,729

9,865

1,934

1,977

1,321

0,01

2,44

1,22

0,61

0,243

0,161

0,5

10

61,814

30,909

15,458

6,193

4,138

2

61,357

30,88

15,343

6,146

4,106

1

56,415

28,209

14,107

5,649

3,757

0,5

43,089

21,544

10,772

4,31

2,874

0,1

12,228

6,114

3,057

1,222

0,815

0,01

1,23

0,615

0,307

0,124

0,083

0,75

0,1

10

114,302

57,154

28,583

11,45

7,649

2

113,466

56,736

28,374

11,365

7,592

1

104,448

52,226

26,117

10,457

6,982

0,5

80,466

40,234

20,118

8,05

5,37

0,1

23,851

11,926

5,962

2,384

1,588

0,01

2,472

1,236

0,618

0,247

0,164

0,25

10

107,989

53,998

27,005

10,82

7,231

2

107,208

53,607

26,809

10,741

7,177

1

98,772

49,388

24,698

9,682

0,606

0,5

76,339

38,171

19,087

7,64

5,099

0,1

23,296

11,648

5,824

2,33

1,554

0,01

2,473

1,237

0,618

0,247

0,165

0,9

0,1

10

120,976

60,491

30,252

12,118

8,097

2

120,082

60,044

30,028

12,028

8,036

1

110,442

55,223

27,616

11,058

7,383

0,5

84,803

42,402

21,202

8,485

5,66

0,1

24,253

12,126

6,062

2,423

4,614

0,01

2,466

1,233

0,616

0,246

0,164

Примечания: 1. Значения функции F11 при f0 > 10, в том числе f0 = ¥, совпадают со значением функции F11 при f0 = 10.

2. При значениях  и , не приведенных в таблице, значения F11 вычисляются по соотношению F11 (, , , f0) = F11 (1 - , 1 - , , f0).

Таблица 7

f0

Значения функции F12 (, f0) =  при h

0,1

0,2

0,3

0,4

0,5

0,6

0,7

0,8

0,9

1

0

0,0475

0,09

0,1275

0,16

0,1875

0,21

0,2275

0,24

0,2475

0,25

0,01

0,439

0,08529

0,12263

0,15524

0,1825

0,205

0,2225

0,235

0,2425

0,245

0,02

0,04169

0,08151

0,11797

0,15018

0,17752

0,2

0,2175

0,23

0,2375

0,24

0,03

0,03996

0,07835

0,11385

0,1455

0,17268

0,19505

0,21251

0,225

0,2325

0,235

0,04

0,03848

0,0756

0,11013

0,14114

0,16804

0,19016

0,20756

0,22002

0,22751

0,23

0,05

0,03718

0,07312

0,10672

0,13705

0,16349

0,18548

0,20321

0,2169

0,22252

0,225

0,06

0,03599

0,07085

0,10354

0,13318

0,15912

0,18679

0,19826

0,21162

0,21761

0,22002

0,07

0,0349

0,06874

0,10057

0,12962

0,15493

0,17625

0,19342

0,20646

0,21441

0,21507

0,08

0,03388

0,06677

0,09776

0,12603

0,1509

0,17184

0,18871

0,20143

0,20919

0,210013

0,09

0,0392

0,06491

0,09509

0,12269

0,14703

0,16757

0,18411

0,19652

0,20409

0,20663

0,1

0,03201

0,06314

0,09255

0,11948

0,14328

0,16342

0,17962

0,19173

0,19911

0,2016

0,12

0,03032

0,05984

0,08777

0,11342

0,13616

0,15545

0,17097

0,1825

0,18953

0,19189

0,14

0,02877

0,05679

0,08334

0,10776

0,12945

0,1479

0,16274

0,17371

0,1804

0,18265

0,16

0,02732

0,05395

0,0792

0,10245

0,12313

0,14074

0,15491

0,16535

0,17171

0,17386

0,18

0,02587

0,05128

0,0753

0,09744

0,11714

0,13393

0,14745

0,15738

0,16345

0,16548

0,2

0,02469

0,04877

0,07162

0,09269

0,11146

0,12747

0,14085

0,14981

0,15558

0,15752

Примечание. При f0 > 0,2 F12 (h, f0) =.

Учет изменения дополнительной инфильтрации во времени

2.18. Приведенные в табл. 2 формулы справедливы при постоянной величине инфильтрации. В реальных условиях величина инфильтрации во времени может изменяться, в этом случае расчеты повышения уровней необходимо осуществлять по методу суперпозиции. Для этого непрерывный во времени ход изменения инфильтрации w (t) заменяется ступенчатым (рис. 8), причем в отдельные промежутки времени инфильтрация может отсутствовать (w = 0) или быть отрицательной (испарение).

Из приведенных в табл. 2 решений видно, что в общем случае повышение уровня воды под влиянием инфильтрации определяется по формуле

Dh = w f (t),

где f (t) - функция координат рассматриваемой точки, времени, строения пласта и его фильтрационных параметров, конкретный вид которой для различных схем приведен в табл. 2. Согласно методу суперпозиции, при ступенчатом изменении инфильтрации повышение уровня определяется по зависимости

Dh = (wi - wi-1) f (t - ti-1).

Формула (23) является расчетной при переменной во времени интенсивности дополнительной инфильтрации.

2.19. В качестве иллюстрации рассмотрим полосообразную инфильтрацию с изменяющейся интенсивностью по закону w = w1 при t < t1 и w = w2 при t > t1 в неограниченном в плане однослойном водоносном горизонте. В соответствии с формулами (12) и (23) расчет подъема уровня грунтовых вод в этом случае производится по зависимостям:

при t < t1

Рис. 8. Замена непрерывной функции изменения дополнительной инфильтрации ступенчатой

при t > t1

Описанный способ учета изменения интенсивности инфильтрации во времени остается в силе для всех расчетных случаев (круглая площадка инфильтрации, полосовая инфильтрация в полосообразных пластах и т.д.).

Расчеты повышения уровней при действии нескольких полос инфильтрации и наличии прямолинейных границ пласта

2.20. При поступлении дополнительной инфильтрации одновременно из нескольких очагов, например нескольких параллельно расположенных полос, расчеты повышения уровней производятся с использованием метода суперпозиции, в соответствии с которым суммарный подъем в произвольной точке пласта складывается из подъемов от каждого очага в отдельности [37, 43].

Рис. 9. Двухполосная в плане дополнительная инфильтрация

2.21. В качестве примера рассмотрим взаимодействие двух полос инфильтрации шириной 2L1 и 2L2, в пределах которых поступает дополнительная инфильтрация с интенсивностью w1 и w2 (рис. 9). Водоносный горизонт для простоты примем однослойным изотропным. В этом случае расчет повышения уровней от действия каждой полосы в отдельности ведется по формулам (12). Воспользовавшись методом суперпозиции, для повышения уровней грунтовых вод в произвольной точке А (в зависимости от ее местоположения) получаем следующие расчетные формулы.

Точка А располагается в зонах I, II или III:

Точка А расположена в зоне IV:

Точка А расположена в зоне V:

2.22. Метод суперпозиции применяется также при необходимости учета в расчетах прямолинейной границы пласта. В этом случае реальный очаг инфильтрации (в частности, полоса инфильтрации) зеркально отражается относительно границы пласта, на отраженном (фиктивном) очаге интенсивность инфильтрации принимается такой же, как и на реальном очаге. Однако знак инфильтрации зависит от характера границы. Если граница пласта представляет контур с постоянным напором, то инфильтрации на отображенном очаге приписывается знак «-», а если граница пласта непроницаемая - знак «+». При наличии двух параллельных границ пласта отображение производится относительно обеих границ с сохранением указанного выше правила знака. В этом случае количество отображенных полос оказывается бесконечно большим.

Рис. 10. Отображение полосы дополнительной инфильтрации относительно прямолинейной границы пласта

1 - реальная полоса инфильтрации; 2 - отображенная полоса инфильтрации; 3 - граница пласта

2.23. В качестве иллюстрации рассмотрим подъем уровней под влиянием полосообразной инфильтрации в полуограниченном однослойном водоносном пласте конечной мощности (рис. 10). Влияние границы пласта учитывается отображенной полосой, в которой интенсивность инфильтрации равна pw, причем p = 1, если граница непроницаемая, и p = - 1, если граница представляет контур постоянного напора. В данном случае с учетом зависимости (12) расчетная формула принимает вид

Прогноз изменения уровней грунтовых вод при утечках из водонесущих коммуникаций

2.24. Для прогноза изменения уровней грунтовых вод при равномерных по длине утечках воды из водонесущих коммуникаций можно пользоваться зависимостями, приведенными в табл. 2, заменив в них суммарную инфильтрацию на единицу длины полосы 2wL расходом утечек на единицу длины q. Для расчетов в приведенных в табл. 2 формулах следует считать L ® 0, что заметно видоизменяет эти формулы. Расчетные гидродинамические схемы при утечках воды из водонесущих коммуникаций и видоизмененные расчетные формулы приведены в табл. 8. Как и в случае полосообразной инфильтрации, методом суперпозиции осуществляется прогноз при изменении расхода утечек q во времени, рассчитывается взаимодействие нескольких очагов утечек и учитываются прямолинейные границы пласта.

Таблица 8

Строение пласта в разрезе

Расчетная формула

№ формулы

(24)

при k2 >> k1

(25)

kz = kx

(26)

kz ¹ kx

-

s < 25

(27)

s > 25

-

Примечания: 1. F13 (a, b, c) =

F14 (a, b) =

F15 (a, b) =

2. Графики функций ierfc x приведены на рис. 11.

3. Программы для расчета функций F13, F14, F15 на микрокалькуляторах «Электроника» типа Б-34, МК-54, МК-56, приведены в прил. 5, 6 и 7.

Условные обозначения:  = hc /x;  = M/x; sg = ; b = sM (hc - M) /x2; tg = k1z t/ (ng1x); tz = knpt/ (nx); f0b = abt/x.

Рис. 11. График функции ierfc x.

2.25. Формулы (24) - (27), приведенные в табл. 9, справедливы до момента времени Т, когда уровни грунтовых вод достигнут отметки заложения водонесущих коммуникаций. Это время Т находится по приведенным в табл. 9 формулам, считая в них Dh = b и x = r0, где r0 - радиус водовода. При t > T напор в сечении х = 0, где расположен линейный источник, можно считать постоянным и равным hи = he + b. Для этой стадии расчеты подъема уровней ведутся по формулам:

в однослойных пластах конечной мощности

в двухслойных пластах при s < 25

в двухслойных пластах при s > 25

Значения erf x и F3 (a, b) приведены на рис. 3 и 6.

Прогноз изменения уровней грунтовых вод при растекании куполов грунтовых вод

2.26. Весьма часто в результате аварийных утечек воды из водонесущих коммуникаций, водопроводящих каналов или водосодержащих емкостей поверхность грунтовых вод принимает куполообразный характер, причем эти купола формируются сравнительно быстро. При ликвидации аварий, устранении или существенном уменьшении утечек эти купола начинают растекаться в стороны, причем в пределах купола уровни грунтовых вод снижаются, однако на прилегающей территории они повышаются. В зависимости от размеров купола в плане или разрезе подъем уровней на прилегающих участках может достигнуть значительных величин и вызвать их подтопление в течение длительного периода, поэтому прогноз изменения УГВ при растекании куполов представляет немаловажный интерес.

2.27. В случае если начальное возмущение уровней грунтовых вод в пластах неограниченной мощности сосредоточено в окрестности начала координат (рис. 12), повышение уровня грунтовых вод в произвольной точке определяется формулой [35]

Dh = kFotn2/p (n2x2 + k2t2);

где Fo - площадь, заключенная между осью Ох и начальным положением возмущенной свободной поверхностью. Физически Fo соответствует количеству воды Wo, поданной в течение короткого времени в пласт через единицу длины линейного источника, т.е. Fo = Wo/n.

2.28. Расчетные зависимости по изменению уровней грунтовых вод при растекании куполов, имеющих в начальный момент в разрезе прямоугольную форму, приведены в табл. 9. Эти формулы справедливы для неограниченных в плане пластов. Учет прямолинейных границ пласта осуществляется по методике, изложенной в п. 2.22.

Рис. 12. Схема сосредоточенного вблизи точки начального возмущения грунтовых вод

Таблица 9

Строение пласта в разрезе

Расчетная формула

№ формулы

(29)

kx = kz

(30)

kx ¹ kz

-

s < 25

(31)

s > 25

-

Примечание. График функции F16 (а, b) приведен на рис. 13.

Рис. 13. График функции

Прогноз уровенного режима грунтовых вод при поступлении дополнительной инфильтрации из круглой площадки

2.29. Расчетные зависимости по подъему уровней грунтовых вод в неограниченных в плане пластах при поступлении дополнительного питания из площадок круглой в плане формы приведены в табл. 10.

Рис. 14. График функции

Таблица 10

Строение пласта в разрезе

Расчетная формула

№ формулы

(32)

(33)

(34)

kr ¹ kz

-

s < 25

(35)

s > 25

(36)

при  £ 0,5

при f0b > 100 F20 (, b, f0b) = F13

-

Примечания: 1. График функции F17 (, t) приведен на рис. 14.

2. Значения функции F18 - F21 приведены в табл. 11 - 14.

Условные обозначения: * = r/r0;  = hc /r0;  = M/r0; b = ; t = kt/ (n1r0); tz = knpt/

 (nr0); f0 = at/r02; f0b = abt/r02; f0* = a*t/r02.

Рис. 15. К расчету подъема уровней воды при наличии двух круглых в плане очагов инфильтрации

2.30. По методу суперпозиции осуществляется учет изменения интенсивности инфильтрации во времени, одновременное действие нескольких очагов инфильтрации. Наличие прямолинейных границ пласта учитывается методом зеркальных отображений.

В качестве иллюстации использования указанных методов рассмотрим подъем уровней грунтовых вод от действия двух круглых площадок инфильтрации в неограниченном в плане однослойном пласте (рис. 15), в качестве исходной используется формула (33).

При действии двух круглых в плане очагов инфильтрации расчетная формула принимает вид

Здесь  i = 1; 2.

Таблица 11

f0

Значения функции

0

0,3

0,5

0,7

1

1,5

2

3

5

0,0182

0,325

0,32

0,306

0,275

0,048

0,001

0

0

0

0,135

0,517

0,501

0,469

0,407

0,162

0,018

0,004

0

0

0,223

0,782

0,752

0,694

0,697

0,329

0,061

0,007

0

0

0,368

0,114

1,068

0,984

0,852

0,542

0,161

0,039

0,001

0

0,607

1,502

1,442

1,334

1,171

0,81

0,324

0,117

0,01

0

1

1,929

1,859

1,734

1,545

1,138

0,558

0,263

0,048

0,001

1,649

2,384

2,306

2,168

1,962

1,519

0,865

0,489

0,142

0,006

2,718

2,854

2,772

2,626

2,407

1,94

1,232

0,790

0,315

0,037

4,482

3,388

3,252

3,101

2,874

2,39

1,644

1,156

0,574

0,121

7,389

3,828

3,741

3,586

3,354

2,86

2,09

1,57

0,908

0,291

12,183

4,32

4,232

4,075

3,84

3,341

2,555

2,014

1,298

0,554

20,086

4,814

4,725

4,567

4,33

3,832

3,036

2,482

1,73

0,888

33,115

5,317

5,227

5,068

4,83

4,327

3,524

2,963

2,188

1,279

54,598

5,814

5,724

5,565

5,326

4,812

4,002

3,439

2,651

1,7

90,017

6,312

6,229

6,062

5,823

5,305

4,498

3,927

3,13

2,152

148,41

6,812

6,721

6,561

6,322

5,802

5

4,421

3,619

2,624

244,69

7,31

7,22

7,061

6,821

6,332

5,545

4,948

4,143

3,091

403,43

7,841

7,719

7,559

7,319

6,81

6

5,42

4,608

3,575

665,14

8,309

8,219

8,059

7,819

7,309

6,498

5,841

5,120

4,081

1196,7

8,809

8,71

8,559

8,319

7,809

6,998

6,402

5,611

4,584

1808

9,295

9,219

9,059

8,819

8,309

7,502

6,944

6,114

5,059

2981

9,809

9,719

9,559

9,319

8,81

7,996

7,424

6,612

5,592

Примечание.

Таблица 12

*

Значения функции

0,5

1

2,5

5

25

50

100

0

0,01

0,496

0,992

2,478

4,953

21,104

33,509

47,988

0,025

0,496

0,992

2,471

4,768

15,195

21,181

27,557

0,05

0,496

0,99

2,381

4,219

10,597

13,787

17,172

0,1

0,494

0,968

2,107

3,356

6,91

8,605

10,289

0,2

0,479

0,883

1,693

2,436

4,343

5,187

6,027

0,5

0,01

0,5

0,992

2,489

4,85

18,742

29,792

43,17

0,025

0,501

0,995

2385

4,361

13,552

19,146

25,464

0,05

0,497

0,969

2,18

3,75

9,582

12,743

15,995

0,1

0,484

0,9

1,878

2,994

6,393

8,021

9,674

0,2

0,454

0,798

1,505

2,203

4,059

4,887

5,762

1

0,01

0,242

0,479

1,171

2,28

9,989

17,55

28,3

0,025

0,238

0,468

1,127

2,152

8,273

12,942

18,634

0,05

0,234

0,456

1,077

1,998

6,474

9,321

12,422

0,1

0,228

0,439

1

1,758

4,668

6,221

7,845

0,2

0,221

0,414

0,883

1,427

3,129

3,944

4,799

1,5

0,01

0

0

0

0,059

2,421

6,448

13,817

0,025

0,003

0,005

0,055

0,274

3,378

6,79

11,603

0,05

0,005

0,018

0,14

0,483

3,392

5,799

8,662

0,1

0,007

0,041

0,236

0,639

2,895

4,328

5,888

0,2

0,020

0,077

0,311

0,682

2,158

2,94

3,753

2

0,01

0

0

0

0,002

0,44

2,133

6,565

0,025

0,004

0,004

0,004

0,021

1,27

3,517

7,366

0,05

0,003

0,002

0,006

0,085

1,757

3,682

6,211

0,1

0,002

0,001

0,043

0,21

1,839

3,104

4,544

0,2

0,001

0,012

0,103

0,321

1,55

2,287

3,06

5

0,01

0

0

0

0

0

0

0

0,025

0

0

0

0

0,006

0,014

0,289

0,05

0

0

0

0

0,005

0,0142

0,765

0,1

0

0

0

0,001

0,073

0,384

1,092

0,2

0

0

0

0,001

0,19

0,545

1,093

Таблица 13

fob

Значения функции

50

10

5

2,5

1

0,5

0,2

0,1

0,05

0,025

0,01

* = 0

0,05

0,001

0,005

0,01

0,02

0,049

0,098

0,243

0,486

0,978

1,972

4,967

0,1

0,002

0,01

0,02

0,039

0,097

0,191

0,472

0,943

1,9

3,841

9,701

0,5

0,01

0,049

0,096

0,185

0,432

0,808

1,871

3,589

6,989

13,742

33,962

1

0,02

0,096

0,184

0,345

0,755

1,336

2,894

5,355

10,164

19,862

48,795

2

0,039

0,183

0,339

0,599

1,184

1,939

3,942

7,163

13,433

26,401

64,857

5

0,095

0,402

0,676

1,039

1,712

2,605

5,203

9,508

18,116

35,335

86,967

10

0,182

0,658

0,974

1,306

1,974

3,006

6,107

11,258

21,57

42,188

104,05

25

0,395

0,998

1,214

1,478

2,239

3,494

7,272

13,561

26,14

51,309

126,55

50

0,638

1,12

1,277

1,561

2,412

3,849

8,146

15,277

29,607

58,229

144,08

100

0,88

1,155

1,319

1,634

2,601

4,201

9,962

17,032

36,87

65,149

161,14

1000

1,039

1,219

1,436

1,871

3,182

5,735

11,9

22,766

44,583

88,073

218,92

* = 0,5

0,05

0,001

0,005

0,01

0,02

0,049

0,097

0,242

0,478

0,954

0,914

4,816

0,1

0,002

0,01

0,02

0,039

0,097

0,19

0,464

0,914

1,815

3,592

9,067

0,5

0,01

0,049

0,096

0,185

0,429

0,791

1,769

3,309

6,333

12,3

30,194

1

0,02

0,096

0,185

0,344

0,744

1,29

2,701

4,912

9,265

17,944

43,939

2

0,039

0,183

0,338

0,596

1,155

1,854

3,829

6,624

12,488

24,204

59,345

5

0,095

0,401

0,672

1,028

1,657

2,49

5,056

8,917

16,93

32,96

81,021

10

0,182

0,656

0,985

1,287

1,913

2,887

5,951

10,651

20,353

39,751

97,958

25

0,396

0,993

1,199

1,455

2,175

3,372

7,11

12,944

24,904

48,835

120,35

50

0,638

1,112

1,262

1,538

2,348

3,726

7,983

14,676

28,365

55,746

137,86

100

0,879

1,148

1,303

1,611

2,536

4,077

9,798

16,411

35,627

62,657

154,91

1000

1,039

1,212

1,421

1,848

3,117

5,611

11,732

22,144

43,335

85,575

212,67

* = 1,0

0,05

0

0,003

0,005

0,01

0,025

0,049

0,121

0,24

0,475

0,939

2,13

0,1

0,001

0,005

0,01

0,02

0,049

0,096

0,236

0,464

0,911

1,796

4,438

0,5

0,005

0,025

0,048

0,093

0,22

0,417

0,969

1,86

3,627

7,154

17,73

1

0,01

0,048

0,092

0,175

0,392

0,712

1,598

3,033

5,885

11,583

28,64

2

0,02

0,092

0,172

0,309

0,638

1,1

2,387

4,493

8,692

17,08

42,24

5

0,048

0,203

0,347

0,556

0,999

1,642

3,508

6,637

12,865

25,325

62,67,

10

0,091

0,336

0,512

0,732

1,231

2,023

4,387

8,323

16,195

31,936

79,17

25

0,199

0,521

0,667

0,88

1,489

2,501

5,533

10,587

20,621

40,909

101,5

50

0,322

0,598

0,724

0,962

1,672

2,854

6,401

12,314

24,133

47,792

118,7

100

0,466

0,629

0,765

1,035

1,849

3,204

8,216

14,04

31,394

54,675

135,6

1000

0,537

0,694

0,882

1,271

2,429

4,737

10,146

19,769

39,085

77,576

193,4

* = 1,5

0,05

0

0

0

0

0

0,0006

0,003

0,008

0,019

0,039

0,083

0,1

0

0

0

0

0,001

0,0023

0,012

0,032

0,075

0,167

0,419

0,5

0

0

0

0,002

0,013

0,0463

0,198

0,498

1,134

2,428

6,329

1

0

0

0,001

0,006

0,042

0,141

0,523

1,213

2,603

5,41

13,81

2

0

0,001

0,005

0,021

0,121

0,348

1,052

2,345

4,539

9,851

24,85

5

0

0,005

0,022

0,084

0,337

0,779

2,047

4,265

8,611

17,31

43,37

10

0

0,015

0,058

0,174

0,54

1,136

2,872

5,873

11,795

23,631

59,15

25

0,002

0,048

0,134

0,301

0,79

1,603

3,994

8,092

16,199

32,424

81,06

50

0,005

0,083

0,183

0,382

0,971

1,952

4,854

9,798

19,601

39,221

96,08

100

0,013

0,11

0,223

0,454

1,147

2,301

6,668

11,521

26,868

46,097

115,2

1000

0,035

0,173

0,345

0,69

1,725

3,833

8,591

17,242

34,533

68,97

172,6

* = 2

0,1

0

0

0

0

0

0,001

0,004

0,007

0,012

0,02

0,031

0,5

0

0

0

0,001

0,007

0,022

0,079

0,181

0,39

0,813

2,089

1

0

0

0,001

0,004

0,024

0,073

0,252

0,573

1,231

2,555

6,533

2

0

0,001

0,003

0,014

0,074

0,205

0,64

1,384

2,878

5,863

14,821

5

0

0,004

0,016

0,06

0,234

0,545

1,479

2,852

6,14

12,358

30,858

10

0

0,016

0,044

0,132

0,411

0,872

2,249

4,541

9,129

18,295

45,813

25

0,001

0,039

0,108

0,247

0,652

1,324

3,337

6,696

13,408

26,842

67,109

50

0,005

0,069

0,156

0,326

0,829

1,669

4,186

8,381

16,776

33,554

83,919

100

0,011

0,095

0,196

0,398

1,005

2,005

5,042

10,093

20,187

40,387

100,95

1000

0,032

0,157

0,315

0,633

1,583

3,545

7,913

15,804

31,658

63,22

158,29

* = 3

0,5

0

0

0

0

0,002

0,005

0,013

0,022

0,038

0,068

0,154

1

0

0

0,001

0,002

0,008

0,021

0,058

0,119

0,24

0,483

1,211

2

0

0

0,002

0,007

0,029

0,074

0,217

0,462

0,958

1,952

4,935

5

0

0,002

0,009

0,031

0,117

0,273

0,752

1,554

3,152

6,364

15,981

10

0

0,008

0,027

0,078

0,248

0,532

1,386

2,806

5,652

11,332

28,399

25

0,001

0,027

0,075

0,173

0,463

0,943

2,386

4,79

9,595

19,216

47,554

50

0,003

0,052

0,117

0,247

0,663

1,275

3,204

6,415

17,47

25,69

64,26

100

0,008

0,075

0,156

0,318

0,805

1,614

4,045

8,096

16,194

32,402

80,986

1000

0,027

0,135

0,275

0,552

1,38

3,14

6,902

13,78

27,61

55,122

138,04

* = 5

0

0

0

0,01

0,002

0,005

0,01

0,022

0,04

0,074

0,145

0,017

0

0

0,001

0,003

0,01

0,031

0,068

0,182

0,373

0,757

1,524

3,828

0

0

0,004

0,011

0,03

0,093

0,202

0,531

1,076

2,176

4,356

10,955

5

0,001

0,013

0,039

0,091

0,248

0,511

1,296

2,607

5,221

10,468

26,191

10

0,002

0,031

0,072

0,154

0,397

0,805

2,024

4,053

8,12

16,238

40,631

100

0,006

0,051

0,108

0,219

0,559

1,125

2,817

5,641

11,281

22,576

56,029

1000

0,022

0,112

0,225

0,45

1,125

2,252

5,63

11,258

22,521

45,032

112,6

Примечание. При f0b > 100

Таблица 14

b

Значения функции

0

0,5

0,99

1

1,01

1,5

2

3

5

0,01

+ 0,0178

+ 0,5087

+ 47,878

+ 2,5092

- 42,882

- 0,2639

- 0,0022

0

0

0,025

+ 0,2752

+ 1,3365

+ 20,427

+ 1,5983

- 17,236

- 0,6424

- 0,0244

- 0,0001

0

0,05

+ 0,6452

+ 1,7627

+ 10,734

+ 1,1436

- 8,4474

- 0,7789

- 0,0722

- 0,0007

0

0,1

+ 1,042

+ 1,8102

+ 5,6888

+ 0,8303

- 4,0284

- 0,708

- 0,1267

- 0,0046

0

0,2

+ 1,1528

+ 1,5406

+ 3,0622

+ 0,6094

- 1,8428

- 0,5115

- 0,1458

- 0,0129

- 0,0001

0,5

+ 0,8888

+ 1,0031

+ 1,3814

+ 0,3917

- 0,5978

- 0,2496

- 0,1077

- 0,0215

- 0,001

1

+ 0,6019

+ 0,6402

+ 0,7591

+ 0,262

- 0,2347

- 0,1209

- 0,643

- 0,196

- 0,0021

2,5

+ 0,3064

+ 0,3143

+ 0,3375

+ 0,1381

- 0,0613

- 0,0381

- 0,0245

- 0,0109

- 0,0024

5

+ 0,1707

+ 0,1725

+ 0,179

+ 0,0791

- 0,0207

- 0,0141

- 0,0101

- 0,0054

- 0,0018

10

+ 0,0909

+ 0,0916

+ 0,0933

+ 0,0433

- 0,0067

- 0,0049

- 0,0037

- 0,0023

- 0,001

50

+ 0,0195

+ 0,0195

+ 0,0196

+ 0,0096

- 0,0004

- 0,0003

- 0,0003

- 0,0002

- 0,0001

100

+ 0,0099

+ 0,0099

+ 0,0099

+ 0,0049

- 0,0001

- 0,0001

- 0

0

 

Прогноз подтопления территорий при поступлении дополнительной инфильтрации в пределах кольцевой зоны

2.31. Часто дополнительная инфильтрация поступает в грунт по контуру некоторой зоны. Сюда можно отнести, например, утечки из контурных систем водонесущих коммуникаций и т.д. Для прогноза подтопления территории в данном случае необходимо знать полный расход воды Q, фильтрующейся из кольцевой зоны в грунт (рис. 16). Он может быть определен по данным об утечках на единицу длины, которые распределяются равномерно по всему периметру окружности радиуса R0.

В однослойном водоносном пласте конечной мощности (см. рис. 16) повышение уровня грунтовых вод при поступлении кольцевого дополнительного питания рассчитывается по формуле

                                  (37)

Значения функции F22 (*, f0) приведены в табл. 15.

В двухслойном пласте конечной мощности при s < 25 можно пользоваться этой же формулой путем замены в ней hc на h*c при s > 25 расчетная формула может быть записана только в виде весьма сложного несобственного интеграла, поэтому этот случай опускается.

Рис. 16. Поступление дополнительной инфильтрации в пределах кольцевой зоны

а - план, б - разрез

Таблица 15

f0

ln f0

Значения функции

0

0,4

0,8

1

1,5

2

3

5

0,082

- 2,5

0,012

0,041

0,184

0,326

0,035

0,001

0

0

0,135

- 2

0,061

0,107

0,28

0,42

0,077

0,008

0

0

0,223

- 1,5

0,18

0,231

0,411

0,545

0,147

0,028

0

0

0,368

- 1

0,389

0,442

0,59

0,711

0,251

0,075

0,005

0

0,607

- 0,5

0,682

0,786

0,849

0,936

0,401

0,161

0,018

0

1

0

1,044

1,075

1,165

1,28

0,614

0,802

0,062

0,001

1,649

0,5

1,456

1,477

1,537

1,582

0,917

0,529

0,156

0,009

2,718

1

1,899

1,913

1,953

1,982

1,269

0,822

0,334

0,04

4,482

1,5

2,364

2,373

2,397

2,416

1,659

1,188

0,59

0,13

7,389

2

2,844

2,848

2,864

2,875

2,105

1,584

0,92

0,328

12,183

2,5

3,331

3,333

3,343

3,35

2,563

2,023

1,306

0,556

20,086

3

3,826

3,829

3,83

3,834

3,039

2,484

1,735

0,888

33,115

3,5

4,313

4,318

4,334

4,334

3,523

2,96

2,186

1,277

54,598

4

4,809

4,815

4,817

4,818

4,013

3,467

2,657

1,706

90,017

4,5

5,304

5,313

5,314

5,315

4,507

3,937

3,14

2,161

148,413

5

5,802

5,812

5,812

5,813

5,004

4,482

3,629

2,634

244,692

5,5

6,312

6,312

6,312

6,312

5,502

4,93

4,124

3,117

403,429

6

6,81

6,81

8,81

6,811

5,007

5,427

4,619

3,607

655,142

6,5

7,31

7,31

7,31

7,31

6

5,925

5,116

4,107

1096,69

7

7,809

7,809

7,81

7,81

6,999

6,424

5,614

4,596

1808,04

7,5

8,309

8,309

8,309

8,309

7,499

6,924

6,113

5,094

2980,96

8

8,81

8,81

8,81

8,81

8,81

7,423

6,613

5,593

Прогноз изменения уровней при растекании куполов грунтовых вод круглых в плане форм

2.32. При исследовании процесса растекания куполов грунтовых вод круглых в плане форм следует различать два случая - прямоугольные в разрезе и криволинейные в разрезе купола.

Прямоугольные в разрезе купола характерны в основном для анизотропных грунтов и для пластов двухслойного строения. В реальных условиях в разрезе форма купола чаще всего криволинейная (табл. 16). Анализ многочисленного фактического материала показывает, что эти купола вполне удовлетворительно могут быть описаны уравнением

S (r, 0) = S0 exp (- ar2).

Рис. 17. График функции

Таблица 16

Строение пласта в разрезе

Расчетная формула

№ формулы

1. Купола прямоугольных в разрезе форм

(38)

-

s < 25

(39)

s > 25

-

II. Купола криволинейных в разрезе форм

(40)

-

s < 25

(41)

s > 25

-

s ® ¥

-

Примечания: 1.

2. График функции F23 (a, b) приведен на рис. 17.

3. Программа для расчета функций F24 и F25 на микрокалькуляторах «Электроника» типа Б-34, МК-56, МК-54 приведена в прил. 8 и 9.

Условные обозначения:   = hc/r0;  = M/r0;  b = ; f0 = at/r02; f0* = a*t/r02; f0z = kzhct/ (nr02); f0b = abt/r02; tz = k zt/ (nr0); t1 = 4khcat/n; t2 = 4k1hc*at/n1.

Постоянная a определяется исходя из фактического очертания купола в разрезе.

Расчетные зависимости по изменению уровней грунтовых вод приведены в табл. 16.

Прогноз подтопления территорий в результате подпора грунтовых вод при создании водохранилищ

2.33. Сооружение водохранилищ вызывает подпор грунтовых вод, который обуславливает во многих случаях подтопление прилегающих территорий, особенно прибрежных. При большой величине подъема уровня воды в водохранилище подпор распространяется на многие километры в сторону берега. В этих случаях техногенное питание грунтовых вод накладывается на подпертый уровень, интенсифицируя процесс подтопления. Методы фильтрационных расчетов подпора грунтовых вод при сооружении водохранилищ (аналитические, моделирование, численные) разработаны достаточно подробно для различных гидрогеологических условий и детально изложены в литературе [2, 9, 23]. Это освобождает авторов от необходимости детального рассмотрения их. В то же время следует отметить, что большинство равнинных рек к настоящему времени уже зарегулированы и подпор от водохранилищ на них стабилизировался. Поэтому ниже ограничимся рассмотрением только трех расчетных схем подпора грунтовых вод при мгновенном подъеме уровня в водохранилище на величину Sп.

С расчетной точки зрения наиболее характерны три случая подпора грунтовых вод - в полубесконечном массиве, в пределах речной долины и междуречном массиве.

2.34. Подпор грунтовых вод в полубесконечном массиве. Расчетная схема представлена на рис. 18. Принимается, что на достаточно большом удалении от водохранилища бытовой расход естественного потока q остается неизменным. Положение уровня грунтовых вод в произвольный момент времени после подъема в водохранилище рассчитывается по формуле

                                          (42)

Значения функции erf z приведены на рис. 3.

Рис. 18. Подпор грунтовых вод в полубесконечном массиве

1 - зеркало грунтовых вод до подпора; 2 - положение уровней при подпоре

2.35. Подпор грунтовых вод в пределах речной долины. Расчетная схема представлена на рис. 19. В пределах речной долины, ограниченной с одной стороны коренным берегом, а с другой - урезом воды, питание грунтовых вод происходит, в основном, за счет инфильтрации. Положение уровня грунтовых вод в произвольный момент времени после подъема в водохранилище рассчитывается по формуле

h = h0 + (ωLx/khc) (1 - ) + Sп [1 - F26 (, f0)],                                 (43)

где  = x/L; f0 = khct/nL2.

График функции F26 (, f0) приведен на рис. 20.

2.36. Подпор грунтовых вод в междуречном массиве. Расчетная схема представлена на рис. 21. Принимается, что уровень воды по правой границе остается неизменным. Положение уровня грунтовых вод в произвольный момент времени после подъема в водохранилище рассчитывается по формуле

h = h0 + (he - h0) xL + Sп [1 -  - F27 (, f0)],                               (44)

где  = x/L; f0 = khct/nL2.

График функции F27 (, f0) приведен на рис. 22.

Из приведенных формул при t ® ¥ получаются зависимости для установившегося подпора грунтовых вод.

Расчет подтопления территорий под влиянием подпора и техногенной инфильтрации производится по приведенным в данном разделе и ранее формулам с использованием метода суперпозиции.

Рис. 19. Подпор грунтовых вод в долинах рек

Рис. 20. График функции

Рис. 21. Подпор грунтовых вод в междуречном массиве

Рис. 22. График функции

ОПРЕДЕЛЕНИЕ ВЕЛИЧИНЫ ДОПОЛНИТЕЛЬНОГО ИНФИЛЬТРАЦИОННОГО ПИТАНИЯ

2.37. Основной величиной, определяющей достоверность и точность прогнозов, является интенсивность дополнительной инфильтрации w. Достаточно надежно она может быть определена лишь на основе режимных наблюдений за уровнем грунтовых вод на застроенной территории путем решения обратных задач. При отсутствии режимных наблюдений используются методы балансовых расчетов и аналогий, при этом значения w будут носить более ориентировочный характер.

Определение величины дополнительной инфильтрации по данным режимных наблюдений

2.38. По данным режимных наблюдений за изменением уровня грунтовых вод величина дополнительной инфильтрации может быть определена с использованием аналитических расчетов или моделирования на АВМ или ЭВМ. Ниже рассматривается аналитический метод как наиболее простой и доступный для широкого круга специалистов.

Для определения величины ω используются расчетные зависимости, приведенные в табл. 2, 9, 11, однако при этом приходится сталкиваться со значительными трудностями, связанными, во-первых, с неопределенностью начала момента поступления дополнительного питания, во-вторых, с тем, что во многих случаях плановая форма очага питания неизвестна. Неизвестен также закон изменения дополнительной инфильтрации во времени. Поэтому получаемые значения w будут характеризовать осредненную за время наблюдений ее величину.

Отмеченные трудности вынуждают прибегать при расчетах к методу последовательных приближений.

2.39. На застроенных территориях положение уровня грунтовых вод носит куполообразный характер, причем в плане эти купола в одних случаях имеют удлиненные, в других - округлые, в третьих - более сложные формы. Первые характерные для утечек воды из коммуникаций и полосообразных очагов инфильтрации, вторые - для округлых или прямоугольных очагов.

Характер поверхности грунтовых вод может быть установлен при наличии густой сети наблюдательных скважин. Но в этом случае величина дополнительной инфильтрации w может быть определена в различных точках с использованием уравнений движения грунтовых вод в конечных разностях. Такой метод определения w достаточно подробно описан в литературе [43, 50] и не нуждается в изложении.

К сожалению, на застроенных территориях густая сеть наблюдательных скважин, расположенных относительно равномерно, отсутствует. Поэтому для определения инфильтрации приходится использовать измерения уровня грунтовых вод по одиночным наблюдательным скважинам или небольшой группе их, расположенных произвольно.

2.40. При анализе результатов режимных наблюдений в первую очередь необходимо определить, хотя бы ориентировочно, плановый характер очага дополнительного питания. Во многих случаях плановые очертания очагов инфильтрации могут быть намечены достаточно четко (с учетом кривизны свободной поверхности, которая максимальна вдоль внешней границы очага). Небольшие погрешности в определении их контуров не оказывают ощутимого влияния на конечный результат. Поэтому следует исходить из того, что в результате режимных наблюдений контуры очагов дополнительной инфильтрации (площадных, полосообразных или линейно вытянутых) выявляются. Это обстоятельство и дает возможность решить обратные задачи, т.е. определить w.

Определение интенсивности утечек воды из линейно вытянутых коммуникаций

2.41. Для определения интенсивности утечек из коммуникаций на единицу длины q (см. табл. 9) по данным режимных наблюдений в случае однослойных пластов используется формула (26), которую удобнее записать в виде

                                  (45)

Для расчета q по этой формуле необходимо располагать не менее, чем двумя одновременными измерениями уровня воды в двух точках или значениями уровня воды в одной точке не менее чем на два момента времени.

2.42. Пусть имеются две наблюдательные скважины, расположенные на расстояниях х и bx, положение уровней грунтовых вод в этих скважинах в момент измерения равно соответственно hx и hbx первоначальная мощность грунтовых вод he. Тогда, применяя формулу (45), можно записать

                                        (46)

По этой формуле, зная hb по фактическим замерам, подбором находим неизвестное безразмерное время f0x, а затем по формуле (45) - интенсивность утечек q.

Определение f0x по формуле (46) осуществляется следующим образом. По известной величине b, задаваясь различными f0x, строится функция

h (f0x) = ierfc ξ /ierfc bξ.

Затем на оси ординат откладывается известная величина hb и находится соответствующее ей значение f0x. В качестве примера на рис. 23 приведены графики hb = h ( f0x) при значениях b, равных 1,5; 2; 3.

Для расчета q с помощью формулы (45) по найденной f0x необходимо знать коэффициент фильтрации грунта, который только по данным режимных наблюдений не может быть найден.

Рис. 23. График зависимости hx от f0x

Изложенная методика применима для любой пары наблюдательных скважин. Различия в значениях q, полученных по различным сочетаниям наблюдательных скважин, характеризуют косвенно фильтрационную неоднородность водоносного горизонта, а также в некоторых случаях - характер внешних границ пласта.

2.43. По наблюдательной скважине, расположенной на расстоянии х от коммуникации, произведены замеры уровня воды в моменты времени t и (t + Dt), причем величина t в общем неизвестна, а известно только Dt. Положения уровней в эти моменты времени равны соответственно ht и ht+Dt , тогда, вводя обозначения

по формуле (46) получаем

                                         (47)

В этой формуле ht и Df0x известны, затем по найденному f0x и известной величине коэффициента фильтрации рассчитывается q.

Определение f0x по формуле (47) производится аналогично изложенному выше. По известной величине Df0x, задаваясь различными f0x, строится функция h1 (f0x) =  Затем на оси ординат этого графика откладывается известная величина ht и определяется соответствующее значение f0x.

2.44. Изложенная методика расчета величины утечек q из линейных коммуникаций применима также в пластах иного строения, однако в этих случаях в качестве исходной используется соответствующая расчетная формула. Практически без изменений она используется при определении утечек из контурных систем коммуникаций и при расчете величины дополнительного инфильтрационного питания, поступающего из очагов различных в плане форм.

Определение интенсивности инфильтрационного питания при поступлении ее из полосообразного источника

2.45. Для расчета w по данным режимных наблюдений в однослойных пластах используется формула (12), причем необходимы или единовременные измерения уровня воды в двух наблюдательных скважинах, или измерения уровней в одной скважине на два момента времени.

2.46. Пусть имеются две наблюдательные скважины, расположенные на расстояниях х и bх от оси полосы инфильтрации, причем x > L и b > 1. Положение уровней воды в скважинах равно соответственно hх и hbх. Тогда, применяя формулу (12) при x > L получаем

                                  (48)

По этой зависимости при известной величине hb подбором находится неизвестное безразмерное время f0, а затем по формуле (12) - величина дополнительной полосообразной инфильтрации. Для облегчения процедуры подбора используется графоаналитический прием, изложенный выше, т.е. при известных b и  с использованием формулы (48) строится график зависимости h от f0. Затем, откладывая на оси ординат известное значение hb, находят соответствующее ему значение f0.

При расположении точек наблюдений в пределах полосы инфильтрации (т.е. при x < L и bx < L) величина hb рассчитывается по формуле

а если x < L, а bx > L, то

2.47. По наблюдательной скважине, расположенной на расстоянии х от оси полосы, проведены замеры уровня воды в моменты времени t и (t + Dt), причем известна лишь величина Dt. Тогда, вводя обозначение

Df0 = aDt/L2

с использованием зависимости (12), получаем:

при  > L

при x < L

Нахождение f0 по этим формулам производится методом подбора.

Аналогично изложенному выполняется расчет в пластах иного строения.

Определение интенсивности инфильтрационного питания при поступлении ее из круглого очага

2.48. Для расчета w в этом случае используются формулы, приведенные в табл. 11, методика расчета остается прежней. Например, в случае однослойного пласта при наличии двух точек наблюдений

                                             (49)

а при наблюдениях по одной точке

                                         (50)

Нахождение f0 по формулам (49) и (50) производится подбором с использованием изложенного выше приема.

2.49. На территориях, защищенных от подтопления дренажными устройствами различного типа, величина дополнительной инфильтрации весьма надежно может быть определена по данным наблюдений за положением сниженных уровней грунтовых вод при работе дренажа.

Для нахождения ω используются зависимости для фильтрационных расчетов дренажей соответствующего типа, приведенные в разд. 5.

Определение величины инфильтрационного питания на основе водно-балансовых расчетов

2.50. Величина дополнительного инфильтрационного питания на застраиваемых и застроенных территориях или на их отдельных участках может быть определена по формуле [40]

w = (a1 - a2) wg - Du + bW/F,                                              (51)

где a1 и a2 - коэффициенты поверхностного стока до и после застройки (реконструкции); Du - изменение величины испарения с поверхности грунтовых вод, м/сут; wg - интенсивность атмосферных осадков, м/сут; W - суточное водопотребление на рассматриваемой территории или промышленной площадке, м3/сут; F - площадь этой территории, м2; b - коэффициент потерь воды из водонесущих коммуникаций.

Интенсивность выпадающих на территории осадков определяют по данным гидрометеообсерваторий или климатическим справочникам для многолетнего периода наблюдений.

Среднюю величину коэффициента поверхностного стока на застроенной территории определяют по формуле [40]

где ai - коэффициент поверхностного стока с поверхности площадью Fi (табл. 17). Для грунтовых неспланированных поверхностей коэффициент a может быть принят равным нулю.

При отсутствии детальных данных о площадях и характере покрытий на рассматриваемой территории значения коэффициентов поверхностного стока выбирают по табл. 18 в зависимости от типа застройки.

Фактические наблюдения показывают, что потери воды из водонесущих коммуникаций составляют 5 - 10 % общего водопотребления по территории. В соответствии с этим коэффициент потерь из водонесущих коммуникаций колеблется в пределах b = 0,05 - 0,1.

Таблица 17

Вид поверхности

Коэффициент поверхностного стока

Кровли и асфальтобетонные покрытия дорог

0,95

Брусчатые мостовые и черные щебеночные покрытия дорог

0,6

Булыжные мостовые

0,45

Щебеночные покрытия, не обработанные вяжущими материалами

0,4

Гравийные садово-парковые дорожки

0,3

Грунтовые поверхности (спланированные)

0,2

Газоны

0,1

Таблица 18

Территория

Зимне-весенний период

Летне-осенний период

Среднегодовое значение

Старая коммунальная застройка

0,28

0,25

0,26

Коммунальная многоэтажная застройка

0,28

0,24

0,25

Индивидуальная застройка

0,22

0,05

0,09

Зона бульваров

0,64

0

0,18

Весь город

0,34

0,1

0,16

По данным Минжилкомхоза УССР, в среднем на застроенной территории Украины b = 0,063.

Сведения о величине Du в литературе противоречивы. Практически в большинстве случаев можно принять Du равной нулю.

Определение величины инфильтрационного питания методом аналогий

2.51. Метод аналогий основан на перенесении значений дополнительной инфильтрации, полученной для хорошо изученной в гидрогеологическом отношении территории (эталона), на участки или регионы, обладающие аналогичными гидрогеологическими условиями и техногенной нагрузкой. Логическим завершением этого метода являются расчетные таблицы для потерь воды из коммуникаций и величины инфильтрации, составленные на основе обобщения многочисленного фактического материала.

В литературе имеется достаточно большое число сведений о фактической величине дополнительного инфильтрационного питания на застроенных территориях. Обобщенные значения данной величины приведены в табл. 19.

Таблица 19

Объекты

Среднегодовая интенсивность инфильтрации w, м/сут

Тепловые электростанции

(1 - 20) 10-4

Металлургические заводы

(1,9 - 9,2) 10-4

Химические, нефтехимические и нефтеперерабатывающие заводы

(1 - 4) 10-4

Горно-обогатительные комбинаты

(0,4 - 0,8) 10-4

Очистные сооружения водоснабжения и канализации

(4 - 6) 10-4

Городские территории

(4 - 6) 10-4

Кроме того, установлено [34], что только за счет изменений условий влагообмена вследствие застройки и асфальтирования территорий величина дополнительного питания составляет (0,5 - 1,3) 104 м/сут.

2.52. Однако следует отметить, что приведенные в табл. 19 значения дополнительной инфильтрации соотносятся к территории завода или города в целом. На самом деле, как уже указывалось, зеркало грунтовых вод на застроенных территориях носит куполообразный характер. Поэтому в реальных условиях интенсивность инфильтрации будет выше, чем приведенная в табл. 19, но площадь ее поступления будет более локализована.

В табл. 20 приведены значения дополнительной инфильтрации на площадь ее поступления для наиболее обводненных производств [27, 34].

Таблица 20

Объекты

Среднегодовая интенсивность инфильтрации w, м /сут

Машиностроительные предприятия

(2,2 - 2,7) 10-3

Металлургические предприятия

(6 - 10) 10-3

Горно-обогатительные комбинаты

(0,3 - 1) 10-3

Химкомбинаты

(3 - 5) 10-4

ТЭЦ

(2 - 4) 10-4

АЭС

(1 - 3) 10-2

Насосные станции водооборотного цикла

(1,6 - 2,5) 10-3

Очистные сооружения водоснабжения и канализации

(1,2 - 2,5) 10-3

На городских территориях величина дополнительной инфильтрации зависит от плотности водонесущих коммуникаций, удельных потерь воды из них, а также типа и диаметра труб.

В табл. 21 представлены некоторые обобщенные данные по плотности водонесущих коммуникаций на селитебной территории с 5 - 12-этажной застройкой, а в табл. 22 - удельные потери воды из коммуникаций. Эти данные позволяют оценить потери воды из водонесущих коммуникаций.

Таблица 21

Вид застройки

Сеть

Плотность сети, м/га

Жилой район

Водоснабжение и теплоснабжение

300 - 350

Бытовая и дождевая канализация

200 - 250

Территория микрорайона

Водоснабжение и теплоснабжение

200 - 250

Бытовая и дождевая канализация

200 - 250

Таблица 22

Наименование сетей

Утечки, м3/сут на 1 км сети

Водоснабжение и теплоснабжение

2,5 - 7

Канализация:

 

районная и городская

До 80

микрорайонная

» 30

Таблица 23

Застройка

Среднегодовая величина w, м/сут, в зоне

недостаточного увлажнения

неустойчивого увлажнения

избыточного увлажнения

Малоэтажная

1,1 · 10-3

1,8 · 10-3

2,4 · 10-3

Многоэтажная

1,7 · 10-3

2,3 · 10-3

3 · 10-3

Индивидуальная

2,1 · 10-3

2,7 · 10-3

3,4 · 10-3

Парковая зона

1,2 · 10-3

1,5 · 10-3

2 · 10-3

Городская территория в целом

1,7 · 10-3

2,3 · 10-3

2,9 · 10-3

Многочисленные литературные данные показывают, что на городских территориях величина w колеблется в широких пределах от 10-2 до 10-5 м/сут. Обобщение фактического материала позволило провести более детальную дифференциацию этих данных, которая приведена в табл. 2. Эти значения w могут быть использованы при расчетах прогноза подтопления территорий.

ОПРЕДЕЛЕНИЕ СРЕДНЕЙ МОЩНОСТИ ВОДОНОСНОГО ПЛАСТА

2.53. При расчетах прогноза подтопления территорий необходимо знать среднюю мощность пласта hс, определение которой производится по формуле [37, 42]

hc = h′e + ax0w/k.                                                         (52)

Здесь a - коэффициент, зависящий от безразмерного времени kt/ (nx0); x0 - характерный линейный размер (в случае полосообразной инфильтрации x0 = L, для круглой площадки инфильтрации x0 = r0); t - время, на которое выполняется прогноз.

Значения коэффициента a в зависимости от kt/ (nx0) приведены на рис. 24.

При большой начальной мощности пласта hе и малой интенсивности инфильтрации (w < 10-4 - 10-5 м/сут) в качестве средней мощности может быть принята начальная мощность hе.

Формула (52) может быть использована и для двухслойных пластов. При этом следует различать два случая - s < 1 и s > 1.

В первом случае (s < 1) двухслойный пласт с начальной мощностью hе приводится к однослойному с приведенной мощностью h*е

h*е = hе + (s - 1) М.                                                      (53)

В дальнейшем расчет ведется по зависимости для однослойного пласта.

Во втором случае (s > 1) определение hc производится по формуле

hс = hе + w (hе - M) /k.                                                (54)

При исследовании процессов растекания куполов грунтовых вод за среднюю мощность следует принять мощность водоносного горизонта в невозмущенной зоне.

Рис. 24. Зависимость a от kt/ (nx0)

ПРИМЕРЫ РАСЧЕТОВ

Пример 1. Прогноз формирования техногенной верховодки

2.54. В зоне аэрации в толще однородных изотропных грунтов с коэффициентом фильтрации k = 0,1 м/сут и коэффициентом недостатка насыщения n = 0,18 вскрыта водоупорная линза прямоугольной формы размерами 2l = 50 м и 2L = 20 м. На территории поступает дополнительная инфильтрация интенсивностью w = 10-3 м/сут. Необходимо оценить динамику формирования техногенной верховодки и максимальную величину ее мощности в центре линзы.

Так как отношение длины линзы 2l к ее ширине 2L меньше 5, приведем прямоугольную в плане линзу к круглой, приведенный радиус которой R находим по формуле (1)

R = b (1 + L) /2 = 1,16 (25 + 10) /2 = 20,3 (м).

Расчетная схема приведена на рис. 1, б.

Подъем уровня грунтовых вод в центре линзы (r = 0) на разные моменты времени рассчитываем по формуле (4), удерживая в ряду первые три члена,

Здесь

Bi = 2R/hс = 2 · 20,3/3 = 42,4.

По прил. 3 находим n1 = 2,348; n2 = 5,389; n3 = 0,447.

Значения функций Бесселя первого рода нулевого порядка;

J0 (n1) = J0 (2,348) = 0,029;

J0 (n2) = J0 (5,389) = - 0,045;

J0 (n3) = J0 (8,447) = 0,056;

Произведем расчет на моменты времени 1, 3, 6, 9 и 12 мес.

При t1 = 1 мес = 30 сут

При t2 = 3 мес = 90 сут

Соответственно получаем: при t3 = 6 мес, f0 = 0,236, h3 = 1,19 м; при t4 = 9 мес, f0 = 0,353, h4 = 1,31 м; при t5 = 12 мес, f0 = 0,472, h5 = 1,38.

Максимальную величину подъема уровня верховодки в центре линзы находим по формуле (5)

Таким образом, формирование верховодки заканчивается примерно через год.

Пример 2. Прогноз повышения уровней грунтовых вод при поступлении дополнительной полосообразной инфильтрации

2.55. На свободную поверхность неограниченного в плане и двухслойного в разрезе водоносного горизонта поступает дополнительное питание интенсивностью w = 6 · 10-3 м/сут из полосообразного в плане источника шириной 2L = 20 м. Коэффициент фильтрации верхнего слоя k1 = 0,1 м/сут, недостаток насыщения n1 = 0,15. Нижний слой мощностью М = 2 м имеет коэффициент фильтрации k2 = 3 м/сут. Начальная мощность грунтовых вод he = 10 м. Рассчитать величину подъема уровня грунтовых вод Dh через год (t = 365 сут) с момента начала поступления дополнительной инфильтрации на свободную поверхность грунтовых вод в точке х = 30 м.

Так как s = k2/k1 = 3/0,1 = 30 > 25, то для расчета используем формулу (16) при x > L

Dh = {F3 (λ1, tb) - F3 (λ3, tb) + tb [F4 (λ3, tb) - F4 (λ1, tb)]}.

Рассчитаем среднюю мощность пласта по формуле (54)

 м.

Вычислим вспомогательные параметры:

По графикам на рис. 6 и 7 находим функции F3 и F4:

F3 (0,17; 28,7) = 0,81;   F3 (0,08; 28,7) = 0,91;

F4 (0,17; 28,7) = 0,81;   F3 (0,08; 28,7) = 0,9.

Тогда величина подъема уровня будет равна:

 {0,81 - 0,91 + 28,7 [0,90 - 0,81]} = 0,63 м.

Пример 3. Прогноз изменения уровней грунтовых вод при утечках воды из коммуникаций

2.56. Утечки из водовода радиусом r0 = 0,3 м на единицу его длины составляют q = 0,04 м3/ (сут·м) и поступают в однослойный изотропный пласт конечной мощности. Коэффициент фильтрации водоносных пород k = 0,2 м/сут, недостаток насыщения n = 0,12. Начальная мощность грунтовых вод he = 6 м, расстояние от оси водовода до уровня грунтовых вод b = 2,5 м. Определить повышение уровня грунтовых вод в точке х = 3 м через 100 и 200 сут с момента начала подъема грунтовых вод. Значение по формуле (26), считая в ней Dh = b и x = r0, определим время достижения уровнем грунтовых вод водовода (t = T):

 i erfc ,

принимая

hc = he = 6 м и  м2/сут,

получаем

2,5 =  i erfc

отсюда Т = 1731 сут.

Подъем уровня грунтовых вод по формуле (26) определим на моменты времени (t < Т) t1 = 100 сут и t2 = 200 сут:

при t1 = 100 сут

 i erfc  = 0,6 м;

при t2 = 200 сут

 i erfc  = 0,85 м.

Пример 4. Прогноз подъема уровней грунтовых вод при действии двух круглых площадок дополнительной инфильтрации

2.57. На свободную поверхность неограниченного в плане и двухслойного в разрезе водоносного горизонта поступает дополнительная инфильтрация из двух круглых площадок (см. рис. 15): на первой площадке с радиусом r01 = 12 м, координатами центра x1 = 20 м, у1 = 26 м, w1 = 3 × 10-3 м/сут и на второй с радиусом r02 =20 м, координатами центра x2 = 75 м, у2 = 16 м, w2 = 8 · 10-3 м/сут. Коэффициент фильтрации верхнего слоя k1 = 0,05 м/сут, недостатка насыщения n1 = 0,13. Нижний слой имеет мощность M = 2,2 м и коэффициент фильтрации k2 = 2,6 м/сут. Начальная мощность грунтовых вод he = 6 м. Определить подъем уровня грунтовых вод Dh через 1 год (t = 365 сут) в точках x1 = 20 м, у1 = 26 м, x2 = 75 м, у2 = 16 м и x3 = 36 м, у3 = 0 м.

Так как s = k2/k1 = 52 > 25, то расчет ведем по формуле (36) с учетом одновременности действия площадок по методу суперпозиции

Dh = .

Среднюю мощность пласта вычислим по формуле (54), считая в ней w равной средневзвешенной величине инфильтрации

 = 6,68 · 10-3 м/сут.

 м.

Найдем подъем уровня грунтовых вод в центре первой площадки (x1 = 20 м, у1 = 26). Для этой точки:

r1 = 0;  = hc /r01 = 6,5/12 = 0,54;  = M/r01 = 2,2/12 = 0,18;

b1 = 52 · 0,18 (0,54 - 0,18) = 3,37; f0b1 = k2 Mt / (n1r201) = 2,6 × 2,2 ´

´ 365/ (0,13 · 122) = 111,5.

По табл. 14:

 = F20 (0; 3,37; 111,5) = 1,55.

 = r2 /r02;  =

 = 55,9 м;

* = 55,9/20 = 2,8; b2 = s  = hc /r02 = 6,5/20 = 0,33;

 = M/r02 = 2,2/20 = 0,11; b2 = 52 × 0,11 (0,33 - 0,11) = 1,26;

f0b2 = k2 Mt/ (n1r202) = 2,6 × 2,2 × 365/ (0,13 · 202) = 40.

По табл. 14:  = F20 (2,8; 1,26; 40) = 0,58.

Подъем уровня грунтовых вод в точке x1 = 20 м, у1 = 26 м:

Dh = [6,5 - 2,2/0,05] [3 · 10-3 · 1,55 + 8 × 10-3 × 0,58] = 0,8 м.

Аналогично ищем подъем в центре второй площадки (x2 = 75 м, у2 = 16 м):

 = 4,7; b1 = 3,37; f0b1 = 111,5.

 = F20 (4,7; 3,37; 111,5) = 0,19.

* = 0; b2 = 1,26; f0b2 = 40.

 = F20 (0; 1,26; 40) = 2,22.

Подъем уровня грунтовых вод в точке x2 = 75 м, y2 = 16 м:

 м

Определим подъем в точке x3 = 36 м, y3 = 0 м:

 = r1 /r01;  =

 м;

* = 30,5/12 = 2,5; b1 = 3,37; f0b1 = 111,5.

 = F20 (2,5; 3,37; 111,5) = 0,3.

 =

 м;

 = 2,1; b2 = 1,26; f0b2 = 40.

F20 (2,1; 1,26; 40) = 0,69.

Подъем уровня грунтовых вод в точке x3 = 36 м, y3 = 0 м:

 м.

Пример 5. Прогноз подъема уровней грунтовых вод при поступлении дополнительной инфильтрации в пределах кольцевой зоны.

2.58. Утечки из контурной системы водонесущих коммуникаций с приведенным радиусом R0 = 25 м составляют q = 0,01 м3/ (сут·м) и поступают в однослойный водоносный пласт мощностью he = 7 м с коэффициентом фильтрации k = 0,5 м/сут и коэффициентом недостатка насыщения n = 0,12. Найти подъем уровня грунтовых вод Dh в точках r1 = 0; r2 = 25 м и r3 = 37,5 м через года (t = 730 сут) от начала подъема.

Подъем уровня грунтовых вод рассчитаем по формуле (37), которая с учетом того, что Q = 2nR0q, принимает вид

Для рассматриваемого момента времени

f0 = khct/ (nR20) = khet/ (nR20) = 0,5 · 7 · 730 / (0,12 · 252) = 34.

Для точки r1 = 0 (* = 0) по табл. 16

F22 (, f0) = 4,34.

Подъем уровня грунтовых вод

Dh = 0,01 × 25 · 4,34/2 · 0,5 · 7 = 0,16 м.

В точке r2 = 25 м (* = 1) F22 (, f0) = 4,36 и

Dh = 0,01 × 25 · 4,36/2 · 0,5 · 7 = 0,16 м.

В точке r = 37,5 м ( = 1,5) F22 (, f0) = 3,55 и

Dh = 0,01 × 25 · 3,55/2 · 0,5 · 7 = 0,13 м.

3. ПРЕДУПРЕДИТЕЛЬНЫЕ МЕРОПРИЯТИЯ ПО ПРЕДОТВРАЩЕНИЮ ПОДТОПЛЕНИЯ ТЕРРИТОРИЙ

ОБЩАЯ ХАРАКТЕРИСТИКА ПРЕДУПРЕДИТЕЛЬНЫХ МЕРОПРИЯТИЙ

3.1. В зависимости от результатов прогноза на осваиваемых и освоенных территориях должны проводиться те или иные мероприятия против возможного, развивающегося или уже развившегося подтопления. Мероприятия против подтопления территорий подразделяются на предупредительные и защитные [3, 37, 42].

Предупредительные мероприятия выполняются с целью предупреждения развития подтопления на осваиваемых территориях и направлены против факторов, действие которых может иметь место при строительстве и эксплуатации рассматриваемых объектов.

Предупредительные мероприятия должны проводиться на всех потенциально подтопляемых (в соответствии с прогнозом) территориях, предназначенных для строительного освоения, они входят в комплекс работ по инженерной подготовке территорий, а в отдельных случаях могут носить и самостоятельный характер. Они включают в себя следующие виды работ [3, 37, 42]:

надлежащую организацию и ускорение стока поверхностных вод;

искусственное повышение планировочных отметок территории;

устройство защитной гидроизоляции заглубленных сооружений, конструкций и подземных коммуникаций;

сооружение профилактических пристенных, пластовых и сопутствующих дренажей;

прокладку профилактических вентиляционных каналов в основаниях подземных сооружений;

тщательное выполнение работ по строительству водонесущих коммуникаций и правильную их эксплуатацию с целью предотвращения постоянных и аварийных утечек;

надлежащую организацию складирования отходов производства;

создание противофильтрационных экранов в основании накопителей и завес вокруг них;

сооружение перехватывающих подземный поток дренажей.

ОРГАНИЗАЦИЯ И УСКОРЕНИЕ ПОВЕРХНОСТНОГО СТОКА

3.2. Мероприятия по надлежащей организации и ускорению поверхностного стока, а также отводу атмосферных осадков за пределы осваиваемой территории включают в себя следующие работы:

перехват и отвод поверхностных вод, поступающих на защищаемую территорию с сопредельных с ней территорий;

ускорение и упорядочение стока поверхностных вод, формирующихся в пределах защищаемой территории;

недопущение скопления воды в котлованах, траншеях, выемках и т.п. при производстве земляных работ.

Перехват поверхностных вод, поступающих с сопредельных территорий, осуществляется нагорными канавами, которые проходят выше защищаемой территории. Откосы и дно канав должны быть защищены от размывания, это достигается выдерживанием определенного уклона лотка канавы, а также применением соответствующих покрытий или облицовок.

Сечение и уклон канавы должны обеспечивать быстрый сток вод в водоприемник или естественную гидрографическую сеть.

Как правило, трассы нагорных канав не должны находиться в пределах защищаемой территории.

Перехват и отвод поверхностных вод может осуществляться также путем применения ограждающих обвалований в сочетании с нагорными канавами.

3.3. Отвод дождевых, талых и прочих поверхностных вод, формирующихся в пределах защищаемой территории, осуществляется с помощью вертикальной планировки территории в сочетании с устройством проездов и сети ливнестоков открытого или закрытого типа [13, 25].

При рытье котлованов, траншей, выемок необходимо предотвращать попадание в них поверхностных вод, а также безотлагательно удалять из этих выработок дождевые воды или воды от таяния снега. Это может быть осуществлено организацией водоотлива из приямков-водосборников, устраиваемых в наинизшей по отметкам дна части котлована. При этом дно котлована (или выработки) должно иметь уклон порядка 0,001 в сторону приямка, откуда вода удаляется насосами и отводится за пределы застраиваемой территории.

Промежуток времени между отрывной котлована или траншеи и укладкой фундаментов, коммуникаций и т.п. должен быть минимальным.

После устройства фундаментов или укладки коммуникаций котлованы и траншеи должны засылаться грунтом с последующим его уплотнением. При этом необходимо обеспечить отвод поверхностных вод от тщательно заделанных пазух котлованов с тем, чтобы устранить застой этих вод в грунтах обратной засыпки и последующую их инфильтрацию в подстилающие породы.

ПОВЫШЕНИЕ ПЛАНИРОВОЧНЫХ ОТМЕТОК

3.4. Искусственное повышение планировочных отметок поверхности территории осуществляется путем подсыпки или намыва грунта преимущественно на пойменных и заболоченных участках и может быть выполнено на вновь осваиваемых (незастроенных) территориях [3, 29].

Выбор отметок поверхности территории, спланированной в результате подсыпки или намыва, определяется величиной нормы осушения (которая, в свою очередь, зависит от положения бытового зеркала грунтовых вод, глубины заложения фундаментов и коммуникаций), требованиями санитарного благоустройства и др.

При осуществлении искусственного повышения отметок территории необходимо соблюдать условия естественного дренирования подземных вод и не создавать их подпора. В частности, по тальвегам оврагов и водотоков, являющихся естественными дренами, необходимо прокладывать дренажные трубы и только после этого производить подсыпку или намыв грунта.

Грунты искусственной подсыпки являются хорошим аккумулятором влаги, вследствие чего необходимо в определенных случаях предусматривать устройство в них систем осушения. Необходимость осушения насыпных грунтов определяется фильтрационными свойствами насыпных (намывных), а также подстилающих грунтов естественного сложения.

При больших площадях подсыпки необходимо рассмотреть вопрос о применении в основании насыпного слоя систематического дренажа.

ПРЕДУПРЕЖДЕНИЕ УТЕЧЕК ИЗ ВОДОПРОВОДЯЩИХ СООРУЖЕНИЙ

3.5. Утечки воды из водонесущих коммуникаций и водосодержащих сооружений играют основную роль в подтоплении территорий, поэтому их предупреждению должно быть уделено особое внимание. Во всех случаях эти работы приобретают первостепенное значение и пренебрежение ими недопустимо. Если, несмотря на проведение предупредительных мероприятий, установлено появление утечек аварийного или постоянного характера, тогда должны быть приняты неотложные меры по их устранению.

Предупреждение утечек из водопроводящих сооружений (водопроводные и канализационные сети) обеспечивается осуществлением организационных, эксплуатационных и конструктивно-технологических мероприятий [15].

3.6. Организационные мероприятия должны обеспечить выполнение комплекса работ по монтажу и устройству водонесущих коммуникаций в точном соответствии с проектом. При этом особое внимание должно быть обращено на:

применение материалов трубопроводов, отвечающих требованиям коррозионной стойкости относительно пропускаемых по ним жидкостей;

соблюдение проектных уклонов; укладка безнапорных трубопроводов с обратными уклонами не допустима;

обеспечение надлежащего основания водонесущих трубопроводов;

обеспечение надежности водонесущих трубопроводов по условиям воздействия на них внешних нагрузок;

создание и оснащение службы эксплуатации, полностью укомплектованной необходимым персоналом и техническими средствами.

На самотечно-напорных водоводах следует предусматривать устройство разгрузочных камер или установку аппаратуры, предохраняющих водоводы от повышения давления выше предела, допустимого для принятого вида труб.

Следует предусматривать разделение водопроводной сети на ремонтные участки с обеспечением их соответствующей арматурой и оборудованием для отключения на время ремонта. Необходимо также предусматривать меры защиты от гидравлических ударов.

3.7. Эксплуатационные мероприятия должны предусматривать выполнение необходимого комплекса работ по обеспечению нормальной эксплуатации водопроводных и канализационных сетей и сооружений на них, в том числе:

соблюдение правил технической эксплуатации сооружений и сетей, определяемых положениями соответствующих инструкций;

обеспечение систематического надзора за состоянием водонесущих систем и своевременное устранение замеченных неисправностей;

своевременное осуществление мероприятий по текущему и капитальному ремонту водонесущих систем; эти мероприятия определяются установленными сроками периодичности ремонтов, а также повреждениями водонесущих систем;

соблюдение правильного режима работы насосных станций;

правильная организация водовыпусков на водостоках, в частности, ливневой канализации (очистка от льда, мусора, наносов, содержание в порядке затворов на водостоках на случай их затопления паводками и др.).

3.8. В комплекс конструктивно-технологических мероприятий по предупреждению утечек входит проведение работ по обеспечению водонепроницаемости соединений водонесущих коммуникаций, повышению надежности работы этих коммуникаций, своевременному обнаружению утечек из водонесущих трубопроводов и др.

Одним из действенных мероприятий по предотвращению утечек является герметизация стыковых соединений водонесущих труб. При этом водонепроницаемость соединений обеспечивается применением резиновых уплотнительных колец, манжет и пенькового уплотняющего материала.

В качестве таких гибких уплотнителей могут быть рекомендованы резиновые манжеты Б-1 и Б-2, изготавливаемые по ТУ 38-105.895-75 Миннефтехимпрома СССР и ГОСТ 21053-75; резиновые кольца круглого сечения (ТУ 38-105.1092-77 Миннефтехимпрома), применяемые для железобетонных и асбестоцементных труб; резиновые уплотняющие кольца фигурного сечения (ГОСТ 5228-76*) для самоуплотняющихся асбестоцементных муфт типа САМ [47]. Кроме обеспечения герметичности стыковых соединений, применение указанных уплотнителей позволяет обеспечивать определенную «гибкость» соединений, что препятствует их раскрытию и снижает опасность утечек.

Закрепление смоляной или битумизированной пряди осуществляется с помощью полисульфидных (тиоколовых) мастик-герметиков, применяющихся для канализационных напорных коллекторов. При этом герметик 51-УТ-37А применяется для трубопроводов с максимальным рабочим давлением 0,5 МПа, а герметик КБ-1 (ГС-1) - для трубопроводов с максимальным рабочим давлением 0,1 МПа.

Применение этих герметиков может быть рекомендовано для предотвращения утечек через стыки сточных жидкостей, содержащих серную, фосфорную, соляную кислоты и гидроокись натрия при концентрации водных растворов этих веществ до 10 %.

Особое внимание необходимо обращать на герметизацию вводов водонесущих коммуникаций в колодцы. Это может быть достигнуто установкой замоноличенного в стенке колодца отрезка трубы, в который вдвигается водонесущая труба с устройством эластичных герметизирующих резиновых кольцевых прокладок в межтрубном зазоре.

3.9. Одним из наиболее эффективных способов предотвращения поступления утечек из водонесущих коммуникаций в грунты является прокладка этих коммуникаций в футлярах, полупроходных и проходных каналах, снабженных сопутствующим дренажем или противофильтрационными, гидроизолирующими покрытиями.

Устройство таких тоннелей рекомендуется в условиях стесненной прокладки коммуникаций или наличия довольно плотной их сети, а также при прокладке коммуникаций в лессовых грунтах.

Утечки, поступающие из трубопроводов в тоннели и футляры, собираются в специальные водосборные колодцы, устраиваемые вдоль каналов. Эти колодцы должны иметь тщательно выполненную гидроизоляцию, а также устройство для отбора и отвода поступающих в колодец вод.

Для одиночных трубопроводов небольших диаметров эффективным средством перехвата утечек является устройство в основании трубопровода уплотненного глинистого экрана толщиной 0,15 - 0,2 м вдоль всей линии трубопровода. При этом защитное действие глинистого экрана может быть усилено применением полимерных пленок, битумизацией глинистой массы и др.

Вдоль линии такого экрана устраивают водосборные колодцы. При этом поверхность экрана имеет уклон в сторону колодцев в пределах 0,001 - 0,002.

ГИДРОИЗОЛЯЦИЯ ПОДЗЕМНЫХ ЧАСТЕЙ ЗДАНИЙ, СООРУЖЕНИЙ И КОММУНИКАЦИЙ

3.10. Для предотвращения подтопления грунтовыми водами подземных частей сооружений и предупреждения проникновения сырости в подвалы, тоннели и т.д. применяют защитные гидроизолирующие покрытия, сооружаемые в виде оболочек вокруг подземных частей сооружений чаще всего по их внешней поверхности.

В зависимости от вида используемого материала различают гидроизоляции асфальтовые, пластмассовые, минеральные и металлические, по способу выполнения - окрасочные, штукатурные, литые, оклеечные, монтируемые, пропиточные, инъекционные и засыпные [36].

3.11. Окрасочная гидроизоляция (рис. 25, а) применяется, в основном, для предотвращения воздействия на сооружения капиллярной влаги и выполняется в виде нескольких слоев пленкообразующих жидких или пластичных гидроизоляционных материалов, наносимых на защищаемую поверхность пневматическим напылением, набрызгом под высоким давлением, окраской кистями и т.п. При этом используются битумно-полимерные и полимерные краски при толщине слоя от 0,05 до 1 мм. Общая толщина окрасочной гидроизоляции может достигать 4 мм.

3.12. Штукатурная гидроизоляция (рис. 25, б) рекомендуется для защиты заглубленных частей сооружений от проникновения грунтовых вод. Она представляет собой водонепроницаемые покрытия толщиной 10 - 25 мм, наносимые на защищаемую поверхность штукатурным способом. В качестве материала покрытия применяются холодная асфальтовая штукатурка и штукатурка из коллоидно-цементных растворов.

Холодная асфальтовая штукатурка представляет собой мастику из смеси битумных эмульсионных паст с различными минеральными порошкообразными наполнителями; их следует применять как для поверхностной гидроизоляции (в том числе при температуре поверхности до 80 °С), так и для заполнения деформационных швов при защите подземных помещений и галерей от затопления грунтовыми водами при напорах до 15 м.

Мастика наносится в два слоя общей толщиной до 10 - 15 мм на предварительно подготовленную изолируемую поверхность (очищенную и грунтованную разжиженной битумной пастой). В отдельных случаях мастика наносится в три слоя общей толщиной до 20 мм. Нанесение мастики осуществляется путем набрызгивания специальными аппаратами или вручную с помощью штукатурного инструмента (мастерок, шпатель и т.п.). Каждый последующий слой мастики наносится после высыхания и затвердения предыдущего.

Рис. 25. Типы поверхностной гидроизоляции

а - окрасочная; б - штукатурная; в - литая; г - оклеечная; д - монтируемая; е - пропиточная; ж - инъекционная; з - засыпная

1 - изолируемая конструкция; 2 - грунтовка основания; 3 - гидроизоляционное покрытие; 4 - защитное ограждение

Коллоидно-цементный раствор (КЦР) представляет собой высокодисперсную смесь песка и вибромолотого портландцемента. КЦР приготовляется по правилам обычного торкрета и применяется для защиты подземных помещений и галерей от проникновения грунтовых вод, обладающих большими напорными, а также при гидроизоляции внешних поверхностей от температурных воздействий до 200 °С. При этом рекомендуется нанесение раствора в два слоя: первый - КЦР повышенной прочности, а второй слой - через час - из КЦР нормальной прочности.

3.13. Литые гидроизоляции (рис. 25, в) выполняются из твердеющих органоминеральных растворов, в основном асфальтовых, в виде смеси битумов с порошкообразными наполнителями. В качество наполнителя применяются молотые известняки и доломиты, карбонатные лессы, каолины, серпентинит, андезитовый и диабазовый порошки, портландцемент, мел и др.

Литые органоминеральные покрытия устраиваются путем розлива горячего асфальтового раствора на горизонтальную поверхность слоем толщиной 10 см или заливки раствора в полость между опалубкой и вертикальной защищаемой поверхностью.

3.14. Оклеечная гидроизоляция (рис. 25, г) применяется преимущественно для защиты подземных помещений от проникновения капиллярной влаги. В качестве оклеечных материалов используются гидроизол, стеклоизол, полиэтиленовая пленка и др.

Гидроизол представляет собой асбестоцеллюлозный картон, пропитанный битумом. Картон наклеивается на изолируемую поверхность горячими асфальтовыми или битумными мастиками марок МБК-Г-55, МБК-Г-75, МБК-Г-85 и МБК-Г-100 (цифра означает температуру размягчения мастики). После оклейки двумя-тремя слоями гидроизола его поверхность окрашивается.

Стеклоизол представляет собой стеклохолст ВВ-К, покрытый резинобитумной мастикой. Стеклоизол наклеивают на защищаемую поверхность в два-три слоя, применяя при этом битумно-резиновые и битумные мастики, а для горизонтальных поверхностей - битум.

Полиэтиленовая пленка толщиной 0,2 мм применяется для гидроизоляции горизонтальных и наклонных плоскостей. Вертикальные плоскости должны, кроме того, защищаться окрасочной гидроизоляцией из этиленовой краски ЭКЖС-40. Возможно также сочетание гидроизоляции из пленки на горизонтальных плоскостях и штукатурных или литых гидроизоляций - на вертикальных. Для защиты полиэтиленовой пленки от механических повреждений под нее и сверху укладывают пергамин или битумизированную бумагу.

Рулонные материалы (стеклоизол, гидроизол) стыкуются внахлестку по ширине не менее 10 см в продольных стыках и не менее 20 см - в поперечных.

Полиэтиленовая пленка сваривается при помощи термоимпульсного полоза или электроутюга.

3.15. Монтируемая гидроизоляция (рис. 25, д) представляет собой прикрепленные к защищаемой поверхности механическим способом листы из синтетических, полимерных или металлических материалов.

3.16. Пропиточная и инъекционная (рис. 25, е, ж) гидроизоляции устраиваются в тех случаях, когда отсутствует или затруднена возможность доступа к защищаемой поверхности. Эти виды гидроизоляции осуществляются путем пропитки всего слоя грунта (или его части), прилегающего к защищаемой поверхности, гидроизолирующими растворами и композициями, например жидким стеклом и др.

3.17. Засыпная гидроизоляция (рис. 25, з) выполняется в виде засыпки толщиной 10 - 50 см в пространство между опалубкой или шпунтом и защищаемой поверхностью гидрофобных порошков. После устройства такой засыпки пазухи котлованов заполняются глинистым грунтом или глинобентонитовыми суспензиями.

ПРИСТЕННЫЕ, ПЛАСТОВЫЕ И СОПУТСТВУЮЩИЕ ДРЕНАЖИ

3.18. Устройство пристенных, сопутствующих и пластовых дренажей входит в состав предупредительных мероприятий, предохраняющих отдельные здания и сооружения от подтопления грунтовыми водами [37, 42]. Такие дренажи, как правило, сооружаются в период строительства и препятствуют подъему уровня грунтовых вод под защищаемыми сооружениями, а также снижают возможность дополнительного инфильтрационного питания грунтовых вод за счет перехвата и отвода утечек из защищаемых сооружений с мокрым технологическим циклом, отстойников, резервуаров, водонесущих коммуникаций и др. Эти дренажи служат также для отвода верховодки, формирующейся в пазухах фундаментов, грунтах обратной засыпки, траншей и др. Пристенные и пластовые дренажи устраивают одновременно с устройством самих защищаемых сооружений.

Пристенные дренажи применяются для предотвращения подтопления сооружений, расположенных на водоупоре, препятствуя боковому притоку грунтовых вод со стороны, а также дренируя инфильтрационные воды, накапливающиеся в грунтах обратной засыпки фундаментных пазух, траншей и котлованов.

3.19. Пристенные дренажи (рис. 26, а - г) представляют собой вертикальные или наклонные фильтрующие призмы, сочлененные в нижней части с дренажной трубой, имеющей соответствующим образом подобранную фильтрующую обсыпку из рыхлого песчано-гравелистого материала или фильтрующую обертку из тканого или нетканого материала - стеклоткань, минеральный войлок и др. Фильтрующие призмы выполняют из песчаного материала или из пористобетонных плит, блоков и т.п. Пример выполнения пристенного дренажа с применением пористых плит приведен на рис. 26, в.

Рис. 26. Конструктивные схемы пристенных дренажей

1 - защитное сооружение; 2 - гидроизоляция; 3 - щебень; 4 - песок; 5 - песчано-гравийный слой; 6 - глинисто-щебеночная подготовка; 7 - дренажная труба; 8 - непониженный уровень грунтовых вод; 9 - кривая депрессии; 10 - плита из пористого бетона; 11 - трубофильтр; 12 - грунт обратной засыпки

3.20. Пластовые дренажи (рис. 27, а - в) применяются для защиты заглубленных частей сооружений при условии, чтобы дно котлованов и траншей не доходило до водоупора. Применение пластовых дренажей особенно целесообразно в слабопроницаемых грунтах.

Основными конструктивными элементами пластовых дренажей являются песчано-гравийные слои, уложенные в основании защищаемого сооружения и имеющие уклон в одну из сторон внешнего контура сооружения.

Вода, отбираемая из фильтрующих слоев, отводится дренажными трубами, снабженными обратным фильтром, с уклоном в сторону водоприемника.

Рис. 27. Конструктивные схемы пластовых дренажей

а, б - традиционных конструкций; в - с применением пористого бетона

1 - защищаемое сооружение; 2 - гидроизоляция; 3 - прижимная стенка; 4 - глиняный замок; 5 - песчано-гравийный слой; 6 - песок; 7 - щебень: 8 - дренажная труба; 9 - слой пористого бетона; 10 - плиты из пористого бетона; 11 - трубофильтр

Рис. 28. Конструктивные схемы пластовых сопутствующих дренажей

а - обычной конструкции; б - с применением элементов из пористого бетона

1 - водоводы; 2 - защищаемое сооружение; 3 - песчано-гравийная смесь; 4 - щебень; 5 - дренажная труба; 6 - глинобетонная подготовка; 7 - дренажный колодец; 8 - плита из пористого бетона; 9 - трубофильтр

3.21. Сопутствующие дренажи (рис. 28, а, б) представляют разновидность пластовых дренажей ленточного типа и устраиваются для предотвращения подтопления коммуникаций, каналов, галерей, оснований проездов и др. Такие дренажи могут иметь значительную протяженность при небольшой ширине.

Водоприемниками дренажных вод пристенных, пластовых и сопутствующих дренажей могут быть водосточная сеть, в отдельных случаях - канализационная сеть или специальные резервуары-водосборники, откуда дренажные воды перекачиваются в ливневые или канализационные коллекторы.

ВЕНТИЛЯЦИОННЫЕ ДРЕНАЖИ

3.22. Вентиляционный дренаж предназначен для защиты от подтопления и увлажнения грунтовыми водами заглубленных частей зданий и сооружений, расположенных на слабопроницаемых грунтах. Осушающее действие его основано на создании в грунте градиента влагосодержания, под действием которого влага движется к стенке дрены, где испаряется и в парообразном виде уносится продуваемым по дрене воздухом в окружающую среду. Таким образом достигается осушение капиллярном каймы и снижение уровня грунтовых вод [12, 17].

В зависимости от плановой конструкции и взаимного расположения дренажа и защищаемого объекта различают линейный, кольцевой, пристенный и пластовый типы вентиляционных дренажей.

В состав вентиляционного дренажа входят водоприемная часть (дренажный элемент), каналы для подвода и отвода воздуха в дренажный элемент, смотровые колодцы и устройства для организации движения воздуха.

3.23. Основные конструктивные требования к вентиляционному дренажу заключаются в следующем:

обеспечить равномерное (без образования застойных зон) движение воздуха по дренам;

обеспечить устойчивость грунтов в зоне его контакта с дренажной засыпкой;

организовать движение воздуха так, чтобы он покидал дренажную систему в состоянии, близком к насыщенному;

обеспечить максимально возможную поверхность контакта воздуха и обдуваемого грунта (максимально развить поверхность дрены);

обеспечить минимально возможное сопротивление воздушного тракта движению воздуха.

Последовательное стремление удовлетворить перечисленным требованиям вызывает необходимость конструктивного оформления основного (водоприемного) элемента вентиляционного дренажа в виде заполненной грубозернистым материалом (щебень фракций 20 - 40, 30 - 50) дренажной щели, снабженной двумя коллекторами для подачи и отвода воздуха (рис. 29).

Рис. 29. Типы вентиляционного дренажа

а - пластовый; б - пристенный; в - линейный

1 - обратная засыпка; 2 - стена сооружения; 3 - щебеночная подготовка; 4 - нагнетательный коллектор; 5 - щебеночный фильтрующий слой; 6 - выпускной коллектор; 7 - осушаемый грунт; 8 - двухслойное покрытие из пергамина

Ввиду того, что интенсивность осушения вентиляционным дренажем невелика, устройство трубчатых дрен нецелесообразно.

3.24. В зависимости от типа дренажа водоприемный элемент представляет собой горизонтальную дренажную постель, уложенную в основании сооружения (пластовый дренаж), или устроенную в грунте вертикальную дренажную щель, непосредственно прилегающую к стене защищаемого объекта (пристенный дренаж), либо удаленную от него на расстояние 3 - 10 м (линейный и кольцевой дренажи).

Дренажную постель пластового дренажа (рис. 29, а) устраивают, укладывая слой щебня толщиной 0,2 - 0,4 м на предварительно спланированную с уклоном 0,003 - 0,005 в сторону нагнетательного коллектора поверхность грунта основания сооружения.

В отдельных случаях с целью снижения потребной производительности вентилятора дренажную постель рассекают уложенными в шахматном порядке лагами или земляными маяками (рис. 30). При этом улучшаются условия циркуляции воздуха (уменьшается опасность возникновения застойных зон), снижается потребная производительность вентилятора, но увеличивается величина напора и возрастает необходимая мощность двигателя вентилятора. Дренажную постель перекрывают слоем рулонного гидроизоляционного материала (толь, пергамин) с целью предотвращения попадания материала покрытия в щебенчатую засыпку.

Рис. 30. Пластовый вентиляционный дренаж

а - разрез; б - план

1 - естественный грунт; 2 - земляной маяк; 3 - выпуск воздуха; 4 - забор воздуха

Далее в соответствии с проектом конструкции пола сооружения укладывают слой насыпного грунта (земляные полы) или делают бетонную подготовку (бетонные полы).

Дренажную щель линейных и кольцевых дренажей (см. рис. 29, б, в) выполняют специальными механизмами [42, 45], как правило, без крепления, с одновременной укладкой нагнетательного коллектора и засыпкой щебнем.

Рис. 31. Конструктивные схемы колодцев вентиляционного дренажа

а - смотровой колодец; б, в - воздухозаборный и выпускной колодцы

1 - грунт обратной засыпки; 2 - выпускной воздухопровод; 3 - щебень; 4 - нагнетательный трубопровод; 5 - люк; 6 - колодец; 7 - осушаемый грунт; 8 - вентилятор

Дренажную прослойку при устройстве пристенного дренажа выполняют перед засыпкой пазух котлована. При этом необходимо применять временное сборно-щитовое крепление.

3.25. Нагнетательный и выпускной коллекторы представляют собой трубы или короба из сборных элементов с перфорированными стенками. Целесообразно использовать в качестве коллекторов гибкие витые полихлорвиниловые трубы [37]. Диаметр и число отверстий в трубах выбирают из условия, чтобы скорость воздуха не превышала 25 - 30 м/с.

Каналы для подвода, отвода воздуха (воздуховоды) изготавливаются из асбестоцементных, керамических или железобетонных труб обычного сортамента с заделкой стыков. При этом диаметр труб определяется гидравлическим расчетом так, чтобы скорость воздуха в канале не превышала 8 - 10 м/с. Каналы прокладываются с уклоном 0,01 - 0,005 по ходу движения воздуха, в конечной точке устраиваются отстойники для сбора влаги.

Смотровые колодцы устраиваются в местах поворота воздуховодов или, при длине прямолинейного участка свыше 100 м, через каждые 50 м.

3.26. Конструкция воздуховодов, смотровых колодцев и их сопряжений должна исключать присосы и утечки воздуха. Для этого смотровые колодцы (рис. 31, а) необходимо снабдить диафрагмами с герметично закрывающимися люками. Люки должны обеспечивать свободный доступ обслуживающего персонала.

Воздухозаборные и выпускные колодцы-шахты (рис. 31, б, в) должны выполняться в соответствии с рекомендациями [8], также дополнив их отстойниками для сбора конденсата и гравитационной влаги.

ОРГАНИЗАЦИЯ СКЛАДИРОВАНИЯ ОТХОДОВ ПРОИЗВОДСТВА

3.27. Упорядочение и организация отвального хозяйства промышленных предприятий и план складирования отвалов, твердых и жидких стоков должны разрабатываться одновременно и в увязке с проектом планировки и благоустройства территории.

Размещение строительных и производственных отвалов на территории предприятия не допускается. Места складирования твердых промышленных отвалов должны выбираться таким образом, чтобы они не препятствовали естественному стоку поверхностных вод, т.е. преимущественно на отметках, более низких, по отношению к территории, защищаемой от возможного подтопления.

Места складирования жидких отвалов или отвалов, уложенных гидравлическим способом, должны быть оборудованы дренажем для отвода инфильтрационных и отработанных вод в случаях, когда инфильтрация атмосферных и технологических вод из отвалов вызывает опасность подпитывания или загрязнения грунтовых вод.

Поверхность твердых отвалов должна быть спланирована, а в необходимых случаях на них устраивается сеть водоотводящих лотков или канав.

ПРОТИВОФИЛЬТРАЦИОННЫЕ ЭКРАНЫ И ЗАВЕСЫ

3.28. Противофильтрационные устройства (экраны и завесы) применяются для преграждения движения грунтовых вод к защищаемым от полтопления сооружениям и площадкам (противофильтрационные завесы), а также для перехвата инфильтрационных вод, поступающих из водовмещающих наземных и подземных емкостей и сооружений - резервуаров, отстойников, шламохранилищ, накопителей стоков (противофильтрационные экраны).

Противофильтрационные завесы (рис. 32) применяются для [37, 42, 45, 46]:

преграждения потока со стороны рек, каналов и других водоемов;

предотвращения фильтрации из каналов и различных бассейнов.

3.29. Противофильтрационная завеса представляет собой вертикальную непроницаемую штору в грунте, расположенную с одной или нескольких сторон от источника фильтрации. Наиболее эффективны противофильтрационные завесы, доведенные до водоупора или до слабопроницаемых грунтов с коэффициентом фильтрации не более 2 × 10-2 м/сут.

Устройство противофильтрационных завес осуществляется инъекционным методом и методом траншейных стенок.

Для инъекционных противофильтрационные завесы рекомендуется применять:

в сильнотрещиноватых и закарстованных породах - густые цементно-глинистые растворы состава 1 : 2 - 1 : 3;

в полускальных породах - силикатизацию с последующей цементацией;

в крупнозернистых песках - глиноцементные и глинистые растворы, а также смолы;

в средне- и мелкозернистых песках - карбамидные смолы;

в мелкозернистых песках с коэффициентом фильтрации до 5 м/сут кроме смол применяется также раствор силиката натрия с отвердителем из фосфорной кислоты или алюмитана натрия.

В илах и глинах инъекционный метод создания завес не применяется.

Рис. 32. Схема противофильтрационной завесы

1 - горизонт воды в нижнем бьефе; 2 - горизонт воды в верхнем бьефе; 3 - уровень воды в отстойнике; 4 - водоупор

Инъекционные завесы сооружаются методом поэтапного разбуривания скважин с последующим нагнетанием в них твердеющих растворов. На первом этапе расстояние между скважинами составляет 8 - 10 м; на каждом последующем этапе скважины бурят в промежутках между скважинами, пройденными на предыдущем этапе, - до достижения необходимой сплошности сооружаемой завесы.

3.30. Инъекционные завесы (рис. 33) выполняются путем нагнетания твердеющих или нетвердеющих растворов в грунт. При этом рекомендуется применять цементные, глиноцементные, глинистые растворы, а также силикатный гель и смолы.

Цементационные завесы применяются в скальных водоустойчивых породах с раскрытием трещин более 0,1 мм при скорости движения грунтовых вод не более 600 м/сут, а также в галечниковых и гравелистых отложениях с коэффициентами фильтрации 80 - 500 м/сут. При наличии водорастворимых минералов скорость потока грунтовых вод не должна превышать 300 м/сут.

В грунтовых водах, агрессивных по отношению к цементам, применение цементационных завес не целесообразно.

Цементационные растворы должны приготавливаться на портландцементе марки не ниже 300. Кроме того, могут применяться сульфатостойкий цемент и шлакопортландцемент. Для ускорения схватывания цементных растворов применяются жидкое стекло и хлористый кальций, а для повышения стабильности - бентонит.

При цементации грунтов раствор нагнетается в скважины под избыточным давлением от 0,1 до 0,2 МПа и более (от 1 до 2 ати).

Применяются тампонажные цементные растворы двух видов: быстрорасслаивающиеся с большим водоотделением (цементные суспензии) и стабильные растворы с небольшим водоотделением (глиноцементные, цементно-бентонитовые и т.п.).

Быстрорасслаивающиеся растворы наиболее эффективны в сухих и водонасыщенных грунтах, за исключением пористых скальных и полускальных пород (слабосцементированные песчаники, алевролиты и др.).

Стабильные растворы обычно применяются в сухих грунтах с тонкой трещиноватостью. Возможно также применение этих растворов с добавкой песка для тампонажа грунтов с крупной или средней трещиноватостью. Эффективно применение стабильных растворов в комбинации с расслаивающимися. При этом нагнетание производится поочередно с учетом неоднородности грунтов.

Рис. 33. Схема устройства инъекционной завесы

а - расположение инъекционных скважин; б - варианты нагнетания раствора в скважину

I - нисходящими зонами; II - восходящими зонами

1 - скважина; 2 - подача раствора; 3 - закрепленная зона

Закачку раствора в грунт осуществляют зонально участками не более 5 м по вертикали. При этом возможно инъецирование восходящими (в песчаных и галечниковых грунтах) или нисходящими (в трещиноватых скальных породах) зонами.

При наличии в скальном грунте крупных трещин и каверн в цементные растворы добавляются глина, песок, суглинок. При закреплении крупнообломочных пород в цементный раствор добавляются глина, бентонит, а также некоторые реагенты, улучшающие свойства глин.

В тех же условиях, что и цементация, могут применяться глинизация и битумизация грунтов. Однако эти способы применяются значительно реже по сравнению с цементацией, в тех случаях, когда имеются агрессивные к цементам подземные воды. Битумизация путем закачки в грунт расплавленного битума применяется в грунтах (за исключением гравелистых) с коэффициентом фильтрации не более 500 м/сут, например, при наличии в скале крупных трещин.

3.31. Силикатизация заключается в цементировании частиц грунта гелем кремневой кислоты, образуемой силикатными растворами при их смешении с коагулянтом. Коагулянт может быть в виде раствора или газа. В зависимости от степени проницаемости песчаных грунтов рекомендуется одно- или двухрастворный способ силикатизации.

При коэффициенте фильтрации грунта от 0,5 до 5 м/сут применяется однорастворный способ силикатизации, при котором используется один гелеобразующий раствор из смеси силиката натрия с коагулянтом. В зависимости от количества коагулянта гель образуется через определенный заданный период времени.

При устройстве противофильтрационных завес в грунтах с коэффициентом фильтрации от 2 до 80 м/сут применяется двухрастворный способ силикатизации, при котором в грунт закачиваются поочередно раствор силиката натрия и коагулянт (хлористый натрий).

Газовая силикатизация применяется в песчаных грунтах с коэффициентами фильтрации от 0,5 до 20 м/сут при любом содержании в грунте карбонатов или гипса. В качестве коагулянта используется углекислый газ, нагнетаемый из баллонов в грунт после закачки силикатного раствора.

Силикатизация не рекомендуется в грунтах, содержащих нефтяные продукты или смолы, при действительной скорости фильтрации подземных вод более 5 м/сут, при высокой их щелочности: для однорастворного способа рН должно быть не более 7,2, а для двухрастворного - не более 9.

3.32. Смолизация заключается в нагнетании в песчаный грунт растворов высокомолекулярных органических соединений типа карбамида с добавкой кислотных коагулянтов (соляная или щавелевая кислота). При содержании в грунте карбонатов от 0,1 до 3 % грунт необходимо обработать 3 - 5 %-ным раствором кислоты. Смолизация возможна в песках с коэффициентом фильтрации от 0,5 до 50 м/сут.

3.33. Инъекционные завесы обычно устраиваются из 1 - 2 рядов цементационных скважин с расстоянием между рядами 1 - 3 м и между скважинами в ряду 1,5 - 5 м.

При силикатизации и смолизации песков закрепление следует производить заходками сверху вниз. При увеличении коэффициента фильтрации с глубиной закрепление производится снизу вверх. При слоистом строении песчаной толщи, где коэффициенты фильтрации слоев отличаются по значению более чем на 30 %, нагнетать химические растворы следует раздельно по слоям, начиная с наиболее проницаемого слоя.

Закрепление грунта осуществляется по глубине заходками, высота которых равна длине перфорированной части инъектора с добавлением радиуса закрепления.

Инъекционное оборудование следует подбирать с учетом удельных расходов, требуемых давлений и агрессивности нагнетаемых химических растворов. Для инъекторов используются стальные трубы - с внутренним диаметром 25 - 50 мм.

Инъекторы могут устанавливаться в заранее пробуренные скважины, погружаться в грунт забивкой с помощью воздуха, задавливаться. Бурение скважин под инъекторы для силикатизации и смолизации осуществляется станками и оборудованием для проходки скважин диаметром 60 - 127 мм на глубину 15 - 30 м.

Для нагнетания растворов в грунт применяются плунжерные насосы ПС-4Б, НС-3, НД, шестеренчатые насосы типа БГ, пневматические установки, в состав которых входит емкость объемом 0,5 - 1 м3, выдерживающая давление до 0,8 МПа (8 ати). Перекачка растворов предусматривается по резинотканевым шлангам с внутренним диаметром 12 - 25 мм, выдерживающим давление до 3 МПа (30 ати).

Величина давления при нагнетании силикатных и смоляных растворов должна предусматриваться проектом. При нагнетании до глубины 15 м предельная величина давления не должна превышать: при однорастворной силикатизации и смолизации - 1 МПа (10 ати), при двухрастворной - 1,5 МПа (15 ати).

3.34. Противофильтрационные завесы, выполняемые методом траншейных стенок, представляют собой вертикальную стенку в грунте, устроенную в узкой траншее, заполненной твердеющим или нетвердеющим непроницаемым материалом. Ширина таких завес составляет обычно 0,4 - 0,8 м.

Наиболее эффективно применение данного типа завес в нескольких грунтах. Однако возможно устройство этих ПФЗ и в скальных грунтах небольшой прочности (песчаники, алевролиты, аргиллиты и т.п.).

В качестве твердеющих материалов применяют бетоны и грунтобетоны на цементном, полимерном, битумном и других вяжущих. В качестве наполнителей могут быть использованы суглинки с добавками глинистых суспензий (бентонит и др.). При этом глинистые частицы кольматируют поры грунта, образуя практически непроницаемую глинистую корку.

При приготовлении раствора из бентонитовых глин его удельный вес должен находиться в пределах 1,05 - 1,15 гс/см3, а при применении глин других типов - 1,1 - 1,3 гс/см3.

Для улучшения показателей глинистого раствора используются добавки в виде кальцинированной или каустической соды, карбоксиметилцеллюлозы, фосфатов, извести и т.д.

3.35. Для сооружения траншейных противофильтрационных завес применяются различные машины и оборудование, которые могут быть специализированные и неспециализированные, т.е. в основном предназначенные для выполнения других видов работ.

К специализированным относятся траншеекопатель ГТК конструкции ВНИИГСа, барражные машины БМ-10/0,5 и БМ-50/0,5 конструкции ВИОГЕМа, агрегаты СВД-500 и СВД-500Р конструкции Гидропроекта (Киевское отделение), грейферы конструкции Фундаментпроекта, НИИОСПа, НИИСПа и др.

Кроме того, для проходки завес траншейного типа применяются серийные землеройные машины со специальным навесным оборудованием: экскаватор-драглайн Э-652, экскаватор Э-1001, экскаватор обратная лопата.

Более подробно вопросы проектирования и устройства противофильтрационных завес освещаются в специальной литературе [45, 46, 49].

3.36. Противофильтрационные экраны рекомендуется применять при устройстве шламохранилищ, наземных и подземных резервуаров и т.п. Такие экраны представляют собой площадные устройства, выполненные из одного или нескольких слоев непроницаемых материалов, которые могут сочетаться с дренирующими устройствами типа фильтрующих постелей и др. [30].

Находят применение следующие конструкции противофильтрационных экранов:

однословная глинистая;

двухслойная глинистая;

то же, с полиэтиленовым пленочным покрытием;

то же, с применением асфальтобетона.

Однослойный глинистый экран представляет собой слой уплотненной глины толщиной 0,5 - 1 м с коэффициентом фильтрации не более 10-3 м/сут. При применении такого экрана не удается полностью устранить потери жидкости из защищаемого хранилища.

Для повышения защитного эффекта устраивается двухслойный глинистый экран (рис. 34, а), состоящий из двух прослоев уплотненной глины с пластовым дренажем между ними.

Экран с полиэтиленовым покрытием (рис. 34, б) выполняется из полиэтиленовой пленки толщиной 0,2; 0,4 или 0,6 мм, которая укладывается на выравнивающий слой песчаной подготовки либо на выровненную и укатанную поверхность экранируемого грунта.

Соединение пленки в сплошное водонепроницаемое покрытие осуществляется путем склеивания или сварки отдельных лент специальными аппаратами. Поверх пленки укладывается защитный слой грунта для предохранения пленки от механических повреждений. Толщина выравнивающего и защитного слоев обычно принимается равной 0,15 - 0,2 м.

Для повышения надежности однослойного пленочного экрана возможна укладка поверх пленки уплотненного слоя глинистого грунта, играющего одновременно и роль защитного покрытия.

Пленочный экран может иметь и двухслойное строение в случаях, когда нужно обеспечить максимально надежное экранирование защищаемого сооружения для предотвращения утечек в грунты.

Двухслойный пленочный экран состоит из двух слоев полиэтиленовой пленки (рис. 34, в), разделенных между собой слоем песчаного грунта, играющего роль пластового дренажа. Отвод воды из песчаного слоя осуществляется трубчатыми дренами.

Рис. 34. Схемы противофильтрационных экранов

а - двухслойный глинистый экран; б - однослойный пленочный экран; в - двухслойный пленочный экран; г - асфальтобетонный экран; д - усиленный асфальтобетонный экран

1 - защитный слой; 2 - глиняный слой; 3 - дренирующий слой; 4 - выравнивающий слой; 5 - дренажная труба; 6 - пленка; 7 - пористый фильтрующий асфальтобетон; 8 - асфальтобетон; 9 - протравленное основание

Асфальтобетонные экраны рекомендуется применять для резервуаров и емкостей, содержащих жидкие продукты, не обладающие сильнощелочной реакцией.

Асфальтобетонные экраны (рис. 34, г) устраиваются из асфальтовых материалов и представляют собой сплошные покрытия толщиной 0,3 - 0,4 м, укладываемые на специальное основание, протравленное ядохимикатами. Поверхность асфальтобетонного покрытия следует покрывать слоем литого асфальтового раствора или мастики толщиной 10 - 20 мм. Поверх асфальтобетонного покрытия укладывается защитный глинистый слой.

На хранилищах вредных стоков асфальтобетонные экраны выполняются двухслойными (рис. 34, д) с устройством между слоями асфальтобетона дренажной прослойки из пористого асфальтобетона толщиной 8 - 12 см.

ПЕРЕХВАТЫВАЮЩИЕ ДРЕНАЖИ

3.37. Перехватывающие дренажи применяются для полного или частичного перехвата грунтовых вод, поступающих на защищаемую территорию со стороны водоразделов, водохранилищ, массивов орошения и т.п. При этом выделяют головной, отсечной, береговой дренажи. Дренажи такого типа могут быть горизонтальными, вертикальными или комбинированными. Одним из преимуществ перехватывающих дренажей является то, что они обычно устраиваются вне защищаемой территории, что особенно важно при предотвращении подтопления уже застроенных территорий [3, 42].

3.38. Головной однолинейный дренаж служит для перехвата грунтовых вод, поступающих со стороны водораздела. Такой дренаж располагают выше по потоку грунтовых вод от защищаемого участка. Устройство головного горизонтального дренажа наиболее эффективно при относительно неглубоком залегании водоупора. При глубоком залегании водоупора целесообразно устройство линейного ряда вертикальных дренажных скважин, а также комбинированного дренажа.

При наличии в гидрогеологическом разрезе хорошо проницаемых пород однолинейный дренаж может быть выполнен в виде вертикального ряда поглощающих скважин.

Схема головного дренажа приведена на рис. 35.

Рис. 35. Схема головного дренажа

1 - линия дренажа; 2 - смотровой колодец; 3 - отводящий коллектор; 4 - контур защищаемого сооружения; 5 - направление потока грунтовых вод; 6 - естественный уровень грунтовых вод; 7 - пониженный уровень грунтовых вод; 8 - дрена

Рис. 36. Схема берегового дренажа

а - горизонтального; б - вертикального; в - комбинированного

1 - защищаемое сооружение; 2 - линия дренажа; 3 - смотровой колодец; 4 - насосная станция; 5 - естественный уровень грунтовых вод; 6 - пониженный уровень грунтовых вод; 7 - дрена; 8 - уровень воды в реке; 9 - водоупор; 10 - подпертый уровень воды в реке (водохранилище)

3.39. Береговой дренаж служит для перехвата подземных вод, формирующихся в зоне влияния реки или водохранилища. Разновидностью берегового дренажа является придамбовый дренаж.

В зависимости от конкретных гидрогеологических условий защищаемой территории береговой дренаж выполняется в виде горизонтальной дрены, ряда вертикальных скважин или комбинированного дренажа.

Схемы берегового дренажа показаны на рис. 36.

3.40. Отсечной дренаж применяется для перехвата потока грунтовых вод, поступающего с соседних обводненных территорий (массивов орошения, подтопленных территорий промышленных предприятий, например ТЭЦ и др.).

Более подробно конструкции перехватывающих дренажей изложены в разд. 4.

4. СООРУЖЕНИЯ ПО ЗАЩИТЕ ТЕРРИТОРИЙ ОТ ПОДТОПЛЕНИЯ И ИХ КОНСТРУКЦИИ

На застроенных и подтопленных городских территориях или площадках промышленных предприятий основным способом защиты оснований отдельных зданий, коммуникаций или территории в целом от подземных вод является сооружение дренажа, которое должно осуществляться в сочетании с мероприятиями по организации поверхностного стока, устранению потерь воды из водонесущих коммуникаций и водосодержащих емкостей и др. [1, 3, 16].

ОБЩАЯ ХАРАКТЕРИСТИКА ДРЕНАЖНЫХ СИСТЕМ

4.1. Дренажная система должна обеспечить на защищаемой территории понижение уровней грунтовых вод до требуемых величин, быть простой, долговечной и экономичной в эксплуатации. При защите от подтопления подвальных частей зданий и сооружений, а также подземных коммуникаций величина требуемого понижения определяется их заглублением, при защите территорий она принимается в соответствии с нормой осушения*. Значения нормы осушения, м, на соответствующей территории приведены ниже.

* Под нормой осушения понимается вертикальное расстояние от поверхности планировки до уровня грунтовых вод.

Территория крупных промышленных зон и комплексов              до 15

Городские промышленные зоны, коммунально-складские зоны,

центры крупнейших и крупных городов                                               5

Селитебные зоны городов                                                                       3

Территории оздоровительно-рекреационного характера                   2

Под зданиями и сооружениями уровень грунтовых вод должен располагаться ниже отметки заложения подошвы фундаментов не менее чем на 0,5 м. При этом защита фундаментов и подвалов от капиллярной влаги осуществляется путем устройства соответствующей гидроизоляции.

4.2. В зависимости от степени подтопления территории, последствий подтопления и материального ущерба от него, природных условий, возможностей строительства защитных сооружений и устройств защитные мероприятия осуществляются на всей рассматриваемой территории или только ее части.

Выбор системы защитных мероприятий осуществляется на основе водобалансовых, фильтрационных и гидравлических расчетов, а также технико-экономического сравнения вариантов. При этом они не должны приводить к следующим неблагоприятным последствиям:

нарушению физико-механических свойств грунтов в основании существующих зданий и сооружений при понижении уровней грунтовых вод;

снижению производительности подземных водоносных горизонтов, используемых для водоснабжения;

увеличению фильтрационных потерь из искусственных технических водоемов;

загрязнению подземных водоносных горизонтов при организации сброса в них дренажных вод.

4.3. Мероприятия по общей защите застроенных территорий от подтопления осуществляются в тех случаях, когда в их пределах располагается большое количество зданий и сооружений и все они, а также сама территория нуждаются в защите от подтопления. Для этих целей используются однолинейные, двухлинейные и площадные системы дренажей горизонтального, вертикального или комбинированного типа. При очаговом характере подтопления нуждаются в защите, как правило, отдельные здания и сооружения. Это достигается применением локальных дренажей - контурных (кольцевых), линейных, лучевых, пластовых, пристенных и т.д. Локальные дренажи применяются также в тех случаях, когда мероприятия по общей защите территории не обеспечивают требуемых понижений в основании отдельных зданий [1, 2 - 4, 42].

4.4. По принципу отбора воды и влаги из грунта применяются дренажи гравитационного действия и специальные - вакуумные, вентиляционные и пневмонагнетательные. Гравитационные дренажи наиболее эффективно работают при осушении хорошо проницаемых грунтов (с коэффициентом фильтрации более 0,5 - 1 м/сут), специальные дренажи целесообразно применять при осушении слабопроницаемых грунтов (супеси, суглинки и др.). На практике в настоящее время в основном применяются гравитационные дренажи, специальные дренажи не вышли из стадии экспериментального изучения.

КОНСТРУКЦИИ ДРЕНАЖЕЙ

4.5. Всякое дренажное сооружение конструктивно состоит из двух основных элементов - водоприемного и водоотводящего. Первый из них обеспечивает прием воды из водоносного пласта, второй - отвод поступившей воды за пределы осушаемой территории. Отвод воды может быть самотечным или принудительным в зависимости от конкретной обстановки.

По характеру пространственного расположения водоприемного и водоотводящего конструктивных элементов дренажей последние подразделяются на горизонтальные, вертикальные и комбинированные.

Горизонтальные дренажи

4.6. Горизонтальный гравитационный дренаж является наиболее распространенным видом дренажа, применяется для защиты от подтопления грунтовыми водами значительных территорий, небольших участков или отдельных сооружений и, как самостоятельный элемент инженерной зашиты, обычно укладывается на глубинах до 6 - 8 м. В ряде случаев, например при устройстве сопутствующих дренажей различных коммуникаций и тоннелей или дренажей, укладываемых внутри контура заглубленной части сооружения, а также при устройстве лучевых дренажей горизонтальные дрены могут укладываться и на глубину, значительно превышающую указанную.

В современных условиях промышленной и городской застройки обычно устраивается закрытый дренаж трубчатого тина, хотя при определенных обстоятельствах не исключается применение и открытого горизонтального дренажа в виде траншеи или канала.

Разновидностью горизонтального дренажа является пластовый дренаж.

4.7. В современной практике строительства горизонтальных трубчатых дренажей на промышленных и городских территориях применяются три основных конструктивных типа:

традиционной конструкции с трубчатой основой из керамических, асбестоцементных, бетонных, чугунных, реже пластмассовых труб (табл. 24) с двумя-тремя слоями фильтрующей обсыпки из рыхлого сортированного материала - песка, гравия, щебня (рис. 37);

с трубчатой основой и фильтрующими обертками из различного типа тканых и нетканых минеральных или полимерных материалов (рис. 38); эти обертки могут применяться как самостоятельно, так и в сочетании с обсыпками из рыхлых материалов;

с применением трубофильтров (рис. 39) в сочетании с одним слоем песчаной обсыпки, или с фильтрующей оберткой, или без таковых.

Крупность материала и количество слоев рыхлых обсыпок в дренажах традиционной конструкции подбирается по соответствующим методикам в зависимости от условий дренирования, вида дренируемого грунта и выбранных форм и размеров водоприемных отверстий.

4.8. Прием воды из пласта производится либо через стыковые зазоры между дренажными трубами, либо через круглые отверстия или щелевые пропилы в стенке трубы. Пробивать отверстия в стенке труб запрещается. В последнее время для соединения дренажных труб применяют также эластичные пластмассовые (полиэтилен, капрон) муфты с отверстиями, выполняющими роль водоприемных.

Конструкция соединительной полиэтиленовой муфты и дрены с применением таких муфт представлены на рис. 40, 41, а параметры таких муфт даны в табл. 25.

Варианты выполнения трубчатых горизонтальных дренажей традиционной конструкции показаны на рис. 37 [1, 3, 42].

Таблица 24

Материал труб

Внутренний диаметр труб, мм

Допустимая глубина укладки труб, м

1. Керамические дренажные (ГОСТ 8411-74*)

150

3,5

200

-

250

-

2. Керамические канализационные (ГОСТ 286-82)

1500

7,5

200

6

250

5,5

300

5

3. Асбестоцементные безнапорные (ГОСТ 1839-80*, ГОСТ 539-80*)

150

3 - 6

200

-

250

-

300

-

4. Бетонные и железобетонные: ГОСТ 6482-88, ГОСТ 6482-88

200

-

250

3,5

300

До 8 м (см. Инструкцию по проектированию и монтажу сетей водоснабжения и канализации из пластмассовых труб. СН 478-80)

5. Полиэтиленовые гладкостенные ПВП и ПНП (ГОСТ 18599-83*)

110

140

160

200

6. Гибкие витые из ПВХ по ТУ-33 УССР 38-74 или гофрированные из ПВП по ТУ-6-05-1078-72

100

До 4 - 7 м (в зависимости от вида труб)

125

150

-

200

-

250

7. Трубофильтры керамзитобетонные дренажные (ТУ 400-1-415-77 - «Главмоспромстройматериалы»)

150

По расчету

8. Трубофильтры из пористого полимербетона (ВТУ по технологии изготовления и применения пористых полимербетонных трубофильтров. - Госстрой Туркменской ССР)

150

-

200

До 5

250

-

300

-

9. Трубы дренажные из крупнопористого фильтрационного бетона на плотных заполнителях (ВСН-13-77 Минэнерго СССР)

150

-

200

8 - 10

250

-

300

-

350

-

400

8

500

8

Рис. 37. Конструктивные схемы горизонтальных трубчатых дренажей, укладываемых в траншею

а - с двухслойной обсыпкой; б - с трехслойной обсыпкой

1 - дренажная труба; 2 - щебень или гравий; 3 - крупнозернистый песок; 4 - обратная засыпка траншеи местным грунтом; 5 - разнозернистый песок

Рис. 38. Конструкции трубчатого горизонтального дренажа с фильтрующими обертками из волокнистых материалов

а - варианты сочетания волокнистых материалов с дренажной трубой; б - конструктивные схемы дрен

1 - дренажная труба; 2 - стеклохолст или стеклосетка; 3 - стекловойлок; 4 - песчаная обсыпка; 5 - обратная засыпка

Рис. 39. Конструкции дренажей с применением трубофильтров

I. Формы сечения трубофильтров и характер торцов

а - цилиндрическая круглая с плоским торцом; б - с фальцевым торцом; в - с плоским основанием; г - многогранная

II. Схемы укладки трубофильтров в дренажах

а - без обсыпки; б - с применением фильтрующих оберток; в - с обсыпкой песком

III. Конструктивные схемы дренажей с трубофильтрами

а - пристенный дренаж; б - сопутствующий дренаж тоннеля

1 - трубофильтр; 2 - фильтрующая обертка; 3 - обсыпка; 4 - контур защищаемого сооружения; 5 - щебень

В конструкциях с применением фильтрующих оберток из минеральных материалов (стекловолокнистые холсты и сетки, маты из штапельного базальтового волокна или стекловаты и др.) тканые материалы обычно применяются в сочетании с войлоком, матами и т.п. или в сочетании с однослойной песчаной обсыпкой (см. рис. 38). Технические требования к устройству дренажных фильтров из искусственных минеральных волокнистых материалов определяются положениями ОСТ 33-10-73.

Рис. 40. Конструкция гибкой соединительной муфты

1 - корпус муфты, 2 - уплотняющий выступ; 3 - гофры с микрощелевой перфорацией

Примечание. Буквами обозначены характерные размеры муфты

Рис. 41. Конструкция дрены с применением гибких соединительных муфт

1 - дренажная траншея; 2 - дренажная труба; 3 - фильтрующая обсыпка; 4 - грунт обратной засыпки; 5 - соединительная муфта

Таблица 25

D1

D2

D3

D4

d

L

A

B

C

F

R1

R2

a°

50

48

65

52

2

90

45

10

20

9

1

20

45

75

70

86

77

2

100

50

10

20

12

1

20

45

100

95

116

102

2,5

120

60

15

30

12

1

20

45

125

120

140

127

2,5

130

65

15

30

12

1

25

45

150

144

170

152

3

150

73

15

35

14

1,5

30

45

Характеристики материалов, допускаемых к использованию в качестве фильтрующих оберток трубчатых горизонтальных дренажей, приведены в табл. 26 [32, 33].

4.9. Конструкции горизонтального трубчатого дренажа с применением трубофильтров из пористого бетона на цементном связующем или из полимербетона позволяют вести строительство дренажей на современной индустриальной основе. Применение таких конструкций снижает затраты на строительство дренажей, сокращает применение ручного труда и уменьшает сроки строительства, а также позволяет обеспечивать более тщательный контроль за выполнением технических требований по устройству дренажа [41].

Трубофильтр представляет собой трубу с пористыми стенками, сочетающую функции водоотводящей трубы и фильтрующей обсыпки. В песчаных грунтах трубофильтры укладываются без обсыпки, в связных грунтах - с одним слоем обсыпки песчаным грунтом или с оберткой их по спирали стеклохолстами марок ВВ-Г, ВВ-К, ВВ-Т в четыре-пять слоев при толщине стеклохолста 0,5 мм и в два слоя при толщине стеклохолста 1 мм.

Таблица 26

Материалы

Основание

Длина, м

Ширина, см

Толщина, мм

Единица измерения

Масса единицы, кг

Диаметр волокна, мк

Маты, прошитые из штампованного базальтового волокна

ТУ 33 УССР 1-92

-

70 ± 3

75

м3

60 кг

15 - 25

 

 

85 ± 4

75

»

70 »

 

Войлок из штапельного базальтового волокна

ТУ 611-215-71

-

100 ± 5

50

»

40 - 50 кг

15

Стекловолокнистый холст

ВВ-Г МРТУ 6-11-3-64

100 - 200

40 ± 1

0,4 ± 1

м2

50 ± 15 г

£ 15

То же

ВВК, ТУ 21-23-3-68

170

96 ± 2

0,6 ± 0,2

»

100 ± 30 »

£ 18

»

ВВ-Т МРТУ

50 - 100

150 + 2

0,5

»

100 ± 37 »

£ 18

»

6-11-13-64

0,8 ± 0,3

Стеклосетка

СЭ (ССТЭ-6) ГОСТ 8481-75*

50 - 100

60, 70, 80, 90, 100

0,2

м2

200 г

14

»

СС-1

50 - 100

60, 70, 80, 90

0,1 - 0,2

»

-

14

»

СТУ 27-120-64

Примеры конструкций горизонтальных трубчатых дренажей с применением трубофильтров приведены на рис. 39.

Лучевые дренажи

4.10. Лучевой дренаж представляет собой горизонтальные трубчатые дрены, выполненные методом горизонтального бурения из заглубленных сооружений или специальных шахтных колодцев диаметром до 4,5 - 5 м, шурфов и т.п., когда проходка открытых траншей для укладки горизонтальных дрен по каким-либо обстоятельствам затруднена или невозможна (например, при большой плотности коммуникаций, под сооружениями и др.), а также при необходимости укладки дрен на глубину, превышающую среднюю глубину проходки открытых траншей, обеспечиваемую строительными землеройными механизмами [26, 42].

Рис. 42. Схема устройства приустьевой части лучевой дрены

1 - бетонное крепление стенок колодца; 2 - сальниковая набивка; 3 - обсадная труба; 4 - трубофильтр; 5 - направляющий патрубок; 6 - насос; 7 - всасывающий патрубок; 8, 9 - датчики верхнего и нижнего уровней дренажных вод в водоприемнике

Рис. 43. Схематический разрез конуса для гидробурения лучевых дрен и детали прохода трубы в стенке колодца

1 - буровой конус; 2 - отверстия для выхода размывающей струи; 3 - щели для приема шлама; 4 - 6 - фильтровая, шламовая и промывная трубы; 7 - кожух в стенке колодца; 8 - сальниковые уплотнения; 9 - бетонная заделка штрабы

Водоприемным элементом лучевой дрены является перфорированная труба с обертками из волокнистых материалов или трубофильтры, которые вдвигаются в буровую трубу и оставляются в полости горизонтальной скважины после извлечения обсадных труб (рис. 42, 43).

Из одного шахтного колодца последовательно могут буриться в разные стороны 4 - 6 лучей длиной 30 м и более.

Особенно целесообразно устройство лучевых дренажей при наличии в толще обводненных слабопроницаемых пород маломощного пласта с высокой водопроницаемостью, отбор воды из которого по своему действию будет идентичен осушительному действию пластового дренажа.

Рис. 44. Схема проходки лучевого дренажа

а - разрез по I - I; б - план

1 - шахтный колодец; 2 - гидродомкраты; 3 - упорный блок; 4 - дрена; 5 - буровой конус; 6 - маслонасосы; 7 - маслоотстойник; 8 - насос для откачки шлама из колодца; 9 - насос подачи воды для гидробурения

4.11. Основными элементами устройства для сооружения лучевого дренажа являются вертикальный ствол с бетонированными стенками и днищем, глубина которого обычно принимается на 2,5 - 3 м ниже лотка дрены; в стволе устанавливается поворотная монтажная площадка, оснащенная гидродомкратами, маслонасосами, насосами для подачи воды для гидроразмыва грунта и грязевым насосом для откачки бурового шлама и др. Общая схема такого устройства для сооружения лучевого дренажа показана на рис. 44.

Действие лучевого дренажа может быть усилено путем вакуумирования полости водосборного колодца. С этой целью устье колодца герметизируется, а колодец оборудуется вакуум-насосом.

Галерейные дренажи

4.12. В некоторых случаях, например, при высокой плотности застройки территории, насыщенности ее подземными коммуникациями в условиях значительной мощности слабопроницаемых обводненных пород, залегающих на водоупоре, целесообразно устройство горизонтального дренажа в виде проходной, водосборной галереи, устраиваемой методом подземной проходки на глубинах 10 м и более. Высота проходных галерей принимается в пределах 1,6 - 1,8 м.

В связи со сложностью устройства фильтрующих обсыпок при проходке дренажных галерей целесообразно вместо таких обсыпок включать в несущую оболочку галереи вставки из искусственных пористых фильтрующих материалов, например пористого бетона, пористого полимербетона и др.

Рис. 45. Конструкция проходных дренажных галерей

а - из железобетонных плит

1, 3, 5 - плиты; 2 - вставка из пористого фильтрующего материала; 4 - бетонная подготовка; 6 - заделка бетонным раствором

б - из монолитного бетона

1 - оболочка галереи; 2 - вставка из пористого фильтрующего материала

в - из бетонных камней блоков

1 - бетонный блок; 2 - заделка швов; 3 - незаделанные (водоприемные) швы; 4 - песчано-гравийная обсыпка

Примеры конструктивного выполнения дренажных галерей представлены на рис. 45.

Вертикальные дренажи

4.13. Вертикальный дренаж представляет собой ряд или группу вертикальных скважин, предназначенных для отбора подземных вод и снижения их уровня, и применяется в тех случаях, когда устройство горизонтального дренажа является экономически нецелесообразным, или представляется затруднительным либо даже невозможным вследствие высокой плотности застройки подтапливаемой территории и насыщенности ее инженерными коммуникациями [1, 3, 42].

В отдельных случаях необходимое снижение уровней грунтовых вод может быть обеспечено устройством одиночной скважины.

По геолого-гидрогеологическим условиям вертикальный дренаж целесообразно применять:

в обводненных грунтах достаточно высокой проницаемости (с коэффициентом фильтрации более 5 м/сут), мощности обводненных пород, превышающей несколько метров, и глубине залегания водоупора свыше 8 - 10 м;

при двухслойном строении обводненной толщи пород, когда верхний слой сложен слабопроницаемыми глинистыми породами мощностью несколько метров, а нижний - хорошо проницаемыми породами;

при многослойном строении обводненной толщи пород значительной (более 10 м) мощности.

Применение вертикального дренажа может оказаться целесообразным и при необходимости снижения уровня грунтовых вод в пределах отдельных их куполов, сформировавшихся в толще слабопроницаемых пород (с коэффициентом фильтрации порядка 1 м/сут) большой мощности (в несколько десятков метров).

4.14. Основными конструктивными элементами водопонизительной скважины вертикального дренажа являются:

ствол, обычно закрепленный обсадными трубами;

фильтр с надфильтровой трубой;

водоподъемное оборудование.

Обсадные трубы выполняют функции крепления стенок скважины, обеспечивая их устойчивость как в период проходки скважины, так и в период ее эксплуатации. В большинстве случаев после устройства дренажной, скважины и оборудования ее фильтровой колонной и фильтром обсадные трубы извлекаются полностью или частично.

Схемы конструктивных вариантов устройства, ствола дренажной скважины показаны на рис. 46, а, б.

Конструкцию с устройством песчано-гравийной засыпки в пространстве между стенкой скважины и фильтровой колонной (рис. 46, а) на всю длину целесообразно применять в дренажных скважинах сравнительно небольшой глубины, а также в условиях дренирования слоистой толщи пород.

4.15. Вертикальные поглощающие дренажные скважины устраиваются в тех случаях, когда нет опасности загрязнения подземных вод нижележащего (поглощающего) водоносного горизонта.

В конструктивном отношении поглощающие скважины представляют собой буровые полости со сплошным заполнением их песчано-гравийной смесью или оборудуются фильтровой колонной с фильтрами, расположенными в пределах дренируемого и водопоглощающего слоев. Вокруг фильтровой колонны выполняется обсыпка песчано-гравийным материалом (рис. 47).

4.16. Скважины вертикального дренажа оборудуются фильтрами, конструкции которых могут быть различными. Основными элементами фильтра являются каркас и водоприемная поверхность. Применяются каркасы стержневые, трубчатые, с круглой или щелевой перфорацией, а также каркасы из штампованного листа. Водоприемная поверхность выполняется в виде проволочной обмотки, штампованного листа, металлических и неметаллических сеток, трубофильтров из различных искусственных пористых материалов, а также песчано-гравийной засыпки.

Рис. 46. Схемы конструкций скважин вертикального дренажа

а - без крепления обсадными трубами; б - с частичным креплением обсадными трубами

1 - цементный замок; 2 - кондуктор; 3 - ствол скважины; 4 - песчано-гравийная засыпка; 5 - фильтровая колонна; 6 - водоподъемная колонна; 7 - насос; 8 - фильтр; 9 - отстойник; 10 - направляющий (центрирующий) фонарь; 11 - динамический уровень воды в скважине; 12 - сальниковое уплотнение; 13 - обсадная труба

Наиболее распространенным и эффективным типом фильтров являются песчано-гравийные фильтры, которые подразделяются на засыпные, кожуховые и блочные фильтры [38].

Основные конструктивные типы фильтров представлены на рис. 48.

В качестве конструкционных материалов для изготовления трубчатых каркасов фильтров применяются трубы горячекатаные, электросварные (ГОСТ 10706-76*), трубы полиэтиленовые (ГОСТ 18599-83*) или поливинилхлоридные (ТУ МХП 6-05-1573-72), трубы асбестоцементные (ГОСТ 539-80*).

Рис. 47. Схемы конструкций вертикальных поглощающих дренажных скважин

а - со сплошным заполнением ствола скважины фильтрующим материалом; б - с фильтровой колонной

1 - осушаемый слой; 2 - уровень грунтовых вод; 3 - слабопроницаемый слой; 4 - поглощающий слой; 5 - глиняный замок; 6 - песчано-гравийная засыпка; 7 - фильтр; 8 - фильтровая колонна; 9 - отстойник; 10 - крышка

Для изготовления стержневых каркасов применяется сталь прутковая марок Ст3, Ст5, Ст7 диаметрами 12, 14, 16 мм, а также соединительные патрубки и опорные кольца из горячекатаных труб.

Проволочные обмотки каркасов выполняются из стальной нержавеющей проволоки (ГОСТ 5632-72*) диаметром 2 - 4 мм. Штампованные элементы водоприемных поверхностей изготавливаются из листовой нержавеющей стали (ГОСТ 5282-82) толщиной 0,8 - 1 мм.

Сетчатые элементы водоприемных поверхностей выполняются из сеток синтетических гладкого (ГОСТ 6613-86) или квадратного плетения (ГОСТ 3187-76*), сеток из нержавеющей стали или латуни гладкого (ГОСТ 3185-75*) или квадратного плетения (ГОСТ 6513-86*), сеток галунного плетения и др.

4.17. Отбор воды из скважин вертикального дренажа осуществляется различными типами водоподъемных устройств в зависимости от глубины динамического уровня воды в скважине, ее диаметра, водообильности дренируемого водоносного пласта и др. При этом применяются насосы с погружными электродвигателями типа ЭЦВ, насоса с трансмиссионным приводом типа УЦТВ, АТН и А, горизонтальные центробежные насосы, а также вакуумные или эрлифтные водоподъемные устройства.

Рис. 48. Конструктивные типы фильтров скважин вертикальных дренажей

а - на основе стержневых каркасов; б - на основе трубчатых каркасов со щелевой перфорацией; в - на основе трубчатых каркасов с круглой перфорацией; г - гравийные фильтры

1 - стержневой каркас на опорных кольцах; 2 - трубчатый каркас с круглой перфорацией; 3 - щелевой трубчатый каркас; 4 - проволочная обмотка из нержавеющей стали; 5 - опорная проволочная спираль; 6 - штампованный лист из нержавеющей стали; 7 - опорные проволочные стержни под проволочную обмотку и штампованный лист; 8 - сетка из нержавеющей стали или латуни; 9 - сетка подкладная, синтетическая; 10 - рыхлая обсыпка; 11 - гравийная обсыпка в кожухе; 12 - гравийный блок

Насосами обычно оборудуются одиночные дренажные скважины. При наличии ряда сравнительно близко расположенных дренажных скважин целесообразно устройство эрлифтных или вакуумных систем, которые позволяют отказаться от установки насосов в каждой отдельной скважине [37].

Рис. 49. Схемы оборудования дренажных скважин насосами

а - насосная установка с погружным электродвигателем; б - насосная установка с трансмиссионным валом; в - оборудование скважины горизонтальным центробежным насосом

1 - кондуктор; 2 - цементная заливка; 3 - фильтровая колонна; 4 - водоподъемная колонна труб; 5 - электродвигатель; 6 - насос; 7 - манометр; 8 - задвижка; 9 - приемный клапан; 10 - бетонный фундамент; 11 - опорный блок

Рис. 50. Схема отвода воды из самоизливающихся скважин глухим коллектором

1 - смотровой колодец; 2 - самоизливающаяся скважина; 3 - глухой коллектор; 4 - водосборник

Рис. 51. Конструктивная схема дренажной скважины с эрлифтным отбором воды

1 - смотровой колодец; 2 - водоотводящий коллектор; 3 - поток; 4 - обсадная труба; 5 - крышка; 6 - горловина смотрового колодца; 7 - магистральный воздухопровод; 8 - выпускной патрубок; 9 - бетонная подготовка; 10 - надфильтровая (водоподъемная) труба; 11 - воздушная труба; 12 - гравийная обсыпка

Схема оборудования дренажных скважин насосами приведена на рис. 49.

4.18. В отдельных случаях необходимое снижение уровня подземных вод на подтапливаемой территории может быть осуществлено самоизливающимися дренажными скважинами. Отвод воды из группы или ряда таких скважин целесообразно осуществлять посредством устройства глухого коллектора, в который поступает вода из каждой самоизливающейся скважины, а затем отводится в сборный водоприемник, откуда откачивается насосами.

При этом над устьем каждой скважины устраивается смотровой колодец.

Схема конструкции самотечного глухого коллектора показана на рис. 50.

В эрлифтных системах отбора и отвода дренажных вод эрлифтное оборудование устанавливается в каждой скважине, а сами скважины подсоединяются к общей воздухоподающей линии и линии водоотвода. Подача воздуха в магистральный воздушный трубопровод осуществляется от центральной компрессорной станции. Каждая дренажная скважина оборудуется специальным регулятором подачи воздуха, позволяющим поддерживать заданный отбор воды. Конструктивная схема обустройства дренажной скважины с эрлифтным водоотбором показана на рис. 51.

Рис. 52. Схема вертикального дренажа с вакуумным водоподъемом

а - с всасывающим трубопроводом; б - с сифоном

1 - всасывающий трубопровод; 2 - дренажная скважина; 3 - контур насосной станции; 4 - к вакуум-насосу; 5 - к водяному насосу; 6 - вакуум-котел; 7 - водосборник; 8, 9 - максимальный и минимальный уровни воды в водосборнике; 10 - сифонный трубопровод

Вакуумные системы отвода дренажных вод целесообразно устраивать при залегании грунтовых вод, не превышающем 5 - 6 м, от динамического уровня воды до оси водоотводящего коллектора.

Вакуумный отбор дренажных вод выполняют в виде всасывающего трубопровода, непосредственно присоединенного к насосу или в виде сифонного водоотвода. Конструктивные схемы вакуумных дренажных систем показаны на рис. 52.

КОМБИНИРОВАННЫЕ ДРЕНАЖИ

4.19. В отдельных случаях, а именно при наличии в основании верхней слабопроницаемой толщи пород хорошо проницаемого слоя, могут устраиваться комбинированные дренажи, представляющие собой сочетание горизонтальной дрены с рядом вертикальных самоизливающихся скважин. При этом горизонтальная дрена укладывается на глубине обычно не превышающей 6 - 8 м. Конструктивная схема комбинированного дренажа приведена на рис. 53.

В условиях, затрудняющих или исключающих открытую проходку траншеи для укладки горизонтальной дрены, могут устраиваться проходные галерейные дрены, совмещенные с вертикальными дренажными скважинами. Скважины комбинированного дренажа могут располагаться и вне смотрового колодца, объединяющего горизонтальную и вертикальную дрены. В этом случае устье скважины соединяется с горизонтальной дреной патрубком, а над скважиной устраивается отдельный смотровой колодец.

Рис. 53. Конструктивная схема комбинированного дренажа

1 - горизонтальная дрена; 2 - вертикальная самоизливающаяся скважина; 3 - смотровой колодец; 4 - горловина колодца; 5 - фильтрующая обсыпка; 6 - цементный лоток

ОСУШЕНИЕ СЛАБОПРОНИЦАЕМЫХ ПОРОД

4.20. Дренажи, работающие по гравитационному принципу отбора влаги, в условиях осушения слабопроницаемых грунтов, а также при эпизодическом подтоплении отдельных объектов, вызванном колебаниями уровней грунтовых вод, зачастую оказываются недостаточно эффективными. В таких условиях может оказаться целесообразным применять вакуумные дренажи или пневмонагнетательные системы осушения, которые могут выполнять функции: как самостоятельных защитных устройств, так и усиливать осушительное действие гравитационных дренажей [42].

Вакуумные дренажи

4.21. Вакуумные дренажи представляют собой осушительные устройства, которые осуществляют отбор воды из водоносного пласта под действием вакуума. Наиболее эффективны вакуумные дренажи в грунтах с низкими фильтрационными свойствами, применение их позволяет отводить наряду со свободной и капиллярную воду. По принципу устройства вакуумный дренаж представляет собой обычный дренаж, водоприемная часть которого герметизируется и в ней создается вакуум с помощью вакуум-насоса (или другого устройства, например иглофильтров), а насосное оборудование рассчитывается на отвод как поступающих грунтовых, вод, так и воздуха [42].

Вакуум-дренаж может быть вертикального или горизонтального типа.

4.22. Вертикальный вакуум-дренаж может быть осуществлен с помощью легких иглофильтровых установок вакуумного водопонижения, систем, состоящих из скважин, оборудованных погружными насосами и устройствами, для откачки воздуха из надводной полости скважин и систем, состоящих из скважин, объединенных сифоном и связанной с ним насосной станции, обеспечивающей раздельную откачку из системы воды и воздуха. Использование для вертикального вакуум-дренажа эжекторных иглофильтровых установок нецелесообразно ввиду их громоздкости и низкого КПД.

4.23. Системы горизонтального вакуум-дренажа по составу входящих в них сооружений и устройств не отличаются от обычных дренажных систем. Однако для возможности создания и поддержания вакуума все сооружения выполняются герметическими. Отвод воды и удаление воздуха являются всегда принудительными, поэтому целесообразно прокладывать дренажные трубы с подъемом в сторону насосной станции, что создает лучшие условия для транспортирования по дренам раздельных потоков воды и воздуха. Специфической особенностью должны обладать также смотровые колодцы и насосные станции - они должны быть герметичными: первые из-за необходимости поддержания во всей системе дренирования вакуума, вторые, кроме того, из-за одновременной откачки воды и воздуха. Конструкции, обеспечивающие удовлетворение указанных требований и рекомендации по расчету систем с их применением разработаны в институте ВНИИ ВОДГЕО.

Пневмонагнетательные системы осушения

4.24. Пневмонагнетательные системы осушения предназначены для защиты от подтопления грунтовыми водами застроенных территорий, сложенных слабопроницаемыми грунтами, а также для защиты от подтопления и увлажнения заглубленных частей, расположенных на этих территориях зданий и сооружений.

Действие пневмонагнетательных систем осушения заключается в принудительной фильтрации (продувке) воздуха под давлением через осушаемый грунтовый слой, что обеспечивает вытеснение гравитационной воды и вынос влаги из грунта. При этом предельное значение давления нагнетаемого воздуха лимитируется условиями прочности грунтов [17].

Самостоятельное применение пневмонагнетательной осушительной системы целесообразно и экономически оправдано в тех случаях, когда необходимо сезонное или периодическое снижение влажности слабопроницаемых грунтов. Конструктивные схемы пневмонагнетательного дренажа представлены на рис. 54, 55.

4.25. Основными конструктивными элементами пневмонагнетательной осушительной системы является питающий (нагнетательный) канал в виде трубчатой горизонтальной дрены или скважины, который может быть дополнен приемной трубчатой или пластовой дреной и приемным колодцем. Эти элементы могут сочетаться в виде определенной системы.

Фильтрация воздуха из трубчатого элемента в грунт осуществляется через отверстия в нижней части стенки трубы через стыковые зазоры между трубами или через пористые стенки трубофильтров. Устройство обсыпки в нижней трети периметра трубы выполняет лишь функции выравнивания давления воздуха вдоль наружного контура трубы. Подбор такой обсыпки сводится, по существу, лишь к предотвращению механического просыпания частиц грунта в поровое пространство обсыпки и в полость трубы.

Рис. 54. Конструктивные схемы пневмонагнетательных горизонтальных дренажей

а - однолинейного; б - двухлинейного с приемной дреной; в - площадного

1 - контур защищаемого сооружения; 2 - нагнетательная труба; 3 - приемная труба (дрена); 4 - нагнетательный колодец; 5 - приемный колодец; 6 - напорный воздухопровод; 7 - отмостка

4.26. Для отвода насыщенного влагой воздуха, а также сбора и отвода конденсата и влаги, выжимаемой из пор грунта в начальный период осушения, устраиваются приемные дрены из труб, укладываемых параллельно пневмонагнетательным дренам и имеющим воздухо- и водоприемные отверстия и фильтрующую обсыпку (или обертку) в верхней половине сечения. Приемные дрены оборудуются смотровыми колодцами с отстойниками, из которых вода по мере накопления удаляется самотеком или откачкой.

Рис. 55. Скважины пневмонагнетательного дренажа

а - нагнетательная; б - водоприемная

1 - бетон марки М300; 2 - тампонажный цементный раствор; 3 - уплотненная пакля; 4 - песчаный обсыпной фильтр; 5 - водоподъемная труба; 6 - глиняный замок; 7 - погружной насос; 8 - фильтровая сетка; 9 - фильтровый каркас

Рис. 56. Схемы планового расположения скважин пневмонагнетательных дренажей

а - с расположением скважин вне контура защищаемого сооружения; б - с расположением нагнетательных скважин внутри контура защищаемого сооружения; в, г - с расположением нагнетательных скважин внутри контура водоприемных скважин; д - с расположением водоприемной скважины внутри контура нагнетательных скважин

В вертикальных пневмонагнетательных осушительных системах роль питающего колодца выполняют скважины с герметизированным устьем (см. рис. 55). Удаление воздуха и влаги производится через приемные скважины, пробуренные вокруг питающей скважины или параллельно ряду питающих скважин (рис. 56). Вода из отстойников приемных скважин удаляется либо периодической откачкой, либо с помощью специальных влагопоглощающих емкостей, заполненных водопоглощающим (водоудерживающим) материалом (например, хлористым кальцием, пористой бумагой и другими поглотителями), который после извлечения из отстойников высушивается и вновь применяется для указанных целей.

СИСТЕМЫ ЗАЩИТНЫХ ДРЕНАЖЕЙ

4.27. Отдельные локальные дрены объединяются в системы защитных дренажей, обеспечивающие требуемое снижение уровней грунтовых вод на всей подтапливаемой территории или на отдельном локальном участке. Основными разновидностями дренажных систем являются однолинейные, двухлинейные, площадные (систематические) и кольцевые (контурные). Во многих случаях дренажные системы имеют более сложные плановые очертания, представляя из себя комбинации линейных и контурных систем, а также состоят из отдельных коротких ветвей, объединенных единым водосборным коллектором [1, 3].

Рис. 57. Схема двухлинейного дренажа

1 - контуры защищаемых сооружений; 2 - береговая дрена; 3 - головная дрена; 4 - уровень грунтовых вод до устройства дренажа; 5 - пониженный уровень грунтовых вод; 6 - уровень воды в реке до строительства водохранилища; 7 - нормальный подпертый горизонт воды после устройства водохранилища

4.28. Однолинейные дренажные системы применяются для перехвата и отвода бокового притока грунтовых вод, а также в тех случаях, когда действия однолинейной дрены достаточно для создания устойчивого понижения в пределах защищаемой территории. Наиболее часто однолинейными являются головные (перехватывающие) и береговые дренажи.

4.29. Двухлинейные дренажные системы применяются в тех случаях, когда действия однолинейного дренажа недостаточно для обеспечения требуемого понижения на защищаемой территории, а также в случаях, когда необходимо защитить территорию от бокового притока к ней с двух сторон. Такой дренаж наиболее часто состоит из береговой дрены, уложенной вдоль водоема, и головной дрены, проходящей вдоль верхней (со стороны потока грунтовых вод) границы защищаемой территории. Схема двухлинейного дренажа представлена на рис. 57.

4.30. Площадная дренажная система предназначается для защиты от подтопления значительных площадей и представляет собой систему горизонтальных или вертикальных дрен, расположенных более или менее равномерно по всей дренируемой территории. Обычно дрены (в горизонтальных площадных системах) или ряды дрен (в площадных системах, объединяющих вертикальные дрены) рекомендуется располагать параллельно друг другу.

Рис. 58. Схема кольцевого дренажа

а - горизонтального; б - вертикального

1 - контур защищаемого сооружения; 2 - линия дренажа; 3 - смотровой колодец; 4 - непониженный уровень грунтовых вод; 5 - пониженный уровень грунтовых вод; 6 - горизонтальная дрена; 7 - вертикальная дрена; 8 - водоотвод

Рис. 59. Схема площадного дренажа

а - горизонтального; б - вертикального

1 - контур защищаемого сооружения; 2 - ось горизонтального дренажа; 3 - смотровые колодцы; 4 - непониженный уровень грунтовых вод; 5 - пониженный уровень грунтовых вод; 6 - водоупор; 7 - вертикальные дрены; 8 - направление отвода дренажных вод

Горизонтальный площадный дренаж следует применять при питании подземных вод за счет инфильтрации атмосферных осадков непосредственно в пределах защищаемой территории, а также при наличии инфильтрационного питания техногенного характера (утечек из водонесущих коммуникаций и сооружений, конденсационного влагонакопления под асфальтированными и бетонированными поверхностями и др.).

Вертикальный площадный дренаж целесообразно применять при наличии питания верхнего слабопроницаемого слоя за счет перетока подземных вод из нижнего напорного горизонта.

Схемы площадных систем дренажей приведены на рис. 58.

4.31. Кольцевые (контурные) системы дренажей применяют для защиты от подтопления отдельных сооружений или небольших участков территории. Эти системы представляют собой различной конфигурации замкнутые контуры дренажных линий, выполненных в виде горизонтальных, вертикальных или комбинированных дрен (рис. 59).

СООРУЖЕНИЯ НА ДРЕНАЖАХ

4.32. Для контроля за работой дренажной сети и прочисток дренажа на линиях горизонтальных дренажей устраиваются смотровые колодцы, которые располагаются в местах сочленения дренажных линий на поворотах линии дренажа, в точках изменения уклонов отдельных участков дренажа, диаметров дренажных труб, а также в точках перепадов.

Смотровые колодцы на дренажной сети выполняются так же, как на канализационных коллекторах в соответствии со СНиП 2.04.03-85 «Канализация. Наружные сети и сооружения». Расстояние между смотровыми колодцами на прямолинейных участках принимается в зависимости от диаметра дренажных труб, не более: 150 - 250 мм - 50 м; 300 - 400 мм - 60 м; 500 мм - 75 м.

Смотровые колодцы могут иметь круглое или прямоугольное сечение.

Смотровые колодцы круглого сечения обычно принимаются диаметрами 1000, 1500 или 2000 мм.

Длина прямоугольных колодцев принимается равной 1000 мм, ширина их - на 400 мм больше диаметра наибольшей трубы, но не менее 700 мм.

Высота рабочей части колодца должна составлять не менее 1,8 м, а при глубине заложения дренажа менее 2 м высота рабочей части колодца принимается равной 1,2 - 1,5 м.

Рис. 60. Схема конструкции смотрового дренажного колодца

а - при глубине укладки дрены до 7 м; б - при глубине укладки дрены более 7 м

1 - рабочая часть колодца; 2 - горловина: 3 - набетонка; 4 - плита днища; 5 - цементно-песчаная подготовка; 6 - дренажная труба; 7 - отстойник; 8 - люк; 9 - крышка; 10 - железобетонное кольцо; 11 - плита перекрытия; 12 - отмостка

Смотровые колодцы на дренажах с глубиной укладки более 7 м выполняются из сборных железобетонных элементов диаметром 2000 мм по индивидуальным проектам.

Глубина отстойников смотровых колодцев обычно принимается в пределах 0,3 - 1 м.

При наличии агрессивных по отношению к бетону грунтов и грунтовых вод смотровые колодцы выполняются из кирпича.

Конструктивные схемы смотровых колодцев показаны на рис. 60.

4.33. Перепадные колодцы при перепадах до 1 м выполняются из сборного или монолитного железобетона в соответствии с типовыми проектами.

Рис. 61. Конструктивные схемы перепадных колодцев

а - с перепускным коленом внутри колодца; б - с перепускным коленом вне колодца

1 - горловина; 2 - стальной тройник; 3 - асбестоцементная труба; 4 - подбетонка; 5 - щебень, втрамбованный в грунт; 6 - перепускная стальная труба; 7 - бетонная заделка

Рис. 62. Конструктивные схемы устьевых выпусков дренажных вод

а - с бетонным оголовком; б - с каменным мощением; в - из железобетонных элементов

1 - бетонный оголовок; 2 - грунтовый откос; 3 - асбестоцементная труба; 4 - дренажная труба; 5 - дренажная обсыпка; 6 - каменное мощение по песчаной подготовке; 7 - железобетонные элементы

При перепадах более 1 м колодцы выполняются со специальным устройством по схемам, приведенным на рис. 61.

4.34. Отвод дренажных вод осуществляется в открытые водотоки, водоемы, поглощающие колодцы и скважины или в водоприемники насосных станций по глухим трубопроводам о соответствии со СНиП 2.04.02-84. При этом выпуск дренажных вод в открытые водоемы, водотоки, а также горизонты подземных вод должен проектироваться с учетом Правил охраны поверхностных водоемов от загрязнений сточными водами, а также Положения о порядке использования и охраны подземных вод на территории СССР, утвержденного Мингео СССР и Главгоссанинспекцией СССР в 1960 г.

Выпуск дренажных вод не разрешается осуществлять в хозяйственно-бытовую канализацию, в замкнутые низины, в размываемые овраги, если проектом не предусматриваются специальные мероприятия по укреплению их русла и берегов.

Устьевые сооружения для выпусков дренажных вод в открытые естественные водоприемники (реки, озера и др.) выполняются в виде бетонных оголовков, и укрепляются бетонными плитами или каменным мощением (рис. 62).

При невозможности организовать сброс дренажных вод самотеком, а также при необходимости подачи дренажных вод на очистные сооружения для очистки вод от вредных примесей и т.п. устраиваются промежуточные водоприемники - станции перекатки дренажных вод.

Объем приемного резервуара дренажной насосной станции должен назначаться из условия работы рабочего насоса в течение не менее 10 - 15 мин. Станции перекачки дренажных вод должны быть автоматизированы.

РЕКОМЕНДАЦИИ ПО ПРОИЗВОДСТВУ РАБОТЫ ПРИ СТРОИТЕЛЬСТВЕ ДРЕНАЖЕЙ

4.35. Производство работ по строительству дренажей должно выполняться в соответствии с проектом организации работ или специально разработанными техническими условиями, в которых учитываются инженерно-геологические, гидрогеологические и архитектурно-планировочные особенности защищаемой от подтопления территории, отдельных ее участков и объектов, конструкции дренажей, характеристики применяемых материалов, способы производства работ.

До начала работ по устройству дренажей направление дренажных линий и их местоположение согласовываются с энергетическими и другими службами по эксплуатации всех видов инженерных коммуникаций.

Головной, береговой, систематический или кольцевой дренажи в самостоятельных траншеях должны выполняться, как правило, до начала строительства подземных сооружений.

Пристенные дренажи, укладываемые в пазухи строящихся сооружений, должны выполняться после закладки фундаментов защищаемого сооружения.

Работы по отрывке траншей для укладки горизонтального дренажа следует осуществлять в направлении вверх по уклону дренажной линии.

При отрывке траншей механизмами следует недобирать выемку грунта на 10 - 12 см по отношению к проектным отметкам. Непосредственно перед обсыпкой фильтра и укладкой дренажных труб грунт основания дренажа выбирается и защищается вручную.

Не допускается укладка фильтра на разжиженный грунт или в воду.

При отрывке дренажных траншей и укладке дренажа должно быть обеспечено временное осушение грунтов вплоть до завершения его строительства.

Открытые траншеи следует защищать от стока в них дождевой и талой воды, а строительные котлованы - от затопления поверхностными водами. Необходимо также организовывать своевременное удаление поверхностных вод, поступающих в траншеи.

Укладку дренажных труб следует производить на подготовленное основание, начиная от нижней точки профиля.

При наличии по проекту двухслойного фильтра укладка второго слоя должна выполняться лишь после укладки и приемки первого слоя фильтра.

Проезд по уложенному фильтру, а также сброс на него грунта с большой высоты не допускается.

Уложенный фильтр должен быть защищен от загрязнения и разрушения слоем местного грунта толщиной не менее 0,5 м, способы отсыпки которого должны обеспечить сохранность фильтра.

Укладку раструбных труб следует производить раструбами вверх по уклону трассы дренажа.

Прямолинейность участков трубчатого дренажа между смежными колодцами должна проверяться путем просмотра трубопровода на свет с помощью зеркала. При этом видимое в зеркале световое пятно должно быть круглой формы. Отклонения от правильной формы по горизонтали допускаются не более чем на 30 мм в каждую сторону. Отклонения от круглой формы по вертикали не допускаются.

Днище и нижнее кольцо смотровых колодцев с отстойником должны выполняться до укладки труб. Верхние кольца, горловины и другие элементы колодцев следует возводить, как правило, после укладки труб.

Порядок и способ обратной засыпки траншей должны исключать повреждение дренажа.

При устройстве пластовых дренажей в основании защищаемых сооружений фильтрующая постель укладывается по спланированному и зачищенному дну котлована, после чего производится ее укатка легкими катками.

Сразу же после укладки фильтрующая постель должна быть прикрыта бетонной подготовкой по слою толя или пергамина, предотвращающих проникновение цементного раствора в фильтрующий материал.

На все основные операции, связанные со строительством дренажа (подготовка основания, отсыпка слоев фильтра, укладка дренажных труб, окончательная прочистка труб и колодцев), должны быть составлены акты на скрытые работы. После окончания строительства дренажа эти акты передаются службе эксплуатации.

5. ГИДРОГЕОЛОГИЧЕСКИЕ РАСЧЕТЫ ДРЕНАЖНЫХ СИСТЕМ

ОБЩИЕ ПОЛОЖЕНИЯ

5.1. Дренажные системы на подтопленных территориях должны обеспечить требуемое снижение уровней грунтовых вод, которое определяется заглублением подвальных помещений, тоннелей, коммуникаций и других подземных сооружений, а при защите значительных по площади территорий - нормой осушения.

При защите от подземных вод заглубленных сооружений пониженный уровень грунтовых вод должен находиться ниже основания этих сооружений не менее чем на высоту капиллярного поднятия воды в осушаемых грунтах. Плановое расположение дренажа того или иного типа зависит от того, застроена защищаемая территория или только предусматривается к строительному освоению.

В первом случае (т.е. на застроенных территориях) размещение дренажных сооружений определяется взаимным расположением зданий, сооружений, коммуникаций. Дренажная система трассируется по участкам, свободным от застройки, хотя такое расположение ее с точки зрения гидродинамических условий работы может оказаться далеко не наилучшим. Во втором случае (т.е. на территориях, подлежащих застройке) размещение дренажа обосновывается гидрогеологическими и технико-экономическими расчетами [42].

Тип применяемого дренажа - горизонтальный, вертикальный или комбинированный - зависит главным образом от литологического строения дренируемых грунтов, а на застроенных площадях и от степени плотности и характера застройки. Предпочтение всегда следует отдавать горизонтальному дренажу как наиболее удобному и экономичному при эксплуатации.

5.2. Гидрогеологические расчеты включают в себя определение притока воды, положения сниженных уровней, времени достижения требуемых понижений на дренируемой территории, в том числе в самих дренах, а иногда междренных расстояний. Во многих случаях междренные расстояния выбираются исходя из технических возможностей прокладки дрен, тогда возникает задача о величине необходимого понижения в них, т.е. заглубления дрен.

Для подтопленных территорий наиболее характерно двухслойное строение водоносных пластов, нижний слой которых обладает большей проницаемостью, чем верхний. Свободная поверхность грунтовых вод обычно располагается в пределах верхнего слоя, мощность которого, как правило, достаточно велика (до 10 - 15 м и более). В отдельных случаях могут быть выделены и пласты с напорным питанием, однако такие схемы не типичны и в практике дренирования сравнительно редко представляют практический интерес.

В практике проектирования и строительства приходится иметь дело с совершенными и несовершенными дренажами. Как правило, дренажи вертикального типа являются совершенными, среди горизонтальных дренажей преобладают несовершенные. Совершенные горизонтальные дренажи устраиваются в однословных или близких к ним водоносных пластах малой мощности при залегании водоупора на глубине не более 8 - 10 м. В однослойных пластах большой мощности, а также в двухслойных пластах дренаж является несовершенным. В последнем случае дрена перерезает верхний (обычно слабопроницаемый) слой и вскрывает нижний. Лишь в тех случаях, когда подошва нижнего слоя двухслойного пласта залегает на глубине не более 8 - 10 м, горизонтальный дренаж может быть совершенным.

5.3. При гидрогеологических расчетах дренажных систем учитываются строение водоносных горизонтов и характер их границ, условия естественного и техногенного (дополнительного) питания и дренирования подземных вод, а также степень гидродинамического несовершенства дренажных сооружений. Особое внимание необходимо уделять дополнительному инфильтрационному питанию грунтовых вод. Интенсивность этого питания w достаточно велика и на отдельных участках достигает 10-2 м/сут, в среднем же колеблется в пределах 5 · 10-3 - 5 · 10-4 м/сут, существенно увеличиваясь в период весеннего снеготаяния. Расчетные значения величины дополнительной инфильтрации приведены в разд. 2.

5.4. Горизонтальный дренаж в подавляющем большинстве случаев является самотечным, в дренах в процессе их эксплуатации поддерживается постоянный уровень воды, поэтому расчетные зависимости должны удовлетворять этому условию. Вертикальный дренаж может работать как в режиме постоянного уровня воды в скважинах, так и при постоянном притоне. Режим работы скважин определяется проницаемостью грунтов. В хорошопроницаемых пластах водопонизительные скважины чаше всего в начальные промежутки времени работают при режиме постоянного притока, определяемого производительностью насосного оборудования. В слабопроницаемых грунтах и при самоизливе скважины работают в режиме постоянного уровня воды.

ГИДРОГЕОЛОГИЧЕСКИЕ РАСЧЕТЫ ГОРИЗОНТАЛЬНЫХ ДРЕНАЖЕЙ

5.5. Горизонтальные дренажи по расположению в плане подразделяются на систематические, однолинейные, двухлинейные, контурные (кольцевые). При сооружении дренажа на застроенных территориях дрены будут располагаться вблизи зданий, сооружении и коммуникаций. Поэтому для обеспечения устойчивости, оснований при проходке дренажных траншей и колебаниях уровней грунтовых вод дрены должны быть проложены от стен (фундаментов) на расстоянии, превышающем минимальное Lmin (рис. 63), определяемое по формуле [1]:

Lmin = lф + lд /2 + Dh/tg j,                                            (55)

где lф - уширение фундамента, lд - ширина дренажной траншеи, j - угол внутреннего трения осушаемого грунта.

Рис. 63. Схема к определению безопасного расстояния от защищаемого сооружения до дренажа

Рис. 64. Схема совершенного систематического дренажа

1 - дрены систематического дренажа: 2 - естественный уровень грунтовых вод; 3 - сниженный уровень грунтовых вод при работе дренажа

Систематический горизонтальный дренаж

5.6. Совершенный систематический дренаж устраивается в однослойных пластах сравнительно малой мощности, гидродинамическая схема его представлена на рис. 64. При расчетах систематического дренажа наибольший интерес представляют предельное положение сниженных уровней в междренье hц, время достижения этих понижений, а также притоки воды в дренаж. Определение hц в общем случае анизотропного по фильтрационным свойствам водоносного горизонта (kx ¹ hz) производится по формуле:

                            (56)

Здесь  = hc /L; tz = kz t/ (nL); θ0 (a, b) и θ1 (a) - специальные функции, графики которых представлены на рис. 65 - 66;

θ2 (a, b) = 2exp (- b bn th abn); bn = (2n - 1) p/2.

Для расчета функции θ2 (a, b) в прил. 10 приведена программа счета, составленная для настольных микрокалькуляторов типа «Электроника» Б-34, МК-54, МК-56.

В случае изотропных грунтов (kx = kz) в формуле (56) следует считать g = 1 и kпр = k.

В пластах сравнительной малой мощности (т.е. при hс < 1) формула для расчета hц упрощается и принимает вид

                                  (57)

где f0 = khct/ (nL2), остальные обозначения прежние.

Графики функций q3 (f0) и q4 (f0) приведены на рис. 67 и 68.

Приток воды в каждую из дрен на единицу ее длины рассчитывается по формуле [37, 42]

                                 (58)

Значения функций q5 (f0) и F1 (f0) приведены на рис. 69 и 11.

Рис. 65. График функции

Рис. 66. График функции

Рис. 67. График функции

Рис. 68. График функции

Из формулы (58) при t ® ¥ получается зависимость для определения притока воды в однослойном пласте при установившемся движении q = 2wL.

Анализ приведенных формул показывает, что, начиная с f0 > 1 (t > nL2/khc), процесс фильтрации к систематическому дренажу приобретает стационарный характер.

Рис. 69. График функции

Рис. 70. Схема несовершенного систематического дренажа

а - в однословном пласте; б - в двухслойном пласте при расположении дрен в верхнем слое; в - в двухслойном пласте при вскрытии дреной нижнего слоя, но уровень воды в дрене находится в верхнем слое

5.7. Гидродинамические схемы несовершенного систематического дренажа в однословном и двухслойном пластах приведены на рис. 70. При работе несовершенного систематического дренажа в однослойном водоносном пласте (рис. 70, а) построение сниженной поверхности грунтовых вод и определение притока в каждую из дрен на единицу ее длины выполняются по формулам:

                                        (59)

                                       (60)

Рис. 71. График функции

а - при  = 0; б - при  = 1

Здесь

mn - корни уравнения mn = Bi ctg mn.

Значения mn и An в зависимости от Bi приведены в прил. 1 и 2, графики функции θ6 (, f0, Bi) для точек  = 0 (контур дрены) и  = 1 (междренье) на рис. 71 (для Bi ³ 0,1) для расчета θ7 (, f0, Bi) при любых величинах аргументов достаточно двух-трех членов ряда. При Bi < 0,1 справедливо соотношение

θ6 (, f0, Bi) = 1 - cos (1 - ) exp (- Bi f0).

С целью облегчения расчетов функций q7 составлена программа для настольных микрокалькуляторов типа «Электроника» Б-34, МК-54, МК-56, которая приведена в прил. 11.

Из формул (59) - (60) при t ® ¥ (практически при f0 > 2) получаются зависимости для расчета несовершенного систематического дренажа при установившемся режиме фильтрации:

 q = 2ωL.                                       (61)

Вычисление дополнительного фильтрационного сопротивления Fн, необходимого для расчета параметра Bi, производится по формуле

Фн = hcФ*1.                                                           (62)

Значения дополнительного сопротивления F*1 приведены ниже

m/hc

0,1

0,2

0,3

0,4

0,5

0,6

0,7

0,8

0,9

0,95

1

F*1

0,025

0,055

0,092

0,135

0,186

0,258

0,345

0,463

0,695

0,95

¥

Определение Фн может производиться также и по формуле С. Н. Нумерова [5]

.                                            (63)

Таблица 27

 

(hc - М) /hс

(hc - m) / (hс - M)

0,2

0,4

0,6

0,8

hc /L

hc /L

hc /L

hc /L

0,05

0,1

0,3

0,5

0,05

0,1

0,3

0,5

0,05

0,1

0,3

0,5

0,05

0,1

0,3

0,5

1

0,2

0,828

0,821

0,788

0,754

0,868

0,863

0,834

0,804

0,909

0,905

0,883

0,859

0,949

0,947

0,934

0,92

0,4

0,668

0,659

0,618

0,577

0,748

0,74

0,701

0,661

0,828

0,821

0,788

0,754

0,909

0,905

0,883

0,859

0,6

0,51

0,501

0,463

0,425

0,629

0,619

0,578

0,537

0,748

0,74

0,701

0,661

0,868

0,863

0,834

0,804

0,8

0,352

0,345

0,316

0,287

0,51

0,501

0,463

0,425

0,668

0,659

0,618

0,577

0,828

0,821

0,788

0,754

1

0,196

0,191

0,174

0,157

0,392

0,384

0,352

0,32

0,589

0,58

0,539

0,499

0,788

0,78

0,744

0,706

5

0,2

0,95

0,944

0,915

0,884

0,96

0,955

0,929

0,902

0,97

0,966

0,946

0,924

0,98

0,978

0,966

0,952

0,4

0,891

0,879

0,826

0,772

0,915

0,904

0,856

0,806

0,939

0,931

0,891

0,85

0,964

0,959

0,934

0,907

0,6

0,798

0,782

0,715

0,648

0,844

0,829

0,766

0,702

0,892

0,879

0,825

0,77

0,94

0,933

0,895

0,858

0,8

0,628

0,613

0,549

0,486

0,716

0,701

0,636

0,571

0,806

0,892

0,733

0,673

0,897

0,888

0,845

0,801

1

0,196

0,191

0,174

0,157

0,392

0,384

0,352

0,32

0,589

0,58

0,539

0,499

0,788

0,78

0,744

0,706

10

0,2

0,968

0,963

0,935

0,905

0,974

0,969

0,944

0,917

0,979

0,976

0,956

0,934

0,984

0,982

0,971

0,957

0,4

0,934

0,922

0,867

0,811

0,947

0,936

0,886

0,835

0,961

0,952

0,911

0,867

0,975

0,97

0,944

0,916

0,6

0,876

0,858

0,783

0,707

0,903

0,885

0,816

0,745

0,931

0,917

0,858

0,799

0,96

0,951

0,913

0,873

0,8

0,751

0,731

0,65

0,569

0,808

0,789

0,711

0,632

0,867

0,851

0,782

0,713

0,927

0,917

0,87

0,821

1

0,196

0,191

0,174

0,157

0,392

0,384

0,352

0,32

0,589

0,58

0,539

0,499

0,788

0,78

0,744

0,706

20

0,2

0,978

0,973

0,946

0,916

0,981

0,977

0,952

0,925

0,984

0,98

0,961

0,939

0,987

0,985

0,973

0,96

0,4

0,958

0,945

0,889

0,833

0,965

0,954

0,903

0,851

0,973

0,964

0,922

0,879

0,981

0,976

0,95

0,922

0,6

0,923

0,904

0,823

0,743

0,938

0,921

0,847

0,772

0,954

0,94

0,879

0,816

0,971

0,963

0,923

0,881

0,8

0,842

0,819

0,724

0,63

0,877

0,855

0,766

0,676

0,913

0,895

0,819

0,742

0,95

0,939

0,888

0,835

1

0,195

0,191

0,174

0,157

0,392

0,384

0,352

0,32

0,589

0,58

0,539

0,499

0,788

0,78

0,744

0,706

50

0,2

0,984

0,979

0,952

0,923

0,985

0,981

0,957

0,931

0,987

0,983

0,964

0,943

0,988

0,986

0,975

0,962

0,4

0,973

0,96

0,903

0,846

0,976

0,965

0,913

0,861

0,98

0,971

0,929

0,886

0,985

0,93

0,953

0,925

0,6

0,955

0,935

0,851

0,766

0,962

0,944

0,867

0,79

0,97

0,955

0,892

0,828

0,979

0,971

0,93

0,887

0,8

0,914

0,888

0,781

0,675

0,93

0,906

0,808

0,71

0,948

0,929

0,847

0,764

0,968

0,956

0,902

0,846

1

0,196

0,191

0,174

0,157

0,392

0,384

0,352

0,32

0,589

0,58

0,539

0,499

0,788

0,78

0,744

0,706

100

0,2

0,986

0,981

0,954

0,925

0,987

0,983

0,959

0,932

0,988

0,984

0,965

0,944

0,989

0,987

0,976

0,962

0,4

0,978

0,965

0,908

0,851

0,98

0,969

0,917

0,865

0,983

0,974

0,932

0,888

0,986

0,981

0,955

0,926

0,6

0,966

0,945

0,98

0,775

0,97

0,952

0,874

0,796

0,976

0,961

0,897

0,832

0,982

0,973

0,932

0,889

0,8

0,941

0,914

0,803

0,693

0,951

0,926

0,824

0,723

0,962

0,942

0,857

0,773

0,975

0,962

0,907

0,851

1

0,196

0,191

0,174

0,157

0,392

0,384

0,352

0,32

0,589

0,58

0,539

0,499

0,788

0,78

0,744

0,706

Примечание. При (hc - m) /hс - M = 1      ζ2 = 1.

Следует отметить, что эта формула дает завышенное значение Фн. Тем не менее, при массовых расчетах, особенно определении областей возможного заложения дренажей, она оказывается предпочтительней и поэтому широко используется.

5.8. При расчете несовершенного систематического дренажа в двухслойных водоносных пластах (рис. 70, б, в) различаются два случая - k2 < k1 и k2 > k1.

В первом случае при расчетах дренажа двухслойный пласт приводится к однослойному с приведенной мощностью h*е, вычисляемой по соотношению

h*е = hе + (s - 1) М.                                                  (64)

В дальнейшем используются формулы (59) - (61) для однослойных пластов.

Во втором случае (k2 > k1) дрены могут как заглубляться в нижний слой, так и оставаться в верхнем слое. Первая схема является более предпочтительной, так как приводит к большему дренирующему эффекту, однако она не всегда оказывается технически осуществимой. Поэтому на практике равновероятны обе схемы заглубления дрен.

При расположении дрен в пределах верхнего слоя (рис. 70, б) гидрогеологический расчет систематического дренажа производится по формулам (59) - (64), в которых вместо коэффициента фильтрации k представляется k1, а дополнительное сопротивление на несовершенство дрен Fн определяется по формуле

Фн = 0,25L (m - hcζ2) / (hc - m).                                            (65)

Значения ζ 2 для различных аргументов приведены в табл. 27.

При вскрытии дреной нижнего слоя двухслойного пласта (рис. 70, в) построение сниженной поверхности грунтовых вод и определение притока воды на единицу длины каждой из дрен производятся по формулам:

                 (66)

                                (67)

Здесь

При вычислении функций q8 - q9 при любых значениях аргументов достаточно ограничиться двумя-тремя членами ряда, лишь при очень больших Bi (более 100) необходимо брать до пяти-шести членов ряда. Значение дополнительного сопротивления Фн рассчитывается по формуле (69), причем при определении Ф*1 по табл. 29 вместо аргумента m/hc используется отношение m/M.

С целью облегчения расчетов функций q8 и q9 в прил. 12 и 13 приведены программы расчетов этих функций на микрокалькуляторах типа «Электроника» Б-34, МК-54, МК-56.

Однолинейные и двухлинейные горизонтальные дренажи

5.9. При поступлении сверху инфильтрационного питания фильтрация к одно- и двухлинейным дренажам по истечении некоторого достаточно малого промежутка времени приобретает стационарный характер, а дренирующий эффект распространяется на некоторое расстояние lw, называемое дальностью действия дренажа. Дальность действия дренажа зависит от интенсивности питания w, фильтрационных свойств пород и величины понижения в дренах. Нестационарная фаза фильтрации имеет продолжительность не более t = ulw2/ (2khc). При наличии контуров питания на расстоянии L от дрены для времени стабилизации получается оценка nL2/ (2khc).

5.10. Гидродинамическая схема совершенного однолинейного дренажа в однослойном водоносном пласте представлена на рис. 72, а. В общем случае анизотропного по фильтрационным свойствам водоносного пласта в условиях установившейся фильтрации при поступлении сверху дополнительного инфильтрационного питания построение депрессионной поверхности и полного притока воды в дренаж на единицу длины производится по зависимостям:

                                 (68)

Рис. 72. Расчетные схемы однолинейного дренажа

а - совершенный дренаж в однослойном пласте; б - несовершенный дренаж в двухслойном пласте

Здесь

lw - дальность действия дренажа, рассчитываемая по формуле

                                                (69)

Для расчета функции q10 (a, b) достаточно ограничиться двумя-тремя членами ряда.

В изотропных грунтах в формуле (68) следует принимать g = 1. При относительно малой мощности пласта, т.е. при hc < 0,1, формула (68) упрощается до вида

                                          (70)

5.11. Расчетная схема совершенного двухлинейного дренажа приведена на рис. 73, а, б. Из этого рисунка видно, что область фильтрации делится на две независимые друг от друга области - внутреннюю (I) и внешнюю (II). Расчет положения сниженного уровня на междренье (при  = 0) производится по формулам (56) - (57) с заменой в них L на b, депрессионная поверхность грунтовых вод в зоне II рассчитывается по формулам (68) - (70), полный приток воды в каждую из дрен на единицу длины вычисляется как сумма внешнего и внутреннего притоков, т.е.

q = w (b + lw).

Рис. 73. Расчетные схемы двухлинейного дренажа

a - совершенный дренаж в однослойном пласте; б - несовершенный дренаж в двухслойном пласте

5.12. Расчетная гидродинамическая схема берегового однолинейного дренажа изображена на рис. 74, а, б. Для гидрогеологических расчетов в обеих зонах (I и II) используются формулы (68) - (70), однако при расчете депрессионной поверхности в зоне I в эти формулы вместо lw подставляется расстояние L от дрены до уреза воды в водоеме или водотоке.

5.13. Расчетная схема берегового двухлинейного дренажа представлена на рис. 75, а, б. В этом случае в области фильтрации выделяются три самостоятельные зоны - I, II и III. Для определения положения сниженных уровней грунтовых вод и притока воды в дренаж используются следующие зависимости:

в зоне I - формулы (68) - (70) с заменой в них дальности действия дренажа lw на расстоянии L от береговой дрены до водоема или водотока;

в зоне II - формулы (56) - (57) для систематического дренажа, однако в этих формулах вместо L подставляется b;

в зоне III - формулы (68) - (70) для однолинейного дренажа.

5.14. Несовершенные одно- и двухлинейные дренажи. Схемы этих дренажей в общем случае двухслойного водоносного пласта, когда дренами вскрыт только верхний слой, представлены на рис. 72, б, рис. 73, б, рис. 74, б, рис. 75, б. При М = 0 из этих схем получается случай однослойного пласта. Расчетные зависимости для построения депрессионной поверхности грунтовых вод, дальности действия дренажей и определения притока воды при заложении указанных дренажей в однослойных водоносных пластах конечной мощности приведены в табл. 28. Эти же формулы могут быть использованы в двухслойных пластах, однако в этом случае в них коэффициент фильтрации k следует заменить на k1, а дополнительные фильтрационные сопротивления Фн в зависимости от заглубления дрен в верхний слой водоносного пласта определять по формуле (65).

Таблица 28

№ п.п.

Тип дренажа

Расчетная формула

№ формулы

1

См. рис. 72, б

h2 = he2 - ω (lω - x)2/k; q = 2wlw

(71)

2

См. рис. 73, б

-

3

См. рис. 74, б

(72)

4

См. рис. 75, б

Береговая дрена

Головная дрена

Расчет головной дрены производится по формулам для двухлинейного дренажа

-

Примечание. В формуле (71) Фн вычисляется по зависимости формулы (62) или (63), причем hс = (hе + hдр) /2.

Рис. 74. Расчетные схемы однолинейного берегового дренажа

а - совершенный дренаж в однослойном пласте; б - несовершенный дренаж в двухслойном пласте

Рис. 75. Расчетные схемы двухлинейного берегового дренажа

а - совершенный дренаж в однослойном пласте; б - несовершенный дренаж в двухслойном пласте

ОПРЕДЕЛЕНИЕ СРЕДНЕЙ МОЩНОСТИ ПЛАСТА

5.15. В большинстве расчетных формул, приведенных выше, используется средняя мощность пласта, определение которого производится по формуле [37, 42]

hc = hдр + a (he - hдр).

Коэффициент a в общем случае зависит от продолжительности действия дренажа, строения водоносного горизонта и условий на его внешних границах. В неограниченных в плане водоносных горизонтах по данным моделирования фильтрации на аналоговых вычислительных машинах установлено, что для практических расчетов можно принимать:

a = 0,7 при kt/nL < 10;

a = 0,2 при kt/nL > 10.

Неплохие результаты получаются и при определении средней мощности пласта по соотношению

hc = (0,4 - 0,5) (he + hдр).

В двухслойных пластах с более проницаемым нижним слоем и заглублении дрен в верхний слой могут быть использованы эти же формулы.

Описанный способ определения средней мощности пласта остается в силе и для других типов дренажей - кольцевых, пластовых, вертикальных и др.

Кольцевые (контурные) дренажи

5.16. Кольцевые (контурные) дренажи оконтуривают защищаемую территорию по всему ее периметру и редко имеют в плане круглую форму. Поэтому при гидрогеологических расчетах они приводятся или к двухлинейным, или к круглым с приведенным радиусом r0. Способы приведения контурных дренажей к круглым или двухлинейным вкратце изложены в разд. 2. Отметим еще раз, что если длина прямоугольного в плане контурного дренажа превышает его ширину более чем в 5 раз, то контурный дренаж можно рассматривать как двухлинейный. В остальных случаях, а также при других плановых конфигурациях для определения приведенного радиуса кольцевого дренажа следует пользоваться формулами [4, 16]:

для дренажей прямоугольной в плане формы - зависимостью (1);

для дренажей П-образной в плане формы (рис. 76, а):

для дренажей Т-образной в плане формы (рис. 76, б):

                                       (73)

для дренажей Г-образной в плане формы (76, в):

                                  (74)

 

где b - коэффициент, определяемый по табл. 1; Р - периметр дренажа;

для дренажей сложных форм (рис. 76, г):

                                                              (75)

где r1, r1, ..., rn - расстояния от центра тяжести дренажа до угловых точек и середины его сторон; n - число характерных точек, до которых определяется это расстояние.

Рис. 76. Контурные дренажи различных в плане форм

а - П-образные; б - Т-образные; в - Г-образные; г - сложные

Гидродинамическая схема совершенного кольцевого горизонтального дренажа представлена на рис. 77, а. При расчете выделяются две независимые друг от друга зоны фильтрации - внутренняя (при r £ r0) и внешняя (r > r0).

5.17. В общем случае анизотропного по фильтрационным свойствам водоносного пласта (kz ¹ kr) и поступлении сверху инфильтрационного питания с интенсивностью w1 положение сниженных уровней h1 во внутренней зоне и полный приток воды в дренаж из внутренней зоны Q1 рассчитываются по формулам:

                (76)

Q1 = 4pkпр hc (he - hдр) Ф3 (f0) + pωr02 [1 - 4Ф4 (f0)].                                   (77)

Рис. 77. Схемы кольцевого несовершенного горизонтального дренажа

а - совершенный в однослойном пласте; б - несовершенный в однослойном пласте; в - несовершенный в двухслойном пласте с инфильтрационным питанием; г - несовершенный в двухслойном пласте с круговым контуром питания

Здесь

Ф0, Ф1, Ф2, Ф3, Ф4 - специальные функции, графики функций Ф1, Ф3 и Ф4 приведены на рис. 78 - 80.

nn - корни уравнения J0 (nn) = 0.

Для расчета функции Ф0 составлена программа для микрокалькуляторов типа «Электроника» БЭ-34, МК-54, МК-56, которая приведена в прил. 14. При вычислении функции Ф2 достаточно ограничиться двумя членами ряда.

Рис. 78. График функции

где mn - корни уравнения J0 (mn) = 0

Рис. 79. График функции

Рис. 80. График функции

где mn - корни уравнения J0 (mn) = 0

Рис. 81. График функции

где mn - корни уравнения J0 (mn) = 0

Ф6 (, f0)                                                                                                                

Рис. 82. График функции

где mn - корни уравнения J0 (mn) = 0

Из формул (76) - (77) при t ® ¥ (практически при f0 > 1) получаются зависимости для установившейся фильтрации.

В пластах сравнительно малой мощности, когда  < 0,1, формула (76) упрощается до вида

                              (78)

Графики функций Ф5 и Ф6 приведены на рис. 81 и 82.

5.18. Во внешней зоне (r > r0) движение воды будет установившимся при поступлении сверху инфильтрации или наличии контура питания, в остальных случаях оно неустановившееся.

При питании водоносного горизонта за счет инфильтрации в случае однослойного строения пласта (рис. 77, а) депрессионная поверхность строится по уравнению

                                     (79)

а приток в дренаж из внешней зоны определяется по формуле

Q2 = pω2 (Rω2 - r02).

Здесь Rw - дальность действия дренажа, которая находится подбором из уравнения

                                            (80)

При наличии кругового контура питания на расстоянии R от центра дренажа расчет ведется по зависимостям:

                                  (81)

Формулы (78) - (81) можно использовать и в двухслойных пластах, если воспользоваться приведенным коэффициентом фильтрации k*, равным

                                                  (82)

где М - мощность нижнего слоя.

При отсутствии контура постоянного напора или инфильтрационного питания расчет притока воды в дренаж из внешней зоны и построение допрессионной поверхности в неограниченных в плане водоносных пластах производятся по формулам:

                                                           (83)

                            (84)

Формулы (83) - (84) будут справедливы и для двухслойных пластов, если использовать соотношение (82).

В зависимости от условий питания расчет несовершенных кольцевых дренажей горизонтальных дренажей производится по формулам установившегося или неустановившегося режима.

Установившаяся фильтрация наблюдается при поступлении сверху инфильтрации или наличии контуров питания.

5.19. При поступлении сверхинфильтрационного питания (рис. 77, б) в однослойном пласте со свободной поверхностью приток воды в дренаж Q, положение сниженных уровней внутри дренируемого контура (r £ r0) h1 и вне его (r > r0) h2 рассчитываются по формулам:

Q = pω1r02 + pω2 Rω2 (Rω2 - r02);                                             (85)

                              (86)

                     (87)

Здесь ζ1 - дополнительное сопротивление кольцевого дренажа в однослойном пласте, R - дальность действия кольцевого дренажа, которая находится подбором из уравнения

                                (88)

Дополнительное фильтрационное сопротивление ζ1 равно:

                                                            (89)

Положение сниженного уровня подземных вод в центре дренажа Dhд вычисляется по формуле

                                                  (90)

где 0= r0/m, Dhц* - приближенное значение Dhц, оно равно:

График функции Ф7 (0) приведен на рис. 83.

При отсутствии инфильтрационного питания в одной из зон (r > r0 или r < r0) соответствующее значение wi принимается равным нулю.

Несовершенный кольцевой дренаж в однослойном пласте с круговым контуром питания на расстоянии R (Rw = R, w2 = 0). В пределах дренируемого контура поступает дополнительное инфильтрационное питание w (рис. 77, б). Расчет положения сниженных уровней грунтовых вод и притока воды в дренаж выполняются по формулам:

при r £ r0

                                 (91)

при r >r0

                                  (92)

                                          (93)

Рис. 83. График функции F7 (0)

Положение сниженного уровня в центре дренажа вычисляется по формуле (90), в которую подставляется Dhц*, равное

При отсутствии инфильтрации в приведенных формулах следует принимать w = 0.

При расположении кольцевого дренажа вблизи прямолинейного контура питания (рис. 84) с напором hе на этом контуре расчет ведется по следующим формулам:

                                                  (94)

                                        (95)

                                        (96)

Рис. 84. Схема кольцевого дренажа вблизи прямолинейного контура питания

1 - дренаж; 2 - контур питания

Здесь

                              (97)

Сниженный уровень в центре дренажа рассчитывается по формуле (90), в которую подставляется Dh*ц, равное

Dh*ц =

причем rц определяется по формуле (97) при значениях x = 0 и y = L + r0.

5.20. При работе кольцевого несовершенного горизонтального дренажа в двухслойном водоносном пласте (со свободной поверхностью) конечной мощности необходимо различать два случая - дренаж располагается в верхнем слое и дренаж заглублен в нижний слой. Наибольший практический интерес представляет первый случай.

При расположении дренажа в пределах верхнего слоя (рис. 77, в) при расчетах возможны два варианта: k2 < k1 и k2 > k1.

Если k2 < k1 или хорошо проницаемый слой подстилается слабопроницаемым, расчет ведется по методу виртуального осреднения, т.е. двухслойный пласт приводится к однослойному с коэффициентом фильтрации верхнего слоя k1 и приведенной мощностью h*е, вычисляемой по формуле (64).

Высотное положение дренажа при этом не изменяется. Дальнейший расчет ведется по формулам для однослойного пласта, приведенным выше.

Если k2 > k1, но s < 5, для расчетов также можно использовать метод виртуального осреднения, т.е. двухслойный пласт приводить к однослойному с использованием соотношения (64).

Ниже приводятся расчетные зависимости для значений s > 5.

При поступлении сверху инфильтрационного питания расчетные зависимости имеют вид:

Q = pr02ω1 + pω2 (Rω2 - r02);                                                  (98)

                              (99)

                    (100)

Здесь Rw - дальность действия кольцевого горизонтального дренажа в двухслойном пласте; ζ2sпр - дополнительное фильтрационное сопротивление; k*c - осредненный коэффициент фильтрации. Определение Rw производится путем подбора по уравнению

              (101)

В приведенных выше формулах

Значения функции F8 (0, δ) приведены на рис. 85.

Положение сниженного уровня подземных вод в центре дренажа Dhц вычисляется по формуле

                              (102)

где Dh*ц - приближенное значение Dhц, оно равно:

Значения функций Ф9 (, δ) и Ф10 (, δ) приведены на рис. 86 и 87.

Рис. 85. График функции Ф8 (, δ)

Несовершенный кольцевой горизонтальный дренаж в двухслойном пласте с круговым контуром питания (см. рис. 77, г) с радиусом R. В пределах дренируемого контура поступает сверху инфильтрационное питание с интенсивностью w. Расчет дренажа ведется по формулам:

                     (103)

                                  (104)

                                      (105)

Рис. 86. График функции Ф9 (, δ)

Рис. 87. График функции Ф10 (, δ)

Положение сниженного уровня в центре дренажа, т.е. величина Dhц вычисляется по формуле (102), причем

При расположении несовершенного кольцевого горизонтального дренажа в двухслойном пласте вблизи прямолинейного контура питания (см. рис. 84) с напором he на этом контуре расчет ведется по формулам (94) - (97) с заменой в них k на k*c и ζ1 - на ζ2sпр.

5.21. Неустановившуюся фильтрацию рассмотрим для неограниченного в плане водоносного горизонта. Приведенные зависимости справедливы для постоянного уровня воды в дренах и больших моментов времени, так как при инженерных расчетах малые моменты времени не представляют интереса.

Расчетная схема однословного пласта со свободной поверхностью с инфильтрационным питанием внутри дренируемого контура представлена на рис. 77, б, г, в которой следует считать R ® ¥ и w2 = 0.

Приток воды в дренаж, положение сниженных уровней внутри дренируемого контура h1 (r £ r0) и вне его h2 (r > r0) рассчитываются по формулам:

Q = 2pkhc S0 Ф1 (f0*) + ωr02 Ф12 (, f0*);                               (106)

                       (107)

                                     (108)

Здесь  = r/r0; f0 = at/r20; ; ; Ф11 (f0), Ф12 (*, f0*) - специальные функции, графики которых представлены на рис. 88 и 89.

Положение сниженного уровня в центре дренажа Dhц вычисляется по формуле (90), причем

Двухслойный пласт со свободной поверхностью в неограниченном в плане пласте с инфильтрационным питанием внутри дренируемого контура (см. рис 77, г при R ® ¥). В данном случае для расчета несовершенного кольцевого дренажа используются зависимости:

                               (109)

Рис. 88. График функции Ф11 (f0)

Рис. 89. График функции Ф12 (, f0)

                           (110)

                                   (111)

В этих формулах f0в = k*chct / (n1r20); f* = f.

Положение сниженного уровня в центре дренажа Dhц вычисляется по формуле (102), причем

Пластовые и пристенные дренажи

Фильтрация к пластовым дренажам может носить установившийся или неустановившийся характер.

5.22. Установившаяся фильтрация наблюдается при поступлении сверху инфильтрации или наличии контуров питания. При поступлении сверху инфильтрационного питания (рис. 90, а) в однослойный пласт со свободной поверхностью [4] приток воды в дренаж Q и положение сниженных уровней h рассчитываются по формулам:

Q = pω (Rω2 - r02);                                                        (112)

                              (113)

Здесь Rw - дальность действия пластового дренажа, ζ0 - дополнительное инфильтрационное сопротивление, причем

ζ0 = 2m × ζп / (he - m).                                                    (114)

Дальность действия пластового дренажа Rw определяется путем подбора из уравнения

                            (115)

Значения функции ζn приведены на рис. 91.

При поступлении сверху инфильтрации в пласте с круговым контуром питания на расстоянии R (см. рис. 90, в) для расчетов используются следующие формулы:

                             (116)

             (117)

Рис. 90. Схемы пластового дренажа

а - в однослойном пласте с инфильтрационным питанием; б - в однослойном пласте с контуром питания; в - в однослойном пласте с инфильтрацией и контуром питания; г - в двухслойном пласте с инфильтрационным питанием; д - в двухслойном пласте с контуром питания; е - в двухслойном пласте неограниченной мощности

При отсутствии инфильтрации сверху, но наличии кругового контура питания на расстоянии R (см. рис. 90, б) в этих формулах следует считать w = 0.

При расположении пластового дренажа вблизи прямолинейного контура питания (см. рис. 84) с напором hе на этом контуре фильтрационный расчет ведется по следующим формулам:

                                              (118)

                                      (119)

Здесь r рассчитывается по формуле (97).

Рис. 91. Значения сопротивления пластового дренажа ζ в однослойном пласте

В двухслойных пластах со свободной поверхностью при соблюдении условия s > 10 уровень грунтовых вод в верхнем слое h1 связан с напором воды на кровле нижнего слоя h2 соотношением

.

В частности, при отсутствии инфильтрации сверху h1 = h2.

При поступлении сверху инфильтрационного питания (см. рис 90, г) приток воды в дренаж рассчитывается по формуле (112), а положение сниженных напоров по кровле нижнего слоя определяется по формуле

                          (120)

Дальность действия дренажа Rw находится подбором из уравнения

                             (121)

Дополнительное фильтрационное сопротивление пластового дренажа в двухслойном пласте ζ2n равно:

причем ζn определяется по графику на рис. 91, I0 (z) и I1 (z) - функции Весселя первого рода мнимого аргумента.

При отсутствии инфильтрации сверху, но наличии кругового контура питания (см. рис. 90) расчетные зависимости имеют вид:

При расположении пластового дренажа вблизи прямолинейного контура питания (рис. 84) с напором hе расчет ведется по формулам:

причем r вычисляется по формуле (97).

При работе пластового дренажа в двухслойном водоносном пласте с неограниченно большой мощностью нижнего слоя (см. рис. 90, е) и наличии кругового контура питания с напором hе на этом контуре приток воды определяется по формуле [4, 42]

Значения функции F13 в зависимости от d = (k1 - k2) / (k1 + k2) рассчитываются следующим образом:

при δ £ 0,6

при δ > 0,6

Значения функции Ф14 (, δ) приведены на рис. 92.

5.23. Неустановившаяся фильтрация наблюдается при отсутствии контура питания, а также в пластах с контурами питания в начальные моменты работы дренажа.

При работе пластового дренажа в однослойном неограниченном в плане пласте без инфильтрационного питания (см. рис. 90, б) приток воды в дренаж в произвольный момент времени вычисляется по формуле

                                        (122)

Значения функции Ф15 (ζ0, f0) приведены на рис. 93.

Рис. 92. График функции Ф14 (, δ)

1 - при d = 1; 2 - при d = 0,8; 3 - при d = 0,6

Положение сниженных уровней грунтовых вод для достаточно больших моментов времени строится по зависимости

                                           (123)

где

Рис. 93. График функции Ф15 (ζ0, f0)

Приток воды в дренаж для больших моментов времени (f0 > 10) рассчитывается по формуле

При работе пластового дренажа в двухслойном неограниченном в плане пласте конечной мощности без инфильтрационного питания (см. рис. 90, д) ввиду сложности расчетных зависимостей расчет ведется отдельно для больших и для малых моментов времени.

В начальные (малые) моменты времени приток воды в дренаж постоянен и равен:

Здесь b02 = [sM (hc - M)]-1; K0 (z), K1 (z) - функции Бесселя второго рода мнимого аргумента; ζ2n определяется по формуле (121).

Свободная поверхность грунтовых вод, располагающаяся в пределах верхнего слоя, строится по уравнению

                  (124)

Для достаточно больших моментов времени расчетные зависимости записываются в виде:

Здесь

Из приведенных в данном разделе зависимостей при ζn = 0, т.е. отсутствии дополнительного фильтрационного сопротивления, получаются формулы для совершенных пристенных дренажей, вскрывающих водоносный пласт на всю мощность.

ГИДРОГЕОЛОГИЧЕСКИЕ РАСЧЕТЫ ЛУЧЕВЫХ ДРЕНАЖЕЙ

При гидрогеологическом расчете лучевого дренажа различаются три схемы - однолучевой дренаж (рис. 94), симметричное расположение дрен-лучей вокруг сборного колодца (рис. 95) и несимметричное расположение их (рис. 96).

5.24. Расчет однолучевого горизонтального дренажа при питании водоносного горизонта за счет инфильтрации сверху определение притока воды в дренаж и построение депрессионной поверхности производятся по формулам [26]:

Q = pωl2 sh 2ξR;                                                (125)

h2 = h2др +  [1 + (2Фл + 2ξ) sh 2ξR - ch 2ξ].                            (126)

Здесь x - координата произвольной точки пласта в системе коэффициента эллиптического цилиндра; Фл - дополнительное фильтрационное сопротивление лучевой дрены; xR - дальность действия дренажа; расчет этих величин ведется по зависимостям

                         (127)

                                          (128)

(2ξR + 2Фл) sh 2ξR - ch 2ξR =  (h2e - h2др) - 1.                       (129)

Величина [4k (h2e - h2др) / (ωl2) - 1] всегда достаточно велика (более 5), поэтому зависимость (129) можно упростить до вида

(2ξR - 1 + 2Фл) exp (2ξR) =  (h2e - h2др) - 2.                          (130)

Расчет xR по этому уравнению осуществляется методом последовательных приближений и не представляет никаких трудностей, особенно при использовании микрокалькуляторов.

По формуле (126), считая x = 0, можно вычислить величину нависания кривой депрессии над дреной Dh

Dh = h (0) - hдр sh 2xR.

Рис. 94. Схема однолучевого дренажа

а - план; б - разрез; 1 - сборный колодец; 2 - лучевая дрена; 3 - депрессионная поверхность при работе дренажа

Рис. 95. Схема (в плане) многолучевого дренажа с симметричным расположением дрен-лучей

1 - сборный колодец; 2 - дрены-лучи; 3 - эквивалентный по водопритоку совершенный вертикальный колодец

Рис. 96. Схемы (в плане) многолучевых дренажей с несимметричным расположением дрен-лучей

а - Г-образный дренаж; б - Т-образный дренаж; в - П-образный дренаж

1 - сборный колодец; 2 - дрены-лучи

Если инфильтрация сверху отсутствует, но имеется круговой контур с постоянным напором he на расстоянии R от центра однолучевого дренажа, то расчет ведется по формулам:

                                                        (131)

                                             (132)

Здесь x и xR определяются по формуле (127), однако при вычислении xR следует считать х = 0, y = R.

5.25. Лучевой дренаж с симметричным расположением дрен-лучей одинаковой длины l вокруг сборного колодца приведен на рис. 95. В этом случае для целей расчета реальный дренаж заменяется эквивалентным по водопритоку совершенным вертикальным колодцем, приведенный радиус которого r* находится по формуле [6]

                                           (133)

Здесь N - количество дрен-лучей.

В дальнейшем в зависимости от условий питания водоносного горизонта расчет ведется по формулам (112) - (119), в которых следует т заменить на hдр и считать x0 = 0.

5.26. Лучевой дренаж с несимметричным расположением лучей в плане изображен на рис. 96. Наибольший интерес представляют дренажи Т-, Г- и П-образных в плане форм. В зависимости от соотношения длин различных дрен-лучей дренажи перечисленных форм при гидрогеологических расчетах приводятся в одних случаях к круглому вертикальному колодцу, в других - к однолучевому дренажу.

Дренажи Г-образных и Т-образных в плане форм (см. рис. 96, а, б) при l2/l1 менее 0,4 и более 2,5 приводятся к однолучевому с приведенной длиной l*, определяемой по формуле l* = m1l1.

Дальнейший расчет ведется по формулам (125) - (132) в зависимости от условий питания водоносного пласта. Значения коэффициента приведения m1 приведены ниже:

l2/l1

0

0,1

0,2

0,3

0,4

m1

1

1,023

1,05

1,09

1,13

При 0,4 < l2/l1 < 2,5 рассматриваемые дренажи приводятся к совершенному вертикальному колодцу, приведенный радиус которого r* рассчитывается по формуле

                                           (134)

причем l* = m2l1. Значения m2:

l2/l1

0,4

0,5

0,6

0,7

0,8

0,9

1

m2

1,13

1,17

1,35

1,332

1,425

1,515

1,596

Дальнейший расчет приведенного вертикального колодца производится указанным выше способом, т.е. по формулам (112) - (119) при ζ0 = 0 и m = hдр.

Дренажи П-образных в плане форм (см. рис. 96, в). При l2/l1 < 0,3 при расчетах реальный дренаж приводится к однолучевому с приведенной длиной l*, равной l* = m3l1, причем значения m3 следующие:

l2/l1

0

0,1

0,2

0,3

m

1

1,046

1,1

1,22

При l2/l1 > 0,3 П-образный в плане лучевой дренаж приводится к вертикальному колодцу приведенным, радиусом r*, рассчитываемым по формуле (134), в которую подставляется значение l* = 2,256.

ГИДРОГЕОЛОГИЧЕСКИЕ РАСЧЕТЫ ВЕНТИЛЯЦИОННЫХ ДРЕНАЖЕЙ

5.27. Вентиляционный дренаж устраивается для понижения уровня грунтовых вод, снятия капиллярной каймы и снижения влажности слабопроницаемых грунтов. Наиболее рациональными типами их являются траншейный и пластовый. Вентиляционный дренаж траншейного типа представляет собой заполненный крупнообломочным материалом (щебнем фракций 30 - 50 мм) канал (рис. 97, а) пластового типа - дренажную постель из такого же материала (рис. 97, б), сочетающиеся с устройствами для забора и выброса продуваемого воздуха.

Гидрогеологический расчет вентиляционного дренажа заключается в определении поля влагосодержания в зоне осушения, притока воды в дренаж и снижения уровней грунтовых вод в основании дренажа пластового типа.

Миграция влаги к вентиляционным дренажам может носить установившийся и неустановившийся характер. Неустановившаяся миграция происходит при отсутствии контура питания и в пластах с контуром питания в начальные моменты работы дренажа. Ниже приводятся основные расчетные зависимости для прогноза влагосодержания в области капиллярной каймы при работе вентиляционного дренажа, в неустановившемся режиме [17]. Они построены таким образом, что формулы для установившегося процесса получаются при отбрасывании слагаемого, содержащего время.

5.28. Вентиляционный дренаж траншейного типа (рис. 97, а).

Рис. 97. Схемы к расчету вентиляционного дренажа траншейного (а) и пластового (б) типа

1 - дренажная траншея; 2 - дренажная постель; 3 - защищаемое сооружение

Расчет поля влагосодержания в зоне действия дренажа и притока влаги в дренаж на единицу ее длины q производится по формулам:

                                                (135)

.                                               (136)

u - влагосодержание грунта, кг/кг; u0 - начальное влагосодержание; иn - влагосодержание при полном водонасыщении, up - равновесное влагосодержание; и2 - влагосодержание продуваемого через дренажный слой воздуха; D - коэффициент диффузии влаги, м2/c; r0 - плотность скелета грунта, кг/м3.

5.29. Вентиляционный дренаж пластового типа (рис. 97, б). Расчет поля влагосодержания, притока воды в дрену на единицу длины q и средняя величина испаряемой влаги с единицы поверхности w, м/с, производятся по формулам:

                              (137)

                             (138)

                   (139)

Для облегчения расчетов по формулам (135) - (139), в которые входят бесконечные ряды, в прил. 15 - 17 приведены программы счета, составленные для настольных микрокалькуляторов типа «Электроника» БЗ-34, МК-56, МК-54, причем программы для расчетов слагаемых формул, зависящих и независящих от времени, даны отдельно. При расчете неустановившегося процесса необходимо суммировать результаты счета отдельных слагаемых.

Определение пониженного положения УГВ при работе вентиляционного дренажа осуществляется методом последовательных приближений по величине интенсивности испарения w с поверхности грунтовых вод. Для этого вначале по известному положению уровня грунтовых вод с помощью формулы (139) определяют величину интенсивности испарения с поверхности грунтовых вод w. Затем по формулам, приведенным в предыдущих разделах, рассчитывают новое положение уровня грунтовых вод с учетом испарения. Далее повторяют расчет интенсивности испарения для изменившегося положения УГВ до тех пор, пока он не станет заметно изменяться (обычно это второе, реже - третье приближение). После этого находят влагосодержание в характерных точках u (x, z, t) и влагоприток в дрену q (t).

5.30. Для расчета вентиляционного дренажа необходимы следующие исходные данные:

геометрические размеры дренажа (в плане и в разрезе);

положение УГВ до начала продувки воздуха;

свойства грунта (коэффициент диффузии влаги, коэффициент фильтрации, коэффициент водоотдачи, равновесное влагосодержание, влагосодержание в состоянии полного водонасыщения, влагосодержание в естественном состоянии).

Геометрические размеры дренажа определяются конфигурацией и размерами защищаемого сооружения, причем заглубление дренажа редко превышает 3 - 4 м.

За начальное положение УГВ следует принимать УГВ в момент окончания строительства. Свойства грунта определяют по результатам изысканий или литературным данным.

В качестве равновесного влагосодержания up принимается влагосодержание, соответствующее гигроскопической влажности, которая, в свою очередь, зависит от относительной влажности воздуха. Определяется она по изотерме десорбции (сушки) грунта, последняя строится по результатам лабораторных определений гигроскопической влажности при различных значениях относительной влажности воздуха.

Коэффициент диффузии влаги D определяется по данным полевых или лабораторных экспериментов, при отсутствии их он может быть приближенно рассчитан по формуле [20]

 n = 6,4 - 11,8; nср ≈ 10,

T - абсолютная температура, К; u - влагосодержание, кг/кг.

Для слабопроницаемых грунтов в диапазоне изменения влажности u = 0,12 - 0,25, коэффициент диффузии влаги меняется в пределах (0,4 - 1,0) 10-8 м2.

ГИДРОГЕОЛОГИЧЕСКИЕ РАСЧЕТЫ ПНЕВМОНАГНЕТАТЕЛЬНЫХ СИСТЕМ ОСУШЕНИЯ ГРУНТОВ

5.31. Пневмонагнетательным называется процесс осушения грунта путем принудительной продувки воздуха через массив грунта. Пневмонагнетательная система представляет собой совокупность воздухонагнетательных и приемных скважин, расположенных определенным способом на осушаемой территории. В отдельных случаях приемные скважины могут отсутствовать, например, при наличии естественных или искусственных контуров дренирования - откосов, котлованов, траншей и т.д.

При нагнетании воздуха в обводненный грунт через скважины (в пластах со свободной поверхностью часть воздуха уходит в атмосферу) вначале происходит вытеснение воды из наиболее крупных пор, эта вода отводится через приемные скважины. По истечении некоторого промежутка времени Т вытесняющий воздух достигает приемной дрены, в этот момент заканчивается первая стадия осушения, т.е. стадия вытеснения. В дальнейшем происходит фильтрация воздуха по грунтовому массиву, сопровождающаяся испарением влаги и осушением пор до значения влагосодержания, близкого к максимальной гигроскопической влажности. Эта стадия называется второй. Таким образом, процесс пневмонагнетательного осушения грунтового массива является стадийным.

Рис. 98. График зависимости относительной проницаемости для воздуха сs от водонасыщенности

Нагнетательные и приемные скважины должны быть гидродинамически совершенными, в плане они могут располагаться различным способом. Однако наиболее целесообразной является линейная и кольцевая схемы. В первом случае они представляют линейные ряды нагнетательных и приемных скважин, которые при фильтрационных расчетах допустимо рассматривать как галереи. Во втором случае вокруг нагнетательной скважины по круговому (или близкому к нему) контуру располагается система приемных скважин, которые также могут рассматриваться при расчете как кольцевая галерея.

5.32. Расчетные зависимости для пневмонагнетательных систем осушения линейного и кольцевого типов при закачке воздуха с постоянным давлением рн приведены в табл. 29. Формулы для нагнетания воздуха с постоянным расходом не приводятся, так как такой режим работы скважин маловероятен.

При расчетах по формулам, приведенным в табл. 35, необходимы проницаемость пласта с, м2, фазовые проницаемости для воздуха за фронтом вытеснения сs и в конце второй стадии осушения сk. Проницаемость пласта может быть пересчитана по его коэффициенту фильтрации с использованием соотношения c = kv/g; значения фазовых проницаемостей сs и сk снимаются из графика сs = f (s), приведенного на рис. 98, по величинам остаточной насыщенности за фронтом вытеснения sост и в конце второй стадии осушения sk. Расчет насыщенности по известному влагосодержанию производится по формуле

s = r0 (1 - n) u/ (nr2),                                                     (144)

где r0 - плотность скелета грунта, кг/м3; r2 - плотность поды, кг/м3; n - пористость грунта; и - влагосодержание, кг/кг.


Таблица 29

Расчетная схема

Характер территории

Расчетная формула

№ формулы

 

Двухлинейный совершенный горизонтальный дренаж

 

Застроенная

(140)

Незастроенная

(141)

 

Нагнетательная скважина с кольцевой приемной дреной

 

Застроенная

(142)

Незастроенная

(143)


Условные обозначения: j = сm1/ (csm2) - коэффициент подвижности, с - проницаемость пласта, м2; сs и сk - фазовые проницаемости воздуха при насыщенности sост и sкон; rн - избыточное давление нагнетания, Па; Т - продолжительность I стадии (время вытеснения); q1вз,. Q1вз - расход воздуха из нагнетательной дрены (на 1 м длины) и нагнетательной скважины в конце I стадии, м3/ (с·м), м3/с; q2вз, Q2вз - то же в конце II стадии: q, Q - приток волы в приемную дрену в начальный момент нагнетания, м3/ (с·м), м3/с; q, Q - то же, в конце I стадии.

В качестве остаточного влагосодержания uост может быть принято влагосодержание, соответствующее максимальной молекулярной влагоемкости, а в конце второй стадии uk - максимальной гигроскопичности.

ГИДРОГЕОЛОГИЧЕСКИЕ РАСЧЕТЫ ГОРИЗОНТАЛЬНЫХ ВАКУУМНЫХ ДРЕНАЖЕЙ

Исходные положения

5.33. В общем случае при работе вакуумного дренажа выделяются два этапа, соответствующие двум режимам работы - затопленному, т.е. до прорыва атмосферного воздуха в дрену (рис. 99, а) и незатопленному, когда в дрену наряду с водой поступает и атмосферный воздух (рис. 99, б). Расчеты вакуумного дренажа выполняются с учетом этих этапов фильтрации.

При работе вакуумного дренажа отрицательное избыточное давление ризб = (р - рат) < 0 имеет место не только в полости дрены, но и в некоторой зоне вокруг нее. Поэтому необходимо ввести четкое определение понятия «поверхность грунтовых вод». Под поверхностью грунтовых вод далее понимается поверхность зоны полного насыщения грунтов водой, на которой s = 1 (s - водонасыщенность), ординату этой поверхности над горизонтальным водоупором обозначим через H (x, y, t). Поверхность, на которой давление равно атмосферному (р = рат или ризб = 0), называется фреатической поверхностью и обозначается через h (х, y, t). При пренебрежении капиллярной зоной до начала работы вакуумного дренажа фреатическая поверхность совпадает с поверхностью грунтовых вод (см. рис. 99). После включения вакуума в дрене эти поверхности в общем не совпадают друг с другом - появляется зона, в которой хотя ризб < 0, но фильтрация происходит с полным насыщением (рис. 99, а, б). Мощность этой зоны зависит от величины избыточного давления и равна Hизб = ризб / (r2g), где r2 - плотность воды. Таким образом, при вакуумировании дрен поверхность грунтовых вод находится по соотношению

H = h + Hизб = h - ризб / (rg).                                              (145)

Рис. 99. Схемы к расчету фильтрации к горизонтальной дрене при вакуумировании на первом (а) и втором (б) этапах

1 - поверхность грунтовых вод до работы дренажа: 2 - фреатическая поверхность при работе дренажа, на которой р = рат; 3 - поверхность грунтовых вод при работе дренажа (s = 1); 4 - дрена

С учетом капиллярных свойств грунтов формула (145) принимает вид

H = h + Hизб + Hк,                                                       (146)

где Hк - эффективный капиллярный напор, Hк = ahк, причем hк - максимальная величина капиллярного подъема в данном грунте; a = 0,1 - 0,2 (большие значения a относятся к более крупнозернистым грунтам).

Величина Hизб находится путем решения задачи о притоке воздуха в дрену, h - из решения задачи притока воды.

5.34. При расчете вакуумного дренажа необходимо знать следующие параметры водоносного пласта - коэффициент фильтрации, относительную (фазовую) проницаемость для воздуха с0, высоту капиллярного поднятия hк, водоотдачу n, которые определяются по результатам специальных опытно-фильтрационных работ.

Для приближенной оценки водоотдачи п и высоты капиллярного поднятия hк можно воспользоваться в первом приближении графиками, приведенными на рис. 100. Фазовая проницаемость для воздуха c0 в зависимости от насыщенности порового пространства водой находится по рис. 98. В качестве насыщенности s в первом приближении может быть принята насыщенность, соответствующая максимальной молекулярной влагоемкости. Для более точного определения c0 необходимо знать величину вакуума в придренной зоне, а затем по кривой капиллярное давление - насыщенность [51] найти соответствующую известному вакууму насыщенность s. В свою очередь, расчет насыщенности по известному влагосодержанию производится по формуле (144).

Рис. 100. Ориентировочные значения высоты капиллярного поднятия грунтов hk и водоотдачи n

При расчетах вакуумного дренажа считается, что в дренах все время поддерживается вакуум рв.

Расчет вакуумного дренажа при работе в затопленном режиме

5.35. Гидродинамическая схема для расчета вакуумного дренажа в затопленном режиме представлена на рис. 101. Задача расчета заключается в определении продолжительности этого этапа, положения сниженных уровней и притока воды в дренаж. Воздухоприток на данном этапе отсутствует.

Схема совершенного горизонтального вакуумного дренажа (рис. 101, а). Расчет положения сниженного уровня грунтовых вод Н, продолжительности затопленного режима работы дренажа Т и полного притока воды в дрену на единицу ее длины q производятся по формулам:

H = he - (he + Hb - hдр) θ11 (x, f0);                                            (147)

                                            (148)

q =  (he + Hв - M) θ5 (f0).                                              (149)

Здесь  = x/L; f0 = kMt/nt2; Hв - величина вакуума в дрене, (в м. вод. ст.); q5 (f0) и q11 (, f0) - специальные функции, графики которых представлены на рис. 69 и 102.

Рис. 101. Схема к расчету совершенного (а) и несовершенного (б) горизонтального вакуумного дренажа при затопленном режиме

1 - дрена; 2 - уровень грунтовых вод до работы дренажа; 3 - то же, при работе дренажа

Расчет несовершенного горизонтального вакуумного дренажа (рис. 101, б) т.е. определение положения сниженных уровней, продолжительности затопленного режима и притока воды в дренаж производятся по формулам:

H = he - (he +Hb - M) q6 (, Bi, f0)                                         (150)

                    (151)

q =  Вi [1 - q6 (0, Bi, f0)].                                  (152)

Здесь  = x/L; f0 = kMt/ (nL2); Вi = L/ (2Фн); q6 (, Bi, f0) - функция, график которой приведен на рис. 71; Фн - фильтрационное сопротивление на несовершенство, определение которого производится по формуле (62) или (63).

Расчет времени прорыва воздуха в дрену по формуле (151) производится по методу итераций, причем за начальное приближение этого времени Т′ принимается значение его для совершенного дренажа, найденное по формуле (148). Затем по найденному Т′ вычисляется f0′ = kMT′ / (nL2), по графику на рис. 71 определяется q6 (0, Bi, f0) и по (151) вычисляется новое значение Т". Если Т′ и Т" существенно различны, то вычисления продолжают до тех пор, пока расчетные значения Т будут мало отличаться друг от друга.

Формулы (150) - (152) справедливы при M/L £ 0,2, что имеет место практически всегда.

Рис. 102. График функции q11 (, f0).

Расчетные зависимости (147) - (152), строго говоря, справедливы для систематического дренажа, но могут быть применены и при расчетах дренажей других типов, например кольцевых, двухлинейных и т.д. Однако в этих случаях вместо L необходимо использовать иной характерный размер области фильтрации, например: для контурного дренажа - приведенный радиус кольца, берегового - расстояние до реки, двухлинейного - половину расстояния между дренами.

Расчет вакуумного горизонтального дренажа при работе в незатопленном режиме

5.36. Во вторую стадию фильтрации в дрены поступают как вода, так и воздух. Как правило, в подобной ситуации продолжительность первой стадии фильтрации - до прорыва воздуха - мала по сравнению со второй, и при фильтрационных расчетах ею можно пренебречь. Фильтрационные расчеты проводятся с целью определения притоков воды, воздуха, положения сниженных уровней и междренных расстояний.

На фильтрацию воздуха к дренам существенное влияние оказывает технология обратной засыпки траншеи, в которой уложены дренажные трубы.

Рис. 103. Схемы к расчету притока воздуха в вакуумный дренаж после его прорыва при наличии (а) и отсутствии (б) защитного экрана

1 - вакуум-дрена; 2 - фреатическая поверхность; 3 - уровень грунтовых вод; 4 - защитный экран; 5 - линии тока для воздуха

Рис. 104. График функции j ()                          Рис. 105. График функции jр ()

Наиболее целесообразно после устройства обсыпки дренажные трубы присыпать сверху грунтом на высоту 30 - 40 см и уплотнить его. На присыпанный грунт необходимо уложить полиэтиленовую пленку (экран), а затем осуществить полную обратную засыпку траншеи вынутым грунтом (рис. 103, а). В этом случае приток воздуха в дрену на единицу ее длины определяется зависимостью

где rвз - высота части дрены, доступной для воздуха; Мв - расстояние от поверхности земли (где давление равно атмосферному) до центра дренажной трубы; с0 - проницаемость грунта для воздуха, м2; m1 - коэффициент динамической вязкости воздуха, рдр - абсолютное давление воздуха в полости дрены.

График функции j (rвз/М) представлен на рис. 104.

Если же обратная засыпка траншей осуществлена без трамбовки и укладки полиэтиленовой пленки, то

                                            (153)

При фильтрации воздуха на поверхности грунтовых вод давление будет переменным и меньше атмосферного. Вдоль этой поверхности оно может быть рассчитано по формуле

p1 = pат - (pат - pдр) jр (x/Mв).                                             (154)

График функции jр (x/Mв) представлен на рис. 105. Формула (154) показывает, что вдоль поверхности грунтовых вод давление меняется от рдр вблизи дрены до рат вдали от нее. Среднее значение давления на поверхности грунтовых вод рассчитывается по формуле

p1cр = pат - 0,507Мв (pат - pдр) /L.

Расчеты фильтрации воздуха к кольцевому вакуумному дренажу показывают, что размеры и форма области фильтрации воздуха слабо влияют на приток его к дренам.

Определяющими характеристиками для притока воздуха являются величина вакуума, мощность области фильтрации воздуха и диаметр дрены, где создается вакуум.

Приток воздуха к кольцевому дренажу радиусом r0 при наличии экрана над дреной (см. рис. 101, а) определяется зависимостью

                                              (155)

а при отсутствии экрана (см. рис. 101, б)

                                     (156)

Распределение давления воздуха на поверхности грунтовых вод при работе кольцевого вакуумного дренажа рассчитывается по формуле (153), в которую вместо x ставится величина (r - r0) для внешней зоны (r > r0) и (r0 - r) для внутренней зоны (r £ r0).

5.37. Как уже указывалось, поверхность грунтовых вод при вакуумировании дрен определяется по формуле (146). Величина Низб, входящая в эту формулу, рассчитывается по формуле

Низб = Нв jр ;                                                     (157)

где x = x для линейных дрен (однолинейных, двухлинейных, систематических) и x = | r - r0 | для кольцевого дренажа.

Напор h (x, у, t), входящий в соотношение (146), определяется по приведенным ранее зависимостям с заменой, в них величины hдр на hдр - Hв.

Таким образом, при вакуумировании горизонтального дренажа для положения поверхности грунтовых вод получаем

Н = h (x, у, t) + Нв jр  + Нk.                                       (158)

Так, например, для расчета поверхности грунтовых вод при вакуумировании двухлинейного несовершенного дренажа, работающего в однослойном пласте (см. рис. 64, б) при М = 0, с учетом формул (157), (158) и (72) получаем:

                                  (159)

Приток воды в дренаж рассчитывается по формулам, приведенным ранее путем замены hдр на (hдр - Нв).

ГИДРОГЕОЛОГИЧЕСКИЕ РАСЧЕТЫ ВЕРТИКАЛЬНЫХ ДРЕНАЖЕЙ

Основные положения

5.38. Вертикальные дренажи применяются для осушения водоносных пластов, представленных хорошо проницаемыми породами.

В зависимости от конкретных условий водопонижающие скважины могут располагаться произвольным образом, по определенной сетке или образовывают упорядоченные системы - линейные, кольцевые. При наличии контуров с постоянными напорами или поступлении сверху инфильтрационного питания фильтрация является стационарной, в остальных случаях - нестационарной. При нестационарной фильтрации скважины могут работать как при режиме постоянного притока воды, так и при постоянном уровне. Второй режим является более характерным для вертикального дренажа на подтопленных территориях.

5.39. Водоносные горизонты, как правило, имеют однослойное или двухслойное строение. При двухслойном строении пласта в подавляющем большинстве более проницаемым является нижний слой, а свободная поверхность подземных вод располагается в пределах верхнего слоя. Для фильтрационных расчетов при k2/k1 < 25, где k2 и k1 - коэффициенты фильтрации пород нижнего и верхнего слоев, двухслойный пласт приводится к однослойному с коэффициентом фильтрации k1 и приведенной мощностью h*, вычисляемой по формуле (64). При k2/k1 > 25 используется гипотеза Мятиева - Гиринского [35], согласно которой при установившемся движении с инфильтрацией интенсивностью w ордината свободной поверхности в верхнем слое связана с напором на кровле нижнего горизонта h2 соотношением h1 = h2k1/ (k1 - w).

В слоистых пластах, когда отношение коэффициентов фильтрации смежных слоев не превышает 25, для фильтрационных расчетов может использоваться потенциал Гиринского [4, 5]. Если же отношение проницаемостей смежных слоев не превышает 25, то при расчетах многослойный пласт приводится к однослойному с приведенной мощностью фильтрационного потока hпр, определяемой по формуле [42]

hпр = he + ,

где mi - мощность отдельных слоев, n - их количество.

При использовании приведенной мощности пласта в качестве фильтрационных параметров (коэффициент фильтрации, водоотдача и др.) принимаются параметры верхнего слоя, в пределах которого находится свободная поверхность грунтовых вод.

С целью сокращения записи расчетных формул используем понятие о напорной функции U, которая определяется по формулам [7, 24]:

для напорных пластов

U = М (he - h);                                                      (160)

для пластов со свободной поверхностью

U = 0,5 (h2e - h2).                                                  (161)

Здесь М - мощность напорного пласта; h - напор подземных вод, отсчитываемый от горизонтальной подошвы пласта (в случае напорных вод) или мощность грунтового потока (в случае потоков со свободной поверхностью); he - напор (мощность) до работы дренажа, т.е. в естественных условиях.

В частности, на стенке дренажа (скважины) напорная функция определяется соотношениями:

для напорных пластов

Uдр = М (he - hдр) = МSдр;                                               (162)

для пластов со свободной поверхностью

U = 0,5 (h2e - h2др) = 0,5Sдр (2he - Sдр).                                 (163)

В двухслойных пластах при s > 25 под h понимается напор по кровле нижнего слоя.

Для неоднородно-слоистых пластов вместо истинных мощностей М и h используются приведенные величины.

В общем случае несовершенных по степени вскрытия пласта водопонижающих скважин расчетные зависимости для определения притока воды Q в каждую из них и построения сниженной поверхности грунтовых вод представляются в виде:

Q = 4pkUдр / (Fс + ζс);                                                   (164)

U = (Q/4pk) (Fr + ζ);                                                    (165)

где Фс - фильтрационное сопротивление совершенной скважины; Фr - фильтрационное сопротивление, отнесенное к произвольной точке осушаемого пласта; ζс - дополнительное сопротивление на несовершенство скважины; ζ - то же, отнесенное к произвольной точке пласта.

В некоторых случаях, например при расчете взаимодействующих скважин, выражения для Фс и Фr не удается выписать в удобном для расчета виде, поэтому для таких схем расчетные зависимости приводятся в более общем виде.

Расчеты вертикальных дренажей при установившейся фильтрации

5.40. Установившаяся фильтрация имеет место при наличии линейного или кругового контура питания, а также при поступлении сверху инфильтрации (рис. 106 - 111).

Значения фильтрационных сопротивлений Фс и Фr, для большинства расчетных схем вертикального дренажа приведены в табл. 30.

Рассмотрим дополнительно следующие схемы.

Группа из N произвольно расположенных скважин в круговом пласте (см. рис. 106, б). Расчет выполняется по методу суперпозиции, напорная функция в произвольной точке находится по формуле [51]

                                (172)

где Qi - приток в скважину с номером i.

Рис. 106. Одиночная скважина (а) и группа их (б) в водоносном пласте с круговым контуром питания

Рис. 107. Линейный ряд скважин у контура с постоянным напором

Рис. 108. Линейный ряд скважин между непроницаемой границей и контуром питания

Рис. 109. Линейный ряд скважин между контурами питания и стока

Рис. 110. Кольцевая система скважин в пласте с круговым контуром питания

Рис. 111. Одиночная скважина в пласте с инфильтрационным питанием сверху

Для определения притоков воды в скважины Qi составляется система из N уравнений вида

Выражение i = N означает, что суммируя по i от 1 до N, опускается член i = j.

Здесь Uдрj - напорная функция в скважине с номером j; Qj - приток в эту скважину; rсj - ее радиус; rj, aj - полярные координаты этой скважины.

Кольцевой вертикальный дренаж (кольцевая система скважин) вблизи контура с постоянным напором. В этом случае дебиты скважин оказываются различными. Наибольший дебит имеет скважина, расположенная ближе всех к контуру питания, он равен:

Приток в дальнюю скважину равен:

где L - расстояние от центра кольцевой системы до контура с постоянным напором.

Значение напорной функции в центре кольцевой системы определяется по формуле

U = (Q′ + Q″/4pk) n ln (2L/r0).

Таблица 30

Расчетная схема

Fc

Fr

№ формулы

См. рис. 106, а

(166)

См. рис. 107

при  < 2

 при  > 2

(167)

s/rс ³ 25;

L1/s > 0,5;

L1/L £ 0,5

См. рис. 108

(168)

L1/s ³ 0,25

s/rс ³ 25;

L1/L £ 0,05

См. рис. 109

По линии у = 0

 

(169)

См. рис. 110

(170)

См. рис. 111

, где Rw определяется подбором из уравнения

(171)

5.41. Дополнительное сопротивление на несовершенство дренажа ζ зависит от степени врезки дренажа в пласт и расстояния от рассматриваемой точки до скважины. Значения ζ, заимствованные из [24], приведены в табл. 31.

Таблица 31

l/M

Значения ζ при значениях М/r, равных

0,5

1

3

10

30

100

200

500

1000

2000

0,05

0,00423

0,135

2,3

12,6

35,5

71,9

94

126

149

169

0,1

0,00391

0,122

2,04

10,4

24,3

42,8

53,8

68,5

79,6

90,9

0,3

0,00297

0,091

1,29

4,79

9,2

14,5

17,7

21,8

24,9

28,2

0,5

0,00165

0,0494

0,656

2,26

4,21

6,5

7,86

9,64

11

12,4

0,7

0,00055

0,0167

0,237

0,879

1,69

2,67

3,24

4,01

4,53

5,19

0,9

0,00005

0,0015

0,025

0,128

0,3

0,528

0,664

0,846

0,983

1,12

Условные обозначения: М - мощность напорного пласта; l - длина фильтра скважины; r - радиус скважины или расстояние до рассматриваемой точки. Для пластов со свободной поверхностью М = he - 0,5Sдр; l = l0 - 0,5Sдр, где l0 - разность отметок естественного уровня грунтовых вод и низа рабочей части скважины.

Расчеты вертикального дренажа при неустановившейся фильтрации

5.42. В неограниченных в плане или ограниченных непроницаемыми контурами водоносных пластах фильтрация к вертикальному дренажу носит неустановившийся характер, причем следует различать два режима работы скважин: с постоянным дебитом и с постоянным уровнем воды в скважинах. Работа скважин с постоянным дебитом имеет место, главным образом, в хорошо проницаемых пластах. При этом уровни в скважинах постепенно падают, пока не наступит их стабилизация за счет наступления установившейся фильтрации или опускания уровня до отметки погружения насоса. Во втором случае в дальнейшем происходит уменьшение дебита, скважин.

В дальнейшем расчетные зависимости будем представлять в виде формул (164) и (165), поэтому приводятся лишь значения для Fc и Фч.

5.43. При расчете работы скважин при постоянном притоке задача сводится к определению положения сниженных уровней как в самих скважинах, так и на различных расстояниях от скважин. В общем случае несовершенных скважин определение этих величин производится по формулам (164) и (165). Значения фильтрационных сопротивлений Фс и Фr приведены в табл. 32, а дополнительное сопротивление ζ принимается по табл. 31.

Для схем, не включенных в табл. 32, отметим, что они могут быть рассчитаны по методу суперпозиции (см. разд. 2). В частности, при работе группы из N произвольно расположенных скважин в неограниченном пласте для определения напорной функции в произвольной точке пласта используется формула

Qсум = Q1 + Q2 + … + QN,

где Qn - дебит скважины с номером п; rn - расстояние от точки, где определяется напорная функция, до этой скважины.

5.44. При работе скважин при постоянном уровне воды расчет сводится к определению притока воды и положения сниженных уровней (или напорной функции) на различные моменты времени. Расчетные зависимости имеют сложный характер и, как правило, сведение их в таблицу оказывается малоудобным, понятие напорных функций U и Uдр при этом сохраняется.

Рассмотрим отдельные расчетные схемы.

Одиночная скважина в безграничном пласте (рис. 112). Определение притока в скважину и построение депрессионной поверхности производятся по формулам [42]:

Q = 4pkUдрG (f0);                                                  (179)

U = Uдр [1 - Ф16 (r, f0)];                                            (180)

* = r/rc; f0 = at/r2c.

Функции G (f0) и Ф16 (, f0) табулированы, значения их приведены на рис. 117 и 118. Отметим, что при f0 > 100 функция G (f0) может быть представлена в виде

G (f0) = - [1/Ei (- 0,25/f0)].

Линейный ряд скважин в безграничном пласте представлен на рис. 113, а в полуограниченном пласте - на рис. 114. Определение притока воды в каждую скважину ряда при f0 ³ 25 производится по формуле [24]

                    (181)

где

Таблица 32

 

Fc

Fr

№ формулы

 

 при  > 0,1

 при  < 0,1

 при  > 0,1

 при  < 0,1

(173)

См. рис. 112

 при

 при  < 0,1

при  > 0,1

 при  < 0,1

ρ2 = (2L + x)2 + y2

(174)

См. рис. 113

(175)

См. рис. 114

(176)

См. рис. 115

nF22 (1, f0) +

nF22 (, f0);

 = r/r0; f0 = khct/ (nr20)

(177)

См. рис. 116

f0 = khct/ (nR2)

(178)

Примечание. Значения функции F22 (, f0) приведены в табл. 1.

Рис. 112. Одиночная скважина в полуограниченном пласте

Рис. 113. Линейный ряд скважины в неограниченном пласте

Рис. 114. Линейный ряд скважин в полуограниченном пласте

Рис. 115. Кольцевая система скважин в неограниченном пласте

Рис. 116. Систематический вертикальный дренаж

Расчетная зависимость для построения депрессионной поверхности имеет очень сложный вид и поэтому здесь не приводится. В точках, лежащих на оси ох (см. рис. 113), т.е. на линии, проходящей посередине между скважинами, перпендикулярно линейному ряду, напорную функцию можно определить по формуле

U = (2Uдр/p) [1 - Ф17 (, , f0)],                                         (182)

где  = xs;  = rc /s; f0 = at/s2.

Рис. 117. График функции G (f0)

Рис. 118. График функции Ф16 (, f0)

Значения функции Ф17 (, , f0) приведены в табл. 33. При значении  > 0,75 напорную функцию можно находить по зависимости

Таблица 33

Значения Ф17 (, , f0) при значениях f0, равных

0,25

0,5

1

2

4

6

8

10

0

0,0001

0,345

0,265

0,18

0,087

0,039

0,017

0,013

0,013

1

0,375

0,297

0,22

0,115

0,04

0,02

0,014

0,014

2

0,465

0,375

0,265

0,134

0,044

0,021

0,015

0,015

3

0,53

0,425

0,302

0,155

0,048

0,023

0,016

0,016

4

0,728

0,549

0,355

0,177

0,054

0,026

0,018

0,018

5

0,905

0,683

0,428

0,212

0,065

0,03

0,021

0,021

0

0,0005

0,32

0,245

0,176

0,082

0,035

0,016

0,012

0,012

1

0,345

0,258

0,205

0,097

0,038

0,018

0,013

0,013

2

0,408

0,328

0,23

0,118

0,041

0,02

0,014

0,014

3

0,47

0,385

0,257

0,135

0,043

0,021

0,015

0,015

4

0,554

0,448

0,305

0,152

0,048

0,023

0,016

0,016

5

0,701

0,54

0,346

0,176

0,055

0,026

0,019

0,019

0

0,001

0,305

0,226

0,165

0,077

0,033

0,015

0,012

0,012

1

0,334

0,235

0,185

0,1

0,038

0,017

0,0127

0,0127

2

0,408

0,315

0,216

0,11

0,04

0,019

0,0135

0,0135

3

0,445

0,367

0,239

0,126

0,041

0,020

0,0142

0,0142

4

0,515

0,41

0,282

0,141

0,045

0,022

0,0156

0,0156

5

0,632

0,49

0,317

0,163

0,051

0,025

0,018

0,018

0

0,005

0,265

0,212

0,153

0,062

0,023

0,01

0,01

0,01

1

0,300

0,235

0,165

0,075

0,023

0,015

0,011

0,011

2

0,324

0,27

0,18

0,095

0,032

0,017

0,012

0,012

3

0,355

0,3

0,202

0,108

0,035

0,018

0,013

0,013

4

0,438

0,338

0,236

0,12

0,038

0,019

0,014

0,014

5

0,507

0,396

0,259

0,135

0,043

0,021

0,015

0,015

Кольцевой вертикальный дренаж в неограниченном пласте приведен на рис. 115. Приток воды в каждую из скважин кольцевой системы определяется по формуле

где N - число скважин; G (f0) - табулированная функция, значения которой приведены на рис. 117.

Динамика снижения уровней (напоров) подземных вод за пределами кольцевой системы может быть оценена по формуле (180), в которую вместо rc необходимо подставить радиус системы r0. Внутри дренируемого контура понижение в центре находится из уравнения

Uц = Uдр [1 - Ф5 (0, f0)].

Значения функции Ф5 (0, f0) приведены на рис. 81. Схема систематического дренажа (см. рис. 116). При наличии инфильтрации сверху с интенсивностью w дебит каждой скважины с достаточной степенью точности находится по формуле [7, 42]:

f0 = at/R2;  = rc /R, ν1 - первый корень уравнения

Y0n) J0n) = J1n) Y0n).

Значения этого корня в зависимости от  приведены ниже:

0,01

0,001

0,0001

0,00001

n1

0,7167

0,5687

0,4857

0,4308

Понижение уровня на междренье (при r = R) находится по формуле

При отсутствии инфильтрации в приведенных формулах следует считать, что w = 0.

Учет гидродинамического несовершенства скважин осуществляется описанным выше способом с использованием значений ζ, приведенных в табл. 36.

Об определении расчетного значения «радиуса действия» вертикальных дренажей

5.45. Вертикальные дренажи, применяемые в промышленном и городском строительстве, как правило, рассчитываются на длительный срок действия, поэтому для их расчета обычно используются уравнения установившегося во времени движения грунтовых вод. В тех случаях, когда возникает необходимость в определении времени осушения, используются уравнения неустановившегося движения грунтовых вод.

Соответственно этому и радиусы действия (радиусы депрессии) вертикальных дренажей следует различать в условиях установившегося и неустановившегося движения грунтовых вод.

В том и другом случае величина радиуса действия наиболее надежно может быть определена опытным путем, при котором в процессе откачки воды автоматически учитываются условия питания и разгрузки водоносного пласта.

Керкисом Е. Е. предложены формулы перехода от значения Rэ, установленного опытным путем, к искомой величине Rp, являющейся расчетной для данного дренажа.

В водоносных пластах со свободной поверхностью величина Rp может быть найдена из уравнения

                                 (183)

где r0 - радиус равновеликого круга, к которому приводится реальный контур проектируемого дренажа; Sдр - понижение уровня грунтовых вод в проектируемом дренаже; Sэ - понижение уровня в дренаже-аналоге, при работе которого наблюдается радиус Rэ; r0 - приведенный радиус контура этого дренажа; he - мощность безнапорного водоносного пласта, который намечается дренировать; he - то же, на участке дренажа-аналога.

Искомый радиус Rp находится подбором. Однако часто на практике данные по опытной откачке отсутствуют, поэтому в этих случаях приходится прибегать к определению радиуса действия дренажа расчетным путем.

При работе вертикального дренажа в неограниченном в плане водоносном горизонте установившееся положение воронки депрессии может быть достигнуто при наличии инфильтрационного питания или при перетоке воды из нижележащих напорных пластов.

При питании водоносного горизонта за счет равномерной инфильтрации в пределах бассейна с интенсивностью w величина радиуса влияния может быть приближенно определена по формулам:

при одномерно-радиальной фильтрации

                  (184)

при плоскопараллельной фильтрации

                                                  (185)

Определение R по формуле (184) производится подбором.

При питании водоносного горизонта со свободной поверхностью из нижележащего напорного пласта через слабопроницаемый слой мощностью d и коэффициентом фильтрации kd выражения для радиуса влияния принимают вид [35]:

при одномерно-радиальной фильтрации

                                                     (186)

при плоскопараллельной фильтрации

                                                         (187)

Для напорного пласта в формулы (186) - (187) вместо he необходимо подставить его мощность М.

Эти формулы применимы при условии, что

 < 0,2,

если оно не выполнено, то расчет ведется по соотношению

R = r0 exp [K0 (l) / lK1 (l)],                                          (188)

где K0 (l), K1 (l) - функции Бесселя мнимого аргумента второго рода.

При отсутствии инфильтрационного и напорного питания переменный во времени радиус действия дренажа находится по формуле

                                                             (189)

ПРИМЕРЫ ГИДРОГЕОЛОГИЧЕСКИХ РАСЧЕТОВ ДРЕНАЖЕЙ

Пример 1. Гидрогеологический расчет совершенного систематического дренажа

5.46. В пределах осушаемой территории интенсивность дополнительного инфильтрационного питания грунтовых вод составляет w = 5 · 10-4 м/сут. Для защиты от подтопления предполагается соорудить горизонтальный систематический совершенный дренаж с глубиной заложения дрен ниже естественного уровня грунтовых вод на 4 м и междренным расстоянием 2L = 160 м. Водоносный горизонт однослойный, с начальной мощностью he = 4 м, коэффициент фильтрации пород k = 1 м/сут, коэффициент водоотдачи - n = 0,1. Определить положение уровня грунтовых вод на междренье на различные моменты времени и время стабилизации фильтрационного режима работы дренажа, если уровень воды в дрене hдр = 0,1 м.

Положение уровня грунтовых вод на междренье на различные моменты времени рассчитаем по формуле (57), среднюю мощность пласта hс определим по соотношению hс = 0,5 (he + hдр) = 0,5 (4 + 0,1) = 2,05 м.

Задаваясь различными значениями времени t, находим соответствующие значения hц. В частности, при t = 100 сут f0 = khct/ (nL2) = 1 · 2,05 · 100/ (0,1 · 802) = 0,32; по рис. 67 и 68 q3 (0,32) = 0,58; q4 (0,32) = 0,48. Тогда

hц = 0,1 + (4 - 0,1) 0,58 +  [1 - 0,48] = 2,77 м.

Значения hц для различных моментов времени приведены на рис. 119.

Рис. 119. График функции h (f0)

Из рис. 119 видно, что стабилизация процесса наступает практически через 500 сут, при этом максимальная мощность грунтовых вод на междренье составляет hц = 0,88 м.

Пример 2. Гидрогеологический расчет несовершенного однолинейного дренажа

В пределах защищаемой территории поступает дополнительная инфильтрация интенсивностью w = 10-3 м/сут. Оценить дренирующий эффект несовершенного однолинейного горизонтального дренажа, заглубленного под естественный уровень грунтовых вод на глубину 4 м, если водоносный горизонт однослойный, начальная мощность he = 8 м, коэффициент фильтрации k = 1,5 м/сут. Определить приток воды на единицу длины дрены.

Для оценки дренирующего эффекта необходимо построить депрессионную поверхность грунтовых вод, для чего воспользуемся формулой (71).

В первую очередь рассчитаем дальность действия дренажа lw по формуле

lω = [k (h2e - h2др) /ω + Фн2]0,5 - Фн,

причем

После вычисления получаем

hc = 0,5 (he + hдр) = 0,5 (8 + 4) = 6 м;

 = 2,65 м;

lω = [1,5 (82 - 42) /10-3 + 2,652]0,5 - 2,65 = 265 м.

Для построения депрессионной поверхности при работе дренажа воспользуемся формулой (71), в которую подставим различные значения расстояния х от дрены. Все расчеты сведем в табл. 34.

Таблица 34

x, м

lω, м

Фн, м

w/k

he, м

h, м

25

265

2,65

6,67 · 10-4

8

5,05

50

5,75

75

6,32

100

6,76

150

7,43

200

7,82

250

7,95

Приток воды в дренаж на единицу длины составит

q = 2wlw = 2 · 10-3 · 265 = 0,53 м3/ (сут·м).

Пример 3. Гидрогеологический расчет пластового дренажа в однослойном пласте конечной мощности

Для защиты подземной части здания от подземных вод проектируется пластовый дренаж с глубиной заложения под уровень грунтовых вод S0 = 6 м. Мощность водоносного пласта ke = 16 м, коэффициент фильтрации пород kc = 0,7 м/сут. На поверхность грунтовых вод поступает дополнительное инфильтрационное питание с интенсивностью w = 3 · 10-4 м/сут. Приведенный радиус дренажа r0 = 15 м. Определить приток воды в дренаж и построить депрессионную поверхность грунтовых вод.

Приток воды в дренаж определим по формуле (112), причем дальность действия Rw найдем подбором из уравнения (115).

Предварительно рассчитаем ζ0

где ζ0 = 2mζn / (he - m);  = r0 /m = 15/10 = 1,5.

По рис. 91 ζn = 0,4, тогда

ζ0 = 2 · 10 · 0,4 / (16 - 10) = 1,33.

Таким образом, для определения Rw получаем следующее трансцендентное уравнение:

(0,7/3 · 10-4) (162 - 102) + 152 (1,33 - 0,5) =

= Rw2 (ln Rw /15) + 1,33 - 0,5.

Отсюда Rw = 307 м.

Приток воды в дренаж составит

Q = p · 3 · 10-4 (3072 - 152) = 88,9 м3/сут.

Расчет положения депрессионной поверхности выполним по формуле (113), результаты расчета сведем в табл. 35.

Таблица 35

r

r0

Rw

ζ0

т

h

25

15

307,5

4,286 · 10-6

1,33

10

13,2

50

14,2

75

14,75

100

15,15

200

15,96

300

16

Пример 4. Гидрогеологический расчет несовершенного кольцевого дренажа вблизи прямолинейного контура питания с постоянным напором

Для защиты от подтопления здания, расположенного у водоема (см. рис. 84) на расстоянии L = 100 м, намечается строительство кольцевого несовершенного дренажа с заглублением дрен под естественный уровень грунтовых вод на 5 м. Мощность однослойного водоносного пласта he = 10 м, коэффициент фильтрации k = 0,5 м/сут. Приведенный радиус дренажа r0 = 30 м, диаметр дренажных труб - 100 мм. Определить приток воды в дренаж, понижение уровня грунтовых вод в центре дренажа, и положение сниженного уровня между дренажем и рекой в точке х = 35 м, y = 65 м.

Приток воды в дренаж определим по формуле (94), рассчитав предварительно ζ1 и hc:

hc = 0,5 (hе + hдр) = 0,5 (10 + 5,1) = 7,55 м;

Приток воды будет равен

 м3/сут.

Понижение уровня грунтовых вод в центре дренажа рассчитаем по формуле (90):

Здесь

где по формуле (97) при значениях х = 0, y = L + r0 имеем

По рис. 83 Ф7 () = Ф7 (6) = 0,25.

Понижение в центре дренажа будет

Положение сниженного уровня в точке x = 35, у = 65 м найдем по формуле (95)

Здесь

Положение сниженного уровня будет равно:

Пример 5. Гидрогеологический расчет несовершенного систематического дренажа

На территории поступает инфильтрация интенсивностью w = 4 · 10-4 м/сут. Для защиты от подтопления намечается соорудить горизонтальный систематический дренаж с заложением дрен под естественный уровень грунтовых вод на 5 м и междренным расстоянием 2L = 40 м. Водоносный горизонт однослойный, с начальной мощностью he = 12 м, коэффициентом фильтрации k = 0,9 м/сут, коэффициентом водоотдачи n = 0,1. Определить положение уровня грунтовых вод на междренье через 100 сут от начала работы дренажа и после наступления установившегося режима фильтрации.

Положение уровня грунтовых вод на междренье через 100 сут определим по формуле (59)

Здесь

Ф1* = f (m/hc); m/hc = 7/9,5 = 0,74;

по п. 5.7 и формуле (62)

Ф1* = 0,392; Фн = 9,5 × 0,392 = 3,72; Bi =  = 9,4;

на междренье  = x/L = 1;

по рис. 71 q6 (, f0, Bi) = q6 (1; 1,74; 9,4) = 0,99;

по прил. 2: m1 = 1,42; m2 = 4,28; m3 = 7,2; по прил. 1: A1 = 1,26; A2 = - 0,39; A3 = 0,21

положение уровня на междренье через 100 сут будет

Положение уровня грунтовых вод на междренье при установившемся режиме фильтрации рассчитаем по формуле (61)

Как видно, по истечении 100 сут от начала работы дренажа режим фильтрации практически является установившимся.

Пример 6. Гидрогеологический расчет пластового дренажа в двухслойном пласте при наличии инфильтрационного питания

Пластовый дренаж предполагается заложить на глубину 5 м под естественный уровень грунтовых вод в двухслойный водоносный горизонт с начальной мощностью he = 13 м, на свободную поверхность которого поступает дополнительная инфильтрация интенсивностью w = 2 · 10-4 м/сут. Верхний водоносный слой мощностью 6 м имеет коэффициент фильтрации k1 = 0,1 м/сут, у нижнего слоя мощностью М = 7 м коэффициент фильтрации k2 = 2 м/сут. Приведенный радиус дренажа r0 = 16 м. Определить приток воды в дренаж и положение сниженного уровня грунтовых вод на расстоянии 10 м от дренажа.

Приток воды в дренаж рассчитаем по формуле (112)

Q = pω (Rω2 - r02).

Здесь Rw найдем подбором из уравнения (120)

где по формуле (121)

По таблицам специальных функций:

I0 (0,4784) = 1,058; I1 (0,4784) = 0,246;

 = r0/m = 16/8 = 2 и по рис. 91 ζn = 0,15;

Отсюда Rw = 248,8 м.

Приток воды в дренаж составляет

Q = p · 2 · 10-4 (248,82 - 162) = 38,73 м3/сут.

Положение сниженного уровня грунтовых вод на расстоянии 10 м от дренажа найдем по формуле

Здесь

Положение сниженного уровня будет

 м.

Пример 7. Гидрогеологический расчет горизонтального вакуумного дренажа, работающего в незатопленном режиме

Для защиты от подтопления площадки размером 300 ´ 50 м2 предполагается прокладка двух линий дренажа вдоль корпуса но его длине на расстоянии 10 м от его стен, т.е. междренное расстояние 2b = 70 м (рис. 73, а).

До начала строительства дренажа уровень грунтовых вод находится на расстоянии 1 м от дневной поверхности. Норма осушения для данной территории составляет 4 м от поверхности земли. Дренаж проектируется на глубине, равной в среднем 5 м.

Найти величину вакуума в дренах, при которой будет достигнута требуемая норма осушения, а также определить притоки воды и воздуха к дренам.

Осушаемая толща сложена легкими суглинками с коэффициентом фильтрации k = 0,5 м/сут, начальная мощность водоносного горизонта he = Hв = 12 м. Инфильтрационное питание на осушаемой территории w = 1,5 × 10-3 м/сут. Приведенный диаметр дрены dдр = 0,3 м.

Порядок расчета. В соответствии с заданной нормой осушения при работе дренажа понижение уровня грунтовых вод на междренье должно быть не менее 3 м, тогда мощность горизонта в этом месте H1 = 12 - 3 = 9 м, расстояние от уровня воды в дрене до поверхности земли Мв = 5 м.

Для расчета необходимого вакуума в дрене Нв воспользуемся формулами (159). Для междренья (х = 0) можно записать

Отсюда определится дальность действия дренажа

В свою очередь b/Mв = 35/5 = 7, по графику на рис. 105 находим jр (7) = 0. Величину Нк найдем по соотношению Нк = ahk, а hk определим по рис. 100. Примем a = 0,2, тогда Нк = 0,2 · 2,5 = 0,5 м.

Таким образом

 = 159 м.

По известной величине lw с использованием формулы (159) определим Нв, предварительно вычислив фильтрационное сопротивление Фн по формуле (63), причем считаем

0,5 (he + hдр) = 0,5 (12 + 8) = 10 м;

 = 8,6 м;

 м.

Полученный результат показывает, что уже при небольшом вакууме на внешней поверхности дрены двухлинейный вакуумный дренаж выполнит свою задачу.

Приток воды на единицу длины каждой дрены составит

q = w (b + lw) = 1,5 · 10-3 (35 + 159) = 0,292 м2/сут.

Общая длина дрен составляет 600 м. Поэтому общий дебит дренажа будет

Q = 0,292 · 600 = 175 м3/сут.

Приток воздуха находим по формуле (152), считая, что над дренажной трубой уложен непроницаемый экран.

Предварительно рассчитаем проницаемость грунта С0:

С0 = kν2/q,

где

ν2 = 0,01 см2/с;

 (см2) = 0,6 × 10-122) = 0,6 дарси.

Динамический коэффициент воздуха m1 » 18 · 10-6 Па·с, рат = 0,98 · 105 Па (1 ати), рдр = 0,94 · 105 Па (9,6 м вод. ст.); rвз /Мв = 0,15/5 = 0,03. По рис. 104 находим j (0,03) = 0,09. Тогда

 Па · 0,09 = 0,00008 м3/с.

Полный приток воздуха в дренаж равен Qвз = 600 · 0,18 = 108 л/ч.

6. ГИДРАВЛИЧЕСКИЕ РАСЧЕТЫ ДРЕНАЖЕЙ

6.1. Гидравлические расчеты дренажей включают в себя:

в горизонтальных дренажах - определение водоприемной и водопропускной способности труб, подбор крупности обсыпок;

в вертикальных дренажах - определение размеров водоприемных отверстий каркаса фильтра, подбор дренажных обсыпок и расчет системы водоотвода;

в пластовых и пристенных дренажах - подбор крупности и толщины фильтрующих постелей и призм, а также определение их водопропускной способности;

в вентиляционных дренажах - подбор крупности засыпки в дренах и определение требуемой скорости, температуры и влажности продуваемого воздуха.

РАСЧЕТ ВОДОПРИЕМНОЙ СПОСОБНОСТИ ТРУБ ГОРИЗОНТАЛЬНОГО ДРЕНАЖА

6.2. Водоприемная часть труб горизонтального дренажа устраивается в виде специальных водоприемных отверстий - круглых или щелевых в стенках (в случае асбоцементных, железобетонных и пластмассовых труб) или зазоров на их стыках (в случае керамических труб). В первом случае необходимо назначить форму и размер отверстий, определить их количество и схему размещения на поверхности трубы. Во втором случае проверяется размер зазора в стыках на водопропускную способность [42].

Рис. 120. Схема истечения фильтрационного потока через круглое отверстие в стенке дренажной трубы

1 - стенка трубы; 2 - уровень грунтовых вод; 3 - линии тока; 4 - обсыпка; 5 - дренируемый грунт; h0 - потери напора в обсыпке; hф - потери напора при истечении через водоприемное отверстие

Рис. 121. Схема истечения фильтрационного потока через вертикальную щель в стенке трубы

1 - стенка трубы; 2 - обсыпка; 3 - линии тока и эквипотенциалы фильтрационного потока; 4 - действительная поверхность фильтрационного потока; 5 - расчетная поверхность фильтрационного обтока

Диаметр круглых отверстий принимают равным 1 - 1,5 см, ширину щелевого пропила - 0,5 - 1 см. В асбоцементных и пластмассовых трубах отверстия просверливают или пропиливают, в бетонных и железобетонных трубах они выполняются одновременно с изготовлением труб. Для этого в местах размещения отверстий закладывают промасленные деревянные пробки, которые удаляют после схватывания бетона, в этом случае диаметр отверстий принимается равным 2 - 2,5 см.

Отверстия располагают в шахматном порядке по верхней и боковой частям труб.

Категорически запрещается пробивать водоприемные отверстия в стенках труб.

Количество водоприемных отверстий определяется гидравлическим расчетом, основанном на том, что при истечении воды из фильтрующей обсыпки через отверстие во внутреннюю полость трубы наблюдаются потери напора h0 (рис. 120), которые не должны превышать 0,5 - 1 см [42].

Количество отверстий на единицу длины трубы (например, на 1 м) определяется по формуле

n = q/m0F0,                                                          (190)

где q - приток воды на единицу длины дрены; m0 - коэффициент расхода отверстия; F0 - площадь одного отверстия (или щели); h0 - потери напора при истечении из отверстия; g - ускорение силы тяжести.

Коэффициент расхода m0 зависит от числа Re и отношения d17/t0, где t0 - диаметр отверстия (или ширина короткой щели, расположенной вдоль образующей дренажной трубы, т.е. горизонтально); d17 - диаметр частиц слоя обсыпки, прилегающей к водоприемной поверхности, соответствующий 17 %-ному содержанию их на кривой расчетного гранулометрического состава. В расчетный состав обсыпки включаются фракции обсыпки крупнее 0,4t0.

Число Рейнольдса представляет собой безразмерный критерий

Re = t0/n,                                                            (191)

где n - кинематический коэффициент вязкости фильтрующейся воды, при температуре грунтовых вод 10 °С можно принять n = 1,31 · 10-6 м2/С.

Значения коэффициента расхода m0 приведены в табл. 36.

Таблица 36

Re

d17 /t0

0,4

0,65

1

1,5

2

3

4

6

103

0,33

0,27

0,21

0,33

0,4

0,48

0,51

0,55

104

0,31

0,25

0,2

0,33

0,4

0,48

0,51

0,55

5 · 103

0,28

0,24

0,19

0,32

0,4

0,48

0,5

0,55

2 · 103

0,22

0,2

0,17

0,29

0,36

0,45

0,48

0,53

6.3. При устройстве водоприемных отверстий в виде вертикальных щелей-пропилов в боковых поверхностных трубах эти щели работают как водосливы (рис. 121). В этом случае количество водоприемных отверстий на единицу длины трубы определяется по формуле

n = q/m0 sn t0 Нв,                                               (192)

где sn - коэффициент подтопления, sn =  (1 + Hн /Hв); Н1 и Н2 - превышение уровня воды над порогом щели соответственно внутри трубы и на внешнем ее контуре.

Рис. 122. Схема к оценке потерь напора при движении воды в обсыпке вдоль трубы от середины звена к зазорам

1 - уровень воды в трубе; 2 - поверхность воды в фильтрующей обсыпке; 3 - контур обсыпки; 4 - стыковой зазор; hф - потери напора при движении воды в обсыпке к зазору; h0 - потери напора при истечении воды через зазор

Таблица 37

Re

d25/t0

0,6

1

1,5

2

3

4

6

8

 

105

0,13

0,11

0,18

0,22

0,29

0,34

0,4

0,42

 

104

0,12

0,1

0,18

0,22

0,29

0,34

0,4

0,42

 

5 · 103

0,11

0,1

0,17

0,23

0,3

0,35

0,41

0,43

 

2 · 103

0,07

0,06

0,12

0,17

0,24

0,28

0,34

0,36

 

Значения коэффициента расхода m0 вертикальной щели-водослива в тонкой стенке приведены в табл. 37, m0 зависит от отношения d25/t0 и числа Рейнольдса, которое находится по соотношению

Re = sn t0/n.                                                    (193)

Параметр d25 является характерным показателем поровой структуры материала фильтровой обсыпки вблизи вертикальной щели и определяется из расчетного состава обсыпки (или примыкающего к отверстию грунта), включающего фракции крупнее 0,6t0.

6.4. Гидравлический расчет стыковых зазоров между трубами, являющихся водоприемными отверстиями, выполняется при условии, что при движении воды в обсыпке от середины трубы (или звена труб) к зазорам происходят потери напора hф (рис. 122), которые не должны превышать допустимых (hф)доп, принимаемых равными 3 - 5 см. Определение потерь напора hф выполняется по формуле hф = qL2 /8kфFф, где q - приток воды на единицу длины дренажа; L - длина трубы; kф - коэффициент фильтрации обсыпки; Fф - площадь фильтрационного потока в обсыпке. Вычисленную по этой формуле величину hф сравнивают с (hф)доп. Если hф £ (hф)доп, то зазоры можно использовать для приема воды в дренажную трубу. При этом необходимый размер зазора определяют по формуле

Fз ³ qL/m0 ,

где Fз - площадь зазора ниже уровня воды в трубе, m0 - коэффициент расхода, принимаемый по табл. 37.

Если hф > (hф)доп, то вместо зазоров следует предусматривать устройство водоприемных отверстий.

РАСЧЕТ ВОДОПРИЕМНОЙ СПОСОБНОСТИ ТРУБОФИЛЬТРОВ

6.5. Расчет водоприемной способности трубофильтров из пористого бетона заключается в оценке потерь напора в стенке трубофильтра в зоне контакта трубофильтра с дренируемым грунтом или слоем обсыпки.

Потери напора в стенке трубофильтра круглого сечения определяются по формуле [41]

                                      (194)

где R1 и R2 - наружный и внутренний радиусы трубофильтра соответственно; Q - приток воды к дрене; w1 - площадь внешней поверхности трубофильтра, к которой притекает расход Q; a и b - коэффициенты фильтрационных сопротивлений в плоскопараллельном потоке, принимаемые в зависимости от состава бетона трубофильтров по табл. 38.

Площадь поверхности трубчатой дрены w1, к которой притекает расход Q, определяется по формуле w1 = R1j L, где L - длина дрены; j - угол радиан, зависящий от глубины наполнения трубофильтра водой (рис. 123).

Общие потери напора на внешнем контуре трубчатой дрены из пористого бетона в условиях его контакта с несвязным грунтом рассчитывают по формуле

                                (195)

где aк и bк - коэффициенты контактных фильтрационных сопротивлений. Эти сопротивления возникают на контакте материала обсыпки и трубофильтра и зависят от структурного отношения , где  - диаметр частиц, меньше которого в исследуемом грунте содержится 50 % частиц по массе;  - диаметр пор в пористом бетоне, соответствующий 50 %-ному содержанию на интегральной кривой распределения пор по размерам. Значения коэффициентов aк, bк ,  для различных грунтов и составов пористого бетона приведены в табл. 39.

Рис. 123. График зависимости угла j от относительной глубины наполнения трубофильтра водой (h/d)

Таблица 38

Содержание заполнителя, %, с размерами фракций, мм

Состав бетона по массе

Содержание компонентов, кг, на 1 м3 свежеуложенного бетона

Водоцементное отношение, ВЦ

Предел прочности при сжатии, МПа

Коэффициент фильтрационных сопротивлений в формуле

J = av + bv2

5 - 10

2,5 - 5

1,25 - 2,5

цемент

заполнитель

вода

а, с/см

b, с2/см2

100

-

-

1 : 7

203

1421

73

0,36

7,06

0,118

0,193

100

-

-

1 : 8

176

1410

67

0,38

5,78

0,141

0,186

-

100

-

1 : 7

196

1370

63,3

0,32

7,45

0,387

0,419

-

100

-

1 : 8

171

1370

60

0,35

6,18

0,328

0,388

50

50

-

1 : 7

205

1430

71,5

0,35

8,43

0,262

0,432

50

50

-

1 : 8

180

1435

63

0,35

6,76

0,309

0,384

-

-

100

1 : 7

196

1370

90

0,45

7,35

0,969

0,903

-

-

100

1 : 8

171

1370

83

0,49

6,08

1

0,788

-

50

50

1 : 7

196

1370

73

0,37

7,84

0,715

0,782

-

50

50

1 : 8

171

1370

69

0,4

6,37

0,693

0,754

33,3

33,3

33,3

1 : 7

196

1370

65

0,33

8,04

0,767

0,847

33,3

33,3

33,3

1 : 8

171

1370

61,5

0,36

6,86

0,679

0,71

Таблица 39

Крупность частиц грунта, мм

Состав заполнителя пористого бетона (до черты) и  (после черты), мм

5 - 10/3,54

2,5 - 5/2,32

1,25 - 2,5/1,05

1,25 - 2,5/1,66

2,5 - 5

1,25 - 2,5/2,09

2,5 - 5,5 - 10

aк

bк

aк

bк

aк

bк

aк

bк

aк

bк

aк

bк

7 - 10

-

0,24

1,34

0,37

0,07

0

0,49

0,3

0,7

0

1,14

0

5 - 7

0,4

0,32

2,06

1,14

0,28

0,88

1,54

0,99

1,26

0,18

2,24

0,24

3 - 5

0,62

0,83

1,26

1,44

2,71

4,93

2,03

1,26

1,32

1,23

2,65

0,8

2 - 3

0,78

0,87

2,77

0,33

6,17

11,1

2,21

2,2

2,13

1,53

3,19

0,22

1 - 2

1,97

0,88

2,06

1,88

4,39

6,53

2,14

1,78

3,18

1,92

3,76

1,85

0,5 - 1

5,64

4,7

7,97

13,6

-

-

1,78

9,6

5,52

2,27

3,28

16,3

0,25 - 0,5

7,3

4,93

-

-

-

-

4,90

44,6

20,5

16,8

9,01

-

0,1 - 0,25

-

-

10,01

94,96

-

-

12,82

237,96

34,08

282

-

-

Примечание. Значения коэффициента aк даны при t = 10 °С.

Потери напора на контуре дрены, выполненной в виде пористых плит, определяются по формуле

Dh = (al + aк)  + (bl + bк) (Q2/F2),                                     (196)

где l - длина пути фильтрации потока в плите из пористого бетона; F - площадь поверхности плиты, к которой из пласта поступает приток Q; параметры а, aк, b, bк приведены в табл. 38 и 39.

РАСЧЕТ ВОДОПРИЕМНОЙ СПОСОБНОСТИ ВЕРТИКАЛЬНОГО ДРЕНАЖА

6.6. Выбор, конструирование и устройство фильтров скважин вертикального дренажа зависят от гидрогеологических условий работы скважины, ее конструкции, характера водоотбора, параметров водоподъемного оборудования и др. Тип и конструкцию фильтра рекомендуется выбирать в соответствии с требованиями СНиП 2.04.02-82.

Диаметр фильтрового каркаса принимается не менее 100 - 150 мм. Длина фильтра в однородных водоносных пластах мощностью m £ 10 - 15 м принимается равной (0,8 - 0,9) мощности; фильтр устанавливается на расстоянии не менее 0,5 - 1 м от кровли и подошвы пласта. При мощности пласта m > 10 - 15 м длина фильтра определяется фильтрационным расчетом в зависимости от производительности дренажной скважины, характера проницаемости пород в разрезе и гидрохимических условий.

В безнапорных водоносных пластах длина фильтра определяется с учетом понижения динамического уровня воды в скважине, в этом случае мощность m » he - S0/2, где he - первоначальная мощность безнапорного пласта, S0 - проектное понижение уровня в скважине.

6.7. Размер водоприемных отверстий фильтра вертикального дренажа назначают с учетом гранулометрического состава пород водоносного горизонта. Размеры отверстий фильтра выбираются в соответствии с данными табл. 40.

Условные обозначения: где Kн = d60 /d10 - коэффициент неоднородности породы; d10, d50, d60 - размеры частиц, меньше которых в дренируемой породе содержится 10, 50 и 60 % на кривой зернового состава.

Таблица 40

Тип фильтра

Рекомендуемые размеры отверстий фильтра

Кн £ 2

Кн > 2

С круглой перфорацией

2,5 - 3 d50

3 - 4 d50

Сетчатый

1,5 - 2 d50

2 - 2,5 d50

С щелевой перфорацией

1,25 - 1 d50

1,5 - 2 d50

Проволочный

1,25 d50

1,5 d50

Размер отверстий фильтрового каркаса может быть также рассчитан по формуле Dф = ζD50/l, где Dф - размер отверстий фильтра; D50 - средний диаметр частиц обсыпки; l - коэффициент формы отверстий, характеризующий условия сводообразования для различных типов фильтров, приведен ниже:

Фильтр с круглыми отверстиями                                   1 - 1,2

Фильтры из штампованного листа и сетчатые             1,2 - 1,5

Щелевые фильтры                                                           1,5 - 2

Проволочные фильтры                                                    2 - 2,5

В тех случаях, когда нет возможности подбирать конструкцию фильтра, непосредственно исходя из состава дренируемого несвязного грунта, а также для увеличения водоприемной способности фильтра и дренирования слабопроницаемых и суффозионных пород, применяются фильтры с гравийной засыпкой, критерии и методика подбора которых рассматриваются отдельно.

Скважность трубчатых фильтров с круглой или щелевой перфорацией должна быть 20 - 25 %, фильтров из проволочной обмотки или штампованного стального листа - не более 30 - 60 %.

ПОДБОР ДРЕНАЖНЫХ ОБСЫПОК ДРЕНАЖА

Дренажные обсыпки дренажей подбираются в зависимости от состава дренируемых грунтов [42, 44].

Подбор обсыпок горизонтальных дренажей в несвязных грунтах

6.8. Подбор состава дренажных обсыпок в несвязных грунтах [44] начинается с определения их суффозионных свойств. Оценка суффозионных свойств грунтов производится по размеру максимального фильтрационного хода в грунте d0max и минимальному диаметру частиц dmin [44]. Диаметр максимального фильтрационного хода в грунте находится по зависимости

                                     (197)

где х = 1 + 0,05 × h при h £ 25; х = 0,35 (3 + ) при h > 25.

Здесь х - коэффициент неравномерности раскладки частиц в грунте; п - пористость грунта; h - коэффициент разнозернистости грунта; d60 и d10 - диаметры частиц, меньше которых в грунте содержится 60 % и 10 % соответственно.

Грунт считается суффозионным, если

0,77d0max > dmin;                                                            (198)

и несуффозионным, если

0,77d0max < dmin.                                                            (199)

Грунт можно считать практически несуффозионным и в том случае, когда удовлетворяется условие

 ³ N; N = 0,32                                 (200)

Допускаемое значение коэффициентов разнозернистости материала для дренажных обсыпок в несвязных грунтах не должно превышать:

для дренируемых несуффозионных грунтов

hфдоп = D60/D10 £ 25;                                                      (201)

для дренируемых суффозионных грунтов

hфдоп = D60/D10 £ 15;                                                      (202)

Коэффициент фильтрации материала дренажной обсыпки kфmin должен соответствовать условию

kфmin ³ (2 + ) kг,                                                                                          (203)

где kг - коэффициент фильтрации дренируемого грунта.

6.9. В случае несуффозионного дренируемого грунта определение гранулометрического состава первого слоя дренажной обсыпки несуффозионного состава производится следующим образом.

Вначале находится диаметр сводообразующих частиц грунта dcг. Для этого по графику, представленному на рис. 124, по известному значению коэффициента разнозернистости грунта hг определяется расчетное содержание сводообразующих частиц . Затем по интегральной кривой грансостава грунта (рис. 124, кривая Г) с использованием полученной величины  находится диаметр сводообразующих частиц грунта dсг. Для этого на оси оу (рис. 126) откладывается значение  и проводится горизонтальная линия до кривой грансостава грунта (кривая Г), абсцисса точки пересечения дает значение диаметра сводообразующих частиц грунта dсг.

Рис. 124. График  = f (hг) для определения расчетных размеров сводообразующих частиц грунта dcг

I - область выбора расчетных значений dсг для фильтров из щебеночного материала; II - область выбора расчетных значений dсг для фильтров из песчано-гравийно-галечникового грунта

Рис. 125. График nф = f (ηф) допустимой пористости грунтов, укладываемых в обратные фильтры

I - область щебеночных грунтов; II - область песчано-гравийно-галечниковых грунтов

Рис. 126. График запроектированного состава фильтра

Г - грунт дренируемый; I - «зона допустимого гранулометрического состава грунта, пригодного для укладки в первый слой дренажной обсыпки»; РК - расчетная кривая

Исходя из полученного расчетного значения dcг находят DI17 первого слоя дренажном обсыпки

                                             (204)

При этом пористость первого слоя дренажной обсыпки nф принимается в зависимости от его коэффициента разнозернистости hф по графику, представленному на рис. 125. Далее по зависимости находят минимально допустимый диаметр частиц в первом слое дренажной обсыпки

                                 (205)

где P17 - процентное содержание частиц по массе, имеющих диаметр меньше DI17.

Затем по зависимости

                                            (206)

Задаваясь различными значениями Pi = 10..., 20..., 100, определяют гранулометрический состав грунта первого слоя дренажной обсыпки.

При подборе гранулометрического состава дренажной обсыпки допускаются небольшие отклонения от расчетной кривой в пределах зоны допускаемого гранулометрического состава грунта, пригодного для укладки в первый слой дренажной обсыпки, которую следует назначить так, чтобы расчетная кривая была ограничена снизу касательной к кривой, проходящей через точку Dmin. Верхняя граница зоны должна проходить через точку Dmax и на 3 % выше точки D10 до примыкания к линии, пересекающейся с расчетной кривой на уровне Pi = 6 %. Эта линия ограничивает содержание в материале дренажной обсыпки мелких пылеватых фракций (см. рис. 126).

Коэффициент фильтрации подобранного первого слоя дренажной обсыпки может быть определен по формуле М. П. Павчича [44]

 см/с;                                           (207)

где j1 - коэффициент, учитывающий форму и шероховатость фракции грунта: для песчано-галечниковых грунтов j1 = 1; для щебеночных грунтов j1 = 0,35 - 0,4.

Аналогично первому слою подбирается состав второго и последующего слоев, причем толщина каждого слоя должна быть больше 5D90, но не менее 200 мм.

Между средним размером частиц D50 слоя обсыпки, непосредственно примыкающей к водоприемной поверхности дренажных труб и размером водоприемных отверстий принимаются соотношения, приведенные в табл. 41.

Таблица 41

Форма водоприемного отверстия

Размер водоприемного отверстия при коэффициенте разнозернистости h

менее 2

более 2

Круглая

(2,5 - 3) D50

(3 - 4) D50

Щелевидная

(1,25 - 1,5) D50

(1,5 - 2) D50

6.10. В случае суффозионного дренируемого грунта определение гранулометрического состава первого слоя дренажной обсыпки несуффозионного состава производится следующим образом.

По известным значениям пористости пг и коэффициента фильтрации kг вычисляют диаметр фракций dci дренируемого грунта, которые могут быть вынесены фильтрационным потоком

                                                       (208)

где b = 1,1 - 1,25 - коэффициент надежности; Jpmax - расчетный максимальный градиент напора в контрактном слое грунта с дренажной обсыпкой (определяемый гидрогеологическими расчетами); j0 - коэффициент критической скорости, равный

 × f* sin ;                                               (209)

где θ - угол между направлениями скорости фильтрации и силы тяжести; gг - объемная масса скелета грунта; gв - плотность воды; f* - приведенный коэффициент трения.

Значения f* в зависимости от аргументов h и hг приведены на рис. 127.

Если полученное значение dci < d3-5 %, то расчетный диаметр сводообразующих частиц dcг определяется по изложенной выше методике с использованием графика  = f (hг) при В-3 (рис. 124) и кривой гранулометрического состава грунта. Если значение dci > d3-5 %, то dcг следует определять по формуле

 = В · d3-5 %, где В = 3 - 8 (Вср » 5).                                  (210)

В дальнейшем расчет выполняется так же, как и для несуффозионного дренируемого грунта.

Подобранную по изложенной методике дренажную обсыпку для суффозионного дренируемого грунта следует проверить на некольматируемость теми частицами грунта, вынос которых допускается при условии, чтобы они свободно проносились через обсыпку.

Крупность выносимых фильтрационным потоком частиц из контактной области грунта, непосредственно примыкающей к первому слою дренажной обсыпки, определяется по зависимости

dci = 0,32 dсг, при этом dci £ d3-5 %.                                      (211)

Чтобы выносимые фильтрационным потоком мелкие частицы грунта dci не кольматировали первый слой дренажной обсыпки, должно выполняться условие

a*; c = 0,455.                                      (212)

Значения a* приведены ниже:

Кольматирующие частиц, мм          0,01 - 0,05               0,05 - 0,25          0,25 - 0,5

а*                                                                 4                              3                      2,5

Рис. 127. График f* = f (h)

Если данные условия не выполняются, следует изменить принятый диаметр сводообразующих частиц, приняв dcг = 0,61dci a*,. По этому значению dcг находят новое значение DI17 и строят новую кривую гранулометрического состава первого слоя дренажной обсыпки, который будет удовлетворять условию некольматируемости. Изложенную методику следует применять, оценивая пригодность имеющихся в наличии карьерных грунтов или материалов камнедробильных заводов в качестве дренажных обсыпок.

Подбор обсыпок горизонтальных дренажей в связных грунтах

6.11. Для подбора обсыпок при дренировании связных грунтов рекомендуется пользоваться расчетными графиками В. С. Истоминой [42], представленными на рис. 128 и 129.

Рис. 128. График для подбора первого слоя фильтра в суглинистых грунтах (с диском пластичности wn ³ 7) при любой схеме движения воды

Рис. 129. График для подбора первого слоя фильтра в супесчаных грунтах (с числом пластичности wn = 3 - 6) при любой схеме движения воды

Подбор обсыпки при дренировании суглинистых и глинистых грунтов с числом пластичности более семи независимо от характера движения воды производится с использованием графика на рис. 128, при дренировании супесей с числом пластичности до трех - шести по рис. 129. Коэффициент разнозернистости дренажной обсыпки должен быть не больше десяти, т.е. h £ 10.

Если в качестве фильтрующего материала используется галечниковый или гравелистый грунт с песчаным заполнителем и коэффициентом разнозернистости hф ³ 10 - 20 (hфдоп = D60/D10 £ 50), то подбор первого слоя дренажной обсыпки в суглинках и супесях можно выполнять также по графикам рис. 128 и 129. Однако при этом характеристики скелетов гравелистых и галечниковых грунтов с hф ³ 10 - 20 приравнивают к характеристикам гравелистых материалов hф £ 10, т.е. для этих случаев следует разделить грунт на скелет и заполнитель, а на графиках (см. рис. 128 и 129) принимать DI50ск = DI50 и hфск = hф. Частицы размером менее 1 мм относятся к заполнителю, а частицы более 1 мм - к скелету.

Порядок подбора следующий.

Задаются коэффициентом разнозернистости обсыпки в пределах десяти. При этом коэффициенте разнозернистости согласно графикам на рис. 128 и 129 в зависимости от того, в каких грунтах проектируется дренаж, выбирают предельные значения среднего диаметра частиц обсыпки DI50 (в пределах области допустимых значений). Затем строят первую граничную кривую зернового состава обсыпки для минимального значения DI50, задаваясь при этом ориентировочно значением DI60, определяя DI10 = DI60/hф и принимая DImax также ориентировочно.

Аналогично строят вторую кривую зернового состава. Грунты, заключенные между кривыми, могут быть применены для первого слоя дренажной обсыпки при условии, что hф равен заданному в начале расчета значению.

Проверка пригодности грунтов, предназначенных для обсыпки, производится по графикам на рис. 128 и 129. Если точка пересечения коэффициента неоднородности проверяемого грунта и среднего диаметра лежит в области допустимых значений, то грунт пригоден для обсыпки, в противном случае - непригоден.

Подбор второго и последующего слоев дренажной обсыпки производят аналогично подбору первого слоя по графикам на рис. 128 и 129, принимая первый слой обсыпки за дренируемый грунт.

Подбор фильтрующих оберток

6.12. Для горизонтальных трубчатых дренажей с применением искусственных волокнистых материалов производится подбор оберток в соответствии с ОСТ 33-10-73 «Фильтры дренажные из искусственных волоконистых материалов» (М.: Минводхоз СССР, 1973), а также с учетом рекомендаций, приводимых в соответствующей литературе [32, 33].

Толщина фильтровой обертки определяется с учетом глубины заложения дренажа и в уплотненном состоянии должна быть не менее 10 мм - при изготовлении фильтров из матов и войлока (ГОСТ 10499-78, ТУ 33 УССР 1-72 и ТУ 611-215-71); не менее 3 мм - при изготовлении фильтров из стеклохолстов ВВ-Г, ВВ-К или ВВ-Т.

Коэффициент фильтрации kф определяется по графику kф = f (р, dэ.в) (рис. 130), где р - давление на фильтр, кг/см2; dэ.в - диаметр элементарного волокна применяемого волокнистого материала, мк.

Потери напора на фильтре из волокнистых материалов определяются по графику зависимости Vф = f (DH) (рис. 131), где Vф - скорость фильтрации на контуре фильтра, см/с; DH - потери напора на фильтре, см.

Рис. 130. График зависимости kф = f (Р, dэ)

Рис. 131. График зависимости Vф = f (DH)

1 - для стеклосеток ССТЭ-6 по СТУ 84-81-61 и СС-1 по СТУ 27-120-64; 2 - для стеклохолстов ВВ-Т по МРТУ-6-11-3-64, ВВ-К по ТУ 21-23-3-68 и ВВ-Г по МРТУ 6-11-18-64

Подбор обсыпок вертикальных дренажей

6.13. Подбор крупности и состава гравийных обсыпок вертикальных дренажей (водопонижающих и водосбросных скважин) производится в соответствии с СНиП 2.04.02-84 «Водоснабжение. Наружные сети и сооружения».

РАСЧЕТ ВОДОПРОПУСКНОЙ СПОСОБНОСТИ ГОРИЗОНТАЛЬНОГО ДРЕНАЖА

6.14. Расчет водопропускной способности горизонтального трубчатого дренажа выполняется исходя из условия необходимости пропуска всего поступающего в дрену расхода при максимальной глубине наполнения дрены, составляющей не менее: в дренах-осушителях - 0,1d, в трубах-собирателях - 0,3d, в магистральных коллекторах - 0,5d. При этом дрена не должна работать полным сечением [42].

Рис. 132. Графики зависимости коэффициентов a и b от глубины наполнения (h/d)

Скорость движения воды в горизонтальных трубах принимается в пределах 0,15 - 1 м/с. Для трубчатых дрен, уложенных в глинистых грунтах, наименьшая скорость движения воды принимается в пределах 0,15 - 0,2 м/с, в песчаных грунтах - 0,3 - 0,35 м/с.

Диаметр дренажных труб определяется в зависимости от степени наполнения труб и скорости движения воды в них. Задаваясь степенью наполнения труб h/d (где h - глубина наполнения трубы, d - ее диаметр) и скоростью движения воды в трубах, диаметр труб рассчитывают по формуле d =  (где b - коэффициент, зависящий от степени заполнения h/d и определяемый по кривой 2 на рис. 131); Q - расход дрены, равный притоку воды к дрене, определяемому фильтрационным расчетом.

Уклон на перфорированных участках горизонтальных трубчатых дрен определяется с учетом расхода, переменного по длине дрены. Считая, что поступление воды к дрене по всей ее длине происходит равномерно, уклон в произвольном сечении на расстоянии х от начала дрены при всей ее длине L определяется по формуле i = V2x2/L2C2R2, а средний уклон всего трубопровода - по формуле

icр = V/3C2 R.                                                         (213)

Величина гидравлического радиуса (отношение площади живого сечения потока к его смоченному периметру) определяется по формуле R = ad/4, где коэффициент a находят по кривой 1 на рис. 132.

Рис. 133. График зависимости величины гидравлического радиуса R от величины относительной глубины наполнения h/d для трубофильтров различных диметров

Рис. 134. График для гидравлического расчета горизонтального дренажа из трубофильтров диаметром 150 мм

Коэффициент сопротивления С, м2/с, вычисляется по формуле H. H. Павловского

c = Ry/n; y = 2 - 0,13 - 0,75 ( - 0,1),                         (214)

где R - гидравлический радиус, м; n - коэффициент шероховатости, принимаемый в зависимости от вида дренажных труб и равный 0,012 - 0,15; для неперфорированного трубопровода n = 0,017.

Коэффициент сопротивления может быть определен также и по формуле Маннинга C = R1/6/n.

Уклон неперфорированных труб определяется по формуле Шези i = V 2/C2R.

6.15. Гидравлический расчет дренажей с применением трубофильтров выполняется по тем же зависимостям, что и для дренажей с применением перфорированных труб. Гидравлический радиус для трубофильтров с различным внутренним диаметром и работающих при разной степени заполнения определяется по графику, представленному на рис. 133. Коэффициент шероховатости для трубофильтров внутренним диаметром 150 мм не является постоянным и изменяется от 0,015 до 0,027 в зависимости от величины уклона дрены и степени ее заполнения. Для гидравлического расчета дренажей из трубофильтров внутренним диаметром 150 мм рекомендуется использовать экспериментальный график, представленный на рис. 134. Для расчета трубофильтров больших диаметров рекомендуется принимать коэффициент шероховатости n = 0,017 (при h/d в пределах от 0,5 до 1).

РАСЧЕТ ВОДОПРОПУСКНОЙ СПОСОБНОСТИ ФИЛЬТРУЮЩИХ ПОСТЕЛЕЙ

6.16. Гидравлический расчет фильтрующих постелей (например, в пластовых дренажах), выполненных из несвязного материала, выполняется в следующей последовательности [4].

По результатам фильтрационного расчета определяется приток к фильтрующей постели, откуда, зная площадь сечения постели F, находится скорость фильтрации воды в ней по формуле Vф = Q/F. Затем определяется режим фильтрации (ламинарный или турбулентный) по величине числа Рейнольда Re, которое вычисляется по формулам:

для однородного материала крупностью менее 1 см

Re = Vф dcp /6 (1 - n) n (формула Г. И. Ломизе), где dсp - средний диаметр частиц фильтрующего пласта, п - пористость; n - кинематический коэффициент вязкости фильтрующейся воды;

для неоднородного материала крупностью менее 1 см

Re = 4Vф/ (n · n1,5) (формула Ф. И. Котяхова), где kпр = kф n/g - коэффициент проницаемости пористой среды, м2.

Нарушение линейного режима движения воды наступает при Re > 1,7 в однородном материале и Re > 0,3 - в неоднородном материале при условии вычисления Re по приведенным выше формулам.

При ламинарном движении фильтрационного потока потери напора в фильтрующем пласте определяются по формуле Dh = Vф l / kф, где l - длина пути фильтрации в пласте.

При турбулентном режиме потока потери напора определяются по формуле

Потери напора в фильтрующей постели, выполненной из пористого бетона, определяются по формуле

Dh = (al + aк)  + (bl + bк) (Q2/F2).

ГИДРАВЛИЧЕСКИЙ РАСЧЕТ СИСТЕМЫ ВЕНТИЛЯЦИОННОГО ДРЕНИРОВАНИЯ

6.17. Исходными данными для гидравлического расчета являются: материалы гидрогеологического расчета, геометрические характеристики дренажа, гранулометрический состав щебенчатой засыпки, схемы конструкции дренажа, расчетные параметры воздуха.

Производительность вентилятора, исходя из требования, чтобы влажность воздуха на выходе из дренирующего элемента была не менее 0,9 - 0,95, рассчитывают по формуле

V = qL/ρв (aвх - aвых),                                                      (215)

где V - производительность вентилятора, м3/с; rв - плотность воздуха, кг/м3; авх, авых - влагосодержание воздуха на входе и выходе дренажа, кг/кг; q - удельный влагоприток к дренажу, к/ (м·с).

Длина дренажной линии для линейных и кольцевых и пристенных дренажей равна расстоянию от точки ввода воздуха в нагнетательный коллектор дренажного элемента до точки вывода из выпускного коллектора. Длина дренажной линии для пластового дренажа равна протяженности дренажной постели в направлении движения воздуха.

Плотность воздуха и расчетное значение влагосодержания воздуха на входе в дренаж принимают по соответствующим нормативным документам. Влагосодержание воздуха на выходе дренажа определяют по формуле

авых = (0,9 - 0,95) а²вых,                                             (216)

где а²вых - влагосодержание насыщенного воздуха при температуре грунта по диаграмме J - а влажного воздуха в соответствии с рекомендациями [8].

Потребный напор вентилятора определяют по формуле

Dp = Dpнаг + Dpдр + Dpвып,                                              (217)

где Dpнаг - гидравлическое сопротивление нагнетательного тракта, Па; Dpдр - гидравлическое сопротивление дренажного элемента, Па; Dpвып - гидравлическое сопротивление выпускного тракта, Па.

Величины Dpнаг и Dpвс рассчитывают по рекомендациям [8] как гидравлические сопротивления вентиляционных каналов. Величину гидравлического сопротивления Dpдр определяют по формуле

                                                (218)

где

где nв - коэффициент кинематической вязкости воздуха, м2; d3 - расчетный диаметр зерна щебня, м; m - пористость щебня (0,5 - 0,55).

ПРИМЕРЫ РАСЧЕТОВ

Пример 1. Подобрать для несвязного дренируемого грунта несуффозионный гранулометрический состав первого слоя дренажной обсыпки

Исходные данные. Гранулометрический состав дренируемого грунта представлен на рис. 135, кривая Г. Диаметр частиц грунта: dмин = 0,06 мм; d3 = 0,1 мм; d10 = 0,12 мм; d17 = 0,14 мм; d60 = 0,4 мм; d100 = 5 мм; коэффициент разнозернистости hг = 3,34; пористость nг = 0,34; коэффициент фильтрации Rг = 0,0092 см/с.

Порядок расчета. Для расчета степени суффозионности дренируемого грунта воспользуемся формулой (200):

 > N = 0,24;

N = 0,32  (1 + 0,05 × 3,34)  = 0,24.

Следовательно, дренируемый грунт является несуффозионным. По гранулометрическому составу грунта (рис. 135, кривая Г) и расчетному графику  = f (hг) (см. рис. 124) находим расчетный диаметр сводообразующих частиц.

При hг = 3,34 в соответствии с графиком на рис. 124 для песчано-гравелистого материала (область II) Рсг = 50 %. Тогда по кривой Г на рис. 135 находим диаметр сводообразующих частиц дренируемого грунта dcг = d50 = 0,25 мм. Задаемся коэффициентом разнозернистости дренажной обсыпки hф = 8, по которому определяем значение пористости nф из графика на рис. 125 hф = 0,34.

Рис. 135. Кривые гранулометрического состава к примеру подбора зернового состава фильтра для несвязанного несуффозионного грунта

Г - кривая зернового состава дренируемого грунта; F - кривая зернового состава 1-го слоя фильтра

Воспользовавшись формулой (204), рассчитываем D17 первого слоя обсыпки

 мм.

Далее по формуле (205) находим минимальный диаметр частиц в дренажной обсыпке DImin, определив сначала значение показателя степени х:

х = 1 + 1,28 lg 8 » 2,2;

DImin = 1,35/ [1 + (0,1 · 17)2,2 (8 - 1) /5 · 8] = 0,87 мм.

Подставляя в формуле (206) значения DImin = 0,87 мм, hф = 8 и х = 2,2, получаем

Di = 0,87 + 0,152 (0,1Pi)2,2.

Задаваясь различными значениями Рi = 10..., 20...., 100, вычисляем соответствующие им значения диаметр частиц первого слоя обсыпки:

D10

D20

D35

D50

D60 = h; D10

D80

D90

D100

1,02

1,57

3,26

6,11

8,16

15,6

20

25

По этим данным строим искомую расчетную кривую несуффозионного состава грунта первого слоя дренажной обсыпки (кривая Ф на рис. 135).

Коэффициент фильтрации дренажной обсыпки рассчитывается по формуле (207):

 см/с.

Пример 2. Подобрать для суффозионного несвязанного дренируемого грунта несуффозионный гранулометрический состав первого слоя дренажной обсыпки.

Исходные данные. Гранулометрический состав дренируемого грунта представлен на рис. 136, кривая Г. Диаметры частиц грунта: dmin = 0,001 мм; d3 = 0,005 мм; d10 = 0,023 мм; d17 = 0,05 мм; d60 = 0,168 мм; d100 = 0,5 мм; коэффициент разнозернистости hг = 7,4; объемная масса скелета грунта gск = 1,55 г/см3; пористость nг = 0,36; коэффициент фильтрации kг = 0,0048 см/с.

Порядок расчета. Определяем суффозионность дренируемого грунта по диаметру максимального фильтрационного хода d0max, для чего воспользуемся формулой (197):

х = 1 + 0,05 · 7,4 = 1,37;

с = 0,455 = 0,64;

d0max = 1,37 · 0,64  × 0,05 = 0,03 мм.

Рис. 136. Кривые гранулометрического состава к примеру подбора зернового состава фильтра для несвязного суффозионного грунта

Г - кривая зернового состава дренируемого грунта; Ф - кривая зернового состава 1-го слоя фильтра

Определяем максимальную крупность частиц, которые могут быть вынесены из грунта

 мм.

В дренируемом грунте частиц, меньших 0,02 мм, содержится 11 % (см. рис. 36, кривая Г), и поэтому в соответствии с условием формулы (198) грунт следует считать суффозионным.

Пусть фильтрационными расчетами установлено, что в зоне контакта грунта с фильтром максимальное значение градиента напора Jр = 0,94.

Для определения диаметра сводообразующих частиц dсг сначала по формулам (208) - (209) рассчитаем размер частиц грунта, которые могут выноситься фильтрационным потоком при q = 90°, причем приведенный коэффициент трения f* возьмем из графика на рис. 127 при hг = 7,4 и п = 0,36:

f* = 0,19;

j0 = 0,60  × 0,19 × sin 41,25° = 0,04;

 см = 0,095 мм.

По графику гранулометрического состава грунта (рис. 136; кривая Г), находим, что частиц такого диаметра и меньше содержится в грунте около 35 %, т.е. больше 3 - 5 %. Поэтому расчет dcг выполним по выражению (210), принимая b = 8,

dсг = 8 · 0,005 = 0,04 мм.

Задаваясь коэффициентом разнозернистости первого слоя дренажной обсыпки hф = 8, из графика nф = f (hг) на рис. 125 (область I) определяем пористость его, которая составляем nф = 0,37.

Далее по формуле (204) определяем действующий диаметр частиц первого слоя дренажной обсыпки DI17

 мм.

Затем по формуле (205) находим минимальный диаметр частиц в дренажной обсыпке DImin, определив сначала показатель степени х:

х = 1 + 1,28 lg 8 » 2,2;

DImin = 0,23/ [1 + (0,1 · 17]2,2 (8 - 1) /5 · 8] = 0,15 мм.

Подставляя значение DImin = 0,15 мм; hф = 8 и x = 2,2 в формулу (206), получаем

Di = 0,15 + 0,026 (0,1 · Pi)2,2.

Задаваясь различными значениями Рi = 10...., 20..., 100, вычисляем соответствующие значения Di, первого слоя обсыпки мм:

D10

D20

D40

D60 = hф = D10

D80

D100

0,18

0,27

0,7

1,44

2,67

4,27

По полученным значениям Dmin, D10, …, D100 строим расчетную кривую несуффозионного состава первого слоя дренажной обсыпки (рис. 136, кривая Г) и устанавливаем зону допустимого гранулометрического состава грунта, пригодного для укладки в первый слой дренажной обсыпки.

Далее по формуле (207) определяем коэффициент фильтрации дренажной обсыпки kф

 0,021 см/с;

т.е.

Проверяем первый слой на некольматируемость, для чего находим по формуле (211) размер частиц, которые могут выноситься из контактной области грунта, примыкающей к первому слою дренажной обсыпки.

 = 0,32 · 0,04 = 0,013 мм.

Чтобы эти частицы не кольматировали первый слой дренажной обсыпки, должно выполняться условие (212);

т.е. условие (212) удовлетворяется, а, следовательно, нет оснований ожидать кольматации первого слоя подобранной обсыпки.

Пример 3. Дренируемый грунт представлен суглинком с числом пластичности Wп = 13,98; его зерновой состав показан на рис. 137, кривая 1.

Необходимо подобрать первый слой обсыпки.

Порядок расчета. Задаемся коэффициентом неоднородности обсыпки DI60/DI10 = 8; при этом DI50 может быть принято равным в диапазоне от 1 до 23 мм (см. рис. 128).

Для значения DI50 = 1 мм DI60 может быть равным примерно 1,5 мм, a DI10 = 1,5/8 = 0,19 мм, DImax примем равным 6 мм.

Рис. 137. Кривые гранулометрического состава к примеру подбора зернового состава фильтра для суглинка

1 - кривая зернового состава дренируемого грунта; 2, 3 - кривые, ограничивающие область приемлемых составов фильтра

По принятым значениям DI10, DI50, DI60 и DImax строим первую граничную кривую зернового состава обсыпки (рис. 137, кривая 2).

Вторую граничную кривую получим при значении DI50, равном 23 мм.

В этом случае DI60 может быть равным примерно 30 мм, а DI10 = 30/8 = 3,76 мм. DImax примем равным 50 - 60 мм.

По принятым значениям строим вторую граничную кривую обсыпки (рис. 137, кривая 3). Материалы, заключенные между кривыми 2 и 3, могут быть применимы для обсыпок при условии, что DI60/DI10 = 8.

ПРИЛОЖЕНИЕ 1

Значения постоянных

Bi

А1

А2

А3

А4

А5

А6

0

1

- 0

0

- 0

0

- 0

0,001

1,0002

- 0,0002

0

- 0

0

- 0

0,002

1,0004

- 0,0004

0,0001

- 0

0

- 0

0,004

1,0008

- 0,0008

0,0002

- 0,0001

0,0001

- 0

0,006

1,0012

- 0,0012

0,0003

- 0,0001

0,0001

- 0

0,008

1,0015

- 0,0016

0,0004

- 0,0002

0,0001

- 0,0001

0,01

1,002

- 0,002

0,0005

- 0,0002

0,0001

- 0,0001

0,02

1,003

- 0,004

0,001

- 0,0004

0,0003

- 0,0002

0,04

1,0065

- 0,008

0,002

- 0,0009

0,0005

- 0,0003

0,06

1,0099

- 0,0119

0,003

- 0,0013

0,0007

- 0,0004

0,08

1,013

- 0,0158

0,004

- 0,0018

0,001

- 0,0006

0,1

1,0159

- 0,0197

0,005

- 0,0022

0,0013

- 0,0008

0,2

1,0312

- 0,0381

0,01

- 0,0045

0,0025

- 0,0016

0,3

1,045

- 0,0555

0,0148

- 0,0067

0,0038

- 0,0024

0,4

1,0581

- 0,0719

0,0196

- 0,0089

0,005

- 0,0032

0,5

1,0701

- 0,0873

0,0243

- 0,0110

0,0063

- 0,004

0,6

1,0813

- 0,1025

0,0289

- 0,0132

0,0075

- 0,0048

0,7

1,0918

- 0,1154

0,0335

- 0,0153

0,0087

- 0,0056

0,8

1,1016

- 0,1282

0,0379

- 0,0175

0,01

- 0,0064

0,9

1,1107

- 0,1403

0,0423

- 0,0196

0,0112

- 0,0072

1

1,1192

- 0,1517

0,0466

- 0,0217

0,0124

- 0,008

1,5

1,1537

- 0,2013

0,0667

- 0,0318

0,0184

- 0,0119

2

1,1784

- 0,2367

0,0848

- 0,0414

0,0241

- 0,0157

3

1,2102

- 0,2881

0,1154

- 0,0589

0,0351

- 0,0231

4

1,2287

- 0,3215

0,1396

- 0,0750

0,0451

- 0,03

5

1,2403

- 0,3442

0,1588

- 0,0876

0,0543

- 0,0368

6

1,2478

- 0,3604

0,174

- 0,0991

0,0626

- 0,0427

7

1,2532

- 0,3722

0,1861

- 0,1089

0,0701

- 0,0483

8

1,2569

- 0,3812

0,1959

- 0,1174

0,0768

- 0,0535

9

1,2598

- 0,388

0,2039

- 0,1246

0,0828

- 0,0583

10

1,2612

- 0,3934

0,2104

- 0,1309

0,0881

- 0,0676

15

1,2677

- 0,4084

0,232

- 0,1514

0,1072

- 0,0795

20

1,2699

- 0,4147

0,2394

- 0,1621

0,1182

- 0,0901

30

1,2717

- 0,4198

0,2472

- 0,1718

0,1291

- 0,1015

40

1,2723

- 0,4217

0,2502

- 0,1759

0,134

- 0,1069

50

1,2727

- 0,4227

0,2517

- 0,1779

0,1365

- 0,1098

60

1,2728

- 0,4232

0,2526

- 0,1791

0,1379

- 0,1115

80

1,273

- 0,4237

0,2535

- 0,1803

0,1394

- 0,1132

100

1,2731

- 0,4239

0,2539

- 0,1808

0,1405

- 0,1141

¥

1,2732

- 0,4244

0,2546

- 0,1819

0,1415

- 0,1157

ПРИЛОЖЕНИЕ 2

Корни характеристического уравнения tg mn = /mBin

Bi

m1

m2

m3

m4

m5

m6

0

0

3,1416

6,2832

9,4248

12,5664

15,703

0,001

0,0316

3,1419

6,2833

9,4249

12,5665

15,708

0,002

0,0447

3,1422

6,2835

9,425

12,5665

15,7081

0,004

0,0632

3,1429

6,2838

9,4252

12,5667

15,7082

0,006

0,0774

3,1435

6,2841

9,4254

12,5668

15,7083

0,008

0,0893

3,1441

6,2845

9,4256

12,567

15,7085

0,01

0,0998

3,1448

6,2848

9,4258

12,5672

15,7086

0,02

0,141

3,1479

6,2864

9,4269

12,5680

15,7092

0,04

0,1987

3,1543

6,2895

9,429

12,5696

15,7105

0,06

0,2425

3,1606

6,2927

9,4311

12,5711

15,7118

0,08

0,2791

3,1668

6,2959

9,4333

12,5727

15,7131

0,1

0,3111

3,1731

6,2991

9,4354

12,5743

15,7143

0,2

0,4328

3,2039

6,3148

9,4459

12,5823

15,7207

0,3

0,5218

3,2341

6,3305

9,4565

12,5902

15,727

0,4

0,5932

3,2636

6,3461

9,467

12,5981

15,5334

0,5

0,6533

3,2923

6,3616

9,4775

12,606

15,7397

0,6

0,7051

3,3204

6,377

9,4879

12,6139

15,746

0,7

0,7506

3,3477

6,3923

9,4983

12,6218

15,7524

0,8

0,791

3,3744

6,4074

9,5087

12,6296

15,7587

0,9

0,8274

3,4003

6,4224

9,519

12,6375

15,765

1,0

0,8603

3,4256

6,4373

9,5293

12,6453

15,7713

1,5

0,9882

3,5422

6,5097

9,5801

12,6841

15,8026

2

1,0769

3,6436

6,5783

9,6296

12,7223

15,8336

3

1,1925

3,8088

6,704

9,724

12,7966

15,8945

4

1,2646

3,9352

6,814

9,8119

12,8678

15,9536

5

1,3138

4,0336

6,9096

9,8923

12,9352

16,0107

6

1,3496

4,1116

6,9924

9,9667

12,9988

16,0654

7

1,3766

4,1746

7,064

10,0339

13,0584

16,1177

8

1,3978

4,2264

7,1283

10,0949

13,1141

16,1675

9

1,4149

4,2694

7,1806

10,1502

13,166

16,2147

10

1,4289

4,3058

7,2281

10,2003

13,2142

16,2591

15

1,4729

4,4255

7,3959

10,3898

13,4078

16,4474

20

1,4961

4,4915

7,4954

10,5117

13,542

16,5864

30

1,5202

4,5615

7,6057

10,6543

13,7085

16,7691

40

1,5325

4,5979

7,6647

10,7334

13,8048

16,8794

50

1,54

4,6202

7,7012

10,7832

13,8966

16,9519

60

1,5451

4,7353

7,7259

10,8172

13,9094

17,0026

80

1,5514

4,6543

7,7573

10,8606

13,9644

17,0686

100

1,5552

4,6658

7,7764

10,8871

13,9981

17,1093

¥

1,5708

4,7124

7,8440

10,9956

14,1372

17,2788

ПРИЛОЖЕНИЕ 3

Корни характеристического уравнения nn J1 (nn) = Bi J0 (nn)

Bi

n1

n2

n3

n4

n5

n6

0

0

3,8317

7,0156

10,1735

13,3237

16,4706

0,01

0,1412

3,8343

7,017

10,745

13,3244

16,4712

0,02

0,1995

3,8369

7,0184

10,1754

13,3252

16,4718

0,04

0,2814

3,8421

7,0213

10,1774

13,3267

16,4731

0,06

0,3438

3,8473

7,0241

10,1794

13,3282

16,4743

0,08

0,396

3,8525

7,027

10,1813

13,3297

16,4755

0,1

0,4417

3,8577

7,0298

10,1833

13,3312

16,4767

0,15

0,5376

3,8706

7,0369

10,1882

13,3349

16,4797

0,2

0,617

3,8835

7,044

10,1931

13,3387

16,4828

0,3

0,7465

3,9091

7,0582

10,2029

13,3462

16,4888

0,4

0,8516

3,9344

7,0723

10,2117

13,3537

16,4949

0,5

0,9408

3,9594

7,0864

10,2225

13,3611

16,501

0,6

1,0184

3,9841

7,1004

10,2322

13,3686

16,507

0,7

1,0873

4,0085

7,1143

10,2419

13,3761

16,5131

0,8

1,149

4,0325

7,1282

10,2519

13,3835

16,5191

0,9

1,2048

4,0562

7,1421

10,2613

13,391

16,4251

1

1,2558

4,0795

7,1558

10,271

13,3984

16,5312

1,5

1,4569

4,1902

7,2233

10,3188

13,4353

16,5612

2

1,5994

4,291

7,2884

10,3658

13,4819

16,591

3

1,7887

4,4634

7,4103

10,4566

13,5434

16,6499

4

1,9081

4,6018

7,5201

10,5423

13,6125

16,7073

5

1,9898

4,7131

7,6177

10,6223

13,6786

16,763

6

2,049

4,8033

7,7039

10,6964

13,7414

16,8168

7

2,0937

4,8772

7,7797

10,7646

13,8008

16,8684

8

2,1286

4,9384

7,8464

10,8271

13,8566

16,9179

9

2,1566

4,9897

7,9051

10,8842

13,909

16,9650

10

2,1795

5,0332

7,9569

10,9363

13,958

17,0099

15

2,2509

5,1773

8,1422

11,1367

14,1576

17,2008

20

2,288

5,2568

8,2534

11,2677

14,2983

17,3442

30

2,3261

5,341

8,3771

11,4221

14,4748

17,5348

40

2,3455

5,3846

8,4432

11,5081

14,5774

17,6508

50

2,3572

5,4112

8,484

11,5621

14,6433

17,7272

60

2,3651

5,4291

8,5116

11,599

14,6889

17,7507

80

2,375

5,4516

8,5466

11,6461

14,7475

17,8502

100

2,3909

5,4652

8,5678

11,6747

14,7834

17,8931

¥

2,4048

5,5201

8,6537

11,7915

14,9309

18,0711

ПРИЛОЖЕНИЕ 4

Программа расчета функции F0 (a, b, c) =

Таблица 1

Адрес

Нажимаемые клавиши

Код

Адрес

Нажимаемые клавиши

Код

Адрес

Нажимаемые клавиши

Код

00

ПО

40

16

ИПА

6-

32

ИПА

6-

01

ИП6

66

17

ИП7

67

33

¸

13

02

X

12

18

X

12

34

ИПО

60

03

2

02

19

1

01

35

FX2

22

04

X

12

20

+

10

36

-

13

05

Fex

16

21

-

13

37

ИПО

60

06

ПА

4-

22

ПА

4-

38

F sin

1[

07

1

01

23

ИПО

60

39

X

12

08

-

11

24

Х

12

40

П1

41

09

ИПА

6-

25

ИП8

68

41

С/П

50

10

1

01

26

Х

12

42

ИП1

61

11

+

10

27

/-/

0L

43

Х

12

12

-

13

28

Fex

16

44

ИПД

13

ПА

4-

29

/-/

0L

45

+

10

14

ИП7

67

30

1

01

46

ПД

15

+

10

31

+

10

47

С/П

50

Вычисления ведут по квадратурной формуле Лагерра:

Координаты xi и веса wi квадратурной формулы приведены в табл. 2.

Инструкция работы с микрокалькулятором.

1. Ввести программу.

2. Записать величины a, в, c соответственно в регистры 6, 7, 8.

3. Записать 0 в регистр Д.

4. Выполнить вычисления, вводя данные из табл. 2 по схеме

X1                 B/O     C        w1 С/П

X2                 B/O     C        w2 С/П

                                         

X15                B/O     C        w15 С/П

Результаты вычислений - в регистре Д.

Вводимые исходные данные

Параметры

Нажимаемые клавиши

a

П6

b

П7

с

П8

Тест для проверки программы

Параметры

Значения

Результат

a

0,1333

 

b

21

4,1103596 · 10-1

с

1,1106

 

Время счета примерно 15 минут.

Таблица 2

xi

wi

0,0933

0,23957

0,49269

0,5601

1,21559

0,887

2,26994

1,22366

3,66762

1,56444

5,42533

1,94475

7,56591

2,3415

10,12022

2,77404

13,13028

3,25564

16,6544

3,80631

20,77647

4,45847

25,62389

5,27001

31,40751

6,35956

38,53068

8,03178

48,02608

11,52777

ПРИЛОЖЕНИЕ 5

Программа расчета функции F13 (a, b, c) =

Адрес

Нажимаемые клавиши

Код

Адрес

Нажимаемые клавиши

Код

Адрес

Нажимаемые клавиши

Код

00

ПО

40

04

X

12

08

-

11

01

ИП6

66

05

Fe*

16

09

ИПА

6-

02

X

12

06

ПА

4-

10

1

01

03

2

02

07

1

01

11

+

10

12

¸

13

27

П2

42

42

¸

13

13

ПА

4-

28

2

02

43

ИПО

60

14

ИП7

67

29

0

00

44

F cos

15

+

10

30

-

11

45

X

12

16

ИПА

6-

31

Fe < 0

51

46

П1

41

17

ИП7

67

32

54

54

47

С/П

50

18

X

12

33

ИП2

62

48

ИП1

61

19

1

01

34

/-/

0L

49

X

12

20

+

10

35

Fе*

16

50

ИПД

21

¸

13

36

/-/

0L

51

+

10Г

22

ПА

4-

37

1

01

52

ПД

23

ИПО

60

38

+

10

53

С/П

50

24

Х

12

39

ИПА

6-

54

1

01

25

ИП8

68

40

¸

13

55

БП

51

26

Х

12

41

ИПО

60

56

39

39

Вычисления ведут по квадратурной формуле Лагерра:

Координаты xi веса wi квадратурной формулы приведены в прил. 4.

Инструкция работы с микрокалькулятором.

1. Ввести программу.

2. Записать величины a, в, c соответственно в регистры 6, 7, 8.

3. Записать «0» в регистр «Д».

4. Выполнить вычисления, вводя данные из табл. 2 прил. 4 по схеме.

X1                 B/O     C        w1 С/П

X2                 B/O     C        w2 С/П

                                         

X15                B/O     C        w15 С/П

Результаты вычислений - в регистре «Д».

Вводимые исходные данные

Параметры

Нажимаемые клавиши

a

П6

b

П7

с

П8

Тест для проверки программы

Параметры

Значения

Результат

a

0,1333

 

b

21

5,2392367 · 10-1

с

1,1106

 

Время счета примерно 15 минут.

ПРИЛОЖЕНИЕ 6

Программа расчета функции F14 (a, b) =

Адрес

Нажимаемые клавиши

Код

Адрес

Нажимаемые клавиши

Код

Адрес

Нажимаемые клавиши

Код

00

ПО

40

16

ИП7

67

32

ИПО

60

01

ИП6

66

17

X

12

33

¸

13

02

X

12

18

П2

42

34

ИПО

60

03

2

02

19

2

02

35

Fe cos

1Г

04

X

12

20

0

00

36

X

12

05

Fex

16

21

-

11

37

П1

41

06

ПА

4-

22

FX < 0

51

38

С/П

50

07

1

01

23

45

45

39

ИП1

61

08

-

11

24

ИП2

62

40

X

12

09

ИПА

6-

25

/-/

0L

41

ИПД

10

1

01

26

Fex

16

42

+

10

11

+

10

27

/-/

0L

43

ПД

12

¸

13

28

1

01

44

С/П

50

13

ПА

4-

29

+

10

45

1

01

14

ИПО

60

30

ИПА

6-

46

БП

51

15

Х

12

31

¸

13

47

30

30

Вычисления ведут по квадратурной формуле Лагерра:

Координаты xi и веса wi квадратурной формулы приведены в табл. 2 прил. 4.

Инструкция работы с микрокалькулятором.

1. Ввести программу.

2. Записать величины «а», «в» соответственно в регистры 6, 7.

3. Записать «0» в регистр «Д».

4. Выполнить вычисления, вводя данные из табл. 2 прил. 4 по схеме

X1                 B/O     C        w1 С/П

X2                 B/O     C        w2 С/П

                                          

X15                B/O     C        w15 С/П

Результаты вычислений - в регистре «Д».

Вводимые исходные данные

Параметры

Нажимаемые клавиши

A

П6

B

П7

Тест для проверки программы

Параметры

Значения

Результат

A

0,1333

12,509685

B

21

 

Время счета примерно 15 мин.

ПРИЛОЖЕНИЕ 7

Программа расчета функции F15 (a, b) =

Адрес

Нажимаемые клавиши

Код

Адрес

Нажимаемые клавиши

Код

Адрес

Нажимаемые клавиши

Код

00

ПО

40

14

2

02

28

F cos

01

Fx2

22

15

0

00

90

X

12

02

ИП6

66

16

-

11

30

П1

41

03

X

12

17

FX < 0

51

31

С/П

50

04

1

01

18

37

37

32

ИП1

61

05

+

10

19

ИП2

62

33

X

12

06

ИПО

60

20

/-/

0L

34

ИПД

07

Fx

22

21

Fex

16

35

+

10

08

¸

13

22

/-/

0L

36

ПД

09

П4

44

23

1

01

37

С/П

50

10

F1/х

23

24

+

10

38

1

01

11

ИП7

67

25

ИП4

64

10

БП

51

12

Х

12

26

X

12

40

25

25

13

П2

42

27

ИПО

60

 

 

 

Вычисления ведут по квадратурной формуле Лагерра:

Координаты xi и веса wi квадратурной формулы приведены в табл. 2 прил. 4.

Инструкция работы с микрокалькулятором.

1. Ввести программу.

2. Записать величины а, в соответственно в регистры 6, 7.

3. Записать «0» в регистр «Д».

4. Выполнить вычисления, вводя данные из табл. 2 прил. 4 по схеме

X1                 B     C        w1 С/П

X2                 B     C        w2 С/П

                                          

X15                B     C        w15 С/П

Результаты вычислений - в регистре «Д».

Вводимые исходные данные

Параметры

Нажимаемые клавиши

а

П6

в

П7

Тест для проверки программы

Параметры

Значения

Результат

а

0,1333

 

б

21

7,4970776

Время счета примерно 15 мин.

ПРИЛОЖЕНИЕ 8

Программа расчета функции

Интеграл рассчитывается по квадратурной формуле Лагерра:

где wi, Хi - вес и координаты узлов квадратурной формулы, которые приведены в табл. 2 прил. 4.

Адрес

Нажимаемые клавиши

Код

Адрес

Нажимаемые клавиши

Код

Адрес

Нажимаемые клавиши

Код

00

П5

45

15

ПП

53

30

+

10

01

0

00

16

35

35

31

П1

41

02

ИП5

65

17

ИПД

32

1

01

03

ИПВ

6L

18

X

12

33

П3

43

04

 

12

19

ПД

34

С/П

50

05

/-/

0

20

ИП5

65

35

1

01

06

ИП5

65

21

ИПС

61

36

П6

46

07

ИПА

6-

22

X

12

37

ИПЗ

63

08

Х

12

23

ПП

53

38

FX¹0

7

09

ПП

53

24

35

35

39

49

49

10

87

87

25

ИПД

40

П8

48

11

Х

12

26

X

12

41

ИП6

66

12

Fex

16

27

С/П

50

42

X

12

13

ПД

28

X

12

43

П6

46

14

ИП5

65

29

ИП1

61

44

ИП8

68

45

1

01

63

ИП4

64

81

62

62

46

-

11

64

ИП3

63

82

0

00

47

Fx = 0

65

+

10

83

П4

44

48

40

40

66

ИП4

64

84

П3

43

49

ИП5

65

67

X

12

85

ИП8

68

50

2

02

68

ИП9

69

86

В/0

52

51

¸

13

69

¸

13

87

Fex

16

52

ПО

40

70

ИП7

67

88

­

0Е

53

FX2

22

71

/-/

01

89

­

54

П9

49

72

xy

14

90

F1/x

23

55

ИП3

63

73

¸

13

+

10

 

56

ИП0

60

74

П7

47

92

2

02

57

FХy

24

75

ИП8

68

93

¸

13

58

ИП6

66

76

+

10

94

-

11

59

¸

13

77

П8

48

95

FBx

0

60

П7

47

78

FВх

0

96

¸

13

61

П8

48

79

-

11

97

B/0

52

62

КИП4

Г4

80

Fх = 0

5E

 

 

 

Вводимые исходные данные

Параметры

Нажимаемые клавиши

a

ПА

b

ПА

ПС

1

П3

0

П1

0

П4

Тест для проверки программы

Параметры

Значения

Результат

a

1

 

b

1

 

1

 

x1

(0,5)

 

 

(0,09)

 

w2

0,5

(6,022766 · 10-2)

 

(0,24)

(1,0680605 · 10-2)

Инструкция работы с микрокалькулятором.

1. Набрать программу.

2. Вести исходные данные.

3. Вводить данные из таблицы п. 1 в следующем порядке

X1                 B     C        w1 С/П

X2                 B     C        w2 С/П

                                          

X15                B     C        w15 С/П

4. Результат содержится в ячейке 1.

Время расчета по 1 узлу » 2 мин.

ПРИЛОЖЕНИЕ 9

Программа расчета функции

Интеграл рассчитывается по квадратурной формуле Лагерра:

где wi, xi - вес и координаты узлов квадратурной формулы, приведенные в табл.

Адрес

Нажимаемые клавиши

Код

Адрес

Нажимаемые клавиши

Код

Адрес

Нажимаемые клавиши

Код

00

П9

49

31

ИП2

62

61

FXy

24

01

0

00

32

+

10

62

ИП6

66

02

ИП9

69

33

П2

42

63

¸

13

03

Fx2

22

34

1

01

64

П7

47

04

ИПС

6[

35

П3

43

65

П8

48

05

X

12

36

С/П

50

66

КИП4

Г4

06

ИП9

69

37

БП

51

67

ИП4

64

07

FX2

22

38

00

00

68

ИП3

63

08

ИПВ

6L

39

1

01

69

+

10

09

X

12

40

П6

46

70

ИП4

64

10

1

01

41

ИП3

63

71

X

12

11

+

10

42

FХ ¹ 0

57

72

ИП5

65

12

¸

13

43

53

53

73

¸

13

13

/-/

0L

44

П8

48

74

ИП7

67

14

Fe*

16

45

ИП6

66

75

/-/

0L

15

П1

41

46

Х

12

76

XY

14

16

ИП9

69

47

П6

46

77

¸

13

17

ПП

53

48

ИП8

68

78

П7

47

18

39

39

49

1

01

79

ИП8

68

19

ИП1

61

50

-

11

80

+

10

20

X

12

51

FX = 0

81

П8

48

21

П1

41

52

44

44

82

FBX

0

22

ИП9

69

53

ИП9

69

83

-

11

23

ИПА

6-

54

2

02

84

FХ = 0

24

X

12

55

¸

13

85

66

66

25

ПП

53

56

П0

40

86

0

00

26

39

39

57

FX2

22

87

П4

44

27

ИП1

61

58

П5

45

88

П3

43

28

X

12

59

ИП3

63

89

ИП8

68

29

С/П

50

60

ИП0

60

90

В/0

52

30

X

12

 

 

 

 

 

 

Вводимые исходные данные

Параметры

Нажимаемые клавиши

0

П4

1

П3

ПА

b

ПВ

f0в

ПС

0

П2

Тест для проверки программы

Параметры

Значения

Результат

1

 

b

1

 

f0в

1

 

X1

(0,5)

 

 

(0,09)

 

w2

0,5

(9,3073975 · 10-2)

 

(0,24)

(1,0681067 · 10-2)

Инструкция работы с микрокалькулятором

1. Набрать программу.

2. Ввести исходные данные.

3. Вводить данные из таблицы в следующем порядке

X1                 B/0      C        w1 С/П

X2                 B/0      C        w2 С/П

                                          

X15                B/0      C        w15 С/П

4. Результат содержится в ячейке 2.

Время расчета по 1 узлу » 1,5 мин.

ПРИЛОЖЕНИЕ 10

Программа расчета функции θ2 (t) = 2 exp (- t bn th bn); bn = p

Адрес

Нажимаемые клавиши

Код

Адрес

Нажимаемые клавиши

Код

Адрес

Нажимаемые клавиши

Код

00

ПП

53

12

X

12

24

¸

13

01

54

54

13

ПП

53

25

ИПО

60

02

2

02

14

41

41

26

¸

13

03

X

12

15

П0

40

27

ИПА

6-

04

1

01

16

ИПА

6-

28

F sin

1[

05

-

11

17

Х

12

29

X

12

06

2

02

18

ИПС

6[

30

ИП1

61

07

¸

13

19

Х

12

31

/

10

08

FП

20

20

/-/

11

32

П1

41

09

X

12

21

Fe*

16

33

FВХ

0

10

ПА

4-

22

ИПА

6-

34

-

11

11

ИПВ

6L

23

FX2

22

35

FХ = 0

5Е

36

00

00

44

-

11

52

¸

13

37

ИП1

61

45

2

02

53

В/0

52

38

2

02

46

¸

13

54

ИП4

64

39

X

12

47

­

55

1

01

40

С/П

50

48

FX2

22

56

+

10

41

Fе*

16

49

1

01

57

П4

44

42

­

50

+

10

58

В/0

52

43

F1/X

23

51

FÖ

21

 

 

 

Вводимые исходные данные

Параметры

Нажимаемые клавиши

hс

ПВ

t

ПС

0

П1

0

П4

Тест для проверки работы программы

Параметры

Значения

Результат

1

 

t

0,5

 

п

 

9

 

 

0,42208234

Инструкция работы с микрокалькулятором.

1. Ввести программу.

2. Ввести исходные данные.

3. Нажать клавиши В/О, С/П.

Время счета примерно 5 мин.

ПРИЛОЖЕНИЕ 11

Программа расчета функции

Адрес

Нажимаемые клавиши

Код

Адрес

Нажимаемые клавиши

Код

Адрес

Нажимаемые клавиши

Код

00

ПП

53

09

ПА

4-

18

X

12

01

63

63

10

ИП5

65

19

/-/

0L

02

1

01

11

ПВ

4L

20

Fe*

16

03

-

11

12

ПС

4[

21

1

01

04

FП

20

13

ПП

53

22

ИП6

66

05

X

12

14

67

67

23

-

11

06

П8

48

15

ИПА

6-

24

ИПА

6-

07

ИП2

62

16

FХ2

22

25

X

12

08

+

10

17

ИП7

67

26

F cos

27

Х

12

51

+

10

75

¸

13

28

ИПА

6-

52

ИП9

69

76

FХ2

22

29

FХ2

22

53

+

10

77

ИПД

30

¸

13

54

¸

13

78

-

11

31

ИП9

69

55

ИП3

63

79

FХ < 0

32

FХ2

22

56

+

10

80

82

82

33

ИПА

6-

57

П3

43

81

В/0

52

34

FХ2

22

58

FВХ

0

82

ИП9

69

35

+

10

59

-

11

83

ИПА

6-

36

FÖ

21

60

FХ = 0

5Е

84

F tg

37

Х

12

61

00

0

85

¸

13

38

2

02

62

C

50

86

ИПА

6-

39

Х

12

63

КИП4

F4

87

-

11

40

ИП9

69

64

КП4

L4

88

ИПС

6[

41

Х

12

65

П4

44

89

XY

14

42

ИПА

6-

66

В/0

52

90

ПС

4[

43

¸

13

67

ИПВ

6L

91

Х

12

44

ИП8

68

68

2

02

92

FХ < 0

5[

45

F cos

69

¸

13

93

67

67

46

Х

12

70

ПВ

4L

94

ИПВ

6L

47

ИПА

6-

71

­

0E

95

/-/

0L

48

FХ2

22

72

ИПА

6-

96

БП

51

49

ИП9

69

73

+

10

97

68

68

50

FХ2

22

74

ПА

4-

 

 

 

Вводимые исходные данные

Параметры

Нажимаемые клавиши

П5

e2

ПД

Bi

П9

f0

П7

0

П3

0

П4

Х

П6

0,1

П2

Тест для проверки работы программы

Параметры

Значения

Результат

e2

1 · 10-6

 

Bi

1

 

f0

0,5

 

X

0,3

 

n

 

3

m3

 

6,4348920

q

 

0,85974214

Инструкция работы с микрокалькулятором

1. Ввести программу.

2. Ввести исходные данные.

3. Результат счета в ячейке «3».

После окончания счета

П (n - 1) - в регистре 8

mn - в регистре ПА

n - в регистре П4

Время счета примерно 10 мин.

Примечание. Погрешность вычисления функции не более 10-6 (по абсолютной величине).

ПРИЛОЖЕНИЕ 12

Программа расчета функции

Адрес

Нажимаемые клавиши

Код

Адрес

Нажимаемые клавиши

Код

Адрес

Нажимаемые клавиши

Код

00

ПП

53

33

Х

12

65

В/0

52

01

62

62

34

2

02

66

ИПВ

6L

02

1

01

35

Х

12

67

2

02

03

-

11

36

ИП9

69

68

¸

13

04

Fp

20

37

Х

12

69

ПВ

4L

05

X

12

38

ИПА

6-

70

­

06

П8

48

39

¸

13

71

ИПА

6-

07

ПА

4-

40

ИП8

68

72

+

10

08

ИП5

65

41

F cos

73

ПА

4-

09

ПВ

4L

42

Х

12

74

¸

13

10

ПС

4[

43

ИПА

6-

75

FХ2

22

11

ПП

53

44

FХ2

22

76

ИПД

12

66

66

45

ИП9

69

77

-

11

13

ИП7

67

46

FХ2

22

78

FХ < 0

5[

14

ИПА

6-

47

+

10

79

81

81

15

FХ2

22

48

ИП9

69

80

В/0

52

16

F1/Х

23

49

+

10

81

ИП9

69

17

ИП2

62

50

¸

13

82

ИПА

6-

18

+

10

51

ИП3

63

83

F tg

19

¸

13

52

+

10

84

¸

13

20

/-/

0L

53

П3

43

85

ИПА

6-

21

Fex

16

54

FВХ

0

86

-

11

22

ИП6

66

55

-

11

87

ИПС

6[

23

ИПА

6-

56

FХ2

22

88

XY

14

24

X

12

57

ИПД

89

ПС

4[

25

F cos

58

-

11

90

Х

12

26

Х

12

59

FХ < 0

5[

91

FХ < 0

5[

27

ИП9

69

60

00

00

92

66

66

28

FХ2

22

61

С/П

50

93

ИПВ

6L

29

ИПА

6-

62

КИП4

Г4

94

/-/

0L

30

FХ2

22

63

ИП4

64

95

БП

51

31

+

10

64

П4

44

96

67

67

32

FÖ

21

 

 

 

 

 

 

Вводимые исходные данные

Параметры

Нажимаемые клавиши

П5

e2

ПД

Вi

П9

f0

П7

(1 - )

П6

b

П2

0

П3

0

П4

Тест для проверки работы программы

Параметры

Значения

Результат

e2

1 · 10-6

 

Вi

1

 

f0

0,5

 

(1 - )

0,3

 

b

0,2

 

п

 

5

m5

 

12,652274

q

 

0,77049024

Инструкция работы с микрокалькулятором

1. Ввести программу.

2. Ввести исходные данные.

3. Результат счета в ячейке 3.

Время счета примерно 10 мин.

Примечания: 1. После окончания счета значения n - в ячейке 4, mn - в ячейке А. 2. e - абсолютная погрешность вычисления q8 (задается в зависимости от необходимой точности вычислений).

ПРИЛОЖЕНИЕ 13

Программа расчета функции

Адрес

Нажимаемые клавиши

Код

Адрес

Нажимаемые клавиши

Код

Адрес

Нажимаемые клавиши

Код

00

ПП

53

13

ИП7

67

26

X

12

01

62

62

14

ИПА

6-

27

ИПА

6-

02

1

01

15

FХ2

22

28

FX2

22

03

-

11

16

F1/X

23

29

¸

13

04

FП

20

17

ИП2

62

30

ИП9

69

05

X

12

18

+

10

31

FX2

22

06

П8

48

19

¸

13

32

ИПА

6-

07

ПА

4-

20

/-/

0L

33

FX2

22

08

ИП5

65

21

Fе*

16

34

+

10

09

ПВ

4L

22

ИП6

66

35

FÖ

21

10

ПС

4[

23

ИПА

6-

36

X

12

11

ПП

53

24

Х

12

37

2

02

12

66

66

25

F cos

38

X

12

39

ИП9

69

59

FX = 0

5E

78

FХ < 0

5[

40

Х

12

60

00

00

79

81

81

41

ИПА

6-

61

С/П

50

80

В/0

52

42

¸

13

62

КИП4

Г4

81

ИП9

69

43

ИП8

68

63

ИП4

64

82

ИПА

6-

44

F cos

64

П4

44

83

F tg

1E

45

Х

12

65

В/О

52

84

¸

13

46

ИПА

6-

66

ИПВ

6L

85

ИПА

6-

47

FX2

22

67

2

02

86

-

11

48

ИП9

69

68

¸

13

87

ИПС

6[

49

FX2

22

69

ПВ

4L

88

XY

14

50

+

10

70

­

89

ПС

4[

51

ИП9

69

71

ИПА

6-

90

Х

12

52

+

10

72

+

10

91

FХ < 0

5[

53

¸

13

73

ПА

4-

92

66

66

54

ИП3

63

74

¸

13

93

ИПВ

6L

55

+

10

75

FX2

22

94

/-/

0L

56

П3

43

76

ИПД2

95

БП

51

57

FBX

0

77

-

11

96

67

67

58

-

11

 

 

 

 

 

 

Вводимые исходные данные

Параметры

Нажимаемые клавиши

П5

e2

ПД

Вi

П9

f0

П7

(1 - )

П6

b

П2

0

П3

0

П4

Тест для проверки работы программы

Параметры

Значения

Результат

e2

1 · 10-4

 

Вi

1

 

f0

0,5

 

(1 - )

0,3

 

b

0,2

 

п

 

6

m6

 

15,769323

q

 

1,0603506

Инструкция работы с микрокалькулятором

1. Ввести программу.

2. Ввести исходные данные.

Результат счета в ячейке «3».

После окончания счета

(- 1) - в регистре 8

mn - в ячейке ПА

n - в ячейке П4

Время счета примерно 10 мин.

Примечание. Погрешность вычисления функции не более 10-6 (по абсолютной величине).

ПРИЛОЖЕНИЕ 14

Программа расчета функции

Первые шесть корней nn приведены в прил. 3 (при Bi = ¥)

Адрес

Нажимаемые клавиши

Код

Адрес

Нажимаемые клавиши

Код

Адрес

Нажимаемые клавиши

Код

00

ПА

4-

33

П1

41

65

П0

40

01

ИПВ

6L

34

C/n

50

66

FX2

22

02

X

12

35

Fe*

16

67

П9

49

03

ПП

53

36

FX2

22

68

ИП5

65

04

35

35

37

1

01

69

ИП0

60

05

ИПА

6-

38

+

10

70

FXy

24

06

Х

12

39

2

02

71

ИП5

65

07

ИПС

6

40

¸

13

72

¸

13

08

Х

12

41

F1/X

23

73

П7

47

09

Fеx

16

42

1

01

74

П8

48

10

ИПА

6-

43

-

11

75

КИП4

Г4

11

¸

13

44

В/0

52

76

ИП4

64

12

П2

42

45

П9

49

77

ИП5

65

13

0

00

46

0

00

78

+

10

14

П5

45

47

П4

44

79

ИП6

66

15

ИПА

6-

48

1

01

80

X

12

16

ИПД

49

П6

46

81

ИП9

69

17

Х

12

50

ИП5

65

82

¸

13

18

ПП

53

51

FX ¹ 0

57

83

ИП7

67

19

45

45

52

62

62

84

/-/

0L

20

ИП2

62

53

П8

48

85

XY

14

21

Х

12

54

ИП6

66

86

¸

13

22

П2

42

55

X

12

87

П7

47

23

1

01

56

П6

46

88

ИП8

68

24

П5

45

57

ИП8

68

89

+

10

25

ИПА

6-

58

1

01

90

П8

48

26

ПП

53

59

-

11

91

FВХ

0

7

45

45

60

FX = 0

92

-

11

28

ИП2

62

61

53

53

93

FX = 0

29.

¸

13

62

ИП9

69

94

75

75

30

F1/X

23

63

2

02

95

ИП8

68

31

ИП1

61

64

¸

13

96

В/0

52

32

+

10

 

 

 

 

 

 

Вводимые исходные данные

Параметры

Нажимаемые клавиши

ПВ

t

ПС

ПД

0

П1

Тест для проверки работы программы

Параметры

Значения

Результат

0,5

 

t

1

 

0,3

 

n1

2,4048

0,0772

n2

5,5201

0,0783

n3

8,6537

0,0783

n4

11,7915

0,0783

Ориентировочное время счета для одного введенного корня 10 мин.

Примечания: 1. По окончании ввода программы и исходных данных вводим следующие параметры:

n1                       B                 С/n

n2                       B                 С/n

                                          

nn                       B                 С/n

2. Ввод nn прекращают, если разность между двумя результатами счета меньше требуемой погрешности.

ПРИЛОЖЕНИЕ 15

Программа для расчетов по формуле (135) (слагаемое 1)

Адрес

Нажимаемые клавиши

Код

Адрес

Нажимаемые клавиши

Код

Адрес

Нажимаемые клавиши

Код

00

ИПА

6-

21

2

2

43

ИП0

60

01

П1

41

22

Х

12

44

2

02

02

ИП1

61

23

1

01

45

Х

12

03

ИП5

65

24

-

11

46

1

01

04

¸

13

25

ИП5

65

47

-

11

05

П8

48

26

Х

12

48

П8

48

06

ИП4

64

27

ИП1

61

49

ИП3

63

07

X

12

28

¸

13

50

Х

12

08

F sin

1[

29

FX2

22

51

F sin

1[

09

ИП1

61

30

1

01

52

ИП8

68

10

¸

13

31

+

10

53

¸

13

11

ИП8

68

32

F1/x

53

54

ИП8

68

12

FX2

22

33

/-/

0

55

FX2

22

13

ИПВ

6L

34

ПД

45

56

ИП8

68

14

X

12

35

КПП2

- 2

57

Х

12

15

/-/

0L

36

ИП8

68

58

/-/

0L

16

Fex

16

37

Х

12

59

Fex

16

17

XY

14

38

ИП9

69

60

XY

14

18

X

12

39

+

10

61

Х

12

19

П8

48

40

П9

49

62

ИП9

69

20

ИП0

60

41

FL1

5L

63

Х

12

 

 

 

42

02

02

64

ИПС

6[

65

+

10

76

¸

13

87

7

07

66

ПС

4[

77

С/П

50

88

9

09

67

0

00

78

8

08

89

П2

42

68

П9

49

79

8

08

90

1

01

69

FL0

80

П2

42

91

ИП7

67

70

00

00

81

1

01

92

+

10

71

ИПС

6F

82

ИП7

67

93

ИПД

72

8

08

83

-

11

94

Х

12

73

X

12

84

ИПД

95

ИП6

66

74

FП

20

85

Х

12

96

+

10

75

FX2

22

86

В/0

52

97

В/0

52

Вводимые исходные данные

Параметры

Нажимаемые клавиши

k

П0

m

ПА

F0

ПВ

П3

П4

П5

2

П6

П7

79

П2

Тест для проверки работы программы

Параметры

Значения

Результат

k

2

 

m

2

 

0,4284

 

0,364

 

F0

1,198 · 10-2

 

0,19

 

2

0,8

 

0,003

0,32033732

Инструкция работы с микрокалькулятором

1. Нажать клавиши В/О F ПРГ.

2. Ввести программу с адреса от 00 до 97.

Пример: нажимаем последовательно клавиши

ИП и АП и I ИП и I и т.д.

3. После набора программы нажать клавиши F Аbт.

4. Ввести исходные данные согласно таблице «вводимые исходные данные»

Пример. Для проверки работы программы набираем тестовые значения параметров.

Параметры

Значения

Нажимаемые клавиши

k

2

2

П

0

m

2

2

П

А

5. Записать 0 в регистры Д, С, 1, 8, 9.

Пример. Нажать клавиши

Cx П Д П С П I П 8 П 9

6. Нажать клавиши В/О С/П.

Программа начала работать.

Время счета 40 мин, результат  = 0,32033732.

7. После счета по тесту, не выключая микрокалькулятор, начинаем работать последовательно по инструкции (п. 3 - 6), но при этом вводим свои значения параметров по таблице «вводимые исходные данные».

Значения коэффициентов счета k и т всегда четные, задаются в зависимости от необходимой точности результата.

Для F0 < 10-3 k > 20, при F0 > 0,3 k = 2.

Время счета при k = 10, m = 10 » 40 мин.

При выключении питания программа стирается. Поэтому для сохранения программы на определенное время питание микрокалькулятора нельзя отключать. В противном случае придется вводить программу снова.

ПРИЛОЖЕНИЕ 16

Программа для расчетов по формуле (135) (2 слагаемое)

Адрес

Нажимаемые клавиши

Код

Адрес

Нажимаемые клавиши

Код

Адрес

Нажимаемые клавиши

Код

00

ИП0

60

19

Fex

16

38

ПВ

4L

01

2

02

20

­

0E

39

ИПА

6-

02

X

12

21

F1/x

23

40

ИП4

64

03

1

01

22

-

11

41

X

12

04

-

11

23

ИП3

63

42

F sin

1[

05

ПА

4-

24

X

12

43

ИПА

6-

06

ИП2

62

25

ИПВ

6

4

¸

13

07

ИП1

61

26

+

10

45

ИПВ

6L

08

-

11

27

ПВ

4

46

Х

12

09

ИПА

6-

28

ИПА

6-

47

ИПС

6[

10

X

12

29

ИП2

62

48

+

10

11

Fex

16

30

X

12

49

ПС

4[

12

­

0E

31

Fex

16

50

FL0

13

F1/Х

23

32

­

0E

51

00

00

14

-

11

33

F1/x

23

52

4

04

15

ПВ

4

34

-

11

53

Х

12

16

ИПА

6-

35

F1/x

23

54

FП

20

17

ИП1

61

36

ИПВ

6L

55

¸

13

18

X

12

37

Х

12

56

с/п

50

Вводимые исходные данные

Параметры

Нажимаемые клавиши

k

П0

П1

П2

П3

П4

Тест для проверки работы программы

Параметры

Значения

Результат

k

2

 

0,364

 

0,6

 

0,003

 

0,4284

0,30575502

Инструкция работы с микрокалькулятором

1. Нажать клавиши В/О F ПРГ.

2. Ввести программу с адреса от 00 до 56.

3. После набора программы нажать клавиши F Аbт.

4. Ввести исходные данные согласно таблице «вводимые исходные данные».

Пример: вводим тестовые значения параметров

К2ПО  0,364П1 Б0,6П2

Результат 0,30575502

5. Записать 0 в регистр С. Нажать клавиши Сх П С.

6. Нажать клавиши В/О С/П. Время счета 5 мин.

ПРИЛОЖЕНИЕ 17

Программа для расчетов по формуле (137)

Адрес

Нажимаемые клавиши

Код

Адрес

Нажимаемые клавиши

Код

Адрес

Нажимаемые клавиши

Код

00

ИП1

61

17

КПП2

- 2

34

П2

42

01

FП

20

18

ИП7

67

35

ИПВ

6L

02

X

12

19

X

12

36

1

01

03

ИПА

6-

20

ИП8

63

37

-

11

04

Х

12

21

+

10

38

/-/

0

05

F sin

1[

22

П8

48

39

ИПВ

6

06

ИП1

61

23

F < 1

5L

40

+

10

07

¸

13

24

00

00

41

В/0

52

08

ИП1

61

25

2

02

42

3

03

09

FX2

22

26

X

12

43

3

03

10

ИПС

61

27

FП

20

44

П2

42

11

X

12

28

-

13

45

ИПВ

6L

12

/-/

0

29

ИПА

6-

46

1

01

13

Fex

16

30

+

10

47

-

11

14

XY

14

31

С/П

50

48

ИПВ

60

15

X

12

32

4

04

49

+

10

16

П7

47

33

3

03

50

В/0

52

Вводимые исходные данные

Параметры

Нажимаемые клавиши

ПА

ПВ

ПС

т

П1

0

ПВ

33

П2

Тест для проверки работы программы

Параметры

Значения

Результат

0,12195

 

1

 

F0

0,60873318

 

т

4

 

 

 

0,27157311

Инструкция работы с микрокалькулятором

1. Нажать клавиши В/О F ПРГ.

2. Ввести программу с адреса 00 до 50.

3. После набора программы нажать клавиши F Аbт.

4. Ввести исходные данные согласно таблице «вводимые исходные данные».

Пример: вводим тестовые значения параметров

0,12195ПА 1 П В

Результат равен 0,27157311

5. Нажать клавишу С/П.

Время счета » 3 мин.

ЛИТЕРАТУРА

1. Абрамов С. К. Подземные дренажи в промышленном и городском строительстве. - М.: Стройиздат, 1973.

2. Абрамов С. К., Биндеман Н. Н., Бочевер Ф. М., Веригин Н. Н. Влияние водохранилищ на гидрогеологические условия прилегающих территорий. Госстройиздат. 1960.

3. Абрамов С. К., Найфельд Л. Р., Скиргелло О. Б. Дренаж промышленных площадок и городских территорий. М.: Госстройиздат, 1954.

4. Абрамов С. К., Кузнецова Н. А., Муфтахов А. Ж. Пластовые дренажи в промышленном и городском строительстве. - М.: Госстройиздат, 1964.

5. Аравин В. И., Нумеров С. Н. Теория движения жидкостей и газов в недеформируемой пористой среде. - М.: Гостоптехиздат, 1953.

6. Борисов Ю. П., Пилатовский В. П., Табаков В. П. Разработка нефтяных месторождений горизонтальными и много забойными скважинами. - М.: Недра, 1964.

7. Бочевер Ф. М. Теория и практические методы гидрогеологических расчетов эксплуатационных запасов подземных вод. - М.: Недра, 1968.

8. Внутренние санитарно-технические устройства. Под ред. И. Г. Староверова. Ч. 2. Вентиляция и кондиционирование воздуха. - М.: Стройиздат, 1977.

9. Гармонов И. В., Колотов И. Б., Крашин И. И. Прогноз влияния равнинных водохранилищ на подпор, ресурсы и запасы подземных вод. - М.: Недра, 1984.

10. Гидрогеодинамическое обоснование прогноза подтопления городских территорий. / Сб. статей. - М.: Недра, 1985.

11. Дегтярев Б. М., Дзекцер Е. С., Муфтахов А. Ж. Защита оснований зданий и сооружений от воздействия подземных вод. - М.: Стройиздат, 1985.

12. Донской Г. b., Коринченко И. В. Конструктивные схемы вентиляционных и пневмонагнетательных систем осушения // В сб.: Инженерная защита территорий: Труды ВНИИ ВОДГЕО. - М., 1982.

13. Евтушенко М. Г., Гуревич Л. В., Шафран В. Л. Инженерная подготовка территорий населенных мест. - М.: Стройиздат, 1982.

14. Карслоу Г., Егер Д. Теплопроводность твердых тел. - М.: Наука, 1964.

15. Кожинов И. В., Добровольский Р. Г. Пути устранения потерь воды на водопроводах. - М.: Стройиздат, 1982.

16. Кольцевые дренажи в промышленном и городском строительстве. Под ред. С. К. Абрамова. - М.: Стройиздат, 1971.

17. Куранов Н. П., Шевчик А. П. Исследование вентиляционного и пневмонагнетательного способов осушения слабопроницаемых грунтов // В сб.: Инженерная защита территорий: Труды ВНИИ ВОДГЕО. - М., 1982.

18. Лукнер Л., Шестаков В. М. Моделирование геофильтрации. - М.: Недра, 1976.

19. Лыков А. В. Теория теплопроводности. - М.: Высшая школа, 1967.

20. Лыков А. В. Тепломассообмен. Справочник. - М.: Энергия, 1972.

21. Маскет М. Течение однородных жидкостей в пористой среде. - М. Гостотехиздат, 1949.

22. Методические рекомендации по прогнозированию подтопления берегов водохранилищ и использованию подтопленных земель. - Л.: ВНИИГ, 1978.

23. Методические рекомендации по расчетам подпора грунтовых вод, подтопления земель и потерь воды на фильтрацию в районах каналов и водохранилищ. - М.: ВНИИ ВОДГЕО, 1980.

24. Методы фильтрационных расчетов гидромелиоративных систем. Под ред. Н. Н. Веригина. - М.: Колос, 1970.

25. Моисеев В. Ю. и др. Инженерная подготовка застраиваемых территорий. - Киев: Будiвельник, 1974.

26. Муфтахов А. Ж. Приток подземных вод к лучевому водозабору. В сб. Водозаборные сооружения: Труды ВНИИ ВОДГЕО. - М., 1983.

27. Муфтахов А. Ж. Гидродинамические основы прогноза подтопления промплощадок и фильтрационные расчеты защитного дренажа в сложных гидрогеологических условиях: Автореф. докт. дис. - М.: ВНИИ ВОДГЕО, 1975.

28. Нагуманов Р. А. О выборе расположения однолинейного совершенного дренажа при защите городских территорий от подтопления грунтовыми водами // В сб.: Методы расчета процессов массопереноса в гидрогеологических исследованиях: Труды ВНИИ ВОДГЕО. - М., 1984.

29. Найфельд Л. Р. Инженерная подготовка пойменных и заболоченных территорий для градостроительства. - М.: Стройиздат, 1974.

30. Недрига В. П. Инженерная защита подземных вод от загрязнения промышленными стоками. - М.: Стройиздат, 1976.

31. Олейник А. Я. Геогидродинамика дренажа. - Киев: Наукова думка, 1981.

32. ОСТ 33-10-73. Фильтры дренажные из искусственных минеральных волокнистых материалов. Технические требования. - М.: Минводхоз СССР, 1973.

33. Пивовар Н. Г., Бугай Н. Г., Рычко В. А. Дренаж с волокнистыми фильтрами. - Киев: Наукова думка, 1980.

34. Подтопление застраиваемых территорий грунтовыми водами и их инженерная защита // Сб. тезисов докладов к Всесоюзной научно-технической конференции в Ташкенте в 1978. - М.: ВНИИ ВОДГЕО, 1978.

35. Полубаринова-Кочина П. Я. Теория движения грунтовых вод. - М.: Наука, 1977.

36. Попченко С. Н. Гидроизоляция сооружений и зданий. - М.: Стройиздат, 1981.

37. Прогноз и предотвращение подтопления грунтовыми водами территорий при строительстве. Под ред. С. К. Абрамова. - М.: Стройиздат, 1978.

38. Проектирование водозаборов подземных вод / Под ред. Ф. М. Бочевера. - М.: Стройиздат, 1976.

39. Рекомендации по методике оценки и прогноза гидрогеологических условий при подтоплении городских территорий. - М.: Стройиздат, 1983.

40. Рекомендации по оценке влияния поверхностного стока на подтопление городских территорий и по организации отведения дождевых и талых вод с этих территорий. РД 204 УССР, 152-84. - Харьков: УкрКоммунНИИпроект, 1984.

41. Рекомендации по проектированию и расчетам горизонтальных дренажей с применением трубофильтров из пористого бетона. - М.: ВНИИ ВОДГЕО, 1973.

42. Рекомендации по проектированию и расчетам защитных сооружений и устройств от подтопления промышленных площадок грунтовыми водами. - М.: ВНИИ ВОДГЕО, 1979.

43. Рекомендации по прогнозам подтопления промышленных площадок грунтовыми водами. - М.: ВНИИ ВОДГЕО, 1976.

44. Рекомендации по проектированию обратных фильтров гидротехнических сооружений. - Л.: ВНИИГ, 1981.

45. Рекомендации по устройству подземных конструкций и противофильтрационных завес способом «стена в грунте». - М.: НИИОСП, 1983.

46. Руководство по проектированию стен сооружений и противофильтрационных завес, устраиваемых способом «стена в грунте». - М.: НИИОСП, 1981.

47. Руководство по монтажу железобетонных, чугунных, асбоцементных трубопроводов. - М.: Стройиздат, 1970.

48. СН 551-82. Инструкция по проектированию и строительству противофильтрационных устройств из полиэтиленовой пленки для искусственных водоемов. - М.: Стройиздат, 1982.

49. СН 477-55. Временная инструкция по проектированию стен сооружений и противофильтрационных завес, устраиваемых способом «стена в грунте». - М.: Стройиздат, 1976.

50. Справочное руководство гидрогеолога. Под ред. В. М. Максимова. - Л.: Недра, 1979.

51. Чарный И. А. Подземная газогидродинамика. - М.: Гостоптехиздат, 1963.

52. Чекалюк Э. Б. Распределение пластовых давлений в радиальном пласте при постоянном забойном давлении. НТС по добыче нефти. - М.: Недра, 1968.

53. Шестаков В. М. Теоретические основы подпора, водопонижения и дренажа. - М.: МГУ, 1965.

СОДЕРЖАНИЕ

Предисловие. 1

1. Причины и факторы подтопления территорий. 2

Общие положения. 2

Причины подтопления территорий. 2

Источники и факторы подтопления. 3

2. Прогнозы подтопления застраиваемых территорий. 3

Исходные предпосылки. 3

Схематизация природных условий. 5

Расчеты прогноза подтопления территорий. 7

Образование верховодки на водонепроницаемых линзах в зоне аэрации. 7

Формирование техногенного водоносного горизонта в первоначально сухих грунтах. 8

Прогноз уровенного режима грунтовых вод при полосообразной дополнительной инфильтрации. 9

Учет изменения дополнительной инфильтрации во времени. 19

Расчеты повышения уровней при действии нескольких полос инфильтрации и наличии прямолинейных границ пласта. 20

Прогноз изменения уровней грунтовых вод при утечках из водонесущих коммуникаций. 21

Прогноз изменения уровней грунтовых вод при растекании куполов грунтовых вод. 23

Прогноз уровенного режима грунтовых вод при поступлении дополнительной инфильтрации из круглой площадки. 25

Прогноз подтопления территорий при поступлении дополнительной инфильтрации в пределах кольцевой зоны.. 29

Прогноз изменения уровней при растекании куполов грунтовых вод круглых в плане форм.. 30

Прогноз подтопления территорий в результате подпора грунтовых вод при создании водохранилищ.. 32

Определение величины дополнительного инфильтрационного питания. 34

Определение величины дополнительной инфильтрации по данным режимных наблюдений. 34

Определение интенсивности утечек воды из линейно вытянутых коммуникаций. 35

Определение интенсивности инфильтрационного питания при поступлении ее из полосообразного источника. 36

Определение интенсивности инфильтрационного питания при поступлении ее из круглого очага. 37

Определение величины инфильтрационного питания на основе водно-балансовых расчетов. 38

Определение величины инфильтрационного питания методом аналогий. 39

Определение средней мощности водоносного пласта. 40

Примеры расчетов. 41

3. Предупредительные мероприятия по предотвращению подтопления территорий. 45

Общая характеристика предупредительных мероприятий. 45

Организация и ускорение поверхностного стока. 45

Повышение планировочных отметок. 46

Предупреждение утечек из водопроводящих сооружений. 47

Гидроизоляция подземных частей зданий, сооружений и коммуникаций. 48

Пристенные, пластовые и сопутствующие дренажи. 50

Вентиляционные дренажи. 53

Организация складирования отходов производства. 56

Противофильтрационные экраны и завесы.. 56

Перехватывающие дренажи. 61

4. Сооружения по защите территорий от подтопления и их конструкции. 62

Общая характеристика дренажных систем.. 62

Конструкции дренажей. 63

Горизонтальные дренажи. 63

Лучевые дренажи. 67

Галерейные дренажи. 69

Вертикальные дренажи. 69

Комбинированные дренажи. 75

Осушение слабопроницаемых пород. 75

Вакуумные дренажи. 75

Пневмонагнетательные системы осушения. 76

Системы защитных дренажей. 78

Сооружения на дренажах. 80

Рекомендации по производству работы при строительстве дренажей. 82

5. Гидрогеологические расчеты дренажных систем.. 83

Общие положения. 83

Гидрогеологические расчеты горизонтальных дренажей. 84

Определение средней мощности пласта. 95

Гидрогеологические расчеты лучевых дренажей. 111

Гидрогеологические расчеты вентиляционных дренажей. 113

Гидрогеологические расчеты пневмонагнетательных систем осушения грунтов. 115

Гидрогеологические расчеты горизонтальных вакуумных дренажей. 118

Гидрогеологические расчеты вертикальных дренажей. 123

Примеры гидрогеологических расчетов дренажей. 133

6. Гидравлические расчеты дренажей. 139

Расчет водоприемной способности труб горизонтального дренажа. 139

Расчет водоприемной способности трубофильтров. 142

Расчет водоприемной способности вертикального дренажа. 143

Подбор дренажных обсыпок дренажа. 144

Расчет водопропускной способности горизонтального дренажа. 151

Расчет водопропускной способности фильтрующих постелей. 153

Гидравлический расчет системы вентиляционного дренирования. 153

Примеры расчетов. 154

Приложение 1. 158

Приложение 2. 158

Приложение 3. 159

Приложение 4. 159

Приложение 5. 161

Приложение 6. 162

Приложение 7. 162

Приложение 8. 163

Приложение 9. 164

Приложение 10. 166

Приложение 11. 166

Приложение 12. 168

Приложение 13. 169

Приложение 14. 170

Приложение 15. 171

Приложение 16. 172

Приложение 17. 173

Литература. 174

 




Яндекс цитирования



   Copyright © 2007-2026,  www.tehlit.ru.

[ ѓосты, стандарты, нормативы, инструкции, правила, строительные нормы ]