//
ТехЛит.ру
- крупнейшая бесплатная электронная интернет библиотека для "технически умных" людей.
WWW.TEHLIT.RU - ТЕХНИЧЕСКАЯ ЛИТЕРАТУРА

:: Алготрейдинг::


АЛГОТРЕЙДИНГ
шаг за шагом
с нуля по урокам!

Торговые роботы на PYTHON, BackTrader,
Pandas, Pine Script для TradingView. Связка с брокерами, телеграм и легкими приложениями.


Производственный и научно-исследовательский институт по инженерным изысканиям в строительстве

(ПНИИИС) Госстроя СССР

Рекомендации
по применению метода виброзондирования
при инженерно-геологических изысканиях

Москва Стройиздат 1987

Рекомендованы к изданию решением секции Научно-технического совета ПНИИИС Госстроя СССР.

Изложены основные требования к оборудованию, приведена методика проведения испытаний и обработки результатов виброзондирования грунтов легкими переносными установками.

Для инженерно-технических работников изыскательских, проектных и строительных организаций.

Разработаны в лаборатории исследований инженерно-геологических (строительных) свойств грунтов ПНИИИС Госстроя СССР (канд. техн. наук А.П. Афонин, д-р геол.-минерал. наук Р.С. Зиангиров).

1. ОБЩИЕ ПОЛОЖЕНИЯ

1.1. В настоящих Рекомендациях установлены основные требования к исследованию грунтов методом вибрационного зондирования, т.е. погружения конуса в грунт под воздействием вибрации. При погружении конуса частыми ударами (виброударное зондирование) возможно применение способа расчленения разреза и определения показателей виброзондирования, как косвенных характеристик грунтов. Формулы, используемые в настоящих Рекомендациях для оценки физико-механических свойств грунтов, на режим виброударного зондирования не распространяются.

1.2. Вибрационное зондирование применяется при исследовании глинистых (с показателем консистенции IL > 0,25) и песчаных грунтов при содержании крупнообломочного материала в них не более 20 %.

1.3. Рекомендации не распространяются на все виды грунтов в мерзлом состоянии, а также на скальные и крупнообломочные и глинистые грунты с показателем консистенции IL £ 0,25.

1.4. Наиболее целесообразно применять метод виброзондирования при исследовании слабых, насыпных и намывных грунтов. Эти грунты характеризуются сильной неоднородностью как по мощности, так и по простиранию разреза, что требует для получения надежной инженерно-геологической характеристики грунтового массива большого количества зондировочных скважин.

1.5. Вибрационное зондирование следует применять в комплексе с другими полевыми и лабораторными методами для:

выделения инженерно-геологических элементов;

определения однородности грунтов по площади и глубине;

определения степени уплотнения и упрочнения во времени искусственных (насыпных и намывных) грунтов;

приближенной количественной оценки физико-механических свойств грунтов (плотность, прочность, сжимаемость);

определения мест проведения опытных полевых работ.

1.6. Глубина зондирования задается с учетом требований, необходимых при исследовании грунтовой толщи. Рекомендации применимы для интерпретации результатов вибрационного зондирования не более 15 м.

1.7. Количество зондировочных точек, их расположение определяются сложностью инженерно-геологических условий исследуемого участка и неоднородностью грунтов.

1.8. Для установления надежных корреляционных зависимостей между показателями виброзондирования и физико-механических свойств, определяемыми другими полевыми и лабораторными методами, желательно проводить комплекс исследований по методу «ключевых участков».

Показатели зондирования

1.9. При погружении конуса в грунт на какую-то заданную глубину затрачивается работа, величина которой зависит от сил сопротивления грунта внедрению конуса и потерь энергии, происходящих при зондировании (колебания колонны штанг, трение штанг по грунту и т.д.). Если эти потери малы или их возможно учесть, то величина работы, затраченная на преодоление сил сопротивления, будет постоянной вне зависимости от способа погружения зонда. В результате возникает возможность установления зависимостей как между показателями виброзондирования и характеристиками свойств грунтов, так и между показателями виброзондирования и других зондировочных методов.

1.10. Известно, что процесс внедрения любого индентора можно разделить на две фазы: фаза уплотнения грунта под индентором, когда происходит преодоление сил сопротивления грунта внедрению индентора, и фаза сдвига грунта в сторону от индентора. За счет возникновения больших сдвиговых деформаций во второй фазе и происходит внедрение индентора при зондировании. Теоретически установлено и экспериментально доказано, что величина работы А, затрачиваемой на внедрение конуса в грунт, связана с глубиной погружения Н зависимостью

А = А0 еaН,                                                                 (1)

где А0 - работа, необходимая для преодоления начальных упругих сил сопротивления грунта; е - основание натуральных материалов; a - коэффициент, зависящий от свойств грунта.

1.11. При вибрационном зондировании погружение конуса происходит, в основном, за счет работы, производимой вибратором (доля работы силы тяжести незначительна). Если мощность вибратора N постоянна, то работа А, необходимая для погружения конуса на глубину Н, равна произведению мощности вибратора N на время виброзондирования t, a A0 = N t0, Тогда зависимость (1) будет иметь вид

t = t0 еaН,                                                                    (2)

где t - время виброзондирования, характеризующее величину работы А; t0 - коэффициент, характеризующий величину работы A0.

1.12. Скорость виброзондирования Vb, согласно формуле (2), будет связана с коэффициентами t0 и a следующей зависимостью:

Vb = 1/a t = 1/a t0 еaН,                                                        (3)

Максимальная скорость, согласно (3), будет в момент t0, когда остаточное смещение конуса не происходит (H = 0). В дальнейшем при внедрении конуса будет происходить диссипация энергии, затрачиваемой на преодоление сил трения, возникающих в процессе зондирования. Скорость виброзондирования будет уменьшаться.

1.13. Если зависимость (2) прологарифмировать, то для однородной грунтовой толщи получим

ln t = ln t0 + aH,                                                            (4)

где ln t, ln t0, aH являются характеристиками соответственно общей работы А, затрачиваемой на внедрение конуса в грунт, работы сил сопротивления грунта внедрению конуса и работы сил трения, возникающих в процессе зондирования. Полученные соотношения дают возможность, зная общую работу А и эмпирические коэффициенты t0 и a, определить работу, затрачиваемую на преодоление сил сопротивления грунта A1 и сил трения A2.

A1 = A ln t0/ln t; A2 = A aH/ln t.                                             (5)

1.14. Коэффициенты t0 и a зависят от свойств грунта, поэтому в слоистой грунтовой толщи график в координатах ln t - Н будет иметь вид ломаной прямой с точками переломов на границах слоев.

1.15. Скорость виброзондирования Vb является интегральным показателем свойств грунта. Величина Vb определяется значениями коэффициентов t0 и a. Коэффициент t0 и зависящая от значения этого коэффициента величина работы A1 характеризуют сопротивление грунта, находящегося в допредельном состоянии, когда под основанием конуса происходят в основном процессы уплотнения. Следовательно, коэффициент t0 характеризует сжимаемость грунта и корреляционно связан с деформационными показателями свойств грунта, в частности с модулем общей деформации.

Коэффициент a зависит от плотности и угла внутреннего трения грунта, так как приращение сдвигающих усилий по глубине зависит от этих показателей. Следует отметить, что коэффициент a характеризует также и потери энергии при трении штанг о стенки скважины.

Система показателей Vb, t0, a, А, А1, А2 дает возможность использовать результаты виброзондирования для выделения инженерно-геологических элементов и оценки прочности и сжимаемости грунтов, а также для определения сопротивления грунта внедрению конуса.

2. ОБОРУДОВАНИЕ ДЛЯ ВИБРОЗОНДИРОВОЧНЫХ ИСПЫТАНИЙ

2.1. Для производства виброзондировочных испытаний возможно использование как вибробуровых станков типа АБВ-2М, так и легких переносных виброустановок.

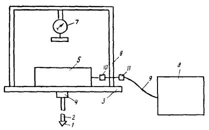
2.2. Принципиальная конструктивная схема легкой установки для вибрационного зондирования показана на рис. 1. Виброустановка облегченного типа состоит из колонны штанг, вибратора и конуса, закрепленных соответственно на верхнем и нижнем концах колонны штанг. С целью упрощения конструкции установки рекомендуется использовать серийно выпускаемые промышленностью вибраторы, штанги и конусы.

2.3. Вибраторы могут быть различного типа. Мощность вибратора, его масса и максимальная возмущающая сила должны быть достаточными для виброзондирования грунтов на заданную глубину. Наиболее целесообразно использовать эксцентриковые вибраторы с электромоторами переменного или постоянного тока.

2.4. Вибраторы должны иметь паспортные характеристики: частоту оборотов, моменты эксцентриков при различных положениях и соответствующие значения возмущающей силы.

2.5. Рекомендуется использовать вибраторы с переменной возмущающей силой. Изменение величины возмущающей силы достигается изменением либо положения эксцентриков в вибраторах с электромотором переменного тока, либо частоты вращения эксцентриков в вибраторах с электромотором постоянного тока.

2.6. Питание вибраторов с электромоторами осуществляется от электросети или от переносных электростанций типа АБ-1. В последнем случае мощность применяемых вибраторов определяется мощностью переносной электростанции. При использовании вибраторов с электромоторами постоянного тока питание вибраторов осуществляется от аккумуляторов или от сети постоянного тока.

2.7. Электропитание вибратора с мотором для трехфазного тока от сети или электростанции с однофазным током возможно при введении в цепь одного или нескольких параллельно соединенных конденсаторов. Принципиальная электрическая схема такого соединения показана на рис. 2. Общая емкость конденсаторов рассчитывается из условия: 15 мкф на 100 Вт мощности вибратора.

2.8. Кабель, соединяющий вибратор с источником питания, должен быть снабжен гидроизолированными разъемом и выключателем, последний должен быть установлен между разъемом и источником питания.

2.9. Для виброзондирования могут быть использованы штанги существующих зондировочных и буровых установок: бур геолога, ЛСГ-2, ПЛГ-5, УБН-15, СН-59 и т.д.

2.10. Характеристики штанг (диаметр, толщина стенок, длина) определяются весом и максимальной возмущающей силой вибратора. Штанги должны быть достаточно жесткими, чтобы не изгибаться под действием веса вибратора и его максимальной возмущающей силой, и в то же время легкими и наименьшего диаметра для облегчения процесса виброзондирования.

Рис. 1. Конструктивная схема виброустановки

1 - конус; 2 - штанга; 3 - площадка; 4 - крепежная гайка; 5 - вибратор; 6 - уголковая рама; 7 - пружинный динамометр; 8 - переносная электростанция; 9 - электрокабель; 10 - разъем; 11 - выключатель

Рекомендуется использовать штанги с резьбовым соединением и с разметкой на 10-сантиметровые отрезки.

2.11. Основным рабочим конусом считается конус с площадью основания 10 см2 и углом раскрытия 60°. В комплекте установки необходимо иметь конусы с таким же углом раскрытия, но с площадью основания 5, 15 или 20 см2, а также желательны конусы с углом раскрытия 30 и 45° и с разной площадью основания. Конусы соединяются со штангами резьбовым соединением.

2.12. Вибратор жестко закрепляется на площадке, снабженной крепежной гайкой, с помощью которой площадка соединяется с колонной штанг.

2.13. Рекомендуется оборудовать установку приспособлением для создания фиксированной статической безынерционной нагрузки. Простейший пример такого приспособления показан на рис. 1: на уголковой раме, приваренной к площадке, закреплен пружинный динамометр, с помощью которого фиксируется дополнительное усилие.

2.14. В комплекте установки должны быть секундомер, рулетка и гаечные ключи для монтажа.

3. ПРОВЕДЕНИЕ ВИБРОЗОНДИРОВОЧНЫХ ИСПЫТАНИЙ

3.1. При виброзондировании штанги свинчивают в колонну высотой 2-3 см, они должны быть размечены на 10-сантиметровые отрезки. При отсутствии заводской разметки штанга размечают при помощи рулетки.

3.2. На верхнем конце колонны штанг крепится площадка с вибратором, на нижнем - конус. Необходимо следить за надежностью всех соединений. Недопустимо применение штанг и конусов с поврежденной резьбой, так как в этом случае в процессе виброзондирования возможно разъединение колонны штанг или потеря конуса.

3.3. Вибратор с помощью разъема присоединяют к источнику питания. Колонну штанг вместе с вибратором устанавливают в точке зондирования вертикально, после чего включают вибратор.

3.4. Виброзондирование проводит бригада в два человека - рабочий и хронометрист. Рабочий осуществляет включение вибратора, монтаж установки, следит за вертикальностью колонны штанг в процессе виброзондирования. Хронометрист по секундомеру фиксирует и записывает и журнал время погружения конуса через каждые десять сантиметров.

3.5. После погружения колонны штанг в грунт вибратор выключают и отсоединяют от источника питания. Площадку с вибратором снимают и производят наращивание штанг на следующие 2-3 м. Затем на верхнюю штангу устанавливают площадку с вибратором, который соединяют с источником питания и проводят виброзондирование согласно п. 3.4. Операцию наращивания штанг повторяют до тех пор, пока не будет достигнута заданная глубина зондирования.

Рис. 2. Принципиальная электрическая схема включения трехфазного электродвигателя вибратора в сеть однофазного тока

1 - клеммы обмоток электродвигателя вибратора; 2 - конденсаторы; 3 - сеть однофазного тока

3.6. По окончании виброзондирования колонну штанг вытаскивают из скважины. Для облегчения данную операцию можно проводить при включенном вибраторе.

3.7. При исследовании насыпных, намывных и других грунтов, для которых характерна высокая неоднородность по глубине, желательно в одной точке сделать несколько зондировочных скважин.

3.8. Рекомендуемый диапазон скорости виброзондирования 1-20 см/с. Если скорость виброзондирования больше 20 см/с или меньше 1 см/с, то необходимо изменить условия или режим виброзондирования.

3.9. Изменение скорости виброзондирования достигается:

увеличением или уменьшением величины возмущающей силы путем изменения либо положения эксцентриков на валу вибратора, либо частоты вращения вала вибратора (при использовании вибраторов с мотором постоянного тока);

приложением к вибратору дополнительной статической безынерционной нагрузки - скорость виброзондирования при этом увеличивается;

увеличением веса установки путем закрепления на площадке дополнительных грузов;

применением конусов с различными площадями основания и углом раскрытия: увеличение размеров конуса уменьшает скорость виброзондирования; уменьшение угла раскрытия увеличивает скорость виброзондирования.

3.10. В журнале виброзондирования записывают: местоположение точек зондирования; вес установки и штанг; частоту оборотов; значение возмущающей силы вибратора и безынерционной статической нагрузки; размеры конуса - площадь основания и угол раскрытия; время погружения конуса на каждые 10-20 см. Форма журнала приведена в прил. 1.

4. ОЦЕНКА ФИЗИКО-МЕХАНИЧЕСКИХ СВОЙСТВ ГРУНТОВ ПО ПОКАЗАТЕЛЯМ ВИБРОЗОНДИРОВАНИЯ

Расчет показателей виброзондирования

4.1. По результатам виброзондирования испытаний строят графики в координатах (Н - ln Σ t), где H - глубина погружения, ln Σ t - натуральный логарифм суммарного времени Σ t, необходимого для погружения конуса на глубину H. По горизонтальной оси графика откладывают логарифмы суммарного времени, а по вертикальной оси (направленной вниз) - глубину погружения. Графики виброзондирования сопоставляют с колонками инженерно-геологических скважин, чтобы определить точность выделения слоев. Масштаб графиков произвольный (прил. 2).

Графики используют для расчета показателей виброзондирования. В этом случае рекомендуется следующий масштаб графиков: по оси ln Σ t в 1 см - 0,5 ln Σ t, по оси Н в 1 см - 0,5 м. Значения логарифмов берутся из таблиц или определяют микрокалькулятором с точностью до второго знака после запятой, последняя цифра округляется до пяти или нуля.

График виброзондирования представляет собой ломаную прямую, точки перегибов которой соответствуют границам слоев исследуемой грунтовой толщи. График разделяют на прямолинейные участки, соответствующие отдельным слоям; на каждом участке должно быть не менее трех точек. Выделенные слои отчеркивают в журнале виброзондирования (прил. 3).

4.2. В пределах одного слоя зависимости ln Σ t = f (H) аппроксимируется линейным уравнением ln ti = ln t0i + ai Hi, где ln ti - натуральный логарифм значения времени, необходимого для погружения конуса от кровли слоя до глубины Hi, t0i, ai - коэффициенты уравнения, зависящие от свойств грунта и технических характеристик применяемого слоя; Hi - глубина погружения конуса от кровли слоя.

Для каждого выделенного слоя определяют значения Hi, ti, ln ti, которые записывают в гр. 5-7 журнала виброзондирования. Для первого слоя значения Hi, ti, ln ti переписывают из гр. 2-4. Для второго и последующих слоев Hi определяют вычитанием из глубины Н соответствующей этой точке на общем графике, мощности вышележащих слоев, а значения ti - вычитанием из суммарного времени Σ t времени, затрачиваемого на прохождение конуса вышележащих слоев. Для каждого значения ti определяют его натуральный логарифм согласно п. 4.1. Пример выделения слоев и определения значений Hi, ti, ln ti приведен в прил. 3.

4.3. Для каждого слоя рассчитывают значения скорости виброзондирования Vi, Vср и коэффициенты a и t0, a также их статические характеристики (среднее квадратичное отклонение s и коэффициент вариации V). Частные значения скорости виброзондирования Vi, см/с, определяют по формуле

Vi = D Н/D t,

где D Н - интервал погружения, равный (Hi - Hi - 1), см; D t - время, затрачиваемое на прохождение интервала D Н, с.

Среднее значение скорости виброзондирования Vср находим по формуле

,

где Vi - частные значения скорости виброзондирования; п - количество определений Vi в слое.

Средние значения a и ln t0 для каждого слоя определяют по формулам:

 1/м;

,                                    (6)

где ln ti и Hi - частные значения соответственно логарифма времени ti и глубины погружения Hi в слое;

Среднее квадратическое отклонение s значений Vср, a, ln t0 определяют по формулам:

где ; D - то же значение, что и в формуле (6).

Потенциируя значения ln t0 и s ln t0 определяем значения t0 и s t0.

Коэффициент вариации V для всех показателей виброзондирования определяют по формуле

где Ā - среднее значение показателя; s - среднее квадратичное отклонение показателя.

4.4. Полученные, согласно п. 4.4, значения показателей виброзондирования используют для оценки пространственной изменчивости грунтов. При этом учитывают, что ln t0 функционально связан со сцеплением грунтов и его среднее квадратичное отклонение и коэффициент вариации характеризуют изменчивость сцепления грунта, коэффициент t0 - сжимаемость грунта, коэффициент a - угол внутреннего трения и плотность грунта. Величина 1/Vср коррелируется с такими показателями статического и динамического зондирования, как сопротивление грунта внедрению конуса.

Определение сопротивления грунта внедрению конуса

4.5. Работа А, затрачиваемая на внедрение конуса, есть сумма работ упругих сил сопротивления A1 и сил трения А2; причем работу упругих сил сопротивления грунта при внедрении конуса на глубину Н можно определить по формуле (5).

Если ln t0 имеет отрицательное значение, то работу A1 определяем по формуле

А1 = А H0/H,                                                                 (7)

где H0 = |ln t0| /a (|ln t0| - модуль логарифма t0); a - коэффициент, определяемый по результатам зондирования.

Зная величину работы упругих сил сопротивления, можно вычислить силу сопротивления грунта конусу при виброзондировании:

Рвс.к = А1/Н.                                                                 (8)

4.6. Общая работа А, затрачиваемая на погружение конуса до глубины Н, при виброзондировании равна сумме работы, произведенной вибратором, и работы силы тяжести

A = Nt + QH,                                                               (9)

где N - мощность вибратора; t - время работы вибратора; Q - вес установки (колонна штанг с закрепленным на ней вибратором); Н - глубина погружения конуса.

Мощность вибратора N определяется по формуле

N = 2М ω,

где М - момент эксцентриков относительно оси вращения; ω - угловая скорость, которую можно при известном числе оборотов вала вибратора n определить как 2pn.

4.7. С учетом (5) и (9) можно определить работу сил сопротивления грунта конусу А1

А1 = (Nt + QH) ln t0/ln t + Nt0.                                         (10)

Второй член уравнения характеризует работу сил грунта до момента t0 когда остаточное смещение конуса отсутствует. Значение силы сопротивления грунта конусу Рвс.к (среднее по слою)

Рвс.к = [Nt0 + (Nt + QH) ln t0]/2HFкln t,                                    (11)

где Fк - площадь основания конуса.

При отрицательном значении ln t0 формула (11) с учетом (7) преобразуется следующим образом:

Рвс.к = [Nt0 + (Nt + QH) H0]/2H2Fк.                                        (12)

4.8. При виброзондировании водонасыщенных грунтов сопротивление грунта должно быть увеличенным на величину коэффициента а

a = 1 + 0,2 (Vв - 2),                                                   (13)

где Vв - средняя скорость виброзондирования по слою. Коэффициент а применяется при Vв > 2 см/с. Если Vв £ 2, то а принимается равным 1. Коэффициент 0,2 имеет размерность с/см.

4.9. Сопротивление грунта конусу Рвс.к численно равно аналогичному показателю, определяемому по результатам статического зондирования. Эго обстоятельство позволяет оценивать свойства грунтов (плотность, прочность, сжимаемость) по результатам виброзондирования согласно Указаниям по зондированию грунтов для строительства (СН 448-72) и СНиП 2.02.01 - 83 «Основания зданий и сооружений».

Оценка сжимаемости грунтов

4.10. Для определения модуля деформации Ешт рекомендуется использовать следующее соотношение, полученное путем сопоставления результатов виброзондирования и полевых испытаний грунтов статическими нагрузками:

Eшт = k F t0 a n, МПа,                                                 (14)

где k - коэффициент, равный 1,1 ´ 10-8 для торфяных грунтов и 1,1 ´ 10-7 для других грунтов, 1/м; F - возмущающая сила вибратора, Н; n - число оборотов вала вибратора, об/мин; t0, a - коэффициенты, определяемые по графикам виброзондирования, имеющие размерности соответственно с и 1/м.

4.11. Коэффициент k характеризует условия проведения опытов, а также неучитываемые методикой расчета факторы: жесткость бурильного стержня, шероховатость поверхности конуса и т.д.

4.12. Формула (14) получена по результатам опытов, проведенных конусом с углом раскрытия 60° и площадью основания 10 см2. При изменении площади основания конуса коэффициент t0 будет иметь другие значения. С учетом сказанного при проведении виброзондирования нестандартным конусом (с площадью основания более или менее 10 см2) необходимо провести дополнительные испытания конусом с площадью основания 10 см2 и внести поправку коэффициента k в формулу (14).

ki = k t0,i/t0,10,

где t0,i, t0,10 - эмпирические коэффициенты, получаемые при виброзондировании с площадью основания Si и S10 - 10 см2. Если проведение таких сопоставительных испытаний по какой-либо причине невозможно, то рекомендуется определять поправку коэффициента k по следующему соотношению:

ki = k Si/S10.

Определение угла внутреннего трения

4.13. Коэффициент a характеризует силы трения, возникающие при сдвиговых деформациях грунта, за счет которых и возможно внедрение конуса. Известно, что величину усилий, необходимых для возникновения таких деформаций, определяют глубиной испытаний, плотностью грунта и его прочностными свойствами, в частности углом внутреннего трения. В процессе сдвига происходит диссипация энергии, в результате чего скорости сдвиговых деформаций и внедрения конуса будут уменьшаться. Так как при виброзондировании коэффициент a характеризует величину рассеивания энергии, то значение его будет зависеть от плотности и величины угла внутреннего трения грунта.

4.14. Определение угла внутреннего трения (при известной плотности gоб) производят по формуле

tg φ = b (a - 1)/gоб,                                                   (15).

где a - коэффициент, определяемый по графику виброзондирования, 1/м (прил. 3); gоб - плотность грунта, т/м; b - коэффициент пропорциональности, равный 1, т/м2.

4.15. Если плотность грунта неизвестна или a ³ 3, то оценку угла внутреннего трения проводят согласно Указаниям по зондированию грунтов для строительства исходя из условия, что сопротивление грунта конусу при виброзондировании, определяемое по формулам (11)-(12), примерно равно сопротивлению грунта конусу при статическом зондировании. Пример оценки физико-механических свойств грунтов по показателям виброзондирования приведен в прил. 4.

5. УСТАНОВЛЕНИЕ КОРРЕЛЯЦИОННОЙ ЗАВИСИМОСТИ МЕЖДУ ПОКАЗАТЕЛЯМИ ВИБРОЗОНДИРОВАНИЯ И ФИЗИКО-МЕХАНИЧЕСКИХ СВОЙСТВ ГРУНТОВ

5.1. Методика виброзондировочных испытаний, изложенная в разд. 3,4, позволяет достаточно быстро получить данные, на основании которых можно расчленить разрез грунтовой толщи на отдельные слои и ориентировочно оценить сжимаемость, прочность и плотность грунтов. Точность этих данных должна соответствовать точности оценки физико-механических свойств грунтов по результатам статического зондирования.

Формулы (11)-(15) получены по результатам испытаний торфяных, песчаных и супесчано-суглинистых грунтов и числовые коэффициенты в этих формулах являются обобщенными для всех исследованных грунтов. Поэтому при исследовании и оценке физико-механических свойств какой-либо конкретной разновидности грунтов эти коэффициенты требуют уточнения путем сопоставления их с результатами испытаний грунтов другими полевыми и лабораторными методами.

5.2. С целью максимального использования преимуществ виброзондирования (высокая производительность, транспортабельность и т.д.) и повышения информативности результатов испытаний наиболее целесообразно провопить исследования грунтов методом «ключевых участков». Суть этого метода заключается в том, что на исследуемой территории выбирают участок с характерным для данной территории разрезом грунтовой толщи; затем проводят комплексные исследования, включающие бурение скважин, отбор образцов, полевые, лабораторные и виброзондировочные испытания грунтов. В результате этих исследований устанавливают корреляционные зависимости между показателями виброзондирования и физико-механических свойств грунтов. Полученные зависимости используют при интерпретации результатов виброзондировочных испытаний, проведенных на всей исследуемой территории.

5.3. «Ключевой участок» выбирают на основании имеющейся предварительной геологической и геоморфологической информации или в процессе рекогносцировочных исследований. Выбор участка можно проводить на основе результатов виброзондирования. На исследуемой территории закладывается сеть разведочных виброзондировочных точек; количество точек и расстояние между ними определяют размерами территории и ее природными условиями.

По результатам виброзондирования строят виброзондировочные разрезы. Желательно провести бурение 2-3 скважин с целью определения предварительного инженерно-геологического разреза и сопоставления его с результатами виброзондирования. По виброзондировочным разрезам определяют в первом приближении сложность инженерно-геологических условий исследуемой территории; по формулам (11)-(15) ориентировочно оценивают плотность, прочность и изменчивость физико-механических свойств грунтов и определяют «ключевой участок». Если по данным виброзондирования и предварительной геологической информации исследуемую территорию разделяют на несколько типов, то для каждого типа выбирают свой «ключевой участок».

5.4. На участке прежде всего проводят бурение инженерно-геологических скважин с отбором образцов и монолитов для лабораторных исследований грунтов. Рядом с каждой скважиной закладывают три-четыре точки виброзондирования.

Результаты бурения и виброзондирования сопоставляют с целью уточнения разреза, определения точности расчленения разреза по показателям виброзондирования, окончательной оценки неоднородности грунтов в пределах выделенных слоев. Определяют также вид и место проведения полевых испытаний грунтов.

5.5. По окончании полевых и лабораторных работ результаты исследований представляют в виде совмещенных разрезов, на которых показаны данные инженерно-геологического бурения и вибрационного зондирования. Для каждого выделенного слоя приводят значения показателей физико-механических свойств грунтов, определенных комплексом полевых и лабораторных методов, и показателей виброзондирования в форме обобщенной таблицы с указанием для каждого слоя средних значений показателей , их среднего квадратичного отклонения s и коэффициента вариации V, определенных по ГОСТ 20522-75.

По результатам полевых и лабораторных исследований определяют корреляционные зависимости между показателями виброзондирования и физико-механических свойств грунтов.

5.6. Показатели физико-механических свойств можно сопоставлять с различными показателями виброзондирования: скоростью виброзондирования Vв, коэффициентами a и t0, сопротивлением грунта вибрационному внедрению конуса Рвс.к. Следует учитывать, что скорость виброзондирования является интегральным показателем физико-механических свойств грунтов. Этот показатель виброзондирования коррелируется практически со всеми характеристиками грунтов. Однако зависимость между скоростью виброзондирования и показателями свойств грунтов характеризуется нелинейностью и большим разбросом экспериментальных точек, что объясняется комплексным влиянием различных свойств грунтов на скорость виброзондирования. Указанные обстоятельства требуют для установления надежных корреляционных зависимостей между скоростью виброзондирования и показателями физико-механических свойств грунтов большого количества сопоставительных испытаний.

Наиболее целесообразно показатели физико-механических свойств грунтов сопоставлять с такими показателями виброзондирования, как коэффициенты a, t0, сила сопротивления грунта конусу Рвс.к. Согласно положениям разд. 1, коэффициент t0 коррелируется с показателями сжимаемости грунтов, коэффициент a - с углом внутреннего трения и плотностью грунтов, а сила сопротивления грунта конусу при виброзондировании Рвс.к - с сопротивлением грунта конусу, определяемым по результатам статического зондирования. Зависимости между этими показателями виброзондирования и физико-механических свойств грунтов линейны и в силу тесной корреляционной связи требует меньшего (по сравнению со скоростью виброзондирования) количества сопоставительных испытаний.

5.7. При определении уравнения регрессии частные значения показателей виброзондирования и физико-механических свойств для всей толщи наносят на график сопоставления. При этом для каждого слоя исследованной грунтовой толщи используют разные обозначения. В первую очередь полученные на графике экспериментальные точки анализируют в целях установления корреляционной зависимости между показателями виброзондирования и физико-механических свойств грунтов для каждого слоя в отдельности. Если такие связи не удается установить (мало данных, большой разброс и т.д.), тогда для определения уравнения регрессии используют весь массив экспериментальных точек.

5.8. Для определения уравнения регрессии диапазон изменений показателей физико-механических свойств разбивают на интервалы осреднения. Интервалы следует размещать равномерно по всему диапазону изменения показателя. В каждом интервале должно быть не менее 4-5 экспериментальных точек; количество интервалов - не менее трех (желательно 4-5). В каждом интервале частные значения показателей виброзондирования и физико-механических свойств усредняют и по средним точкам рассчитывают уравнение регрессии.

5.9. В результате проведенных работ для «ключевых участков» должна быть получена серия уравнений регрессии для различных показателей виброзондирования и физико-механических свойств грунтов. Рекомендуется результаты сопоставления представлять в виде таблицы, «входом» в которую будут значения показателей виброзондирования: Vв, a, t0, Рвс.к и др., а «выходом» - значения показателей физико-механических свойств грунтов: ρ, ρd, E, φ, C и т.д.

В таблице необходимо указать пределы колебаний показателей физико-механических свойств грунтов.

5.10. Полученные на «ключевых участках» корреляционные зависимости используются для инженерно-геологической оценки грунтов на всей исследуемой территории. Для этого на исследуемой территории закладывают сеть виброзондировочных скважин. По показателям виброзондирования с помощью таблиц и уравнений регрессии, полученных на «ключевых участках», оценивают физико-механические свойства грунтов. Количество виброзондировочных скважин определяют сложностью инженерно-геологических условий, изменчивостью грунтов и необходимым количеством определений для достижения заданной точности.

Возможность использования корреляционных зависимостей на исследуемой территории контролируется бурением небольшого количества инженерно-геологических скважин, по которым проверяют разрез грунтовой толщи и отбирают образцы для контрольных испытаний.

ПРИЛОЖЕНИЕ 1

(Первая страница журнала)

Организация _____________________________________________________________

Экспедиция ______________________________________________________________

Партия (отряд) ____________________________________________________________

ЖУРНАЛ
ВИБРАЦИОННОГО ЗОНДИРОВАНИЯ ГРУНТОВ

Объект ___________________________________________________________________

Участок __________________________________________________________________

Дата выполнения работ:                                                          Точки зондирования №

начало «    » ____________ 198 ___ г.

окончание «     » _________ 198 ___ г.

Начальник экспедиции ______________________________________________________

(ф., и., о.)

Начальник партии (отряда) ___________________________________________________

(ф., и., о.)

Установка для вибрационного зондирования ____________________________________

(тип)

Вибратор _____________________

(тип)

Вес вибратора __________________

Максимальная возмущающая сила _________________

Моменты эксцентриков ________________

Частота вращения вала _________________

Потребляемая мощность ________________

Штанги _____________________________

(тип, диаметр, вес)

Рабочий наконечник ______________________________________

(угол раскрытия, площадь основания)

Электропитание вибратора ___________________________________________________

(постоянный, переменный, трехфазный, однофазный)

№ точки ______ Местоположение ______ Абсолютная отметка _____ Координаты ____

№ слоя

Н

Σ t, с

ln Σt

Hi ,м

ti, с

ln ti

Vi, см/с

Vв; sVв; см/с

VV

a; sa ;

Va

ln t0; sln t0;

t0; st0, c

Примечание

1

2

3

4

5

6

7

8

9

10

11

12

13

В журнале пронумеровано ______ стр. Заполнено ______ стр. «   » _________ 198 __ г.

Исполнитель _______________________________________________________________

(должность, ф., и., о.)

Журнал проверен «      »_______ 198__ г. ________________________________________

(должность, ф., и., о.)

Замечания __________________________________________________________________

ПРИЛОЖЕНИЕ 2

ОБРАЗЕЦ ГРАФИЧЕСКОГО ОФОРМЛЕНИЯ РЕЗУЛЬТАТОВ ВИБРАЦИОННОГО ЗОНДИРОВАНИЯ

Образец графического оформления результатов вибрационного зондирования

ПРИЛОЖЕНИЕ 3

ПРИМЕР РАСЧЕТНОГО И ГРАФИЧЕСКОГО ОПРЕДЕЛЕНИЯ ПОКАЗАТЕЛЕЙ ВИБРОЗОНДИРОВАНИЯ

Общий (а) и послойные (б) графики изменения логарифма времени погружения конуса с глубиной

Пример расчета показателей виброзондирования

№ слоя

Н

Σ t, с

ln Σt

Hi ,м

ti, с

ln ti

Vi, см/с

Vв; sVв; см/с

VV

a; sa, 1/м

Va

ln t0; sln t0 =

t0; st0, c

Примечание

1

2

3

4

5

6

7

8

9

10

11

12

13

1

0,2

2

0,69

0,2

9

0,69

0,1

0,13; 0,056; 0,43

3,18; 0,6; 0,19

-0,02; 0,26

1,02; 1,30; 1,28

 

0,4

3

1,1

0,4

3

1,1

0,2

0,6

7

1,95

0,6

7

1,95

0,1

2

0,8

10

2,3

0,2

3

1,1

0,07

0,04; 0,025; 0,63

3,15; 0,92; 0,29

0,6; 0,04; 0,67

1,82; 1,49; 0,82

 

1

15

2,71

0,4

8

2,08

0,04

1,2

26

3,26

0,6

19

2,39

0,02

3

1,4

31

3,44

0,2

5

1,61

0,04

0,02; 0,016; 0,8

4,98; 1,59; 0,32

0,79; 0,69; 0,87

2,2; 1,99; 0,91

 

1,6

49

3,89

0,4

23

3,14

0,01

1,8

62

4,13

0,6

36

3,58

0,02

4

2

78

4,36

0,2

16

2,77

0,01

0,01; 0,01; 1

2,85; 0,11; 0,04

2,19; 0,05; 0,02

8,94; 1,05; 0,12

 

2,2

89

4,49

0,4

27

3,3

0,02

2,4

112

4,72

0,6

50

3,91

0,01

5

2,6

114

4,74

0,2

2

0,69

0,01

0,06; 0,041; 0,68

5,18; 2,12; 0,41

-0,34; 0,95

0,71; 2,51; 3,54

 

2,8

118

4,77

0,4

6

1,79

0,05

3

127

4,84

0,6

15

2,71

0,02

6

3,2

152

5,02

0,2

25

3,22

0,01

0,01; 0; 0

3,2; 0,39; 0,12

2,69; 0,17; 0,06

14,73; 1,19; 0,08

 

3,4

191

5,25

0,4

64

4,16

0,01

3,6

220

5,39

0,6

93

4,53

0,01

ПРИЛОЖЕНИЕ 4

ПРИМЕР ОЦЕНКИ ФИЗИКО-МЕХАНИЧЕСКИХ СВОЙСТВ ГРУНТОВ ПО ПОКАЗАТЕЛЯМ ВИБРОЗОНДИРОВАНИЯ

Характеристика грунтов

Площадка сложена намывными песками мелкими, влажными, рыхлыми, с глубины 2,4 м - водонасыщены.

Характеристика оборудования

Вибратор ИВ-19. Возмущающая сила F - 2000 Н. Мощность N - 120 Вт, число оборотов п - 2800 об/мин. Масса установки Q - 200 Н. Штанги диаметром 22 м, длина одной штанги - 1 м, масса - 1 Н. Конус с площадью основания fк·10-4 м2 и углом при вершине 60°.

Зондирование проводилось рейсами по 2 м. Время погружения конуса фиксировалось каждые 20 см.

Результаты испытаний и значения показателей зондирования приведены в прил. 3.

Определение сопротивления грунта внедрению конуса

При ln t0 > 0 и t0 > 1

Рвс.к = [Nt0 + (Nt + QH) ln t0]/2HFкln t;

при ln t0 < 0 и t0 < 1

Рвс.к = [Nt0 + (Nt + QH) H0]/2H2Fк;

при ln t0 = 0 и t0 = 1

Рвс.к = [N + Nt + QH]/2HFкt.

В водонасыщенных грунтах и при средней по слою скорости виброзондирования - 0,02 м/с значение Рвс.к умножают на коэффициент

а = 1 + 20 (vB - 0,02).

Определение модуля деформации грунтов Е

Е = k F t0 a n

Слой 1

N = 120 Вт; t0 = l с; t = 7 с; H = 0,6 м; Q = 200 + 2 × 11 = 222 Н; a = 3,18;

Слой 2

N = 120 Вт; t0 = 1,82 с; t = 19 с; Q = 222 Н; H = 0,6 м; ln t0 = 0,6; ln t = 2,39; a = 3,15;

Слой 3

N = 120 Вт; t0 = 2,2 с; t = 36 с; H = 0,6 м; Q = 222 Н; ln t0 = 0,79; ln t = 3,58; a = 4,98;

Слой 4

N = 120 Вт; t0 = 8,9 с; t = 50 с; H = 0,6 м; Q = 200 + 4 × 11 = 244 Н; ln t0 = 2,19; ln t = 3,91; a = 2,85;

Слой 5

N = 120 Вт; t0 = 0,71 с; t = 15 с; H0 = 0,06 м; H = 0,6 м; Q = 244 Н;

Слой водонасыщенный

Vср = 0,06 м/с; а = 1,8; a = 5,18.

Слой 6

N = 120 Вт; t0 = 14,7 с; t = 93 с; Q = 244 Н; H = 0,6 м; ln t0 = 2,69; ln t = 4,53; a = 3,2;

Сводная таблица показателей физико-механических свойств грунтов

№ слоя

Глубина залегания Н, м

Оценка свойств по результатам виброзондирования

Оценка свойств песков по СН 448-72

сопротивление грунта конусу Рвс.к, МПа

Е, МПа

Е, МПа

j, град

плотность сложения

1

0-0,6

0,1

2

3

28

Рыхлое

9

0,6-1,2

0,6

3,5

1,8

28

«

3

1,2-1,8

0,9

6,7

2,7

28

«

4

1,8-2,4

3,1

15,6

9,3

31

«

5

2,4-3

0,3

2,2

1

28

«

6

3-3,6

5,9

28,9

18

33

Средней плотности

СОДЕРЖАНИЕ

1. Общие положения. 1

2. Оборудование для виброзондировочных испытаний. 3

3. Проведение виброзондировочных испытаний. 4

4. Оценка физико-механических свойств грунтов по показателям виброзондирования. 5

5. Установление корреляционной зависимости между показателями виброзондирования и физико-механических свойств грунтов. 8

Приложение 1. Журнал № вибрационного зондирования грунтов. 10

Приложение 2. Образец графического оформления результатов вибрационного зондирования. 11

Приложение 3. Пример расчетного и графического определения показателей виброзондирования. 11

Приложение 4. Пример оценки физико-механических свойств грунтов по показателям виброзондирования. 12

 




Яндекс цитирования



   Copyright © 2007-2026,  www.tehlit.ru.

[ ѓосты, стандарты, нормативы, инструкции, правила, строительные нормы ]