//
ТехЛит.ру
- крупнейшая бесплатная электронная интернет библиотека для "технически умных" людей.
WWW.TEHLIT.RU - ТЕХНИЧЕСКАЯ ЛИТЕРАТУРА

:: Алготрейдинг::


АЛГОТРЕЙДИНГ
шаг за шагом
с нуля по урокам!

Торговые роботы на PYTHON, BackTrader,
Pandas, Pine Script для TradingView. Связка с брокерами, телеграм и легкими приложениями.


ГОСТ 18597-73

МЕЖГОСУДАРСТВЕННЫЙ СТАНДАРТ

ТОПЛИВА ДЛЯ ДВИГАТЕЛЕЙ

МЕТОД ОПРЕДЕЛЕНИЯ КОРРОЗИОННОЙ АКТИВНОСТИ
В УСЛОВИЯХ КОНДЕНСАЦИИ ВОДЫ

ИПК ИЗДАТЕЛЬСТВО СТАНДАРТОВ

Москва

МЕЖГОСУДАРСТВЕННЫЙ СТАНДАРТ

ТОПЛИВА ДЛЯ ДВИГАТЕЛЕЙ

Метод определения коррозионной активности в условиях конденсации воды

Motor fuel. Corrosion testing under water condensation conditions

ГОСТ
18597-73*

Постановлением Государственного комитета стандартов Совета Министров СССР от 5 апреля 1973 г. № 835 дата введения установлена

01.01.75

Ограничение срока действия снято Постановлением Госстандарта от 28.11.91 № 1834

*Издание (июнь 2000 г.) с изменениями № 1, 2, 3, утвержденными в декабре 1979 г, январе 1984 г,сентябре 1986 г.(ИУС 1-80, 5-84, 11-86)

Настоящий стандарт распространяется на бензины для авиационных и автомобильных двигателей, топлива для дизелей и реактивных двигателей и устанавливает метод определения коррозионной активности топлив по потере массы металлической пластинки, находящейся в топливе в течение 4 ч при насыщении топлив водой и конденсации ее на пластинке.

Потерю массы стальной пластинки определяют в авиационных и автомобильных бензинах, топливах для дизелей и реактивных двигателей; потерю массы бронзовой пластинки - в топливах для реактивных двигателей.

1. АППАРАТУРА, РЕАКТИВЫ, МАТЕРИАЛЫ

1.1. Для определения коррозионной активности топлив в условиях конденсации воды применяют:

аппарат АКАТ-1 или прибор из термостойкого стекла (см. чертеж), представляющий собой двухстенную колбу, во внутренней части которой находится полая стеклянная площадка 6 для размещения металлической пластинки 5. Площадка охлаждается циркулирующей водой. Колба закрывается пробкой 1, имеющей гидравлический затвор 2 для поддержания нормального давления при испытании. Внутри колбы имеется желобок 4, в него заливают дистиллированную воду, которая испаряясь создает максимальную влажность воздуха внутри колбы и насыщает топливо водой. По межстенному пространству 3 прокачивается жидкость для подогрева топлива (вода, масло или глицерин в зависимости от условий опыта). Вместимость колбы 150 см3, соотношение объема топлива к объему воздуха в колбе 2:3 (60 см3 топлива и 90 см3 воздуха).

При испытании бензинов вместо пробки с гидравлическим затвором допускается применять водяной холодильник (см. приложение);

ультратермостаты, оборудованные контактными и ртутными термометрами;

пластинки из бронзы ВБ 23 НЦ и стали марки Ст3 по ГОСТ 380-94 диаметром 20 мм и высотой 4 мм. В центре пластинки имеется отверстие номинальным диаметром резьбы 3 мм по ГОСТ 24705-81;

цилиндрический металлический шток длиной 200 мм и диаметром 3 мм, на конце штока имеется резьба номинальным диаметром 3 мм по ГОСТ 24705-81;

штангенциркуль по ГОСТ 166-89;

гребенки стеклянные с четырьмя отростками на выходе;

Аппарат для определения коррозионной активности топлив в условиях конденсации воды

трубка резиновая внутренним диаметром 6 - 8 мм;

цилиндры 1-100 по ГОСТ 1770-74;

воронки В-56, В-75 по ГОСТ 25336-82;

секундомер любого типа;

смесь хромовая;

спирт этиловый ректификованный технический по ГОСТ 18300-72;

бензол по ГОСТ 8448-78, ГОСТ 5955-75 или ГОСТ 9572-93;

смесь спирто-бензольная 1:1;

кислота соляная по ГОСТ 3118-77, х. ч. или ч. д. а., 18 и 20 %-ные растворы;

ингибитор БА-6, БА-12 и ПКУ-М;

масло вазелиновое медицинское по ГОСТ 3164-78 или глицерин по ГОСТ 6823-77 или другой высококипящий жидкий теплоноситель, обеспечивающий нагрев до 120 °С;

бумага фильтровальная по ГОСТ 12026-76;

шкурка шлифовальная марки 2СП 2 15А 12МА по ГОСТ 6456-82;

вода дистиллированная по ГОСТ 6709-72;

весы лабораторные 2-го класса точности с погрешностью взвешивания не более 0,0002 г.

(Измененная редакция, Изм. № 1, 2, 3).

2. ПОДГОТОВКА К ИСПЫТАНИЮ

2.1. Определение постоянной травления пластинки

2.1.1. Шток ввинчивают в пластинку и с его помощью шлифуют пластинку на наждачной бумаге. Отшлифованную пластинку промывают дистиллированной водой, затем - спирто-бензольной смесью, высушивают между листами фильтровальной бумаги и взвешивают с погрешностью не более 0,0002 г.

(Измененная редакция, Изм. № 1).

2.1.2. Бронзовые пластинки опускают на 5 мин в 18 %-ный раствор соляной кислоты, стальные - в 20 %-ный раствор соляной кислоты с 0,8 - 1,0 % ингибитора.

2.1.3. Пластинки вынимают из кислоты, промывают дистиллированной водой, спиртобензольной смесью, высушивают между листами фильтровальной бумаги и взвешивают с погрешностью не более 0,0002 г.

(Измененная редакция, Изм. № 1).

2.1.4. После травления рассчитывают потери массы пластинок.

Определение постоянной травления пластинки повторяют до тех пор, пока разность между потерями массы пластинки в результате двух последующих операций травления не будет различаться между собой более чем на 0,0004 г. За постоянную травления принимают среднее арифметическое значение потери массы двух последовательных определений.

(Измененная редакция, Изм. № 2).

2.1.5. Постоянную травления определяют для вновь взятой пластинки и через каждые 10 - 15 определений.

2.2. Подготовка аппарата

2.2.1. Перед испытанием аппарат промывают спиртобензольной смесью. Новые аппараты и аппараты после 10 - 15 опытов промывают хромовой смесью, водой, дистиллированной водой, спиртобензольной смесью и высушивают в сушильном шкафу.

2.2., 2.2.1. (Измененная редакция, Изм. № 2).

2.2.2. Один термостат заполняют водой, второй - вазелиновым маслом, глицерином или другим теплоносителем.

2.2.3. Аппараты, подготовленные по п. 2.2.1, укрепляют на штативах и соединяют резиновыми трубками и гребенками с термостатами так, чтобы отводные трубки площадки для охлаждения соединялись с термостатом, в котором залита вода, а отводные трубки стенки колбы с термостатом, в котором залит теплоноситель.

(Измененная редакция, Изм. № 1, 2).

2.2.4. Термостаты включают в сеть и нагревают в них жидкости до необходимой температуры испытания в соответствии с табл. 1.

Таблица 1

Наименование топлива

Температура термостата,°С, заполненного

водой

маслом, глицерином или другим теплоносителем

Бензин

30 ± 1,0

60 ± 0,5

Реактивное топливо

30 ± 1,0

98 ± 0,5

Дизельное топливо

50 ± 1,0

120 ± 0,5

2.3. Подготовка образца топлива

2.3.1. Испытуемое топливо фильтруют через бумажный фильтр при комнатной температуре.

3. ПРОВЕДЕНИЕ ИСПЫТАНИЯ

3.1. В нагретый прибор на стеклянную площадку помещают предварительно взвешенную пластинку с известной постоянной травления. Через воронку заливают от 60 до 70 см3 испытуемого топлива, подготовленного по п. 2.3 (пластинка должна быть полностью покрыта топливом), и в желобок заливают 5 см3 дистиллированной воды.

(Измененная редакция, Изм. № 3).

3.2. Аппарат закрывают пробкой, в которую заливают дистиллированную воду, добавляя ее по мере испарения, и проводят испытание в течение 4 ч. Момент закрытия аппарата пробкой принимают за начало испытания.

(Измененная редакция, Изм. № 2).

3.3. По истечении 4 ч обогрев отключают, пластинки вынимают из аппарата, охлаждают до комнатной температуры. После охлаждения пластинки промывают спиртобензольной смесью, протравливают, как указано в пп. 2.1.2 - 2.1.3, и взвешивают с погрешностью не более 0,0002 г.

(Измененная редакция, Изм. № 1, 2).

4. ОБРАБОТКА РЕЗУЛЬТАТОВ

4.1. Коррозионную активность топлив в условиях конденсации воды (К) в г/м2 вычисляют по формуле

К = ,

где m - масса пластинки до испытания, г;

m1 - масса пластинки после испытания, г;

h - постоянная травления, г;

S - площадь верхней и боковой поверхностей пластинки (одна из поверхностей - нижняя не учитывается, так как прилегает к поверхности площадки и в процессах коррозии не участвует), м2.

(Измененная редакция, Изм. № 2).

4.2. За результат испытания принимают среднее арифметическое результатов двух параллельных определений.

4.3. Сходимость метода

Два результата определений, полученные одним исполнителем в одной лаборатории, признаются достоверными (с 95 %-ной доверительной вероятностью), если расхождение между ними не превышает 1 г/м2.

(Измененная редакция, Изм. № 3).

ПРИЛОЖЕНИЕ

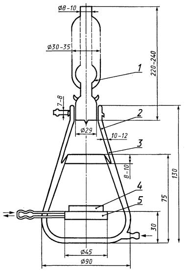
Аппарат для определения коррозионной активности бензинов

1 - водяной холодильник; 2 - межстенное пространство; 3 - желобок; 4 - металлическая пластинка; 5 - стеклянная площадка для размещения металлической пластинки

СОДЕРЖАНИЕ

1. АППАРАТУРА, РЕАКТИВЫ, МАТЕРИАЛЫ... 1

2. ПОДГОТОВКА К ИСПЫТАНИЮ... 2

3. ПРОВЕДЕНИЕ ИСПЫТАНИЯ.. 3

4. ОБРАБОТКА РЕЗУЛЬТАТОВ.. 3

ПРИЛОЖЕНИЕ.. 4

Аппарат для определения коррозионной активности бензинов. 4

 




Яндекс цитирования



   Copyright © 2007-2026,  www.tehlit.ru.

[ ѓосты, стандарты, нормативы, инструкции, правила, строительные нормы ]