//
ТехЛит.ру
- крупнейшая бесплатная электронная интернет библиотека для "технически умных" людей.
WWW.TEHLIT.RU - ТЕХНИЧЕСКАЯ ЛИТЕРАТУРА

:: Алготрейдинг::


АЛГОТРЕЙДИНГ
шаг за шагом
с нуля по урокам!

Торговые роботы на PYTHON, BackTrader,
Pandas, Pine Script для TradingView. Связка с брокерами, телеграм и легкими приложениями.


ГОСТ 22055-76

МЕЖГОСУДАРСТВЕННЫЙ СТАНДАРТ

БЕНЗИНЫ АВТОМОБИЛЬНЫЕ

МЕТОД ОЦЕНКИ СКЛОННОСТИ БЕНЗИНОВ К ОБРАЗОВАНИЮ
ПАРОВЫХ ПРОБОК

ИПК ИЗДАТЕЛЬСТВО СТАНДАРТОВ

Москва

МЕЖГОСУДАРСТВЕННЫЙ СТАНДАРТ

БЕНЗИНЫ АВТОМОБИЛЬНЫЕ

Метод оценки склонности бензинов к образованию паровых пробок

Motor gasolines. Method for evalution of gasoline ability to Vapour lock formation

ГОСТ
22055-76

Дата введения 01.07.77

Настоящий стандарт распространяется на автомобильные бензины и устанавливает метод оценки склонности бензинов к образованию паровых пробок в системе топливоподачи карбюраторных двигателей.

Сущность метода заключается в испытании бензинов на лабораторной установке с последующей оценкой склонности к образованию паровых пробок по величине фазового соотношения пар - жидкость при заданных температурах нагрева.

Метод предназначен для квалификационных испытаний и научно-исследовательских целей.

1. АППАРАТУРА, РЕАКТИВЫ И МАТЕРИАЛЫ

1.1. При проведении испытаний применяют:

ультратермостат, обеспечивающий нагрев с погрешностью не более 0,1 °С;

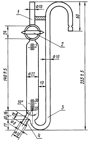
бюретку паровую градуированную, вместимостью 35 см3 с ценой деления шкалы 0,5 см3 (черт. 1);

склянку уравнительную вместимостью 250 - 300 см3;

сосуд стеклянный цилиндрический диаметром 160 мм и высотой 250 мм;

воронку стеклянную по ГОСТ 25336, типа 1а;

колбу коническую по ГОСТ 25336, вместимостью 10 см3;

шприц медицинский вместимостью 1 - 2 см3 с набором игл;

бюретку 6-2-5 по ГОСТ 29251;

сосуд Дьюара цилиндрический внутренним диаметром не менее 40 мм и глубиной 200 мм;

баню охлаждающую водо-ледяную или холодильник;

трубку с хлористым кальцием;

грушу резиновую № 3;

термометр ртутный электроконтактный по ГОСТ 9871, типа ТПК-4-П-200;

термометр ртутный контрольный по ГОСТ 28498;

термометр ртутный стеклянный по ГОСТ 28498, ТЛ-5, типа 2;

барометр-анероид метеорологический;

линейку измерительную с пределами шкалы 0 - 500 мм;

штативы лабораторные;

трубку резиновую наружным диаметром 14 мм и внутренним диаметром 10 мм;

трубку резиновую наружным диаметром 12 мм и внутренним диаметром 8 мм;

трубки стеклянные наружным диаметром 4 - 4,5 и 8 мм;

глицерин обезвоженный по ГОСТ 6259;

кальций хлористый;

ацетон по ГОСТ 2603;

воду дистиллированную по ГОСТ 6709;

Паровая бюретка

1 - верхний отвод; 2 - запорный краник с отверстием 2 мм; 3 - донный отвод; 4 - нижний боковой отвод

Черт. 1

коллодий медицинский и полиграфический;

цапонлак;

жидкость смазочная М-1.

(Измененная редакция, Изм. № 1).

2. ПОДГОТОВКА К ИСПЫТАНИЮ

2.1. Для проведения испытаний пробы автомобильных бензинов отбирают по ГОСТ 2517.

После отбора проб бутылки плотно закрывают корковыми пробками, которые заливают коллодием или цапонлаком и хранят в лабораторных условиях при температуре не выше 20 °С не более 45 сут.

2.2. Калибровку паровой бюретки и шприца проводят при помощи микробюретки.

2.3. Собирают лабораторную установку по схеме, указанной на черт. 2.

2.3.1. Устанавливают в ультратермостат электроконтактный и контрольный термометры и подсоединяют его резиновыми трубками к водопроводной сети и стоку в канализацию.

2.3.2. Нагнетающий и отсасывающий штуцеры ультратермостата соединяют резиновыми трубками с водяной баней. При этом резиновую трубку нагнетающего штуцера укладывают полукольцом на дне сосуда, а резиновую трубку отсасывающего штуцера опускают в водяную баню на 0,25 - 0,3 ее высоты.

2.3.3. Соединяют резиновыми трубками уравнительную склянку, паровую бюретку и влагопоглощающую трубку.

1 - ультратермостат; 2 - вход и выход воды; 3 - термометр контрольный по ГОСТ 28498; 4 - термометр электроконтактный; 5 - насос циркуляционный; 6 - трубки резиновые; 7 - баня стеклянная водяная; 8 - термометр по ГОСТ 28498; 9 - бюретка паровая; 10 - склянка уравнительная; 11 - трубка хлоркальциевая; 12 - штативы лабораторные

Черт. 2

2.4. Наполняют бачок ультратермостата дистиллированной водой или водой от водопроводной сети на 0,75 его объема.

2.5. Наполняют водяную баню водой на 20 мм ниже верхнего края.

2.6. Ультратермостат заземляют и подсоединяют к электрической сети. Включают циркуляционный насос и регулятором подачи и отсоса воды устанавливают режим сбалансированной циркуляции (количество подаваемой воды равно количеству отсасываемой), при котором уровень воды в водяной бане будет оставаться постоянным. После окончания регулировки выключают циркуляционный насос.

2.7. Опускают по штативу уравнительную склянку и вынимают из ее горловины резиновую пробку. При помощи стеклянной воронки заполняют склянку обезвоженным глицерином на 0,75 объема, плотно закрывают пробкой и проверяют надежность ее соединения с влагопоглощающей трубкой.

При испытании автомобильных бензинов, в состав которых входят добавки, растворяющие глицерин, в качестве затворной жидкости применяют смазочную жидкость М-1.

(Измененная редакция, Изм. № 1).

2.8. Открывают запорный краник паровой бюретки и, поднимая по штативу уравнительную склянку, заполняют ее глицерином. Появляющиеся при этом в донном отводе бюретки воздушные пузыри необходимо перегнать в паровую бюретку последовательным сжатием резиновой трубки по всей длине. Повышают столб глицерина в паровой бюретке и выдавливают из нее весь воздух через отверстие в запорном кранике; при заполнении отверстия глицерином краник закрывают и закрепляют резинкой. Уравнительную склянку закрепляют на штативе.

2.9. Бутылку с отобранной пробой бензина помещают в холодильник или охлаждающую водо-ледяную баню и охлаждают до температуры от 0 до 4 °С.

2.10. Соединяют шприц с иглой и досылают поршень до упора. Вводят кончик иглы в небольшую резиновую пробку, помещают шприц в сосуд Дьюара, обкладывают его льдом и охлаждают до температуры от 0 до 2 °С.

Примечание. При отсутствии сосуда Дьюара шприц можно охладить в обычном сосуде, покрыв его льдом.

2.11. Поднимают по штативу паровую бюретку, устанавливают ее над водяной баней и закрепляют.

2.12. Опускают в водяную баню термометр типа 2 и закрепляют его на штативе.

3. ПРОВЕДЕНИЕ ИСПЫТАНИЯ

3.1. Вынимают из охлаждающей бани (холодильника) бутылку с отобранной пробой бензина и хорошо перемешивают взбалтыванием.

3.2. Вынимают из сосуда Дьюара шприц, снимают с иглы резиновую пробку, открывают бутылку с отобранной пробой и частично заполняют шприц бензином. Поднимают иглу вверх и нажатием на поршень удаляют все пузырьки воздуха, после чего снова наполняют шприц бензином до отметки 1,5 см3.

3.3. Вводят пробу бензина в паровую бюретку следующим образом:

нажимают на поршень и доводят его до метки 1 см3;

не изменяя положения поршня, вводят иглу на всю длину в резиновую пробку нижнего бокового отвода паровой бюретки, досылают поршень до отказа и извлекают иглу из пробки.

Так как бензин легче глицерина, то вся введенная в бюретку проба бензина расположится в верхней части паровой бюретки над глицерином.

Примечание. Если фазовое соотношение пар-жидкость при самой высокой температуре нагрева ожидается больше 35, то объем пробы, вводимой в паровую бюретку, должен быть соответственно меньше 1 см3.

3.4. Опускают паровую бюретку в водяную баню так, чтобы вода покрыла запорный краник, и закрепляют ее на штативе.

3.5. Опускают уравнительную склянку так, чтобы уровень глицерина в ней был ниже уровня глицерина в паровой бюретке. При этом снижается давление, что способствует образованию паровой фазы.

3.6. Включают циркуляционный насос ультратермостата и проверяют стабильность режима сбалансированной циркуляции воды в водяной бане. При необходимости повторно регулируют подачу и отсос воды.

3.7. Фазовое соотношение пар-жидкость определяют для ряда фиксируемых значений температуры нагрева бензина. В диапазоне температур 15 - 30 °С объем паровой фазы отсчитывают через каждые 5 °С, а выше 30 °С - через каждые 1 - 2 °С. Такие интервалы фиксируемых температур обеспечивают достаточное количество данных для построения графика зависимости фазового соотношения от температуры.

Максимально допустимая температура нагрева бензина зависит от фракционного состава и ограничивается объемом образовавшейся паровой фазы, который не должен превышать 35 см3.

3.8. Объем паровой фазы при каждом фиксируемом значении температуры нагрева бензина определяют в соответствии с пп. 3.8.1 - 3.8.3.

3.8.1. Устанавливают указатель электроконтактного термометра на первое значение фиксируемой температуры и включают нагреватели ультратермостата. Скорость нагрева воды в водяной бане регулируют переключателем мощности нагревателей.

3.8.2. При установившейся температуре воды несколько раз осторожно встряхивают паровую бюретку, не вынимая ее из водяной бани, выдерживают 5 мин и устанавливают в паровой бюретке нормальное атмосферное давление 0,132 МПа (760 мм рт. ст.).

3.8.2.1. Если барометрическое давление (Рб) ниже нормального, то уравнительную склянку необходимо поднять так, чтобы уровень глицерина в ней был выше уровня глицерина в паровой бюретке на величину (760 - Рб) К (в миллиметрах), где К = 10,8 - отношение плотностей ртути и глицерина.

3.8.2.2. Если барометрическое давление (Р6) выше нормального, то уравнительную склянку необходимо опустить так, чтобы уровень глицерина в ней был ниже уровня глицерина в паровой бюретке на величину (Рб - 760) К (в миллиметрах).

Необходимую разность уровней глицерина в уравнительной склянке и паровой бюретке устанавливают при помощи измерительной линейки.

3.8.3. После выдержки в течение 2 мин проверяют разность уровней и, если она не изменилась, отсчитывают по шкале паровой бюретки объем паровой фазы в миллилитрах при данном значении температуры нагрева бензина. Если разность уровней изменилась, повторно доводят ее до нужной величины и после выдержки в течение 2 мин отсчитывают объем паровой фазы.

3.9. Устанавливают указатель электроконтактного термометра последовательно на каждое следующее фиксируемое значение температуры (см. п. 3.7) и определяют объем паровой фазы в соответствии с пп. 3.8.1 - 3.8.3.

3.10. Выключают нагреватели и циркуляционный насос ультратермостата и отсоединяют его от электрической сети.

3.11. Поднимают на штативе паровую бюретку и устанавливают ее над водяной баней так, чтобы был обеспечен доступ к запорному кранику.

3.12. Открывают запорный краник бюретки и выпускают пары бензина.

3.13. Поднимают на штативе уравнительную склянку и выталкивают столбом глицерина остаток жидкого бензина через открытый краник в трубку верхнего отвода паровой бюретки. При этом глицерин должен заполнить отверстие краника и нижнюю часть трубки на 5 - 10 мм.

3.14. Резиновой грушей со вставленной стеклянной трубкой тщательно отсасывают из трубки верхнего отвода паровой бюретки жидкий бензин, сливают его в коническую колбу и закрывают пробкой.

3.15. Открывают краник паровой бюретки и опускают на штативе уравнительную склянку так, чтобы уровень глицерина в ней был ниже донной части бюретки. Дают возможность глицерину стечь в уравнительную склянку, после чего зажимают винтовым зажимом резиновую трубку у края донного отвода паровой бюретки.

3.16. Отсоединяют резиновую трубку от донного отвода и снимают бюретку со штатива.

3.17. Тщательно промывают паровую бюретку, шприц и иглу горячей водой, затем ацетоном и просушивают в струе воздуха.

3.18. Если температура воды в бачке ультратермостата и в водяной бане превышает 20 °С, то воду меняют.

3.19. Устанавливают на штативе чистую паровую бюретку и соединяют ее с уравнительной склянкой.

3.20. Подготовку к очередному испытанию проводят в соответствии с пп. 2.8 - 2.12.

Примечание. Для сокращения времени на подготовку приборов к очередным испытаниям целесообразно пользоваться двумя паровыми бюретками и двумя шприцами.

4. ОБРАБОТКА РЕЗУЛЬТАТОВ

4.1. Фазовое соотношение пар-жидкость (Фt) для каждой фиксируемой температуры нагрева пробы бензина при нормальном атмосферном давлении вычисляют по формуле

,

где Vt - объем паровой фазы в равновесии с жидким бензином при данной фиксируемой температуре и нормальном атмосферном давлении, см3;

V0 - начальный объем пробы бензина, введенной в паровую бюретку, см3.

4.2. Отобранную пробу бензина испытывают не менее трех раз. За результат испытания принимают среднее арифметическое трех параллельных определений, допускаемые расхождения каждого определения не должны превышать 5 % среднего результата определения фазового соотношения.

Результаты испытаний заносят в протокол и строят график зависимости фазового соотношения пар-жидкость от температуры нагрева (см. приложение).

4.3. По графику определяют склонность бензина к образованию паровой пробки. Для этого через точку температурной оси Т = Тн.max проводят вертикальную линию до пересечения с фазовой характеристикой и определяют соответствующее точке пересечения фазовое соотношение пар-жидкость Фt.

Условием склонности бензина к образованию паровой пробки является Фt ³ Фtкр.

Условием отсутствия паровых пробок является Фt < Фtкр,

где Тн.max - максимальная температура нагрева бензина в системе топливоподачи автомобиля в данной климатической зоне;

Фtкр - критическое значение фазового соотношения пар-жидкость, вызывающее в системе топливоподачи автомобиля паровую пробку.

ПРИЛОЖЕНИЕ

Рекомендуемое

ПРИМЕР ЗАПОЛНЕНИЯ ПРОТОКОЛА И ПОСТРОЕНИЯ ГРАФИКА ЗАВИСИМОСТИ ФАЗОВОГО СООТНОШЕНИЯ ПАР-ЖИДКОСТЬ ОТ ТЕМПЕРАТУРЫ НАГРЕВА БЕНЗИНА

ПРОТОКОЛ №
испытаний бензина на фазовое соотношение пар-жидкость

Марка бензина А-76 по ГОСТ 2084-77

Завод-изготовитель Московский нефтеперерабатывающий завод

Номер пробы и дата отбора Проба № 1 18.09.78

Дата проведения испытаний 24.09.78

Организация, проводившая испытания _______________________________________

Результаты испытаний

Начальный объем введенной пробы Va, см3

Температура нагрева бензина, °С

Значения паровой фазы и фазового соотношения при трех испытаниях

Среднее значение соотношения

1

2

3

Vt, см3

Vt, см3

Vt, см3

0,5

36,5

Начало парообразования

44

0,2

0,4

0,2

0,4

0,2

0,4

0,4

45

0,4

0,8

0,4

0,8

0,3

0,6

0,73

46

0,5

1,0

0,6

1,2

0,5

1,0

1,07

47

1,2

2,4

1,1

2,2

1,2

2,4

2,3

48

1,5

3,0

1,6

3,2

1,5

3,0

3,1

49

2,3

4,6

2,2

4,4

2,1

4,2

4,4

50

3,3

6,6

3,1

6,2

3,0

6,0

6,3

51

4,1

8,2

4,0

8,0

3,9

7,8

8,0

53

6,4

12,8

6,2

12,4

6,2

12,4

12,5

55

8,3

16,6

8,3

16,6

8,1

16,2

16,5

57

11,5

23,0

11,7

23,4

11,6

23,2

23,2

59

14,1

28,2

14,0

28,0

14,1

28,2

28,1

61

18,5

37,0

18,4

36,8

18,4

36,8

36,9

63

22,3

44,6

22,2

44,4

22,3

44,6

44,5

65

25,6

51,2

25,7

51,4

25,5

51,0

51,2

67

29,5

59,0

29,4

58,8

29,5

59,0

58,9

69

33,6

67,2

33,5

67,0

33,7

67,4

67,2

69,7

35,0

70,0

35,0

70,0

35,0

70,0

70,0

Испытания проводил _______________________________________________

(должность, фамилия, инициалы)

График зависимости фазового соотношения пар-жидкость от температуры нагрева бензина А-76
(Фазовая характеристика бензина А-76)

ИНФОРМАЦИОННЫЕ ДАННЫЕ

1. РАЗРАБОТАН И ВНЕСЕН Министерством автомобильного транспорта РСФСР

2. УТВЕРЖДЕН И ВВЕДЕН В ДЕЙСТВИЕ Постановлением Государственного комитета стандартов Совета Министров СССР от 19.08.76 № 1982

3. ВВЕДЕН ВПЕРВЫЕ

4. ССЫЛОЧНЫЕ НОРМАТИВНО-ТЕХНИЧЕСКИЕ ДОКУМЕНТЫ

Обозначение НТД, на который дана ссылка

Номер пункта

ГОСТ 2517-85

2.1

ГОСТ 6259-75

1.1

ГОСТ 6709-72

1.1

ГОСТ 9871-75

1.1

ГОСТ 25336-82

1.1

ГОСТ 29251-91

1.1

ГОСТ 28498-90

1.1

5. Ограничение срока действия снято по протоколу № 4-93 Межгосударственного Совета по стандартизации, метрологии и сертификации (ИУС 4-94)

6. ИЗДАНИЕ (март 2001 г.) с Изменением № 1, утвержденным в июне 1988 г. (ИУС 10-88)

СОДЕРЖАНИЕ

1. АППАРАТУРА, РЕАКТИВЫ И МАТЕРИАЛЫ... 1

2. ПОДГОТОВКА К ИСПЫТАНИЮ... 2

3. ПРОВЕДЕНИЕ ИСПЫТАНИЯ.. 3

4. ОБРАБОТКА РЕЗУЛЬТАТОВ.. 4

ПРИЛОЖЕНИЕ.. 4

ПРИМЕР ЗАПОЛНЕНИЯ ПРОТОКОЛА И ПОСТРОЕНИЯ ГРАФИКА ЗАВИСИМОСТИ ФАЗОВОГО СООТНОШЕНИЯ ПАР-ЖИДКОСТЬ ОТ ТЕМПЕРАТУРЫ НАГРЕВА БЕНЗИНА.. 5

 




Яндекс цитирования



   Copyright © 2007-2026,  www.tehlit.ru.

[ ѓосты, стандарты, нормативы, инструкции, правила, строительные нормы ]