//
ТехЛит.ру
- крупнейшая бесплатная электронная интернет библиотека для "технически умных" людей.
WWW.TEHLIT.RU - ТЕХНИЧЕСКАЯ ЛИТЕРАТУРА

:: Алготрейдинг::


АЛГОТРЕЙДИНГ
шаг за шагом
с нуля по урокам!

Торговые роботы на PYTHON, BackTrader,
Pandas, Pine Script для TradingView. Связка с брокерами, телеграм и легкими приложениями.


ГОСУДАРСТВЕННЫЙ СТАНДАРТ СОЮЗА ССР

СМОЛЫ ПОЛИЭФИРНЫЕ
НЕНАСЫЩЕННЫЕ

МЕТОДЫ ОПРЕДЕЛЕНИЯ ВРЕМЕНИ ЖЕЛАТИНИЗАЦИИ

ГОСТ 22181-91

(ИСО 2535-74)

КОМИТЕТ СТАНДАРТИЗАЦИИ И МЕТРОЛОГИИ СССР

Москва

ГОСУДАРСТВЕННЫЙ СТАНДАРТ СОЮЗА ССР

СМОЛЫ ПОЛИЭФИРНЫЕ НЕНАСЫЩЕННЫЕ

Методы определения времени желатинизации

Unsaturated polyester resins.
Methods for determination of gel time

ГОСТ
22181-91

(ИСО 2535-74)

Дата введения 01.01.93

1. НАЗНАЧЕНИЕ И ОБЛАСТЬ ПРИМЕНЕНИЯ

Настоящий стандарт устанавливает методы определения времени желатинизации ненасыщенных полиэфирных смол при температуре 25 °С.

Настоящие методы распространяются на все смолы, но предпочтительными являются для смол холодного отверждения.

Дополнительные требования, отражающие потребности народного хозяйства, выделены курсивом.

2. СУЩНОСТЬ МЕТОДА

Готовят смесь смолы при температуре 25 °С с установленным количеством стандартного ускорителя и инициатора.

Полученную смесь помещают в пробирку установленных размеров, которую погружают в баню с температурой 25 °С.

Прибор, оказывающий минимальное влияние на вискозиметрические свойства смеси, используется для определения точного времени, при котором вязкость достигает 50 Па·с (500 пуаз) (условная вязкость, соответствующая началу состояния желатинизации). Общее время с момента добавления ускорителя и инициатора до момента, при котором вязкость достигает значения 50 Па·с, условно называется «Время желатинизации при 25 °С».

Примечание. Тип, количество ускорителя и инициатора и температура, приведенные в настоящем стандарте, являются стандартными условиями.

В особых случаях могут быть установлены другие условия по согласованию сторон (см. п. 7).

3. РЕАКТИВЫ

3.1. Ацетон по ГОСТ 2603.

3.2. Стандартный ускоритель - раствор октоата кобальта в толуоле.

В химический стакан отвешивают (5 ± 0,01) г исходного раствора октоата кобальта в инертном растворителе, содержащего 6 % металлического кобальта. Переносят содержимое и колбу с притертой пробкой вместимостью 50 мл и разбавляют до 50 мл толуолом.

1 мл этого раствора соответствует 0,100 г исходного раствора октоата кобальта.

Допускается применять в качестве ускорителя нафтенат кобальта НК-3 в количестве, соответствующем содержанию 6 % металлического кобальта.

Ускорители: раствор октоата кобальта в толуоле или нафтенат кобальта НК-3 указываются в нормативно-технической документации на ненасыщенные полиэфирные смолы.

3.3. Стандартный инициатор - 50 %-ный (по массе) раствор перекиси метилэтилкетона в диметилфталате, содержащий 9 % активного кислорода.

Раствор хранят на холоде и используют в течение одного месяца с момента приготовления или получения.

Примечания:

1. Торговая перекись метилэтилкетона представляет собой смесь изомеров в разных пропорциях и два торговых продукта с одинаковым процентным содержанием кислорода могут дать различные результаты испытания (см. п. 8).

2. Нельзя смешивать перекись метилэтилкетона и раствор октоата кобальта, так как образуется взрывчатая смесь. Каждый компонент смешивают в отдельности с полиэфирной смолой.

4. АППАРАТУРА

4.1. Стеклянная пробирка для испытуемой смеси минимальной длиной 120 мм, внутренним диаметром 18 мм, с хорошо подогнанной пробкой.

Допускаются пробирки стеклянные с внутренним диаметром (18 ± 0,15) мм, толщиной стенки (1,5 ± 0,05) мм и длиной 180 мм.

4.2. Устройство для измерения вязкости

Устройство для измерения вязкости не должно оказывать влияния на реологические свойства смеси.

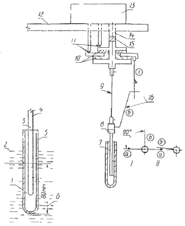
Примечание. Описание такого устройства (см. чертеж) приводится в качестве примера.

Стеклянную палочку достаточной длины, диаметром 6 мм погружают в смесь на глубину 50 мм, поворачивают вокруг собственной оси с небольшой скоростью (1 - 2 мин-1) при помощи проволоки, приводимой в действие электродвигателем с редуктором.

Измеряют время, в течение которого проволока закручивается на угол, соответствующий вязкости 50 Па·с (500 пуаз). Автоматическое устройство может останавливать двигатель, хронометр и отмечать окончание испытания.

Устройство для определения времени желатинизации с применением вращающейся стеклянной палочки

1 - отметка на уровне 30 мм; 2 - отметка на уровне 75 мм; 3 - отметка на стеклянной палочке; 4, 7 - стеклянная палочка диаметром 6 мм; 5 - пробирка; 6 - термостат; 8 - держатель для стеклянной палочки; 9 - стальная проволока; 10 - изолирующие прокладки; 11 - контакты; 12 - опора, регулируемая по высоте; 13 - двигатель с редуктором; 14 - выходной вал с частотой вращения 1 - 2 мин-1; 15 - изолирующий слой; 16 - устройство для остановки мотора (платиновые проволочки а, б); I - положение в начале испытания; II - положение в конце испытания)

4.3. Баня, термостатически контролируемая при температуре (25 ± 0,5) °С и защищенная от света.

4.4. Химический стакан вместимостью 100 см3.

Допускается стакан типа В-1-100 по ГОСТ 25336.

4.5. Две градуированные пипетки вместимостью 1 см3 с ценой деления 0,01 см3 по ГОСТ 20292, имеющие четкую маркировку с целью различия одной от другой.

4.6. Весы с точностью взвешивания не более 0,1 г.

4.7. Шпатель из нержавеющей стали.

4.8. Хронометр с ценой деления в секундах.

Допускается секундомер по ГОСТ НТД с погрешностью измерения не более 1 с.

5. ПРОВЕДЕНИЕ ИСПЫТАНИЯ

5.1. Промывают пробирку ацетоном, сушат, закрывают пробкой и погружают на глубину 80 мм в баню с контролируемой температурой 25 °С.

Отвешивают (50 ± 0,1) г смолы в химический стакан, помещают его в баню при 25 °С и выдерживают до тех пор, пока содержимое стакана не достигнет необходимой температуры.

Одной из пипеток добавляют в смолу 0,50 см3 раствора октоата кобальта и перемешивают шпателем.

Другой пипеткой к смеси добавляют 0,70 см3 перекиси метилэтилкетона, пускают хронометр и перемешивают шпателем в течение 30 с.

Вынимают пробирку из бани, открывают пробку и наполняют ее смесью до 80 мм высоты пробирки, при этом измерительный прибор должен быть в рабочем положении. Следует избегать смачивания стенок пробирки выше этого уровня.

Вновь помещают пробирку в термостатируемую баню таким образом, чтобы уровень смеси в пробирке был ниже уровня бани.

Устанавливают устройство для измерения вязкости в нужное положение.

Останавливают хронометр, когда вязкость достигнет значения 50 Па·с (500 пуаз). Записывают время по хронометру с точностью до 0,1 мин.

Вынимают устройство для измерения вязкости из пробирки, тщательно очищают его ацетоном и высушивают.

Примечание. При использовании устройства, приведенного на чертеже, после очистки пробирки делают отметки на ее внешней стороне на расстоянии 30 и 75 мм от дна жирным цветным карандашом, закрывают ее пробкой и помещают в баню.

Очищают ацетоном и высушивают стеклянную палочку. Помещают стеклянную палочку в пробирку таким образом, чтобы ее конец находился на отметке 30 мм от дна пробирки, жирным цветным карандашом делают отметку на палочке на уровне верхнего края пробирки.

Смесь, приготовленную в химическом стакане, наливают в пробирку до отметки 75 мм.

Пробирку помещают в баню в вертикальном положении и в смесь помещают стеклянную палочку таким образом, чтобы отметка на палочке совпадала с верхним краем пробирки. Выверяют положение пробирки так, чтобы палочка точно совпадала с осью пробирки, и включают двигатель. Если значение вязкости смеси превышает заранее установленную величину, отключают двигатель и хронометр и продолжают испытание так, как описано. Следующее испытание выполняют в аналогичных условиях. В этом случае можно использовать ту же пробирку, если она тщательно промыта ацетоном и высушена, но предпочтительнее взять другую пробирку.

Повторяют испытания до тех пор, пока расхождение результатов двух последовательных испытаний не будет меньше или равно 10 %.

5.2. Визуальный метод

Пробирку промывают ацетоном, высушивают, закрывают пробкой (нерезиновой) и термостатируют при (25 ± 0,5) °С, опуская ее в термостат на глубину 80 мм.

50 г смолы, взвешенной с погрешностью не более 0,1 г, помещают в стеклянный стакан, который термостатируют при (25 ± 5) °С не менее 10 мин, пока стакан со смолой не примет эту температуру.

Далее к содержимому стакана при перемешивании добавляют сначала ускоритель и затем инициатор, взвешенные с погрешностью не более 0,001 г или отобранные пипеткой. После этого немедленно включают секундомер и в течение 30 с перемешивают содержимое стакана.

При использовании рекомендуемой инициирующей системы к 50 г исследуемой смолы добавляют при перемешивании пипеткой сначала 1,5 мл раствора нафтената кобальта НК-3, а затем 0,7 мл 50 %-ного раствора перекиси метилэтилкетона в диметилфталате.

Вынимают пробирку из термостата, открывают пробку и наполняют ее смесью из стакана до 75 мм высоты. Далее пробирку снова помещают в термостат при 25 °С.

Через каждые 2 мин пробирку вынимают из термостата, быстро опрокидывают и визуально оценивают состояние смолы. Секундомер останавливают, если при опрокидывании пробирки не наблюдается движения пузырьков воздуха вверх.

В случае, если время желатинизации смолы составляет более 1 ч, визуальное наблюдение начинают по истечении 1 ч.

6. ПОДСЧЕТ РЕЗУЛЬТАТОВ

Вычисляют среднее арифметическое двух полученных результатов и округляют до 0,1 мин.

За результат измерения принимают среднюю величину времени желатинизации при 25 °С с точностью до 0,1 мин.

Допускается за результат испытания принимать среднее арифметическое результатов двух измерений, отличающихся друг от друга не более чем на 10 % или не более чем на 2 мин, если время желатинизации смолы менее 20 мин. Результат округлить до 0,1 мин.

7. ЗАМЕЧАНИЯ ПО МЕТОДИКЕ ПРОВЕДЕНИЯ ИСПЫТАНИЯ

Температура испытания 25 °С, концентрация октоата кобальта 0,1 % (6 % Со) и концентрация раствора перекиси метилэтилкетона 1,4 % (9 % активного кислорода), приведенные в настоящем стандарте, являются стандартными условиями, наиболее часто используемыми на практике.

Тем не менее, для некоторых видов смол особого назначения допускается:

выполнять испытание при 20 или 30 °С;

использовать вышеприведенные реактивы с более низкой или высокой концентрацией;

использовать другие типы ускорителей и инициаторов.

Эти условия обычно согласовываются заинтересованными сторонами.

8. ПРОТОКОЛ ИСПЫТАНИЯ

Протокол испытания должен содержать:

а) идентификацию пробы;

б) время желатинизации (при 25 °С);

в) данные о торговом качестве используемого раствора перекиси метилэтилкетона (см. примечание 1 п. 3.3);

г) отклонения от стандартных условий, особенно использование ускорителя и (или) инициатора, отличных по типу и (или) соотношению, а также указание температуры, отличной от 25 °С.

Допускается результат испытаний оформить протоколом, который должен содержать:

а) наименование и марку смолы;

б) наименование и количество ускорителя и инициатора;

в) обозначение нормативно-технической документации;

г) условия проведения испытания;

д) количество и результаты испытаний, среднее арифметическое значение времени желатинизации;

е) дату испытания;

ж) обозначение настоящего стандарта.

ИНФОРМАЦИОННЫЕ ДАННЫЕ

1. Подготовлен и внесен ТК 230 «Пластмассы. Полимерные материалы. Методы их испытаний»

2. УТВЕРЖДЕН И ВВЕДЕН В ДЕЙСТВИЕ Постановлением Комитета стандартизации и метрологии СССР от 26.09.91 № 1501. Настоящий стандарт подготовлен методом прямого применения международного стандарта ИСО 2535 «Смолы полиэфирные ненасыщенные. Метод определения времени желатинизации при 25 °С» с дополнительными требованиями, отражающими потребности народного хозяйства

3. ВЗАМЕН ГОСТ 22181-76

4. ССЫЛОЧНЫЕ НОРМАТИВНО-ТЕХНИЧЕСКИЕ ДОКУМЕНТЫ

Обозначение НТД, на который дана ссылка

Номер пункта

ГОСТ 2603-79

3.1

ГОСТ 20292-71

4.5

ГОСТ 25336-82

4.4

СОДЕРЖАНИЕ

 




Яндекс цитирования



   Copyright © 2007-2026,  www.tehlit.ru.

[ ѓосты, стандарты, нормативы, инструкции, правила, строительные нормы ]