//
ТехЛит.ру
- крупнейшая бесплатная электронная интернет библиотека для "технически умных" людей.
WWW.TEHLIT.RU - ТЕХНИЧЕСКАЯ ЛИТЕРАТУРА

:: Алготрейдинг::


АЛГОТРЕЙДИНГ
шаг за шагом
с нуля по урокам!

Торговые роботы на PYTHON, BackTrader,
Pandas, Pine Script для TradingView. Связка с брокерами, телеграм и легкими приложениями.


ГОСУДАРСТВЕННЫЙ СТАНДАРТ СОЮЗА ССР

СОЕДИНЕНИЯ ТРУБОПРОВОДОВ РЕЗЬБОВЫЕ

КОНЦЫ КОРПУСНЫХ ДЕТАЛЕЙ
ВВЕРТНЫЕ И ГНЕЗДА ПОД НИХ

КОНСТРУКЦИЯ

ГОСТ 22526-77

ИПК ИЗДАТЕЛЬСТВО СТАНДАРТОВ

Москва

СОДЕРЖАНИЕ

ГОСУДАРСТВЕННЫЙ СТАНДАРТ СОЮЗА ССР

Соединения трубопроводов резьбовые

КОНЦЫ КОРПУСНЫХ ДЕТАЛЕЙ ВВЕРТНЫЕ И ГНЕЗДА ПОД НИХ

Конструкция

Threaded pipeline connections.
Screwed pipe nipple ends and sockets for them.
Construction

ГОСТ
22526-77

Дата введения 01.01.79

1. Настоящий стандарт распространяется на ввертные концы корпусных деталей и гнезда под них с цилиндрической резьбой и плоской прокладкой и с метрической конической резьбой, применяемые в резьбовых соединениях трубопроводов, арматуре и гидропневмооборудовании.

Обязательные требования к качеству продукции, обеспечивающие ее безопасность для жизни, здоровья и охрану окружающей среды, изложены в пп. 2, 4 и 5 настоящего стандарта.

(Измененная редакция, Изм. № 2, 3).

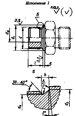
2. Конструкция и основные размеры концов ввертных корпусных деталей должны соответствовать указанным на черт. 1 и в табл. 1 и 2, гнезд - указанным на черт. 2 и в табл. 1 и 2.

Концы ввертных корпусных деталей

Черт. 1

Гнезда для ввертных концов корпусных деталей

Черт. 2

Примечания:

1. Канавки с размерами а1, d2 может не быть, если торцевое биение не превышает заданного.

2. Допускается изготовление гнезд для ввертных концов штуцеров исполнения 1 с проточкой по ГОСТ 10549.

Таблица 1

Размера концов ввертных штуцеров и гнезд с метрической резьбой, мм

Груп-
па

d

d1

d2

d3

d4
(пред.
откл.
-0,2)

ds

d6

а

а1

b

r

l(пред,
откл.±0,2)

l1,
не менее

l1
не ме-
нее

Пред. откл.

Пред. откл.

Исполнение

-0,4

+0,4

+0,4

-0,4

+0,3

1

3

ко-
рот-
кая

длин-
ная*

1

Ml

12

13

8,5

6,4

MK8×l

3

1,5

1,0

2

1,0

8

8

8

-

5,5

M10×l

14

15

10,5

8,4

МК10×1

4,5

14

2

Ml

12

13

8,5

6,4

МК 8×1

2,5

-

M10×l

14

15

10,5

8,4

МК 10×1

4

14

М12×1,5

17

18

12,5

9,7

МК12×1,5

6

2,0

1,5

3

1,2

12

12

12

17

8,5

М14×1,5

19

20

14,5

11,7

МК14×1,5

7

М16×1,5

21

22

16,5

13,7

МК16×1,5

9

М18×1,5

23

24

18,5

15,7

МК18×1,5

11

2,5

2,0

18

М22×1,5

27

28

22,5

19,7

МК22×1,5

12

3,0

2,5

14

14

27

14

14

10,0

М26×1,5
(М27×2)

32

33

27,5

24,0

-

18

4

1,6

16

-

16

31

-

М33×2

39

40

33,5

30,0

23

18

18

33

М42×2

49

50

42,5

39,0

30

20

20

-

-

М48×2

55

56.

48,5

45,0

36

22

22

 

3

М12×1,5

17

18

12,5

9,7

4

2,0

1,5

3

1,2

12

12

М14×1,5

19

20

14,5

11,7

5

М16×1,5

21

22

16,5

13,7

7

М18×1,5

23

24

18,5

15,7

8

2,5'

2,0

(М20×1,5)

25

26

20,5

17,7

10

14

14

М22×1,5

27

28

22,5

19,7

12

3,0

2,5

М27×2

32

33

27,5

24,0

16

4

1,6

16

16

М33×2

39

40

33,5

30,0

20

18

18

М42×2

49

50

42,5

39,0

25

20

20

М48×2

55

56

48,5

45,0

32

22

22

М56×2

64

65

56,5

53,0

-

24

24

М72×2

79

80

72,5

69,0

-

26

26

М90×2

100

101

90,5

87,0

-

29

29

*Для поворотных соединений с полым болтом исполнений 2; 4 по ГОСТ 25683.

Примечание. Значения, приведенные в скобках, непредпочтительны.

Таблица 2

Размеры концов ввертных штуцеров и гнезд с трубной резьбой, мм

Группа

d

d1

d2

d3

d4

d6

а

а1

b

r

l (пред. откл.
±0,2)

l1, не менее

Пред. откл.

Пред. откл.

Исполнение

-0,4

+0,4

-0,2

-0,2

-1-0,4

-0,4

-1-0,3

1

1

G 1/8

14

15

10,2

8,1

4

1,5

1,0

2

1,0

8

8

2

G l/4

18

19

13,6

10,8

7

2,0

1,5

3

1,2

12

12

G 3/8

22

23

17,2

14,4

9

2,5

2,0

G l/2

26

27

21,5

18,0

14

3,0

2,5

4

1,6

14

14

G3/4

32

33

27,0

23,5

18

16

16

G 1

39

40

33,7

29,2

23

5

2,5

18

18

G11/4

49

50

42,5

38,0

30

20

20

G1 l/2

55

56

48,3

43,8

36

22

22

3

G1/4

18

19

13,6

10,8

5

2,0

1,5

3

1,2

12

12

G3/8

22

23

17,2

14,4

8

2,5

2,0

Gl/2

26

27

21,5

18,0

12

3,0

2,5

4

1,6

14

14

G3/4

32

33

27,0

23,5

16

16

16

G 1

39

40

33,7

29,2

20

5

2,5

18

18

G ll/4

49

50

42,5

38,0

25

20

20

Gll/2

55

56

48,3

43,8

32

22

22

Примечания:

1. Значения, приведенные в скобках, непредпочтительны.

2. При новом проектировании трубную резьбу применять не допускается.

1, 2. (Измененная редакция, Изм. № 1, 2, 3).

3. Рекомендуемые значения номинального (условного) давления для каждой группы ввертных концов корпусных деталей, изготовленных из низкоуглеродистой стали, приведены в приложении.

Рекомендуемые значения номинального (условного) давления в зависимости от вида соединения - по ГОСТ 15763, приложение 3.

4. Допуск торцового биения поверхности А относительно оси среднего диаметра резьбы должен быть не более: 0,1 мм для ввертных концов с резьбой до М22 × 1,5 и G l/2 включительно и 0,2 мм - с остальными резьбами.

3, 4. (Измененная редакция, Изм. № 3).

5. Технические требования - по ГОСТ 15763.

ПРИЛОЖЕНИЕ
Рекомендуемое
Значения номинальных (условных) давлений для ввертных концов корпусных деталей

Группа

Резьба
метрическая

Номинальное
(условное)
давление, МПа
(кгс/см2)

Резьба трубная
цилиндрическая

Номинальное
(условное)
давление, МПа
(кгс/см2)

Резьба
метрическая
коническая

Номинальное
(условное)
давление, МПа
(кгс/см2)

1

М8×1
M10×l

10(100)

G1/8

10(100)

МК8×1
МК10×1

10(100)

2

Ml
M10×l

25(250)

G1/8

25(250)

МК8×1
МК10×1

 

M12×l,5
М14×1,5

G1/4.

МК12×1,5
МК14×1,5

16(160)

М16×1,5

G3/8

МК16×1,5

 

М18×1,5

G1/2

МК18×1,5

 

М22×1,5

16(160)

МК22×1,5

 

М26×1,5
(М27×2)

G3/4

16(160)

-

-

М33×2
М42×2
М48×2

10(100)

G 1
G1 1/4
G1 1/2

10(100)

3

М12×1,5
М14×1,5
М16×1,5

63(630)

G 1/4

63(630)

-

-

М18×1,5

G3/8

40(400)

(М20×1,5)

G1/2

М22×1,5

40(400)

М27×2
М33×2

G 3/4
G 1

М42×2
М48×2

25(250)

G 1/4
G1 1/2

25(250)

ПРИЛОЖЕНИЕ. (Введено дополнительно, Изм. № 3).

ИНФОРМАЦИОННЫЕ ДАННЫЕ

1. РАЗРАБОТАН И ВНЕСЕН Государственным комитетом СССР по стандартам

РАЗРАБОТЧИКИ

Б.В. Максимовский; Г.В. Поляков, канд. техн. наук; Ю.А. Шамшурин

2. УТВЕРЖДЕН И ВВЕДЕН В ДЕЙСТВИЕ Постановлением Государственного комитета стандартов Совета Министров СССР от 12.05.77 № 1180

Изменение № 3 принято Межгосударственным Советом по стандартизации, метрологии и сертификации 12.10.95 протокол № 8

За принятие проголосовали:

Наименование государства

Наименование национального органа
по стандартизации

Республика Белоруссия

Госстандарт Белоруссии

Республика Казахстан

Госстандарт Республики Казахстан

Республика Молдова

Молдовастандарт

Российская Федерация

Госстандарт России

Республика Таджикистан

Таджикгосстандарт

Туркменистан

Главная государственная инспекция Туркменистана

Украина

Госстандарт Украины

3. ВВЕДЕН ВПЕРВЫЕ

4. ССЫЛОЧНЫЕ НОРМАТИВНО-ТЕХНИЧЕСКИЕ ДОКУМЕНТЫ

Обозначение НТД, на который дана ссылка

Номер пункта

ГОСТ 10549-80

2

ГОСТ 15763-75

3, 5

ГОСТ 25683-83

2

5. Ограничение срока действия снято по протоколу № 7-95 Межгосударственного Совета по стандартизации, метрологии и сертификации (ИУС 11-95)

6. ПЕРЕИЗДАНИЕ (декабрь 1997 г.) с Изменениями № 1, 2, 3, утвержденными в июле 1982 г., мае 1988 г., августе 1996 г. (ИУС 11-82, 9-88, 11-96)




Яндекс цитирования