//
ТехЛит.ру
- крупнейшая бесплатная электронная интернет библиотека для "технически умных" людей.
WWW.TEHLIT.RU - ТЕХНИЧЕСКАЯ ЛИТЕРАТУРА

:: Алготрейдинг::


АЛГОТРЕЙДИНГ
шаг за шагом
с нуля по урокам!

Торговые роботы на PYTHON, BackTrader,
Pandas, Pine Script для TradingView. Связка с брокерами, телеграм и легкими приложениями.


Изменение № 2 ГОСТ 23644-79 Азот газообразный, обогащенный стабильным изотопом азот-15. Технические условия

Утверждено и введено в действие Постановлением Государственного комитета СССР по стандартам от 21.02.89 № 288

Дата введения 01.07.90

Вводная часть. Третий абзац изложить в новой редакции: «Молярная масса (по международным атомным массам 1973 г.) в зависимости от атомной доли изотопа азот-15 - от 28,20 г/моль до 29,98 г/моль»;

дополнить абзацем (после третьего): «Марки и пример записи при заказе продукта - по ГОСТ 26335-84».

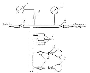
Пункт 4.1.1. Чертеж 1 заменить новым:

Схема установки отбора пробы

1 - вакуумметр; 2 - манометрический преобразователь; 3 - мановакуумметр; 4, 6, 9 - вентили; 5 - ампулы с пробой для определения атомной доли изотопа азот-15; 7 - ампулы с пробой для определения массовой доли азота, окиси азота и кислорода; 8 - вакуумные шланги

Черт. 1

Пункт 4.1.2 изложить в новой редакции: «4.1.2. Для определения атомной доли изотопа азот-15 пробу отбирают в три ампулы 5 вместимостью 10 см3 каждая.

Для определения массовой доли азота, окиси азота и кислорода отбирают пробу в две ампулы 7 вместимостью 70 см3 каждая.

Для этого открывают вентиль 9 и откачивают систему до остаточного давления 13∙10-2-13∙10-3 Па. Давление контролируют вакуумметром 1 (например, типа ВИТ-2А), включенным в систему через манометрический преобразователь 2 типа ПМТ-2. При достижении указанного выше остаточного давления закрывают вентиль 9 и оставляют систему для проверки на герметичность. Систему считают герметичной, если показание вакуумметра через 1 ч будет не более 2∙10-3 Па. После этого открывают вентиль 4 и заполняют ампулы 5 и 7 пробой под давлением 5∙104 Па. Давление газа контролируют мановакуумметром 3 (например, типа ОБМВ-160). Заполнив ампулы, вентиль 4 перекрывают».

Пункт 4.1.3. Первый абзац изложить в новой редакции: «Ампулы 5 отпаивают при помощи газовой горелки, а ампулы 7 снимают с вакуумных шлангов. Затем ампулы маркируют, указывают номер партии и дату отбора пробы».

Пункт 4.3.1. Исключить слова: «по ГОСТ 6616-74»;

дополнить абзацем: «Линейка измерительная по ГОСТ 427-75».

Пункт 4.3.4. Первый абзац. Экспликацию после слова «соответственно» дополнить словами: «пА, которые вычисляют по формуле

,

где hRij - высота пика и масс-спектре, мм;

bRij - масштабный множитель, определяемый выбранной чувствительностью записи данного пика ;

R - значение массового числа соответствующего пика»;

заменить ссылку: ГОСТ 11.002-73 на СТ СЭВ 545-77.

Пункты 4.4.1-4.4.3 изложить в новой редакции (кроме черт. 4, 5; черт. 3 заменить новым): «4.4.1. Аппаратура, материалы, реактивы

Установка вакуумная для ввода пробы в хроматограф (черт. 3).

Насос вакуумный парортутный типа М-50 Р.

Насос предварительного разрежения типа BН-461 М.

Хроматограф лабораторный газовый ЛХМ-8МД.

Электропечь сопротивления СНОЛ 1.

Вакуумметр типа ВИТ-1-А.

Лупа по ГОСТ 25706-83 или микроскоп МИР-12.

Пестик 2 по ГОСТ 9147-80.

Преобразователь манометрический типа ПМТ-2.

Секундомер СОПпр-2а-2-221 по ГОСТ 5072-79.

Сито с сеткой проволочной тканой по ГОСТ 6613-86.

Ступка 4 по ГОСТ 9147-80.

Чашка выпарительная 5 по ГОСТ 9147-80.

Эксикатор 1 - 100 по ГОСТ 25336-82.

Вода дистиллированная по ГОСТ 6709-72.

Газ-носитель: гелий газообразный.

Цеолит синтетический СаА.

Интервал времени удерживания компонентов приведен в табл. 2.

Таблица 2

Наименование компонента

Время удерживания, мин

Азот

7-8

Кислород

2-3

Окись азота

13

4.4.2. Подготовка к анализу

Синтетический цеолит измельчают в фарфоровой ступке и отсеивают на сите порошок дисперсностью 0,25-0,50 мм.

Взвешивают порошок массой 10 г с погрешностью ± 0,01 г, помещают в фарфоровую чашку, промывают дистиллированной водой для удаления пыли, высушивают в электропечи в течение 4 ч при температуре не более 380 °С и охлаждают в эксикаторе.

Наполнение хроматографической колонки, подсоединение к хроматографу, включение хроматографа и подготовку его к работе проводят в соответствии с инструкцией предприятия-изготовителя.

Режим работы хроматографа

Вид адсорбента - синтетический цеолит.......................................................... СаА

Длина колонки, мм.............................................................................................. 3000

Диаметр колонки, мм.......................................................................................... 3

Температура колонки, °С.................................................................................... 50

Скорость газа-носителя, см3/мин....................................................................... 60

Скорость движения диаграммной ленты, мм/ч................................................ 60

Сила тока детектора, мА..................................................................................... 120.

4.4.3. Проведение анализа

Анализ проводят на установке, схема которой представлена на черт. 3. Ампулу с пробой подсоединяют к отростку 6. В начальном положении все краны установки, кроме крана 13, должны быть закрыты. Включают насос предварительного разрежения 14 и через 2-3 мин открывают краны 3, 5, 7, 10, выдвигают шток дозирующего элемента 2 и откачивают воздух до остаточного давления 13,3 Па. Давление измеряют вакуумметром 9. Затем при помощи кранов 11 и 15 включают парортутный насос 16 и откачивают воздух из установки до остаточного давления 1,33∙10-3 Па. Проверяют герметичность установки. Для этого закрывают последовательно краны 3, 5, 7, 10. При помощи кранов 11 и 15 отключают парортутный насос 16. Оставляют в течение 1 ч. Затем открывают последовательно краны 3, 5, 7, 10. Если показание вакуумметра 9 не меняется, установку считают герметичной. Перекрывают краны 5, 10, открывают кран ампулы с пробой. При этом изменяемая смесь наполняет петлю дозирующего элемента 2, к этому времени на диаграмме регистрируется нулевая линия, соответствующая чистому газу-носителю. Шток дозирующего элемента 2 переводят в исходное положение. При этом измеряемая проба поступает в хроматограф.

Схема вакуумная установки для ввода газообразной пробы в хроматограф

1 - хроматограф; 2 - дозирующий элемент хроматографа; 3, 5, 7, 10, 13 - краны двухходовые; 4 - манометр ртутный; 6 - отросток для присоединения ампулы с пробой; 8 - манометрический преобразователь; 9 - вакуумметр; 11, 15 - краны трехходовые; 12 - ловушка; 14 - насос предварительного разряжения; 16 - парортутный насос

Черт. 3

Одновременно засекают время на секундомере и через 10-15 с регистрируют время выхода пиков (см. табл. 2).

Типовые хроматограммы приведены на черт. 4 и 5».

Пункт 4.4.4. Формулу расчета Xi изложить в новой редакции:

;

исключить слова: «Кi - расчетный градуировочный коэффициент»;

заменить значения: 0,00005 на 0,000436; 0,036 на 0,12; ± 0,007 на ± 0,04; ± 0,005 на ± 0,04.

(ИУС № 5 1989 г.)




Яндекс цитирования



   Copyright © 2007-2026,  www.tehlit.ru.

[ ѓосты, стандарты, нормативы, инструкции, правила, строительные нормы ]