//
ТехЛит.ру
- крупнейшая бесплатная электронная интернет библиотека для "технически умных" людей.
WWW.TEHLIT.RU - ТЕХНИЧЕСКАЯ ЛИТЕРАТУРА

:: Алготрейдинг::


АЛГОТРЕЙДИНГ
шаг за шагом
с нуля по урокам!

Торговые роботы на PYTHON, BackTrader,
Pandas, Pine Script для TradingView. Связка с брокерами, телеграм и легкими приложениями.


ГОСТ 24071-97
(ИСО 3912-77)

МЕЖГОСУДАРСТВЕННЫЙ СТАНДАРТ

Основные нормы взаимозаменяемости

СЕГМЕНТНЫЕ ШПОНКИ
И ШПОНОЧНЫЕ ПАЗЫ

МЕЖГОСУДАРСТВЕННЫЙ СОВЕТ
ПО СТАНДАРТИЗАЦИИ, МЕТРОЛОГИИ И СЕРТИФИКАЦИИ

Минск

Предисловие

1 РАЗРАБОТАН Техническим комитетом ТК 258 «Зубчатые передачи и конструктивные элементы деталей машин»

ВНЕСЕН Госстандартом России

2 ПРИНЯТ Межгосударственным Советом по стандартизации, метрологии и сертификации (протокол № 12-97 от 21 ноября 1997 г.)

За принятие проголосовали:

Наименование государства

Наименование национального органа по стандартизации

Республика Таджикистан

Таджикгосстандарт

Республика Армения

Армгосстандарт

Республика Беларусь

Госстандарт Беларуси

Республика Казахстан

Госстандарт Республики Казахстан

Киргизская Республика

Киргизстандарт

Республика Молдова

Молдовастандарт

Российская Федерация

Госстандарт России

Республика Узбекистан

Узгосстандарт

Украина

Госстандарт Украины

3 Настоящий стандарт представляет собой полный аутентичный текст ИСО 3912-77 «Сегментные шпонки и шпоночные пазы» и содержит дополнительные требования, отражающие потребности экономики страны

4 Постановлением Государственного комитета Российской Федерации по стандартизации и метрологии от 17 ноября 1999 г. № 409-ст межгосударственный стандарт ГОСТ 24071-97 (ИСО 3912-77) введен в действие непосредственно в качестве государственного стандарта Российской Федерации с 1 июля 2000 г.

5 ВЗАМЕН ГОСТ 24071-80

СОДЕРЖАНИЕ

1 Назначение. 2

2 Область применения. 2

3 Размеры и допуски шпонок. 2

4 Материал. 3

5 Форма, размеры и допуски шпоночных пазов. 3

6 Зависимость между диаметром вала и размерами шпонки. 4

7 Обозначение. 4

Приложение А. Дополнительные требования, отражающие потребности экономики страны.. 5

Приложение Б. Теоретическая масса 1000 шпонок нормальной формы.. 5

Приложение В. Предельные отклонения размеров шпоночных соединений изделий, спроектированных до 01.01.80. 6

Приложение Г. Зависимость параметров шероховатости поверхности от допуска размера. 6

ГОСТ 24071-97
(ИСО 3912-77)

МЕЖГОСУДАРСТВЕННЫЙ СТАНДАРТ

Основные нормы взаимозаменяемости

СЕГМЕНТНЫЕ ШПОНКИ И ШПОНОЧНЫЕ ПАЗЫ

Basic norms of interchangeability.
Woodruff keys and keyways

Дата введения 2000-07-01

1 Назначение

Настоящий стандарт устанавливает размеры и предельные отклонения размеров сегментных шпонок и соответствующих им шпоночных пазов на валу и во втулке, а также устанавливает зависимость между диаметром вала и сечением шпонки, возникающую при передаче крутящего момента и фиксации положения.

Дополнительные требования, отражающие потребности народного хозяйства, приведены в приложениях А, Б, В и Г.

Требования настоящего стандарта и приложения А являются обязательными.

2 Область применения

Настоящий стандарт предназначен для цилиндрических валов и цилиндрических концов валов общего назначения.

3 Размеры и допуски шпонок

Размеры и предельные отклонения размеров шпонок указаны на рисунке 1 и в таблице 1.

* Применяется по согласованию заинтересованных сторон.

** h2 = 0,8h1 (значение можно округлить до 0,1 мм).

Рисунок 1

Таблица 1

мм

b

h1

D

s

 

Ном.

Пред. откл. h9*

Ном.

Пред. откл. h11

Ном.

Пред. откл. h12

не менее

не более

 

1,0

-0,025

1,4

-0,060

4

-0,120

0,16

0,25

 

1,5

2,6

7

-0,150

 

2,0

2,6

7

 

2,0

3,7

-0,075

10

 

2,5

3,7

10

 

3,0

5,0

13

-0,180

 

3,0

6,5

-0,090

16

 

4,0

-0,030

6,5

16

0,25

0,40

 

4,0

7,5

19

-0,210

 

5,0

6,5

16

-0,180

 

5,0

7,5

19

-0,210

 

5,0

9,0

22

 

6,0

9,0

22

 

6,0

10,0

25

 

8,0

-0,036

11,0

-0,110

28

0,40

0,60

 

10,0

13,0

32

-0,250

 

* Другой допуск может быть принят по согласованию заинтересованных сторон.

4 Материал

Материал - сталь с временным сопротивлением разрыву не ниже 590 Н/мм2 после окончательной обработки (если не будет другой договоренности между заинтересованными сторонами).

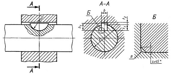
5 Форма, размеры и допуски шпоночных пазов

Размеры и допуски шпоночных пазов указаны на рисунке 2 и в таблице 2.

Рисунок 2

Таблица 2

мм

Размеры шпонки нормальной или низкой формы b ´ h1 ´ D

Ширина b

Глубина

Радиус R

Ном.

Предельные отклонения

Вал t1

Ступица t2

Нормальное соединение

Плотное соединение

Вал N9

Втулка Js9

Вал и втулка Р9

Ном.

Пред. откл.

Ном.

Пред. откл.

не более

не менее

1,0´1,4 ´ 4

1,0

-0,004;

-0,029

±0,012

-0,006;

-0,031

1,0

+0,1

0,6

+0,1

0,16

0,08

1,5 ´ 2,6 ´ 7

1,5

2,0

0,8

0,16

0,08

2,0 ´ 2,6 ´ 7

2,0

1,8

1,0

0,16

0,08

2,0 ´ 3,7 ´ 10

2,0

2,9

1,0

0,16

0,08

2,5 ´ 3,7 ´ 10

2,5

2,7

1,2

0,16

0,08

3,0 ´ 5,0 ´ 13

3,0

3,8

+0,2

1.4

0,16

0,08

3,0 ´ 6,5 ´ 16

3,0

5,3

1,4

0,16

0,08

4,0 ´ 6,5 ´ 16

4,0

-0,030

±0,015

-0,012;

-0,042

5,0

1,8

0,25

0,16

4,0 ´ 7,5 ´ 19

4,0

6,0

1,8

0,25

0.16

5,0 ´ 6,5 ´ 16

5,0

4,5

2,3

0,25

0,16

5,0 ´ 7,5 ´ 19

5,0

5,5

2,3

0,25

0,16

5,0 ´ 9,0 ´ 22

5,0

7,0

+0,3

2,3

0,25

0,16

6,0 ´ 9,0 ´ 22

6,0

6,5

2,8

0,25

0,25

6,0 ´ 10,0 ´ 25

6,0

7,5

2,8

+0,2

0,25

0,16

8,0 ´ 11,0 ´ 28

8,0

-0,036

±0,018

-0,015;

-0,051

8,0

3,3

0,40

0,25

10,0 ´ 13,0 ´ 32

10,0

10,0

3,3

0,40

0,25

6 Зависимость между диаметром вала и размерами шпонки

В таблице 3 даны две серии взаимосвязи между диаметром вала и размером шпонки: серия 1 - для передачи крутящего момента, серия 2 - для фиксации детали (в случае неподвижной посадки, когда передача момента осуществляется за счет трения).

Таблица 3 - Зависимость диаметра вала от размера шпонки

Диаметр вала d, мм

Размер шпонки, мм, нормальной формы b ´ h1 ´ D или эквивалентной низкой формы

Серия 1

Серия 2

Свыше

До

Свыше

До

3

4

3

4

1,0 ´ 1,4 ´ 4

4

5

4

6

1,5 ´ 2,6 ´ 7

5

6

6

8

2,0 ´ 2,6 ´ 7

6

7

8

10

2,0 ´ 3,7 ´ 10

7

8

10

12

2,5 ´ 3,7 ´ 10

8

10

12

15

3,0 ´ 5,0 ´ 13

10

12

15

18

3,0 ´ 6,5 ´ 16

12

14

18

20

4,0 ´ 6,5 ´ 16

14

16

20

22

4,0 ´ 7,5 ´ 19

16

18

22

25

5,0 ´ 6,5 ´ 16

18

20

25

28

5,0 ´ 7,5 ´ 19

20

22

28

32

5,0 ´ 9,0 ´ 22

22

25

32

36

6,0 ´ 9,0 ´ 22

25

28

36

40

6,0 ´ 10,0 ´ 25

28

32

40

-

8,0 ´ 11,0 ´ 28

32

38

-

-

10,0 ´ 13,0 ´ 32

7 Обозначение

В обозначении шпонки должны указываться ее ширина и высота и обозначение стандарта.

Примеры

Обозначение шпонки нормальной формы и сечением b ´ h1 = 5 ´ 6,5 мм:

Шпонка 5 ´ 6,5 ГОСТ 24071-97

Обозначение низкой шпонки с сечением b ´ h2 = 5 ´ 5,2:

Шпонка 5 ´ 5,2 ГОСТ 24071-97

ПРИЛОЖЕНИЕ А

(обязательное)

Дополнительные требования, отражающие потребности экономики страны

А.1 Стандарт не распространяется на соединения, спроектированные до введения в действие настоящего стандарта, а также на шпоночные соединения, собираемые подгонкой или подбором шпонок.

А.2 Материал шпонок - чистотянутая сталь для сегментных шпонок по ГОСТ 8786-68 или по разделу 4.

A.3 Допускается в технически обоснованных случаях (пустотелые и ступенчатые валы, передача пониженных крутящих моментов и т.п.) применять меньшие, чем указано в таблице 2, размеры сечений шпонок на валах больших диаметров, за исключением выходных концов валов.

А.4 Допускается для неответственных соединений сопряжение дна паза с боковыми стенками выполнять с фаской под углом 45°, равной радиусу R.

А.5 Допускается свободное соединение шпонки с валом и втулкой. Предельные отклонения при свободном соединении ширины паза b должны соответствовать полям допусков для вала - Н9, для втулки - D10.

А.6 Допускаются для ширины паза b вала и втулки любые сочетания полей допусков, указанные в таблице 2.

А.7 Для термообработанных деталей допускаются предельные отклонения размера ширины паза вала, соответствующие полю допуска Н11, размера ширины паза втулки - D10.

А.8 Контроль размеров шпоночных пазов и их расположения относительно соответствующих цилиндрических поверхностей - по ГОСТ 24109 - ГОСТ 24111; ГОСТ 24115 - ГОСТ 24117; ГОСТ 24119; ГОСТ 24120.

А.9 Серия 2 (таблица 3) может применяться также для неответственных соединений (при передаче малых крутящих моментов с небольшой частотой вращения, не влияющих на долговечность деталей; при кратковременной работе соединения и т.д.).

А.10 Допускается в зависимости от принятой базы обработки и измерения указывать вместо t1 на рабочем чертеже номинальный размер для вала d - t1 с предельным отклонением для t1 по таблице 2 и для втулки вместо t2 размер d - t2 с предельным отклонением для t2 по таблице 2.

А.11 Масса шпонок указана в приложении Б.

А.12 Для изделий, спроектированных до 01.01.80, допускаются предельные отклонения размеров шпоночных соединений, приведенные в приложении В.

А.13 Параметры шероховатости поверхности элементов шпоночных соединений приведены в приложении Г.

ПРИЛОЖЕНИЕ Б

(справочное)

Теоретическая масса 1000 шпонок нормальной формы

Таблица Б.1

Размер шпонки

Масса 1000 шпонок, кг

Размер шпонки

Масса 1000 шпонок, кг

1,0´ 1,4 ´ 4

0,031

4,0 ´ 7,5 ´ 19

3,240

1,5 ´ 2,6 ´ 7

0,152

5,0 ´ 6,5 ´ 16

2,680

2,0 ´ 2,6 ´ 7

0,204

5,0 ´ 7,5 ´ 19

4,040

2,0 ´ 3,7 ´ 10

0,414

5,0 ´ 9,0 ´ 22

5,660

2,5 ´ 3,7 ´ 10

0,510

6,0 ´ 9,0 ´ 22

6,780

3,0 ´ 5,0 ´ 13

1,050

6,0 ´ 10,0 ´ 25

8,480

3,0 ´ 6,5 ´ 16

1,600

8,0 ´ 11,0 ´ 28

13,800

4,0 ´ 6,5 ´ 16

2,120

10,0 ´ 13,0 ´ 32

24,100

ПРИЛОЖЕНИЕ В

(справочное)

Предельные отклонения размеров шпоночных соединений изделий, спроектированных до 01.01.80

B.1 Допуски на размеры шпонок и пазов:

для высоты шпонки h1 - B4 ОСТ 1024;

для глубины паза вала t1 и втулки t2 - A5 - ОСТ 1015;

для диаметра сегментной шпонки D - В5 ОСТ 1025;

для диаметра паза вала под сегментную шпонку с отклонением в плюс от номинала - не более 8 % от диаметра шпонки.

B.2 Предельные отклонения размеров шпонок, пазов на валах и во втулках по ширине b должны соответствовать указанным в таблицах В.1 и В.2.

Таблица В.1

Вид соединения

Предельное отклонение размеров

Назначение посадок

шпонки

паза вала

паза втулки

Неподвижное напряженное по валу, скользящее во втулке

В3

ПШ

А3

Для индивидуального и серийного производства (общее машиностроение)

Неподвижное напряженное по валу, ходовое во втулке

ПШ1

Для массового производства (автостроение и т.п.)

Неподвижное плотное по валу, ходовое во втулке

Х3

А3

Для направляющих шпонок

Таблица В.2

Номинальная ширина шпонки и паза, мм

Предельное отклонение размеров пазов вала и втулки, мкм

ПШ

ПШ1

верхнее

нижнее

верхнее

нижнее

От 1 до 3

-10

-50

+55

+10

Св. 3 " 6

-10

-55

+65

+15

" 6 " 10

-15

-65

+75

+20

" 10 " 18

-20

-75

+85

+25

" 18 " 30

-25

-90

+100

+30

" 30 " 50

-32

-105

+120

+35

" 50 " 80

-40

-125

+140

+40

" 80 " 120

-50

-150

+160

+45

ПРИЛОЖЕНИЕ Г

(справочное)

Зависимость параметров шероховатости поверхности от допуска размера

Таблица Г.1

Допуск размера по квалитетам

Rа, мкм, не более для номинальных размеров, мм

До 18

Св. 18 до 50

Св. 50 до 120

Св. 120 до 500

IT9

3,2

3,2

6,3

6,3

IT10

3,2

6,3

6,3

6,3

IT11

6,3

6,3

12,5

12,5

IT12, IT13

12,5

12,5

25

25

IT14, IT15

12,5

25

50

50

Примечания

1 Параметр шероховатости поверхностей с неуказанными предельными отклонениями - Ra 20 мкм.

2 Параметр шероховатости дна шпоночного паза рекомендуется принимать равным Ra 6,3 мкм.

ИНФОРМАЦИОННЫЕ ДАННЫЕ

ССЫЛОЧНЫЕ НОРМАТИВНО-ТЕХНИЧЕСКИЕ ДОКУМЕНТЫ

Обозначение НТД, на который дана ссылка

Номер пункта

Обозначение НТД, на который дана ссылка

Номер пункта

ГОСТ 8786-68

А.1

ГОСТ 24117-80

А.8

ГОСТ 24109-80

А.8

ГОСТ 24119-80

ГОСТ 24110-80

ГОСТ 24120-80

ГОСТ 24111-80

ОСТ 1015

В.1

ГОСТ 24115-80

ОСТ 1024

ГОСТ 24116-80

ОСТ 1025

Ключевые слова: соединения шпоночные, сегментные шпонки, сечения шпонок и пазов, допуски и посадки




Яндекс цитирования



   Copyright © 2007-2026,  www.tehlit.ru.

[ ѓосты, стандарты, нормативы, инструкции, правила, строительные нормы ]