//
ТехЛит.ру
- крупнейшая бесплатная электронная интернет библиотека для "технически умных" людей.
WWW.TEHLIT.RU - ТЕХНИЧЕСКАЯ ЛИТЕРАТУРА

:: Алготрейдинг::


АЛГОТРЕЙДИНГ
шаг за шагом
с нуля по урокам!

Торговые роботы на PYTHON, BackTrader,
Pandas, Pine Script для TradingView. Связка с брокерами, телеграм и легкими приложениями.


ГОСТ 2408.1-95
(ИСО 625-96)

 

МЕЖГОСУДАРСТВЕННЫЙ СТАНДАРТ

ТОПЛИВО ТВЕРДОЕ

МЕТОДЫ ОПРЕДЕЛЕНИЯ УГЛЕРОДА И ВОДОРОДА

 

МЕЖГОСУДАРСТВЕННЫЙ СОВЕТ

ПО СТАНДАРТИЗАЦИИ, МЕТРОЛОГИИ И СЕРТИФИКАЦИИ
Минск

Предисловие

1. РАЗРАБОТАН МТК 179 «Уголь и продукты его переработки», Институтом горючих ископаемых, (ИГИ)

ВНЕСЕН Госстандартом России

2. ПРИНЯТ Межгосударственным Советом по стандартизации, метрологии и сертификации (протокол № 7 от 26 апреля 1995 г.)

За принятие проголосовали:

Наименование государства

Наименование национального органа по стандартизации

Республика Беларусь

Госстандарт Республики Беларусь

Республика Казахстан

Госстандарт Республики Казахстан

Российская Федерация

Госстандарт России

Украина

Госстандарт Украины

Изменение № 1 принято Межгосударственным Советом по стандартизации, метрологии и сертификации (протокол № 16 от 08.10.99)

Зарегистрировано Техническим секретариатом МГС № 3467

За принятие изменения проголосовали:

Наименование государства

Наименование национального органа по стандартизации

Азербайджанская Республика

Азгосстандарт

Республика Армения

Армгосстандарт

Республика Беларусь

Госстандарт Республики Беларусь

Киргизская Республика

Киргизстандарт

Республика Молдова

Молдовастандарт

Российская Федерация

Госстандарт России

Республика Таджикистан

Таджикстандарт

Республика Узбекистан

Узгосстандарт

3. Настоящий стандарт представляет собой полный аутентичный текст ИСО 625-96 «Уголь и кокс. Определение содержания углерода и водорода методом Либиха» и содержит дополнительные требования, отражающие потребности экономики страны

4. Постановлением Комитета Российской Федерации по стандартизации, метрологии и сертификации от 1 февраля 1996 г. № 50 межгосударственный стандарт ГОСТ 2408.1-95 (ИСО 625-96) введен в действие непосредственно в качестве государственного стандарта Российской Федерации с 1 января 1997 г.

5. ВЗАМЕН ГОСТ 2408.1-88 и ГОСТ 27044-88

6. ИЗДАНИЕ (сентябрь 2001 г.) с Изменением № 1, принятым в феврале 2000 г. (ИУС 5-2000)

Содержание:

1. Область применения

2. Нормативные ссылки

3. Определения

4. Определение углерода и водорода методом Либиха

4.1. Область применения

4.2. Сущность метода

4.3. Реактивы

4.4 Аппаратура

4.5. Приготовление пробы

4.6. Подготовка к анализу

4.7. Контрольный опыт

4.8. Проведение анализа

4.9. Обработка результатов

4.10. Точность метода

4.11. Протокол испытания

5 Ускоренный метод определения углерода и водорода

5.1. Область применения

5.2. Сущность метода

5.3. Реактивы

5.4. Аппаратура

5.5. Приготовление пробы

5.6. Подготовка к анализу

5.7. Контрольный опыт

5.8. Проведение анализа.

5.9. Обработка результатов

5.10. Точность метода

5.11. Протокол испытания

ПРИЛОЖЕНИЕ А (рекомендуемое)

Заполнение реагентами сосудов очистительной и поглотительной систем

ПРИЛОЖЕНИЕ Б (справочное)

Расчет коэффициентов, использованных при обработке результатов (4.9)

 

МЕЖГОСУДАРСТВЕННЫЙ СТАНДАРТ

ТОПЛИВО ТВЕРДОЕ

Методы определения углерода и водорода

Solid fuel. Methods for determination
of carbon and hydrogen

Дата введения 1997-01-01

1. Область применения

Настоящий стандарт распространяется на бурые и каменные угли, лигниты, антрациты, горючие сланцы, кокс и торф и устанавливает два метода определения углерода и водорода: метод Либиха и ускоренный метод.

При возникновении разногласий определение производят по методу Либиха.

Дополнения и изменения, отражающие потребности экономики страны, выделены курсивом.

2. Нормативные ссылки

В настоящем стандарте использованы ссылки на следующие стандарты:

ГОСТ 5496-78 Трубки резиновые технические. Технические условия

ГОСТ 5556-81 Вата медицинская гигроскопическая. Технические условия

ГОСТ 5583-78 (ИСО 2046-73): Кислород газообразный технический и медицинский. Технические условия

ГОСТ 5833-75 Сахароза. Технические условия

ГОСТ 6341-75 Кислота янтарная. Технические условия

ГОСТ 9147-80 Посуда и оборудование лабораторные фарфоровые. Технические условия

ГОСТ 9932-75 Реометры стеклянные лабораторные. Технические условия

ГОСТ 10521-78 Кислота бензойная. Технические условия

ГОСТ 10742-71 Угли бурые, каменные, антрацит, горючие сланцы и угольные брикеты. Методы отбора и подготовки проб для лабораторных испытаний

ГОСТ 11303-75 Торф и продукты его переработки. Метод приготовления аналитических проб

ГОСТ 11305-83 Торф. Методы определения влаги

ГОСТ 13455-91 (ИСО 925-80) Топливо твердое минеральное. Методы определения диоксида углерода карбонатов

ГОСТ 16539-79 Меди (II) оксид. Технические условия

ГОСТ 23083-78 Кокс каменноугольный, пековый и термоантрацит. Методы отбора и подготовки проб для испытаний

ГОСТ 24363-80 Калия гидроокись. Технические условия

ГОСТ 25336-82 Посуда и оборудование лабораторные стеклянные. Общие технические условия

ГОСТ 27313-95 Топливо твердое минеральное. Обозначение показателей качества и формулы пересчета результатов анализа для различных состояний топлива

ГОСТ 27314-91 (ИСО 589-81) Топливо твердое минеральное. Методы определения влаги

ГОСТ 27589-91 (ИСО 687-74) Кокс. Метод определения влаги в аналитической пробе

(Измененная редакция, Изм. № 1).

3. Определения

3.1. Углерод органический (Со) - массовая доля углерода в органической массе топлива

3.2. Углерод неорганический (Смм) - массовая доля углерода в карбонатах минеральной массы топлива

3.3. Углерод общий (Сt) - сумма органического и неорганического углерода топлива

3.4. Водород органический (Но) - массовая доля водорода в органической массе топлива

3.5. Водород неорганический (Нмм) - массовая доля водорода, входящего в состав гидратной воды минеральной массы топлива

3.6. Водород общий (Нt) - сумма органического и неорганического водорода топлива

4. Определение углерода и водорода методом Либиха

4.1. Область применения

Метод Либиха применяют для определения содержания общего углерода и водорода в каменном и буром угле, лигните, коксе, антраците, горючих сланцах и торфе (далее - твердом топливе). Результаты определения включают углерод из карбонатов минеральной массы и водород, входящий в состав аналитической влаги и гидратной воды силикатов. Одновременно определяют аналитическую влагу в топливе и в значение содержания водорода, полученное при сжигании, вводят поправку. Определяют диоксид углерода из карбонатов и для получения органического углерода в величину общего углерода вводят поправку на содержание углерода в карбонатах минеральной массы.

Альтернативными методами определения содержания углерода и водорода является метод сжигания при высокой температуре по ИСО 609 и ускоренный метод по разделу 5.

1 - стеклянная вата; 2 - диоксид .марганца; 3 -шлиф

Рисунок 1 - Предохранительная трубка

4.2. Сущность метода

Пробу сжигают в медленном токе кислорода (12 см3/мин) при условии продвижения зоны нагрева лодочки с навеской по ходу тока кислорода: продукты неполного сгорания дожигают над оксидом меди; весь водород превращается в воду, весь углерод - в диоксид углерода. Эти продукты поглощают соответствующими реагентами и определяют гравиметрически. Оксиды серы удерживаются хроматом свинца, хлор-серебряной сеткой, а оксиды азота - гранулированным диоксидом марганца.

Примечание: Оксиды азота, образующиеся в процессе горения, если не приняты специальные меры предосторожности, поглощаются натронным асбестом (или аскаритом) и определяются как диоксид углерода. Вызванная этим ошибка при определении углерода (около 0,2 %) может быть снижена при применении предохранительной трубки (рисунок 1), в которой газы проходят по кольцеобразному пространству; монооксид азота окисляется до диоксида и поглощается диоксидом марганца.

Если вода конденсируется в первом поглотителе, некоторое количество диоксида азота растворяется в ней и его принимают за воду.

Вызванная этим ошибка при определении водорода с уче­том коэффициента пересчета от воды к водороду незначительна и составляет около 0,05 % водорода. Этого можно избежать, если нагреть поглотительную трубку до температуры, достаточной для предотвращения конденсации влаги.

4.1., 4.2. (Измененная редакция, Изм. № 1).

4.3. Реактивы

Все реактивы должны быть квалификации ч.д.а. Для анализа применяют дистиллированную воду.

4.3.1. Перхлорат магния безводный Mg(ClO4)2, ангидрон, без пыли; частицы с размерами не более 1,2 мм, предпочтительно от 1,2 до 0,7 мм.

Допускается применять ангидрон с размерами частиц от 0,7 до 3,0-4,0 мм в зависимости от вида применяемых сосудов в поглотительной и очистной системах (приложение).

Примечание: Не разрешается регенерировать ангидрон из-за его пожаро- и взрывоопасности.

По мере отработки ангидрон оплавляется.

Отработанный ангидрон следует вымыть из раковины струей воды.

4.3.2. Натронный асбест, аскарит, частицы с размером от 1,5 до 3,0, но не менее 1,2 мм. Допускается применять аскарит с размером частиц от 0,7 до 3,0-4,0мм в зависимости от вида применяемых сосудов в поглотительной и очистительной системах (приложение).

По мере отработки цвет аскарита изменяется от светло-коричневого до белого.

4.3.1., 4.3.2. (Измененная редакция, Изм. № 1).

4.3.3. Диоксид марганца (МnО2) гранулированный.

Диоксид марганца готовят из сульфата марганца, который растворяют в воде при кипячении, подщелачивают разбавленным раствором аммиака и в кипящий раствор добавляют небольшими порциями порошкообразный персульфат аммония до полного осаждения диоксида марганца. Осадок отфильтровывают через плотный фильтр, промывают декантацией последовательно водой, разбавленной серной кислотой, и снова водой до освобождения от серной кислоты. Мокрый осадок переносят в фарфоровую чашку, помещают в печь и выпаривают основную часть воды до влажного состояния осадка. Массу прессуют с помощью пестика, формуя лепешку, затем полностью высушивают, осторожно измельчают и просеивают для отделения частиц размером от 1,2 до 0,7 мм.

4.3.4. Медная сетка с размером отверстий приблизительно 1 мм, лента шириной 10 мм.

4.3.5. Оксид меди (II) в виде проволоки диаметром приблизительно 0,2 мм, нарезанной на кусочки длиной приблизительно 3 мм, или гранулированный по ГОСТ 16539.

4.3.4., 4.3.5. (Измененная редакция, Изм. № 1).

4.3.6. Свинец хромовокислый (Pb CrО4) гранулированный или плавленый с размером частиц от 1,2 до 2,4 мм (допускается до 5 мм).

Свинец хромовокислый плавленый, готовят из порошкообразного хромовокислого свинца, который насыпают в фарфоровые тигли (не более половины объема) и расплавляют в муфельной печи при температуре 850-900 °С. Затем с помощью тигельных щипцов расплав быстро, но осторожно выпивают на металлический противень. Застывшую массу измельчают до получения кусков от 1,2 до 5 мм.

4.3.7. Сетка из чистого серебра с отверстиями размером 1 мм, изготовленная из проволоки диаметром 0,3 мм.

4.3.8. Кислород газообразный в баллоне по ГОСТ 5583, не содержащий водорода.

Кислород получен методом глубокого охлаждения воздуха. Применение кислорода, полученного методом электролиза воды, не допускается

4.3.9. Диоксид свинца (IV) РbО2, гранулированный.

4.3.10. Вата стеклянная или хлопковая по ГОСТ 5556.

4.3.11. Кислота янтарная по ГОСТ 6341 или бензойная по ГОСТ 10521, или сахароза по ГОСТ 5833, ч.д.а.

Кислоты янтарную, бензойную и сахарозу высушивают при 105-110°С до постоянной массы и хранят в эксикаторе над осушающим веществом.

4.3.12. Асбест волокнистый, прокаленный при 850°С. Хранят в эксикаторе над осушающим веществом.

4.4 Аппаратура

4.4.1 Очистительная система. Для очистки кислорода от водяных паров и диоксида углерода собирают систему, состоящую из U-образных трубок, наполненных следующими реагентами в установленном порядке по ходу кислорода:

1 ангидрон (4.3.1.) для поглощения воды, содержащейся в кислороде;

2 аскарит (4.3.2.) для поглощения диоксида углерода, содержащегося в кислороде;

3 ангидрон (4.3.1.) для поглощения воды, выделяющейся по реакции между диоксидом углерода и аскаритом.

В качестве сосудов очистительной системы применяют:

трубки стеклянные типа ТХ-И-2-(или 3)-200 по ГОСТ 25336;

стеклянные типа СПЖ, СПТ и СН-1 или 2 по ГОСТ 25336.

Вместимость сосудов должна быть достаточной для того, чтобы смену реагентов производить не чаще, чем через 100 определений.

(Измененная редакция, Изм. № 1).

4.4.2. Установка для сжигания.

4.4.2.1. Печи

Печи трубчатые электрические для раздельного нагрева отдельных частей трубки для сжигания. Установка для определения углерода и водорода. Состоит из трех печей, каждая из которых обеспечивает устойчивый нагрев определенного участка трубки до заданной температуры: первая до 925°С (для рабочей зоны печи 250 мм), вторая - до 800°С (500 мм), третья - до 500 °С (200 мм).

В середине кожуха каждой печи должно быть предусмотрено отверстие для помещения термопар диаметром 9-10 мм и глубиной 0,7-0,8 толщины изоляционного слоя. Термопару укрепляют в отверстие так, чтобы ее горячий спай не касался дна отверстия.

4.4.2.2. Печь нагревательная электрическая (муфта) длиной 40-45 мм, обеспечивающая нагрев с 200°С или газовая горелка, или спиртовка.

4.4.2.3. Трубка для сжигания из плавленого кварцевого или термостойкого стекла длиной 1,25л диаметром от 12 до 15 мм.

Конец трубки, обращенный к поглотительной системе, может быть оттянут таким образом, чтобы наружный диаметр составил 4-5 мм при внутреннем 2-3 мм и длине 40-60 мм.

4.4.2.1. - 4.4.2.3. (Измененная редакция, Изм. № 1).

4.4.2.4. Лодочка для сжигания фарфоровая неглазурованная ЛС1 или ЛС2 по ГОСТ 9147, или кварцевая, или платиновая длиной (70+10) мм. Лодочки прокаливают до постоянной массы и хранят в эксикаторе с осушающим веществом.

4.4.3. Поглотительная система

4.4.3.1. Устройство для поглощения воды и диоксида углерода, выделяющихся при сгорание пробы, состоит из сосудов, наполненных следующими реагентами в установленном порядке по ток) газов.

1 ангидрон (4.3.1.) для поглощения воды, выделяющейся в процессе сгорания;

2 гранулированный диоксид марганца (4.3.3.) для поглощения диоксидов азота;

3 ангидрон (4.3.1.) для поглощения воды, выделяющейся при взаимодействии диоксида марганца с оксидами азота;

4 аскарит (4.3.2.) для поглощения диоксида углерода;

5 ангидрон (4.3.1.) для поглощения воды, выделяющейся по реакции между диоксидом углерода и аскаритом.

4.4.3.2. Типичная поглотительная система, представленная на рисунке 2, состоит из трубки Мидвейла (рисунок 3). Диоксид углерода поглощается в сосуде D, ангидрон в верхней части сосуда D служит для поглощения воды, выделяющейся по реакции между диоксидом углерода и аскаритом. Для уверенности в полноте поглощения диоксида углерода в поглотительную систему помещают второй абсорбер Е с аскаритом.

4.4.3.1., 4.4.3.2. (Измененная редакция, Изм. № 1).

4.4.3.3. Вместо трубок Мидвейла в качестве сосудов поглотительной системы разрешается использовать трубки стеклянные типа ТХ-И-2 (или 3)-150 по ГОСТ 25336.

1 - стеклянная вата; 2- ангидрон; 3 - диоксид марганца; 4- аскарит

Рисунок 2 - Поглотительная система

4.4.3.4. Сосуды поглотительной системы должны отвечать следующим требованиям:

поглощение образующихся паров воды и диоксида углерода должно быть полным;

масса сосуда с поглотителем не должна превышать 190 г.

4.4.4. Регулятор скорости потока кислорода. Обычно достаточно использовать редуктор на кислородном баллоне и игольчатый клапан непосредственно перед очистительной системой, обеспечивающей тонкую регулировку подачи газа.

4.4.4.1. Реометр стеклянный лабораторный для контроля за скоростью потока кислорода до 100 см3/мин по ГОСТ 9932.

(Измененная редакция, Изм. № 1).

4.4.4.2. Для визуального определения скорости потока кислорода и предотвращения попадания атмосферной влаги в установку используют барботерное устройство. В качестве барботерного устройства применяют сосуд-счетчик пузырьков типа СН или СВТ по ГОСТ 25336, заполненный концентрированной серной кислотой. Допускается заполнять счетчик пузырьков 1 %-ным раствором хлористого палладия для контроля за полнотой сгорания (в присутствии СО раствор мутнеет и темнеет).

4.4.5. Весы аналитические с погрешностью взвешивания не более 0,1 мг. Допускается применять весы с погрешностью взвешивания не более 0,2 мг.

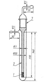
4.4.6. Пробирка стеклянная с пришлифованной пробкой для хранения лодочки с навеской (рисунок 4).

4.4.7. Тигель фарфоровый № 6 по ГОСТ 9147.

1 - цветная отметка; 2 - пустотелая пробка

Рисунок 3 - Трубка Мидвейла

1 - пробирка; 2 - шлиф; 3 - лодочка с навеской

Рисунок 4 - Пробирка для хранения лодочки с навеской

Чашка фарфоровая № 7 по ГОСТ 9147.

4.4.8. Крючок из жароупорной проволоки, с помощью которого помещают и извлекают из трубки для сжигания лодочку и пробку из медной сетки.

4.4.9. Трубки резиновые с внутренним диаметром 2-3 мм по ГОСТ 5496.

4.4.10. Палочки стеклянные длиной 20-30 мм и диаметром 4-5 мм.

4.4.11. Преобразователь термоэлектрический по ГОСТ 3044 (термопара) для измерения температуры до 1000°С с измерительным устройством.

4.4.12. Склянка 4 или 5-20 (газометр) по ГОСТ 25336.

4.4.13. Пробка в виде рулона из медной сетки (4.3.4.) длиной 10 мм для удержания реагентов в трубке для сжигания. Пробка должна плотно прилегать к стенкам трубки.

4.4.14. Спираль из медной сетки (4.3.4.). Через центр спирали пропускают медную проволоку для облегчения удаления спирали из трубки для сжигания.

4.4.15. Спираль из серебряной сетки для поглощения хлора длиной 100 мм. Через центр спирали пропускают серебряную проволоку для облегчения удаления спирали из трубки. Спираль должна плотно прилегать к стенкам трубки для сжигания.

4.4.13. -4.4.15. (Введены дополнительно, Изм. № 1).

4.5. Приготовление пробы

Для определения углерода и водорода используют аналитическую пробу топлива, измельченного до 0,2 мм.

Аналитическую пробу топлива приготавливают в зависимости от вида топлива по ГОСТ 10742, ГОСТ 11303 или ГОСТ 23083.

Пробу выдерживают в тонком слое минимально необходимое время для достижения приблизительного равновесия между влагой пробы и влажностью атмосферы в лаборатории.

Перед выполнением определения воздушно-сухую пробу тщательно перемешивают не менее 1 мин, предпочтительно механическим способом. Одновременно проводят определение аналитической влаги в зависимости от вида топлива по ГОСТ 27314, ГОСТ 27589 или ГОСТ 11305.

4.6. Подготовка к анализу

4.6.1. Подготовка трубки для сжигания

4.6.1.1. В трубке для сжигания выделяют три основные зоны: зона горения - незаполненная часть трубки, в которую помещают лодочку с навеской; зона доокисления - наполненная твердым окислителем, (оксид меди) для обеспечения полноты сгорания; зона очистки газов сгорания - наполненная для поглощения оксидов серы хромовокислым свинцом и для поглощения хлора - серебряной сеткой или диоксидом свинца. Эти зоны отдаляют друг от друга пробками из окисленной медной сетки или прокаленного волокнистого асбеста.

4.6.1.2. Установление температуры нагрева внутри трубки

Соответствие температуры, измеряемой термопарой, находящейся в кожухе печи, температуре внутри трубки для сжигания устанавливают с помощью контрольной термопары.

Контрольную термопару помещают в пустую трубку так, чтобы ее спай находился в середине испытуемой зоны.

Постепенно нагревая электропечь до необходимой температуры, записывают через каждые 10°С показания термопары, находящейся в кожухе, и соответствующие им показания контрольной термопары.

Для каждой печи строят график зависимости температуры в кожухе от фактической температуры внутри трубки сжигания.

4.6.1.3. Заполнение трубки для сжигания

Заполнение трубки производят с конца, обращенного к поглотительной системе.

Трубку для сжигания (4.4.2.3.) длиной 1,25 м, диаметром от 12 до 15 мм делят на участки следующих размеров (рисунок 5):

10 мм - для резиновой пробки;

300 мм - пустое пространство; над этой частью трубки перемещают подвижную печь;

80 мм - для спирали из медной сетки (4.4.14.);

70 мм - для лодочки с навеской;

50 мм - пустое пространство;

10 мм - для пробки из медной сетки (4.4.13.);

450 мм - для оксида меди (4.3.5.);

10 мм - для пробки из медной сетки (4.4.13.);

100 мм - для хромата свинца (4.3.6.);

10 мм - для пробки из медной сетки (4.4.13.); .

100 мм - для спирали из серебряной сетки (4.4.15.);

50 мм - пустое пространство; этот участок трубки снаружи покрывают теплоизоляционным материалом для предотвращения конденсации паров воды или помещают в печь (муфту) (4.4.2.2.);

10 мм - для термостойкой пробки.

Распределение участков в трубке приведено на рисунке 5.

1 - резиновая пробка; 2 - пустое пространство; 3 - спираль из медной сетки; 4 - лодочка с навеской;
5- пустое пространство; 6, 8, 10- пробка в виде рулона из медной сетки; 7- оксид меди; 9 - хромат свинца; 11 - спираль из серебряной сетки; 12 - пустое пространство; 13 -термостойкая пробка

Рисунок 5 - Распределение участков в трубке для сжигания

Примечание: Спираль и пробки из медной сетки (4.3.4.) окисляют в токе кислорода во время предварительного нагревания трубки при подготовке ее к работе;

(Измененная редакция, Изм. № 1).

4.6.1.4., 4.6.1.5. (Исключены, Изм. № 1).

4.6.2. Газометр (4.4.12.) наполняют кислородом (4.3.8.).

4.6.3. Сборка установки

Кислород подают из газометра (4.4.12.) или непосредственно из баллона.

Устанавливают печи (4.4.2.1.) так, чтобы первая находилась над спиралью из медной сетки (в начале трубки для сжигания по ходу кислорода), вторая - над оксидом меди, третья - над хромовокислым свинцом. Муфту (4.4.2.2.) помешают в конце трубки для сжигания над реактивами для поглощения хлора.

Первая печь может свободно перемешаться вдоль трубки.

Примечания:

1. В очистительной и поглотительной системах должны применяться одни и те же реактивы для поглощения воды и диоксида углерода.

2. При сборке установки все соединения выполняют встык «стекло к стеклу» при помощи толстостенной эластичной резиновой трубки. Боковые отводы сосудов очистительной и поглотительной систем должны иметь одинаковый наружный диаметр.

(Измененная редакция, Изм. № 1).

4.6.4. Проверка установки на герметичность

Для проверки установки на герметичность к трубке для сжигания присоединяют поглотительную систему и пропускают ток кислорода (1-2 пузырька в секунду), не включая обогрев печей и закрыв открытый конец последнего по ходу кислорода сосуда с помощью резиновой трубки со вставленной в нее стеклянной палочкой.

В герметичной системе через 3-4 мин ток кислорода через установку должен прекратиться. Если это условие не обеспечивается, установку проверяют на герметичность по частям. Начинают с поглотительной системы, отъединяя сосуды один за другим, каждый раз закрывая свободный отросток крайнего сосуда пробкой со вставленной в нее стеклянной палочкой. После устранения неисправности поглотительные сосуды присоединяют к установке и систему вновь проверяют на герметичность.

4.6.5. Прокаливание трубки для сжигания. Прокаливание трубки для сжигания проводят для удаления влаги и очистки реагентов от органических загрязнений.

К трубке для сжигания присоединяют барботерное устройство (счетчик пузырьков 4.4.4.2.). Нагревают печи, как указано в 4.4.2.1. Прокаливание трубки ведут при скорости тока кислорода 12 см3/мин в течение 3-4 ч.

После заполнения трубки для сжигания свежими реагентами каждый раз проверяют герметичность системы, прокаливают трубку для сжигания в токе кислорода и проводят контрольное определение. Предварительно приводят сосуды поглотительной системы в рабочее состояние.

4.6.6. Подготовка сосудов поглотительной системы

После наполнения сосудов поглотительной системы свежими реагентами сосуды присоединяют к установке, находящейся в рабочем состоянии, и продувают кислородом в течение 20 мин. Скорость тока кислорода должна быть такой же, как при проведении анализа (12 см3/мин). Затем на концы соединительных отростков поглотительных приборов надевают отрезки резиновых трубок, закрытых с одной стороне оплавленными стеклянными палочками, и помещают около весов.

После продувки поглотительные приборы должны находиться в рабочем состоянии (наполнены кислородом и отъединены от атмосферы).

Примечание: Продувка поглотительных приборов кислородом в течение 20 мин является достаточной для доведения их массы до постоянного значения.

4.6.5., 4.6.6. (Измененная редакция, Изм. № 1).

4.6.7. Взвешивание поглотительных приборов

Порядок взвешивания поглотительных приборов до и после анализа должен быть одинаковым.

Поглотительные сосуды следует взвешивать наполненными кислородом до и после определения (рабочее состояние приборов).

Перед взвешиванием поглотительные приборы должны находиться в рабочем состоянии около весов в течение 20 мин. Затем каждый прибор протирают чистой тканью и быстро взвешивают, сняв на время взвешивания резиновые трубки со стеклянными палочками. После взвешивания приборы быстро закрывают с двух сторон резиновыми трубками со вставленными в них стеклянными палочками.

4.7. Контрольный опыт

Целью контрольного опыта является оценка чистоты, трубки для сжигания после прокаливания.

Присоединяют подготовленные по 4.6.6. и взвешенные по 4.6.7. поглотительные приборы к установке и пропускают ток кислорода (12 см3/мин) в течение 2 ч при рабочих температурах печей (4.4.2.1.). Поглотительные приборы снова взвешивают. Изменение массы сосудов не должно превышать ±0,5 мг. В противном случае продолжают прокаливать трубку до получения указанных изменений массы поглотительных приборов.

(Измененная редакция, Изм. № 1).

4.7.1. Для проверки готовности установки к проведению анализов сжигают химически чистое вещество известного состава (4.3.11.).

Содержание углерода и водорода не должно отличаться от известного состава вещества более чем на 0,25 % для водорода и 0,50 % - для углерода.

4.8. Проведение анализа

При проведении анализа режим сжигания навески регулируется:

изменением положения первой печи по отношению к лодочке с навеской или

изменением температуры первой печи с одновременным изменением положения этой печи по отношению к лодочке с навеской.

4.8.1. Проведение анализа с использованием первого режима сжигания

4.8.1.1. Ежедневно в начале определения температуру печей поднимают до (925±10), (800±10), (500±10)°С соответственно.

Устанавливают скорость тока кислорода 12 см3/мин.

Присоединяют приборы поглотительной системы, продувают кислородом в течение 20 мин, отсоединяют их и взвешивают. Первую печь выключают и охлаждают.

4.8.1.2. Навеску топлива 0,2-0,3 г равномерно распределяют по дну предварительно прокаленной лодочки и взвешивают.

Взвешенные поглотительные приборы присоединяют к трубке для сжигания.

Помещают лодочку и спираль из медной сетки в трубку для сжигания, соединяют трубку с очистительной системой и пропускают ток кислорода со скоростью 12 см3/мин.

Включают первую печь и начинают сжигание, нагревая спираль из медной сетки. Когда температура печи достигает 800°С, постепенно начинают перемещать печь вперед (по ходу кислорода), чтобы покрыть лодочку с навеской.

В процессе сжигания сохраняют равномерный ток кислорода по всей системе.

Продолжают нагревание до тех пор, пока весь видимый углерод не исчезнет и участок трубки для сжигания, в котором находится проба, не достигнет температуры 925°С.

После окончания сгорания первую печь выключают, охлаждают выходной конец трубки для сжигания, отсоединяют поглотительные приборы и взвешивают их.

Примечание: Для полного сгорания проб угля обычно достаточно 2 ч, для большинства видов кокса - 1ч.

Тщательно исследуют золу в лодочке. При обнаружении несгоревших частиц анализ повторяют.

4.8.1.1., 4.8.1.2. (Измененная редакция, Изм. № 1).

4.8.2. Проведение анализа с использованием второго режима сжигания

4.8.2.1. Установку приводят в рабочее состояние:

первую печь помещают над спиралью из медной сетки и устанавливают температуру первой печи в зависимости от выхода летучих веществ анализируемого вещества: 300°С при Vdaf более 15% и 400°С при Vdaf менее 15 %;

температуру второй печи устанавливают (800±10)°С и третьей - (500±10)°С; при анализе топлива с массовой долей хлора менее 0,2 % температуру муфты - 105-110°С, более 0,2 % - (200±10)°С при поглощении хлора диоксидом свинца и (150±10)°С - при поглощении хлора серебряной сеткой;

устанавливают скорость тока кислорода 12 см3/мин.

(Измененная редакция, Изм. № 1).

4.8.2.2. До начала определения, но после приведения установки в рабочее состояние (4.8.2.1) присоединяют поглотительные приборы и продувают их кислородом в течение 20 мин, затем отсоединяют и взвешивают.

Взвешивают навеску 0,2-0,3 г топлива по 4.8.1.2, помещают лодочку с навеской в пробирку для хранения (рисунок 4) и закрывают пробкой.

4.8.2.3. Анализ начинают, присоединяя взвешенные поглотительные приборы, и сосуд-счетчик пузырьков для контроля за скоростью тока кислорода.

Открывают трубку для сжигания со стороны, обращенной к очистительной системе, вынимают спираль из медной сетки. Помещают в трубку лодочку с навеской между первой и второй печью, снова вставляют спираль из медной сетки и плотно соединяют трубку с очистительной системой.

(Измененная редакция, Изм. № 1).

4.8.2.4. Процесс сжигания навески регулируют изменением температуры первой печи и положением этой печи по отношению к лодочке с навеской (таблица).

Таблица

Vdaf

У переднего края лодочки

Надвинута на 1/3 длины лодочки

Надвинута на 2/3 длины лодочки

Полностью закрывает лодочку

Время, мин

Температура, °С

Время, мин

Температура, °С

Время, мин

Температура, °С

Время, мин

Температура, °С

До 15

Свыше 15

5

5

400

300

60

40

400-700

300-600

10

10

700-925

600-925

60

40

925

925

Примечания:

1. Температуру печей повышают равномерно в течение времени, указанного в таблице.

2. В период интенсивного горения навески скорость тока кислорода в поглотительной системе резко снижается. Для сохранения равномерного тока кислорода в системе в этот период увеличивают скорость подачи кислорода, доводя ее в поглотительной цепи до 2-3 пузырьков в секунду.

4.8.2.5. За 10 мин до окончания испытания первую печь вплотную пододвигают ко второй, а нагретую муфту постепенно передвигают к концу трубки, сгоняя сконденсировавшуюся влагу в сосуд для поглощения воды.

При содержании хлора менее 0,2% вместо муфты можно использовать газовую горелку или спиртовку для предотвращения конденсации влаги в трубке.

4.8.2.6. После полного сгорания пробы первую печь помещают над спиралью из медной сетки, которую прокаливают несколько минут, а затем первую печь выключают.

Поглотительные сосуды отсоединяют, закрывают боковые отводы резиновыми трубками со вставленными в них оплавленными стеклянными палочками и взвешивают (4.6.7.).

После отсоединения сосудов открытый конец трубки для сжигания немедленно соединяют с сосудом - счетчиком пузырьков, наполненным серной кислотой.

Открывают трубку для сжигания со стороны очистительной системы и с помощью крючков из жаропрочной проволоки осторожно вынимают лодочку. Лодочку освобождают от золы. При обнаружении несгоревших частиц анализ повторяют.

4.8.2.7. Уменьшают ток кислорода, выключают электрический ток в печах и после полного остывания печей прекращают подачу кислорода.

При проведении серии анализов после окончания сжигания пробы температуру первой печи снижают до 300-400°С, первую печь оставляют над спиралью из медной сетки, подачу кислорода не прекращают.

Установка находится в рабочем состоянии и полностью готова для проведения следующего определения.

4.8.2.6., 4.8.2.7. (Измененная редакция, Изм. № 1).

4.9. Обработка результатов

4.9.1. Массовую долю общего углерода в аналитической пробе топлива () в процентах вычисляют по формуле

где m1 - масса навески топлива, г;

m2 - суммарное увеличение массы сосудов, предназначенных для поглощения диоксида углерода, г;

0,2729 - коэффициент пересчета массы СО2 на С.

Массовую долю органического углерода в аналитической пробе топлива () в процентах вычисляют по формуле

где (СО2)а - массовая доля диоксида углерода карбонатов в аналитической пробе топлива, определяемая по ГОСТ 13455, %.

Примечание: Расчет коэффициента, используемого в формуле, приведен в пункте Б.2. приложения Б.

4.9.2. Массовую долю общего водорода в аналитической пробе топлива () в процентах вычисляют по формуле

где m3 - увеличение массы сосуда, предназначенного для поглощения влаги, г;

0,1119 - коэффициент пересчета массы Н2О на Н;

Wa - массовая доля влаги в аналитической пробе топлива, определяемая по 4.5., %. Массовую долю органического водорода в аналитической пробе топлива  в процентах вычисляют по формуле

где  - массовая доля гидратной влаги в аналитической пробе топлива, %.

Примечание: Расчет коэффициента, используемого в формуле, приведен в приложении Б (пункт Б.3.).

4.9.1., 4.9.2. (Измененная редакция, Изм. № 1).

4.9.3. За результат определения принимают среднее арифметическое результатов двух определений (4.10.) с точностью до 0,1% при определении массовой доли углерода и с точностью до 0,01% при определении массовой доли водорода.

4.9.4. Пересчет результатов определения массовой доли углерода и водорода на другие состояния топлива производят по ГОСТ 27313.

4.10. Точность метода

Элемент

Максимально допустимое расхождение между результатами (для одинаковой массовой доли влаги), %

Сходимость (в одной лаборатории)

Воспроизводимость (в разных лабораториях)

Углерод

Водород

0,25

0,12

0,50

0,25

Измененная редакция, Изм. № 1).

4.10.1. Сходимость

Результаты двух измерений, выполненных в разное время в одной и той же лаборатории, одним лаборантом при использовании одной и той же аппаратуры на предварительных навесках, взятых из одной и той же аналитической пробы, не должны отличаться более чем на значение, указанное в таблице.

4.10.2. Воспроизводимость

Среднее значение результатов двух измерений, выполненных в двух разных лабораториях на представительных навесках, взятых из одной и той же пробы после последней стадии ее приготовления, не должны отличаться более чем на значение, указанное в таблице.

4.10.3. Если расхождение между результатами двух определений превышает значения, приведенные в таблице, проводят третье определение. За результат принимают среднее арифметическое значение двух наиболее близких результатов в пределах допускаемых расхождений.

Если результат третьего определения находится в пределах допускаемых расхождений по отношению к каждому из двух предыдущих результатов, за окончательный результат анализа принимают среднее арифметическое значение результатов трех определений.

4.11. Протокол испытания

Протокол испытания должен включать следующую информацию:'

а) ссылку на применяемый метод;

б) результаты и способ их выражения;

в) особенности, замеченные при определении;

г) операции, не включенные в настоящий стандарт или необязательные.

5 Ускоренный метод определения углерода и водорода

5.1. Область применения - по 4.1.

5.2. Сущность метода

Ускоренный метод определения углерода и водорода основан на полном сжигании навески топлива в быстром токе кислорода (180-200 см3/мин) в присутствии твердого окислителя (оксид меди или хрома), при условии продвижения зоны нагрева лодочки с навеской навстречу току кислорода и последующем гравиметрическом определении массы образующихся при этом диоксида углерода и воды.

В отличие от метода Либиха в процессе сжигания не образуются оксиды азота в количествах, мешающих определению углерода и водорода (примечание к 4.2.).

5.3. Реактивы

Все реактивы должны быть квалификации ч.д.а. Для анализа применяют дистиллированную воду.

5.3.1. Перхлорат магния, ангидрон по 4.3.1.

5.3.2. Натронный асбест, аскарит по 4.3.2.

5.3.3. Медная сетка по 4.3.4.

5.3.4. Оксид меди (II) (CuO) в виде проволоки или гранулированный по 4.3.5.

5.3.5. Оксид меди (II) (CuO) порошкообразный по ГОСТ 16539; прокаливают при 800°С в течение 2 ч и хранят в эксикаторе над осушающим веществом.

5.3.6. Аммоний хромовокислый по ГОСТ 3774 или аммоний двухромовокислый по ГОСТ 3763 для приготовления порошкообразного и гранулированного оксида хрома.

Хромовокислый или двухромовокислый, аммоний помещают в фарфоровую чашку и нагревают на электрической плитке до образования оксида хрома. Полученный оксид хрома растирают и прокаливают в муфельной печи при 750-800°С в течение 1,5-2 ч. Хранят в банке с притертой крышкой в эксикаторе над осушающим веществом.

Для приготовления гранулированного оксида хрома порошок прессуют в брикеты, измельчают до размера частиц 3-5 мм, отсеивают мелочь и хранят в стеклянной банке с притертой пробкой в эксикаторе.

5.3.7. Свинец хромовокислый по 4.3.6.

5.3.8. Сетка серебряная по 4.3.7.

5.3.9. Диоксид свинца (IV) (PbO2) по 4.3.9.

5.3.10. Вата стеклянная или хлопковая по 4.3.10.

5.3.11. Кислота янтарная, бензойная или сахароза по 4.3.11.

5.3.12. Асбест волокнистый по 4.3.12.

5.3.13. Кислота серная по ГОСТ 4204, плотностью 1,84 г/см3.

5.3.14. Калия гидроксид по ГОСТ 24363, 40 %-ный раствор.

5.3.15. Кислород газообразный по 4.3.8.

5.4. Аппаратура

5.4.1. Трубка для сжигания из плавленого кварцевого или термостойкого стекла длиной от 750 до 1000 мм, внутренним диаметром от 15 до 20 мм и толщиной стенок 1,5-2,5 мм.

5.4.2. Лодочки для сжигания по 4.4.2.4.

5.4.3. Печи трубчатые электрические по 4.4.2.1.

Допускается использовать электрические печи для микроанализа типа СУОЛ 0,25.1/12 МР с длиной рабочей зоны 110 мм и внутренним диаметром 25 мм. В этом случае установка для определения углерода и водорода ускоренным методом состоит из четырех печей, длина рабочих зон которых, соответственно, составляет: 1-й - 110 мм, 2-й (две печи) - 220 мм, 3-й - 110 мм.

5.4.4. Печь электрическая (муфта) по 4.4.2.2.

5.4.5. Реометр стеклянный лабораторный для поддержания постоянной скорости тока кислорода от 180 до 220 см3/мин по ГОСТ 9932.

5.4.6. Вентиль запорно-регулировочный с игольчатым затвором, обеспечивающий тонкую регулировку подачи кислорода из баллона в установку.

5.4.7. Сосуд-счетчик пузырьков по 4.4.4.2.

5.4.8. Весы аналитические по 4.4.5.

5.4.9. Пробирка стеклянная по 4.4.6.

5.4.10. Тигель фарфоровый по 4.4.7.

5.4.11. Крючок из жаропрочной проволоки по 4.4.8.

5.4.12. Трубки резиновые по 4.4.9.

5.4.13. Палочки стеклянные по 4.4.10.

5.4.14. Термопреобразователь (термопара) по 4.4.11.

5.4.15. Устройство для очистки кислорода от воды и диоксида углерода (далее - очистительная система), состоящее из сосудов, наполненных соответствующими реагентами.

В качестве сосудов очистительной системы применяют трубки стеклянные типа TX-U-2-200 по ГОСТ 25336, склянки типа СВТ и СН-2 по ГОСТ 25336.

Вместимость сосудов должна быть достаточной для смены реагентов не чаще, чем через 100 определений.

5.4.16. Устройство для поглощения воды и диоксида углерода, выделяющихся при сжигании пробы (далее - поглотительная система), состоящее из сосудов, наполненных соответствующими реагентами.

Сосуды поглотительной системы должны отвечать следующим требованиям:

поглощение образующихся паров воды и диоксида углерода должно быть полным;

масса сосуда с поглотителем не должна превышать 190 г.

В качестве сосудов поглотительной системы применяют трубки стеклянные типа TX-U-2-15C по ГОСТ 25336 для сухих поглотителей и приборы ПС и ПГ по ГОСТ 25336 для жидки; поглотителей.

5.5. Приготовление пробы- по 4.5.

5.6. Подготовка к анализу

5.6.1. Подготовка трубки для сжигания

5.6.1.1. По 4.6.1.1.

5.6.1.2. По 4.6.1.2.

5.6.1.3. Заполнение трубки для сжигания производят с конца, обращенного к поглотительной системе.

Трубку для сжигания длиной 800 мм и внутренним диаметром от 15 до 20 мм делят на участки следующих размеров:

10 мм - пространство для резиновой пробки;

50 мм - свободное пространство;

10 мм - пробка из медной сетки;

150 мм - хромовокислый свинец;

10 мм - пробка из медной сетки;

350 - оксид меди или хрома в проволоке или гранулированный;

10 мм - пробка из медной сетки;

200 мм - свободное пространство, в котором помещают лодочку с навеской;

10 мм - пространство для резиновой пробки.

При применении четырех печей типа СУОЛ 0,25 1,1/12 МР длина слоя хромовокислого свинца составляет 110 мм, а оксида меди или хрома - 220 мм.

При анализе топлива, содержащего более 0,2% хлора, в свободное пространство конца трубки, обращенного к поглотительной системе, помешают пробку из серебряной сетки длиной 30 мм или насыпают слой (20-30 мм) гранулированного диоксида свинца и вставляют пробку из медной сетки (10 мм).

Оба конца трубки для сжигания закрывают резиновыми пробками со вставленными в них оплавленными на концах стеклянными палочками.

5.6.1.4. Масса оксида меди или хрома должна быть не менее 50 г, а хромовокислого свинца - не менее 25 г. В этом случае достигается проведение не менее 100 определений без замены реагентов.

5.6.2. Сборка очистительной системы

Наполняют сосуды очистительной системы поглотителями и устанавливают их в следующем порядке по ходу кислорода:

ангидроном (5.3.1.) или серной кислотой (5.3.13.) - для поглощения влаги, содержащейся в кислороде;

аскаритом (5.3.2.) или раствором гидроксида калия (5.3.14.) - для поглощения диоксида углерода, содержащегося в кислороде;

ангидроном или серной кислотой - для поглощения воды, выделяющейся при реакции между диоксидом углерода и аскаритом или из раствора гидроксида калия.

5.6.3. Сборка поглотительной системы

Наполняют сосуды поглотительной системы соответствующими поглотителями и устанавливают их в следующем порядке по ходу газов сгорания:

ангидроном (5.3.1.) или серной кислотой (5.3.13.) - для поглощения воды, выделяющейся при сгорании топлива;

аскаритом (5.3.2.) или раствором гидроксида калия (5.3.14.) - для поглощения диоксида углерода, выделяющегося при сгорании топлива. Для обеспечения полноты поглощения диоксида углерода последовательно соединяют два сосуда, причем второй является контрольным.

Для поглощения воды, выделяющейся при реакции между диоксидом углерода и аскаритом или из раствора гидроксида калия контрольный сосуд (всегда U-образная трубка) на 1/3 заполняют ангидроном.

Примечания:

1. В очистительной и поглотительной системах должны применяться одни и те же реактивы для поглощения воды и диоксида углерода, так как разная упругость пара над жидкими и твердыми веществами может привести к погрешности в определении.

2. При сборке установки все соединения выполняют встык «стекло к стеклу», при помощи толстостенной эластичной резиновой трубки. Боковые отводы сосудов очистительной и поглотительной систем должны иметь одинаковый наружный диаметр.

5.6.4. Подготовка сосудов поглотительной системы

После наполнения поглотительных сосудов свежими реагентами их присоединяют к установке, находящейся в рабочем положении (5.7.2), и продувают кислородом в течение 20 мин. Скорость тока кислорода должна быть такой же, как при проведении анализа (180-200 см3/мин). Затем на концы соединительных отростков поглотительных приборов надевают отрезки резиновых трубок, закрытых с одной стороны оплавленными стеклянными палочками.

После продувки поглотительные приборы находятся в рабочем состоянии, (наполнены кислородом и отъединены от атмосферы).

Примечание: Продувка поглотительных приборов (с жидкими и сухими реагентами) в течение 20 мин является достаточной для доведения их массы до постоянного значения.

5.6.5. Взвешивание поглотительных приборов

Порядок взвешивания поглотительных приборов до и после анализа должен быть одинаковым.

Поглотительные приборы следует взвешивать наполненными кислородом. Перед взвешиванием поглотительные приборы должны находиться около весов в течение 20 мин. Затем каждый прибор быстро взвешивают, сняв на время взвешивания резиновые трубки со стеклянными палочками. После взвешивания приборы быстро закрывают с двух сторон резиновыми трубками со вставленными в них стеклянными палочками.

5.6.6. Сборка установки

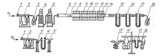
Установку для определения углерода и водорода собирают в соответствии со схемой, приведенной на рисунке 6.

1 - кран тонкой регулировки расхода кислорода; 2 - реометр; 3-5, 3'-5' - система очистки кислорода;

3 - сосуд с серной кислотой; 4 - сосуд с аскаритом; 5 - сосуд с ангидроном; 3' - склянка с 40 %-ным раствором КОН; 4' - U-образная трубка с аскаритом; 5' - склянка с серной кислотой; 6- трубка для сжигания; 7- лодочка с навеской; 8, 9, 11, 12- электропечи типа СУОЛ 0,25. 1,1/12 МР; 10 - оксид меди или хрома; 13 - хромовокислый свинец; 14- пробка из медной сетки или прокаленного асбеста;

15-18 - поглотительная система с твердыми поглотителями; 15 - U-образная трубка с ангидроном;

16, 17 - U-образные трубки с аскаритом; 18- склянка с серной кислотой; 15'-18 - поглотительная система с жидкими поглотителями; 15' - ПС с серной кислотой; 16' - ПГ с гидроксидом калия

Рисунок 6 - Схема установки для определения углерода и водорода ускоренным методом

Подачу кислорода осуществляют непосредственно из баллона через игольчатый вентиль (5.4.6.) и реометр (5.4.5.).

Если установка состоит из трех печей (5.4.3.), то вторую печь помещают над оксидом меди (или хрома), третью - над хромовокислым свинцом, а первую - вплотную ко второй над свободным пространством трубки.

Если установка состоит из четырех печей типа СУОЛ 0,25.1,1/1,2 МР, то вторую и третью печь помещают над оксидом меди (или хрома), четвертую - над хромовокислым свинцом, а первую - вплотную ко второй над свободным пространством трубки.

При анализе топлив с содержанием хлора более 0,2 % в конце трубки для сжигания над поглотителями хлора помещают электрическую муфту (5.4.4.).

Первая печь может свободно перемещаться вдоль трубки. Остальные печи остаются неподвижными в ходе анализа.

После заполнения трубки для сжигания свежими реагентами проверяют герметичность системы, прокаливают трубку для сжигания в токе кислорода и проводят контрольное определение.

5.6.7. Проверка установки на герметичность - по 4.6.4.

5.6.8. Прокаливание трубки для сжигания

Трубку для сжигания прокаливают для удаления влаги и очистки реагентов от органических загрязнений.

К трубке для сжигания присоединяют сосуд-счетчик пузырьков (5.4.7.). Нагревают печи до температур, указанных в 5.4.3. Прокаливание трубки ведут при скорости тока кислорода 180-200 см3/мин в течение 3-4 ч.

5.7. Контрольный опыт

Целью контрольного определения является оценка чистоты трубки для сжигания после прокаливания.

Присоединяют к установке подготовленные по 5.6.4. и взвешенные по 5.6.5. поглотительные приборы и пропускают ток кислорода (180-200 см3/мин) в течение 20 мин при рабочих температурах печей. Поглотительные приборы снова завешивают. Изменение массы сосудов не должно превышать ±0,5 мг. В противном случае продолжают прокаливание трубки до получения указанных изменений массы поглотительных приборов.

5.7.1. Для проверки готовности установки к проведению анализа сжигают химически чистое вещество известного состава (5.3.11.).

Содержание углерода и водорода не должно отличаться от известного состава вещества более чем на 0,25 % для водорода и 0,50 % - для углерода.

5.8. Проведение анализа.

5.8.1. Навеску топлива массой 0,2-0.3 г. взятую из тщательно перемешанной аналитической пробы, помещают во взвешенную лодочку (5.4.2.). Топливо равномерно распределяют по дну лодочки.

Поверх навески насыпают порошкообразный оксид меди или хрома (5.3.5., 5.3.6.) до верхнего края лодочки и слегка уплотняют.

Лодочку с навеской помещают в пробирку для хранения (рисунок 4) и закрывают пробкой.

5.8.2. Установку для ускоренного определения углерода и водорода (рисунок 6) приводят в рабочее состояние:

печь 1 вплотную придвигают к печи 2 и устанавливают температуру в печи 1 в зависимости от выхода летучих веществ анализируемого вещества: (350 ± 10)°С при Vdaf более 15 % (кроме горючих сланцев) и (925 + 10)°С при Vdaf менее 15 %:

температуру печи 2 или 2 и 3, если используют печи типа СУОЛ, устанавливают (800±10)°С;

температуру печи 3 (или 4) устанавливают (500±10)°С;

при анализе топлив с содержанием хлора более 0.2 % над поглотителем хлора помещают электрическую муфту и устанавливают температуру (200±10)°С при поглощении хлора диоксидом свинца и (150±10)°С - при поглощении хлора серебряной сеткой;

устанавливают скорость тока кислорода 180-200 см3/мин.

5.8.3. До начала определения, но после приведения установки в рабочее состояние по 5.8.2. присоединяют поглотительные приборы (5.6.3.) и продувают их кислородом в течение 20 мин, отсоединяют и взвешивают (5.6.5.).

5.8.4. Анализ начинают, присоединяя взвешенные поглотительные приборы. Затем открывают трубку для сжигания со стороны, обращенной к очистительной системе, помещают в трубку лодочку с навеской на расстоянии 1-2 см от переднего края печи 1 и плотно соединяют трубку с очистительной системой.

5.8.5. Процесс сжигания навески регулируют только изменением положения печи 1. Положение печей 2, 3 (или 4) и муфты не меняют в течение всего определения.

5.8.6. Передвигают печь 1 навстречу току кислорода с такой скоростью, чтобы через 2 мин после начала сжигания лодочка находилась в центре рабочей зоны печи. Продолжительность сжигания в этом положении 6-10 мин. Затем в течение 1 мин передвигают печь навстречу току кислорода до начала трубки.

Для того чтобы полностью вытеснить газы сжигания из трубки, передвигают печь 1 по току кислорода, выдерживая ее 4-5 мин над лодочкой и за 2-3 мин перемещая ее в исходное положение (вплотную печи 2). Общая продолжительность сжигания составляет около 20 мин.

5.8.7. При быстром токе кислорода (180-200 см3/мин) влага обычно не конденсируется на конце трубки для сжигания, но иногда может быть обнаружена внутри соединительного отростка первого поглотительного прибора. Гарантией полноты поглощения влаги является нагрев конца трубки и соединительного отростка первого поглотительного прибора с помощью газовой горелки, спиртовки или муфты. При анализе топлива с содержанием хлора менее 0,2 % устанавливают температуру муфты 105-110°С.

5.8.8. Поглотительные сосуды отсоединяют, закрывают боковые отводы резиновыми трубками со вставленными в них оплавленными стеклянными палочками и взвешивают по 5.6.5.

После отсоединения поглотительных приборов открытый конец трубки для сжигания немедленно соединяют с сосудом-счетчиком пузырьков, наполненным серной кислотой (5.3.13.).

5.8.9. Открывают трубку для сжигания со стороны очистительной системы и с помощью крючка из жаропрочной проволоки осторожно вынимают лодочку. Лодочку освобождают от золы и порошка оксида меди или хрома.

Оксид меди можно использовать повторно после прокаливания при 800°С в течение 2 ч (5.3.5.).

5.8.10. Уменьшают ток кислорода, включают электрический ток в печах и после полного остывания печей прекращают подачу кислорода.

При проведении серии анализов после окончания сжигания пробы печи и кислород не выключают, печь 1 оставляют плотно придвинутой к печи 2. Установка находится в рабочем состоянии и полностью готова для проведения следующего определения.

5.9. Обработка результатов - по 4.9.

5.10. Точность метода - по 4.10.

5.11. Протокол испытания - по 4.11.

ПРИЛОЖЕНИЕ А
(рекомендуемое)

Заполнение реагентами сосудов очистительной и поглотительной систем

Сосуды тщательно моют и высушивают. На концы соединительных отростков сосудов надевают отрезки резиновых трубок, закрытых с одной стороны оплавленными стеклянными палочками.

Заполнение сосудов сухими реагентами.

Внутри сосудов перед соединительными отростками помещают небольшой слой стеклянной или хлопковой ваты. Чистые сухие сосуды наполняют соответствующими, желательно гранулированными поглотителями. Не рекомендуется применять только мелкие гранулы, так как возникает большое сопротивление току газа. При использовании крупных гранул достижение полноты поглощения затруднительно.

Сосуды для поглощения диоксида углерода заполняют на 2/3 реагентом для поглощения диоксида углерода и на 1/3 - реагентом для поглощения воды. Между первым и вторым поглотителем помещают слой ваты.

Заполнение сосудов жидкими поглотителями.

Прибор ПГ (кали-аппарат) заполняют 40 %-ным раствором гидроксида калия, прибор ПС (змеевик) - концентрированной серной кислотой.

Боковой отросток сосуда, соединенный с внутренней трубкой, опускают в раствор гидроксида калия, а на второй отросток надевают резиновую трубку с грушей. Засасывают раствор щелочи с помощью груши, заполняя целиком один грушевидный сосуд. Затем, используя грушу, распределяют щелочь по всем грушевидным сосудам на 2/3 их высоты.

Прибор ПС заполняют кислотой через отросток без капилляра так, чтобы был заполнен только нижний виток. На отросток с капилляром надевают резиновую трубку с грушей.

Конец бокового отростка, через который производилось заполнение сосуда реактивом, тщательно протирают фильтровальной бумагой внутри и снаружи

ПРИЛОЖЕНИЕ Б
(справочное)

Расчет коэффициентов, использованных при обработке результатов (4.9)

Б.1. Общие сведения

При расчетах использованы относительные атомные массы элементов: углерод (С)-12,011; водород (Н) - 1,008; кислород (О) - 15,999.

В формулах относительные атомные и молекулярные массы обозначены химическими символами в квадратных скобках:

Б.2. Углерод (4.9.1.)

Массовую долю общего углерода в анализируемой пробе () в процентах вычисляют по формуле

где m2 - суммарное увеличение массы сосудов, предназначенных для поглощения диоксида углерода, г;

m1 - масса навески, г.

Следовательно

Б.3. Водород (4.9.2.)

Массовую долю общего водорода в анализируемой пробе () в процентах вычисляют по формуле

где m3 - увеличение массы сосуда, предназначенного для поглощения влаги, г;

ml - масса навески, г;

Wa - массовая доля влаги в аналитической пробе, %.

Следовательно

ПРИЛОЖЕНИЕ Б (Введено дополнительно, Изм. № 1).

 

Ключевые слова: топливо твердое, методы определения углерода, водорода




Яндекс цитирования



   Copyright © 2007-2026,  www.tehlit.ru.

[ ѓосты, стандарты, нормативы, инструкции, правила, строительные нормы ]