//
ТехЛит.ру
- крупнейшая бесплатная электронная интернет библиотека для "технически умных" людей.
WWW.TEHLIT.RU - ТЕХНИЧЕСКАЯ ЛИТЕРАТУРА

:: Алготрейдинг::


АЛГОТРЕЙДИНГ
шаг за шагом
с нуля по урокам!

Торговые роботы на PYTHON, BackTrader,
Pandas, Pine Script для TradingView. Связка с брокерами, телеграм и легкими приложениями.


Изменение № 2 ГОСТ 24188-80 Прокладки. Конструкция и основные размеры

Утверждено и введено в действие Постановлением Государственного комитета СССР по управлению качеством продукции и стандартам от 29.11.90 № 2977

Дата введения 01.07.91

Наименование стандарта. Исключить слова: «и основные размеры».

Пункт -1. Исключить слова: «с гладкими концами»;

дополнить абзацам: «Требования настоящего стандарта являются обязательными».

Пункт 2 изложить в новой редакции: «2. Прокладки должны быть изготовлены следующих типов:

1 - Т-образные;

2 - оболочковые;

3 - Г-образные;

4 - муфтообразные;

5 - составные;

6 - манжетообразные;

7 - конические;

8 - плоские»;

чертеж 1, таблицу 1, и пример условного обозначения исключить.

Пункт 3, Чертеж 2. Для труб Dн = 45, 67, 93 и 122 мм дополнить словами: «Исполнение 1»; дополнить чертежом исполнения 2 для труб Dн = 45, 67, 93 и 122 мм»; дополнить чертежом исполнения 3 для труб = 67 и 93 мм;

исключить размеры фасок: 0,5´45° и 1´45°:

Исполнение 2

Для труб Dн = 45, 67, 93 и 122 мм

Исполнение 3

Для труб Dн = 67, 93 мм

Составные

Для труб Dн = 67 мм

Масса - 0,033 кг

Для буртовых труб

Таблицу 2 изложить в новой редакции:

Таблица 2

Размеры в мм

Исполнение

Dу

Dн

D

D1

D2

D3

D4

R

H

b

Масса, кг, не более

-

15

-

14,5

27,5

35,5

-

-

-

13

2

0,010

-

25

-

24,5

41,5

49,5

-

-

-

0,015

-

32

-

31,5

48,5

56,5

-

-

-

0,019

-

40

-

39,5

59,5

67,5

-

-

-

15

3

0,023

-

50

-

49,5

71,5

79,5

-

-

-

0,029

1

40

45

37

43

52

-

-

8

12

5,0

0,01

2

57

-

-

-

20

 

0,03

1

50

67

57

65

75

-

-

10

14

5,5

0,02

15

18

0,04

2

79

67

-

-

20

0,05

3

50

66

78

68

60

-

 

1

80

93

78

89

101

-

-

12

18

6,0

0,04

2

105

93

-

-

 

0,06

3

72

90

106

94

84

-

 

0,10

1

100

122

105

117

127

-

-

15

20

7,0

0,06

2

105

133

121

-

-

 

0,08

93

 

 

 

0,15

-

150

169

148

164

176

-

-

-

22

8,0

0,14

-

200

221

202

214

231

-

-

-

0,18

пример условного обозначения изложить в новой редакции: «Пример условного обозначения Т-образной прокладки для труб с буртами Dу = 15 мм из пищевой резины:

Прокладка Т-обр. 15-П ГОСТ 24188-80

То же, из кислотощелочестойкой:

Прокладка Т-обр. 15-К ГОСТ 24188-80

То же, из теплостойкой:

Прокладка Т-обр. 15-Т ГОСТ 24188-80

То же, Т-образной составной для труб с гладкими концами Dн = 67 мм:

Прокладка Т-обр. С 67 ГОСТ 24188-80

То же, T-образной прокладки - исполнения 1, Dн = 45 мм, D =37 мм, H = 12 мм из пищевой резины:

Прокладка Т-обр. 45-37-12 П ГОСТ 24188-80

То же, из кислотощелочестойкой:

Прокладка Т-обр. 45-37-12 К ГОСТ 24188-80

То же, из теплостойкой:

Прокладка Т-обр. 45-37-12 Т ГОСТ 24188-80».

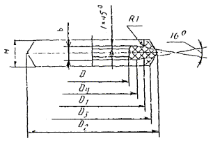
Пункт 4. Чертеж 3 дополнить надписью: «Для Т-образных прокладок» и чертежом «Для Т-образных прокладок».

Для Т-образных прокладок

таблицу 3 изложить в новой редакции:

Таблица 3

Размеры в мм

Условный проход Dу

Наружный диаметр трубы Dн

D

D1

D2

H

h

h1

Масса, кг, не более

40

45

36

43

60

12,5

5,0

-

0,002

-

20,0

7,5

50

67

56

65

83

13,5

5,5

8,0

0,004

-

22,0

пример условного обозначения. Заменить слова: «Оболочка» на «оболочковых прокладок для Т-образных прокладок»; в обозначении заменить слова: «Оболочка 45» на «Прокладка об. 45»;

дополнить примером условного обозначения: «То же, для Г-образных прокладок, D2 = 83 мм:

Прокладка об. 45´83 ГОСТ 24188-80».

Стандарт дополнить пунктами - 4а - 4е: «4а. Конструкция и основные размеры Т-образной прокладки должны соответствовать указанным на черт. 4 и в табл. 4.

Для труб Dн = 45, 67, 93, 122 мм

Для труб Dн = 169 мм

Черт. 4

Таблица 4

Размеры в мм

Dу

Dн

D

D1

D2

H

h

h1

R

Масса, кг, не более

40

45

37

52

43

8,5

5,0

2,5

8

0,018

50

67

57

75

65

9,5

5,5

2,7

10

0,036

80

93

77

101

89

12,0

6,0

3,0

12

0,071

100

122

105

127

117

13,5

7,0

3,5

15

0,106

150

169

147

176

164

15,0

8,0

4,0

1

0,241

Пример условного обозначения Г-образной прокладки для трубы Dн = 45 мм из пищевой резины:

Прокладка Г 45-П ГОСТ 24188-80

То же, из кислотощелочестойкой:

Прокладка Г 45-К ГОСТ 24188-80

То же, из теплостойкой:

Прокладка Г 45-Т ГОСТ 24188-80

4б. Конструкция и основные размеры муфтообразной прокладки должны соответствовать указанным на черт. 5 и в табл. 5.

Черт. 5.

Таблица 5

Размеры в мм

Условный проход Dу

D

D1

D2

D3

H

h

Масса, кг, не более для исполнения

1

2

15

15

22

26

36

30

3

0,010

0,018

25

25

32

41

50

37

0,026

0,046

32

32

39

46

60

39

0,037

0,064

40

40

49

56

70

4

0,042

0,073

50

50

59

69

84

50

5

0,092

0,160

Примечание. Исполнение 1 - прокладка из пищевой резины;

                                  Исполнение 2 - прокладка из кислотощелочестойкой резины.

Пример условного обозначения муфтообразной прокладки исполнения 1 - для трубы Dу = 15 мм:

Прокладка М-обр. 1-15 ГОСТ 24188-80

То же, исполнения 2:

Прокладка М-обр. 2-15 ГОСТ 24188-80

4в. Конструкция и основные размеры составной прокладки должны соответствовать указанным на черт. 6 и в табл. 6.

Черт. 6

Таблица 6

Размеры в мм

Условный проход Dу

D

D1

D2

d

d1

H

S

Масса, кг, не более

25

50

41

35

25

32

37

3

0,035

32

60

46

42

32

39

39

0,044

40

70

56

52

40

49

4

0,055

50

84

69

62

50

59

50

5

0,106

89

70,5

0,080

Пример условного обозначения составной прокладки для трубы Dy = 25 мм, D = 50 мм:

Прокладка составная 25-50 ГОСТ 24188-80

4г. Конструкция и основные размеры манжетообразных прокладок должны соответствовать указанным на черт. 7.

Масса - 0,015 кг

Масса - 0,022 кг

Черт. 7

Пример условного обозначения манжетообразной прокладки исполнения 1:

Прокладка манж. обр. 1 ГОСТ 24188-80

То же, исполнения 2:

Прокладка манж. обр. 2 ГОСТ 24188-80

4д. Конструкция и основные размеры конических прокладок для буртовых труб должны соответствовать указанным на черт. 8 и в табл. 7.

Черт. 8

Таблица 7

Размеры в мм

Условный проход Dу

D

D1

D2

H

h

Масса, кг, не более

15

21

29,00

36,0

9,5

1,5

0,005

25

33

13,50

51,0

11,0

2,0

0,011

32

40

50,00

58,5

12,0

0,012

40

50

60,50

69,3

13,0

0,018

50

60

73,46

84,0

14,0

0,029

80*

92

106,00

117,5

16,5

2,5

0,060

* Прокладка предназначена для соединения конических клапанов с трубами с гладкими концами.

Примечание. Масса указана для корда плотностью 1,43 г/см3.

Пример условного обозначения конической прокладки для трубы с коническими буртами Dу = 50 мм:

Прокладка кон. 50 ГОСТ 24188-80

То же, для исполнения 1:

Прокладка кон. 50-1 ГОСТ 24188-80

То же, для соединения конических клапанов с трубами с гладкими концами:

Прокладка кон. соед. 80 ГОСТ 24188-80

4е. Конструкция и основные размеры плоских прокладок должны соответствовать указанным на черт. 9 и в табл. 8.

Черт. 9

Таблица 8

Размеры в мм

Условный проход Dу

D

D1

Масса, кг, не более

80

80

107

0,020

100

107

132

0,024

150

157

184

0,033

200

200

231

0,048

250

252

283

0,060

300

306

338

0,075

400

406

434

0,085

Пример условного обозначения плоской прокладки для аппаратуры Dу = 80 мм из маслобензостойкой резины:

Прокладка пл. 80-М ГОСТ 24188-80

То же, из кислотощелочестойкой:

Прокладка пл. 80-К ГОСТ 24188-80

То же, из пищевой:

Прокладка пл. 80-П ГОСТ 24188-80».

Пункт 5 изложить в новой редакции: «5. Материал прокладок оболочковых - фторопласт 4 ГОСТ 10007-80, остальных - резина или корд по рабочим чертежам».

Стандарт дополнить пунктом - 7: «7. Коды ОКП приведены в приложении». Приложение. Таблицу изложить в новой редакции:

Тип прокладки

Условное обозначение прокладки

Код ОКП и контрольное число

Т-образная прокладка для труб с буртами

Т-обр. 15

25 3167 2034 02

Т-обр. 25

25 3167 2037 04

Т-обр. 32

25 3167 2041 03

Т-обр. 40

25 3167 2044 00

Т-обр. 50

25 3167 2047 08

Т-образные составные

Т-обр. С 67

25 3167 2001 00

Т-образные для труб с гладкими концами

Т-обр. 45

25 3167 2002 00

Т-обр. 67

25 3167 2008 04

Т-обр. 93

25 3167 2015 05

Т-обр. 122

25 3167 2022 06

Т-обр. 169

25 3167 2028 08

Т-обр. 221

25 3167 2091 04

Оболочковые

Об. 45

25 3167 2701 01

Об. 67

25 3167 2702 00

Об. 15´83

25 3167 2704 09

Об. 67´83

25 3167 2705 08

Г-образные

Г-обр. 45

25 3167 2054 09

Г-обр. 67

25 3167 2061 06

Г-обр. 93

25 3167 2067 04

Г-обр. 122

25 3167 2074 05

Г-обр. 169

25 3167 2081 06

Муфтообразные

М-обр. 15

25 3167 0001 08

М-обр. 25

25 3167 0004 05

М-обр. 32

25 3167 0007 02

М-обр. 40

25 3167 0011 06

М-обр. 50

25 3167 0014 03

Составные

25-50

25 3167 0023 02

32-60

25 3167 0027 09

40-70

25 3167 0024 01

50-84

25 3167 0025 03

50-69

25 3167 0026 05

Манжетообразные

Манж.-обр. 1

25 3167 1608 02

Манж.-обр. 1

25 3167 1607 01

Конические

Кон. 15

25 3167 1601 08

Кон. 25

25 3167 1602 07

Кон. 32

25 3167 1603 06

Кон. 40

25 3167 1604 05

Кон. 50

25 3167 1605 04

Кон. 50-1

25 3167 1606 03

Кон. 80

25 3167 1609 01

Плоские

Пл. 80

25 3167 0807 00

Пл. 100

25 3167 0811 04

Пл. 160

25 3167 0814 01

Пл. 200

25 3167 0817 09

Пл. 250

25 3167 0821 02

Пл. 300

25 3167 0824 04

Пл. 400

25 3167 0827 07

 




Яндекс цитирования



   Copyright © 2007-2026,  www.tehlit.ru.

[ ѓосты, стандарты, нормативы, инструкции, правила, строительные нормы ]