//
ТехЛит.ру
- крупнейшая бесплатная электронная интернет библиотека для "технически умных" людей.
WWW.TEHLIT.RU - ТЕХНИЧЕСКАЯ ЛИТЕРАТУРА

:: Алготрейдинг::


АЛГОТРЕЙДИНГ
шаг за шагом
с нуля по урокам!

Торговые роботы на PYTHON, BackTrader,
Pandas, Pine Script для TradingView. Связка с брокерами, телеграм и легкими приложениями.


ГОСУДАРСТВЕННЫЙ СТАНДАРТ СОЮЗА ССР

СОЕДИНЕНИЯ ТРУБОПРОВОДОВ
С ШАРОВЫМ НИППЕЛЕМ

конструкция

ГОСТ 24499-80

ГОССТАНДАРТ РОССИИ

Москва

ГОСУДАРСТВЕННЫЙ СТАНДАРТ СОЮЗА ССР

СОЕДИНЕНИЯ ТРУБОПРОВОДОВ С ШАРОВЫМ
НИППЕЛЕМ КРЕСТОВЫЕ ПРОХОДНЫЕ

Конструкция

Cross passage tube connections with ball nipple.
Construction

ГОСТ
24499-80

Срок действия с 01.01.1982

до 01.01.2000

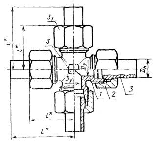
1. Настоящий стандарт распространяется на крестовые проходные соединения трубопроводов с шаровым ниппелем с углом конуса крестовины 24°.

2. Конструкция и основные размеры соединений трубопроводов должны соответствовать указанным на чертеже и в таблице.

____________

* Размеры для справок

1 - крестовина по ГОСТ 21869-78; 2 - накидная гайка по ГОСТ 23353-78; 3 - шаровой ниппель по ГОСТ 23355-78

Размеры, мм

Группа

Наружный диаметр трубы Dн

Условный проход Dу

L

l

Размеры под «ключ»

Масса 1000 шт., кг, не более

S

S1

1

4

2,5

40

21

7

10

37

5

3,0

9

12

51

2

6

4,0

46

28

12

14

97

8

6,0

50

30

17

149

10

8,0

53

31

14

19

195

12

10,0

57

33

17

22

278

15

12,0

63

37

19

27

461

(16)

24

30

541

18

15,0

67

41

32

611

22

20,0

71

47

27

36

824

28

25,0

76

51

36

41

1137

(34)

32,0

85

59

41

50

1692

35

1700

42

40,0

91

65

50

60

2485

3

6

3,0

50

32

12

17

159

8

4,0

53

33

14

19

202

10

5,0

56

35

17

22

298

12

6,0

62

39

24

373

14

8,0

65

41

19

27

510

16

10,0

68

44

24

30

609

20

12,0

74

51

27

36

919

25

15,0

80

56

36

46

1688

30

20,0

87

64

41

50

2334

38

25,0

97

75

50

60

3588

Примечание. Размеры, приведенные в скобках, непредпочтительны.

Пример условного обозначения соединения группы 1 с Dн = 5 мм:

Соединение 1-5 ГОСТ 24499-80

1, 2. (Измененная редакция, Изм. 1).

3. Условные давления для каждой группы соединений приведены в рекомендуемом приложении 1 к ГОСТ 22525-77.

4. Технические требования, правила приемки, методы испытаний, маркировка, упаковка, транспортирование и хранение - по ГОСТ 15763-91.

ИНФОРМАЦИОННЫЕ ДАННЫЕ

1. РАЗРАБОТАН И ВНЕСЕН Государственным комитетом СССР по стандартам

РАЗРАБОТЧИКИ

Б.В. Максимовский; Г.В. Поляков, канд. техн. наук; С.А. Суховодова

2. УТВЕРЖДЕН И ВВЕДЕН В ДЕЙСТВИЕ Постановлением Государственного комитета СССР по стандартам от 30.12.80 № 6080

3. Срок проверки - 1998 г.

4. ВЗАМЕН ГОСТ 20982-75; ГОСТ 22885-77

5. ССЫЛОЧНЫЕ НОРМАТИВНО-ТЕХНИЧЕСКИЕ ДОКУМЕНТЫ

6. Проверен в 1989 г. Срок действия продлен до 01.01.2000 Постановлением Госстандарта СССР от 25.10.89 № 3180

7. Переиздание (май 1991 г.) с Изменением № 1, утвержденным в октябре 1989 г. (ИУС 2-90)




Яндекс цитирования



   Copyright © 2007-2026,  www.tehlit.ru.

[ ѓосты, стандарты, нормативы, инструкции, правила, строительные нормы ]