//
ТехЛит.ру
- крупнейшая бесплатная электронная интернет библиотека для "технически умных" людей.
WWW.TEHLIT.RU - ТЕХНИЧЕСКАЯ ЛИТЕРАТУРА

:: Алготрейдинг::


АЛГОТРЕЙДИНГ
шаг за шагом
с нуля по урокам!

Торговые роботы на PYTHON, BackTrader,
Pandas, Pine Script для TradingView. Связка с брокерами, телеграм и легкими приложениями.


НАЦИОНАЛЬНЫЕ СТАНДАРТЫ

ИЗДЕЛИЯ ОГНЕУПОРНЫЕ

Методы испытаний

Часть 2

КОНТРОЛЬ НЕРАЗРУШАЮЩИЙ

Акустический звуковой метод
определения открытой пористости,
кажущейся плотности, плотности и предела прочности
при сжатии огнеупорных изделий

ГОСТ 25714-83

Москва

ИПК ИЗДАТЕЛЬСТВО СТАНДАРТОВ

2004

ОТ ИЗДАТЕЛЬСТВА

Сборник «Изделия огнеупорные. Методы испытаний. Часть 2» содержит стандарты, утвержденные до 1 августа 2004 г.

В стандарты внесены изменения, принятые до указанного срока.

Текущая информация о вновь утвержденных и пересмотренных стандартах, а также о принятых к ним изменениях публикуется в ежемесячном информационном указателе «Национальные стандарты»

МЕЖГОСУДАРСТВЕННЫЙ СТАНДАРТ

КОНТРОЛЬ НЕРАЗРУШАЮЩИЙ

Акустический звуковой метод определения открытой пористости, кажущейся плотности, плотности и предела прочности при сжатии огнеупорных изделий

Non-destructive control. Acoustic sound method of open porosity, apparent density, density and compression strength testing of refractory articles

ГОСТ
25714-83

Постановлением Государственного комитета СССР по стандартам от 13 апреля 1983 г. № 1757 дата введения установлена

01.07.84

Настоящий стандарт устанавливает акустический звуковой метод определения открытой пористости, кажущейся плотности, плотности и предела прочности при сжатии огнеупорных изделий.

Сущность метода состоит в использовании статистической связи резонансных частот основного тона изгибных или продольных вынужденных механических колебаний огнеупорных изделий с их открытой пористостью, кажущейся плотностью, плотностью и пределом прочности при сжатии, определяемых с помощью уравнений регрессии или номограмм, построенных на их основе.

Статистическая связь устанавливается для изделий одной марки, одного типоразмера и одинакового способа изготовления.

Стандарт не распространяется на бетонные, безобжиговые, мелкоштучные, фасонные особо сложной конфигурации (кроме сталеразливочных пробок, плит для шиберных затворов), рулонные, листовые, блочные массой свыше 50 кг, пропитанные, оплавленные, кассетированные огнеупорные изделия.

Термины, применяемые в стандарте, и их определения приведены в приложении.

(Измененная редакция, Изм. № 1).

1. АППАРАТУРА

Весы лабораторные общего назначения 4-го класса точности по ГОСТ 24104-88* или весы для статического взвешивания среднего 3-го класса точности по ГОСТ 29329-92. Допускается использовать другие весы, обеспечивающие требуемую точность измерения;

* С 1 июля 2002 г. введен в действие ГОСТ 24104-2001.

генератор низкочастотный измерительный, генерирующий немодулированные синусоидальные сигналы с нижней границей измеряемых частот не более 0,2 кГц и верхней границей не менее 20,0 кГц с выходным напряжением не менее 30 В;

частотомер электронно-счетный с нижней границей измеряемых частот не более 0,01 кГц и верхней границей не менее 100,0 кГц;

осциллограф электронно-лучевой с минимальным коэффициентом отклонения не более 2 мВ/см, имеющий вход на усилитель горизонтального отклонения или горизонтальные пластины (используется как индикатор);

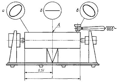
приемоизлучающие системы (черт. 1, 2) с излучающими и приемными преобразователями, способные возбуждать и регистрировать в контролируемых изделиях механические колебания с нижней границей измеряемых частот не более 0,2 кГц и верхней границей не менее 20,0 кГц.

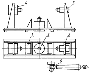
Приемоизлучающая система для изделий нормальных размеров, фасонных простой и сложной конфигурации

1 - раздвижные опоры; 2 - передвижные кронштейны; 3 - излучающий преобразователь для возбуждения в изделиях изгибных колебаний; 4 - излучающий преобразователь для возбуждения в изделиях продольных колебаний; 5 - приемный преобразователь продольных колебаний; 6 - переносной приемный преобразователь

Черт. 1

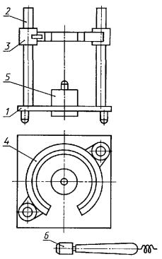
Приемоизлучающая система для сталеразливочных пробок

1 - основание; 2 - колонна; 3 - обойма; 4 - кольцевая опора; 5 - излучающий преобразователь; 6 - приемный преобразователь

Черт. 2

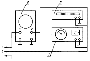
Блок-схема соединения радиотехнических приборов для определения резонансной частоты изгибных или продольных колебаний изделия приведена на черт. 3.

Блок-схема соединения радиотехнических приборов для определения резонансной частоты изгибных или продольных колебаний изделия

1 - генератор низкочастотный измерительный; 2 - частотомер электронно-счетный; 3 - осциллограф электронно-лучевой; а - к приемному преобразователю; б - к излучающему преобразователю

Черт. 3

Линейка металлическая по ГОСТ 427-75 или рулетка по ГОСТ 7502-98 с ценой деления шкалы 1 мм.

Допускается использовать другие аттестованные приборы, предназначенные для определения резонансной частоты изделия методом вынужденных колебаний с параметрами, удовлетворяющими указанным выше требованиям.

(Измененная редакция, Изм. № 1).

2. ОТБОР ПРОБ

2.1. Для расчета уравнений регрессии и построения номограмм в процессе приемочного контроля, проводимого разрушающими методами, отбирается не менее 50 изделий, причем от каждой партии - не более 5 изделий.

2.2. Количество изделий, отбираемых для контроля продукции, предусматривается нормативно-технической документацией на огнеупорные изделия.

3. ПОДГОТОВКА К ИСПЫТАНИЯМ

3.1. Определяют массу и резонансную частоту основного тона изгибных или продольных колебаний каждого изделия, отобранного по п. 2.1. Погрешность при определении массы - не более ± 1 %, при определении резонансной частоты - не более ± 0,5 %.

3.2. Определение резонансной частоты основного тона изгибных колебаний изделий

3.1, 3.2. (Измененная редакция, Изм. № 1).

3.2.1. Раздвигают или снимают с приемоизлучающей системы преобразователи, предназначенные для возбуждения и регистрации в изделиях продольных колебаний.

3.2.2. Раздвигают опоры приемоизлучающей системы на расстояние, равное половине длины (наибольшего линейного размера) испытуемого изделия. Допускаемое отклонение при установке расстояния между опорами не должно превышать ± 10 %.

(Измененная редакция, Изм. № 1).

3.2.3. Устанавливают изделие на опоры приемоизлучающей системы.

3.2.4. Подводят переносной приемный преобразователь к верхней плоскости изделия в точке, удаленной от торца на (10 ± 1) мм.

3.2.5. Перестраивают частоту генератора до появления на экране осциллографа фигуры Лиссажу в виде круга (эллипса), которая свидетельствует о совпадении частоты генератора с частотой собственных колебаний изделия.

(Измененная редакция, Изм. № 1).

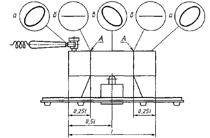
3.2.6. Переставляют приемный преобразователь вдоль верхней поверхности изделия по его длине, одновременно наблюдая на экране осциллографа за изменением амплитуды и фазы колебаний. На резонансной частоте основного тона изгибных колебаний амплитуда колебаний максимальна в центре и на концах изделия, а в узловых линиях имеет минимальное значение. При переносе датчика-приемника через узловые линии фаза колебаний должна меняться на 180° (черт. 4).

а, в - максимальные значения амплитуды колебаний изделия;

б - минимальные значения амплитуды колебаний изделия;

А - узловая линия

Черт. 4

3.2.7. При отсутствии у найденной резонансной частоты изделия характерных признаков основного тона изгибных колебаний (п. 3.2.6) проводят повторно поиск резонансной частоты (п. 3.2.5) до нахождения основного тона.

3.3. Определение резонансной частоты основного тона продольных колебаний изделий

(Измененная редакция, Изм. № 1).

3.3.1. Снимают с приемоизлучающей системы излучающий преобразователь, предназначенный для возбуждения в изделиях изгибных колебаний.

3.3.2. Устанавливают изделие на опоры приемоизлучаюшей системы, предварительно сдвинутые вплотную друг к другу своими основаниями (черт. 5).

а, в - максимальные значения амплитуды колебаний изделия;

б - минимальные значения амплитуды колебаний изделия;

А - узловая линия

Черт. 5

3.3.3. Излучающий и приемный преобразователи, находящиеся на кронштейнах, вплотную придвигают к торцам изделия.

3.3.4. Определяют резонансную частоту изделия по п. 3.2.5.

3.3.5. Заменяют стационарный приемный преобразователь переносным приемным преобразователем (см. черт. 1).

(Измененная редакция, Изм. № 1).

3.3.6. Переставляют переносной преобразователь вдоль верхней поверхности изделия по его длине, одновременно наблюдая на экране осциллографа за изменением амплитуды и фазы колебаний. На резонансной частоте основного тона продольных колебаний амплитуда колебаний максимальна на концах изделия и минимальна в средней части. При переносе приемного преобразователя через узловую линию фаза колебаний должна меняться на 180° (черт. 5).

3.3.7. При отсутствии у найденной резонансной частоты изделия характерных признаков основного тона продольных колебаний (п. 3.3.6) проводят повторно поиск резонансной частоты (п. 3.2.5) до нахождения основного тона.

3.4. Определение резонансной частоты основного тона продольных колебаний сталеразливочных пробок

3.4.1. Устанавливают пробку на опоры приемоизлучающей системы.

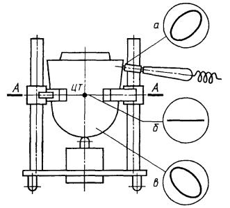
3.4.2. Подводят приемный преобразователь перпендикулярно к поверхности пробки, как показано на черт. 6.

3.4.3. Определяют резонансную частоту по п. 3.2.5.

3.4.4. Переставляют приемный преобразователь по высоте и окружности пробки, одновременно наблюдая на экране осциллографа за изменением амплитуды и фазы колебаний. На резонансной частоте основного тона амплитуда колебаний максимальна у сферической части пробки и у буртика и минимальна в ее средней части. При переносе приемного преобразователя через узловую линию фаза колебаний должна меняться на 180° и оставаться постоянной при перемещении преобразователя по окружности пробки (черт. 6).

а, в - максимальные значения амплитуды колебаний пробки; б - минимальные значения амплитуды колебаний пробки; А - узловая линия; ЦТ - центр тяжести

Черт. 6

3.4.5. При отсутствии у найденной резонансной частоты пробки характерных признаков основного тона продольных колебаний (п. 3.4.4) проводят повторно поиск резонансной частоты (п. 3.2.5) до нахождения основного тона.

3.5. Определяют диапазон измерений массы и резонансной частоты изделий, отобранных по п. 2.1, устанавливая их минимальное и максимальное значения.

3.6. На изделиях с измеренными значениями массы и резонансной частоты определяют открытую пористость и кажущуюся плотность по ГОСТ 2409-95, плотность по ГОСТ 2211-65, предел прочности при сжатии по ГОСТ 4071.1-94, ГОСТ 4071.2-94. Определения проводят не менее чем на двух образцах, изготовленных из противоположных концов изделий с измеренной резонансной частотой и массой. За окончательный результат принимают среднее значение двух определений.

3.7. Проводят расчеты линейных уравнений регрессии, построение номограммы и расчеты границ допустимых расхождений между результатами, полученными неразрушающим и разрушающим методами.

3.8. Проводят корректировку используемых регрессионных уравнений и номограмм путем сопоставления результатов разрушающего и неразрушающего методов определения для каждой десятой партии контролируемой продукции.

Правила расчета уравнений регрессии, границ допустимых расхождений, проведения их периодического контроля, корректировки и построения номограмм утверждаются в установленном порядке.

3.6 - 3.8. (Измененная редакция, Изм. № 1).

4. ПРОВЕДЕНИЕ ИСПЫТАНИЙ

4.1. Определяют массу и резонансную частоту (п.п. 3.1 - 3.5) изделий, отобранных по п. 2.2.

4.2. По измеренным значениям массы и резонансной частоты с помощью уравнений регрессии или построенных на их основе номограмм определяют открытую пористость, кажущуюся плотность, плотность и предел прочности при сжатии. При значениях массы и частоты контролируемого изделия, выходящих за пределы соответствующих диапазонов их изменений (п. 3.5), определение показателей свойств этого изделия проводят разрушающими методами.

4.3. Результаты испытаний изделий заносят в протокол испытаний, указывая:

обозначение настоящего стандарта;

наименование, марку изделия и номер партии;

результаты испытания каждого изделия;

место и дату испытаний;

подпись исполнителя.

Форма записи результатов испытаний изделий приведена в приложении 2.

(Измененная редакция, Изм. № 1).

ПРИЛОЖЕНИЕ 1

Справочное

ТЕРМИНЫ, ПРИМЕНЯЕМЫЕ В СТАНДАРТЕ, И ИХ ОПРЕДЕЛЕНИЯ

Термин

Определение

Акустический неразрушающий контроль

По ГОСТ 18353-79

Резонансный метод

По ГОСТ 18353-79

Границы допустимых значений

Значения X1 и X2 определяемого параметра X, между которыми лежит заданная доля всех возможных результатов наблюдений значений показателя

(Измененная редакция, Изм. № 1).


ПРИЛОЖЕНИЕ 2

Рекомендуемое

ФОРМА ЗАПИСИ РЕЗУЛЬТАТОВ ИСПЫТАНИЙ ОТКРЫТОЙ ПОРИСТОСТИ, КАЖУЩЕЙСЯ ПЛОТНОСТИ, ПЛОТНОСТИ И ПРЕДЕЛА ПРОЧНОСТИ ПРИ СЖАТИИ

Дата испытаний

Номер партии

Наименование и марка изделия

Номер образца

Масса М, г

Резонансная частота F, Гц

Открытая пористость Потк, %

Кажущаяся плотность ρкаж, г/см3

Плотность ρкаж, г/см3

Предел прочности при сжатии σсж, Н/мм2

Примечание

по номограмме

по ГОСТ 2409-95

δ*

по номограмме

по ГОСТ 2409-95

δ*

по номограмме

по ГОСТ 2211-65

δ*

по номограмме

по ГОСТ 4071.1-94, ГОСТ 4071.2-94

δ*

фактически

по толерантной зоне

фактически

по толерантной зоне

фактически

по толерантной зоне

фактически

по толерантной зоне

1

2

3

4

5

6

7

8

9

10

11

12

13

14

15

16

17

18

19

20

21

22

23

 

 

 

 

 

 

 

 

 

 

 

 

 

 

 

 

 

 

 

 

 

 

 

Примечания:

1. δ* - разность между значениями показателей, определенными по номограмме и по ГОСТ 2409-95, ГОСТ 2211-65, ГОСТ 4071.1-94, ГОСТ 4071.2-94.

2. Графы 8, 9, 10, 12, 13, 14, 16, 17, 18, 20, 21, 22 заполняются для каждой 10-й партии при проверке стандартными разрушающими методами.

ПРИЛОЖЕНИЕ 2. (Введено дополнительно, Изм. № 1).





Яндекс цитирования



   Copyright © 2007-2026,  www.tehlit.ru.

[ ѓосты, стандарты, нормативы, инструкции, правила, строительные нормы ]