//
ТехЛит.ру
- крупнейшая бесплатная электронная интернет библиотека для "технически умных" людей.
WWW.TEHLIT.RU - ТЕХНИЧЕСКАЯ ЛИТЕРАТУРА

:: Алготрейдинг::


АЛГОТРЕЙДИНГ
шаг за шагом
с нуля по урокам!

Торговые роботы на PYTHON, BackTrader,
Pandas, Pine Script для TradingView. Связка с брокерами, телеграм и легкими приложениями.


ГОСУДАРСТВЕННЫЙ СТАНДАРТ СОЮЗА ССР

 

ШУМ

Методы измерения звукоизоляции кабин
наблюдения и дистанционного управления
в производственных зданиях

ГОСТ 23426-79

 

 

Государственный комитет СССР
по делам строительства

Москва

 

РАЗРАБОТАН

Государственным комитетом СССР по делам строительства, Всесоюзным Центральным Советом Профессиональных Союзов, Министерством промышленности строительных материалов СССР, Министерством высшего и среднего специального образования РСФСР, Министерством путей сообщения

ИСПОЛНИТЕЛИ

Г.Л. Осипов, д-р техн. наук (руководитель темы); М.С. Седов, д-р техн. наук; Е.Я. Юдин, д-р техн. наук; Е.Н. Федосеева, канд. техн. наук; Р.Н. Михайлов, канд. техн. наук; А.М. Николашвили, канд. техн. наук; З.В. Трандина, канд. техн. наук; С.А. Мусатян, канд. техн. наук

ВНЕСЕН Государственным комитетом СССР по делам строительства

Член Коллегии В.И. Сычев

УТВЕРЖДЕН И ВВЕДЕН В ДЕЙСТВИЕ Постановлением Государственного комитета СССР по делам строительства от 29 декабря 1978 г. № 262

 

ГОСУДАРСТВЕННЫЙ СТАНДАРТ СОЮЗА ССР

ШУМ

Методы измерения звукоизоляции кабин
наблюдения и дистанционного управления
в производственных зданиях

Noise. Methods of measurement of sound insulation by operators shelters or remote control cobins in industrial buildings

ГОСТ
23426-79

Постановлением Государственного комитета СССР по делам строительства от 29 декабря 1978 г. № 262 срок введения установлен

с 01.01. 1980 г.

Несоблюдение стандарта преследуется по закону

Стандарт устанавливает методы измерения изоляции воздушного шума ограждающими конструкциями кабин наблюдения и дистанционного управления (в дальнейшем - звукоизоляция кабин), имеющих линейные размеры не более 6 м.

1. ОБЩИЕ ПОЛОЖЕНИЯ

1.1. Устанавливаются два метода измерения звукоизоляции кабин:

на открытых площадках или в помещениях; величина звукоизоляции, полученная этим методом, вносится в техническую документацию на кабину;

на месте эксплуатации кабины; величина звукоизоляции, полученная этим методом, является контрольной величиной.

1.2. Величиной звукоизоляции кабины при измерениях на открытых площадках или в помещениях является разность между средним значением уровней звукового давления в точках измерения внутри кабины, установленной на открытой площадке или в помещении, и средним значением уровней звукового давления в тех же точках до установки кабины, в октавных полосах частот со среднегеометрическими частотами 63, 125, 250, 500, 1000, 2000, 4000 и 8000 Гц.

Методика определения среднего значения уровней звукового давления в октавных полосах частот приведена в обязательном приложении 1.

1.3. Величиной звукоизоляции кабины при измерениях на месте эксплуатации кабины является разность между средним значением уровней звукового давления в точках измерения внутри кабины и средним значением уровней звукового давления для всех точек измерения вокруг кабины в октавных полосах частот, указанных в п. 1.2.

1.4. Звукоизоляция кабины Rкаб, дБ, определяется по формуле

где  - среднее значение уровней звукового давления в октавных полосах частот в точках измерения до установки кабины (при измерениях на открытых площадках и в помещениях) или по всем точкам измерений вокруг кабины (при измерениях на месте эксплуатации кабины), дБ;

 - среднее значение уровней звукового давления в октавных полосах частот в точках измерения внутри кабины, дБ.

2. АППАРАТУРА

2.1. Измерения уровней звукового давления в октавных полосах следует проводить шумомерами 1 или 2-го класса по ГОСТ 17187-71 с подключенными к ним октавными электрическими фильтрами по ГОСТ 17168-71 или измерительной аппаратурой, в которую входят: измерительный микрофон, спектрометр, самописец уровня или измерительный магнитофон.

2.2. Аппаратура, создающая шум, должна иметь в своем составе генератор напряжения шума, октавные электрические фильтры, усилители мощности и громкоговорители.

2.3. Технические и метрологические характеристики измерительной и создающей шум аппаратуры должны удовлетворять требованиям ГОСТ 17187-71, ГОСТ 17168-71 и ГОСТ 8.055-73, разд. 3.

2.4. Для измерения звукоизоляции кабин на месте эксплуатации не следует применять аппаратуру, создающую шум (п. 2.2), при наличии в испытательном помещении постоянного широкополосного шума, создаваемого технологическим оборудованием.

2.5. Аппаратура, применяемая для измерений, должна иметь свидетельства о государственной или ведомственной поверке, проведенной по ГОСТ 8.002-71.

2.6. Калибровку аппаратуры следует проводить в соответствии с инструкциями к приборам до и после измерений. Если результаты калибровки отличаются между собой, то измерения следует повторить.

2.7. Открытая площадка для измерения звукоизоляции кабин должна удовлетворять условиям свободного звукового поля. Методика проверки этих условий приведена в обязательном приложении 2. Коэффициент звукопоглощения поверхности площадки должен быть не более 0,1 в диапазоне 63 - 8000 Гц. Линейные размеры площадки должны быть не менее пятикратного максимального линейного размера кабины.

2.8. Помещение для измерения звукоизоляции кабин должно иметь размеры (в плане), обеспечивающие установку кабины и громкоговорителей в соответствии с чертежом, а высоту - не менее 6 м.

3. УСЛОВИЯ ИЗМЕРЕНИЯ

3.1. Измерения уровней звукового давления L1 и L2, дБ, на открытых площадках и в помещениях и уровней звукового давления L2, дБ, на месте эксплуатации кабины должны проводиться в точках, расположенных на рабочих местах в кабине на уровне головы работающего.

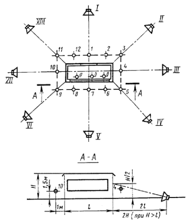
3.2. Измерения уровней звукового давления L1, дБ, на месте эксплуатации кабины должны проводиться в точках, расположенных вокруг кабины на высоте 1,5 м от низа кабины и на расстоянии 1 м от стен кабины. Расстояние между точками измерений должно быть не менее 1 и не более 2 м.

3.3. Уровни звукового давления помех при измерениях должны быть не менее чем на 6 дБ ниже уровня звукового давления сигнала, включая помехи; при разности уровня звукового давления, включающего сигнал и помехи, и уровня звукового давления помех от 6 до 9 дБ, измеренные уровни звукового давления сигнала следует уменьшить на 1 дБ.

Если эта разность равна 10 и более дБ, то влияние помех не следует учитывать.

3.4. Громкоговорители следует устанавливать в соответствии с чертежом.

3.5. Выходная звуковая мощность громкоговорителей не должна меняться в течение всего периода измерения звукоизоляции кабины.

3.6. Перед проведением измерений кабина должна быть собрана и оборудована в соответствии с условиями ее применения (эксплуатации).

3.7. Измерения звукоизоляции кабины на открытой площадке не должны проводиться во время выпадения атмосферных осадков и при скорости ветра более 5 м/с. При скорости ветра от 1 до 5 м/с следует применять экран для защиты измерительного микрофона от ветра.

Схема размещения громкоговорителей и точек измерения при измерениях звукоизоляции кабин

а, б, в - точки измерения на рабочих местах в кабине; 1 - 12 - точки вокруг кабины при измерениях на месте эксплуатации кабины; I - VIII - точки размещения громкоговорителей вокруг кабины.

3.8. Измерение звукоизоляции кабины допускается проводить при колебаниях температуры воздуха на месте измерений не более чем на 15 °С.

3.9. Установки кондиционирования воздуха, вентиляции и воздушного отопления кабины должны быть включены.

Уровни звукового давления на рабочих местах в кабине от установок кондиционирования, вентиляции и воздушного отопления кабины должны быть в пределах уровней звукового давления, установленных п. 2.3 ГОСТ 12.1.003-76.

4. ПРОВЕДЕНИЕ ИЗМЕРЕНИЙ

4.1. Измерения уровней звукового давления должны проводиться при включенной аппаратуре, создающей шум, не менее трех раз в каждой точке.

4.2. Измерения уровней звукового давления L1, дБ, должны быть проведены без кабины (при измерениях на открытых площадках и в помещениях) или вокруг кабины (при измерениях на месте эксплуатации кабины) в точках, указанных в пп. 3.1 и 3.2, в каждой октавной полосе частот.

4.3. Измерения уровней звукового давления L2, дБ, должны быть проведены внутри кабины в точках, указанных в п. 3.1, в каждой октавной полосе частот.

5. РЕЗУЛЬТАТЫ ИЗМЕРЕНИЙ

5.1. По измеренным в соответствии с разд. 4 уровням звукового давления для каждой октавной полосы частот следует вычислить величину звукоизоляции кабины Rкаб, дБ, по формуле, указанной в п. 1.4, для каждого рабочего места в кабине.

5.2. Результаты измерений звукоизоляции кабины указываются в протоколе, форма которого приведена в обязательном приложении 3.

5.3. Звукоизоляцией кабины являются средние по всем точкам измерений (рабочим местам в кабине) значения звукоизоляций Rкаб, дБ, в октавных полосах частот.

5.4. Величина звукоизоляции кабины, полученная при измерениях на месте ее эксплуатации, сравнивается с величиной звукоизоляции кабины, полученной при измерениях на открытой площадке или в помещении.

Разность указанных величин не должна превышать 3 дБ в каждой октавной полосе частот.

5.5. Для определения звукоизоляции кабин измерения следует проводить на открытых площадках или в помещениях по одному разу на стольких образцах кабин, входящих в состав партии, чтобы при доверительной вероятности 0,68 доверительный интервал результатов измерений не превышал 2 дБ.

Минимальное количество образцов кабины - пять. За окончательный результат принимается среднее арифметическое значение результатов измерений всех образцов.

ПРИЛОЖЕНИЕ 1

Обязательное

ОПРЕДЕЛЕНИЕ СРЕДНЕГО ЗНАЧЕНИЯ УРОВНЕЙ ЗВУКОВОГО ДАВЛЕНИЯ В ОКТАВНЫХ ПОЛОСАХ ЧАСТОТ

Среднее значение уровня звукового давления вычисляется по формуле

где Li - i-й из усредняемых уровней звукового давления, дБ;

i - 1, 2,.... n;

 - суммарный уровень звукового давления дБ, определяемый в соответствии с таблицей.

дБ

Разность двух складываемых уровней звукового давления

0

1

2

3

4

5

6

7

8

9

10

15

20

Добавка к более высокому уровню звукового давления

3

2,5

2

1,8

1,5

1,2

1

0,8

0,6

0,5

0,4

0,2

0

По таблице производится последовательное сложение уровней, начиная с максимального, в следующем порядке.

1. Определяют разность двух складываемых уровней.

2. По установленной разнице по таблице определяют добавку к более высокому уровню.

3. Производят сложение полученной добавки и большего из складываемых уровней.

4. Аналогичные действия производят с полученной суммой двух уровней и третьим уровнем и т.д.

Если разность между наибольшим и наименьшим уровнями не превышает 7 дБ, то среднее значение уровня  приближенно равно среднему арифметическому значению всех уровней, вычисляемому по формуле

ПРИЛОЖЕНИЕ 2

Обязательное

МЕТОДИКА ПРОВЕРКИ УСЛОВИЙ СВОБОДНОГО ЗВУКОВОГО ПОЛЯ НА ОТКРЫТЫХ ПЛОЩАДКАХ

На открытой площадке, на месте установки кабины при измерениях, устанавливается образцовый источник шума, удовлетворяющий требованиям разд. 3 ГОСТ 8.055-73. Измерения уровней звукового давления следует проводить в точках, проекции которых расположены по направлениям четырех прямых, проходящих через центр излучения и образующих между собой в плане углы 45°. Центр излучения - точка на поверхности площадки, соответствующая центру источника шума. Точки измерения должны находиться на высоте 1,5 м над поверхностью площадки.

Расстояния от центра излучения до точек измерения равны 1; 2; 4; 8 мм т.д. Результаты измерений уровня звукового давления, L, дБ, для каждой октавной полосы частот со среднегеометрическими частотами 63, 125, 250, 500, 1000, 2000, 4000 и 8000 Гц заносят в таблицу и производят вычисления отклонений от условий свободного звукового поля по форме 1. Отклонения от условий свободного звукового поля на открытой площадке не должны превышать величин:

± 2,5 дБ - в октавных полосах частот со среднегеометрическими частотами 63, 125, 250 и 500 Гц;

± 2,0 дБ - в октавных полосах частот со среднегеометрическими частотами 1000, 2000, 4000 Гц;

± 3,0 дБ - в октавной полосе частот со среднегеометрической частотой 8000 Гц.

Форма 1

Вычисление отклонений от условий свободного звукового поля для каждой октавной полосы частот на открытых площадках

Место проведения измерений…

Дата проведения измерений…

Метеорологические условия во время проведения измерений (температура воздуха, скорость ветра)…

Измеряемая и вычисляемая величина, дБ

Расстояние от точек измерений до центра излучения, м

1

2

4

8

16

Уровень звукового давления L, в точках измерений по каждому из восьми направлений:

 

 

 

 

 

 

 

 

 

 

 

 

 

 

 

 

 

 

 

 

 

 

 

 

 

 

 

 

 

 

 

 

 

 

 

 

 

 

 

 

Среднее значение уровней по восьми направлениям

 

 

 

 

 

Разность между средним значением уровня на расстояниях 2, 4, 8, 16 м от источника шума и средним значением уровня на расстоянии 1 м от него же L1

 

 

 

 

 

Теоретически рассчитанная разность между уровнем на расстояниях 2, 4, 8, 16 м от источника шума и уровнем на расстоянии 1 м от него же в свободном звуковом поле L0

0

6

12

18

24

Отклонения от условий свободного звукового поля D = L1 - L0

 

 

 

 

 

Заключение о пригодности площадки для измерений ..................

ПРИЛОЖЕНИЕ 3

Обязательное

ПРОТОКОЛ ПРОВЕДЕНИЯ ИЗМЕРЕНИЙ ЗВУКОИЗОЛЯЦИИ КАБИНЫ

1. Место проведения измерений........................................................................................

2. Дата проведения измерений...........................................................................................

3. Аппаратура.......................................................................................................................

4. Назначение кабины..........................................................................................................

5. Количество рабочих мест в кабине................................................................................

6. Линейные размеры, объем кабины, размеры окон, дверей и других проемов кабины........................................................................................................................................

7. Конструкция ограждений и вид заполнения проемов кабины...................................

8. Система вентиляции и отопления в кабине..................................................................

9. Наличие и характеристика глушителей шума в кабине...............................................

10. Место испытаний...........................................................................................................

11. Размеры площадки (или помещения), где проводятся измерения............................

12. Схема размещения кабины и точек измерения...........................................................

13. Номер и дата протокола проверки условий свободного звукового поля*...............

14. Метеорологические условия во время проведения измерений (температура, относительная влажность, давление, направление и скорость ветра*)..............................

15. Измеренные и средние значения уровней звукового давления в точках измерений в октавных полосах, с учетом помех (форма 1).................................................

16. Рассчитанные значения звукоизоляции кабины (формы 2, 3)..................................

17. Название организации, проводившей измерения.......................................................

18. Должность и фамилия лиц, проводивших измерения................................................

* Заполняется при измерениях на открытой площадке.

Форма 1

Место проведения измерений ________________________

Дата проведения измерений _________________________

Номер точек измерений

Номер замеров

Уровни звукового давления L, дБ, в точках измерения в октавных полосах со среднегеометрическими частотами, Гц

63

125

250

500

1000

2000

4000

8000

1

2

3

4

5

6

7

8

9

10

 

 

 

 

 

 

 

 

 

 

Продолжение

Номер точек измерений

Номер замеров

Средние значения уровней звукового давления в точках измерения  в октавных полосах со среднегеометрическими частотами, Гц

63

125

250

500

1000

2000

4000

8000

1

2

11

12

13

14

15

16

17

18

 

 

 

 

 

 

 

 

 

 

Форма 2

Измерения на открытых площадках и в помещениях

Место проведения измерений ________________________

Дата проведения измерений _________________________

Измеряемая и рассчитываемая величина, дБ

Точки измерения

Среднегеометрические частоты октавных полос, Гц

63

125

250

500

1000

2000

4000

8000

1

2

3

4

5

6

7

8

9

10

Средние значения уровней звукового давления в точках измерений на месте установки кабины

 

 

 

 

 

 

 

 

 

Средние значения уровней звукового давления в тех же точках измерений, в кабине

 

 

 

 

 

 

 

 

 

Величина звукоизоляции кабины для каждой точки измерения

 

 

 

 

 

 

 

 

 

Звукоизоляция кабины (п. 5.3) Rкаб

 

 

 

 

 

 

 

 

 

Форма 3

Измерения на месте эксплуатации кабины

Место проведения измерений ________________________

Дата проведения измерений _________________________

Измеряемая и рассчитываемая величина, дБ

Точки измерения

Среднегеометрические частоты октавных полос, Гц

63

125

250

500

1000

2000

4000

8000

1

2

3

4

5

6

7

8

9

10

Значения уровней звукового давления в точках измерения вокруг кабины L1

 

 

 

 

 

 

 

 

 

Средние значения уровней звукового давления по всем точкам измерения вокруг кабины

 

 

 

 

 

 

 

 

 

Средние значения уровней звукового давления в точках измерения внутри кабины

 

 

 

 

 

 

 

 

 

Величина звукоизоляции кабины для каждой точки измерения внутри кабины:

 

 

 

 

 

 

 

 

 

Звукоизоляция кабины (п. 5.3) Rкаб

 

 

 

 

 

 

 

 

 

СОДЕРЖАНИЕ

 




Яндекс цитирования



   Copyright © 2007-2026,  www.tehlit.ru.

[ ѓосты, стандарты, нормативы, инструкции, правила, строительные нормы ]