//
ТехЛит.ру
- крупнейшая бесплатная электронная интернет библиотека для "технически умных" людей.
WWW.TEHLIT.RU - ТЕХНИЧЕСКАЯ ЛИТЕРАТУРА

:: Алготрейдинг::


АЛГОТРЕЙДИНГ
шаг за шагом
с нуля по урокам!

Торговые роботы на PYTHON, BackTrader,
Pandas, Pine Script для TradingView. Связка с брокерами, телеграм и легкими приложениями.


ГОСУДАРСТВЕННЫЙ СТАНДАРТ СОЮЗА ССР

ЗДАНИЯ И СООРУЖЕНИЯ

МЕТОД ИЗМЕРЕНИЯ ПЛОТНОСТИ ТЕПЛОВЫХ ПОТОКОВ,

ПРОХОДЯЩИХ ЧЕРЕЗ ОГРАЖДАЮЩИЕ КОНСТРУКЦИИ

ГОСТ 25380-82

ГОСУДАРСТВЕННЫЙ КОМИТЕТ СССР
ПО ДЕЛАМ СТРОИТЕЛЬСТВА

Москва

РАЗРАБОТАН

Научно-исследовательским институтом строительной физики (НИИСФ) Госстроя СССР

Институтом технической теплофизики (ИТТФ) АН УССР

ИСПОЛНИТЕЛИ

И.Г. Кожевников, канд. техн. наук (руководитель темы); И.Н. Бутовский, канд. техн. наук; В.Т. Бузынюк; И.С. Лифанов

ВНЕСЕН Научно-исследовательским институтом строительной физики (НИИСФ) Госстроя СССР

Директор В.А. Дроздов

УТВЕРЖДЕН И ВВЕДЕН В ДЕЙСТВИЕ Постановлением Государственного комитета СССР по делам строительства от 14 июля 1982 г. № 182

СОДЕРЖАНИЕ

 

ГОСУДАРСТВЕННЫЙ СТАНДАРТ СОЮЗА ССР

ЗДАНИЯ И СООРУЖЕНИЯ

Метод измерения плотности тепловых потоков, проходящих через ограждающие конструкции

Buildings and structures
Method of measuring density of heat flows
passing through ehglosure structures

ГОСТ
25380-82

Постановлением Государственного комитета СССР по делам строительства от 14 июля 1982 г. № 182 срок введения установлен

с 01.01.83

Несоблюдение стандарта преследуется по закону

Настоящий стандарт устанавливает единый метод определения плотности тепловых потоков, проходящих через однослойные и многослойные ограждающие конструкции жилых, общественных, производственных и сельскохозяйственных зданий и сооружений при экспериментальном исследовании и в условиях их эксплуатации.

Измерения плотности тепловых потоков проводят при температуре окружающего воздуха от 243 до 323 К (от минус 30 до плюс 50 °С) и относительной влажности воздуха до 85 %.

Измерения плотности тепловых потоков позволяют количественно оценить теплотехнические качества ограждающих конструкций зданий и сооружений и установить реальные расходы тепла через наружные ограждающие конструкции.

Стандарт не распространяется на светопрозрачные ограждающие конструкции.

1. ОБЩИЕ ПОЛОЖЕНИЯ

1.1. Метод определения плотности теплового потока основан на измерении перепада температуры на “вспомогательной стенке” (пластинке), устанавливаемой на ограждающей конструкции здания. Этот температурный перепад, пропорциональный в направлении теплового потока его плотности, преобразуется в э.д.с. батареей термопар, расположенных во “вспомогательной стенке” параллельно по тепловому потоку и соединенных последовательно по генерируемому сигналу. “Вспомогательная стенка” и батарея термопар образуют преобразователь теплового потока.

1.2. Плотность теплового потока отсчитывается по шкале специализированного прибора, в состав которого входит преобразователь теплового потока, или рассчитывается по результатам измерения э.д.с. на предварительно отградуированных преобразователях теплового потока.

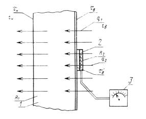
Схема измерения плотности теплового потока приведена на чертеже.

Схема измерения плотности теплового потока

1-ограждающая конструкция; 2-преобразователь теплового потока; 3-измеритель э.д.с.; tв, tн - температура внутреннего и наружного воздуха; iн, iв, iв¢-температура наружной, внутренней поверхностей ограждающей конструкции вблизи и под преобразователем соответственно; R1, R2-термическое сопротивление ограждающей конструкции и преобразователя теплового потока; q1, q2-плотность теплового потока до и после закрепления преобразователя.

2. АППАРАТУРА

2.1. Для измерения плотности тепловых потоков применяют прибор ИТП-11 (допускается применение предшествующей модели прибора ИТП-7) по техническим условиям.

Технические характеристики прибора ИТП-11 приведены в справочном приложении 1.

2.2. При теплотехнических испытаниях ограждающих конструкций допускается проводить измерения плотности тепловых потоков при помощи отдельно изготовленных и отградуированных преобразователей теплового потока с термическим сопротивлением до 0,025-0,06 (м2×К)/Вт и приборов, измеряющих э.д.с., генерируемую преобразователями.

Допускается применение преобразователя, используемого в установке для определения теплопроводности по ГОСТ 7076-78.

2.3. Преобразователи теплового потока по п. 2.2 должны удовлетворять следующим основным требованиям:

материалы для “вспомогательной стенки” (пластинки) должны сохранять свои физико-механические свойства при температуре окружающего воздуха от 243 до 323 К (от минус 30 до плюс 50 °С);

материалы не должны смачиваться и увлажняться водой в жидкой и парообразной фазах;

отношение диаметра преобразователя к его толщине должно быть не менее 10;

преобразователи должны иметь охранную зону, расположенную вокруг батареи термопар, линейный размер которой должен составлять не менее 30 % радиуса или половины линейного размера преобразователя;

каждый изготовленный преобразователь теплового потока должен быть отградуирован в организациях, которые в установленном порядке получили право на выпуск этих преобразователей;

в указанных выше условиях внешней среды градуировочные характеристики преобразователя должны сохраняться не менее одного года.

2.4. Градуировку преобразователей по п. 2.2 допускается проводить на установке для определения теплопроводности по ГОСТ 7076-78, в которой плотность теплового потока рассчитывают по результатам измерения температурного перепада на эталонных образцах материалов, аттестованных по ГОСТ 8.140-82 и установленных вместо испытуемых образцов. Метод градуировки преобразователя теплового потока приведен в рекомендуемом приложении 2.

2.5. Поверка преобразователей производится не реже одного раза в год, как это указано в п.п. 2.3, 2.4.

2.6. Для измерения э.д.с. преобразователя теплового потока допускается использовать переносной потенциометр ПП-63 по ГОСТ 9245-79, цифровые вольтамперметры В7-21, Ф30 или другие измерители э.д.с., у которых расчетная погрешность в области измеряемых э.д.с. преобразователя теплового потока не превышает 1% и входное сопротивление не менее чем в 102 раз превышает внутреннее сопротивление преобразователя.

При теплотехнических испытаниях ограждающих конструкций с использованием отдельных преобразователей предпочтительно применять автоматические регистрирующие системы и приборы.

3. ПОДГОТОВКА К ИЗМЕРЕНИЮ

3.1. Измерение плотности тепловых потоков проводят, как правило, с внутренней стороны ограждающих конструкций зданий и сооружений.

Допускается проведение измерений плотности тепловых потоков с наружной стороны ограждающих конструкций в случае невозможности проведения их с внутренней стороны (агрессивная среда, флуктуации параметров воздуха) при условии сохранения устойчивой температуры на поверхности. Контроль условий теплообмена проводят с помощью термощупа и средств для измерения плотности теплового потока: при измерении в течение 10 мин их показания должны быть в пределах погрешности измерений приборов.

3.2. Участки поверхности выбирают специфические или характерные для всей испытываемой ограждающей конструкции в зависимости от необходимости измерения локальной или усредненной плотности теплового потока.

Выбранные на ограждающей конструкции участки для измерений должны иметь поверхностный слой из одного материала, одинаковой обработки и состояния поверхности, иметь одинаковые условия по лучистому теплообмену и не должны находиться в непосредственной близости от элементов, которые могут изменить направление и значение тепловых потоков.

3.3. Участки поверхности ограждающих конструкций, на которые устанавливают преобразователь теплового потока, зачищают до устранения видимых и осязаемых на ощупь шероховатостей.

3.4. Преобразователь плотно прижимают по всей его поверхности к ограждающей конструкции и закрепляют в этом положении, обеспечивая постоянный контакт преобразователя теплового потока с поверхностью исследуемых участков в течение всех последующих измерений.

При креплении преобразователя между ним и ограждающей конструкцией не допускается образование воздушных зазоров. Для исключения их на участке поверхности в местах измерений наносят тонкий слой технического вазелина, перекрывающий неровности поверхности.

Преобразователь может быть закреплен по его боковой поверхности при помощи раствора строительного гипса, технического вазелина, пластилина, штанги с пружиной и других средств, исключающих искажение теплового потока в зоне измерения.

3.5. При оперативных измерениях плотности теплового потока незакрепленную поверхность преобразователя склеивают слоем материала или закрашивают краской с той же или близкой степенью черноты с различием De£0,1, что и у материала поверхностного слоя ограждающей конструкции.

3.6. Отсчетное устройство располагают на расстоянии 5-8 м от места измерения или в соседнем помещении для исключения влияния наблюдателя на значение теплового потока.

3.7. При использовании приборов для измерения э.д.с., имеющих ограничения по температуре окружающего воздуха, их располагают в помещении с температурой воздуха, допустимой для эксплуатации этих приборов, и подключение к ним преобразователя теплового потока производят при помощи удлинительных проводов.

При проведении измерений прибором ИТП-11 преобразователь теплового потока и измерительное устройство располагают в одном помещении независимо от температуры воздуха в помещении.

3.8. Аппаратуру по п. 3.7 подготавливают к работе в соответствии с инструкцией по эксплуатации соответствующего прибора, в том числе учитывают необходимое время выдержки прибора для установления в нем нового температурного режима.

4. ПРОВЕДЕНИЕ ИЗМЕРЕНИЙ

4.1. Измерение плотности теплового потока проводят:

при использовании прибора ИТП-11 - после восстановления условий теплообмена в помещении вблизи контрольных участков ограждающих конструкций, искаженных при выполнении подготовительных операций, и после восстановления непосредственно на исследуемом участке прежнего режима теплообмена, нарушенного при креплении преобразователя;

при теплотехнических испытаниях с использованием преобразователей теплового потока по п. 2.2 - после наступления нового установившегося режима теплообмена под преобразователем.

После выполнения подготовительных операций по п.п. 3.2-3.5 при использовании прибора ИТП-11 режим теплообмена на участке измерения восстанавливается ориентировочно через 5-10 мин, при использовании преобразователей теплового потока по 2.2 - через 2-6 ч.

Показателем завершения переходного режима теплообмена и возможности проведения измерений плотности теплового потока может считаться повторяемость результатов измерения плотности тепловых потоков в пределах установленной погрешности измерения.

4.2. При измерении теплового потока в ограждающей конструкции с термическим сопротивлением менее 0,6 (м2×К)/Вт одновременно измеряют с помощью термопар температуру ее поверхности на расстоянии 100 мм от преобразователя tв, под ним tв¢ и температуру внутреннего tв и наружного tн воздуха на расстоянии 100 мм от стены.

5. ОБРАБОТКА РЕЗУЛЬТАТОВ

5.1. При использовании приборов ИТП-11 непосредственно по шкале прибора получают значение плотности тепловых потоков (Вт/м2).

5.2. При использовании отдельных преобразователей и милливольтметров для измерения э.д.с. плотность теплового потока, проходящего через преобразователь, q, Вт/м2 рассчитывают по формуле:

,                                                                                                          (1)

где с - градуировочный коэффициент преобразователя при температуре испытаний, Вт/(м2×мВ); за среднюю температуру испытаний принимают температуру поверхности ограждающей конструкции под преобразователем;

Е - значение э.д.с., мВ.

5.3. Определение градуировочного коэффициента преобразователя с учетом температуры испытаний производят по рекомендуемому приложению 2.

5.4. Значение плотности теплового потока q¢, Вт/м2, при измерениях по п. 4.2 вычисляют по формуле:

где tн - температура наружного воздуха напротив преобразователя, К (°С);

tв и tв¢ - температура поверхности на участке измерения вблизи преобразователя и под преобразователем соответственно, К (°С).

5.5. Результаты измерений записывают по форме, приведенной в рекомендуемом приложении 3.

5.6. За результат определения плотности теплового потока принимают среднее арифметическое значение результатов пяти измерений при одном положении преобразователя на ограждающей конструкции.

ПРИЛОЖЕНИЕ 1

Справочное

ТЕХНИЧЕСКИЕ ХАРАКТЕРИСТИКИ ПРИБОРА ИТП-11

Прибор ИТП-11 представляет собой совокупность преобразователя теплового потока в электрический сигнал постоянного тока с измерительным устройством, шкала которого проградуирована в единицах плотности теплового потока.

1. Пределы измерения плотности теплового потока: 0-50; 0-250 Вт/м2.

2. Цена деления шкалы прибора: 1; 5 Вт/м2.

3. Основная погрешность прибора в процентах при температуре воздуха 20 °С.

,

где qпр - значение предела измерения;

qизм - текущее значение измеряемой плотности теплового потока.

4. Дополнительная погрешность от изменения температуры воздуха, окружающего измерительное устройство, не превышает 1% на каждые 10 К (°С) изменения температуры в диапазоне от 273 до 323 К (от 0 до 50 °С).

Дополнительная погрешность от изменения температуры преобразователя теплового потока не превышает 0,83% на 10 К (°С) изменения температуры в диапазоне от 273 до 243 К (от 0 до минус 30°С).

5. Термическое сопротивление преобразователя теплового потока - не более 3×10-32×К)/Вт.

6. Время установления показаний - не более 3,5 мин.

7. Габаритные размеры футляра - 290´175´100 мм.

8. Габаритные размеры преобразователя теплового потока:

диаметр 27 мм, толщина 1,85 мм.

9. Габаритные размеры измерительного устройства - 215´115´90 мм.

10. Длина соединительного электрического провода - 7 м.

11. Масса прибора без футляра - не более 2,5 кг.

12. Источник питания - 3 элемента "316".

ПРИЛОЖЕНИЕ 2

Рекомендуемое

МЕТОД ГРАДУИРОВКИ ПРЕОБРАЗОВАТЕЛЯ ТЕПЛОВОГО ПОТОКА

Изготовленный преобразователь теплового потока подвергают градуировке на установке для определения теплопроводности строительных материалов по ГОСТ 7076-78, в которой вместо испытуемого образца устанавливают градуируемый преобразователь и эталонный образец материала по ГОСТ 8.140-82.

При градуировке пространство между термостатирующей плитой установки и эталонным образцом за пределами преобразователя должно быть заполнено материалом, близким по теплофизическим свойствам к материалу преобразователя, с тем, чтобы обеспечить одномерность проходящего через него теплового потока на рабочем участке установки. Измерение э.д.с. на преобразователе и эталонном образце осуществляется одним из приборов, перечисленных в п. 2.6 настоящего стандарта.

Градуировочный коэффициент преобразователя с0, Вт/(м2×мВ) при данной средней температуре опыта находят по результатам измерений плотности теплового потока и э.д.с. по следующему соотношению

где q - значение плотности теплового потока в опыте, Вт/м2;

Е - вычисленное значение э.д.с., мВ.

Плотность теплового потока q рассчитывают по результатам измерения температурного перепада на эталонном образце по формуле

,

где l - теплопроводность материала эталона, Вт/(м×К);

,  - температура верхней и нижней поверхностей эталона соответственно, К (°С);

d - толщина эталона, м.

Среднюю температуру в опытах при градуировке преобразователя рекомендуется выбирать в интервале от 243 до 323 К (от минус 30 до плюс 50 °С) и выдержать ее с отклонением не более ±2 К (°С).

За результат определения коэффициента преобразователя принимают среднее арифметическое значение величин, вычисленных по результатам измерений не менее чем 10 опытов. Число значащих цифр в значении градуировочного коэффициента преобразователя с0 берется в соответствии с погрешностью измерения.

Температурный коэффициент преобразователя aТ, К-1 (°С-1), находят по результатам измерений э.д.с. в градуировочных опытах при различных средних температурах преобразователя по соотношению

,

где Т1, Т2 - средние температуры преобразователя в двух опытах, К (°С);

с1, с2 - градуировочные коэффициенты преобразователя при средней температуре соответственно Т1 и Т2, Вт/(м2×мВ).

Различие между средними температурами Т1 и Т2 должно быть не менее чем 40 К (°С).

За результат определения температурного коэффициента преобразователя принимают среднее арифметическое значение плотности, вычисленное по результатам не менее чем 10 опытов с различной средней температурой преобразователя.

Значение градуировочного коэффициента преобразователя теплового потока при температуре испытаний с, Вт/(м2×мВ), находят по следующей формуле:

,

где с0 - градуировочный коэффициент преобразователя, найденный при температуре градуировки, Вт/(м2×мВ);

aТ - температурный коэффициент изменения градуировочного коэффициента преобразователя, К-1 (°С-1);

DТ - разность между температурами преобразователя при измерении и при градуировке, К (°С).

ПРИЛОЖЕНИЕ 3

Рекомендуемое

ФОРМА ЗАПИСИ РЕЗУЛЬТАТОВ ИЗМЕРЕНИЯ ТЕПЛОВЫХ ПОТОКОВ, ПРОХОДЯЩИХ ЧЕРЕЗ ОГРАЖДАЮЩУЮ КОНСТРУКЦИЮ

Наименование объекта, на котором проводят измерения_________________________

Тип и номер преобразователя теплового потока ________________________________

Градуировочный коэффициент преобразователя с0 ____ Вт/(м2×мВ) при температуре градуировки ___________________ К (°С)

Температурный коэффициент преобразователя aТ _____________________ К-1 (°С-1)

Температуры наружного и внутреннего воздуха tн, tв ___________________ К (°С)

Температуры поверхности ограждающей конструкции вблизи преобразователя tв и под ним tв¢ ____________________ К (°С)

Значение градуировочного коэффициента преобразователя при температуре испытаний с ____________ Вт/(м2×мВ)

Тип и номер измерительного прибора ________________________________________

Вид ограждающей конструкции

Номер участка

Показание прибора, мВ

Значение плотности теплового потока

Номер измерения

Среднее по участку

отсчитанное по шкале

действительное

1

2

3

4

5

 

 

 

 

 

 

 

 

 

 

Подпись оператора______________________

Дата проведения измерений ______________




Яндекс цитирования



   Copyright © 2007-2026,  www.tehlit.ru.

[ ѓосты, стандарты, нормативы, инструкции, правила, строительные нормы ]