//
ТехЛит.ру
- крупнейшая бесплатная электронная интернет библиотека для "технически умных" людей.
WWW.TEHLIT.RU - ТЕХНИЧЕСКАЯ ЛИТЕРАТУРА

:: Алготрейдинг::


АЛГОТРЕЙДИНГ
шаг за шагом
с нуля по урокам!

Торговые роботы на PYTHON, BackTrader,
Pandas, Pine Script для TradingView. Связка с брокерами, телеграм и легкими приложениями.


ГОСУДАРСТВЕННЫЙ СТАНДАРТ СОЮЗА ССР

ЗАЩИТА ОТ ШУМА В СТРОИТЕЛЬСТВЕ

ГЛУШИТЕЛИ ШУМА

МЕТОДЫ ОПРЕДЕЛЕНИЯ АКУСТИЧЕСКИХ ХАРАКТЕРИСТИК

ГОСТ 28100-89

(СТ СЭВ 6085-87)

ГОСУДАРСТВЕННЫЙ СТРОИТЕЛЬНЫЙ КОМИТЕТ СССР

Москва

СОДЕРЖАНИЕ

 

ГОСУДАРСТВЕННЫЙ СТАНДАРТ СОЮЗА ССР

ЗАЩИТА ОТ ШУМА В СТРОИТЕЛЬСТВЕ

ГЛУШИТЕЛИ ШУМА

МЕТОДЫ ОПРЕДЕЛЕНИЯ АКУСТИЧЕСКИХ ХАРАКТЕРИСТИК

Noise protection in building.

Noise silencers. Methods for determination

of acoustic characteristics

ГОСТ 28100-89

(СТ СЭВ 6085-87)

Дата введения 1989-07-01

Настоящий стандарт не распространяется на глушители двигателей внутреннего сгорания и поршневых компрессоров.

Настоящий стандарт может применяться также для измерения акустических характеристик элементов воздуховодов.

Пояснения некоторых терминов, встречающихся в настоящем стандарте, приведены в приложении 2.

1. Общие положения

1.1. Акустическими характеристиками глушителей являются следующие величины:

Dст - статическое снижение шума глушителем, дБ;

Lw - уровень звуковой мощности собственного шума глушителя, дБ;

DРполн - потери давления в глушителе, Па.

1.2. Стенды для измерений должны отвечать требованиям, изложенным в разд. 2.

1.3. Измерения проводят в третьоктавных полосах частот в диапазоне от 50 до 10000 Гц. Допускается для центральных систем вентиляции проводить измерения в диапазоне частот от 100 до 8000 Гц.

1.4. Точность измерения должна соответствовать требованиям ГОСТ 23941.

2. Аппаратура

2.1. Требования к измерительной аппаратуре

Для измерения уровней звукового давления в полосах частот применяют измеритель уровня звукового давления, а также комплект фильтров для третьоктавных полос частот по ГОСТ 17187 и ГОСТ 17168. Размер микрофона в направлении, перпендикулярном оси воздуховода, не должен превышать 5 % наименьшего поперечного сечения выходного измерительного воздуховода.

Допускается при определении уровней звуковой мощности собственного шума глушителя методом измерения в реверберационной камере применять регистратор уровня (самописец), оснащенный логарифмическим усилителем со скоростью записи не менее 300 дБ/с, обеспечивающий запись уровня звукового давления во времени.

2.2. Требования к измерительному источнику звука

2.2.1. В состав измерительного источника звука должны входить:

1) два или более громкоговорителей, установленных асимметрично относительно оси воздуховода;

2) концевое поглощающее устройство;

3) герметичное звукоизолирующее ограждение, снижающее косвенную передачу.

Примеры конструкционных решений измерительных источников звука приведены на черт. 1.

Примеры решений измерительных источников звука

а - четыре громкоговорителя; б - два громкоговорителя - громкоговорители; 2 - концевое поглощающее устройство

Черт. 1

2.2.2. Измерительный источник звука должен обеспечивать постоянный во времени белый шум в измеряемых полосах частот. Допустимые измерения уровня звуковой мощности измерительного источника звука приведены в табл. 1.

Таблица 1

Полоса частот, Гц

Допустимое изменение уровня звуковой мощности, дБ

для точных измерений

для технических измерений

До 200

± 1

± 2

Св. 200

± 0,5

± 1

При технических измерениях допускается применять источник звука с более широкой полосой частот.

2.2.3. Питание громкоговорителей источника звука должно осуществляться по схеме, представленной на черт. 2, в состав которой входят:

1) генератор шума;

2) усилитель;

3) фильтр или комплект фильтров;

4) амперметр класса 0,5 с постоянной времени не менее 1с.

Схема системы питания громкоговорителей источника звука

Черт. 2

Допускается заменять генератор шума и фильтр магнитофоном с лентой, передвигающейся по замкнутой петле. Во время измерения лента должна пройти перед воспроизводящей головкой не менее трех раз.

При применении замещающего воздуховода разность между измеренными средними уровнями звукового давления в соседних третьоктавных полосах частот не должна превышать 4 дБ.

2.2.4. Создаваемые измерительным источником звука при установленном глушителе уровни звукового давления в точках измерения должны быть, по крайней мере, на 10 дБ выше уровней звукового давления при выключенном измерительном источнике звука.

2.2.5. Изменения величины тока, питающего измерительный источник звука, не должны превышать 10 % от номинального значения при точных измерениях и 15 % - при технических измерениях.

2.2.6. Измерительный источник звука соединяют с воздуховодом посредством упругих прокладок для предотвращения передачи звука на стенки воздуховода.

2.2.7. Требования к воздуховоду, соединяющему измерительный источник звука с входным измерительным воздуховодом

2.2.7.1. Если входное сечение измерительного источника звука отличается от сечения входного воздуховода, эти сечения следует соединять воздуховодом, удовлетворяющим требованиям:

1) наклон стенок к оси не более 15°;

2) площадь поперечного сечения на произвольном участке длиной 0,3 м и более должна возрастать не более чем в 1,6 раза.

2.2.7.2. Если размер воздуховода в направлении, перпендикулярном оси, превышает 0,5 м, повышают жесткость плоских стенок соединительного воздуховода.

2.3. Требования к измерительному воздуховоду

2.3.1. В состав измерительного воздуховода должны входить следующие элементы:

1) входной измерительный воздуховод;

2) проверяемый глушитель или замещающий воздуховод, монтируемый вместо проверяемого глушителя по схеме с замещающим воздуховодом;

3) выходной измерительный воздуховод;

4) соединительные элементы (если требуются).

2.3.2. При проверке глушителей с разными входными и выходными сечениями следует применять два разных выходных измерительных воздуховода:

1) в измерительной схеме с проверяемым глушителем - выходной измерительный воздуховод с поперечным сечением, равным или близким поперечному сечению выходного отверстия глушителя;

2) в схеме с замещающим воздуховодом - выходной измерительный воздуховод с поперечным сечением, равным или близким поперечному сечению входного отверстия глушителя.

2.3.3. Входной, выходной измерительные и замещающий воздуховоды должны создавать прямолинейные участки измерительного воздуховода с постоянным поперечным сечением.

Площадь поперечного сечения входного или выходного воздуховода не должна отличаться более чем на 25 % от площади поперечного сечения соответствующего отверстия глушителя шума.

2.3.4. Длина входного или выходного измерительного воздуховода должна быть не менее половины длины звуковой волны, соответствующей средней геометрической частоте самой низкой измерительной полосы частот.

2.3.5. Длина замещающего воздуховода должна быть равна длине проточного канала глушителя.

Допускается применять воздуховоды круглого или прямоугольного сечения с соотношением сторон прямоугольника не более чем 2:1.

Если воздуховод имеет плоскую стенку с размером в направлении, перпендикулярном оси канала, более чем 0,5 м, то необходимо увеличить жесткость этой стенки.

Стенки воздуховода должны обеспечивать предельное снижение шума воздуховодом минимум на 10 дБ выше, чем снижение шума испытываемым глушителем.

2.3.6. Измерительный воздуховод должен быть герметичным, соединения воздуховодов должны быть выполнены так, чтобы не было уступов, превышающих 1/200 наименьшего поперечного размера воздуховода.

Стенки измерительного воздуховода должны быть изготовлены из стального листа с высокой звукоизоляцией для того, чтобы предельное снижение шума было, по крайней мере, на 10 дБ выше, чем снижение шума испытуемым глушителем.

2.4. Требования к соединительным элементам

2.4.1. Соединительный элемент, предназначенный для соединения составных частей испытательного стенда с разными поперечными сечениями, должен удовлетворять требованиям п. 2.2.7.

Соединительный элемент может быть отрезком акустического рупора.

2.5. Требования к концевому поглощающему устройству

2.5.1. Концевое поглощающее устройство должно предотвращать возникновение стоячих волн, снижающих точность измерений в канале.

2.5.2. Значения коэффициента отражения rа концевого поглощающего устройства не должны превышать указанных в табл. 2.

Таблица 2

Средняя геометрическая частота полосы частот, Гц

50

63

80

100

125

Коэффициент отражения rа

0,4

0,35

0,3

0,25

0,15

Коэффициент отражения концевого поглощающего устройства определяют согласно приложению 1.

Пример конструкции концевого поглощающего устройства приведен на черт. 3.

Пример конструкции концевого поглощающего устройства

1 - звукопоглощающий материал; 2 - поглощающий клин

Черт. 3

2.6. Требования к реверберационной камере

Реверберационная камера должна соответствовать требованиям п. 1.3 ГОСТ 12.1.027, по крайней мере, начиная с частоты 125 Гц. Проверка пригодности реверберационной камеры должна проводиться при герметично закрытом (жесткой крышкой) акустическом рупоре и при сохранении открытыми тех вытяжных отверстий, которые используются при испытании глушителя.

Допускается при использовании метода замещения проводить испытания глушителей в реверберационных камерах объемом в пределах от 100 до 300 куб. м3, начиная с частоты 50 Гц.

Примечание. Указанные допущения справедливы при использовании метода замещения, поскольку этим методом определяются только разности уровней. Эти допущения обоснованы и при измерениях шума воздушного потока, поскольку при этом допустимы большие погрешности в низкочастотном диапазоне.

2.7. Требования к образцовому источнику звука

2.7.1. Образцовый источник звука применяют при определении уровня звуковой мощности собственного шума глушителя методом измерения в реверберационной камере посредством образцового источника звука.

2.7.2. Калибровка реверберационной камеры должна соответствовать ГОСТ 12.1.027.

2.8. Требования к вентилятору

Вентилятор, применяемый при испытаниях с потоком воздуха через глушитель, должен обеспечивать требуемые скорости воздушного потока. Он должен быть установлен за пределами измерительного помещения. Для защиты от проникновения шума в измерительное помещение вентилятор следует оборудовать звукоизоляционным ограждением, упругими соединительными элементами, виброизоляторами и глушителями.

Для регулировки скорости потока воздуха применяют вентилятор с регулируемой скоростью вращения.

2.9. Площадь поперечного сечения канала глушителя шума (набора глушителей) вентилятора должна быть не менее чем в два раза больше поперечного сечения испытательного глушителя.

2.10. Требования к воздуховоду для измерения потерь давления в глушителях

Примеры испытательных стендов для измерения потерь давления в глушителях приведены на черт. 4.

Примеры испытательных стендов для измерения потерь давления в глушителях

1 - испытываемый глушитель шума; 2 - вентилятор; 3 - направляющая решетка; 4 - измерительное сужающее устройство или сопло

Черт. 4

Допускается применять другие стенды для определения потерь давления в глушителях при условии, что будет обеспечена погрешность измерения ± 2,5 %.

2.11. Требования к акустическому рупору

2.11.1. Акустический рупор используют для передачи с возможно наименьшими потерями звуковой энергии из воздуховода в реверберационную камеру.

2.11.2. Акустический рупор должен быть изготовлен в виде конуса, правильной усеченной пирамиды или же форма стенок в осевом сечении должна приближаться к экспоненте.

2.11.3. Значения коэффициента отражения rа акустического рупора, определяемого в третьоктавных полосах частот, не должны превышать указанных в табл. 3.

Таблица 3

Средняя геометрическая частота полосы частот, Гц

50

63

80

100

125

160

Коэффициент отражения rа

0,8

0,7

0,6

0,5

0,3

0,2

2.11.4. Акустический рупор должен быть изготовлен из листовой стали толщиной 3 мм. Наклон стенок рупора к оси не должен превышать 15°, длина рупора должна быть 2 м (приблизительно). Геометрические пропорции акустического рупора приведены на черт. 5.

Акустический рупор

Черт. 5

2.12. Проверка испытательных стендов

2.12.1. Проверка измерительного источника

Проверку проводят на стенде, показанном на черт. 6. Через вспомогательный громкоговоритель подают чистые тона с постоянным уровнем в полосе частот от 50 до 10000 Гц. Перемещая измерительный микрофон вдоль канала на участке, равном 1 м, измеряют уровень звукового давления. Измерительный источник звука считается пригодным, если отвечает требованиям п. 2.2.

Стенд для проверки измерительного источника звука

1 - громкоговоритель; 2 - амперметр; 3 - генератор чистых тонов; 4 - измерительный воздуховод; 5 - микрофон; 6 - узкополосный фильтр; 7 - шумомер; 8 - упругий соединительный элемент; 9 - измерительный источник звука

Черт. 6

2.12.2. Проверка концевого поглощающего устройства на чистых тонах

2.12.2.1. Проверку пригодности концевого поглощающего устройства проводят на основе оценки коэффициента отражения согласно приложению 1.

2.12.2.2. Концевое поглощающее устройство пригодно для проведения измерений, если измерения уровня звукового давления во время перемещения микрофона вдоль оси воздуховода на участке длиной 1 м не превышают значений, указанных в табл. 2.

2.12.3. Проверка звукового поля в реверберационной камере, выбор мест расположения точек измерения и их количества осуществляются согласно п. 3.3 ГОСТ 12.1.027.

2.12.4. Проверка собственного шума испытательного стенда

Для проверки собственного шума испытательного стенда:

1) проверяют наличие диффузного поля в реверберационной камере по п. 2.12.3;

2) собирают испытательный стенд для измерения собственного шума глушителей с замещающим воздуховодом вместо глушителя;

3) включают вентилятор и устанавливают требуемую скорость воздушного потока;

4) измеряют средний уровень звукового давления в реверберационной камере по п. 4.1.2.

Собственный шум испытательного стенда, дБ, считают удовлетворительным, если выполняется условие

,

где  - средний уровень звукового давления в реверберационной камере для стенда с глушителем, дБ;

 - средний уровень звукового давления в реверберационной камере для стенда с замещающим воздуховодом, дБ.

3. Измерения статического снижения шума глушителем

3.1. Для определения величин снижения шума глушителями применяют:

1) метод измерения внутри воздуховода;

2) метод измерения в реверберационной камере.

3.2. Метод измерения внутри воздуховода

3.2.1. Прямые измерения

3.2.1.1. Для измерения применяют испытательный стенд, схема которого приведена на черт. 7.

Испытательный стенд для измерения статического снижения шума глушителем внутри воздуховода прямым методом

1 - испытываемый глушитель шума; 2 - конфузор или диффузор; 3 - входной измерительный воздуховод; 4 - выходной измерительный воздуховод; 5 - набор громкоговорителей; 6 - концевое поглощающее устройство; 7 - измерительная плоскость; 8 - размещение измерительных точек

Черт. 7

3.2.1.2. Измерения проводят в следующей последовательности:

1) определяют положение измерительных плоскостей, которые должны находиться в средней части входного и выходного измерительных воздуховодов;

2) определяют положение и количество измерительных точек согласно черт. 8 на участке воздуховода длиной не менее чем 1/4 длины волны, соответствующей средней геометрической частоте самой низкой измерительной полосы частот;

3) в каждой из трех основных точек измерения измеряют уровни звукового давления L1 в полосах частот. Если максимальная разность между значениями уровней звукового давления в трех измерительных точках выше значений, приведенных в табл. 4, измерения проводят в пяти измерительных точках согласно черт. 8.

Положение и количество измерительных точек в участке воздуховода

1 - основные измерительные точки; 2 - дополнительные измерительные точки

Черт. 8

Таблица 4

Средняя геометрическая частота в полосе частот, Гц

50

63

80

100

125

³ 160

Максимальная разность уровней звукового давления, дБ

10

8

7

6

3.2.1.3. Средний уровень звукового давления во входном и выходном  измерительных воздуховодах, дБ, определяют по формуле

,                                                                              (1)

где n - общее количество точек измерения;

Li - усредненный уровень звукового давления в i-й точке измерения, дБ.

3.2.1.4. Статическое снижение шума глушителем (Dст), дБ, определяют по формуле

,                                                                              (2)

где S1 - площадь поперечного сечения входного измерительного воздуховода, кв. м2;

S2 - площадь поперечного сечения выходного измерительного воздуховода, кв. м2;

3.2.2. Измерения с замещающим воздуховодом

3.2.2.1. Для измерения применяют испытательный стенд, схема которого приведена на черт. 9.

Испытательный стенд для измерения статического снижения шума глушителем внутри воздуховода методом с замещающим воздуховодом

1 - испытываемый глушитель шума; 2 - замещающий воздуховод; 3 - конфузор или диффузор; 4 - входной измерительный воздуховод; 5 - выходной измерительный воздуховод; 6 - набор громкоговорителей; 7 - концевое поглощающее устройство; 8 - измерительная плоскость; 9 - размещение измерительных точек

Черт. 9

3.2.2.2. Измерения проводят в следующей последовательности:

1) определяют положение измерительной плоскости, которая должна находиться в средней части выходного измерительного воздуховода;

2) определяют положение и количество точек измерения в соответствии с перечислением 2 п. 3.2.1.2;

3) в каждой из точек измерения проводят измерения уровней звукового давления в полосах частот на стенде с замещающим воздуховодом и испытываемым глушителем;

4) определяют в соответствии с п. 3.2.1.3 средние уровни звукового давления в выходном измерительном воздуховоде для стенда с замещающим воздуховодом и испытываемым глушителем.

3.2.2.3. Статическое снижение шума глушителем(Dст), дБ, определяют по формуле

,                                                                                                   (3)

где  - средний уровень звукового давления в выходном измерительном воздуховоде для стенда с замещающим воздуховодом, дБ;

 - средний уровень звукового давления в выходном измерительном воздуховоде для стенда с испытываемым глушителем, дБ;

3.3. Метод измерения в реверберационной камере

3.3.1. Для измерения применяют испытательный стенд, схема которого приведена на черт. 10, при следующих условиях:

1) акустический рупор должен заканчиваться в реверберационной камере;

2) ось канала не должна быть перпендикулярна по отношению к противоположной стене реверберационной камеры;

3) местоположение акустического рупора должно быть одинаковое в системе с замещающим воздуховодом и с испытываемым глушителем.

Испытательный стенд для измерения статического снижения шума глушителем в реверберационной камере

1 - испытываемый глушитель шума; 2 - замещающий воздуховод; 3 - конфузор или диффузор; 4 - входной измерительный воздуховод; 5 - выходной измерительный воздуховод; 6 - набор громкоговорителей; 7 - концевое поглощающее устройство; 8 - акустический рупор; 9 - реверберационная камера; 10 - измерительные точки

Черт. 10

3.3.2. Измерения проводят в следующей последовательности:

1) включают измерительный источник звука и определяют число точек измерения на основе разности между минимальным и максимальным значениями уровня звукового давления в реверберационной камере по ГОСТ 12.1.027, причем точки измерения должны быть расположены на расстоянии не менее 2 м от выпускного отверстия акустического рупора;

2) в каждой из точек измерения определяют Li в полосах частот.

3.3.3. Статическое снижение шума глушителем Dст определяют в соответствии с п. 3.2.2.3, причем принимают L1 как уровень звукового давления в реверберационной камере для стенда с замещающим воздуховодом и L2 с испытываемым глушителем. При вычислениях учитывают поправку на помехи в реверберационной камере в соответствии с табл. 5.

Таблица 5

Разность уровней звуко­вого давления, дБ

3

От 4 до 5

От 6 до 9

³ 10

Поправка на помехи, дБ

 

 

 

 

3.4. Определение предельного снижения шума косвенным путем

3.4.1. Предельное снижение шума должно быть для всех измерительных полос частот выше как минимум на 10 дБ, чем снижение шума испытываемым глушителем. Если разность менее 10 дБ, но выше 5 дБ, то измеренное значение снижения шума глушителем уменьшают на 2 дБ. Для полос частот, в которых разность менее 5 дБ, снижение уровней шума глушителем не учитывают.

3.4.2. Предельное снижение шума определяют следующим образом:

1) монтируют испытываемый глушитель и устанавливают пред ним заслонку толщиной не менее 10 мм из древесностружечной плиты или листа сухой гипсовой штукатурки. Заслонка со стороны источника звука должна быть облицована звукопоглощающим материалом, имеющим реверберационный коэффициент звукопоглощения не менее 0,25 в измерительных полосах частот;

2) проводят измерение предельного снижения шума в последовательности, указанной в п.п. 3.2.1.2 или 3.2.2.2.

4. Измерения уровня звуковой мощности собственного шума глушителя

4.1. Метод измерения в реверберационной камере

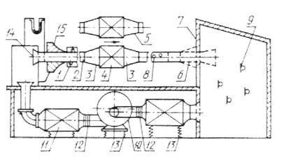
4.1.1. Для измерения применяют испытательный стенд, схема которого приведена на черт. 11.

Испытательный стенд для измерения уровней звуковой мощности собственного шума глушителя

1 - набор громкоговорителей; 2 - входной воздуховод; 3 - конфузор или диффузор; 4 - испытываемый глушитель шума; 5 - замещающий воздуховод; 6 - акустический рупор; 7 - реверберационная камера; 8, 9 - измерительные точки; 10 - вентилятор; 11 - глушитель вентилятора; 12 - упругие соединительные элементы; 13 - виброизолирующие элементы; 14 - коллектор для измерения скорости потока; 15 - концевое поглощающее устройство;

Черт. 11

4.1.2. Измерения проводят в следующей последовательности:

1) включают вентилятор и устанавливают требуемую скорость воздушного потока;

2) измеряют средний уровень звукового давления в измерительной полосе частот в последовательности, указанной в п. 3.3.2;

3) измеряют время реверберации в измерительной полосе частот по СТ СЭВ 1929;

4) определяют звукопоглощение реверберационной камеры по СТ СЭВ 1929;;

5) при вычислениях учитывают поправку на помехи по табл. 5.

4.1.3. Уровень звуковой мощности собственного шума глушителя (Lw), дБ, определяют по формуле

,    (4)

где  - средний уровень звукового давления в полосах частот, дБ;

t - коэффициент передачи, определяемый в соответствии с приложением 1;

Т - время реверберации реверберационной камеры, с;

То - 1 с;

V - объем реверберационной камеры, куб. м3;

Vо - 1 м3;

l - длина звуковой волны, соответствующая средней геометрической частоте полосы частот, м;

S - общая площадь ограждающих поверхностей реверберационной камеры, включая пол, м2;

В - атмосферное давление, Па;

Во = 105 Па.

4.2. Метод измерения в реверберационной камере с образцовым источником звука

4.2.1. Для измерения применяют стенд согласно черт. 11, который должен иметь дополнительно образцовый источник звука согласно п. 2.7.

4.2.2. Измерения проводят в следующей последовательности:

1) включают вентилятор и устанавливают требуемую скорость воздушного потока;

2) измеряют средний уровень звукового давления в измерительной полосе частот по п. 3.3.2;

3) устанавливают образцовый источник звука на расстоянии 1 м от выпуска канала, а также на расстоянии не менее 1 м от стен камеры и измеряют средний уровень звукового давления в измерительной полосе частот.

4.2.3. Уровень звуковой мощности собственного шума глушителя (Lw), дБ, определяют по формуле

,                                                                                       (5)

где LWRi - паспортное значение уровня звуковой мощности образцового источника звука в полосе частот, дБ;

 - средний уровень звукового давления в полосе частот в реверберационной камере при наличии потока воздуха через глушитель, дБ;

 - средний уровень звукового давления в полосе частот в реверберационной камере при работе образцового источника звука, дБ;

5. Измерения потерь давления в глушителе

5.1. Для измерения потерь давления в глушителях применяют испытательный стенд, схема которого приведена на черт. 11.

Примеры испытательных стендов для измерения потерь давления в глушителях показаны на черт. 4.

5.2. Измерения проводят в следующей последовательности:

1) определяют объемную скорость воздушного потока в измерительном воздуховоде по разности динамического давления DРдин (см. черт. 4);

2) определяют температуру воздуха во всех точках измерения, причем колебания температуры не должны превышать ± 0,5 °С;

3) измеряют значения статического давления в канале перед проверяемым глушителем Рст1 и за ним Рст2;

4) измеряют температуру воздуха, °С, перед проверяемым глушителем t1 и за ним t2.

5.3. Определение потерь давления проводят в следующей последовательности:

1) вычислят плотность воздуха r, кг/м3, в канале до глушителя и за глушителем по формулам:

,                                                                                   (6)

;                                                                                  (7)

2) вычисляют динамическое давление (Рдин1) и (Рдин2), Па, в канале перед и за глушителем по формулам:

;                                                                                               (8)

,                                                                                               (9)

где Q - объемная скорость воздушного потока, м3/с;

S1 - площадь впускного отверстия глушителя, м2;

S2 - площадь впускного отверстия глушителя, м2;

3) вычислят средний коэффициент сопротивления глушителя V на основе измерений не менее чем при пяти разных значениях скорости воздушного потока по формуле

;                                                                (10)

4) вычисляют потери давления в глушителе (DРполн), Па, по формуле

                                                                                    (11)

6. Протокол испытания

Результаты измерений и расчетов должны быть занесены в протокол, содержащий следующие данные:

1) место проведения измерений;

2) дату проведения измерений;

3) тип проверяемого глушителя;

4) размеры проверяемого глушителя;

5) описание конструкции проверяемого глушителя;

6) методы измерения и описание испытательных стендов;

7) описание применяемой измерительной аппаратуры;

8) измеренные и средние значения уровней звукового давления;

9) рассчитанные значения статического снижения шума глушителем Dст;

10) рассчитанные значения уровней звуковой мощности собственного шума глушителя LW;

11) рассчитанные значения потерь давления DРполн;

12) наименование организации проводящей измерения;

13) должности и фамилии лиц, выполняющих измерения;

14) максимальную температуру воздушного потока, проходящего через глушитель шума;

15) максимальную объемную скорость воздушного потока, проходящего через глушитель шума.

Приложение 1

Обязательное

Определение коэффициента отражения концевого поглощающего устройства

Коэффициент отражения ra концевого поглощающего устройства вычисляют на основе измерения разности между максимальным и минимальным уровнями звукового давления DL по формуле

.                                                                                            (12)

Измерительный источник звука должен излучать звуковой сигнал чистого тона, поступающий со звукового генератора.

Аппаратура для измерения коэффициента отражения концевого поглощающего устройства состоит из микрофона, усилителя, узкополосного анализатора и самописца.

Измерения следует проводить на частотах 50, 63, 80, 100, 125, 160, 200, 250, Гц т.д. до граничной частоты (fгр), Гц, определяемой в зависимости от формы поперечного сечения канала по формулам:

для канала круглого сечения

,                                                                                                  (13)

где со - скорость звука, м/с;

d - диаметр воздуховода, м;

для канала прямоугольного сечения

                                                                                                   (14)

где  наибольший размер поперечного сечения канала, м.

Перемещая микрофон вдоль оси воздуховода, находят значения максимальных Lмакс и минимальных Lмин уровней звукового давления, регистрируемых на самописце.

Приложение 2

Справочное

Пояснения некоторых терминов, встречающихся в стандарте

Термин

Пояснение

1. Глушитель шума

Устройство, предназначенное для уменьшения уровня звуковой мощности, передаваемой по воздуховоду, служащему для транспортировки воздуха или другого газа и являющегося элементом этого воздуховода

2. Снижение шума глуши­телем  D

Разность уровней звуковой мощности на выходе измерительной системы до и после установки глушителя

3. Статическое снижение шума глушителем  DСТ

Разность уровней звуковой мощности на выходе измерительной системы до и после установки глушителя при скорости воздушного потока v £ 15 м/с

4. Входной патрубок глу­ши­теля шума

Устройство для присоединения воздуховода, находящееся со стороны источника шума

5. Выходной патрубок глу­шителя

Устройство для присоединения воздуховода со стороны, противоположной источнику шума

6. Входная площадь глу­шителя

Площадь поперечного сечения входного патрубка глушителя

7. Выходная площадь глу­шителя

Площадь поперечного сечения выходного патрубка глушителя

8. Потери давления в глу­шителе

Разность между средними значениями давлений во входном и выходном измерительных воздуховодах

9. Собственный шум глу­шителя

Уровень звуковой мощности шума генерируемого воздушным потоком при прохождении его через глушитель

10. Предельное снижение шума

Максимальное снижение шума, которое можно измерить на данной испытательной установке без потока воздуха. Эта величина определяется косвенной передачей шума вдоль стенок воздуховодов

11. Измерительный возду­ховод

Воздуховод, состоящий из входного воздуховода, проверяемого глушителя или замещающего воздуховода, выходного воздуховода и соединительных элементов

12. Замещающий возду­ховод

Воздуховод, монтируемый вместо испытываемого глушителя

13. Коэффициент отра­жения

Отношение амплитуды отраженного звукового давления к амплитуде давления звуковой волны, падающей на отражающий элемент

14. Коэффициент передачи акустического рупора

Отношение прошедшей в реверберационную камеру звуковой мощности к падающей звуковой мощности.

 

Примечание. Коэффициенты передачи и отражения связаны уравнением .

15. Характеристика сниже­ния шума

Зависимость снижения шума глушителем зависит от средних геометрических частот измеряемых полос

ИНФОРМАЦИОННЫЕ ДАННЫЕ

1. ВНЕСЕН Научно-исследовательским институтом строительной физики (НИИСФ) Государственного строительного комитета СССР

ИСПОЛНИТЕЛИ

Э.А. Лесков (руководитель темы), канд. техн. наук; В.В. Зорин, канд. техн. наук; П.Г. Бородин, канд. физ. - матем. наук; В.В. Бочкарева

2. Постановлением Государственного строительного комитета СССР от 27.02.89 № 31 стандарт Совета Экономической Взаимопомощи СТ СЭВ 6085-87 "Защита от шума в строительстве. Глушители шума. Методы определения акустических характеристик" введен в действие непосредственно в качестве государственного стандарта СССР с 01.07.89

3. ВЗАМЕН ГОСТ 23793-79

4. ССЫЛОЧНЫЕ НОРМАТИВНО-ТЕХНИЧЕСКИЕ ДОКУМЕНТЫ

Обозначение НТД, на который дана ссылка

Номер пункта, подпункта

ГОСТ 12.1.027-80

2.6; 2.7.2; 2.12.3; 3.3.2

ГОСТ 17168-82

2.1

ГОСТ 17187-81

2.1

ГОСТ 23941-79

1.4

СТ СЭВ 1929-79

4.1.2

 




Яндекс цитирования



   Copyright © 2007-2026,  www.tehlit.ru.

[ ѓосты, стандарты, нормативы, инструкции, правила, строительные нормы ]