//
ТехЛит.ру
- крупнейшая бесплатная электронная интернет библиотека для "технически умных" людей.
WWW.TEHLIT.RU - ТЕХНИЧЕСКАЯ ЛИТЕРАТУРА

:: Алготрейдинг::


АЛГОТРЕЙДИНГ
шаг за шагом
с нуля по урокам!

Торговые роботы на PYTHON, BackTrader,
Pandas, Pine Script для TradingView. Связка с брокерами, телеграм и легкими приложениями.


ГОСУДАРСТВЕННЫЙ СТАНДАРТ СОЮЗА ССР

КРОНШТЕЙНЫ
ДЛЯ УМЫВАЛЬНИКОВ И МОЕК

ТЕХНИЧЕСКИЕ УСЛОВИЯ

ГОСТ 1153-76

ИЗДАТЕЛЬСТВО СТАНДАРТОВ

Москва

ГОСУДАРСТВЕННЫЙ СТАНДАРТ СОЮЗА ССР

КРОНШТЕЙНЫ ДЛЯ УМЫВАЛЬНИКОВ
И МОЕК

Технические условия

Brackets for wash-hand basins and sinks.

Specifications

ГОСТ
1153-76

Дата введения 01.01.77

Настоящий стандарт распространяется на чугунные и стальные кронштейны (в т.ч. на стальные кронштейны высшей категории качества), предназначаемые для крепления керамических умывальников и чугунных моек к стенам в зданиях различного назначения.

(Измененная редакция, Изм. № 1).

1. ТИПЫ И ОСНОВНЫЕ РАЗМЕРЫ

1.1. Типы кронштейнов должны соответствовать указанным в таблице.

Обозначение типов

Наименование

Номер чертежа

КрУОБ

Кронштейн чугунный для умывальника открытый большой

1

КрУОМ

Кронштейн чугунный для умывальника открытый малый

1

КрУСБ

Кронштейн чугунный для умывальника скрытый большой

2

КрУСМ

Кронштейн чугунный для умывальника скрытый малый

2

КрУСтБ

Кронштейн стальной для умывальника большой

3

КрУСтМ

Кронштейн стальной для умывальника малый

3

КрМБ

Кронштейн чугунный для мойки большой

4

КрММ

Кронштейн чугунный для мойки малый

5

1.2. Основные размеры кронштейнов должны соответствовать указанным на черт. 1 - 5.

1.3. Допускаемые отклонения от размеров чугунных отливок кронштейнов не должны превышать установленных требованиями ГОСТ 26645 для отливок 11-го класса точности.

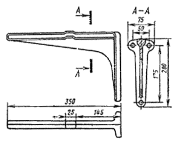
Кронштейны чугунные для умывальников открытые

мм

Тип кронштейна

L1, не более

L2

L3

L5

КрУОБ

340

320

90

130

КрУОМ

255

235

60

100

1 - кронштейн; 2 - прокладка; 3 - трубка; 4 - прокладка.

Черт. 1

Условное обозначение кронштейна чугунного для умывальника открытого большого:

Кр УОБ ГОСТ 1153-76

То же, малого

КР УОМ ГОСТ 1153-76

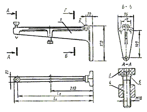
Кронштейны чугунные для умывальников скрытые

мм

Тип кронштейна

L1, не более

L2

КрУСБ

390

375

КрУСМ

330

315

1 - кронштейн, 2 - прокладка; 3 - прокладка; 4 - винт регулировочный; 5 - шайба

Черт. 2

Условное обозначение кронштейна чугунного для умывальника скрытого большого:

КрУСБ ГОСТ 1153-76

То же, малого:

КрУСМ ГОСТ 1153-76

Кронштейны стальные для умывальников

Примечание. Допускается отверстия диаметром 10 мм выполнять по требованию заказчика

Тип кронштейна

L1, не более

L2

L3

L4

Рр УСтВ

320

130

~110

335

Кр УСтМ

235

130

~80

250

1 - кронштейн, 2 - скобка, 3 - прокладка; 4 - трубка, 5 - шайба, 6 - прокладка

Черт. 3

Условное обозначение кронштейна стального для умывальника большого:

Кр УСтБ ГОСТ 1153-76

To же, малого:

Кр УСтМ ГОСТ 1153-76

Кронштейн чугунный для мойки большой

Черт. 4

Условное обозначение кронштейна чугунного для мойки большого:

КрМБ ГОСТ 1153-76

Кронштейн чугунный для мойки малый

Черт. 5

Условное обозначение кронштейна чугунного для мойки малого:

КрММ ГОСТ 1153-76

2. ТЕХНИЧЕСКИЕ ТРЕБОВАНИЯ

2.1. Кронштейны должны изготавливаться в соответствии с требованиями настоящего стандарта по рабочим чертежам, утвержденным в установленном порядке.

2.2. Для изготовления кронштейнов и их деталей должны применяться следующие материалы:

а) для изготовления чугунных кронштейнов - серый чугун марки не ниже СЧ10 по ГОСТ 1412;

б) для изготовления стальных кронштейнов - сталь листовая по ГОСТ 16523;

в) для изготовления регулировочных винтов - сталь углеродистая марки Ст3 по ГОСТ 380;

г) для изготовления прокладок - резина листовая мягкая по ГОСТ 7338 или по ТУ 38105376, группа В, трубка резиновая по ТУ 381051832 или по ГОСТ 5496, полиэтилен низкого давления по ГОСТ 16338.

2.3. На поверхности чугунных кронштейнов, прилегающей к стене, не допускаются выступы и приливы, создающие неустойчивое положение кронштейна при креплении его к стене.

2.4. Погнутость стальных кронштейнов и наличие заусенцев на их наружной поверхности не допускаются; коробление поверхности, прилегающей к стене, не должно быть более 2 мм.

Коробление поверхности, прилегающей к стене, в кронштейнах высшей категории качества не должно быть более 1 мм.

(Измененная редакция, Изм. № 1).

2.5. Основные размеры метрической резьбы на деталях крепления чугунных кронштейнов должны соответствовать требованиям ГОСТ 24705, а поля допусков на нее - ГОСТ 16093. Резьба должна быть чистой и не иметь поврежденных ниток.

2.6. Кронштейны должны быть окрашены водостойкими красками белого цвета или светлых тонов, соответствующих эталонам, утвержденным в установленном порядке, по предварительно огрунтованной поверхности или покрыты стеклоэмалью белого цвета.

Окрашенные поверхности не должны иметь подтеков, пузырей, отлипов и не покрытых краской мест.

Эмалевое покрытие должно иметь ровную, гладкую и блестящую поверхность и быть прочно сцепленным с металлом кронштейна.

Внешний вид окрашенных поверхностей стальных кронштейнов высшей категории качества должен быть не ниже VI класса по ГОСТ 9.032.

(Измененная редакция, Изм. № 1).

2.7. Кронштейны должны поставляться, потребителю комплектно.

В состав комплекта открытых чугунных кронштейнов входят: два кронштейна, четыре или шесть стальных кадмированных или оцинкованных шурупов 8´70 или 6´70 по ГОСТ 1144 и прокладки. В комплект скрытых кронштейнов дополнительно входят два регулировочных винта с прокладками.

Стальные кронштейны поставляют с прокладками.

3. ПРАВИЛА ПРИЕМКИ

3.1. Кронштейны должны быть приняты техническим контролем предприятия-изготовителя.

3.2. Кронштейны поставляют партиями. Размер партии устанавливается соглашением между предприятием-изготовителем и потребителем. В партии должны быть кронштейны одного типа.

3.3. Потребитель имеет право производить контрольную проверку качества кронштейнов и соответствия их требованиям настоящего стандарта, соблюдая нижеприведенный порядок отбора образцов и применяя указанные в разд. 4 методы проверки.

3.4. Для контрольной проверки потребителем внешнего вида, размеров, наличия коробления и качества покрытия отбирают от партии 2 % кронштейнов, но не менее 5 шт.

3.5. Если при контрольной проверке хотя бы одно изделие по какому-либо показателю не будет удовлетворять требованиям настоящего стандарта, производят повторную проверку по этому показателю удвоенного количества изделий той же партии. В случае неудовлетворительных результатов повторной проверки партия изделий приемке не подлежит.

4. методы ПРОВЕРКИ

4.1. Внешний вид кронштейнов проверяют при естественном или искусственном освещении, обеспечивающим освещенность не менее 200 лк, визуально без применения увеличительных приборов.

4.2. Размеры изделий проверяют универсальным или специальным металлическим измерительным инструментом, резьбы - резьбовыми предельными калибрами.

4.3. Качество эмалевого покрытия и прочность сцепления его с металлом проверяют остукиванием кронштейна деревянным молотком массой 300 г; при этом не должно быть слышно дребезжащего звука, покрытие не должно отслаиваться, растрескиваться или отскакивать от металла.

4.4. Коробление поверхности кронштейна, прилегающей к стене, проверяют на контрольной плите с помощью щупа.

5. МАРКИРОВКА, УПАКОВКА, ТРАНСПОРТИРОВАНИЕ И ХРАНЕНИЕ

5.1 На каждом кронштейне должен быть обозначен товарный знак предприятия-изготовителя; место обозначения указанного знака определяется предприятием-изготовителем.

Стальные кронштейны, которым в установленном порядке присвоена высшая категория качества, должны быть замаркированы также изображением государственного Знака качества.

(Измененная редакция, Изм. № 1).

5.2. Для транспортирования кронштейны должны быть упакованы в деревянные решетчатые ящики по ГОСТ 12082, ГОСТ 2991 или ГОСТ 18617.

При упаковке стальных кронштейнов между ними перекладывают жгуты из соломы или бумаги, древесную стружку, а между рядами - деревянные прокладки или такие же жгуты. Масса брутто ящика не должна превышать 50 кг.

5.3. Детали крепления кронштейнов и прокладки укладывают в бумажные мешки по ГОСТ 2226 или завертывают в бумагу в виде пакетов. Пакеты могут укладываться в ящики с кронштейнами.

5.4. Транспортирование кронштейнов может производиться транспортом любого вида.

5.5. Каждая партия кронштейнов должна сопровождаться паспортом установленной формы, в котором указывают:

наименование министерства или ведомства, в систему которого входит предприятие-изготовитель;

номер и дату выдачи документа;

условное обозначение кронштейнов;

количество кронштейнов;

гарантийный срок;

розничную цену (при поставке в торговую сеть);

обозначение настоящего стандарта.

Сопроводительные документы на стальные кронштейны, которым в установленном порядке присвоена высшая категория качества, должны содержать также изображение государственного Знака качества.

(Измененная редакция, Изм. № 1).

5.6. На ящиках с кронштейнами несмываемой краской или на этикетке, наклеенной на ящик влагостойким клеем, должно быть указано:

наименование предприятия-изготовителя;

условное обозначение типа кронштейнов;

количество кронштейнов в ящике;

масса брутто ящика, кг;

год и месяц изготовления.

На бумажных мешках и пакетах с комплектующими деталями должно быть указано: «Комплектующие детали для кронштейнов типа ...».

Тара должна быть замаркирована согласно требованиям ГОСТ 14192.

5.7. Кронштейны должны храниться в сухих закрытых помещениях или под навесом, предохраняющим их от воздействия атмосферных осадков, рассортированными по типам.

6. ГАРАНТИИ ИЗГОТОВИТЕЛЯ

6.1. Предприятие-изготовитель должно гарантировать соответствие поставляемых кронштейнов требованиям настоящего стандарта.

6.2. Гарантийным сроком при соблюдении потребителем условий транспортирования и хранения является один год со дня сдачи кронштейнов в эксплуатацию, но не более 18 мес. со дня отгрузки их с предприятия-изготовителя.

Гарантийный срок эксплуатации стальных кронштейнов, которым в установленном порядке присвоена высшая категория качества, - 2 года со дня сдачи в эксплуатацию, но не более 2,5 лет со дня отгрузки предприятием-изготовителем.

(Измененная редакция, Изм. № 1).

 

Содержание

 

 

ИНФОРМАЦИОННЫЕ ДАННЫЕ

1. РАЗРАБОТАН Научно-исследовательским институтом санитарной техники Министерства промышленности строительных материалов СССР

РАЗРАБОТЧИКИ

О.П. Михеев, В.И. Фельдман, С.И. Нерсесов, Л.Г. Коршунова, З.И. Кузнецова, Л.С. Васильева

2. ВНЕСЕН Министерством промышленности строительных материалов СССР

3. УТВЕРЖДЕН И ВВЕДЕН В ДЕЙСТВИЕ Постановлением Государственного комитета Совета Министров СССР по делам строительства от 27.02.76 № 13

4. ВЗАМЕН ГОСТ

5. ССЫЛОЧНЫЕ НОРМАТИВНО-ТЕХНИЧЕСКИЕ ДОКУМЕНТЫ

Обозначение НТД, на который дана ссылка

Номер пункта

ГОСТ 9.032-74

2.6

ГОСТ 380-88

2.2

ГОСТ 1144-80

2.7

ГОСТ 1412-85

2.2

ГОСТ 2226-88

5.3

ГОСТ 2991-85

5.2

ГОСТ 5496-78

2.2

ГОСТ 7338-90

2.2

ГОСТ 12082-82

5.2

ГОСТ 14192-77

5.6

ГОСТ 16093-81

2.5

ГОСТ 16338-85

2.2

ГОСТ 16523-89

2.2

ГОСТ 18617-83

5.2

ГОСТ 24705-81

2.5

ГОСТ 26645-85

1.3

ТУ 38105376-82

2.2

ТУ 381051832-88

2.2

6. Переиздание (июнь 1993 г.) с Изменением № 1, утвержденным в августе 1979 г. (ИУС 10-79)




Яндекс цитирования



   Copyright © 2007-2026,  www.tehlit.ru.

[ ѓосты, стандарты, нормативы, инструкции, правила, строительные нормы ]