//
ТехЛит.ру
- крупнейшая бесплатная электронная интернет библиотека для "технически умных" людей.
WWW.TEHLIT.RU - ТЕХНИЧЕСКАЯ ЛИТЕРАТУРА

:: Алготрейдинг::


АЛГОТРЕЙДИНГ
шаг за шагом
с нуля по урокам!

Торговые роботы на PYTHON, BackTrader,
Pandas, Pine Script для TradingView. Связка с брокерами, телеграм и легкими приложениями.


ГОСУДАРСТВЕННЫЙ СТАНДАРТ СОЮЗА ССР

ТРАПЫ ЧУГУННЫЕ ЭМАЛИРОВАННЫЕ

ТЕХНИЧЕСКИЕ УСЛОВИЯ

ГОСТ 1811-81

ГОСУДАРСТВЕННЫЙ КОМИТЕТ СССР ПО ДЕЛАМ СТРОИТЕЛЬСТВА

Москва

СОДЕРЖАНИЕ

РАЗРАБОТАН Министерством промышленности строительных материалов СССР

ИСПОЛНИТЕЛИ

О.П. Михеев, канд. техн. наук (руководитель темы); В.И. Фельдман, канд. техн. наук; В.И. Горбунов, канд. техн. наук

ВНЕСЕН Министерством промышленности строительных материалов СССР

Зам. министра А.С. Болдырев

УТВЕРЖДЕН И ВВЕДЕН В ДЕЙСТВИЕ Постановлением Государственного комитета СССР по делам строительства от 19 августа 1981 г. № 146

Внесено изменение № 1 утвержденое и введенное в действие с 15 марта 1987 г. Постановлением Государственного комитета СССР от 04.03.87 № 45.

Измененные пункты отмечены знаком *.

ГОСУДАРСТВЕННЫЙ СТАНДАРТ СОЮЗА ССР

ТРАПЫ ЧУГУННЫЕ ЭМАЛИРОВАННЫЕ

Технические условия

Enamelled cast iron floor traps. Specification

ГОСТ

1811-81

Взамен

ГОСТ 1811-73

Постановлением Государственного комитета СССР по делам строительства от 19 августа 1981 г. № 146 срок введения установлен

с 01.01.1983 г.

Настоящий стандарт распространяется на чугунные эмалированные трапы, устанавливаемые в общественных и производственных зданиях для приема и отведения в канализационную сеть сточных вод с поверхности пола.

Трапы должны удовлетворять всем требованиям ГОСТ 18297-80 и требованиям, изложенным в соответствующих разделах настоящего стандарта.

1. ТИПЫ И ОСНОВНЫЕ РАЗМЕРЫ

1.1. Трапы следует изготовлять следующих типов:

Т50 - чугунный эмалированный трап с прямым отводом условным проходом 50 мм;

ТК50 - чугунный эмалированный трап с косым отводом условным проходом 50 мм;

Т100М - чугунный эмалированный трап с прямым отводом условным проходом 100 мм, малый;

ТК100М - чугунный эмалированный трап с косым отводом условным проходом 100 мм, малый;

Т100Б - чугунный эмалированный трап с прямым отводом условным проходом 100 мм, большой;

ТК100Б - чугунный эмалированный трап с косым отводом условным проходом 100 мм, большой.

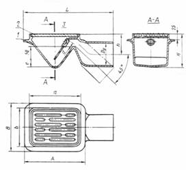
1.2.* Основные размеры трапов должны соответствовать указанным на чертеже и в таблице.

1 - корпус; 2 - решетка; 3 - пробка

Размеры в мм

Тип трапа

Dу

L

А

Н

h

е

а

В

b

d

Масса справочная, кг

Т50

50

260

185

110

50

15

100

140

100

 

4,7

ТК50

 

-

 

 

-

 

 

 

 

 

4,9

Т100М

 

355

250

140

85

32

200

200

150

32

9,8

ТК100М

100

-

 

 

-

 

 

 

 

 

10,3

Т100Б

 

415

320

180

85

50

250

260

200

 

15,0

ТК100Б

 

-

 

 

-

 

 

 

 

 

15,5

Предельные отклонения основных размеров должны соответствовать установленным в ГОСТ 1855-55 для отливок 9-го класса точности.

Условное обозначение чугунного эмалированного трапа в технической документации и при заказе должно состоять из слова «Трап», обозначения типа трапа и настоящего стандарта.

Пример условного обозначения чугунного эмалированного трапа с прямым отводом условным проходом 50 мм:

Трап Т50 ГОСТ 1811-81

То же, трапа с косым отводом условным проходом 100 мм, большого:

Трап ТК100Б ГОСТ 1811-81

1.3. Форма корпуса трапа, а также форма и расположение отверстий решетки в настоящем стандарте не регламентированы и должны быть указаны на рабочих чертежах, утвержденных в установленном порядке.

2. ТЕХНИЧЕСКИЕ ТРЕБОВАНИЯ

2.1. Трапы следует изготовлять в соответствии с требованиями настоящего стандарта по рабочим чертежам, утвержденным в установленном порядке.

2.2. Трапы типов Т50 и ТК50 должны обеспечивать отведение сточных вод в количестве не менее 0,70 л/с, трапы типов Т100М и ТК100М - не менее 2,10 л/с, трапы типов Т100Б и ТК100Б - не менее 3,70 л/с.

2.3. Решетка, установленная в корпусе трапа, должна устойчиво опираться на его опорную поверхность.

2.4. Наружная поверхность решетки, установленной в корпусе трапа, должна быть на одном уровне с поверхностью его бортов или же находиться ниже их, но не более чем на 1 мм.

2.5. Края отверстия для пробки не должны иметь острых кромок, а в случае их механической обработки - также и заусенцев.

2.6.* Пробки следует изготовлять как формовые изделия по техническим условиям из водостойких резин группы В средней твердости С.

3. КОМПЛЕКТНОСТЬ

3.1. Трапы предприятие-изготовитель поставляет комплектно. В состав комплекта должны входить корпус трапа, решетка и резиновая пробка.

4. ПРАВИЛА ПРИЕМКИ

4.1.* При приемо-сдаточном контроле проверке на соответствие требованиям пп. 2.3 - 2.5 подвергают 5% трапов от партии, но не менее 5 шт.

4.2. Проверку трапов на соответствие требованиям п. 2.2 проводят при постановке трапов на производство и при изменении их формы. При этом объем и методика проверки должны быть согласованы с базовой организацией по стандартизации этих изделий.

5. МЕТОДЫ КОНТРОЛЯ

5.1.* Устойчивость опирания решетки на опорную поверхность корпуса трапа (п. 2.3) проверяют поочередным нажатием рукой сверху на углы решетки, установленной в корпусе трапа. Если от таких нажатий решетка амплитуда качания решетки не превышает 2 мм, то считают, что трап соответствует требованиям п. 2.3.

5.2. Положение решетки по отношению к бортам корпуса трапа (п. 2.4) проверяют следующим образом. На трап с установленной в его корпусе решеткой попеременно поперек бортов, а также по их диагоналям накладывают ребром металлическую линейку и визуально и при помощи щупа определяют наличие и размер зазора между линейкой и решеткой.

Если линейка опирается на борт корпуса трапа и одновременно на решетку или, если максимальный зазор, измеренный щупом между линейкой и решеткой, не превышает 1 мм, то считают, что трап соответствует требованиям п. 2.4.

5.3. Отсутствие острых кромок и заусенцев (п. 2.5) проверяют визуально и прощупыванием краев отверстия ребром пластмассовой пластинки.

6. УПАКОВКА

6.1.* При упаковке решетку вставляют в корпус трапа с прокладыванием между ними бумаги по ГОСТ 8273-75 любой марки до достижения плотности посадки, а резиновую пробку плотно вставляют в отверстие, предназначенное для нее.




Яндекс цитирования



   Copyright © 2007-2026,  www.tehlit.ru.

[ ѓосты, стандарты, нормативы, инструкции, правила, строительные нормы ]