//
ТехЛит.ру
- крупнейшая бесплатная электронная интернет библиотека для "технически умных" людей.
WWW.TEHLIT.RU - ТЕХНИЧЕСКАЯ ЛИТЕРАТУРА

:: Алготрейдинг::


АЛГОТРЕЙДИНГ
шаг за шагом
с нуля по урокам!

Торговые роботы на PYTHON, BackTrader,
Pandas, Pine Script для TradingView. Связка с брокерами, телеграм и легкими приложениями.


ГОСУДАРСТВЕННЫЙ СТАНДАРТ СОЮЗА ССР

ТРУБЫ ЧУГУННЫЕ

КАНАЛИЗАЦИОННЫЕ И ФАСОННЫЕ ЧАСТИ К НИМ. РАСТРУБЫ И ХВОСТОВИКИ ФАСОННЫХ ЧАСТЕЙ

ТИПЫ, КОНСТРУКЦИИ И РАЗМЕРЫ

ГОСТ 6942.2-80

ГОСУДАРСТВЕННЫЙ КОМИТЕТ СССР ПО ДЕЛАМ СТРОИТЕЛЬСТВА

Москва

РАЗРАБОТАНЫ Министерством промышленности строительных материалов СССР

ИСПОЛНИТЕЛИ

О.П. Михеев, канд. техн. наук (руководитель темы); В.И. Фельдман, канд. техн. наук; В.Н. Бехалов, канд. техн. наук

ВНЕСЕНЫ Министерством промышленности строительных материалов СССР

Зам. министра Н. П. Кабанов

УТВЕРЖДЕНЫ И ВВЕДЕНЫ В ДЕЙСТВИЕ Постановлением Государственного комитета СССР по делам строительства от 4 сентября 1980 г. № 137

ГОСУДАРСТВЕННЫЙ СТАНДАРТ СОЮЗА ССР

ТРУБЫ ЧУГУННЫЕ КАНАЛИЗАЦИОННЫЕ

И ФАСОННЫЕ ЧАСТИ К НИМ

РАСТРУБЫ И ХВОСТОВИКИ

ФАСОННЫХ ЧАСТЕЙ

Типы, конструкция и размеры

Cast iron waste pipes and fittings.

Sockets and spigot ends of fittings. Types, construction and dimensions

ГОСТ

6942.2-80

Взамен

ГОСТ 6942.2-69

Постановлением Государственного комитета СССР по делам строительства от 4 сентября 1980 г. №137 срок введения установлен

с 01.01 1982 г.

1. Настоящий стандарт распространяется на раструбы и хвостовики фасонных частей к чугунным трубам, предназначенным для систем внутренней канализации зданий.

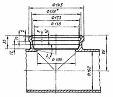
2. Раструбы фасонных частей изготовляют четырех типов: I, II, III и IV.

3. Конструкция и размеры раструбов типа I должны соответствовать указанным на черт. 1 и в табл. 1, типа II - на черт. 2 и в табл. 2, типа III - на черт. 3 и типа IV - на черт. 4. Размеры даны без учета антикоррозионного покрытия.

Раструб типа I

* Размеры для справок.

Черт. 1

Таблица 1

Условный проход Dy

D

D1

D2

D3

D4

D5

b

b1

b2

s

s1

l

с

r

50

55

65

72

76

81

90

13

8

15

4,0

4,5

55

9

6,0

100

105

118

123

128

133

145

14

10

20

4,5

5,0

65

10

6,0

150

155

168

176

182

187

202

15

12

25

5,0

5,5

70

12

7,5

Раструб типа II

* Размеры для справок.

Черт. 2

Таблица 2

мм

Условный проход Dy

D

D1

D2

D3

D4

b

b1

l

с

 

r

50

72

76

81

90

67

13

8

47

9

4,5

6,0

100

123

128

133

145

118

14

10

65

10

5,0

6,0

150

176

182

187

202

170

15

12

70

12

5,5

7,5

Раструб типа III

Черт. 3.

Раструб типа IV

* Размер для справок

Черт. 4

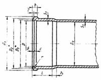
4. Конструкция и размеры хвостовиков фасонных частей должны соответствовать указанным на черт. 5 и в табл. 3.

Таблица 3

мм

Условный проход Dу

D

D1

s

50

58

62

4,0

100

109

114

4,5

150

160

164

5,0

Черт. 5




Яндекс цитирования



   Copyright © 2007-2026,  www.tehlit.ru.

[ ѓосты, стандарты, нормативы, инструкции, правила, строительные нормы ]