//
ТехЛит.ру
- крупнейшая бесплатная электронная интернет библиотека для "технически умных" людей.
WWW.TEHLIT.RU - ТЕХНИЧЕСКАЯ ЛИТЕРАТУРА

:: Алготрейдинг::


АЛГОТРЕЙДИНГ
шаг за шагом
с нуля по урокам!

Торговые роботы на PYTHON, BackTrader,
Pandas, Pine Script для TradingView. Связка с брокерами, телеграм и легкими приложениями.


ГОСУДАРСТВЕННЫЙ СТАНДАРТ СОЮЗА ССР

ТРУБЫ ЧУГУННЫЕ

КАНАЛИЗАЦИОННЫЕ И ФАСОННЫЕ

ЧАСТИ К НИМ.

МУФТЫ

КОНСТРУКЦИЯ И РАЗМЕРЫ

ГОСТ 6942.22-80

ГОСУДАРСТВЕННЫЙ КОМИТЕТ СССР ПО ДЕЛАМ СТРОИТЕЛЬСТВА

Москва

РАЗРАБОТАНЫ Министерством промышленности строительных материалов СССР

ИСПОЛНИТЕЛИ

О.П. Михеев, канд. техн. наук (руководитель темы); В.И. Фельдман, канд. техн. наук; В.Н. Бехалов, канд. техн. наук

ВНЕСЕНЫ Министерством промышленности строительных материалов СССР

Зам. министра Н.П. Кабанов

УТВЕРЖДЕНЫ И ВВЕДЕНЫ В ДЕЙСТВИЕ Постановлением Государственного комитета СССР по делам строительства от 4 сентября 1980 г. № 137

ГОСУДАРСТВЕННЫЙ СТАНДАРТ СОЮЗА ССР

ТРУБЫ ЧУГУННЫЕ КАНАЛИЗАЦИОННЫЕ

И ФАСОННЫЕ ЧАСТИ К НИМ

МУФТЫ

Конструкция и размеры

Cast iron waste pipes and fittings.

Straight couplings. Construction and dimensions

ГОСТ

6942.22-80

Взамен

ГОСТ 6942.28-69

Постановлением Государственного комитета СССР по делам строительства от 4 сентября 1980 г. №137 срок введения установлен

с 01.01 1982 г.

Несоблюдение стандарта преследуется по закону

1. Настоящий стандарт распространяется на муфты к чугунным трубам, предназначенным для систем внутренней канализации зданий.

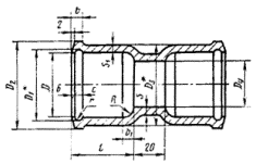
2. Конструкция и размеры муфт должны соответствовать указанным на чертеже и в таблице.

* Размеры для справок

Размеры в мм

Условный проход Dy

Код ОКП

D

D1

D2

D3

b

b1

r

s

s1

l

R

с

Масса, кг

50

49 2521 4511

72

81

90

81

13

8

6,0

4,0

4,5

60

8

9

1,4

100

49 2522 4511

123

133

145

133

14

10

6,0

4,5

5,0

65

10

10

3,2

150

49 2523 4511

176

187

202

187

15

12

7,5

5,0

5,5

70

12

12

5,6

Примечание. Размеры и масса даны без учета антикоррозионного покрытия.

Пример условного обозначения муфты Dy = 100 мм:

Муфта Мф-100 ГОСТ 6942.22-80

3. Технические требования, правила приемки, методы контроля, маркировка, упаковка, транспортирование, хранение, гарантии изготовителя - по ГОСТ 6942.0-80.




Яндекс цитирования



   Copyright © 2007-2026,  www.tehlit.ru.

[ ѓосты, стандарты, нормативы, инструкции, правила, строительные нормы ]