//
ТехЛит.ру
- крупнейшая бесплатная электронная интернет библиотека для "технически умных" людей.
WWW.TEHLIT.RU - ТЕХНИЧЕСКАЯ ЛИТЕРАТУРА

:: Алготрейдинг::


АЛГОТРЕЙДИНГ
шаг за шагом
с нуля по урокам!

Торговые роботы на PYTHON, BackTrader,
Pandas, Pine Script для TradingView. Связка с брокерами, телеграм и легкими приложениями.


ГОСУДАРСТВЕННЫЙ СТАНДАРТ СОЮЗА ССР

ТРУБЫ И МУФТЫ АСБЕСТОЦЕМЕНТНЫЕ

МЕТОДЫ ИСПЫТАНИЙ

ГОСТ 11310-90

(СТ СЭВ 6318-88)

ГОСУДАРСТВЕННЫЙ СТРОИТЕЛЬНЫЙ КОМИТЕТ СССР

Москва

ГОСУДАРСТВЕННЫЙ СТАНДАРТ СОЮЗА ССР

ТРУБЫ И МУФТЫ АСБЕСТОЦЕМЕНТНЫЕ

Методы испытаний

Asbestos cement pipes and couplings.

Method of tests

ГОСТ
11310-90

(СТ СЭВ 6318-88)

Дата введения 01.01.91

Настоящий стандарт распространяется на асбестоцементные трубы и муфты и устанавливает методы их испытаний с целью контроля:

внешнего вида;

размеров и формы;

водонепроницаемости;

прочности труб на разрыв;

прочности труб на раздавливание;

прочности труб на изгиб.

Применение методов предусматривается в стандартах или технических условиях на асбестоцементные трубы и муфты.

1. ОБЩИЕ ПОЛОЖЕНИЯ

1.1. Число изделий, отбираемых для контроля (объем выборки), устанавливается в стандартах или технических условиях на конкретные изделия.

1.2. Образцами в зависимости от метода испытаний могут быть целые изделия или их фрагменты.

1.3. Для каждого вида испытаний от одной трубы отрезают один образец; для разных видов испытаний образцы отрезают от одной и той же трубы.

1.4. Испытания труб на прочность при разрыве, раздавливании и изгибе следует проводить на образцах в водонасыщенном состоянии. Для этого образцы перед испытанием выдерживают в воде не менее 48 ч. Испытание образцов должно быть завершено не позднее чем через 4 ч после их извлечения из воды. Допускается проводить указанные испытания без водонасыщения образцов, отмечая этот факт в контрольном журнале.

Испытания на водонепроницаемость и целых труб на разрыв следует проводить без предварительного водонасыщения.

1.5. Прессы для испытаний должны обеспечивать плавное увеличение нагрузки без толчков и пульсаций.

2. КОНТРОЛЬ ВНЕШНЕГО ВИДА

2.1. Внешний вид труб и муфт (наличие или отсутствие дефектов) проверяют визуально.

2.2. Измерение дефектов проводят штангенциркулем по ГОСТ 166 или линейкой по ГОСТ 427.

2.3. Соответствие маркировки требованиям стандартов или технических условий на изделие проверяют визуально по наличию в ней всей предусмотренной информации. Качество маркировки должно исключать возможность оспорить ее содержание.

3. КОНТРОЛЬ РАЗМЕРОВ И ФОРМЫ

3.1. Средства контроля

Для контроля размеров и формы рекомендуется применять следующие средства измерений.

Рулетка металлическая с ценой деления не более 1 мм по ГОСТ 7502.

Линейка по ГОСТ 427.

Штангенциркуль по ГОСТ 166.

Стенкомер по ГОСТ 11951.

Скоба гладкая регулируемая по ГОСТ 2216.

Нестандартизованные средства измерений, прошедшие метрологическую аттестацию в соответствии с ГОСТ 8.326, включая указанные в приложении 1.

Погрешность средств измерений не должна быть более при измерении:

толщины................................................................................. ±0,1 мм

диаметра................................................................................. ±0,2 мм

длины до 2000 мм.................................................................. ±1 мм

длины от 2001 до 5000 мм.................................................... ±2 мм

длины свыше 5000 мм........................................................... ±2,5 мм

3.2. Проведение измерений

3.2.1. Длину трубы (муфты) определяют вдоль образующей одним измерением, показание средства измерения округляют до 1 мм.

Длину обточенного конца трубы и длину конусной части у торца трубы определяют на каждом конце изделия одним измерением вдоль образующей, показание средства измерения округляют до 1 мм.

3.2.2. Диаметры (наружный или внутренний) трубы (муфты) и наружный диаметр обточенных концов трубы измеряют на каждом конце изделия в двух взаимно перпендикулярных направлениях, показание средства измерения округляют до 0,1 мм.

Диаметр каждой канавки муфты измеряют в двух взаимно перпендикулярных направлениях, показание средства измерения округляют до 0,1 мм.

Результат каждого измерения должен удовлетворять требованиям стандартов или технических условий.

3.2.3. Толщину стенки трубы (муфты) и толщину стенки обточенного конца напорной трубы измеряют на каждом конце изделия в четырех точках, расположенных в двух взаимно перпендикулярных направлениях, показание средства измерения округляют до 0,1 мм.

Результат каждого измерения должен удовлетворять требованиям стандартов или технических условий.

3.2.4. Ширину каждой канавки муфты определяют одним измерением вдоль образующей, показание средства измерения округляют до 1 мм.

Ширину буртика и конусной расточки муфты определяют с обоих ее концов одним измерением вдоль образующей, показание средства измерения округляют до 1 мм.

Результат каждого измерения должен удовлетворять требованиям стандартов или технических условий.

3.2.5. Отклонение трубы от прямолинейности определяют измерением расстояния от трубы до базовой поверхности в процессе поворота трубы вокруг своей оси на 360 град. на двух опорах, расстояние между которыми должно быть равно 2/3 длины трубы (L), в соответствии со схемой, приведенной на черт. 1.

Размер 2/3 L должен быть выдержан с погрешностью не более 1,5 %

Черт. 1

Измеряют максимальное (hмакс) и минимальное (hмин) расстояния от трубы до базовой поверхности в середине между опорами, показание средства измерения округляют до 1 мм; f = hмакс - hмин. Величина f может быть определена непосредственно на специальных стендах (приложение 2). За величину отклонения от прямолинейности принимают f/2.

4. ОПРЕДЕЛЕНИЕ ВОДОНЕПРОНИЦАЕМОСТИ

4.1. Сущность метода

Сущность метода заключается в создании заданного гидравлического давления в трубе (муфте) для определения ее целостности.

4.2. Средства контроля

Гидравлический пресс, обеспечивающий герметизацию полости изделия без осевого сжатия, заполнение его водой и повышение давления с регулируемой скоростью до требуемого значения, выдерживание этого давления в течение заданного времени и контроль за давлением во всех фазах испытания.

Секундомер.

4.3. Проведение испытания

Трубу (муфту) устанавливают на пресс, торцы герметически закрывают. Полость трубы (муфты) заполняют водой так, чтобы внутри не осталось воздуха.

Гидравлическое давление повышают со скоростью не более 0,2 МПа (2 кгс/см2) в секунду до испытательного давления. Напорные трубы (муфты) выдерживают под этим давлением не менее 30 с, безнапорные - не менее 10 с.

Изделие считается выдержавшим испытание, если не будет обнаружено повреждений и проникания капель воды изнутри трубы (муфты) на наружную поверхность.

5. ОПРЕДЕЛЕНИЕ ПРОЧНОСТИ ТРУБ ПРИ РАЗРЫВЕ

5.1. Определение прочности труб при разрыве на образцах - фрагментах труб

5.1.1. Сущность метода

Сущность метода заключается в разрушении образца трубы внутренним гидравлическим давлением.

5.1.2. Средства контроля

Гидравлический пресс, обеспечивающий герметизацию образца без осевого сжатия с помощью наружного или внутреннего уплотнения, заполнение его водой и повышение давления с регулируемой скоростью до разрыва образца.

Емкость для водонасыщения.

Штангенциркуль по ГОСТ 166.

Стенкомер по ГОСТ 11951.

5.1.3. Подготовка образцов

Для испытания от необточенной части трубы отрезают образец длиной (500 ± 10) мм и насыщают водой в соответствии с п. 1.4.

В случае, когда испытываемый образец герметизируют с помощью наружного уплотнения, концы образцов допускается обтачивать до размера наружного диаметра обточенных концов трубы на длину, необходимую для установки уплотнительных колен, расстояние между которыми должно быть не менее 400 мм.

5.1.4. Проведение испытания

Образец устанавливают на пресс, торцы герметически закрывают. Полость образца заполняют водой так, чтобы внутри не осталось воздуха. Гидравлическое давление повышают со скоростью не более 0,2 МПа (2 кгс/см2) в секунду до разрыва образца. Давление в момент разрушения образца определяют по показанию стрелки на шкале манометра.

5.1.5. При необходимости подсчета предела прочности труб при разрыве измеряют толщину стенки образца в необточенной части в двух точках по линии разрыва.

Предел прочности при разрыве (σразр) вычисляют в мегапаскалях (килограммах силы на квадратный сантиметр) по формуле

                                                          (1)

где P - разрушающее давление, МПа (кгс/см2);

d - внутренний диаметр образца (среднее арифметическое двух измерений), мм (см);

s - толщина стенки образца (среднее арифметическое двух измерений), мм (см).

Результат вычисления округляют до 0,1 МПа (1 кгс/см2).

5.2. Определение прочности при разрыве целых труб

5.2.1. Сущность метода

Сущность метода испытания заключается в создании заданного гидравлического давления в трубе с целью контроля ее прочности.

5.2.2. Средства контроля - по п. 4.2.

5.2.3. Проведение испытания

Трубу устанавливают на пресс, торцы герметически закрывают. Полость трубы заполняют водой так, чтобы внутри не осталось воздуха. Гидравлическое давление повышают со скоростью не более 0,2 МПа (2 кгс/см2) в секунду до испытательного давления. Трубу выдерживают под этим давлением не менее 10 с.

Каждая контролируемая труба должна выдержать испытательное давление без признаков разрушения.

6. ОПРЕДЕЛЕНИЕ ПРОЧНОСТИ ТРУБ ПРИ РАЗДАВЛИВАНИИ

6.1. Сущность метода

Сущность метода заключается в разрушении образца трубы внешней нагрузкой.

6.2. Средства контроля

Пресс с регулируемой скоростью приложения нагрузки и силоизмерителем, имеющим допускаемую погрешность не более 2 %.

Металлические призматическая опора и планка, передающая нагрузку на образец, имеющие форму в соответствии с черт. 2.

1 - деталь пресса; 2 - планка, передающая нагрузку; 3 - прокладка; 4 - образец; 5 - опора

Черт. 2

Длина опоры и планки должна быть не менее длины образца. Ширина планки должна соответствовать указанной в таблице.

мм

Условный проход трубы

Ширина планки b ± 2

От   100 до    250

25

  »   300  »     350

35

              400

50

              500

60

Линейка по ГОСТ 427.

Прокладки резиновые толщиной не более 15 мм, твердостью 60 ± 5 единиц по Шору.

Стенкомер по ГОСТ 11951.

Штангенциркуль по ГОСТ 166.

Емкость для водонасыщения.

6.3. Подготовка образцов

Для испытания от необточенной части трубы отрезают образец длиной (200 ± 10) мм и насыщают его водой в соответствии с п. 1.4.

6.4. Проведение испытания

Перед испытанием определяют фактическую длину образца (l) одним измерением вдоль образующей.

На пресс устанавливают опору и планку соответствующей ширины (b) в зависимости от условного прохода трубы, от которой отрезан образец. На опору устанавливают образец. Между опорой и образцом, планкой и образцом помещают резиновые прокладки.

Испытание проводят по схеме в соответствии с черт. 2.

К образцу прикладывают нагрузку и плавно повышают ее до разрушения образца. Среднюю скорость нагружения следует устанавливать в интервале от 200 до 800 Н/с таким образом, чтобы разрушение образца произошло не ранее чем через 15 с.

Значение нагрузки в момент разрушения образца определяют по показанию силоизмерителя пресса.

6.5. Обработка результатов

При определении нагрузки при раздавливании за результат испытания принимают величину F', которую определяют по формуле

                                                               (2)

где F - разрушающая нагрузка по шкале силоизмерителя, Н (кгс);

l - фактическая длина образца, мм;

200 - номинальная длина образца, исходя из которой установлены нормативные требования, мм.

6.6. При необходимости подсчета предела прочности труб при раздавливании перед испытанием измеряют внутренний диаметр на одном конце образца в двух взаимно перпендикулярных направлениях. После разрушения образца измеряют толщину стенки в двух точках по верхней линии излома.

Предел прочности при раздавливании (σразд) вычисляют в мегапаскалях (килограммах силы на квадратный сантиметр) по формуле

                                                 (3)

где F - разрушающая нагрузка, Н (кгс);

d - внутренний диаметр образца (среднее арифметическое двух измерений), мм (см);

s - толщина стенки образца (среднее арифметическое двух измерений), мм (см);

l - длина образца, мм (см).

Результат вычисления округляют до 0,1 МПа (1 кгс/см2).

7. ОПРЕДЕЛЕНИЕ ПРОЧНОСТИ ТРУБ ПРИ ИЗГИБЕ

7.1. Сущность метода

Сущность метода заключается в разрушении образца или целой трубы нагрузкой, прикладываемой посередине пролета.

7.2. Средства контроля

Пресс с регулируемой скоростью приложения нагрузки и силоизмерителем, имеющим допускаемую погрешность не более 2 %.

Металлические призматические опоры и деталь, передающая нагрузку, имеющие размеры и форму в соответствии с черт. 3.

1 - деталь, передающая нагрузку; 2 - образец; 3 - опора; 4 - прокладка

Черт. 3

Прокладки резиновые толщиной не более 15 мм.

Емкость для водонасыщения.

Штангенциркуль по ГОСТ 166.

Стенкомер по ГОСТ 11951.

7.3. Подготовка образцов

Испытанию подвергают трубы условным проходом до 150 мм включительно.

Для испытания полномерную трубу или образец длиной не менее 2200 мм, отрезанный от необточенной части трубы, насыщают водой в соответствии с п. 1.4.

7.4. Проведение испытания

Образец или трубу устанавливают на опоры пресса. Между опорами и образцом, деталью и образцом помещают прокладки.

Испытание проводят по схеме в соответствии с черт. 3.

К образцу прикладывают нагрузку и плавно повышают ее до разрушения образца. Среднюю скорость нагружения следует устанавливать в интервале от 120 до 400 Н/с таким образом, чтобы разрушение образца произошло не ранее чем через 15 с.

Нагрузку в момент разрушения образца определяют по показанию силоизмерителя пресса.

Допускается при контроле предприятием-изготовителем проводить испытания полномерных труб без разрушения. В этом случае нагрузка при испытании должна быть доведена до минимальной разрушающей нагрузки, значение которой установлено стандартами или техническими условиями, после чего испытание прекращают. Каждая контролируемая труба должна выдержать испытательную нагрузку без признаков разрушения.

7.5. При необходимости подсчета предела прочности при изгибе после испытания измеряют в месте излома внутренний диаметр и толщину стенки образца по пп. 3.2.2 и 3.2.3. При невозможности измерить внутренний диаметр образца в месте излома его измеряют на любом конце образца.

Предел прочности при изгибе (σизг) вычисляют в мегапаскалях (килограммах силы на квадратный сантиметр) по формуле

                                               (4)

где F - разрушающая нагрузка, Н (кгс);

d - внутренний диаметр образца (среднее арифметическое двух измерений), мм (см);

s - толщина стенки образца (среднее арифметическое четырех измерений), мм (см);

l - расстояние между осями опор, мм (см).

Результат вычисления округляют до 0,1 МПа (1 кгс/см2).

Приложение 1
Рекомендуемое

Измеритель диаметра канавки (ИДК)

Материал - сталь инструментальная У8 … У11 по ГОСТ 1435; поверхность хромирована; твердость поверхностей А не менее 59 HRCэ.

Черт. 4

Измеритель длины фаски (ширины конусной расточки) ИДФ

Поверхность хромирована; твердость поверхностей А не менее 59 HRCэ; шкалы нанесены на обе поверхности Б

Черт. 5

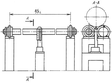
Приложение 2
Справочное

Принципиальная схема стендов для контроля прямолинейности асбестоцементных труб

Черт. 6

Характеристика стендов

Тип стенда

Условный проход трубы, мм

Длина трубы L, м

Расстояние между роликами, 2/3L, мм

СПТ-1

100 ... 200

3

2000

СПТ-1А

100 ... 200

4

2630

СПТ-1Б

100 ... 200

5

3330

СПТ-2М

200 ... 500

4

2630

СПТ-2АМ

200 ... 500

5

3300

СПТ-2БМ

200 ... 500

6

3970

ИНФОРМАЦИОННЫЕ ДАННЫЕ

1. РАЗРАБОТАН И ВНЕСЕН Государственной ассоциацией промышленности строительных материалов «Союзстройматериалов»

РАЗРАБОТЧИКИ

И.Н. Иорамашвили, канд. техн. наук (руководитель темы); Л.С. Лященко, канд. техн. наук; Н.И. Зельвянская; Л.М. Лейбенгруб

2. УТВЕРЖДЕН И ВВЕДЕН В ДЕЙСТВИЕ Постановлением Государственного строительного комитета СССР от 14.08.90 № 71

3. Стандарт полностью соответствует СТ СЭВ 6318-88

4. ВЗАМЕН ГОСТ 11310-81

5. ССЫЛОЧНЫЕ НОРМАТИВНО-ТЕХНИЧЕСКИЕ ДОКУМЕНТЫ

Обозначение НТД, на который дана ссылка

Номер пункта, приложения

ГОСТ 8.326-78

3.1

ГОСТ 166-80

2.2; 3.1; 5.1.2; 6.2; 7.2

ГОСТ 427-75

2.2; 3.1; 6.2

ГОСТ 1435-74

приложение 1

ГОСТ 2216-84

3.1

ГОСТ 7502-80

3.1

ГОСТ 11951-82

3.1; 5.1.2; 6.2; 7.2

СОДЕРЖАНИЕ

 




Яндекс цитирования



   Copyright © 2007-2026,  www.tehlit.ru.

[ ѓосты, стандарты, нормативы, инструкции, правила, строительные нормы ]